JP2010056000A - リチウム二次電池用注液栓の密閉方法、その密閉構造及びその密閉構造を具備したリチウム二次電池 - Google Patents
リチウム二次電池用注液栓の密閉方法、その密閉構造及びその密閉構造を具備したリチウム二次電池 Download PDFInfo
- Publication number
- JP2010056000A JP2010056000A JP2008221488A JP2008221488A JP2010056000A JP 2010056000 A JP2010056000 A JP 2010056000A JP 2008221488 A JP2008221488 A JP 2008221488A JP 2008221488 A JP2008221488 A JP 2008221488A JP 2010056000 A JP2010056000 A JP 2010056000A
- Authority
- JP
- Japan
- Prior art keywords
- flat plate
- lithium secondary
- secondary battery
- bolt head
- packing
- Prior art date
- Legal status (The legal status is an assumption and is not a legal conclusion. Google has not performed a legal analysis and makes no representation as to the accuracy of the status listed.)
- Granted
Links
Images
Classifications
-
- Y—GENERAL TAGGING OF NEW TECHNOLOGICAL DEVELOPMENTS; GENERAL TAGGING OF CROSS-SECTIONAL TECHNOLOGIES SPANNING OVER SEVERAL SECTIONS OF THE IPC; TECHNICAL SUBJECTS COVERED BY FORMER USPC CROSS-REFERENCE ART COLLECTIONS [XRACs] AND DIGESTS
- Y02—TECHNOLOGIES OR APPLICATIONS FOR MITIGATION OR ADAPTATION AGAINST CLIMATE CHANGE
- Y02E—REDUCTION OF GREENHOUSE GAS [GHG] EMISSIONS, RELATED TO ENERGY GENERATION, TRANSMISSION OR DISTRIBUTION
- Y02E60/00—Enabling technologies; Technologies with a potential or indirect contribution to GHG emissions mitigation
- Y02E60/10—Energy storage using batteries
Landscapes
- Filling, Topping-Up Batteries (AREA)
Abstract
【解決手段】 リチウム二次電池の電槽蓋2に取り付けた注液栓1の下端螺筒部1Cの内周面のネジ部1c1にボルト4を螺合し、該中間筒部1Cにより限定形成されたボルト頭部嵌合用空間1b内の環状パッキン載置用環状段部1b1に載置した環状パッキン3を介して締め付けたとき、該ボルト頭部4bの平面な上面が平板座金載置用環状段部1c1より下位に位置せしめ、該ボルト頭部4bの上方に該中間筒部1cの内周壁面で囲繞形成される凹部空間7を存せしめるようにし、次いで、該ボルト頭部4bの上面に載置した平板パッキン5により該凹部空間7を埋めた後、平板座金6を該上端筒部1Cで囲繞形成される平板座金嵌合用空間1cに摺接嵌合し、該平板座金載置用環状段部1c1と該平板パッキン5上面に亘り載置し、次いで、該平板座金6の外周面と該上端筒部1Cの内周面をレーザー溶接する。
【選択図】 図4
Description
これらの二次電池として、現在、鉛蓄電池、ニカド電池、ニッケル-水素電池、リチウム二次電池が開発され、既に市場に登場している。特にリチウム二次電池は電池電圧が高く、前記の他の電池に比べ、質量及び体積当たりのエネルギー密度が大きく、今後、最も期待される二次電池である。
而して、上記の密閉構造により下記の諸効果をもたらす。即ち、溶接対象となる平板外周面と注液栓内周面の間隙は、ボルト頭部上で平板を移動することで容易に調整できる。従ってレーザー溶接や電子ビーム溶接が平板外周面と注液栓内周面の全面に渡って良好に行え気密性に優れる溶接部が得られる。さらにボルト頭部と注液栓の間隙は狭める必要がないためボルトを注液栓雄ネジ部に容易に螺合できる。前記レーザー溶接や電子ビーム溶接は溶接熱が比較的小さいため溶接熱による電解液の性能低下もほとんど見られず、発火の恐れもない。従って、本考案のリチウム二次電池用注液栓の密閉構造は気密性並びに作業性に優れ、かつ電池性能を低下させない。
なぜならば、合成樹脂製の環状パッキン6は、ボルト頭部4により加圧されて圧縮される割合が均一でないので、ボルト頭部4の上面と該環状の平板5載置用段部の高さを同一平面にすることは実際上不可能に近い。該平板5とボルト頭部4との間に間隙を生じた場合は、リチウム二次電池を長期間使用した場合に、該ボルト頭部4の上方に空隙が存することにより、該ボルト3が緩む可能性が高くなり、これに伴い気密性を損なう。逆に、該空隙を生じないように、ボルトの締結時にボルト頭部の上面が該編板載置用環状段部より上方に突出するようにした場合には、その環状段部に載置した平板5が注液栓1の上端筒部より突出してしまい、該平板5の外周面と注液栓1の内周面との強固なレーザー溶接又は電子ビーム溶接が得られない。
即ち、該注液栓1の内周面と該平板5の外周面をレーザー溶接又は電子ビーム溶接する場合、寸法公差0.1mm程度まで縮小しなければ充分な溶接強度が得られないが、該平板5と該注液栓1の上端との位置にずれを生じた場合は、上記の寸法公差の範囲を超えるので、充分な溶接強度が得られないこととなる。
本発明は、上記従来技術の上記の課題を解消し、注液栓の密閉構造の作製が容易にでき、注液栓の密閉構造の組立作業においてボルトの締め付け時にボルト頭部の上面が該平板載置用環状段部より下がっても差し支えなく、注液栓の優れた密閉構造が容易且つ確実に得られるその密閉方法とその密閉構造と気密性の優れ、安全性の高いリチウム二次電池を提供することを目的とする。
(b)次いで、平板パッキンを該ボルト頭部の上面に設置し、該凹部空間を埋めること、
(c)次いで、該注液栓の上端筒部内の平板座金嵌合用空間の深さに相当する厚さを有する平板座金を該上端筒部内に摺接嵌合し、該平板パッキンの上面と該平板載置用環状段部の上面に亘り載置すること、
(d)該平板座金の外周面と該上端筒部の内周面とをレーザー溶接又は電子ビーム溶接により溶接すること
から成る工程を特徴とするリチウム二次電池用注液栓の密閉方法に存する。
更に本発明は、請求項2に記載の通り、該凹部空間を該凹部空間より僅かに厚い軟質の材料から成る平板パッキンで埋めることを特徴とする請求項1に記載のリチウム二次電池用注液栓の密閉方法に存する。
更に本発明は、請求項3に記載の通り、請求項1又は2に記載の密閉方法により得られたリチウム二次電池用注液栓の密閉構造に存する。
更に本発明は、請求項4に記載の通り、請求項3に係る注液栓の密閉構造を具備したリチウム二次電池に存する。
図1において、1は密閉の対象となる注液栓を示し、図1(a)はその上面図、図1(b)はその側面図である。その形態は、先に開示した特許文献1に示す注液栓と変わりがない。この注液栓1の形態につき、以下詳述する。
該注液栓1は、中心に上下方向に貫通する注液孔を有する円筒形の筒体から成り、その筒体の下端筒部を内周面にボルトを螺合するネジ部1a1を施された下端螺筒部1Aに形成し、その中間筒部を該下端螺筒部1Aの螺孔1aの径より大径で該下端螺筒部1Aとの間に環状パッキン載置用環状段部1b1を有すると共に、ボルト頭部を環状パッキンを介し嵌合するに適した孔径と深さを有するボルト頭部嵌合用空間1bを限定形成する中間筒部1Bに形成し、その上端筒部を、該中間筒部1Bより大径で該中間筒部1Bとの間に平板座金載置用環状段部1c1を形成されると共に、該平板座金を摺接嵌合するに適した孔径と該平板座金の厚さに対応する深さを有する平板座金嵌合用空間1cを限定形成する上端筒部1Cに形成して成る形態としたものである。
本発明の密閉方法において、図4(a)に示すように、該注液栓1の該ボルト頭部嵌合用空間1bの該パッキン載置用環状段部1b1上に該環状パッキン3を載置した後、該ボルト4の軸部4aを該注液栓1の下端螺筒部1Aのネジ部1a1に螺合しネジ込み、該ボルト頭部嵌合用空間1bに収容された該ボルト頭部4aで該環状パッキン3を加圧し該段部1b1に対し圧着し、ボルト4を締結するが、本発明の上記の密閉方法によれば、そのボルト4の締結を完了した時に、該ボルト頭部4bの上面は、該平板座金嵌合用空間1cの該平板座金載置用環状段部1c1より下方に位置せしめるようにし、該ボルト頭部4bの上方に該ボルト頭部4bの上面と該ボルト頭部嵌合用空間1bを限定形成する該注液栓1の該中間筒部1bの内周壁面とで限定形成された所望の深さの円形の凹部空間7を存せしめるようにする。従って、ボルト4の締結時、所望の凹部空間7が存せしめられるように、予め、該ボルト頭部嵌合用空間1bの深さを締め付け時の該環状パッキン3と該ボルト頭部4bの合計の厚さより深くした注液栓を設計し、作製することは容易に出来る。
図示の例では、該凹部空間7の深さは0.4mmとした。
硬質の平板パッキンの場合は、該凹部空間7を埋めるため、この深さと同じ厚さのものを使用しなければならない厳密さを要求されるが、軟質の平板パッキンを用いる場合は、該凹部空間7の深さに対応する厚さのものを用いてもよいが、その深さより僅かに厚いものを用いることができる。この場合は、該ボルト頭部4b上面に載置したとき、その外周の該平板座金載置用段部1c1より僅かに突出した状態となるが、後記するように、該環状段部1c1に該平板座金6を載置したとき、図4(c)に示すように、該平板座金6の重さで、或いは平板座金6を押し下げることで、軟質の該平板パッキンは圧縮されてその上面は該環状段部1c1と同一平面となり、確実に該凹部空間7が該軟質の平板パッキンにより確実且つ容易に埋めることができ好ましい。
この状態から、図4(c)に示すように、レーザー溶接機8により、該環状間隙yにレーザー光線を当て、レーザー溶接することにより、本発明の注液栓の密閉方法を終了する。かくして、該ボルト頭部4aと該平板座金6との間に空隙のない気密性の優れた注液栓の密閉構造Aを具備したリチウム二次電池が得られる。
即ち、一般に、リチウム二次電池葉、正極、負極、セパレータから成る電極体を電槽缶に格納し、該電槽缶に電槽蓋を施し、該正極、該負極に設けた集電タブと電槽缶に設けた極端子とを接続し、該電槽蓋に設けた注液栓から非水電解液を所定量注入して成る。尚、該極端子の材料は、電解液に対し化学的に安定したものであればよい。
正極板の1例は、正極活物質と結着材と増粘材から構成される合剤を金属の箔に塗布して作製する。負極板の1例は、負極活物質と結着材と増粘材から構成される合剤を金属の箔に塗布して作製する。上記のように作製した正極板及び負極板の集電体の露出部分に、集電タブを接合する。更に、これらの正極板と負極板との間に、該正極板及び該負極板の双方より幅が広く、該正極板と負極板を隔離するセパレータを介在積層させ、渦巻状に捲回させて電極体を作製する。この電極体を角形の電槽缶に収容し、集電タブと、電槽蓋に設けた極端子とを接続した後、電槽缶と電槽蓋とを接合する。非水電解液としては、例えば、有機溶媒にリチウム塩を溶解した非水系溶液を用いる。該電解液を電槽蓋に設けた注液栓から電池内へ注入する作業は、不活性ガスを充填したグローブボックス中において行う。かくして、該注液栓を上記の本発明の密閉方法により密閉し、優れた密閉構造を具備したリチウム二次電池が得られる。
上記に用意した40個のうち20個のリチウム二次電池の夫々につき、不活性ガスを充填したグローブボックス中において、該注液栓1から所定量のヘリウムガスを電池缶内に充填した後、該注液栓1に図4(a),(b),(c)の工程から成る密閉方法により図4(c)に示す本発明の注液栓の密封構造Aを具備したリチウム二次電池を20個製造した。この場合、図4(a)に示す工程における環状パッキン3を介したボルト4による締結は、75cN・mの荷重で締め付けた。
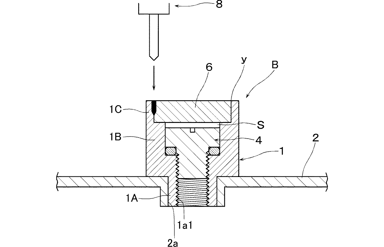
一方、残る20個のリチウム二次電池の夫々につき、実施例と同様に、不活性ガスを充填したグローブボックス中において、図5に示すように、注液栓1から実施例と同じ量のヘリウムガスを電池缶内に充填した後、該注液栓1に、本発明で用いたと同じ環状パッキン3とボルト4を用い、該注液栓1の該環状パッキン載置用環状段部1b1に該環状パッキン3を載置後、該ボルト4を該注液栓1の下端螺筒部1Aの該ネジ部1a1に螺合し、実施例と同じ締結力で、即ち、75cN・mの荷重で締め付け、そのボルト頭部4bの上面に、深さ0.4mmの凹部空間を存せしめ、次いで、実施例で用いたと同じ厚さと径を有する平板座金6を該平板座金嵌合用空間1cに摺接嵌合し、該平板載置用環状段部1c1上に載置せしめると同時に、該平板座金6の上面と該注液栓1の上端筒部1cの上端面とを同一平面に位置させ、次いで、該平板座金6と外周面と該注液栓1の上端筒部1Cの内周面と0.1mm程度の環状間隙yを有する両部材6及び1Cの対向面をレーザー光線8で溶接して該ボルト頭部4bと該平板座金6との間に、前記の凹部空間の深さに等しい0.4mmの空隙Sを有する密閉構造Bを具備した比較用リチウム二次電池を製造した。
上記のように製造した実施例の本発明の注液栓の密閉構造Aを具備したリチウム二次電池(サンプル)20個と比較例の注液栓の密閉構造Bを具備したリチウム二次電池(サンプル)20個につき、He(ヘリウム)リークディテクターにより1×10-5トール(Torr)の真空度で夫々その製造直後と製造から一年後におけるHeガスリーク試験を実施した。
その比較試験結果を夫々下記表1及び表2に示す。
これに対し、比較例のサンプルは、表2に示すように、製造から一年後では、製造直後のHeガスリーク量の約2〜5倍に増大し、比較例の注液栓の密閉構造Bを具備したリチウム二次電池では、当初の密閉性を長期に亘り維持できないことが確認された。
換言すれば、本発明の注液栓の密閉構造は、上記従来の注液栓の密閉構造の密封性を著しく改善でき、本発明の注液栓の密閉構造を具備したリチウム二次電池は、上記従来の注液栓の密閉構造を具備したリチウム二次電池では得られない長期に亘り密閉性を維持した長寿命の安定した電池をもたらす。
1 注液栓
1a 螺孔
1a1 ネジ部
1A 下端螺筒部
1b ボルト頭部嵌合用空間
1b1 環状パッキン載置用環状段部
1B 中間筒部
1c 平板座金嵌合用空間
1c1 平板座金載置用環状段部
1C 上端筒部
2 電槽蓋
3 環状パッキン
4 ボルト
4a ボルト軸部
4b ボルト頭部
5 平板パッキン
6 平板座金
7 凹部空間
8 レーザー溶接
y 環状間隙
Claims (4)
- (a)リチウム二次電池の電槽蓋に、該電槽蓋に穿設した貫通孔に注入孔を連通させた状態で、その下端螺筒部を気密に取り付けた注液栓の環状パッキン載置用環状段部に環状パッキンを載置した状態で、ボルトを該下端螺筒部の内周面に設けたネジ部に螺合し、該環状パッキンを介して締結したとき、ボルト頭部嵌合用空間内のボルト頭部の平坦な上面が平板座金載置用環状段部より下位に位置せしめて、該ボルト頭部の上方に中間筒部により囲繞される所望の深さを有する凹部空間が形成されるようにすること、
(b)次いで、平板パッキンを該ボルト頭部の上面に設置し、該凹部空間を埋めること、
(c)次いで、該注液栓の上端筒部内の平板座金嵌合用空間の深さに相当する厚さを有する平板座金を該上端筒部内に摺接嵌合し、該平板パッキンの上面と該平板載置用環状段部の上面に亘り載置すること、
(d)該平板座金の外周面と該上端筒部の内周面とをレーザー溶接又は電子ビーム溶接により溶接すること
から成る工程を特徴とするリチウム二次電池用注液栓の密閉方法。 - 該凹部空間を該凹部空間より僅かに厚い軟質の材料から成る平板パッキンで埋めることを特徴とする請求項1に記載のリチウム二次電池用注液栓の密閉方法。
- 請求項1又は2に記載の密閉方法により得られたリチウム二次電池用注液栓の密閉構造。
- 請求項3に記載の注液栓の密閉構造を具備したリチウム二次電池。
Priority Applications (1)
| Application Number | Priority Date | Filing Date | Title |
|---|---|---|---|
| JP2008221488A JP5314359B2 (ja) | 2008-08-29 | 2008-08-29 | リチウム二次電池用注液栓の密閉方法、その密閉構造及びその密閉構造を具備したリチウム二次電池 |
Applications Claiming Priority (1)
| Application Number | Priority Date | Filing Date | Title |
|---|---|---|---|
| JP2008221488A JP5314359B2 (ja) | 2008-08-29 | 2008-08-29 | リチウム二次電池用注液栓の密閉方法、その密閉構造及びその密閉構造を具備したリチウム二次電池 |
Publications (2)
| Publication Number | Publication Date |
|---|---|
| JP2010056000A true JP2010056000A (ja) | 2010-03-11 |
| JP5314359B2 JP5314359B2 (ja) | 2013-10-16 |
Family
ID=42071684
Family Applications (1)
| Application Number | Title | Priority Date | Filing Date |
|---|---|---|---|
| JP2008221488A Active JP5314359B2 (ja) | 2008-08-29 | 2008-08-29 | リチウム二次電池用注液栓の密閉方法、その密閉構造及びその密閉構造を具備したリチウム二次電池 |
Country Status (1)
| Country | Link |
|---|---|
| JP (1) | JP5314359B2 (ja) |
Cited By (9)
| Publication number | Priority date | Publication date | Assignee | Title |
|---|---|---|---|---|
| JP2013025977A (ja) * | 2011-07-20 | 2013-02-04 | Toyota Motor Corp | 電池及びその製造方法 |
| JP2013058409A (ja) * | 2011-09-08 | 2013-03-28 | Toyota Motor Corp | 電池及び電池の製造方法 |
| JP2013084479A (ja) * | 2011-10-11 | 2013-05-09 | Toyota Motor Corp | 電池の製造方法及び電池 |
| WO2014010024A1 (ja) * | 2012-07-09 | 2014-01-16 | トヨタ自動車株式会社 | 電池製造方法 |
| JP2014035870A (ja) * | 2012-08-08 | 2014-02-24 | Toyota Industries Corp | 蓄電装置 |
| JP2014107204A (ja) * | 2012-11-29 | 2014-06-09 | Toshiba Corp | リチウムイオン電池 |
| WO2023279221A1 (zh) * | 2021-07-09 | 2023-01-12 | 深圳市迪比科电子科技有限公司 | 一种液冷便携式储能电源 |
| CN116345028A (zh) * | 2023-03-31 | 2023-06-27 | 厦门海辰储能科技股份有限公司 | 端盖组件和电池单体 |
| CN118589173A (zh) * | 2023-12-28 | 2024-09-03 | 双澳储能科技(西安)有限公司 | 一种密封组件、上盖板组件、锂离子电池以及大容量电池 |
Families Citing this family (2)
| Publication number | Priority date | Publication date | Assignee | Title |
|---|---|---|---|---|
| JP6436479B2 (ja) * | 2014-10-21 | 2018-12-12 | 古河電池株式会社 | リチウムイオン電池用注液部の密閉方法 |
| US11217846B2 (en) | 2017-03-16 | 2022-01-04 | Eaglepicher Technologies, Llc | Electrochemical cell |
Citations (3)
| Publication number | Priority date | Publication date | Assignee | Title |
|---|---|---|---|---|
| JP2002373642A (ja) * | 2001-06-14 | 2002-12-26 | Matsushita Electric Ind Co Ltd | 密閉型電池 |
| JP3113674U (ja) * | 2005-06-14 | 2005-09-15 | 古河電池株式会社 | リチウム二次電池用注液栓の密閉構造 |
| JP2006294290A (ja) * | 2005-04-06 | 2006-10-26 | Matsushita Electric Ind Co Ltd | 鉛蓄電池 |
-
2008
- 2008-08-29 JP JP2008221488A patent/JP5314359B2/ja active Active
Patent Citations (3)
| Publication number | Priority date | Publication date | Assignee | Title |
|---|---|---|---|---|
| JP2002373642A (ja) * | 2001-06-14 | 2002-12-26 | Matsushita Electric Ind Co Ltd | 密閉型電池 |
| JP2006294290A (ja) * | 2005-04-06 | 2006-10-26 | Matsushita Electric Ind Co Ltd | 鉛蓄電池 |
| JP3113674U (ja) * | 2005-06-14 | 2005-09-15 | 古河電池株式会社 | リチウム二次電池用注液栓の密閉構造 |
Cited By (12)
| Publication number | Priority date | Publication date | Assignee | Title |
|---|---|---|---|---|
| JP2013025977A (ja) * | 2011-07-20 | 2013-02-04 | Toyota Motor Corp | 電池及びその製造方法 |
| JP2013058409A (ja) * | 2011-09-08 | 2013-03-28 | Toyota Motor Corp | 電池及び電池の製造方法 |
| JP2013084479A (ja) * | 2011-10-11 | 2013-05-09 | Toyota Motor Corp | 電池の製造方法及び電池 |
| WO2014010024A1 (ja) * | 2012-07-09 | 2014-01-16 | トヨタ自動車株式会社 | 電池製造方法 |
| JPWO2014010024A1 (ja) * | 2012-07-09 | 2016-06-20 | トヨタ自動車株式会社 | 電池製造方法 |
| US9831531B2 (en) | 2012-07-09 | 2017-11-28 | Toyota Jidosha Kabushiki Kaisha | Method of manufacturing battery |
| JP2014035870A (ja) * | 2012-08-08 | 2014-02-24 | Toyota Industries Corp | 蓄電装置 |
| JP2014107204A (ja) * | 2012-11-29 | 2014-06-09 | Toshiba Corp | リチウムイオン電池 |
| WO2023279221A1 (zh) * | 2021-07-09 | 2023-01-12 | 深圳市迪比科电子科技有限公司 | 一种液冷便携式储能电源 |
| CN116345028A (zh) * | 2023-03-31 | 2023-06-27 | 厦门海辰储能科技股份有限公司 | 端盖组件和电池单体 |
| CN118589173A (zh) * | 2023-12-28 | 2024-09-03 | 双澳储能科技(西安)有限公司 | 一种密封组件、上盖板组件、锂离子电池以及大容量电池 |
| WO2025140292A1 (zh) * | 2023-12-28 | 2025-07-03 | 双澳储能科技(西安)有限公司 | 一种密封组件、上盖板组件、锂离子电池以及大容量电池 |
Also Published As
| Publication number | Publication date |
|---|---|
| JP5314359B2 (ja) | 2013-10-16 |
Similar Documents
| Publication | Publication Date | Title |
|---|---|---|
| JP5314359B2 (ja) | リチウム二次電池用注液栓の密閉方法、その密閉構造及びその密閉構造を具備したリチウム二次電池 | |
| KR100995417B1 (ko) | 이차전지 | |
| US10147925B2 (en) | Square secondary battery | |
| KR101254853B1 (ko) | 이차전지 | |
| US20120225348A1 (en) | Secondary battery | |
| US9620762B2 (en) | Electrical storage element | |
| US8752573B2 (en) | Non-aqueous electrolyte secondary battery with filling function, and non-aqueous electrolyte secondary battery and non-aqueous electrolyte filling device used therefor | |
| JP5173095B2 (ja) | 密閉型電池 | |
| JP5282070B2 (ja) | 二次電池 | |
| KR101841340B1 (ko) | 밀폐형 전지 | |
| US9350010B2 (en) | Secondary battery and method for fabricating the same | |
| US7960055B2 (en) | Secondary battery | |
| JPH0877999A (ja) | 電 池 | |
| EP2175506A2 (en) | Secondary battery | |
| JP2009289589A (ja) | 電池複合蓋およびそれを用いた密閉型電池、ならびに電池複合蓋の製造方法 | |
| JP2001084991A (ja) | 電 池 | |
| JP2008305644A (ja) | 電池 | |
| JP3113674U (ja) | リチウム二次電池用注液栓の密閉構造 | |
| JP6014161B2 (ja) | 角形蓄電素子の製造方法 | |
| US20240113321A1 (en) | Method for the manufacture of lower capacity elliptic cylindrical lithium ion cells with low internal resistance | |
| CN1266783C (zh) | 锂离子电池密封结构 | |
| JP2014150047A (ja) | 蓄電素子 | |
| WO2018154841A1 (ja) | コイン形電池 | |
| CN105226205B (zh) | 电池用封口构造以及使用了该电池用封口构造的电池 | |
| JP2002304984A (ja) | 二次電池 |
Legal Events
| Date | Code | Title | Description |
|---|---|---|---|
| A621 | Written request for application examination |
Free format text: JAPANESE INTERMEDIATE CODE: A621 Effective date: 20110801 |
|
| RD03 | Notification of appointment of power of attorney |
Free format text: JAPANESE INTERMEDIATE CODE: A7423 Effective date: 20120813 |
|
| TRDD | Decision of grant or rejection written | ||
| A01 | Written decision to grant a patent or to grant a registration (utility model) |
Free format text: JAPANESE INTERMEDIATE CODE: A01 Effective date: 20130625 |
|
| A61 | First payment of annual fees (during grant procedure) |
Free format text: JAPANESE INTERMEDIATE CODE: A61 Effective date: 20130705 |
|
| R150 | Certificate of patent or registration of utility model |
Free format text: JAPANESE INTERMEDIATE CODE: R150 Ref document number: 5314359 Country of ref document: JP Free format text: JAPANESE INTERMEDIATE CODE: R150 |
