JP2010054424A - 漏液センサ - Google Patents
漏液センサ Download PDFInfo
- Publication number
- JP2010054424A JP2010054424A JP2008221266A JP2008221266A JP2010054424A JP 2010054424 A JP2010054424 A JP 2010054424A JP 2008221266 A JP2008221266 A JP 2008221266A JP 2008221266 A JP2008221266 A JP 2008221266A JP 2010054424 A JP2010054424 A JP 2010054424A
- Authority
- JP
- Japan
- Prior art keywords
- light
- prism
- oil
- water
- incident
- Prior art date
- Legal status (The legal status is an assumption and is not a legal conclusion. Google has not performed a legal analysis and makes no representation as to the accuracy of the status listed.)
- Granted
Links
Images
Landscapes
- Investigating Or Analysing Materials By Optical Means (AREA)
Abstract
【解決手段】光を照射する発光器11と照射された光が入射するようになっているプリズム1とプリズム1を透過した光を受光するプリズム2とプリズム2から出射した光を受光するための受光器14と受光器での受光量から油の有無を判定する受光処理部15とを具備し、プリズム1の面Aとプリズム2の面Bは互いに向かい合っており、両面の間隙部3では間隙部の下部を水、油又は油が浸入した水に浸けたとき毛細管現象によって液面が上昇するようになっており、プリズム1に入射した光は面Aに入射角αで入射するようになっており、入射した光が面Aに入射する位置において面Aが空気又は水と接しているときプリズム1に入射した光が面Aで全反射、面Aが油と接しているときプリズム1に入射した光が面Aを透過してプリズム2に入射し受光器に受光される。
【選択図】図7
Description
本発明は、発光駆動部によって駆動され光を照射する発光器と、前記発光器から照射された光が入射するようになっているフロート部と、前記フロート部からの光を受光するための受光器と、前記受光器での受光量から油の有無を判定する受光処理部と、前記判定の結果に応じて警報を発する警報部とを具備した漏液センサに関し、本発明の上記目的は、前記フロート部は、1つ又は2つのプリズムを具備し、前記プリズムは互いに向き合った2つの面Aと面Bを具備し、前記面Aと前記面Bの間の間隙部では、前記間隙部の下部を水、油又は油が浸入した水に浸けたとき、毛細管現象によって水、油又は油が浸入した水の液面が上昇するようになっており、前記発光器から照射された光は前記プリズムに入射して前記面Aに入射角αで入射するようになっており、前記フロート部が水に浮いているとき、前記発光器から照射された光が前記面Aに入射する位置において、前記面Aは空気又は水と接し、前記フロート部が油又は油が浸入した水に浮いているとき、前記位置において前記面Aは油と接するように前記フロート部の比重が設定され、前記入射角αと前記プリズムの屈折率は、前記位置において前記面Aが空気又は水と接しているとき、前記発光器から照射された光が前記面Aで全反射すると共に、前記位置において前記面Aが油と接しているとき、前記発光器から照射された光が前記面Aを透過するように設定し、前記位置において前記面Aが油と接しているとき、前記発光器から照射された光が前記面Aを透過し、前記面Bに入射して前記プリズムを出射し、前記受光器は前記プリズムを出射した光を受光するようになっていると共に、前記位置において前記面Aが空気又は水と接しているときに、前記発光器から照射され前記面Aで全反射した光を前記受光器は受光しないようになっていることによって達成される。
(数1)
γS=γL・cosθ−γSL
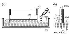
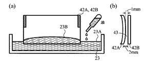
数1において、γSは固体の表面張力、γLは液体(液滴)の表面張力、γSLは固体と液体の界面張力である。接触角θは液体の固体へのぬれを表す指標として用いられ、接触角θが小さいと液体は固体にぬれ易く、接触角θが大きいと液体は固体にぬれにくいと評価される。実験では板41の材質として透明で油等に強いものを選び、アクリル、ポリプロピレン、テフロン(登録商標)(フッ素樹脂)、ポリエチレンの板41について、液滴24の接触角θを測定する。また、実験ではθ/2法によって接触角θを求める。θ/2法では図2に示されるように、液滴の直径dと、液滴の高さhを測定し、液滴の左右端点と頂点を結ぶ直線の固体表面に対する角度θ1を求める。微小液滴形状は円の一部と仮定できるため、幾何学の定理よりθ=2θ1が成り立つ。表2は、板41上に作成した水又は各種の油の液滴24の、直径dと、高さhと、θ/2法によって求めた接触角θを示しており、表2の(a)、(b)、(c)、(d)は、それぞれ板41がアクリル、ポリプロピレン、テフロン、ポリエチレンの場合を示している。
(数2)
sinθ=n2/n1
プリズム1の屈折率をn=1.5とすると、水の屈折率は1.33、油(軽油)の屈折率は1.45であるから、入射角αは下記数3を満たす必要が有る。
(数3)
1.33/1.5≦sinα<1.45/1.5
従って、入射角αは下記数4に示される範囲にあれば良い。
(数4)
62.5°≦α≦75°
光Lがプリズム1の面1Bに対して垂直に入射し、プリズム1の∠Qが直角であるとすると、面1Aの傾き角βは下記数5に示される範囲にあれば良い。
(数5)
15°≦β≦27.5°
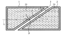
図5は、プリズム1とプリズム2の間の間隙部3が空気の場合と、プリズム1及びプリズム2の下部が水又は油に浸かっている場合の、プリズム1に入射する光Lの進路及び水又は油の液面の様子について説明する模式図である。
3、3A、3B,35、43 間隙部
4、5 フロート
6 支持部材
7 フロート部
8 透明板
9 遮蔽板
10 発光駆動部
11 発光器
12、13 光ファイバ
12A 発光部
13A 受光部
14 受光器
15 受光処理部
16 警報部
17 警告灯
18 光線スイッチ
19 容器
20 地面、床
21 水
22 油
23、25 液体
24 液滴
30 プリズム部
32 固定部材
33 板状部材
34 反射鏡
40 アクリル製の円筒
41、42、42A、42B 板
Claims (5)
- 発光駆動部によって駆動され光を照射する発光器と、前記発光器から照射された光が入射するようになっているプリズム1と、前記プリズム1を透過した光を受光するプリズム2と、前記プリズム2から出射した光を受光するための受光器と、前記受光器での受光量から油の有無を判定する受光処理部と、前記判定の結果に応じて警報を発する警報部とを具備した漏液センサであって、
前記プリズム1の面Aと前記プリズム2の面Bは互いに向かい合っており、前記面Aと前記面Bの間の間隙部では、前記間隙部の下部を水、油又は油が浸入した水に浸けたとき、毛細管現象によって水、油又は油が浸入した水の液面が上昇するようになっており、
前記発光器から照射され前記プリズム1に入射した光は、前記面Aに入射角αで入射するようになっており、
前記入射角αと前記プリズム1の屈折率は、前記プリズム1に入射した光が前記面Aに入射する位置において前記面Aが空気又は水と接しているとき、前記プリズム1に入射した光が前記面Aで全反射すると共に、前記位置において前記面Aが油と接しているとき、前記プリズム1に入射した光が前記面Aを透過するように設定し、
前記位置において前記面Aが油と接しているとき、前記発光器から照射された光が前記面Aを透過し、前記面Bから前記プリズム2に入射して前記プリズム2を出射し、前記受光器は前記プリズム2を出射した光を受光するようになっていると共に、前記位置において前記面Aが空気又は水と接しているときに、前記プリズム1に入射して前記面Aで全反射した光を前記受光器は受光しないようになっていることを特徴とする漏液センサ。 - 発光駆動部によって駆動され光を照射する発光器と、前記発光器から照射された光が入射するようになっているフロート部と、前記フロート部からの光を受光するための受光器と、前記受光器での受光量から油の有無を判定する受光処理部と、前記判定の結果に応じて警報を発する警報部とを具備した漏液センサであって、
前記フロート部は、プリズム1と、プリズム2と、前記プリズム1と前記プリズム2の高さを一致させるための支持部材とを具備し、
前記プリズム1の面Aと前記プリズム2の面Bは互いに向かい合っており、前記面Aと前記面Bの間の間隙部では、前記間隙部の下部を水、油又は油が浸入した水に浸けたとき、毛細管現象によって水、油又は油が浸入した水の液面が上昇するようになっており、
前記発光器から照射された光は前記プリズム1に入射して、前記面Aに入射角αで入射するようになっており、
前記フロート部が水に浮いているとき、前記発光器から照射された光が前記面Aに入射する位置において、前記面Aは空気又は水と接し、前記フロート部が油又は油が浸入した水に浮いているとき、前記位置において前記面Aは油と接するように前記フロート部の比重が設定され、
前記入射角αと前記プリズム1の屈折率は、前記位置において前記面Aが空気又は水と接しているとき、前記発光器から照射された光が前記面Aで全反射すると共に、前記位置において前記面Aが油と接しているとき、前記発光器から照射された光が前記面Aを透過するように設定し、
前記位置において前記面Aが油と接しているとき、前記発光器から照射された光が前記面Aを透過し、前記面Bから前記プリズム2に入射して前記プリズム2を出射し、前記受光器は前記プリズム2を出射した光を受光するようになっていると共に、前記位置において前記面Aが空気又は水と接しているときに、前記発光器から照射され前記面Aで全反射した光を前記受光器は受光しないようになっていることを特徴とする漏液センサ。 - 前記発光器から照射された光を誘導して前記プリズム1に入射させる光ファイバ1と、前記プリズム2を出射した光を誘導して前記受光器に受光させる光ファイバ2とを具備した請求項1又は2に記載の漏液センサ。
- 発光駆動部によって駆動され光を照射する発光器と、前記発光器から照射された光が入射するようになっているプリズムと、前記プリズムから出射した光を受光するための受光器と、前記受光器での受光量から油の有無を判定する受光処理部と、前記判定の結果に応じて警報を発する警報部とを具備した漏液センサであって、
前記プリズムに入射した光が進む前記プリズムの断面が四角形ABCDであり、前記四角形ABCDは∠Bが90°で、前記発光器から照射された光は辺ADに入射すると共に、前記光は辺ABに入射角αで入射するようになっており、前記プリズムは辺BCを含む面Yに反射鏡を貼着し、
前記漏液センサは前記プリズムの前記辺ABを含む面Xとの間に間隙部を形成する面を具備した部材を具備し、前記間隙部内では、前記間隙部の下部を水、油又は油が浸入した水に浸けたとき、毛細管現象によって水、油又は油が浸入した水の液面が上昇するようになっており、
前記入射角αと前記プリズムの屈折率は、前記光が前記辺ABに入射する位置において前記面Xが空気又は水と接しているとき、前記光は前記面Xで全反射し、前記位置において前記面Xが油と接しているとき、前記光は前記面Xを透過するように設定し、
前記位置において前記面Xが空気又は水と接しているとき、前記光は前記反射鏡で反射され前記辺ADから前記プリズムを出射して前記受光器に受光されるようになっていると共に、前記位置において前記面Xが油と接しているとき、前記光は前記受光器に受光されないようになっていることを特徴とする漏液センサ。 - 前記発光器から照射された光を誘導して前記プリズムの前記辺ADに入射させる光ファイバ1と、前記プリズムの前記辺ADを出射した光を誘導して前記受光器に受光させる光ファイバ2とを具備した請求項4に記載の漏液センサ。
Priority Applications (1)
| Application Number | Priority Date | Filing Date | Title |
|---|---|---|---|
| JP2008221266A JP5184264B2 (ja) | 2008-08-29 | 2008-08-29 | 漏液センサ |
Applications Claiming Priority (1)
| Application Number | Priority Date | Filing Date | Title |
|---|---|---|---|
| JP2008221266A JP5184264B2 (ja) | 2008-08-29 | 2008-08-29 | 漏液センサ |
Publications (2)
| Publication Number | Publication Date |
|---|---|
| JP2010054424A true JP2010054424A (ja) | 2010-03-11 |
| JP5184264B2 JP5184264B2 (ja) | 2013-04-17 |
Family
ID=42070503
Family Applications (1)
| Application Number | Title | Priority Date | Filing Date |
|---|---|---|---|
| JP2008221266A Active JP5184264B2 (ja) | 2008-08-29 | 2008-08-29 | 漏液センサ |
Country Status (1)
| Country | Link |
|---|---|
| JP (1) | JP5184264B2 (ja) |
Cited By (4)
| Publication number | Priority date | Publication date | Assignee | Title |
|---|---|---|---|---|
| DE102011005364A1 (de) | 2010-03-11 | 2011-09-15 | Hitachi Automotive Systems, Ltd. | Regelungsvorrichtung für hydraulischen Druck |
| JP2013535668A (ja) * | 2010-07-22 | 2013-09-12 | シーメンス エナジー インコーポレイテッド | タービンエンジン部品における流体検出 |
| CN105301186A (zh) * | 2015-09-19 | 2016-02-03 | 武汉阿卡瑞思光电自控有限公司 | 油品泄漏检测仪的试验装置及试验方法 |
| CN115406504A (zh) * | 2021-11-08 | 2022-11-29 | 中国石油化工股份有限公司 | 一种玻璃板界位计与界位测量方法 |
Families Citing this family (2)
| Publication number | Priority date | Publication date | Assignee | Title |
|---|---|---|---|---|
| EP3540434B1 (de) * | 2018-03-14 | 2020-04-29 | Meter Group AG | Technik zum messen eines matrixpotentials und/oder eines dampfdrucks in einem zu untersuchenden medium |
| KR102574521B1 (ko) * | 2021-04-12 | 2023-09-04 | 경상국립대학교산학협력단 | 해양오염 기름 두께 측정 방법 및 장치 |
Citations (7)
| Publication number | Priority date | Publication date | Assignee | Title |
|---|---|---|---|---|
| JPS497512B1 (ja) * | 1964-07-13 | 1974-02-20 | ||
| JPS55129730A (en) * | 1980-03-15 | 1980-10-07 | Yuasa Battery Co Ltd | Measurement unit for fluid refractive index |
| JPS55156838A (en) * | 1979-05-21 | 1980-12-06 | Kureha Chem Ind Co Ltd | Existence detecting method for oil or oil soluble liquid |
| JPH07318549A (ja) * | 1994-05-30 | 1995-12-08 | Hitachi Ltd | 液漏れ検出装置及びこれを用いた液体クロマトグラフ |
| JPH11352055A (ja) * | 1998-04-10 | 1999-12-24 | Nok Corp | 光学式液体屈折率測定装置 |
| JP2001337006A (ja) * | 2000-05-29 | 2001-12-07 | Sunx Ltd | 漏液センサ |
| JP2006322884A (ja) * | 2005-05-20 | 2006-11-30 | Tamada Kogyo Kk | 鉱油系燃料油の漏れ等検知装置用センサー及び該センサーを使用した漏れ検知装置 |
-
2008
- 2008-08-29 JP JP2008221266A patent/JP5184264B2/ja active Active
Patent Citations (7)
| Publication number | Priority date | Publication date | Assignee | Title |
|---|---|---|---|---|
| JPS497512B1 (ja) * | 1964-07-13 | 1974-02-20 | ||
| JPS55156838A (en) * | 1979-05-21 | 1980-12-06 | Kureha Chem Ind Co Ltd | Existence detecting method for oil or oil soluble liquid |
| JPS55129730A (en) * | 1980-03-15 | 1980-10-07 | Yuasa Battery Co Ltd | Measurement unit for fluid refractive index |
| JPH07318549A (ja) * | 1994-05-30 | 1995-12-08 | Hitachi Ltd | 液漏れ検出装置及びこれを用いた液体クロマトグラフ |
| JPH11352055A (ja) * | 1998-04-10 | 1999-12-24 | Nok Corp | 光学式液体屈折率測定装置 |
| JP2001337006A (ja) * | 2000-05-29 | 2001-12-07 | Sunx Ltd | 漏液センサ |
| JP2006322884A (ja) * | 2005-05-20 | 2006-11-30 | Tamada Kogyo Kk | 鉱油系燃料油の漏れ等検知装置用センサー及び該センサーを使用した漏れ検知装置 |
Cited By (5)
| Publication number | Priority date | Publication date | Assignee | Title |
|---|---|---|---|---|
| DE102011005364A1 (de) | 2010-03-11 | 2011-09-15 | Hitachi Automotive Systems, Ltd. | Regelungsvorrichtung für hydraulischen Druck |
| JP2013535668A (ja) * | 2010-07-22 | 2013-09-12 | シーメンス エナジー インコーポレイテッド | タービンエンジン部品における流体検出 |
| CN105301186A (zh) * | 2015-09-19 | 2016-02-03 | 武汉阿卡瑞思光电自控有限公司 | 油品泄漏检测仪的试验装置及试验方法 |
| CN105301186B (zh) * | 2015-09-19 | 2017-03-08 | 武汉阿卡瑞思光电自控有限公司 | 油品泄漏检测仪的试验装置及试验方法 |
| CN115406504A (zh) * | 2021-11-08 | 2022-11-29 | 中国石油化工股份有限公司 | 一种玻璃板界位计与界位测量方法 |
Also Published As
| Publication number | Publication date |
|---|---|
| JP5184264B2 (ja) | 2013-04-17 |
Similar Documents
| Publication | Publication Date | Title |
|---|---|---|
| JP5184264B2 (ja) | 漏液センサ | |
| US7049622B1 (en) | Optical position sensor for determining the interface between a clear and an opaque fluid | |
| US5712934A (en) | Fiber optic infrared sensor | |
| US20090153846A1 (en) | Fluid level indicator | |
| CA1082053A (en) | Optical material level probe | |
| EP3023755B1 (en) | Optical impedance modulation for fuel quantity measurement | |
| JP5016677B2 (ja) | 光電子水準器を備えた傾斜センサ | |
| JPS60501719A (ja) | 流体パラメ−タの光学基礎による測定 | |
| US5422495A (en) | Optical sensor having a floatation means for detecting fluids through refractive index measurement | |
| US20130037727A1 (en) | Fluorescence sensor | |
| KR102026339B1 (ko) | 부표식 레이저 수위계 | |
| CN102869981B (zh) | 浊度检测器 | |
| US6795598B1 (en) | Liquid-level sensor having multiple solid optical conductors with surface discontinuities | |
| JP3501178B2 (ja) | 液中粒子濃度検出装置 | |
| US11047726B2 (en) | Fluid level sensing device and method of determining a fluid level comprising an optical waveguide with successive ones of curved portions being curved in alternating directions | |
| JP5904578B2 (ja) | 光学式液漏れ検知装置および方法 | |
| RU2568990C1 (ru) | Устройство для контроля уровня жидкости | |
| CN214407675U (zh) | 一种光电式液位传感器 | |
| JP2012093232A (ja) | フォトセンサ及びレベルセンサ | |
| JP2020204540A (ja) | 金属の腐食検出装置及び腐食検出方法 | |
| KR100789285B1 (ko) | 광학식 유면측정센서 | |
| JP2016183863A (ja) | 光学式センサ | |
| JP7254422B2 (ja) | 表面形状測定システムおよび表面形状測定器を用いた表面形状測定方法 | |
| JP2002039938A (ja) | 漏液センサ | |
| RU2187079C1 (ru) | Волоконно-оптический измеритель объема и уровня жидкости |
Legal Events
| Date | Code | Title | Description |
|---|---|---|---|
| A621 | Written request for application examination |
Free format text: JAPANESE INTERMEDIATE CODE: A621 Effective date: 20110826 |
|
| A977 | Report on retrieval |
Free format text: JAPANESE INTERMEDIATE CODE: A971007 Effective date: 20121226 |
|
| TRDD | Decision of grant or rejection written | ||
| A01 | Written decision to grant a patent or to grant a registration (utility model) |
Free format text: JAPANESE INTERMEDIATE CODE: A01 Effective date: 20130108 |
|
| A61 | First payment of annual fees (during grant procedure) |
Free format text: JAPANESE INTERMEDIATE CODE: A61 Effective date: 20130116 |
|
| R150 | Certificate of patent or registration of utility model |
Ref document number: 5184264 Country of ref document: JP Free format text: JAPANESE INTERMEDIATE CODE: R150 Free format text: JAPANESE INTERMEDIATE CODE: R150 |
|
| FPAY | Renewal fee payment (event date is renewal date of database) |
Free format text: PAYMENT UNTIL: 20160125 Year of fee payment: 3 |
|
| R250 | Receipt of annual fees |
Free format text: JAPANESE INTERMEDIATE CODE: R250 |
|
| R250 | Receipt of annual fees |
Free format text: JAPANESE INTERMEDIATE CODE: R250 |
|
| R250 | Receipt of annual fees |
Free format text: JAPANESE INTERMEDIATE CODE: R250 |
|
| R250 | Receipt of annual fees |
Free format text: JAPANESE INTERMEDIATE CODE: R250 |
|
| R250 | Receipt of annual fees |
Free format text: JAPANESE INTERMEDIATE CODE: R250 |
|
| R250 | Receipt of annual fees |
Free format text: JAPANESE INTERMEDIATE CODE: R250 |
|
| R250 | Receipt of annual fees |
Free format text: JAPANESE INTERMEDIATE CODE: R250 |
|
| R250 | Receipt of annual fees |
Free format text: JAPANESE INTERMEDIATE CODE: R250 |
|
| R250 | Receipt of annual fees |
Free format text: JAPANESE INTERMEDIATE CODE: R250 |
|
| R250 | Receipt of annual fees |
Free format text: JAPANESE INTERMEDIATE CODE: R250 |
|
| R250 | Receipt of annual fees |
Free format text: JAPANESE INTERMEDIATE CODE: R250 |
