JP2010052714A - 車両用表示装置 - Google Patents

車両用表示装置 Download PDF

Info

Publication number
JP2010052714A
JP2010052714A JP2009080426A JP2009080426A JP2010052714A JP 2010052714 A JP2010052714 A JP 2010052714A JP 2009080426 A JP2009080426 A JP 2009080426A JP 2009080426 A JP2009080426 A JP 2009080426A JP 2010052714 A JP2010052714 A JP 2010052714A
Authority
JP
Japan
Prior art keywords
vehicle
detection
voltage
control circuit
conductive member
Prior art date
Legal status (The legal status is an assumption and is not a legal conclusion. Google has not performed a legal analysis and makes no representation as to the accuracy of the status listed.)
Granted
Application number
JP2009080426A
Other languages
English (en)
Other versions
JP5233794B2 (ja
Inventor
Hiroshi Tominaga
弘 富永
Yukihide Shibata
行英 柴田
Soji Okita
宗史 沖田
Hiroshi Kato
博史 加藤
Masahiro Takamatsu
昌博 高松
Current Assignee (The listed assignees may be inaccurate. Google has not performed a legal analysis and makes no representation or warranty as to the accuracy of the list.)
Denso Corp
Toyota Motor Corp
Original Assignee
Denso Corp
Toyota Motor Corp
Priority date (The priority date is an assumption and is not a legal conclusion. Google has not performed a legal analysis and makes no representation as to the accuracy of the date listed.)
Filing date
Publication date
Application filed by Denso Corp, Toyota Motor Corp filed Critical Denso Corp
Priority to JP2009080426A priority Critical patent/JP5233794B2/ja
Publication of JP2010052714A publication Critical patent/JP2010052714A/ja
Application granted granted Critical
Publication of JP5233794B2 publication Critical patent/JP5233794B2/ja
Expired - Fee Related legal-status Critical Current
Anticipated expiration legal-status Critical

Links

Images

Landscapes

  • Instrument Panels (AREA)

Abstract

【課題】電磁ノイズを正しく低減する車両用表示装置の提供。
【解決手段】メータ制御回路部40に接続されて当該回路部40に接地電圧を印加するワイヤーアース36と、メータ制御回路部40に接続されるとともに、導電材料よりなるアースブラケット23に接続され当該回路部40に接地電圧を印加する液晶筐体55と、車両電源27に接続される検出用抵抗器34aと、検出用抵抗器34aに接続されて電源電圧が印加されるとともに、車両の仕様に応じてアースブラケット23に接続されて接地電圧が印加される検出用ターミナル60と、検出用ターミナル60に接続されて検出用抵抗器34aとアースブラケット23との間において電圧を検出し、検出結果に基づいてアースブラケット23の有無を判定するメータ制御回路部40と、メータ制御回路部40によりアースブラケット23の無の判定が下された場合に異常を報知する液晶パネル32と、を備える。
【選択図】図5

Description

本発明は、車両において情報を表示する表示部と、当該表示部による情報表示を制御する制御回路部と、を備えた車両用表示装置に関するものである。
従来、表示部および制御回路部で生じる電磁ノイズを低減するため、制御回路部に直接的に接続されて、当該制御回路部に接地電圧を印加するアース部を備える車両用表示装置が知られている。例えば特許文献1には、このようなアース部を配線部材であるコードによって構成する車両用表示装置が開示されている。
しかし、特許文献1のように、コードを介して制御回路部に印加される接地電圧のみでは電磁ノイズの低減作用が弱く、表示部および制御回路部等で生じる電磁ノイズが車両用表示装置の外部へ放射されてしまう。このため、電磁ノイズの発生量が増加している近年の車両用表示装置では、当該装置から放射される電磁ノイズの許容値を定めた電波認証条件を満たすことができない場合がある。
特開平11−268557号公報
そこで本発明者らは、上記電波認証条件を満たすべく、電磁ノイズを低減する技術について鋭意研究を行ってきた。その結果、制御回路部に接続されるとともに、車両に設置された導電材料よりなる導電部材に接続され、当該導電部材を介して制御回路部に接地電圧を印加する別のアース部を設ける構成を想到した。別のアース部による制御回路部への接地電圧の印加により、電磁ノイズの低減作用を強化することができるのである。
さて、車両の仕様に応じて車両用表示装置の仕様が選択される場合において、それぞれの仕様の車両用制御装置で生じる電磁ノイズの発生量が異なることがある。そのため、別のアース部を設けることなく電波認証条件を満たすことができる仕様の車両用表示装置がある場合、導電部材が設置されない仕様の車両が生じる。このように、導電部材が設置されない仕様の車両が生じた場合、作業者の間違った作業により、導電部材が設置される必要のある仕様の車両であっても、誤って導電部材が設置されないおそれがある。
ここで、導電部材が設置される必要のある仕様の車両において、導電部材が正しく設置される場合、制御回路部に直接的に接続されるアース部によって、制御回路部に接地電圧が印加されるとともに、導電部材に接続される別のアース部によって、導電部材を介して制御回路部に接地電圧が印加される。この場合に対して、導電部材が設置される必要のある仕様の車両において、導電部材が誤って設置されない場合では、制御回路部に直接的に接続されるアース部により、制御回路部に接地電圧が印加される。以上によれば、導電部材の有無にかかわらず、制御回路部には接地電圧が印加されることになるので、当該制御回路部自身によっては導電部材の有無を検出することができず、導電部材の欠品により電磁ノイズを正しく低減できないおそれがあった。
本発明は、上記問題点に鑑みてなされたものであり、その目的は、電磁ノイズを正しく低減する車両用表示装置を提供することである。
上記目的を達成するために、請求項1に記載の発明は、車両において情報を表示する表示部と、表示部による情報表示を制御する制御回路部と、を備えた車両用表示装置であって、制御回路部に接続されて制御回路部に接地電圧を印加する第一アース部と、制御回路部に接続されるとともに、導電材料よりなる導電部材に車両の仕様に応じて接続され、導電部材を介して制御回路部に接地電圧を印加する第二アース部と、車両電源に接続される検出用抵抗体と、検出用抵抗体に接続されて、車両電源から検出用抵抗体を介して電源電圧が印加されるとともに、車両の仕様に応じて導電部材に接続されて接地電圧が印加される検出用接続部と、検出用接続部に接続されて検出用抵抗体と導電部材との間において電圧を検出する検出手段と、検出手段の検出結果に基づいて、導電部材の有無を判定する判定手段と、判定手段により導電部材の無の判定が下された場合に、異常を報知する報知手段と、を備える。
この発明によれば、導電材料よりなる導電部材が設置される仕様の車両において、当該導電部材が正しく設置される場合では、検出用接続部には、車両電源に接続される検出用抵抗体を介して当該車両電源から電源電圧が印加される。加えて、導電部材に接続される検出用接続部には、接地電圧が印加される。一方、導電部材が誤って設置されない場合では、検出用接続部には接地電圧が印加されず、車両電源に接続される検出用抵抗体を介して車両電源から電源電圧のみが印加される。以上によれば、検出用接続部に接続されて検出手段が検出する検出用抵抗体と、導電部材との間における電圧は、導電部材の有無によって異なることになるので、判定手段は、検出手段の検出結果に基づいて導電部材の有無を判定できる。そして、判定手段により導電部材の無の判定が下された場合には、報知手段が、導電部材が誤って設置されていないという異常を報知するので、導電部材の欠品を防止して電磁ノイズを正しく低減することが可能となるのである。
請求項2に記載の発明では、判定手段は、検出手段が検出した電圧が、接地電圧よりも電源電圧に近い場合に、導電部材の無の判定を下す。この発明によれば、導電部材が正しく設置される場合では、車両電源から電源電圧が印加されるとともに、導電部材に接続されて接地電圧が印加される検出用接続部での検出電圧は、当該接地電圧に近い。一方、導電部材が誤って設置されない場合では、車両電源から検出用抵抗体を介して電源電圧が印加されるのみである検出用接続部での電圧は、当該電源電圧に近い。故に、検出手段により検出される検出電圧が、接地電圧よりも電源電圧に近い場合には、導電部材の無の判定を正確に下すことができる。したがって、導電部材の欠品を正確に防止して電磁ノイズの低減効果を確固たるものとなし得るのである。
請求項3に記載の発明では、判定手段には、接地電圧よりも電源電圧に近い第一閾電圧と、第一閾電圧よりも接地電圧に近い第二閾電圧と、が設定され、判定手段は、検出手段が検出した電圧が第一閾電圧よりも電源電圧に近い場合に、導電部材の無の判定を下し、検出手段が検出した電圧が第二閾電圧よりも接地電圧に近い場合に、導電部材の有の判定を下す。この発明によれば、導電部材が誤って設置されない場合では、検出手段は電源電圧に近い電圧を検出する。故に、接地電圧よりも電源電圧に近い第一閾電圧に対して、検出電圧がさらに電源電圧に近い場合に、判定手段が無の判定を下すことで、判定手段による無の判定を正確に下すことができる。また、導電部材が正しく設置される場合では、検出手段は接地電圧に近い電圧を検出する。故に、第一閾電圧よりも接地電圧に近い第二閾電圧に対して、検出電圧がさらに接地電圧に近い場合に、判定手段が有の判定を下すことで、当該判定手段による有の判定を正確に下すことができる。したがって、導電部材の欠品をさらに正確に防止して電磁ノイズの低減効果を確固たるものとなし得るのである。
請求項4に記載の発明では、検出手段は、車両電源から検出手段に流入する過電流に対して当該検出手段を保護する保護用抵抗体を介して、検出用接続部に接続される。この発明によれば、車両電源と検出手段の導通が形成されるとき、車両電源から検出手段には、過電流が流入する懸念がある。そこで、検出手段が、車両電源から検出手段に流入する過電流に対して当該検出手段を保護する保護用抵抗体を介して、検出用接続部に接続されることで、車両電源から検出手段への過電流の流入を抑制することができる。故に、検出手段は、保護用抵抗体によって過電流から保護される。これにより、検出手段が検出する検出結果についての信頼性が高まり、判定手段による導電部材の有無の判定を正確に行うことができるのである。
請求項5に記載の発明では、検出用接続部は、弾性を有する金属材料よりなり、検出用接続部の導電部材と接触する接触部が、検出用接続部の弾性により導電部材に押圧される。この発明によれば、検出用接続部の導電部材と接触する接触部が、金属材料よりなる検出用接続部が有する弾性によって導電部材に押圧されることで、当該接触部は導電部材と確実に接触することができる。したがって、導電部材が正しく設置される場合では、接触部が導電部材に確実に接続されて、導電部材から検出用接続部に接地電圧を確実に印加することができる。これにより、検出手段が検出する検出結果についての信頼性が高まり、判定手段による導電部材の有無の判定を正確に行うことができるのである。
請求項6に記載の発明では、検出用接続部は、導線を絶縁膜によって被膜してなるフレキシブル基板であり、フレキシブル基板は、締結部材が通される締結孔と、締結孔の周縁に沿って導線が絶縁膜から露出する接触部と、を形成し、締結部材により車両へ組み付けられることで接触部が導電部材に押圧される。この発明によれば、導線を絶縁膜によって被膜してなる検出用接続部としてのフレキシブル基板において、締結孔の周縁に沿って導線が絶縁膜から露出する接触部は、締結孔に通された締結部材による車両への組み付けにより、導電部材に押圧されて当該導電部材と確実に接触することができる。したがって、導電部材が正しく設置される場合では、接触部が導電部材に確実に接続されて、導電部材から検出用接続部に接地電圧を確実に印加することができる。これにより、検出手段が検出する検出結果についての信頼性が高まり、判定手段による導電部材の有無の判定を正確に行うことができるのである。
ここで、導通部材の有無の検出および判定は、車両組立ての際に一度だけ行われればよい。故に、検出用接続部と導電部材との接続は、車両組立てにおける確認時のみで保障されていればよい。そこで、請求項7に記載の発明では、判定手段は、車両の走行距離を取得する走行距離取得部を有し、走行距離が所定値を超えた場合、導電部材の無の判定を禁止することを特徴とする。この発明によれば、判定手段の有する走行距離取得部によって取得された走行距離が所定値を超えた場合、当該判定手段による導電部材の無の判定が禁止される。また、請求項9に記載の発明では、判定手段は、車両の始動時からの経過時間を取得する経過時間取得部を有し、経過時間が所定値を超えた場合、導電部材の無の判定を禁止することを特徴とする。この発明によれば、判定手段の有する経過時間取得部によって取得された経過時間が所定値を超えた場合、当該判定手段による導電部材の無の判定が禁止される。これらによれば、検出用接続部と導電部材との接続の信頼性の低さに起因した、導電部材の誤った無の判定が、所定の走行距離の走行後又は所定時間の経過後では防止されることとなる。したがって、導通部材による電磁ノイズの低減が正しく行われているにもかかわらず、導電部材が設置されていないという誤った報知が報知手段によって行われることを防止し得るのである。尚、走行距離および経過時間の各所定値は、車両組立て時において、車両用表示装置の取付けから導通部材の有無の判定までに要する走行距離および経過時間を超えた値に設定される。
また、請求項8に記載の発明では、走行距離取得部は、車両の累積走行距離を取得し、判定手段は、累積走行距離が所定値を超えた場合、導電部材の無の判定を禁止することを特徴とする。この発明によれば、走行距離取得部によって取得された車両の累積走行距離が所定値を超えた場合、判定手段による導電部材の無の判定は禁止される。故に、所定の走行距離を走行後の車両における導電部材の誤った無の判定は、防止されることとなる。以上によれば、導通部材による電磁ノイズの低減が正しく行われているにもかかわらず、導電部材が設置されていないという誤った報知が報知手段によって行われることを確実に防止できるのである。尚、累積走行距離の所定値は、車両組立て時において、車両用表示装置の取付けから導通部材の有無の判定までに要する累積走行距離を超えた値に設定される。
請求項10に記載の発明では、制御回路部は、検出手段および判定手段を兼ねる。この発明によれば、制御回路部が、検出用抵抗体と導電部材との間における電圧の検出と、検出手段の検出結果に基づいた導電部材の有無の判定と、を行うことができるので、導電部材の有無の判定に要する装置の簡略化を実現することができる。
請求項11に記載の発明では、報知手段は、表示部であり、当該表示部は、判定手段により、導電部材の無の判定が下された場合に、異常を報知する異常報知画像を表示する。この発明によれば、判定手段により導電部材が無の判定が下された場合に、異常を報知する異常報知画像を表示部が表示する。これにより作業者は、導電部材が誤って設置されなかったことを、異常報知画像により容易に認識することができる。したがって、報知するための手段を新たに設けなくてもよいので、装置を簡略化することができるのである。
本発明の第一実施形態によるコンビネーションメータの斜視図である。 本発明の第一実施形態によるコンビネーションメータの構成を説明するための斜視図である。 本発明の第一実施形態によるアースブラケットとリインフォースメントとの接続を示す断面図である。 本発明の第一実施形態によるコンビネーションメータの部分断面図である。 本発明の第一実施形態による電気的構成を示すブロック図である。 本発明の第一実施形態による異常報知画像を示す図である。 本発明の第一実施形態による制御フローを示すフローチャートである。 本発明の第二実施形態によるコンビネーションメータの部分断面図である。 本発明の第三実施形態による電気的構成を示すブロック図である。 本発明の第三実施形態による制御フローを示すフローチャートである。 本発明の第四実施形態による電気的構成を示すブロック図である。 本発明の第四実施形態による制御フローを示すフローチャートである。 本発明の第四実施形態による制御フローの変形例を示すフローチャートである。 本発明の第四実施形態による制御フローの別の変形例を示すフローチャートである。
以下、本発明の複数の実施形態を図面に基づいて説明する。尚、各実施形態において対応する構成要素には同一の符号を付すことにより、重複する説明を省略する。
(第一実施形態)
図1〜3は、本発明の一実施形態によるコンビネーションメータ100を示している。コンビネーションメータ100は、車両の車室内に表示方向前側が運転席側に向けて配置されている。
(基本構成)
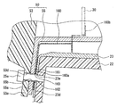
コンビネーションメータ100は、筐体50、フロントパネル51、液晶パネル32、および回路基板30等により構成されている。コンビネーションメータ100は、導電性を備える車両の構造部材にワイヤーアース36(図5参照)により接地されているとともに、アースブラケット23を介して、車両の構造部材であるリインフォースメント21(図3参照)に接地されている。
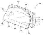
図1,4に示すように、筐体50は、見返し部材53、液晶筐体55、リヤパネル57等の複数の部材を互いに組み付けることによりにより構成されている。見返し部材53は、ポリプロピレン等の樹脂材料により筒状に形成されている。見返し部材53の内面側には、光の反射を抑制する黒色の塗装と、光を乱反射させるシボとにより、防眩のための防眩部53cが形成されている。また、見返し部材53は、コンビネーションメータ100を車載させるための、締結孔53dが形成される車載ブラケット部53aと、フロントパネル51を保持するための複数の固定爪53bを有している。
液晶筐体55は、金属材料によって枠形状に形成され、見返し部材53の表示方向後ろ側に組み付けられている。図1,2に示すように、液晶筐体55は、見返し部材53とともに回路基板30を挟み、当該回路基板30を保持している。加えて液晶筐体55は、液晶パネル32の周囲を覆うように設けられて、当該液晶パネル32を保持している。また、液晶筐体55は、コンビネーションメータ100を車載させるための、締結孔55bが形成される車載ブラケット部55aを有している。液晶筐体55の表示方向後側には、リヤパネル57が組み付けられている。リヤパネル57は、ポリプロピレン等の樹脂材料により形成される有底容器であり、表示方向後側からの塵および埃等の異物がコンビネーションメータ100内に進入することを防止している。
図1に示すように、フロントパネル51は、無色透明のアクリル樹脂等の透光性材料により形成されている。フロントパネル51は、複数の固定爪51bを有し、この複数の固定爪51bおよび見返し部材53が有する複数の固定爪53bによって、見返し部材53へ固定されている。
液晶パネル32は、車両において情報を画像として表示する板状の表示機器である。液晶パネル32は、フロントパネル51を通して表示方向前側から視認可能なように配置されている。液晶パネル32は、複数の画素が均等配列されたドットマトリックスタイプの表示パネルである。
図2に示すように、回路基板30は、紙フェノール系またはガラスエポキシ系の硬質の基板からなる。回路基板30には、所定の銅箔材料からなる配線パターン(図示しない)が形成されている。この回路基板30に形成される配線パターンの一部はアース配線である。アース配線は、回路基板30を保持している液晶筐体55およびワイヤーアース36(図5参照)に接続されている。
アースブラケット23は、例えば金属等の導電材料よりなり、締結部23bが設けられる車両側ブラケット部23a、および締結孔23eが設けられるメータ側ブラケット部23dを有している。アースブラケット23は、車両の仕様に応じて設置の有無が選択される。図3に示すように、アースブラケット23の車両側ブラケット部23aは、導電性を備える締結部材25bが締結部23bに通され、インスツルメントパネル22とともにリインフォースメント21のインパネ固定部材21aへと組みつけられている。これによりアースブラケット23については、リインフォースメント21との接続が形成されている。したがってアースブラケット23は、リインフォースメント21によって接地電圧(0V)が印加される。
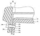
図4に示すように、コンビネーションメータ100は、見返し部材53の車載ブラケット部53a、液晶筐体55の車載ブラケット部55a、およびアースブラケット23のメータ側ブラケット部23dのそれぞれに設けられた締結孔53d,55b,23eに、締結部材25aが通され、当該締結部材25aがインスツルメントパネル22に固定されることにより、車両側に組み付けられる。締結部材25aの締結により、液晶筐体55の車載ブラケット部55aがアースブラケット23のメータ側ブラケット部23dに押圧されて、液晶筐体55とアースブラケット23との接続が形成されるようになっている。
図5は、コンビネーションメータ100の電気的構成を示している。コンビネーションメータ100の電気的構成は、液晶パネル32およびバックライト33等が接続されたメータ制御回路部40を中心に構成されている。
液晶パネル32は、一対の透明なガラス基板、当該ガラス基板の間に設けられる油状の透明な液晶組成物およびカラー表示のためのカラーフィルタ、ならびにガラス基板の両外表面に設けられる偏光フィルタ等により構成されている。液晶パネル32を構成する一対のガラス基板の内表面上には、液晶に電圧を印加するためのインジウムスズ酸化物等からなる透明電極が形成されている。液晶パネル32は、複数本の透明電極に所定の電圧が順次印加されることによって、それぞれの画素の光の透過率が制御され、画像を表示する。
バックライト33は、液晶パネル32の表示方向後側に設けられている。バックライト33は、チップタイプの発光ダイオードであって、回路基板30に複数個実装されている。バックライト33は、液晶パネル32に向けて白色の光を放射する。バックライト33により放射された光によって均等に透過照明されることで、液晶パネル32は画像を発光表示することができる。
メータ制御回路部40は、マイクロコンピュータからなり、回路基板30に実装されている。メータ制御回路部40には、イグニッションスイッチ28を介して車両電源27が接続されるとともに、回路基板30に形成されているアース配線を介してワイヤーアース36および液晶筐体55が接続されている。これにより、メータ制御回路部40は、車両電源27から電源電圧(例えば、5V)が印加されるとともに、ワイヤーアース36および液晶筐体55から接地電圧(0V)が印加される。またメータ制御回路部40は、車両制御装置29から取得した車両の情報に基づいて、当該車両における情報を液晶パネル32に画像として表示する。
以上のような第一実施形態の構成によれば、電磁ノイズは主に液晶パネル32とその周辺の回路によって発生する。具体的には、メータ制御回路部40は、液晶パネル32に画像を表示させるため、液晶パネル32の複数の透明電極に順次所定の電圧を印加する。メータ制御回路部40が各電極に印加する電圧は、高い周波数で連続的に変化するため、メータ制御回路部40および液晶パネル32、ならびにメータ制御回路部40と液晶パネル32とを接続する配線からは、多量の電磁ノイズが放射されることとなる。
アースブラケット23が正しく設置される場合、アースブラケット23およびワイヤーアース36を介して、接地電圧がメータ制御回路部40に印加されることによって、放射される電磁ノイズを確実に低減できる。しかし、アースブラケット23が誤って設置されない場合、メータ制御回路部40には、アースブラケット23を介した接地電圧が印加されず、ワイヤーアース36を介して接地電圧が印加されるのみとなる。故に、電磁ノイズを十分に低減することができない。したがって、コンビネーションメータ100から多量の電磁ノイズが放射されることとなるのである。
以上、第一実施形態において、アースブラケット23が請求項に記載の導電部材に、液晶パネル32が請求項に記載の表示部に、ワイヤーアース36が請求項に記載の第一アース部に、液晶筐体55が請求項に記載の第二アース部に、それぞれ相当する。
(特徴部分)
以下、本発明の第一実施形態によるコンビネーションメータ100の特徴部分について説明する。
図5に示すように、コンビネーションメータ100は、インターフェース34、検出用ターミナル60を、メータ制御回路部40に加えて備えている。
インターフェース34は、検出用抵抗器34aおよび保護用抵抗器34bを有している。検出用抵抗器34aおよび保護用抵抗器34bは、一定の電気抵抗値を有する受動素子であり、回路基板30(図2参照)に実装されている。検出用抵抗器34aは、車両電源27にイグニッションスイッチ28を介して接続されて、イグニッションスイッチ28のON時に車両電源27にから電源電圧が印加される。検出用抵抗器34aにおいて車両電源27が接続される側とは逆側には、保護用抵抗器34bが接続されている。
検出用ターミナル60は、検出用抵抗器34aにおいて車両電源27が接続される側の逆側に接続されて、車両電源27から検出用抵抗器34aを介して電源電圧が印加されるとともに、アースブラケット23に接続されて接地電圧が印加される。図2に示すように、検出用ターミナル60は弾性を有する金属材料よりなり、アースブラケット23と接触する接触部60aを有している。検出用ターミナル60は、当該検出用ターミナル60の弾性によって接触部60aをアースブラケット23に押圧している。
図5に示すように、メータ制御回路部40は、保護用抵抗器34bを介して検出用ターミナル60に接続されている。メータ制御回路部40は、検出用抵抗器34aとアースブラケット23との間において電圧を検出する。またメータ制御回路部40は、車両電源27から流入する過電流に対して、保護用抵抗器34bによって保護されている。
またメータ制御回路部40には、接地電圧よりも電源電圧に近い第一閾電圧(例えば、4V)と、第一閾電圧よりも接地電圧に近い第二閾電圧(例えば、2.5V)と、が設定されている。メータ制御回路部40は、検出用抵抗器34aとアースブラケット23との間の検出電圧を、第一閾電圧および第二閾電圧と比較して、アースブラケット23の有無を判定する。メータ制御回路部40は、アースブラケット23の無の判定に基づいて液晶パネル32を制御し、図6に示すような異常を報知するための異常報知画像70を表示する。
尚、第一実施形態において、液晶パネル32が請求項に記載の報知手段に、検出用ターミナル60が請求項に記載の検出用接続部に、それぞれ相当する。
以上のような第一実施形態の構成によれば、アースブラケット23の有無によってメータ制御回路部40が検出する電圧が異なる。まず、コンビネーションメータ100が車両に組み付けられる以前に、アースブラケット23が正しく車両に設置されている場合について説明する。この場合、検出用ターミナル60には、イグニッションスイッチ28のON時において、車両電源27に接続される検出用抵抗器34aを介して当該電源27から電源電圧が印加される。加えて、アースブラケット23に接続される検出用ターミナル60には、接地電圧が印加される。故に、検出用ターミナル60においてメータ制御回路部40が検出する電圧は、第二閾電圧よりも接地電圧に近い電圧となる。
次に、コンビネーションメータ100が車両に組み付けられる以前に、アースブラケット23が誤って車両に設置されなかった場合について説明する。この場合、アースブラケット23に接続されない検出用ターミナル60には、接地電圧が印加されず、イグニッションスイッチ28のON時において、当該電源27から電源電圧が印加されるのみである。故に、検出用ターミナル60においてメータ制御回路部40が検出する電圧は、第一閾電圧よりも電源電圧に近い電圧となる。
以上によれば、メータ制御回路部40は、検出した電圧の検出結果に基づいて、アースブラケット23の有無を判定できる。以下に、第一実施形態においてアースブラケット23の有無の判定を行って報知するためのメータ制御回路部40による制御フローについて、図7を参照しつつ説明する。尚、この制御フローは、車両のイグニッションスイッチ28がONされて、メータ制御回路部40とインターフェース34とに電源電圧が印加されることによりスタートする。
まず、ステップS1では、メータ制御回路部40は、検出用ターミナル60において検出した電圧と、当該メータ制御回路部40に設定された第一閾電圧および第二閾電圧とを比較する。メータ制御回路部40は、検出電圧が、第二閾電圧以下であった場合には、ステップS2に移行する。このステップS2では、メータ制御回路部40は、検出用ターミナル60がクローズ、即ちアースブラケット23が有という判定を下し、本制御フローを終了する。
一方、ステップS1において、メータ制御回路部40による検出電圧が第一閾電圧以上であった場合には、ステップS3に移行する。このステップS3では、メータ制御回路部40は、検出用ターミナル60がオープン、即ちアースブラケット23が無という判定を下し、ステップS4に移行する。ステップS4では、メータ制御回路部40が液晶パネル32を制御し、当該液晶パネル32に異常報知画像70を表示させて、本制御フローを終了する。
ここまで説明した第一実施形態では、メータ制御回路部40は、検出用ターミナル60において検出した電圧と、第一閾電圧および第二閾電圧とを比較することによって、アースブラケット23の有無の判定を正確に行うことができる。そして、メータ制御回路部40によりアースブラケット23の無の判定が下された場合には、液晶パネル32に表示される異常報知画像70(図6参照)によって、作業者は、アースブラケット23が誤って設置されなかったことを認識することができる。したがって、アースブラケット23の欠品を防止して電磁ノイズを正しく低減することが可能となるのである。
また第一実施形態では、検出用ターミナル60の接触部60aが、アースブラケット23に押圧されることで、当該接触部60aとアースブラケット23とが確実に接触している。したがって、アースブラケット23が正しく設置された場合では、接触部60aがアースブラケット23に確実に接続されて、アースブラケット23から検出用ターミナル60に接地電圧を確実に印加することができる。これにより、メータ制御回路部40の検出電圧についての信頼性が高まり、当該メータ制御回路部40よるアースブラケット23の有無の判定を正確に行うことができるのである。
さらに、イグニッションスイッチ28がONされ、検出用抵抗器34aを介した車両電源27とメータ制御回路部40との導通が形成されるとき、車両電源27からメータ制御回路部40には、過電流が流入する懸念がある。そこで第一実施形態では、メータ制御回路部40が保護用抵抗器34bを介して検出用ターミナル60に接続されることで、車両電源27からメータ制御回路部40への過電流の流入を抑制することができる。故に、メータ制御回路部40は、保護用抵抗器34bによって過電流から保護される。これにより、メータ制御回路部40の検出電圧についての信頼性が高まり、当該メータ制御回路部40は、アースブラケット23の有無の判定を正確に行うことができるのである。
またさらに第一実施形態では、メータ制御回路部40が、検出用抵抗器34aと検出用ターミナル60との間における電圧の検出と、当該検出電圧に基づいたアースブラケット23の有無の判定と、を行うことができる。故にアースブラケット23の有無の判定に要する装置の簡略化を実現することができる。加えて、メータ制御回路部40によって、アースブラケット23の無の判定が下された場合に、液晶パネル32が異常を報知する異常報知画像70を表示するので、新たな報知手段を設ける必要がなく、装置をさらに簡略化することができるのである。
(第二実施形態)
本発明の第二実施形態は、第一実施形態の変形例である。第二実施形態の検出用ターミナル160は、導線161を絶縁膜162によって被膜してなるフレキシブル基板である。検出用ターミナル160には、回路基板30側の端部に貼付部160bが、締結部材25a側の端部に接触部160aおよび締結孔163が、それぞれ設けられている。検出用ターミナル160の貼付部160bは、回路基板30側の絶縁膜162から露出された導線161によって形成されている。貼付部160bは、回路基板30に形成されている配線パターンに、導電性を備えた両面テープ等によって貼り付けられて、接続されている。検出用ターミナル160の接触部160aは、締結部材25aが通される締結孔163と、締結孔163の周縁に沿ってアースブラケット23側の絶縁膜162から露出する導線161によって形成されている。検出用ターミナル160の接触部160aが設けられている締結部材25a側の端部は、液晶筐体55の車載ブラケット部55aと、アースブラケット23のメータ側ブラケット部23dとの間に挟まれている。これにより検出用ターミナル160の接触部160aは、コンビネーションメータ100の車両へ組み付けで生じる締結部材25aの軸力によって、アースブラケット23に押圧され、当該アースブラケット23と確実に接触することができる。また接触部160aは、締結孔163の周縁に沿って、アースブラケット23側の絶縁膜162から露出しているので、締結部材25aおよび液晶筐体55とは接続されない。これらにより、アースブラケット23が正しく設置される場合では、接触部160aがアースブラケット23のみに確実に接続されて、アースブラケット23から検出用ターミナル60に接地電圧を確実に印加することができる。したがって、メータ制御回路部40の検出電圧についての信頼性が高まり、当該メータ制御回路部40によるアースブラケット23の有無の判定を正確に行うことができるのである。
(第三実施形態)
本発明の第三実施形態は、第一実施形態の変形例である。アースブラケット23の有無の検出および判定は、車両組立ての際に一度だけ行われればよい。故に、検出用ターミナル60とアースブラケット23との接続は、車両組立てにおける確認時のみ保障されていればよいのである。しかし、上述した第一および第二実施形態では、車両のイグニッションスイッチ28がON状態とされる度にアースブラケット23の有無の判定が実行される。故に、検出用ターミナル60のアースブラケット23への接続が経年変化によって劣化した場合、検出用ターミナル60にはアースブラケット23から接地電圧が印加されず、車両電源27から電源電圧が印加されることとなる。これにより、検出用ターミナル60においてメータ制御回路部40が検出する電圧は、第一閾電圧よりも電源電圧に近い電圧となる。するとアースブラケット23による電磁ノイズの低減が正しく行われているにもかかわらず、アースブラケット23が設置されていないという異常報知画像70が液晶パネル32に表示されることとなるのである。
以上のような誤報知を防止するには、検出用ターミナル60のアースブラケット23への接続に高い信頼性が要求されることとなる。具体的には、接触部60aの押圧力の低下や錆びの発生を防止する構造を検出用ターミナル60に付与することとなる。そこで、第三実施形態によるコンビネーションメータ300は、検出用ターミナル60とアースブラケット23との接続の信頼性の低さに起因した、当該アースブラケット23の誤った無の判定を防止し得る構成とされている。
図9に示すメータ制御回路部340であるマイクロコンピュータは、時間を計測するための内部クロック341を有している。メータ制御回路部340は、内部クロック341によって車両の始動時からの経過時間を取得する。加えてメータ制御回路部340には、所定経過時間が設定されている。メータ制御回路部340は、内部クロック341から取得した経過時間を所定経過時間と比較して、アースブラケット23の有無の判定を禁止するか否かを決定する。尚、所定経過時間は、車両組立て時において、コンビネーションメータ300の取付けからアースブラケット23の有無の判定までに要する経過時間を超えた値に設定される。
以下に、第三実施形態においてアースブラケット23の有無の判定を行って報知するためのメータ制御回路部340による制御フローについて、図10を参照しつつ説明する。尚、この制御フローは、車両のイグニッションスイッチ28がONされて、メータ制御回路部340とインターフェース34とに電源電圧が印加されることによりスタートする。
まず、ステップS301では、メータ制御回路部340は、検出用ターミナル60において検出した電圧と、当該メータ制御回路部340に設定された第一閾電圧および第二閾電圧とを比較する。メータ制御回路部340は、検出電圧が第二閾電圧以下であった場合には、制御フローをステップS302に移行する。このステップS302では、メータ制御回路部340は、検出用ターミナル60がクローズ、即ちアースブラケット23が有という判定を下し、本制御フローを終了する。
一方、ステップS301において、メータ制御回路部340による検出電圧が第一閾電圧以上であった場合には、本制御フローはステップS303に移行する。このステップS303では、メータ制御回路部340は、内部クロック341から取得した経過時間と、当該メータ制御回路部340に設定された所定経過時間と比較する。メータ制御回路部340は、経過時間が所定経過時間以上であると判定した場合、本制御フローを終了する。
一方、ステップS303において、メータ制御回路部340の取得した経過時間が所定経過時間未満である場合、制御フローはステップS304に移行する。ステップS304では、メータ制御回路部40は、検出用ターミナル60がオープン、即ちアースブラケット23が無という判定を下し、ステップS305に移行する。ステップS305では、メータ制御回路部340が液晶パネル32を制御し、当該液晶パネル32に異常報知画像70を表示させて、本制御フローを終了する。
ここまで説明した第三実施形態では、車両の始動時からの経過時間が所定経過時間を超えた場合、ステップS304およびステップS305をスキップすることで、メータ制御回路部340によるアースブラケット23の無の判定が禁止される。故に、検出用ターミナル60とアースブラケット23との接続の信頼性の低さに起因した、アースブラケット23の誤った無の判定が、所定時間の経過後では防止されることとなる。以上によれば、アースブラケット23による電磁ノイズの低減が正しく行われているにもかかわらず、液晶パネル32によって異常報知画像70が表示されてしまう事態を防止し得るのである。
尚、第三実施形態において、内部クロック341を有するメータ制御回路部340が請求項に記載の制御回路部、検出手段、および経過時間取得部を有する判定手段に相当する。
(第四実施形態)
本発明の第四実施形態は、第三実施形態の変形例である。第四実施形態によるコンビネーションメータ400は、第三実施形態によるコンビネーションメータ300と同様に、検出用ターミナル60とアースブラケット23との接続の信頼性の低さに起因した、当該アースブラケット23の誤った無の判定を防止する構成とされている。
まず図11に基づいて、コンビネーションメータ400の電気的構成について説明する。
メータ制御回路部440には、上述した車両電源27、ワイヤーアース36、液晶筐体55、車両制御装置29等に加えて、さらにABS制御装置424が接続されている。メータ制御回路部440は、車両の各車輪に設置された回転速度計と接続され、車輪の回転速度に車輪の動半径等を乗算することで車両の走行速度を算出するABS制御装置424から、当該走行速度を取得する。また、メータ制御回路部440は、時間を計測するための内部クロック441を有しており、当該内部クロック441によって時間を取得する。メータ制御回路部440は、取得した時間と走行速度とを乗算することによって、特定の時間内における車両の走行距離を算出する。さらにメータ制御回路部440は、特定の時間内における走行距離を積算することで、車両の累積走行距離を算出して記憶する。
さらに、メータ制御回路部440には、所定走行距離(例えば100キロメートル)が予め設定されている。メータ制御回路部440は、記憶している累積走行距離を取得し、所定走行距離と比較して、アースブラケット23の有無の判定を禁止するか否かを決定する。尚、所定走行距離は、車両組立て時において、コンビネーションメータ400の取付けからアースブラケット23の有無の判定までに要する走行距離を超えた値であればよく、例えば10キロメートル等に設定されていてもよい。
以下に、第四実施形態においてアースブラケット23の有無の判定を行って報知するためのメータ制御回路部440による制御フローについて、図12を参照しつつ説明する。尚、この制御フローは、車両のイグニッションスイッチ28がONされて、メータ制御回路部440とインターフェース34とに電源電圧が印加されることによりスタートする。
まず、ステップS401では、メータ制御回路部440は、検出用ターミナル60において検出した電圧と、当該メータ制御回路部440に設定された第一閾電圧および第二閾電圧とを比較する。メータ制御回路部440は、検出電圧が第二閾電圧以下であった場合には、制御フローをステップS402に移行する。このステップS402では、メータ制御回路部440は、検出用ターミナル60がクローズ、即ちアースブラケット23が有という判定を下し、本制御フローを終了する。
一方、ステップS401において、メータ制御回路部440による検出電圧が第一閾電圧以上であった場合には、ステップS403に移行する。このステップS403では、メータ制御回路部440は、記憶している累積走行距離を、当該メータ制御回路部440に設定された所定走行距離と比較する。メータ制御回路部440は、累積走行距離が所定走行距離以上であると判定した場合、本制御フローを終了する。
一方、ステップS403において、メータ制御回路部440の取得した累積走行距離が所定走行距離未満である場合、制御フローはステップS404に移行する。ステップS404では、メータ制御回路部40は検出用ターミナル60がオープン、即ちアースブラケット23が無という判定を下し、ステップS405に移行する。ステップS405では、メータ制御回路部440が液晶パネル32を制御し、当該液晶パネル32に異常報知画像70を表示させて、本制御フローを終了する。
ここまで説明した第四実施形態では、組立て後の車両の累積走行距離が所定走行距離を超えた場合、ステップS404およびステップS405をスキップすることで、メータ制御回路部440によるアースブラケット23の無の判定は禁止される。故に、所定走行距離を走行した車両におけるアースブラケット23の誤った無の判定は、防止されることとなる。したがって、アースブラケット23による電磁ノイズの低減が正しく行われているにもかかわらず、液晶パネル32によって異常報知画像70が表示されてしまう事態を確実に防止することができるのである。
尚、第四実施形態において、メータ制御回路部340が請求項に記載の制御回路部、検出手段、および走行距離取得部を有する判定手段に相当する。また、図13に示すように、累積走行距離と所定走行距離とを比較するステップS501が、検出用ターミナル60で検出した電圧と第一閾電圧および第二閾電圧とを比較し、アースブラケット23の有無を判定するステップS502からステップS505よりも前に実行される制御フローであってもよい。さらに図14に示すように、ステップS601からステップS604によるアースブラケット23の有無の判定がメータ制御回路部440によって実行された後、累積走行距離と所定走行距離とを比較するステップS605が実行される制御フローであってもよい。ステップS605において、メータ制御回路部440の取得した累積走行距離が所定走行距離未満である場合、ステップS601からステップS604によるアースブラケット23の有無の判定結果は継承される。対して、ステップS605において、メータ制御回路部440の取得した累積走行距離が所定走行距離未満である場合、ステップS604で異常報知画像70の表示が実行されていたとしても、ステップS606によって当該異常報知画像70の表示は取り消されることとなる。以上の図13および図14に示した制御フローであっても、異常報知画像70の誤表示を確実に防止することができるのである。
(他の実施形態)
以上、本発明の複数の実施形態について説明したが、本発明はそれらの実施形態に限定して解釈されるものではなく、その要旨を逸脱しない範囲内において種々の実施形態に適用することができる。
上記実施形態においてメータ制御回路部40,340,440については、第一閾電圧と第二閾電圧とが設定され、検出用ターミナル60,160における検出電圧が第一閾電圧よりも電源電圧に近い場合に、アースブラケット23の無の判定を下すようになっている。しかし、メータ制御回路部40が、アースブラケット23の有無を判定するための方法はこれに限定されるものではない。例えばメータ制御回路部40,340,440は、検出電圧が接地電圧よりも電源電圧に近い場合に、アースブラケット23の無の判定を下すようしにしてもよい。
上記実施形態においてメータ制御回路部40,340,440は、保護用抵抗器34bを介して検出用ターミナル60,160に接続されていた。しかし、メータ制御回路部40,340,440は、保護用抵抗器34bを介さずに検出用ターミナル60,160に接続されてもよい。
第一実施形態において検出用ターミナル60は、弾性を有する金属材料により構成されていた。また上記第二実施形態において検出用ターミナル160は、フレキシブル基板により構成されていた。しかし、導電性を有する材料からなり、アースブラケット23と接触する接触部の導通が確実にされる形状であれば、検出用ターミナルは材料および形状を限定されるものではない。
上記実施形態において、メータ制御回路部40が、検出用ターミナル60における電圧の検出、アースブラケット23の有無の判定、および液晶パネル32の制御等を行っていた。これに対して、検出用ターミナル60における電圧を検出する検出回路、およびアースブラケット23の有無を判定する判定回路を、メータ制御回路部40とは別に設けてもよい。
第四実施形態において、メータ制御回路部440は、車両の累積走行距離を所定走行距離と比較していた。しかし、車両の始動時からの走行距離を取得し、所定走行距離と比較してアースブラケット23の無の判定を禁止するメータ制御回路部であってもよい。この場合の所定走行距離は、車両組立て時において、コンビネーションメータの取付けからアースブラケット23の有無の判定までに要する走行距離を超えた値に設定されるものである。
上記実施形態においては、作業者へ異常を報知する報知手段として液晶パネル32を用い、アースブラケット23が誤って欠品していた場合には、液晶パネル32が異常報知画像70を表示していた。しかし、報知手段は液晶パネル32に限定されるものではない。例えば、報知手段は、メータ制御回路部40によるアースブラケット23の無の判定が下された場合に、異常を示すダイアグ情報を車両制御装置29に報知する報知回路であってもよい。この構成においては、作業者は、車両制御装置29にダイアグ情報を表示可能な端末を接続することにより、アースブラケット23の欠品を認識することができるのである。
上記実施形態においては、主な電磁ノイズの発生源として液晶パネル32およびメータ制御回路部40を例に説明したが、電磁ノイズの発生源は限定されるものではない。例えば、回路基板30に形成される配線パターン等からも電磁ノイズは発生する。あるいは、液晶パネル32に換わり、EL(Electro Luminescence)パネルやPD(Plasma Display)パネル、FED(Field Emission Display)パネルなどの表示パネルを表示部として備えるコンビネーションメータであって、これらの表示パネルが電磁ノイズの発生源であってもよい。
上記実施形態においては、本発明をコンビネーションメータに適用し、コンビネーションメータに接地電圧を印加させるためのアースブラケット23の欠品を検出する構成を例に説明した。しかし本発明の適用を、アースブラケット23の欠品に限る必要はなく、コンビネーションメータの周囲に設置される導電性を備える部材の有無の検出に、本発明を適用してもよい。
21 リインフォースメント、21a インパネ固定部材、22 インスツルメントパネル、23 アースブラケット(導電部材)、23a 車両側ブラケット部、23b 締結部、23d メータ側ブラケット部、23e 締結孔、424 ABS制御装置、25a,25b 締結部材、27 車両電源、28 イグニッションスイッチ、29 車両制御装置、30 回路基板、32 液晶パネル(表示部・報知手段)、33 バックライト、34 インターフェース、34a 検出用抵抗器(検出用抵抗体)、34b 保護用抵抗器(保護用抵抗体)、36 ワイヤーアース(第一アース部)、40 メータ制御回路部(制御回路部・判定手段・検出手段)、340 メータ制御回路部(制御回路部・判定手段・検出手段・経過時間取得部)、440 メータ制御回路部(制御回路部・判定手段・検出手段・走行距離取得部)、341,441 内部クロック、50 筐体、51 フロントパネル、51b 固定爪、53 見返し部材、53a 車載ブラケット部、53b 固定爪、53c 防眩部、53d 締結孔、55 液晶筐体(第二アース部)、55a 車載ブラケット部、55b 締結孔、57 リヤパネル、60,160 検出用ターミナル(検出用接続部)、60a,160a 接触部、160b 貼付部、161 導線、162 絶縁膜、163 締結孔、70 異常報知画像、100,300,400 コンビネーションメータ(車両用表示装置)

Claims (11)

  1. 車両において情報を表示する表示部と、前記表示部による情報表示を制御する制御回路部と、を備えた車両用表示装置であって、
    前記制御回路部に接続されて前記制御回路部に接地電圧を印加する第一アース部と、
    前記制御回路部に接続されるとともに、導電材料よりなる導電部材に前記車両の仕様に応じて接続され、前記導電部材を介して前記制御回路部に前記接地電圧を印加する第二アース部と、
    車両電源に接続される検出用抵抗体と、
    前記検出用抵抗体に接続されて、前記車両電源から前記検出用抵抗体を介して電源電圧が印加されるとともに、前記車両の仕様に応じて前記導電部材に接続されて前記接地電圧が印加される検出用接続部と、
    前記検出用接続部に接続されて前記検出用抵抗体と前記導電部材との間において電圧を検出する検出手段と、
    前記検出手段の検出結果に基づいて、前記導電部材の有無を判定する判定手段と、
    前記判定手段により前記導電部材の無の判定が下された場合に、異常を報知する報知手段と、を備えることを特徴とする車両用表示装置。
  2. 前記判定手段は、前記検出手段が検出した電圧が、前記接地電圧よりも前記電源電圧に近い場合に、前記導電部材の無の判定を下すことを特徴とする請求項1に記載の車両用表示装置。
  3. 前記判定手段には、前記接地電圧よりも前記電源電圧に近い第一閾電圧と、前記第一閾電圧よりも前記接地電圧に近い第二閾電圧と、が設定され、
    前記判定手段は、前記検出手段が検出した電圧が前記第一閾電圧よりも前記電源電圧に近い場合に、前記導電部材の無の判定を下し、前記検出手段が検出した電圧が前記第二閾電圧よりも前記接地電圧に近い場合に、前記導電部材の有の判定を下すことを特徴とする請求項1又は2に記載の車両用表示装置。
  4. 前記検出手段は、前記車両電源から前記検出手段に流入する過電流に対して前記検出手段を保護する保護用抵抗体を介して、前記検出用接続部に接続されることを特徴とする請求項1〜3のいずれか一項に記載の車両用表示装置。
  5. 前記検出用接続部は、弾性を有する金属材料よりなり、
    前記検出用接続部の前記導電部材と接触する接触部が、前記検出用接続部の弾性により前記導電部材に押圧されることを特徴とする請求項1〜4のいずれか一項に記載の車両用表示装置。
  6. 前記検出用接続部は、導線を絶縁膜によって被膜してなるフレキシブル基板であり、
    前記フレキシブル基板は、締結部材が通される締結孔と、前記締結孔の周縁に沿って前記導線が前記絶縁膜から露出する接触部と、を形成し、前記締結部材により前記車両へ組み付けられることで前記接触部が前記導電部材に押圧されることを特徴とする請求項1〜4のいずれか一項に記載の車両用表示装置。
  7. 前記判定手段は、前記車両の走行距離を取得する走行距離取得部を有し、
    前記走行距離が所定値を超えた場合、前記導電部材の無の判定を禁止することを特徴とする請求項1〜6のいずれか一項に記載の車両用表示装置。
  8. 前記走行距離取得部は、前記車両の累積走行距離を取得し、
    前記判定手段は、前記累積走行距離が所定値を超えた場合、前記導電部材の無の判定を禁止することを特徴とする請求項7に記載の車両用表示装置。
  9. 前記判定手段は、前記車両の始動時からの経過時間を取得する経過時間取得手段を有し、
    前記経過時間が所定値を超えた場合、前記導電部材の無の判定を禁止することを特徴とする請求項1〜8のいずれか一項に記載の車両用表示装置。
  10. 前記制御回路部は、前記検出手段および前記判定手段を兼ねることを特徴とする請求項1〜9のいずれか一項に記載の車両用表示装置。
  11. 前記報知手段は、前記表示部であり、
    前記表示部は、前記判定手段により、前記導電部材の無の判定が下された場合に、異常を報知する異常報知画像を表示することを特徴とする請求項1〜10のいずれか一項に記載の車両用表示装置。
JP2009080426A 2008-08-01 2009-03-27 車両用表示装置 Expired - Fee Related JP5233794B2 (ja)

Priority Applications (1)

Application Number Priority Date Filing Date Title
JP2009080426A JP5233794B2 (ja) 2008-08-01 2009-03-27 車両用表示装置

Applications Claiming Priority (3)

Application Number Priority Date Filing Date Title
JP2008200052 2008-08-01
JP2008200052 2008-08-01
JP2009080426A JP5233794B2 (ja) 2008-08-01 2009-03-27 車両用表示装置

Publications (2)

Publication Number Publication Date
JP2010052714A true JP2010052714A (ja) 2010-03-11
JP5233794B2 JP5233794B2 (ja) 2013-07-10

Family

ID=42069074

Family Applications (1)

Application Number Title Priority Date Filing Date
JP2009080426A Expired - Fee Related JP5233794B2 (ja) 2008-08-01 2009-03-27 車両用表示装置

Country Status (1)

Country Link
JP (1) JP5233794B2 (ja)

Cited By (2)

* Cited by examiner, † Cited by third party
Publication number Priority date Publication date Assignee Title
JP2016172458A (ja) * 2015-03-16 2016-09-29 日本精機株式会社 車両用計器
WO2018147190A1 (ja) * 2017-02-09 2018-08-16 日本精機株式会社 車両用表示装置

Citations (3)

* Cited by examiner, † Cited by third party
Publication number Priority date Publication date Assignee Title
JPH11352509A (ja) * 1998-06-11 1999-12-24 Advanced Display Inc 液晶表示装置
JP2004186219A (ja) * 2002-11-29 2004-07-02 Nippon Soken Inc プリント基板およびメータ装置
JP2007168715A (ja) * 2005-12-26 2007-07-05 Denso Corp 自動車用電子機器の作動制御装置

Patent Citations (3)

* Cited by examiner, † Cited by third party
Publication number Priority date Publication date Assignee Title
JPH11352509A (ja) * 1998-06-11 1999-12-24 Advanced Display Inc 液晶表示装置
JP2004186219A (ja) * 2002-11-29 2004-07-02 Nippon Soken Inc プリント基板およびメータ装置
JP2007168715A (ja) * 2005-12-26 2007-07-05 Denso Corp 自動車用電子機器の作動制御装置

Cited By (3)

* Cited by examiner, † Cited by third party
Publication number Priority date Publication date Assignee Title
JP2016172458A (ja) * 2015-03-16 2016-09-29 日本精機株式会社 車両用計器
WO2018147190A1 (ja) * 2017-02-09 2018-08-16 日本精機株式会社 車両用表示装置
JPWO2018147190A1 (ja) * 2017-02-09 2019-11-21 日本精機株式会社 車両用表示装置

Also Published As

Publication number Publication date
JP5233794B2 (ja) 2013-07-10

Similar Documents

Publication Publication Date Title
JPH0160833B2 (ja)
JP6201321B2 (ja) 表示装置
US9969264B2 (en) Vehicle instrument device
JP5233794B2 (ja) 車両用表示装置
JP2018503110A (ja) 自動車用の表示装置
JP5435410B2 (ja) 車両用計器
US20190329652A1 (en) Display device for vehicle
JP5304217B2 (ja) 電子装置
CN102763150A (zh) 显示屏连接诊断装置和方法
KR20140006824A (ko) 액정표시장치
US20210216154A1 (en) Display apparatus
JP5196290B2 (ja) 表示装置
JP2010108874A (ja) 電子機器
JP5510391B2 (ja) 電気回路装置
JP6597464B2 (ja) 車両用計器
JP5294080B2 (ja) 表示装置
JP5817298B2 (ja) 車両用表示装置の防水構造
JP2016025245A (ja) 車両用計器の駆動回路
US9919601B2 (en) Electronic device and operating assembly having an electronic device
WO2014092063A1 (ja) 電子制御装置
JP5824738B2 (ja) 操作パネル構造
JP6077847B2 (ja) 液晶表示ユニット
JP5326981B2 (ja) 表示装置
JP2005017236A (ja) 指針式計器
JP2014206435A (ja) 車両用計器

Legal Events

Date Code Title Description
A621 Written request for application examination

Free format text: JAPANESE INTERMEDIATE CODE: A621

Effective date: 20111202

A711 Notification of change in applicant

Free format text: JAPANESE INTERMEDIATE CODE: A711

Effective date: 20120116

A521 Request for written amendment filed

Free format text: JAPANESE INTERMEDIATE CODE: A821

Effective date: 20120116

TRDD Decision of grant or rejection written
A01 Written decision to grant a patent or to grant a registration (utility model)

Free format text: JAPANESE INTERMEDIATE CODE: A01

Effective date: 20130226

A977 Report on retrieval

Free format text: JAPANESE INTERMEDIATE CODE: A971007

Effective date: 20130228

A61 First payment of annual fees (during grant procedure)

Free format text: JAPANESE INTERMEDIATE CODE: A61

Effective date: 20130311

R151 Written notification of patent or utility model registration

Ref document number: 5233794

Country of ref document: JP

Free format text: JAPANESE INTERMEDIATE CODE: R151

FPAY Renewal fee payment (event date is renewal date of database)

Free format text: PAYMENT UNTIL: 20160405

Year of fee payment: 3

R250 Receipt of annual fees

Free format text: JAPANESE INTERMEDIATE CODE: R250

R250 Receipt of annual fees

Free format text: JAPANESE INTERMEDIATE CODE: R250

R250 Receipt of annual fees

Free format text: JAPANESE INTERMEDIATE CODE: R250

R250 Receipt of annual fees

Free format text: JAPANESE INTERMEDIATE CODE: R250

R250 Receipt of annual fees

Free format text: JAPANESE INTERMEDIATE CODE: R250

R250 Receipt of annual fees

Free format text: JAPANESE INTERMEDIATE CODE: R250

LAPS Cancellation because of no payment of annual fees