JP2010051694A - 洗浄液供給装置 - Google Patents

洗浄液供給装置 Download PDF

Info

Publication number
JP2010051694A
JP2010051694A JP2008221700A JP2008221700A JP2010051694A JP 2010051694 A JP2010051694 A JP 2010051694A JP 2008221700 A JP2008221700 A JP 2008221700A JP 2008221700 A JP2008221700 A JP 2008221700A JP 2010051694 A JP2010051694 A JP 2010051694A
Authority
JP
Japan
Prior art keywords
container
cleaning liquid
nozzle
liquid supply
tube
Prior art date
Legal status (The legal status is an assumption and is not a legal conclusion. Google has not performed a legal analysis and makes no representation as to the accuracy of the status listed.)
Granted
Application number
JP2008221700A
Other languages
English (en)
Other versions
JP5269526B2 (ja
JP2010051694A5 (ja
Inventor
Kenichi Ono
健一 小野
Current Assignee (The listed assignees may be inaccurate. Google has not performed a legal analysis and makes no representation or warranty as to the accuracy of the list.)
Welco Co Ltd
Original Assignee
Welco Co Ltd
Priority date (The priority date is an assumption and is not a legal conclusion. Google has not performed a legal analysis and makes no representation as to the accuracy of the date listed.)
Filing date
Publication date
Application filed by Welco Co Ltd filed Critical Welco Co Ltd
Priority to JP2008221700A priority Critical patent/JP5269526B2/ja
Publication of JP2010051694A publication Critical patent/JP2010051694A/ja
Publication of JP2010051694A5 publication Critical patent/JP2010051694A5/ja
Application granted granted Critical
Publication of JP5269526B2 publication Critical patent/JP5269526B2/ja
Active legal-status Critical Current
Anticipated expiration legal-status Critical

Links

Images

Landscapes

  • Washing And Drying Of Tableware (AREA)

Abstract

【課題】バキュームブレーカや大型のメッシュ板を必要としない、低コストの洗浄液供給装置を提供する。
【解決手段】浄液供給装置が、粉末洗剤が収納される第1の容器と、第1の容器の下部に取りつけられる第2の容器と、第1の容器の底面の略中央部に形成された開口に設けられておりこの開口から第1の容器内部に向かって直立するメッシュ管と、メッシュ管の外側に配置されている噴射ノズルを介して第1の容器の上方から溶媒を噴射する噴射手段と、を有し、溶媒に粉末洗剤が溶解して生成され且つメッシュ管及び前開口を介して第2の容器に移動した洗浄液を回収して洗浄水タンクに供給するようになっている。
【選択図】 図8

Description

本発明は、粉末洗剤を温水等の溶媒に溶解させて洗浄液を生成し、これを食器洗浄機に供給する洗浄液供給装置に関する。
飲食店等では、短時間で大量の食器を使用するため、効率よく食器を洗浄するための食器洗浄機を使用している。食器洗浄機は、洗浄液を温水で希釈した洗浄水を、洗浄室内に収納された食器に噴射して食器の洗浄を行い、次いですすぎ水を食器に噴射して食器に付着した汚れ及び洗浄液を洗い流す。洗浄水は洗浄機に隣接して設けられた洗浄水タンクから洗浄機に供給され、また、すすぎ水によって洗い流された洗浄水はフィルタで濾過された後再び洗浄水タンクに戻される。
このように、洗浄水タンク内の洗浄水は、食器の洗浄が行われる度にすすぎ水によって希釈されるため、洗浄を行ううちに洗浄水の洗浄液濃度は次第に低下する。このため、食器洗浄機には洗浄水に洗浄液を供給するための洗浄液供給装置が設けられている。洗浄液供給装置は、洗浄水タンク内の洗浄水の洗浄液濃度を検出する濃度センサを有しており、この濃度センサの検出結果に基づいて洗浄液を洗浄水タンクに供給し、洗浄水の濃度を調整する。
従来の洗浄液供給装置としては、特許文献1や2に記載されているものがある。これらの洗浄液供給装置においては、濃度センサが洗浄水の洗浄液濃度低下を検出するたびに、
粉末の洗剤を温水等の溶媒に溶解させて洗浄液を生成し、この洗浄液を洗浄水タンクに供給している。
特開2005−46309 特開2004−105305
特許文献1に記載の洗浄液供給装置は、粉末洗剤が充填されたカートリッジ容器を、カートリッジ容器の口を下にして装置に取りつけ、カートリッジ容器の下方に設けられたノズルから温水をカートリッジ容器内に噴射して洗剤を溶解する。得られた洗浄液は装置の下部に降下するため、これを回収して洗浄水タンクに供給する。
このように、特許文献1の洗浄液供給装置においては、温水を供給するためのノズルが粉末洗剤の下部に配置されているため、一部の洗浄液がノズルに入り込んで、温水の供給源まで洗浄液が逆流する可能性がある。このため、特許文献1の装置においては、洗浄液の逆流を防止するためのバキュームブレーカを温水供給用の配管に設けている。
一方、特許文献2の洗浄液供給装置は、洗剤を収容するための容器が装置に組み込まれており、容器の上部中央に温水を下方に噴射するためのノズルが設けられている。容器内周面には、メッシュ板が取りつけられており、温水に洗剤を溶解して得られた洗浄液は、メッシュ板を通過して容器内周とメッシュ板との間の隙間を通って容器下部に設けられた開口から吐出される。洗浄液供給装置は、吐出された洗浄液を回収して洗浄水タンクに供給する。
上記のように、特許文献2の洗浄液供給装置においては、温水が容器の中心から外側に向かって噴射されるため、外側ほど洗剤の溶出が早い。そのため、容器内で生成した洗浄液を効率的に容器から回収できるように、容器内周面に沿って洗浄液を分離回収するためのメッシュ板が取りつけられている。このような装置構成にすると、容器内周の側面を覆えるだけの大型のメッシュ板を容器に取りつける必要がある。このように、特許文献1の装置においてはバキュームブレーカ、特許文献2の装置においては大型のメッシュを必要としており、装置全体のコストアップの原因となっていた。
本発明は従来の洗浄液供給装置にかかる上記の問題を解決するためになされたものである。すなわち、本発明はバキュームブレーカや大型のメッシュ板を必要としない、低コストの洗浄液供給装置を提供することを目的とする。
上記の目的を達成するため、本発明の洗浄液供給装置は、粉末洗剤が収納される第1の容器と、第1の容器の下部に取りつけられる第2の容器と、第1の容器の底面の略中央部に形成された開口に設けられておりこの開口から第1の容器内部に向かって直立するメッシュ管と、メッシュ管の外側に配置されている噴射ノズルを介して第1の容器の上方から溶媒を噴射する噴射手段と、を有し、溶媒に粉末洗剤が溶解して生成され且つメッシュ管及び前開口を介して前記第2の容器に移動した洗浄液を回収して洗浄水タンクに供給するようになっている。
特許文献2のように、容器の上方中央部にノズルを配置した場合においては、位置が固定されたノズルで粉末洗剤全体に温水を噴射できるように、ノズルは略円錐状に温水を噴射する。このようなノズルにおいては、円錐の外側よりの部分ほど温水の流速が速くなる傾向があるため、容器内の外側よりの粉末洗剤がより多く温水に溶解する。このため、温水の噴射を続けるうちに、粉末洗剤の高さは外側部分が低く、内側部分が高くなり、洗浄液は内側から外側に向かって流れやすくなる。このため、特許文献2の構成においては、容器内壁に沿って大型のメッシュ板を設ける必要があった。
本発明においては、溶媒を噴射するための噴射ノズルは容器の中心から容器外側よりにシフトした位置に配置されており、例えばこのノズルがメッシュ管の中心軸(すなわち、容器の中心部)を中心に回転又は揺動して粉末洗剤の上面に略均一に溶媒を噴射できるようになっている。このため、温水が容器内部の外側部に集中して噴射されることはなく、洗浄液は容器の内周側からメッシュ管側に向かって移動し、メッシュ管内部及び第1の容器底面の開口を通って第2の容器に移動する。このように、本発明の洗剤液供給装置においては、特許文献2におけるメッシュ板と比べて比較的小型のメッシュ管であっても、洗浄液を下方の第2の容器に移動させることが可能である。
また、本発明の洗浄液供給装置においては、ノズルは粉末洗剤の上方に設けられているので、洗浄液がノズルに付着することはなく、バキュームブレーカを必要としない。
このように、本発明によれば、大型のメッシュ板やバキュームブレーカを必要としない、低コストの洗浄液供給装置が実現される。
以下、本発明の実施の形態について図面を用いて説明する。図1は、本実施形態の食器洗浄システムのブロック図を示したものである。本実施形態の食器洗浄システム1は、洗浄室10内に配置された食器に洗浄水を噴射して洗浄を行い、次いですすぎ水を食器に噴射して汚れ及び洗浄水を洗い流すものである。
洗浄水は洗浄室10の下に配置された洗浄水タンク30内に溜められている。洗浄水は、洗浄水ポンプ44によって洗浄水タンク30から汲み出され、洗浄室10の室内下部に配置された洗浄水噴射部12から上方の食器に向けて噴射される。なお、洗浄水は、洗浄液を水で希釈したものである。
洗浄水噴射部12は、水平方向に伸びる管状の部材であり、その中央部で鉛直軸周りに回転可能に支持されている。洗浄水噴射部12の管側面の上部には、洗浄水を噴射するための複数(図1においては5つ)のノズルが配置されている。また、洗浄水噴射部12は、送られる洗浄水の水圧によって回転駆動されるようになっており、これによって洗浄室10内の食器に略均等に洗浄水を噴射可能である。
すすぎ水はすすぎ水タンク20に溜められている飲用可能な清浄な温水である。すすぎ水タンク20に溜められているすすぎ水は、すすぎ水用ポンプ42によって汲み出され、洗浄室10の室内上部に配置されたすすぎ水噴射部14から下方の食器に向けて噴射される。
洗浄水噴射部12と同様、すすぎ水噴射部14は、水平方向に伸びる管状の部材であり、その中央部で鉛直軸周りに回転可能に支持されている。すすぎ水噴射部14の管側面の下部には、すすぎ水を噴射するための複数のノズルが配置されている。また、すすぎ水噴射部14は、送られるすすぎ水の水圧によって回転駆動されるようになっており、これによって洗浄室10内の食器に略均等にすすぎ水を噴射可能である。
洗浄室10と洗浄水タンク30とは、フィルタ16が設けられた開口18を介して連通しており、洗浄室10内に噴射される洗浄水及びすすぎ水は、このフィルタ16で濾過された後、洗浄水タンク30に戻される。洗浄水タンク30の内部にはタンクの底面を貫通して鉛直上方に伸びる排水管32が設けられている。洗浄水タンク30内の洗浄水の水位が排水管32の上端の高さを超えると、洗浄水30が排水管32から排水され、洗浄水タンク30から洗浄室に洗浄水があふれないようになっている。
このように、洗浄水タンク30には洗浄水及びすすぎ水が流れ込むようになっているため、食器洗浄を繰り返すうちに、洗浄水タンク30内の洗浄水の洗浄液濃度は徐々に低下する。このため、洗浄水タンク30内に設けられた濃度センサ152にて洗浄液濃度をモニタリングして、洗浄液濃度が所定の閾値を下回ったときに洗浄液供給装置100から洗浄液を供給するようになっている。
本実施形態においては、洗浄液供給装置100は粉末洗剤を溶媒である温水に溶解させて洗浄液を生成し、これを洗浄水タンク30に供給するようになっている。洗浄液供給装置100の詳細について以下説明する。
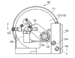
図2及び3は、夫々本実施形態の洗浄液供給装置100の正面図及び下面図である。また、図4は、図3のI−I線図である。本実施形態の洗浄液供給装置100は、容器部110と、温水供給用配管122から供給される温水を容器部110内に送るかどうかを切り換えるための電磁弁ユニット120と、粉末洗剤を温水に溶かして得られる洗浄液を容器部110の底部から取り出して洗浄液吐出用配管134に送るための洗浄液吐出部132と、回路基板等が収納される制御部150とを有する。
図4に示されるように、容器部110は、下部容器112に上部容器111が重ねられた二重底構造となっており、粉末洗剤Pは上部容器111に堆積されている。また、下部容器112の底部112aの略中央には、電磁弁ユニット120の下流側コネクタ124に挿入される温水導入用パイプ112bが下方に突出している。温水導入用パイプ112bの上部は、下部容器112の内部にて上側に突出しており、その先端部112cは、上部容器111の底面111aに設けられた開口111bを通過して上部容器111の内部に入っている。
温水導入用パイプ112bは、その上部先端112cにおいて中継パイプ162に接続されている。中継パイプ162は、上部容器111内部の下端から上端付近まで略鉛直上方に伸びるパイプであり、その上端にノズル管164が取りつけられている。このため、電磁弁120を開状態にして温水を中継パイプ162に導入すると、温水は中継パイプ162の上端に達してノズル管164に供給される。なお、中継パイプ162の中途には流量調整弁166が設けられており、ノズル管164に供給される温水流量を所定範囲内に制御している。
ノズル管164の構造について以下説明する。図5はノズル管164の上面図、図6はノズル管164の側面図である。また、図7は、ノズル管164の側断面図である。図6及び7に示されるように、ノズル管164は、略水平方向に配置された中空の水平部164aと、水平部164の中心から下方に伸びる鉛直部164bとを有する。鉛直部164bは、中継パイプ162の上端に形成されている軸受部162aに差し込まれており、ノズル管164は中継パイプ162の軸線Aを中心に回転可能となっている。
図6に示されるように、水平部164aの下面には、一対のノズル部164cが下方に突出している。ノズル部164cには、水平部164aの長手方向(図6の左右方向)に伸びるスリット164dが形成されており、中継パイプ162に温水を供給すると、このスリット164dから下方に向けて温水が噴射される。
また、ノズル部164cの側面には、水平部164aの長軸方向(図5における上下方向、図6、7における左右方向)に直交する方向に小孔164eが穿孔されている。小孔164eは、一方のノズル部164cと他方のノズル部164cとでは、互いに反対側となる側面に形成されている。中継パイプ162に温水を供給すると、小孔164eから温水が噴出すると共に、ノズル部164cには温水の噴出方向(図5中白抜き矢印方向)と反対側の方向の力が加わる。この結果、ノズル管164は、中継パイプ162の軸線Aを中心に回転する(図5における実線矢印方向)。
また、図7に示されるように、ノズル管164の鉛直部164bは、中継パイプ162の軸受部162a内で上下方向に移動可能となっている。また、中継パイプ162の上端には、鉛直部164b内を貫通して水平部164aに達する細管162bが固定されており、中継パイプ162に温水を供給すると、温水は細管162bを通って水平部164aに達し、この時の水圧によってノズル管164が上方に押し出される。
図5及び図6に示されるように、軸受部162aの上端には山部162cと谷部162dとが夫々一対ずつ設けられている。山部162cと谷部162dとは、互い違いに配置されている。谷部162dの底には、係止凹部162eが設けられている。また、ノズル管164の鉛直部164bには、その円筒面から半径方向に突出する一対の係止突起164fが形成されている。ノズル管164に温水が供給されていない状態では、図5のように、係止突起164fは山部162cと谷部162dの間に形成された傾斜面に沿って移動し、最終的に係止凹部162eに到達して停止する。この状態からノズル管164に温水を供給すると、前述のようにノズル管164が持ち上がり、係止突起164fが係止凹部162eから浮上して山部162cより高い位置に移動し、係止凹部162eが係止突起164fに干渉することなくノズル管164は回転する。
電磁弁120の制御によりノズル管164への温水の供給が停止すると、ノズル管164が降下して係止突起164fは再び係止凹部162eに収まる。係止凹部162e及び係止突起164fは、中継パイプ162の軸線Aに対して180°おきに形成されているため、ノズル管164への温水の供給が無い状態では、ノズル管164の水平部164aの長手方向は、必ず特定の方向を向く。
このように、本実施形態においては、ノズル管164が回転しながら下方の粉末洗剤P(図4)に向けて温水を噴射しているので、上部容器111に堆積されている粉末洗剤Pの上面に、温水を略均一に噴射することができる。
洗浄液を洗浄液吐出用配管134に送るための機構について以下に説明する。図4に示されるように、粉末洗剤Pが収容される上部容器111の底部開口111bには、メッシュ管168が取りつけられている。メッシュ管168は、上方に向かって伸びる円筒形状の部材であり、その円筒面に多数の小孔が形成されている。この小孔は充分に小さいので、粉末洗剤Pはメッシュ管168の内部にはほとんど入らず、粉末洗剤Pが上部容器111の開口111bから下部容器112に移動することは無い。一方、洗剤を温水に溶解した洗浄液は小孔を通過してメッシュ管168の内部に移動し、メッシュ管168の内部を降下して開口111bから下部容器112に移動する。なお、図4に示されるように、上部容器111の底部111aはすり鉢状に形成されているので、洗浄液の大半は上部容器111内に滞留することなく、メッシュ管168の内部に移動するようになっている。
なお、図4に示されるように、中継パイプ162はメッシュ管166の内部を通過しているため、中継パイプ162を容器外部に設けた構成よりも、洗浄液供給装置100をコンパクトにすることができる。また、中継パイプ162が上部容器111内且つメッシュ管166の外にある場合は、温水や洗浄液の流れを中継パイプ162が阻害して粉末洗剤Pの一部が溶解されにくい状態となる可能性があるが、本実施形態においては、中継パイプ162によって温水や洗浄液の流れが阻害されることはない。
図4に示されるように、下部容器112の底部112aは、洗浄液吐出部132に向かう下り坂となっており、下部容器112に移動した洗浄液は、洗浄液吐出部132に誘導される。洗浄液吐出部132には洗浄液吐出用配管134が接続されており、この洗浄液吐出用配管134を介して洗浄液は洗浄水タンク30に移動する。なお、洗浄液吐出部132は、洗浄水タンク30よりも高い位置に配置されており、洗浄液は自重によって洗浄水タンク30に移動するようになっている。
次いで、制御部150の機能について説明する。図1に示されるように洗浄水タンク30の内部には、洗浄水中の洗浄液の濃度を計測するための濃度センサ152が設けられている。濃度センサ152による洗浄液濃度の検出結果は、信号ケーブル154を介して制御部150に送られる。制御部150は、洗浄水タンク30内の洗浄水の洗浄液濃度の検出結果に基づいて、電磁弁120の開閉を制御する。具体的には、洗浄水タンク30内の洗浄水の洗浄液濃度が所定の閾値を下回ったときに、所定時間電磁弁120を開いて洗浄液を生成し、これを洗浄水タンク30に送る。
なお、符号156(図2)は、制御部150及び濃度センサ152を駆動するための駆動電源を供給するための電源ケーブルである。
次いで、洗浄液供給装置100の容器部110に粉末洗剤を供給するための構造について説明する。図8は、洗浄液供給装置100の側断面図である。図4及び図8に示されるように、容器部110の上部容器111の上部には、粉末洗剤Pを補充するための開口111cが設けられている。また、開口111cを覆うための容器カバー113が、この開口111cに設けられている。粉末洗剤Pを容器部110に補充する際は、容器カバー113を開けて開口111cから粉末洗剤Pを補充する。
上部容器111内の上部には、ノズルカバー114が設けられている。図4及び8に示されるように、ノズルカバー114は長板形状の部材であり、その長手方向が静止した状態のノズル管164の長手方向と略平行になるように配置されている。また、ノズルカバー114はその長手方向に沿って山型に折り曲げられており、粉末洗剤を開口111cから投入する際にノズルカバー114に乗った粉末洗剤の多くはこの山型の傾斜面に沿って上部容器111内に落下する。また、このようにノズル管164の上部はノズルカバー114によって覆われているので、粉末洗剤Pを補充する際にノズル管164に洗剤がかからないようになっている。
また、図8に示されるように、容器カバー113は、第1部113aと第2部113bとを蝶番で連結することによって形成されている。容器カバー113の第1部113aは、上部容器111の上端に蝶番を介して回転可能に支持されている。第1部113aを支持する蝶番は、蝶番軸Bが、ノズルカバー114の長手方向に垂直な水平方向(図8において紙面に垂直な方向)を向くように配置される。また、第1部113aと第2部113bとを連結する蝶番も、蝶番軸が蝶番軸Bと平行になるように取り付けられている。さらに、第2部113bの先端(第1部113aと連結されている位置と反対側)には、スライダ115が軸線Bと平行な軸周りに回転可能に連結されている。スライダ115は、ノズルカバー114の長手方向に沿って進退可能となっており、閉じている容器カバー113(図8中実線部)の第2部113bを軸線Bに向かって引っ張ると、第1部113aが軸線Bを中心として図8中時計回りに、第2部113bがスライダ115との連結部を中心として、それぞれ図8中反時計回りに回動しながらスライダ115が軸線Bに向かってノズルカバー114上を移動する。そして、スライダ115が軸線B付近まで移動すると、容器カバー113が全開状態となり、上部容器111の開口111cの大半が露出する(図8中破線部)。このように、本実施形態においては、第1部113aと第2部113bとの連結部において、第1部113aと第2部113bとが互いに屈曲しながら容器カバー113が開くようになっているので、上部容器111の上方のスペースを充分にとれない場合であっても、容器カバー113の開閉が可能である。
また、容器カバー113の開閉の際に、スライダ115はノズルカバー114の上面をこすりながら移動するようになっており、この時に、スライダ115によってノズルカバー114の上面に積もった粉末洗剤が払われて上部容器111の中に落ちるようになっている。
以上のように、本実施形態の洗浄液供給装置100においては、ノズルカバー114によって洗剤の補充時にノズル管164に洗剤がかからないようになっており、また、ノズルカバー114の上面に積もった粉末洗剤を容器カバー113の開閉時にスライダ115によって払い取ることができる。
次に、本実施形態の洗浄液供給装置100に使用される流量調整弁166(図4)について説明する。図9は、本実施形態の流量調整弁166の断面図である。図9に示されるように、流量調整弁166は、中継パイプ162の内部に収納された弁体166a及びコイルスプリング166bを有する。コイルスプリング166bは、上端が中継パイプ162に設けられた段差部162fと係合し、他端が弁体166aと係合しており、弁体166aが上方に移動すると段差部162fと弁体166aとの間で圧縮され、弁体166aを下方に押し戻す方向の反発力を弁体166aに加える。
弁体166aの下端には上に向かって凹となる凹部166cが形成されている。また、凹部166cの側面には、温水を逃がすための開口166dが設けられている。温水供給管122から供給される温水は、凹部166cに入って弁体166aを押し上げるとともに、開口166dから出て中継パイプ162と弁体166aとの間隙を通って中継パイプ162の下流側に移動する。
図9に示されるように、弁体166aは上に向かって径が小さくなる円筒形状の部材であり、その先端部の径は、段差部162fより下流側にある中継パイプ162の下流部162gの内径より小さいものであり、温水の水圧によって弁体166aが押し上げられると、弁体166aによって中継パイプ162の下流側において、温水が流れる流露の断面積が絞られて圧力損失が大きくなり、下流側の水圧(二次圧)を抑えることができる。前述のように、弁体166aはコイルスプリング166bによって付勢されており、上流側の水圧(一次圧)が大きくなるほど、温水が流れる流路の断面積はより絞られて圧力損失が増大する。本実施形態においては、電磁弁120(図2)が開いている状態であれば、一次圧に関わらず中継パイプ162を流れる(すなわち、ノズル管164に供給される)温水の流量が所定範囲内に収まるように、弁体166aの形状及びコイルバネ166bのばね定数が設定されている。
次に、メッシュ管168の構造について説明する。図10は、本実施形態のメッシュ管168の斜視図である。図10に示されるように、メッシュ管168は、略半円筒形状の第1部168aと第2部168bとを有している。第1部168aと第2部168bとは、その長軸方向に伸びる一方の縁部同士が結合しており、この結合部168cを中心に、図中矢印方向に第2部168bを回転させ、第1部168aと第2部168bの他方側の縁部同士を連結することにより、略円筒形状のメッシュ管168(図中破線部)が形成される。なお、第1部168a及び第2部168bの他方側の縁部には、両者を連結するための爪及び爪係合孔が形成されている。
本実施形態のメッシュ管168は、ナイロン、ポリエステルなどの樹脂材料を材料としている。本実施形態においては、上記のようにメッシュ管が第1部168aと第2部168bとに展開されているので、表面に多数の小孔が形成されているメッシュ管を射出成形によって容易に成形可能である。
なお、本実施形態においては、流量調整弁166によってノズル管164に供給される温水流量を所定範囲内に制限しているが、本発明は上記構成に限定されるものではなく、ノズル管164に供給される温水の流量調整を行わない構成としてもよい。
また、本実施形態においては、ノズル管に一対のノズル部164cが形成されているが、本発明はこの構成に限定されるものではなく、ノズル部164cが1つのみ、或いは3つ以上設けられている構成としてもよい。また、ノズル部164cは左右対称に設けられていなくともよく、一方側のノズル部164cの数と他方側のノズル部164cの数が異なっていてもよい。
また、本実施形態においては、底部にノズル部164cが形成されているノズル管164を回転させて、上部容器111中の粉末洗剤Pに略均等に温水を供給するようにしているが、本発明は上記構成に限定されるものではなく、ノズル管164を揺動させる、或いは、上部容器111内部且つメッシュ管166の外側に固定型のノズルを多数配置して粉末洗剤Pに略均等に温水を供給する構成としてもよい。
また、上部容器111、メッシュ管168、中継パイプ162、ノズル管164を除去し、温水導入用パイプ112bの上端にノズルを、温水供給用配管122の中途にバキュームブレーカを夫々取りつけ、上部容器111の代わりに粉末洗剤が充填されたカートリッジを取りつけることにより、カートリッジ内に充填された洗剤に下方から温水を噴射して洗浄液を生成するタイプの洗浄液供給装置とすることができる。
本発明の実施の形態の食器洗浄システムのブロック図である。 本発明の実施の形態の洗浄液供給装置の正面図である。 本発明の実施の形態の洗浄液供給装置の下面図である。 図3のI−I線図である。 本発明の実施の形態のノズル管の上面図である。 本発明の実施の形態のノズル管の側面図である。 本発明の実施の形態のノズル管の側断面図である。 本発明の実施の形態の洗浄液供給装置の側断面図である。 本発明の実施の形態の流量調節弁の断面図である。 本発明の実施の形態のメッシュ管の斜視図である。
符号の説明
1 食器洗浄システム
10 洗浄室
30 洗浄水タンク
100 洗浄液供給装置
110 容器部
111 第1の容器
112 第2の容器
113 容器カバー
114 ノズルカバー
115 スライダ
162 中継パイプ
162a 軸受部
162c 山部
162d 谷部
162e 係止凹部
164 ノズル管
164f 係止突起
166 流量調整弁
168 メッシュ管

Claims (10)

  1. 粉末洗剤が収納される第1の容器と、
    前記第1の容器の下部に取りつけられる第2の容器と、
    前記第1の容器の底面の略中央部に形成された開口に設けられている、該開口から該第1の容器内部に向かって直立するメッシュ管と、
    前記メッシュ管の外側に配置されている噴射ノズルを介して前記第1の容器内の上方から該第1の容器内に前記溶媒を噴射する噴射手段と、
    を有し、前記溶媒に粉末洗剤が溶解して生成され且つ前記メッシュ管及び前記開口を介して前記第2の容器に移動した洗浄液を回収して洗浄水タンクに供給する
    ことを特徴とする洗浄液供給装置。
  2. 前記噴射手段は、前記噴射ノズルを前記メッシュ管の中心軸周りに回転又は揺動させながら前記溶媒を噴射することを特徴とする請求項1に記載の洗浄液供給装置。
  3. 前記噴射手段が、その軸方向が前記メッシュ管の中心軸と直交するよう水平面上に配置され且つ該中心軸周り回転可能に支持されているノズル管を有し、
    前記噴射ノズルは前記ノズル管の下面に形成されている
    ことを特徴とする請求項2に記載の洗浄液供給装置。
  4. 前記ノズル管が回転又は揺動していない時に該ノズル管を所定位置で静止するよう保持するノズル管保持手段と、
    前記所定位置に保持されているノズル管の軸方向に沿って伸びる長板形状の部材であって、該ノズルの上面を覆うよう前記第1の容器内に設けられているノズルカバーと、
    を有する請求項3に記載の洗浄液供給装置。
  5. 前記ノズルカバーの上面をスライドして該上面の上に堆積した粉末洗剤を拭うスライダをさらに有することを特徴とする請求項4に記載の洗浄液供給装置。
  6. 前記第1の容器の上端において、その一端が前記ノズルカバーの長軸方向に直交する略水平面上の第1の軸線周りに回動可能に保持されている第1の容器カバーと、
    該第1の容器カバーの他端側において、その一端が前記第1の軸線に平行な第2の軸線周りに回動可能に保持されている第2の容器カバーと、
    をさらに有し、
    前記スライダは、前記第2のカバーの他端側において、前記第2の軸線に平行な第3の軸線周りに回動可能に保持されている
    ことを特徴とする請求項5に記載の洗浄液供給装置。
  7. 前記噴射手段は、前記噴射手段に供給される溶媒の圧力によって回転駆動されることを特徴とする請求項1から6のいずれかに記載の洗浄液供給装置。
  8. 前記噴射手段に溶媒を供給する溶媒供給管の中途に該溶媒の流量を略一定に保つ流量調整弁が設けられていることを特徴とする請求項1から7のいずれかに記載の洗浄液供給装置。
  9. 前記噴射手段に溶媒を供給する溶媒供給管は、前記第1の容器の開口及び前記メッシュ管の内部を通過して、前記噴射手段に接続されていることを特徴とする請求項1から8のいずれかに記載の洗浄液供給装置。
  10. 前記メッシュ管は、一対の半円断面のメッシュ板を結合することによって形成されることを特徴とする請求項1から9のいずれかに記載の洗浄液供給装置。
JP2008221700A 2008-08-29 2008-08-29 洗浄液供給装置 Active JP5269526B2 (ja)

Priority Applications (1)

Application Number Priority Date Filing Date Title
JP2008221700A JP5269526B2 (ja) 2008-08-29 2008-08-29 洗浄液供給装置

Applications Claiming Priority (1)

Application Number Priority Date Filing Date Title
JP2008221700A JP5269526B2 (ja) 2008-08-29 2008-08-29 洗浄液供給装置

Publications (3)

Publication Number Publication Date
JP2010051694A true JP2010051694A (ja) 2010-03-11
JP2010051694A5 JP2010051694A5 (ja) 2011-08-04
JP5269526B2 JP5269526B2 (ja) 2013-08-21

Family

ID=42068233

Family Applications (1)

Application Number Title Priority Date Filing Date
JP2008221700A Active JP5269526B2 (ja) 2008-08-29 2008-08-29 洗浄液供給装置

Country Status (1)

Country Link
JP (1) JP5269526B2 (ja)

Cited By (1)

* Cited by examiner, † Cited by third party
Publication number Priority date Publication date Assignee Title
CN108852224A (zh) * 2018-06-29 2018-11-23 九阳股份有限公司 一种双腔喷淋的洗碗机

Citations (3)

* Cited by examiner, † Cited by third party
Publication number Priority date Publication date Assignee Title
JPS496875U (ja) * 1972-04-20 1974-01-21
JPS57191274U (ja) * 1981-05-29 1982-12-04
JP2006311953A (ja) * 2005-05-09 2006-11-16 Welco Co Ltd 回転ノズル及びこの回転ノズルを使用した洗剤溶解装置

Patent Citations (3)

* Cited by examiner, † Cited by third party
Publication number Priority date Publication date Assignee Title
JPS496875U (ja) * 1972-04-20 1974-01-21
JPS57191274U (ja) * 1981-05-29 1982-12-04
JP2006311953A (ja) * 2005-05-09 2006-11-16 Welco Co Ltd 回転ノズル及びこの回転ノズルを使用した洗剤溶解装置

Cited By (2)

* Cited by examiner, † Cited by third party
Publication number Priority date Publication date Assignee Title
CN108852224A (zh) * 2018-06-29 2018-11-23 九阳股份有限公司 一种双腔喷淋的洗碗机
CN108852224B (zh) * 2018-06-29 2021-03-09 九阳股份有限公司 一种双腔喷淋的洗碗机

Also Published As

Publication number Publication date
JP5269526B2 (ja) 2013-08-21

Similar Documents

Publication Publication Date Title
AU722209B2 (en) Dispenser
CN104271830A (zh) 洗衣机
KR20150142947A (ko) 식기세척기 및 식기세척기의 제어방법
RU2372831C2 (ru) Посудомоечная машина с устройством для растворения моющего средства
KR20160149675A (ko) 식기세척기 및 그 제어방법
CN110693416A (zh) 洗碗机
KR101769378B1 (ko) 식기세척기
CN114206189A (zh) 家用洗碗机
US20060249183A1 (en) Rotary nozzle and detergent dissolving system using the same
TWI406648B (zh) Tableware cleaning machine
JP5269526B2 (ja) 洗浄液供給装置
CN111449600A (zh) 一种防堵塞喷淋器和防堵塞清洗装置
JP4483670B2 (ja) 食器洗い機
JP4952343B2 (ja) 食器洗い機
JP4688784B2 (ja) 食器洗浄機
JP2006167347A (ja) 食器洗い機
CN110811469B (zh) 用于洗碗机的喷臂组件和洗碗机
CN101440564B (zh) 洗涤物处理装置
JP2006175156A (ja) 食器用ラック
JP5104779B2 (ja) 食器洗い機
CN218852645U (zh) 用于清洗机的喷淋结构及清洗机
KR20140037553A (ko) 식기세척기
KR20060100616A (ko) 세탁기의 세제 공급장치
JP2016047084A (ja) 食器洗浄機
JP2006325910A (ja) 食器洗い機

Legal Events

Date Code Title Description
A521 Request for written amendment filed

Free format text: JAPANESE INTERMEDIATE CODE: A523

Effective date: 20110621

A621 Written request for application examination

Free format text: JAPANESE INTERMEDIATE CODE: A621

Effective date: 20110621

A977 Report on retrieval

Free format text: JAPANESE INTERMEDIATE CODE: A971007

Effective date: 20121026

A131 Notification of reasons for refusal

Free format text: JAPANESE INTERMEDIATE CODE: A131

Effective date: 20121114

A521 Request for written amendment filed

Free format text: JAPANESE INTERMEDIATE CODE: A523

Effective date: 20121213

A131 Notification of reasons for refusal

Free format text: JAPANESE INTERMEDIATE CODE: A131

Effective date: 20130107

A521 Request for written amendment filed

Free format text: JAPANESE INTERMEDIATE CODE: A523

Effective date: 20130213

TRDD Decision of grant or rejection written
A01 Written decision to grant a patent or to grant a registration (utility model)

Free format text: JAPANESE INTERMEDIATE CODE: A01

Effective date: 20130425

A61 First payment of annual fees (during grant procedure)

Free format text: JAPANESE INTERMEDIATE CODE: A61

Effective date: 20130508

R150 Certificate of patent or registration of utility model

Ref document number: 5269526

Country of ref document: JP

Free format text: JAPANESE INTERMEDIATE CODE: R150

Free format text: JAPANESE INTERMEDIATE CODE: R150

R250 Receipt of annual fees

Free format text: JAPANESE INTERMEDIATE CODE: R250

R250 Receipt of annual fees

Free format text: JAPANESE INTERMEDIATE CODE: R250

R250 Receipt of annual fees

Free format text: JAPANESE INTERMEDIATE CODE: R250

R250 Receipt of annual fees

Free format text: JAPANESE INTERMEDIATE CODE: R250