JP2010049400A - カードディスペンサ - Google Patents

カードディスペンサ Download PDF

Info

Publication number
JP2010049400A
JP2010049400A JP2008211737A JP2008211737A JP2010049400A JP 2010049400 A JP2010049400 A JP 2010049400A JP 2008211737 A JP2008211737 A JP 2008211737A JP 2008211737 A JP2008211737 A JP 2008211737A JP 2010049400 A JP2010049400 A JP 2010049400A
Authority
JP
Japan
Prior art keywords
card
cassette
type storage
stacked
storage media
Prior art date
Legal status (The legal status is an assumption and is not a legal conclusion. Google has not performed a legal analysis and makes no representation as to the accuracy of the status listed.)
Granted
Application number
JP2008211737A
Other languages
English (en)
Other versions
JP5176143B2 (ja
Inventor
Yoshitaka Nagai
義隆 永井
Current Assignee (The listed assignees may be inaccurate. Google has not performed a legal analysis and makes no representation or warranty as to the accuracy of the list.)
Toyo Networks and System Integration Co Ltd
Original Assignee
Toyo Networks and System Integration Co Ltd
Priority date (The priority date is an assumption and is not a legal conclusion. Google has not performed a legal analysis and makes no representation as to the accuracy of the date listed.)
Filing date
Publication date
Application filed by Toyo Networks and System Integration Co Ltd filed Critical Toyo Networks and System Integration Co Ltd
Priority to JP2008211737A priority Critical patent/JP5176143B2/ja
Publication of JP2010049400A publication Critical patent/JP2010049400A/ja
Application granted granted Critical
Publication of JP5176143B2 publication Critical patent/JP5176143B2/ja
Expired - Fee Related legal-status Critical Current
Anticipated expiration legal-status Critical

Links

Images

Landscapes

  • Conveying Record Carriers (AREA)

Abstract

【課題】カセット内に収納するカード枚数の増大や、カセット内壁の変形や、カセットの傾斜に起因して従来発生していたピックアップローラによる繰出し不良を効果的に防止する。
【解決手段】複数枚の矩形のカード型記憶媒体Cを略水平姿勢にて積層して収容すると共に最上部のカード型記憶媒体を略水平姿勢のままで外部へ送り出すためのカード取出し手段5を備えたカード収容手段2と、最上部のカード型記憶媒体を取出すピックアップローラ21を有した装置本体20と、を備え、カード収容手段は、積層されたカード型記憶媒体の外周面との間に間隙を隔てて対向配置される四面のガイド壁4を備えた収容ケースと、積層されたカード型記憶媒体の底部を押し上げるバックアップ部材と、を備え、収容ケースは、対向する2つのガイド壁の内壁間の間隔が、上方へ向かう程テーパー状に漸増するように構成されている。
【選択図】図3

Description

本発明はICカードを始めとした各種カードを発行、回収する機能を備えたカードディスペンサの改良に関する。
電鉄の駅に入場して列車に乗車するためのICカードや、テーマパーク、遊園地等への入場・利用のためのICカードを発行するカードディスペンサとして、図4に示した如きものが知られている。
このカードディスペンサは、多枚数(例えば、500〜1000枚)のICカードCを水平な姿勢で縦方向に堆積させた状態で収容する縦長のカセット101と、カセット101の下部を着脱自在に支持する装置本体110と、から構成されている。装置本体110は、カセット101下部の取出し口から最下部のICカードを取出しつつ一枚に分離するフィードローラ111aを有したカード分離部111と、カード分離部111により分離されたカードを横方向に搬送して放出口113から放出する搬送部112と、搬送部による搬送経路に配置されてICカードに必要な情報を書き込んだり記録データを読取るリーダライタ114と、書込みエラーと判定されてスイッチバック搬送されたICカードを落下させて回収する回収庫115と、を備えている。
しかし、500枚〜1000枚のICカードを平積み状態で積層するとカード分離部111を構成するフィードローラに対して過負荷が加わり、繰出し分離時におけるモータの負荷が過大となり、消費電力の増大、耐久性低下という問題を惹起する。また、カセット101内に多枚数のICカードが収納されている状態では最下部のICカードに加わる荷重が増大するために繰出し分離に要するモータ出力を大きくする必要がある一方で、残枚数が減少した状態では繰出し分離に要するモータ出力を減少させる必要があるが、このような制御は非常に困難である。例えば仮に多枚数のICカードからの大きな荷重を前提としてモータ出力を強く設定した場合、カード枚数が大幅に減少してきた段階では重りによって加圧してカード分離部に加わる荷重を増大させる等の手法を採用する必要があり、構成が複雑化する。
特許文献1には、カセット内に水平姿勢で積載されたICカード群の最下部から所定枚数上方に位置するICカード群をカセット内壁から突設した突起により係止して突起より下方に空間を形成することにより、多枚数のICカードが積載されている場合であってもフィードローラにICカードから加わる荷重を常に一定とする構成が開示されている。
しかし、カセット内部に大きな空間が形成されるため、カセット内のカード収納枚数を増大させようとすると、空間の分だけカセット高さが更に増大する虞がある。また、空間の下方に位置する少ない枚数のカードに対しては十分な荷重をかけることができないため、フィードローラによる繰出し分離力が不十分となる虞がある。
上記の如きカード束の最下部から取出しを行う上積み方式のカードディスペンサの欠点を解決するために、図5(a)に示したようにカード束Cの底部をバックアップバネ120により上向きに押上げると共に、カード束の最上部と接するピックアップローラ121により最上部のカードから一枚ずつ取出すようにした下積み方式のカードディスペンサを想定することができる。この下積み方式は、バックアップバネ120のバネ定数を適切にセッティングすることによりカード束Cの重量とバネ力とを相殺させるため、積層されたカード枚数が減少してゆく過程において、ピックアップローラ121に最上部カードを押し付けるためのバックアップ力を安定させ易く、比較的多くのカードを安定して繰出すことが可能となる。
また、カセット内に積層された各カードは全て整合性よく積層されている訳ではなく、図示のように積層位置に横方向バラツキがあるため、横方向に突出したカード端縁はカセット内壁と接触している。積層したカード枚数がバックアップバネによるバックアップ力との関係で適正である場合には繰出し不良は発生しにくい。
しかし、積層するカード枚数が所定数を越えて増量されると、各カードの外周縁とカセット内壁122との接触面積が増大して摩擦抵抗の合計値が増大し、バックアップバネによるバックアップ力とのバランスが不安定となり、ピックアップローラによる繰出し不良が発生し易くなる。
次に、図5(b)は部品精度バラツキや組付けバラツキによりカセット内壁122間の間隔が上方へ向かう程狭くなっている構成例を示しており、(c)はカセット内壁間の間隔は一定であるが、カセットを装置本体にセットした際にカセットが垂直姿勢よりも一方向に傾斜している場合を示している。
何れの場合も、カード束を構成する個々のカードに対するカセット内壁からの干渉によって摩擦抵抗が増大するため、積層枚数をさほど増大させない場合においても、バックアップバネによるバックアップ力とのバランスが不安定となり、ピックアップローラによる繰出し不良が発生し易くなる。
特開2001−52118公報
以上のように従来の下積み方式のカードディスペンサにあっては、水平姿勢(平積み状態)で上下方向に積層した多枚数のカードをカセット内に収容し、バックアップバネによってカード束を上向きに付勢しながら最上部のカードをピックアップローラにより繰り出していた。このため、バックアップバネによる付勢力を過剰に減殺する程度にカード枚数が増大した場合には、カードとカセット内壁との摩擦抵抗とバックアップバネによるバックアップ力とのバランスが不安定となり、ピックアップローラによる繰出し不良が発生し易くなる。また、部品精度バラツキや組付けバラツキによりカセット内壁間の間隔が上方へ向かう程狭くなっている場合や、カセット内壁間の間隔は一定であるが、カセットを装置本体にセットした際にカセットが傾斜している場合にも同様な繰出し不良が発生する。
本発明は上記に鑑みてなされたものであり、カセット内に収納するカード枚数の増大や、カセット内壁の変形や、カセットの傾斜に起因して従来発生していたピックアップローラによる繰出し不良を効果的に防止することができるカードディスペンサを提供することを目的としている。
上記目的を達成するため、請求項1の発明に係るカードディスペンサは、複数枚の矩形のカード型記憶媒体を略水平姿勢にて積層して収容すると共に最上部のカード型記憶媒体を略水平姿勢のままで外部へ送り出すためのカード取出し部を備えたカード収容手段と、該カード収容手段内の最上部のカード型記憶媒体を取出すピックアップローラを有した装置本体と、を備えたカードディスペンサであって、前記カード収容手段は、積層された前記カード型記憶媒体の外周面との間に間隙を隔てて対向配置される四面のガイド壁を備えた収容ケースと、積層された前記カード型記憶媒体の底部を押し上げるバックアップ部材と、を備え、前記収容ケースは、対向する2つのガイド壁の内壁間の間隔が、上方へ向かう程テーパー状に漸増するように構成されていることを特徴とする。
本発明によれば、カード型記憶媒体の端縁がガイド壁の内壁と干渉する確率が大幅に減少してガイド壁とカード型記憶媒体との間の摩擦抵抗が大幅に低減される。このため、バックアップ部材による付勢力と、カード型記憶媒体群の重量とのバランスを安定させることが可能となり、ピックアップローラに対して常に適正な圧力を加えることができ、繰出し不良の発生率を大幅に低減できる。
請求項2の発明に係るカードディスペンサは、請求項1において、前記2つのガイド壁の内壁は、垂直方向に対して0.5度〜1度外側へ傾斜していることを特徴とする。
以上のように本発明によれば、カード収容手段を構成する対向する2つのガイド壁の内壁間の間隔が、上方へ向かう程テーパー状に漸増するように構成されているので、カセット内に収納するカード枚数の増大や、カセット内壁の変形や、カセットの傾斜に起因して従来発生していたピックアップローラによる繰出し不良を効果的に防止することができる。
以下、本発明を図面に示した実施の形態により詳細に説明する。
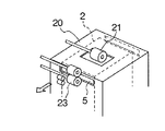
図1(a)(b)及び(c)は本発明の一実施形態に係るカードディスペンサの概略構成を示す正面縦断面図、平面図、及び側部縦断面図であり、図2はカード取出し部の構成を示す斜視図である。
カードディスペンサ1は、例えば電鉄の駅構内に入場して列車に乗車するために必要とされるICカード(カード型記憶媒体)Cを発行する装置であり、カード購入者が金銭を投入してから、操作パネルから金額を指定した場合に、指定した金額に相当する金額データをICカード上に書き込んだ上で発行する。
なお、本発明のカードディスペンサ1によって取り扱われるカードはICカードに限らず、あらゆるタイプのカード型記憶媒体を含むものである。
カードディスペンサ1は、複数枚の矩形のカード型記憶媒体、本例ではICカードC(ICカード群C`)を略水平姿勢にて積層して収容すると共に、最上部のICカードCを略水平姿勢のままで外部へ送り出すためのカード取出し部5を備えた縦長のカセット(カード収容手段)2と、カセット2内の最上部のカード型記憶媒体を取出すピックアップローラ21を有した装置本体20と、を備えている。
カセット2は、積層されたICカード群C`の外周面との間に間隙を隔てて対向配置される四面のガイド壁4を備えた収容ケース3と、ICカード群C`の底部を押し上げるバックアップ部材10と、を備えている。
カセット2は、上端部に設けたカード取出し部5からICカードCを一枚ずつカセットの外部に排出できるように構成されており、内部に収容したICカード群C`(ICカード積層体)の下端部をバネ等のバックアップ部材10によって常時上方向へ弾性付勢するように構成されている。バックアップ部材10としては積載台10aと、これを上向き付勢するコイルバネ等の弾性部材10bとを用い、ICカードの残枚数が多い場合には圧縮された状態にある弾性部材の強い弾発力によってカード群をピックアップローラ21に押し付けると共に、ICカード残量が少なくなった場合には伸長することによって低下した弾性部材の弾発力によって軽い力でカード群をピックアップローラ21に押し付ける。
装置本体20は、縦長姿勢のカセット2を収容するカセット装着部22と、カセット装着部22内に装着されたカセット2のカード取出し部5から露出した最上部のICカードCの上面に接して回転駆動されることによりこれを図面左方の搬送方向に送り出すピックアップローラ21と、重送防止のための分離ローラ23と、カード取出し部5から送り出され一枚に分離されたICカードCを図面左方へ搬送するカード搬送機構24と、カード搬送機構24による搬送経路に配置されてカードに対する書込みを行うライタ25と、回収カード(エラーカード、中古カード)を回収する回収カセット26と、を備えている。
図1(c)に示すようにカセット装着部22は、装置本体20の正面、又は背面側に設けた装着用開口部22aと、装着用開口部22aの底部に配置されたカセットリフター22bと、を備えている。下降させた状態にあるカセットリフター22b上にカセット2の底部が着座するようにセットしてからカセットリフター22bを上昇させることによりカセット最上部から露出した最上部のICカードの上面をピックアップローラ21と圧接させて取出し可能な状態に移行させることができる(図2)。
カード搬送機構24は搬送経路に沿って複数の搬送ローラ24aを有しており、これらの搬送ローラ24aを駆動することによりICカードCを放出口30から外部に放出する。
カード搬送機構24による搬送経路に配置されてICカードに対する書込みを行うライタ25は、カードディスペンサ利用者が所定金額の金銭を投入し、且つ操作パネルにより金額を指定する操作を行った場合に、当該金額をICカードのメモリに書き込む。また、ICカードの記録データを読取る読取機能を備えたライタ(リーダライタ)を用いる場合には、書込みエラーとなったエラーカードである等を判断するためのデータを読取る。図示しない制御部(CPU)は、リーダライタからの読取り結果を示す信号に基づいてカード搬送機構24を構成するモータ等を制御して回収カセット26に回収するために搬送ローラ24aを逆転駆動する等の措置を講ずる。
図3は本発明のカードディスペンサの特徴をなすカセットの構成を示す説明図であり、このカセット2の収容ケース3は、対向する平板状のガイド壁4の内壁間の間隔Wが、上方へ向かう程テーパー状に漸増するように構成されている。
即ち、対向する2つのガイド壁4は、破線Vで示した従来のカセットにおける垂直なガイド壁に対して0.5度〜1度の範囲で外側に傾斜している。また、他の2つの対向するガイド壁間の間隔も同様に垂直方向に対して0.5度〜1度の範囲で外側に傾斜している。
破線Vで示した垂直な線(面)は、バックアップ部材10上にICカードCが完全な整合状態で積層されている場合には全てのICカードの外周面との間に所定のギャップG(1.5mm〜2mm)を確保し得るように設計されているが、実際には全てのICカードを完全な整合状態で積層することは不可能であり、図示のように四方向に位置がずれた状態で積層される。
本発明に係るカセットにおいては、積載台10a上のICカセット群C`を構成する個々のICカードCの横方向位置が正規の積層位置よりもずれていたとしても、位置ずれを起こしたICカードの端部がガイド壁4の内壁と干渉することが少なくなるように、対向するガイド壁4を上向きにテーパー状に拡開するように傾斜させた。
このため、ICカードの端縁がガイド壁4の内壁と干渉する確率が大幅に減少してガイド壁とICカードとの間の摩擦抵抗が大幅に低減される。このため、バックアップ部材10を構成する弾性部材10bによる付勢力と、ICカード群C`の重量とのバランスを安定させることが可能となり、ピックアップローラ21に対して常に適正な圧力を加えることができ、繰出し不良の発生率を大幅に低減できる。
なお、本実施形態ではカード収容手段として装置本体に対して着脱自在なカセットを例示したが、装置本体に着脱できないタイプのカード収容手段であってもよい。
(a)(b)及び(c)は本発明の一実施形態に係るカードディスペンサの概略構成を示す正面縦断面図、平面図、及び側部縦断面図である。 カード取出し部の構成を示す斜視図である。 本発明の特徴的な構成を備えたカセットの構成を示す断面図である。 従来のカードディスペンサの構成を示す説明図である。 (a)(b)及び(c)は従来のカセットの問題点を説明するための図である。
符号の説明
1…カードディスペンサ、2…カセット、3…収容ケース、4…ガイド壁、5…カード取り出し手段、10…バックアップ部材、10a…積載台、10b…弾性部材、20…装置本体、21…ピックアップローラ、22…カセット装着部、22a…装着用開口部、22b…カセットリフター、23…分離ローラ、24…カード搬送機構、24a…搬送ローラ、25…ライタ、26…回収カセット、30…放出口

Claims (2)

  1. 複数枚の矩形のカード型記憶媒体を略水平姿勢にて積層して収容するカード収容手段と、該カード収容手段内の最上部のカード型記憶媒体を略水平姿勢のままで1枚ずつ取り出すためのカード取出し手段と、取り出したカードを搬送する搬送手段とを備えたカードディスペンサであって、
    前記カード収容手段は、積層された前記カード型記憶媒体の外周面との間に間隙を隔てて対向配置される四面のガイド壁を備えた収容ケースと、積層された前記カード型記憶媒体の底部を押し上げるバックアップ部材と、を備え、
    前記収容ケースは、対向する2つのガイド壁の内壁間の間隔が、上方へ向かう程テーパー状に漸増するように構成されていることを特徴とするカードディスペンサ。
  2. 前記2つのガイド壁の内壁は、垂直方向に対して0.5度〜1度外側へ傾斜していることを特徴とする請求項1に記載のカードディスペンサ。
JP2008211737A 2008-08-20 2008-08-20 カードディスペンサ Expired - Fee Related JP5176143B2 (ja)

Priority Applications (1)

Application Number Priority Date Filing Date Title
JP2008211737A JP5176143B2 (ja) 2008-08-20 2008-08-20 カードディスペンサ

Applications Claiming Priority (1)

Application Number Priority Date Filing Date Title
JP2008211737A JP5176143B2 (ja) 2008-08-20 2008-08-20 カードディスペンサ

Publications (2)

Publication Number Publication Date
JP2010049400A true JP2010049400A (ja) 2010-03-04
JP5176143B2 JP5176143B2 (ja) 2013-04-03

Family

ID=42066444

Family Applications (1)

Application Number Title Priority Date Filing Date
JP2008211737A Expired - Fee Related JP5176143B2 (ja) 2008-08-20 2008-08-20 カードディスペンサ

Country Status (1)

Country Link
JP (1) JP5176143B2 (ja)

Cited By (2)

* Cited by examiner, † Cited by third party
Publication number Priority date Publication date Assignee Title
TWI448412B (ja) * 2012-08-14 2014-08-11
CN111824568A (zh) * 2019-04-23 2020-10-27 广东精毅科技股份有限公司 一种带有止退功能卡盒

Citations (5)

* Cited by examiner, † Cited by third party
Publication number Priority date Publication date Assignee Title
JPS5183366A (ja) * 1975-01-20 1976-07-21 Nippon Telegraph & Telephone Kyushisochi
JPH0482784U (ja) * 1990-11-29 1992-07-17
JPH0742770U (ja) * 1993-12-29 1995-08-11 株式会社田村電機製作所 カード送出装置
JPH10129857A (ja) * 1996-10-31 1998-05-19 Fuji Electric Co Ltd 発券機用のカードスタッカ
JP2001026323A (ja) * 1999-07-14 2001-01-30 Canon Inc シート材給送装置及び画像形成装置

Patent Citations (5)

* Cited by examiner, † Cited by third party
Publication number Priority date Publication date Assignee Title
JPS5183366A (ja) * 1975-01-20 1976-07-21 Nippon Telegraph & Telephone Kyushisochi
JPH0482784U (ja) * 1990-11-29 1992-07-17
JPH0742770U (ja) * 1993-12-29 1995-08-11 株式会社田村電機製作所 カード送出装置
JPH10129857A (ja) * 1996-10-31 1998-05-19 Fuji Electric Co Ltd 発券機用のカードスタッカ
JP2001026323A (ja) * 1999-07-14 2001-01-30 Canon Inc シート材給送装置及び画像形成装置

Cited By (2)

* Cited by examiner, † Cited by third party
Publication number Priority date Publication date Assignee Title
TWI448412B (ja) * 2012-08-14 2014-08-11
CN111824568A (zh) * 2019-04-23 2020-10-27 广东精毅科技股份有限公司 一种带有止退功能卡盒

Also Published As

Publication number Publication date
JP5176143B2 (ja) 2013-04-03

Similar Documents

Publication Publication Date Title
CN103324960B (zh) 一种重力自适应分卡机构及具有该机构的发卡装置
CN101789084A (zh) 自动发卡机及其自动发卡方法
JP5176143B2 (ja) カードディスペンサ
CN102054309B (zh) 存折收纳装置及现金自动存取机
CN105008255A (zh) 介质堆叠器以及介质供给装置
US8681452B2 (en) Library device
CN100562888C (zh) 记录媒体处理装置
JP2001331853A (ja) カード発行機、カード処理装置およびカードスタッカ
JP5337982B2 (ja) カードディスペンサ
CN101169957B (zh) 媒体处理装置
JP2019189437A (ja) 画像読取装置
JP5286590B2 (ja) カードディスペンサ
US8888095B1 (en) Processing apparatus of cards and sheets
KR102493831B1 (ko) 매체 수납 방출 장치
KR100835902B1 (ko) 카드 디스펜서
KR102493855B1 (ko) 매체 수납 방출 장치의 제어방법
JP5695596B2 (ja) カード類及びシート類の処理装置
JP6264153B2 (ja) 媒体収納装置及び媒体処理装置
JP4333526B2 (ja) 非接触型ic媒体処理装置
JP2019079106A (ja) カード回収庫およびカード処理装置
KR100323944B1 (ko) 카드 저장기 및 이를 이용한 카드 발권 장치
JP2005196686A (ja) カード処理装置
JP2024064470A (ja) 媒体積載装置、及び画像形成装置
JPH0641964Y2 (ja) カード状体の印字/整列装置
JP4550655B2 (ja) カード排出装置

Legal Events

Date Code Title Description
A621 Written request for application examination

Free format text: JAPANESE INTERMEDIATE CODE: A621

Effective date: 20110801

A977 Report on retrieval

Free format text: JAPANESE INTERMEDIATE CODE: A971007

Effective date: 20120920

A131 Notification of reasons for refusal

Free format text: JAPANESE INTERMEDIATE CODE: A131

Effective date: 20120925

A521 Written amendment

Free format text: JAPANESE INTERMEDIATE CODE: A523

Effective date: 20121120

A01 Written decision to grant a patent or to grant a registration (utility model)

Free format text: JAPANESE INTERMEDIATE CODE: A01

Effective date: 20121211

A61 First payment of annual fees (during grant procedure)

Free format text: JAPANESE INTERMEDIATE CODE: A61

Effective date: 20121217

S111 Request for change of ownership or part of ownership

Free format text: JAPANESE INTERMEDIATE CODE: R313111

R350 Written notification of registration of transfer

Free format text: JAPANESE INTERMEDIATE CODE: R350

S531 Written request for registration of change of domicile

Free format text: JAPANESE INTERMEDIATE CODE: R313531

R350 Written notification of registration of transfer

Free format text: JAPANESE INTERMEDIATE CODE: R350

LAPS Cancellation because of no payment of annual fees