JP2010049193A - 異物回収容器の支持構造 - Google Patents

異物回収容器の支持構造 Download PDF

Info

Publication number
JP2010049193A
JP2010049193A JP2008215681A JP2008215681A JP2010049193A JP 2010049193 A JP2010049193 A JP 2010049193A JP 2008215681 A JP2008215681 A JP 2008215681A JP 2008215681 A JP2008215681 A JP 2008215681A JP 2010049193 A JP2010049193 A JP 2010049193A
Authority
JP
Japan
Prior art keywords
foreign matter
support structure
collection container
foreign
container
Prior art date
Legal status (The legal status is an assumption and is not a legal conclusion. Google has not performed a legal analysis and makes no representation as to the accuracy of the status listed.)
Granted
Application number
JP2008215681A
Other languages
English (en)
Other versions
JP5169620B2 (ja
Inventor
Kenji Honjo
賢二 本城
Hiroyasu Nagashima
弘恭 長島
Hideki Tanaka
秀樹 田中
Nobuo Kuwabara
延雄 桑原
Hiroshi Ono
博司 小野
Masaru Amamiya
賢 雨宮
Masahiko Akafuji
昌彦 赤藤
Toshio Koike
寿男 小池
Yuji Arai
裕司 荒井
Michiya Okamoto
倫哉 岡本
Current Assignee (The listed assignees may be inaccurate. Google has not performed a legal analysis and makes no representation or warranty as to the accuracy of the list.)
Ricoh Co Ltd
Original Assignee
Ricoh Co Ltd
Priority date (The priority date is an assumption and is not a legal conclusion. Google has not performed a legal analysis and makes no representation as to the accuracy of the date listed.)
Filing date
Publication date
Application filed by Ricoh Co Ltd filed Critical Ricoh Co Ltd
Priority to JP2008215681A priority Critical patent/JP5169620B2/ja
Publication of JP2010049193A publication Critical patent/JP2010049193A/ja
Application granted granted Critical
Publication of JP5169620B2 publication Critical patent/JP5169620B2/ja
Expired - Fee Related legal-status Critical Current
Anticipated expiration legal-status Critical

Links

Images

Landscapes

  • Cleaning In Electrography (AREA)
  • Electrophotography Configuration And Component (AREA)

Abstract

【課題】電子写真方式の画像形成装置において、残留トナーや紙粉等の異物を回収させる異物回収容器の取り外し時における粉体状異物のこぼれ落ちや飛散する恐れを払拭できる異物回収容器の支持構造を提供すること。
【解決手段】内枠31の側面に設けた係合凹部18と係脱可能な係合凸部21を、粉体状異物を貯留する中空状の異物回収容器19の側面に直接設け、係合凹部18と係合凸部21とを、支持面18aと内枠31の側面とが交差する稜部またはその近傍を回転中心Cとして異物回収容器19を外方に傾斜し、その傾斜した異物回収容器19を着脱可能に構成する。
【選択図】図2

Description

本発明は、電子写真方式の画像形成装置において、残留トナーや紙粉等の異物を回収させる異物回収容器の支持構造に関する。
複写機やレーザプリンタ等の所謂、電子写真方式の画像形成装置は、感光体ドラムや感光体ベルト、転写ベルト等に残ったトナーや紙粉等の粉体状異物を除去させるクリーニング部と、そのクリーニング部で回収された粉体状異物を搬送させる搬送管部と、その搬送管部で搬送された粉体状異物を貯留させる着脱可能な異物回収容器とを備えているものがある。
このうち、異物回収容器の支持構造として、例えば、機械側板に略水平方向に平行に取り付けられた支軸を支点として回動可能な支持台を設け、その支持台に対向した位置に所要角度回動可能な外カバーを設け、そして、その支持台に廃トナー回収容器(異物回収容器)を載置させ外カバーを閉じて支持させたものがある。
さらに、この廃トナー回収容器は、上面に開口部が設けられており、外カバーを閉じて廃トナー回収容器(異物回収容器)を装置内に収納した時に、上方から垂設したトナー排出ノズル(搬送管)が開口部に連結されるようになっており、その逆に、外カバーを開くことで、支持台を介して廃トナー回収容器が外方へ自重により回動すると同時にトナー排出ノズルと開口部との連結が外れるようになっている。そして、外カバーの回動が停止する位置で、廃トナー回収容器を斜め上方に取り出すようになっている(例えば特許文献1参照)。
特開2002−108159公報
しかしながら、上述した従来の異物回収容器の支持構造は、異物回収容器は単に支持台に載置した状態で、その支持台が回動する構成であったことから、外カバーを開いて異物回収容器を回動させて取り出す際に異物回収容器がガタついて、粉体状異物のこぼれ落ちや飛散が生じやすかった。しかも、トナー排出ノズルが異物回収容器の上方から垂設した構成であるため、余計に粉体状異物のこぼれ落ちや飛散が生じやすかった。
そこで本発明は、このような状況に鑑みてなされたものであり、上記問題点を解決できる異物回収容器の支持構造を提供することを目的とする。
上記技術課題を達成するために、本発明にかかる異物回収容器の支持構造は、下記の技術的手段を講じた。
すなわち、請求項1にかかる異物回収容器の支持構造は、画像形成装置の機枠の側面から突出され画像形成により発生した粉体状異物を外部へ搬出させる搬送管より下方の、前記機枠の側面の所要位置に設けられた係合凹部と、前記搬送管を挿脱させる挿入口が側面に設けられ前記粉体状異物を貯留させる中空状の異物回収容器の、その挿入口より下方の前記側面の下部に、前記係合凹部と係脱可能に設けられた係合凸部と、前記機枠に設けられ、前記係合凸部を前記係合凹部に係合させ前記挿入口に前記搬送管を挿入させて前記異物回収容器を前記機枠の側面に沿わせた状態で、前記異物回収容器の上面から下方に押圧させるロック部材とを備えてなり、前記係合凹部と前記係合凸部とが、前記異物回収容器の下方を回動支点とさせて前記異物回収容器を外方に回動させ、その回動させた状態で前記異物回収容器を着脱可能に構成されていることを特徴とする。
請求項2にかかる異物回収容器の支持構造は、請求項1において、前記係合凹部は、水平状の支持面と該支持面の奥縁から連続形成された湾曲状のガイド面とを備えて形成され、前記係合凸部は、前記支持面に当接可能な底面と該底面の奥縁から連続形成され前記異物回収容器を前記機枠の外方へ回動させることで前記ガイド面に沿って摺接される摺接面とを備えて形成されていることを特徴とする。
請求項3にかかる異物回収容器の支持構造は、請求項1または2において、前記ロック部材は、前記異物回収容器の上面を下方に押圧する板バネであることを特徴とする。
請求項4にかかる異物回収容器の支持構造は、請求項2または3において、前記ガイド面は、前記支持面の奥行き長さを半径とした円の1/4の円弧であり、前記摺接面は、前記底面の奥行き長さを半径とした円の1/4の円弧であることを特徴とする。
請求項5にかかる異物回収容器の支持構造は、請求項1乃至4の何れか1項において、前記係合凸部は、その底面が、前記異物回収容器の底面と面一となるように設けられていることを特徴とする。
請求項6にかかる異物回収容器の支持構造は、請求項1乃至5の何れか1項において、前記係合凸部は、その底面が、前記異物回収容器を傾斜状に載置可能に前記異物回収容器の底面より下方に位置するように設けられていることを特徴とする。
請求項7にかかる異物回収容器の支持構造は、請求項1乃至6の何れか1項において、前記異物回収容器を前記機枠の外方へ回動させて前記係合凹部から前記係合凸部が脱する前に、前記搬送管は前記挿入口から脱するように構成されていることを特徴とする。
請求項8にかかる異物回収容器の支持構造は、請求項1乃至7の何れか1項において、ガイド溝とこのガイド溝に摺動させるガイド突起とを備え、前記異物回収容器の前記機枠の外方へ回動をガイドさせるガイド部が、前記係合凹部と前記係合凸部とに設けられていることを特徴とする。
本発明によれば、機枠の側面に設けた係合凹部と係脱可能な係合凸部を、粉体状異物を貯留する中空状の異物回収容器の側面に直接設けると共に、係合凹部と係合凸部とを、異物回収容器の下方を回動支点として異物回収容器を外方に傾斜し、その傾斜した異物回収容器を上方向へ引き抜き可能に構成して、異物回収容器の着脱時のガタつきを抑止したから、異物回収容器の取り外し時おける粉体状異物のこぼれ落ちや飛散する恐れを払拭できる。
また、残留トナーや紙粉等の粉体状異物を外部へ搬出する搬送管を画像形成装置の機枠の側面から突出したことで、異物回収容器を取り外す際に、搬送管が異物回収容器の上方から垂設した従来の構成のものより粉体状異物のこぼれ落ちや飛散する恐れを低減でき、しかも、異物回収容器を機枠の外方へ回動していくにつれて、挿入口が上向いていくから、粉体状異物のこぼれ落ちや飛散の恐れを防止できる。
次に本実施の形態にかかる異物回収容器の支持構造を適用した画像形成装置の実施の形態を、添付図面を参照しながら説明する。
まず、画像形成装置の概要を説明する。
画像形成装置Aは、図1に示すように、カラー画像用の複数色からなるカラートナー像が形成される中間転写ベルト1と、トナー像用の各色トナーを補給するトナーボトル2とを機枠3内に収容して有し、機枠3の下部に積載されて収納された転写紙Sを、中間転写ベルト1に所定に接しさせてカラートナー像を転写しさらにトナー像を定着させて、上部から排出するようにしている。なお、この機枠3は、図2に示すように、内枠31と、外枠32とで構成される。
また、画像形成装置Aの概略下部から上部に掛けて、1枚の転写紙Sをフィードする給紙コロ4と、トナー像転写用の搬送タイミングを確保するレジストローラ5と、中間転写ベルト1に接するように対抗配置され中間転写ベルト1との間に所定圧を確保したニップを形成した2次転写ローラ6と、トナー像の転写を受けた転写紙を通紙させる過程で加熱および加圧する定着ユニット7と、転写紙Sを装置外部に排出する排紙ローラ8とが配置されており、転写紙Sに対して、これらのコロやローラによって形成した搬送経路を搬送する過程で、順次、ニップにより中間転写ベルト1からトナー像を転写し、定着ユニット7により転写紙S上に転写したトナー像を定着している。
さらに、カラー画像を形成するための各色を担当してその色のトナー像を形成する4つの画像ステーションとしてプロセスカートリッジ11a〜11dが、図中の斜め左上がりに傾斜して配設された中間転写ベルト1の長手方向に沿って配置されている。
これらのプロセスカートリッジ11a〜11dからなる各画像ステーションには、像担持体として感光体ドラム10a〜10dをそれぞれ有し、これらの各感光体ドラム10a〜10dは、中間転写ベルト1を介して転写ローラ13に所定圧を確保して接しており、またその回りには、それぞれ専用の帯電手段15a〜15d、現像手段としての現像装置16a〜16d、感光体ドラムクリーニングユニット14a〜14dを有している。
また、これらのプロセスカートリッジ11a〜11bの下方には、図1に示すように、それぞれの感光体ドラム10a〜10dをレーザー光によって所定に露光させて静電潜像を書き込む書き込みユニット9が配置されている。また、中間転写ベルト1上の残留トナーや紙粉等の粉体状異物を収集してクリーニングする中間転写ベルトクリーニングユニット12が中間転写ベルト1に接するように配置されている。
またトナーボトル2は、装置内の上部で図中の左側から右側に順次、複数個、配置され、画像形成装置Aに交換可能に設けられている。これらのトナーボトル2には、それぞれイエロー、シアン、マゼンタ、黒のトナーが充填されている。各トナーボトル2から図示しない搬送経路を介して、各トナーボトル2に対応した各色の現像装置16a〜16dにトナー供給可能に接続され、所定の補給量だけ各色のトナーが補給されている。
このように構成された画像形成装置Aは、転写紙Sが給紙コロ4でフィードされその先端がレジストローラ5まで到達すると、この転写紙Sの先端が図示しないセンサによって検知される。そして、この検出信号に基づき同期のタイミングを取りながら、レジストローラ5によって転写紙Sを2次転写ローラ6と中間転写ベルト1とにより形成したニップに搬送し、中間転写ベルト1から転写紙Sに中間転写ベルト1上に形成した画像を2次転写する。
感光体ドラム10a〜10dは、あらかじめ帯電ローラ15a〜15dによって一様に帯電され、次に書き込みユニット9によってレーザー光にて露光走査され、感光体ドラム10a〜10d上に静電潜像が作られる。各静電潜像は、それぞれ各色の現像装置16a〜16dにより現像され、これにより感光体ドラム10a〜10dの表面にイエロー、シアン、マゼンタ、黒のトナー像が形成される。
次に転写ローラ13に電圧が印加され各感光体ドラム10上のトナーが、中間転写ベルト1上に順次転写されていく。このとき、各色の作像動作は、そのトナー像が中間転写ベルト1の同じ位置に重ねて転写されるように、中間転写ベルト1の送り方向における上流側から下流側に向けてタイミングをずらして実行される。中間転写ベルト1上に形成されたトナー画像は、2次転写ローラ6の位置まで搬送され転写紙Sに2次転写される。各色からなるカラートナー像が転写された転写紙Sは定着ユニット7に搬送されてそのトナー像が熱定着され、排紙ローラ8で排紙される。
このような画像形成動作に伴って生じた残留トナーや紙粉等の粉体状異物は、クリーニングされて収集され排出される。すなわち、感光体ドラム10a〜10d上の残留トナーや紙粉等の粉体状異物は、感光体ドラムクリーニングユニット14a〜14dによって除去され、中間転写ベルト1上に残された残留トナーや紙粉等の粉体状異物は、中間転写ベルトクリーニングユニット12によって除去される。
このようにして除去・収集された粉体状異物は、図2に示すように、内枠31の側面から水平方向に突出させた搬送管17と、スクリューポンプ(図示せず)とを備えて構成された搬送手段で、その内枠31の側面まで搬送され、後述する支持構造により内枠31の側面に支持された異物回収容器19内に排出される。以下、本発明の要部である異物回収容器19の支持構造を詳述する。
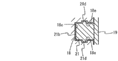
本実施の形態にかかる異物回収容器19の支持構造は、図2に示すように、係合凹部18と、係合凸部21と、ロック部材20とを備えて構成される。
係合凹部18は、水平状の支持面18aと、その支持面18aの奥縁から連続形成された湾曲状のガイド面18bとを備えて形成された所要幅の凹窩であり、上述した搬送管17より下方の、内枠31の側面の所要位置に設けられている。この湾曲状のガイド面18bを詳述すると、支持面18aと内枠31の側面とが交差する稜部またはその近傍を回転中心C(本実施では、支持面18aと内枠31の側面とが交差する稜部)にし、支持面18aの奥行き長さL1を回転半径にして、支持面18aの奥縁から上向きに連続形成された所要長さの円弧部18cと、その円弧部18cの終端からその部位における接線方向に延出された直線部18dとを備えて形成されている。
また、この係合凹部18の側面(図2において奥行き方向)には、図2及び図3に示すように、上述した回転中心Cを中心にした所要長さの円弧と直線とを組み合わせたガイド溝18eが形成されている。なお、この係合凹部18は一箇所のみならず、所定の間隔をおいて、異物回収容器19の幅方向(図2において奥行き方向)に複数個所に並設させても良い。
係合凸部21は異物回収容器19に設けられている。すなわち、異物回収容器19は、図2に示すように、縦断側面視、内枠31との当接面となる平坦な一方の側面と対向する他方の側面を、段差のある面とさせた中空の矩形体状に形成されると共に、当接面の上部には搬送管17を挿脱させる挿入口19aが設けられ、その挿入口19aの下方に係合凹部18と係脱可能な係合凸部21が設けられている。また、この異物回収容器19は、その上面に略角錐台状のボス部19bが形成されている。
この係合凸部21は、支持面18a全域に当接可能にその支持面18aの奥行き長さL1と幅で形成された平坦状の底面21aと、円弧部18cと略同じ円弧長さでその円弧部18cと摺接可能な摺接面21bと、その摺接面21bの上縁から延出された天面21cと、側面にガイド溝18eにスライド可能に遊挿される円柱状のガイド突起21dを備え、底面21aが異物回収容器19の底面19dと面一となるように形成されている。このガイド突起21dとガイド溝18eとでガイド部が構成される。なお、係合凹部18にガイド突起21dを設け、係合凸部21にガイド溝18eを設けても良い。
また、異物回収容器19を機枠の外方へ回動させて係合凹部18から係合凸部21が脱する前に、搬送管17が挿入口19aから脱するように、係合凸部21と係合凹部18の形状・大きさ、搬送管17の突出量、係合凹部18(または係合凸部21)と搬送管17との離間距離等が構成されている。詳細は後述する。また、この異物回収容器19は、挿入口19aの中心線上となる異物回収容器19の内側面に、搬送管17の開閉シャッタを開く押動ピン19cが突設されている。
ここで、搬送管17の開閉シャッタ機構を説明する。
図2、図4、図5に示すように、この開閉シャッタ機構は、スクリュー17aが回動可能に遊挿された搬送管17の先端面に設けられ押動ピン19cを挿脱させる連通穴17bと、搬送管17の先端面から所要の距離をおいて搬送管17の下側面に設けられた排出口17cと、有底の筒状に形成されると共に排出口17cと重畳可能なシャッタ窓17dが底17gに隣接するように側面に設けられ、底17gが先端側となるように且つ排出口17cが下側となるように搬送管17の先端部内にスライド可能に遊挿されたシャッタ筒17eと、一端がシャッタ筒17eの周縁に係止されると共に他端が搬送管17に係止されて、シャッタ筒17eを先端面方向に段発付勢させる圧縮コイルバネ17fとを備えて構成されている。
このように構成された開閉シャッタ機構は、異物回収容器19の非装着時、圧縮コイルバネ17fによりシャッタ筒17eを先端面方向に押動して、搬送管17の先端内面にシャッタ筒17eの底17gが当接されると同時に、シャッタ筒17eの側面でシャッタ窓17dを塞いで、粉体状異物のこぼれ落ちや飛散しないようになっている(図4、図5参照)。
この閉状態から、挿入口19aを介して搬送管17を異物回収容器19内に挿入し所定位置まで異物回収容器19を押し切ることで、連通穴17bを介して押動ピン19cがシャッタ筒17eを押動し、シャッタ窓17dが排出口17cと重畳して、搬送管17内外と連通状態となり、スクリュー17aで搬送される粉体状異物が異物回収容器19内に落下するようになっている(図2参照)。なお、異物回収容器19を取り外すと同時にシャッタ筒17eの側面でシャッタ窓17dを塞ぐようになっている。
ロック部材20は、略U字状に形成された所要幅所要長さの板バネからなる。このように形成されたロック部材20は、搬送管17より上方の外枠32の側面が内方に向かって水平方向に延出された延出部32aに、板バネ端部が外方を向くように一端側が係止されている。
また、延出部32aの下方には、上下方向(図では時計回り方向)に開閉可能な開閉扉32bが設けられており、この開閉扉32bを開いて異物回収容器19の着脱を行うようになっている。
以上のように構成された本実施の形態にかかる異物回収容器19の支持構造は、図2に示すように、ガイド突起21dをガイド溝18eに遊挿し、係合凸部21を係合凹部18に挿入し、シャッタ窓17dが開くように搬送管17を挿入口19aに挿入し、異物回収容器19を内枠31の側面に沿わした状態でロック部材20がボス部19bを介して異物回収容器19を下方に段発付勢して、その異物回収容器19を支持する。
そして、この支持状態の異物回収容器19を取り出すときは、開閉扉32bを開き、支持面18aと内枠31の側面とが交差する稜部またはその近傍を回転中心Cにして、異物回収容器19を下方に(時計回り方向に)回転するように倒していく。
このとき、ガイド突起21dがガイド溝18eにガイドされながら、摺接面21bが円弧部18cに摺動して異物回収容器19の上下方向の移動を規制しながら倒れていく。やがて、ロック部材20との係合が解除すると共に、これに前後して、挿入口19aから搬送管17が離脱する。この間、ガイド突起21dがガイド溝18eに係合していると同時に摺接面21bが円弧部18cに摺接していることから、異物回収容器19の上下方向の移動は規制される。
そして、摺接面21bが円弧部18cから脱したら、円弧部18cの終端部からその部位における接線方向に延出した直線部18dに沿って異物回収容器19を引き上げることで、ガイド突起21dがガイド溝18eから離脱すると共に、係合凸部21が係合凹部18から離脱して異物回収容器19の取り出しが完了する。なお、異物回収容器19の取り付けは上述と逆となる。
このように本実施の形態にかかる異物回収容器19の支持構造によれば、内枠31の側面に設けた係合凹部18と係脱可能な係合凸部21を、粉体状異物を貯留する中空状の異物回収容器19の側面に直接設け、係合凹部18と係合凸部21とを、支持面18aと内枠31の側面とが交差する稜部またはその近傍を回転中心Cとして異物回収容器19を外方に傾斜し、その傾斜した異物回収容器19を上方向へ引き抜き可能に構成して、異物回収容器19の着脱時のガタつきを抑止したから、異物回収容器19の取り外し時おける粉体状異物のこぼれ落ちや飛散する恐れを払拭できる。
また、粉体状異物を外部へ搬出する搬送管17を画像形成装置の機枠の側面から突出したことで、異物回収容器19を取り外す際に、搬送管17が異物回収容器19の上方から垂設した従来の構成のものより粉体状異物のこぼれ落ちや飛散する恐れを低減でき、しかも、異物回収容器19を機枠の外方へ回動していくにつれて、挿入口19aが上向いていくから、粉体状異物のこぼれ落ちや飛散の恐れを防止できる。
本実施の形態では、係合凹部18を、支持面18aと内枠31の側面とが交差する稜部またはその近傍を回転中心Cにし、支持面18aの奥行き長さL1を回転半径にして、支持面18aの奥縁から連続形成された所要長さの円弧部18cと、その円弧部18cの終端からその部位における接線方向に延出された直線部18dとを備えて形成し、一方、係合凸部21を、支持面18a全域に当接可能にその支持面18aの奥行き長さL1と幅で形成された平坦状の底面21aと、円弧部18cと略同じ円弧長さでその円弧部18cと摺接可能な摺接面21bと、その摺接面21bの上縁から延出された天面21cとを備えて形成しているが、図6に示すように、支持面18aの奥行き長さL1を半径とした円の1/4の円弧のガイド面18bとし、これに対応して、摺接面21bを、底面21aの奥行き長さL2を半径とした円の1/4の円弧となるように形成しても良い。
この場合、図7に示すように、支持面18aと内枠31の側面とが交差する稜部またはその近傍を回転中心Cにした円弧状のガイド溝18eとし、これに対応するようにガイド突起21dを円弧状としても良い。
また、上述した異物回収容器19は、係合凸部21の底面21aを異物回収容器19の底面19dと面一となるようにしているが、図8に示すように、係合凸部21の底面21aを異物回収容器19の底面19dより下方に位置するように係合凸部21を設け、床面等に異物回収容器19を載置した際、挿入口19aが上向くように異物回収容器19を傾斜状に載置可能にしても良い。このように構成することで、粉体状異物で満たされた異物回収容器19を床面等に載置しても、粉体状異物のこぼれ落ちを防止できる。
以上、本実施の形態にかかる異物回収容器19の支持構造を説明したが、上述した実施の形態は、本発明の好適な実施の形態の一例を示すものであり、本発明はそれに限定されるものではなく、その要旨を逸脱しない範囲内において、種々変形実施が可能である。
本実施の形態にかかる異物回収容器の支持構造を適用する画像形成装置の概略図である。 本実施の形態にかかる異物回収容器の支持構造の縦断側面図である。 図2のX−X線に沿える部分横断平面図である。 図2に続く異物回収容器の着脱時の状態を示す縦断側面図である。 図4に続く異物回収容器の着脱時の状態を示す縦断側面図である。 係合凹部と係合凸部の変形例1を示す部分縦断側面図である。 係合凹部と係合凸部の変形例2を示し、(a)は部分縦断側面図、(b)は部分縦断正面図である。 係合凸部の配設状態の変形例を示した異物回収容器の縦断側面図である。
符号の説明
3‥機枠、31‥内枠、32‥外枠、32a‥延出部、32b‥開閉扉、17‥搬送管、17a‥スクリュー、17b‥連通穴、17c‥排出口、17d‥シャッタ窓、17e‥シャッタ筒、17f‥圧縮コイルバネ、18‥係合凹部、18a‥支持面、18b‥ガイド面、18c‥円弧部、18d‥直線部、18e‥ガイド溝、19‥異物回収容器、19a‥挿入口、19b‥ボス部、19c‥押動ピン、19d‥底面、20‥ロック部材、21‥係合凸部、21a‥底面、21b‥摺接面、21c‥天面、21d‥ガイド突起、C‥回転中心

Claims (8)

  1. 画像形成装置の機枠の側面から突出され画像形成により発生した粉体状異物を外部へ搬出させる搬送管より下方の、前記機枠の側面の所要位置に設けられた係合凹部と、
    前記搬送管を挿脱させる挿入口が側面に設けられ前記粉体状異物を貯留させる中空状の異物回収容器の、その挿入口より下方の前記側面の下部に、前記係合凹部と係脱可能に設けられた係合凸部と、
    前記機枠に設けられ、前記係合凸部を前記係合凹部に係合させ前記挿入口に前記搬送管を挿入させて前記異物回収容器を前記機枠の側面に沿わせた状態で、前記異物回収容器の上面から下方に押圧させるロック部材と、
    を備えてなり、
    前記係合凹部と前記係合凸部とが、前記異物回収容器の下方を回動支点とさせて前記異物回収容器を外方に回動させ、その回動させた状態で前記異物回収容器を着脱可能に構成されていることを特徴とする異物回収容器の支持構造。
  2. 前記係合凹部は、水平状の支持面と、該支持面の奥縁から連続形成された湾曲状のガイド面と、を備えて形成され、
    前記係合凸部は、前記支持面に当接可能な底面と、該底面の奥縁から連続形成され前記異物回収容器を前記機枠の外方へ回動させることで前記ガイド面に沿って摺接される摺接面と、を備えて形成されていることを特徴とする請求項1に記載の異物回収容器の支持構造。
  3. 前記ロック部材は、前記異物回収容器の上面を下方に押圧する板バネであることを特徴とする請求項1または2に記載の異物回収容器の支持構造。
  4. 前記ガイド面は、前記支持面の奥行き長さを半径とした円の1/4の円弧であり、前記摺接面は、前記底面の奥行き長さを半径とした円の1/4の円弧であることを特徴とする請求項2または3に記載の異物回収容器の支持構造。
  5. 前記係合凸部は、その底面が、前記異物回収容器の底面と面一となるように設けられていることを特徴とする請求項1乃至4の何れか1項に記載の異物回収容器の支持構造。
  6. 前記係合凸部は、その底面が、前記異物回収容器を傾斜状に載置可能に前記異物回収容器の底面より下方に位置するように設けられていることを特徴とする請求項1乃至5の何れか1項に記載の異物回収容器の支持構造。
  7. 前記異物回収容器を前記機枠の外方へ回動させて前記係合凹部から前記係合凸部が脱する前に、前記搬送管は前記挿入口から脱するように構成されていることを特徴とする請求項1乃至6の何れか1項に記載の異物回収容器の支持構造。
  8. ガイド溝とこのガイド溝に摺動させるガイド突起とを備え、前記異物回収容器の前記機枠の外方へ回動をガイドさせるガイド部が、前記係合凹部と前記係合凸部とに設けられていることを特徴とする請求項1乃至7の何れか1項に記載の異物回収容器の支持構造。
JP2008215681A 2008-08-25 2008-08-25 異物回収容器の支持構造、異物回収容器、及び画像形成装置 Expired - Fee Related JP5169620B2 (ja)

Priority Applications (1)

Application Number Priority Date Filing Date Title
JP2008215681A JP5169620B2 (ja) 2008-08-25 2008-08-25 異物回収容器の支持構造、異物回収容器、及び画像形成装置

Applications Claiming Priority (1)

Application Number Priority Date Filing Date Title
JP2008215681A JP5169620B2 (ja) 2008-08-25 2008-08-25 異物回収容器の支持構造、異物回収容器、及び画像形成装置

Publications (2)

Publication Number Publication Date
JP2010049193A true JP2010049193A (ja) 2010-03-04
JP5169620B2 JP5169620B2 (ja) 2013-03-27

Family

ID=42066300

Family Applications (1)

Application Number Title Priority Date Filing Date
JP2008215681A Expired - Fee Related JP5169620B2 (ja) 2008-08-25 2008-08-25 異物回収容器の支持構造、異物回収容器、及び画像形成装置

Country Status (1)

Country Link
JP (1) JP5169620B2 (ja)

Cited By (4)

* Cited by examiner, † Cited by third party
Publication number Priority date Publication date Assignee Title
JP2012194439A (ja) * 2011-03-17 2012-10-11 Ricoh Co Ltd 廃トナー回収容器、及び、画像形成装置
JP2017120281A (ja) * 2015-12-28 2017-07-06 京セラドキュメントソリューションズ株式会社 画像形成装置
JP2017167228A (ja) * 2016-03-15 2017-09-21 富士ゼロックス株式会社 粉体回収装置及びこれを用いた処理装置
US10725423B2 (en) 2018-07-09 2020-07-28 Brother Kogyo Kabushiki Kaisha Image forming apparatus

Citations (3)

* Cited by examiner, † Cited by third party
Publication number Priority date Publication date Assignee Title
JPH0285459U (ja) * 1988-12-20 1990-07-04
JPH05297775A (ja) * 1992-04-22 1993-11-12 Ricoh Co Ltd 廃トナーボトルを有する画像形成装置
JP2007010850A (ja) * 2005-06-29 2007-01-18 Kyocera Mita Corp 廃トナー回収装置

Patent Citations (3)

* Cited by examiner, † Cited by third party
Publication number Priority date Publication date Assignee Title
JPH0285459U (ja) * 1988-12-20 1990-07-04
JPH05297775A (ja) * 1992-04-22 1993-11-12 Ricoh Co Ltd 廃トナーボトルを有する画像形成装置
JP2007010850A (ja) * 2005-06-29 2007-01-18 Kyocera Mita Corp 廃トナー回収装置

Cited By (6)

* Cited by examiner, † Cited by third party
Publication number Priority date Publication date Assignee Title
JP2012194439A (ja) * 2011-03-17 2012-10-11 Ricoh Co Ltd 廃トナー回収容器、及び、画像形成装置
JP2017120281A (ja) * 2015-12-28 2017-07-06 京セラドキュメントソリューションズ株式会社 画像形成装置
JP2017167228A (ja) * 2016-03-15 2017-09-21 富士ゼロックス株式会社 粉体回収装置及びこれを用いた処理装置
US10725423B2 (en) 2018-07-09 2020-07-28 Brother Kogyo Kabushiki Kaisha Image forming apparatus
US11144004B2 (en) 2018-07-09 2021-10-12 Brother Kogyo Kabushiki Kaisha Image forming apparatus
US11656570B2 (en) 2018-07-09 2023-05-23 Brother Kogyo Kabushiki Kaisha Image forming apparatus

Also Published As

Publication number Publication date
JP5169620B2 (ja) 2013-03-27

Similar Documents

Publication Publication Date Title
JP5267012B2 (ja) 廃トナー回収容器とクリーニングユニット並びに画像形成装置
US8478171B2 (en) Toner bottle and image formation apparatus provided with the same
US11656572B2 (en) Developing cartridge having a guide projecting from a frame body
JP6111835B2 (ja) 画像形成装置
CN102591183B (zh) 调色剂容器及成像设备
KR100547129B1 (ko) 전자사진방식 인쇄기
JP4511583B2 (ja) トナー補給装置、画像形成装置およびカラー画像形成装置
EP2492756B1 (en) Developer cartridge, developing device and image forming apparatus
KR100864103B1 (ko) 화상 형성 장치
JP2008242165A (ja) 現像剤収納装置及び画像形成装置
US20180120763A1 (en) Image forming apparatus
EP3625626B1 (en) Developer container and image forming apparatus incorporating same
JP5169620B2 (ja) 異物回収容器の支持構造、異物回収容器、及び画像形成装置
JP5533085B2 (ja) 画像形成装置
JP2014112188A (ja) 画像形成装置
US9869967B2 (en) Image forming apparatus
JP5776183B2 (ja) 画像形成装置
JP5200458B2 (ja) 画像形成装置
JPH11272142A (ja) 画像形成装置
CN107111266B (zh) 粉末容器和成像装置
JP6186899B2 (ja) 画像形成装置
JPH04215668A (ja) 画像形成装置
CN115079538B (zh) 调色剂回收装置及具备调色剂回收装置的图像形成装置
JP6687896B2 (ja) 粉体容器および画像形成装置
JP5062493B2 (ja) 画像形成装置

Legal Events

Date Code Title Description
A621 Written request for application examination

Free format text: JAPANESE INTERMEDIATE CODE: A621

Effective date: 20110624

RD02 Notification of acceptance of power of attorney

Free format text: JAPANESE INTERMEDIATE CODE: A7422

Effective date: 20110708

A131 Notification of reasons for refusal

Free format text: JAPANESE INTERMEDIATE CODE: A131

Effective date: 20120710

A521 Request for written amendment filed

Free format text: JAPANESE INTERMEDIATE CODE: A523

Effective date: 20120903

TRDD Decision of grant or rejection written
A01 Written decision to grant a patent or to grant a registration (utility model)

Free format text: JAPANESE INTERMEDIATE CODE: A01

Effective date: 20121204

A61 First payment of annual fees (during grant procedure)

Free format text: JAPANESE INTERMEDIATE CODE: A61

Effective date: 20121217

R151 Written notification of patent or utility model registration

Ref document number: 5169620

Country of ref document: JP

Free format text: JAPANESE INTERMEDIATE CODE: R151

FPAY Renewal fee payment (event date is renewal date of database)

Free format text: PAYMENT UNTIL: 20160111

Year of fee payment: 3

LAPS Cancellation because of no payment of annual fees