JP2010048317A - 部材連結装置 - Google Patents

部材連結装置 Download PDF

Info

Publication number
JP2010048317A
JP2010048317A JP2008212379A JP2008212379A JP2010048317A JP 2010048317 A JP2010048317 A JP 2010048317A JP 2008212379 A JP2008212379 A JP 2008212379A JP 2008212379 A JP2008212379 A JP 2008212379A JP 2010048317 A JP2010048317 A JP 2010048317A
Authority
JP
Japan
Prior art keywords
clamping
shaped
sandwiching
members
pair
Prior art date
Legal status (The legal status is an assumption and is not a legal conclusion. Google has not performed a legal analysis and makes no representation as to the accuracy of the status listed.)
Granted
Application number
JP2008212379A
Other languages
English (en)
Other versions
JP4894022B2 (ja
Inventor
Satoru Mukai
悟 向井
Current Assignee (The listed assignees may be inaccurate. Google has not performed a legal analysis and makes no representation or warranty as to the accuracy of the list.)
Daifuku Co Ltd
Original Assignee
Daifuku Co Ltd
Priority date (The priority date is an assumption and is not a legal conclusion. Google has not performed a legal analysis and makes no representation as to the accuracy of the date listed.)
Filing date
Publication date
Application filed by Daifuku Co Ltd filed Critical Daifuku Co Ltd
Priority to JP2008212379A priority Critical patent/JP4894022B2/ja
Publication of JP2010048317A publication Critical patent/JP2010048317A/ja
Application granted granted Critical
Publication of JP4894022B2 publication Critical patent/JP4894022B2/ja
Expired - Fee Related legal-status Critical Current
Anticipated expiration legal-status Critical

Links

Images

Landscapes

  • Mutual Connection Of Rods And Tubes (AREA)

Abstract

【課題】各種ラックや台車、支持台、などの軽量枠組み構造物を、パイプ材などの棒状部材を使用して組み立てる際に活用できる部材連結装置を提供する。
【解決手段】正8角形又は正16角形の角柱状外側面を有する第一部材P1を挟持する第一挟持手段2は、一対の挟持部材4A,4Bと、締結用ボルトナット5と、固定具6A,6Bとを備え、各挟持部材4A,4Bの挟持部10には、記締結用ボルトナット5の軸方向に対して直角向きの中央挟持板部10aと、ハ形挟持板部10bと、平行側板部10cが設けられ、固定具6A,6Bは、各挟持部材4A,4Bの挟持部10間で第一部材P1を、その角柱状外側面と各挟持板部10a,10bとがほぼ平行に対面する状態で挟持させたとき、締結用ボルトナット5の軸方向と平行な第一部材P1の外側面に、両挟持部10の互いに隣接する平行側板部10c間を通る位置で取り付けられた構成。
【選択図】図1

Description

本発明は、各種ラックや台車、支持台、などの軽量枠組み構造物を、パイプ材などの棒状部材を使用して組み立てる際に活用できる部材連結装置に関するものである。
上記のような用途に活用される部材連結装置としては、特許文献を示すまでもなく、丸パイプ材どうし又は正四角形の角柱状外側面を有する角パイプ材どうしを連結するものが種々知られているが、本出願人は先に、これら従来周知の部材連結装置における問題点を解消することができる新しい部材連結装置を提案している。この本出願人が提案する新しい部材連結装置は、非特許文献1に記載のように、正8角形又は正16角形の角柱状外側面を有する棒状部材を利用するものである。即ち、この部材連結装置は、正8角形又は正16角形の角柱状外側面を有する第一部材を挟持する第一挟持手段と、前記第一部材と連結する第二部材を挟持する第二挟持手段とが連設され、第一挟持手段は、一対の挟持部材と、この一対の挟持部材を互いに締結する締結用ボルトナットとを備え、前記一対の挟持部材には、前記締結用ボルトナットの位置から離れた位置で第一部材を挟持する挟持部が設けられるものである。
特願2007−278391
上記の非特許文献1によって提案された部材連結装置は、第一部材が正8角形の角柱状外側面を有するパイプ材である場合を例にとって説明すると、図9に示すように、第一挟持手段を構成する一対の挟持部材2A,2Bにおける各挟持部5に、締結用ボルトナットの軸方向3aに対して直交する互いに平行な中央挟持板部8aと、この中央挟持板部8aの両側辺に連なるハ形挟持板部8b,8cと、両ハ形挟持板部8b,8cの両側辺に連なり且つ前記中央挟持板部8aに対し直角向きの平行側板部11が設けられるものである。而してこの部材連結装置では、両挟持部5間で前記第一部材P1を、その角柱状外側面と前記各挟持板部8a〜8cとがほぼ平行に対面する状態で挟持させて、両挟持部5を締結用ボルトナットでその軸方向3aに互いに締結したとき、図9Aに示すように、各挟持部5の中央挟持板部8aが第一部材P1側の対面する外側面に圧接する前に、各挟持部5のハ形挟持板部8b,8cが第一部材P1側の対面する外側面に適度の圧力で面接触するように構成すれば、最も強力且つ安定的に第一部材P1と第一挟持手段とを連結することができるのであるが、このような構成が採用されているときに、両挟持部5を締結用ボルトナットでその軸方向3aに互いに締結するときの締結力が強すぎると、図9Bに示すように、中央挟持板部8aが対面する第一部材P1側の外側面に圧接することになり、この過程でハ形挟持板部8b,8cが、中央挟持板部8aが対面する第一部材P1側の外側面の両肩部で外側へ押し広げられる。その結果、各挟持部5の中央挟持板部8aのみが第一部材P1側の外側面に圧接する状態で第一部材P1と第一挟持手段とが連結されることになり、第一部材P1が薄板で構成されたパイプ材である場合に当該第一部材P1が変形する恐れが考えられ、仮にこのような状況に至らなくとも、第一部材P1と第一挟持手段との連結力が低下し、連結状態が不安定になることが考えられる。
本発明は上記のような従来の問題点を解消し得る棒状部材に対する部材取付け構造を提供することを目的とするものであって、請求項1に記載の部材連結装置は、後述する実施形態の参照符号を付して示すと、正8角形又は正16角形の角柱状外側面を有する第一部材P1を挟持する第一挟持手段2と、前記第一部材P1と連結する第二部材P2を挟持する第二挟持手段3とが連設され、第一挟持手段2は、一対の挟持部材4A,4Bと、この一対の挟持部材4A,4Bを互いに締結する締結用ボルトナット5と、固定具6A,6Bとを備え、前記一対の挟持部材4A,4Bには、前記締結用ボルトナット5の位置から離れた位置で第一部材P1を挟持する挟持部10が設けられ、各挟持部10には、前記締結用ボルトナット5の軸方向に対して直角向きの中央挟持板部10aと、この中央挟持板部10aの両側辺に連なるハ形挟持板部10bと、両ハ形挟持板部10bに連なり且つ前記中央挟持板部10aに対し直角向きの平行側板部10cが設けられ、前記固定具6A,6Bは、一対の挟持部材4A,4Bの挟持部10間で第一部材P1を、その角柱状外側面と前記各挟持板部10a,10bとがほぼ平行に対面する状態で挟持させたとき、前記締結用ボルトナット5の軸方向と平行な第一部材P1の外側面に、両挟持部10の互いに隣接する前記平行側板部10c間を通る位置で取り付けられ、この固定具6A,6Bの頭部6a,6bによって両挟持部10の平行側板部10cが外側へ広がるのを阻止する構成となっている。
上記の本発明を実施する場合、請求項2に記載のように、前記一対の挟持部材4A,4Bの挟持部10における前記平行側板部10cの側辺10dには、前記固定具6A,6Bの軸部が嵌合する切り込み凹部11をそれぞれ設けておくことができる。
上記請求項1に記載の本発明に係る部材連結装置によれば、正8角形又は正16角形の角柱状外側面を有する第一部材と任意の第二部材とを、第一挟持手段で第一部材を挟持固定すると共に第二挟持手段で第二部材を挟持固定することにより、互いに連結することができる。而して、この第一挟持手段で正8角形又は正16角形の角柱状外側面を有する第一部材を挟持固定する場合、この第一挟持手段における一対の挟持部材の挟持部間で当該第一部材を、その角柱状外側面と両挟持部の各挟持板部とがほぼ平行に対面するように挟持させた状態で、前記一対の挟持部材を締結用ボルトナットにより互いに締結するとき、両挟持部のハ形挟持板部が第一部材側の対面する外側面に適度の圧力で面接触する段階を超えて更に強く締め付けても、各挟持部の中央挟持板部が対面する第一部材側の外側面に圧接する状態に至る過程で各挟持部(ハ形挟持板部)が外側へ押し広げられるのを、第一部材に取り付けられた固定具の頭部と各挟持部の互いに隣接する平行側板部との係合により阻止することができる。
換言すれば、各挟持部の中央挟持板部が対面する第一部材側の外側面に圧接するほどに一対の挟持部材を締結用ボルトナットによって過剰に締め付けてしまうのを、各挟持部自体の固定具に対する突っ張りで未然に防止することができるので、各挟持部のハ形挟持板部が第一部材側の対面する外側面に適度の圧力で面接触する段階までの適度な締め付け操作が容易に且つ確実に行えることになる。従って、仮に第一部材が薄板で構成されたパイプ材である場合でも、締結用ボルトナットの締めすぎにより当該第一部材が変形するのを未然に防止できる。又、各挟持部のハ形挟持板部が第一部材側の対面する外側面に適度の圧力で面接触する締結状態、即ち、各挟持部に対して第一部材が楔作用的に嵌まり込んで両側から面接触状態で挟み付けられる安定的で強力な締結状態を確実に得ることができるので、第一部材に対する第一挟持手段による挟持固定を確実良好におこなわせることができる。
尚、請求項2に記載の構成によれば、上記のように第一部材に第一挟持手段を挟持固定した状態では、第一部材と第一挟持手段の一対の挟持部材とが第一部材の軸方向に相対移動することが、第一部材に取り付けられた固定具の軸部と、一対の挟持部材の挟持部における平行側板部の側辺の切り込み凹部との係合により阻止される。換言すれば、第一挟持手段の締結用ボルトナットの締め付けが多少弱くとも、或いは第一挟持手段から第一部材を引き抜く方向に大きな外力が作用しても、第一部材と第一挟持手段とが第一部材の軸方向に位置ずれを起こしたり、第一挟持手段から第一部材が抜け出るような不都合が生じる恐れは確実に解消する。
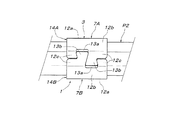
以下に本発明の具体的実施例を添付図に基づいて説明する。図1〜図7は、本発明の第一実施形態を示すものであって、この第一実施形態における部材連結装置1は、棒状第一部材P1と、この棒状第一部材P1の先端に対し直角向きにT字形に配置された棒状第二部材P2とを連結するものであって、互いに連設された第一挟持手段2と第二挟持手段3とから構成されている。第一挟持手段2は、棒状第一部材P1を挟持固定する一対の挟持部材4A,4Bと、1本の締結用ボルトナット5、及び2本の固定具6A,6Bによって構成され、第二挟持手段3は、棒状第二部材P2を挟持固定する一対の挟持部材7A,7Bで構成されている。この第二挟持手段3の一対の挟持部材7A,7Bは、第一挟持手段2の一対の挟持部材4A,4Bのそれぞれから一体に連設され、この一対の挟持部材7A,7Bを互いに締結するボルトナットは、第一挟持手段2の締結用ボルトナット5が兼用する構成となっている。この部材連結装置1で連結される棒状第一部材P1と棒状第二部材P2は、断面サイズが同一で横断面形状が正8角形の金属製パイプ材である。
第一挟持手段2の一対の挟持部材4A,4Bは互いに対称形のもので、それぞれ、締結用ボルトナット5が貫通するボルト挿通孔8(図4、図6、図7B参照)を備えた基部9と、この基部9から延出する挟持部10とから構成されている。各挟持部10には、ボルト挿通孔8に挿通された締結用ボルトナット5の軸方向に対して直角向きの中央挟持板部10aと、この中央挟持板部10aの両側辺に連なるハ形挟持板部10bと、両ハ形挟持板部10bの両側辺に連なり且つ中央挟持板部10aに対し直角向きの平行側板部10cが設けられている。これら各挟持部10の板部10a〜10cは、ボルト挿通孔8に挿通された締結用ボルトナット5の軸方向に対して直角向きに直線状に延出するもので、図5〜図7Aに示すように、各挟持部10の挟持部材4A,4Bの長さ方向と平行な各挟持部10の両側辺、即ち、両平行側板部10cの側辺10dには、それぞれ切り欠き凹部11が形成されている。
第二挟持手段3の一対の挟持部材7A,4Bは互いに対称形のもので、それぞれ、第一挟持手段2の一対の挟持部材4A,4Bの基部9から連設された挟持部12を備えている。各挟持部12には、第一挟持手段2のボルト挿通孔8に挿通された締結用ボルトナット5の軸方向に対して直角向きで且つ第一挟持手段2の一対の挟持部材4A,4Bの長さ方向に対して直角向きの中央挟持板部12aと、この中央挟持板部12aの両側辺に連なるハ形挟持板部12bと、両ハ形挟持板部12bの内、第一挟持手段2の一対の挟持部材4A,4Bの基部9から離れている側の挟持板部12bに連なり且つ中央挟持板部12aに対し直角向きの外側板部12cが設けられている。これら両挟持部12の外側板部12cには、図3に示すように、両挟持部12を向かい合わせに重ねたときに互いに係合し合うように、蟻溝形凹部13aと当該蟻溝形凹部13aに丁度嵌合する逆台形突起部13bとが並設されている。
上記構成の部材連結装置1は、第一挟持手段2の挟持部材4Aと第二挟持手段3の挟持部材7Aとを一体に形成する挟持体14A、第一挟持手段2の挟持部材4Bと第二挟持手段3の挟持部材7Bとを一体に形成する挟持体14B、1本の締結用ボルトナット5、及び2本の固定具6A,6Bから構成されていることになる。而して、各図を参照して明らかなように、挟持体14A,14Bは、平面視において長方形状のものであり、従って、第一挟持手段2の挟持部材4A,4Bの長さ方向に対して直角向きの第二挟持手段3の挟持部材7A,7Bの長さは、第一挟持手段2の挟持部材4A,4Bの幅と等しい。又、第一挟持手段2の挟持部材4A,4Bの基部9は、挟持部10と幅が等しいもので、当該挟持部10の平行側板部10cは基部9側へ延出して当該基部9の両側板部を形成すると共に、第二挟持手段3の挟持部材7A,7Bの挟持部12における外側板部12cと平行な内側辺12dを形成している。更に、前記基部9は、側面視において、第一挟持手段2の挟持部材4A,4B及び第二挟持手段3の挟持部材4A,4Bにおける挟持部10,12の中央挟持板部10a,12aより一段低くなるように形成されると共に、その幅方向の中央位置には、更に一段低くて前記ボルト挿通孔8を備えた凹溝部15が形成されている。従って、第一挟持手段2の挟持部10における中央挟持板部10aの内端には、この挟持部10内に差し込まれる棒状第一部材P1の先端を位置決めする段部10eが形成されることになる。
締結用ボルトナット5は、第一挟持手段2の一対の挟持部材4A,4Bにおける基部9の凹溝部15内に嵌合して回転し得る頭部5aを有するボルト5bと、当該凹溝部15内に相対回転不能に嵌合する六角ナット5cとから成るもので、挟持部材4Bの基部9の凹溝部15に六角ナット5cを嵌合させた状態で、挟持部材4Aの基部9のボルト挿通孔8から挟持部材4Bの基部9のボルト挿通孔8にボルト5bを挿通させ、当該ボルト5bを挟持部材4Bの基部9の凹溝部15に嵌合させた六角ナット5cに螺合させることにより、挟持体14A,14Bが互いに連結一体化することができる。
棒状第一部材P1と棒状第二部材P2とをT字形に連結する場合の使用方法の一例を説明すると、第二挟持手段3における一対の挟持部材7A,7Bを、その挟持部12の外側板部12cの蟻溝形凹部13aと逆台形突起部13bとを、図3に示すように互いに係合させた状態で、この第二挟持手段3の一対の挟持部材7A,7Bにおける挟持部12間で、棒状第二部材P2を挟持させる。このとき、当該挟持部12の各中央挟持板部12a及びハ形挟持板部12bを棒状第二部材P2における各外側面とほぼ平行に対面させる。この状態で第二挟持手段3の一対の挟持部材4A,4Bを、その基部9において締結用ボルトナット5により上記の要領で連結する。このとき締結用ボルトナット5は、第一挟持手段2の一対の挟持部材4A,4Bが互いに遠近方向に多少ガタつく程度に軽く締め付けておく。
次に第一挟持手段2の一対の挟持部材4A,4Bにおける挟持部10間に棒状第一部材P1の先端部を、当該挟持部10の各中央挟持板部10a及びハ形挟持板部10bが棒状第一部材P1における各外側面とほぼ平行に対面するように、差し込み、その先端を当該挟持部10と基部9との間の段部10eに当接させる。このとき、第一挟持手段2の一対の挟持部材4A,4Bにおける挟持部10の平行側板部10cは、その側辺10d間に棒状第一部材P1の軸方向と平行に隙間が形成される状態で隣接し、互いに隣接する平行側板部10cの側辺10dに形成された切り欠き凹部11が互いに隣接しているので、必要に応じて、この互いに隣接する切り欠き凹部11間において棒状第一部材P1の平行外側面それぞれに、固定具6A,6Bとして使用されるタッピングビスの下孔6b(図5参照)を穿設し、この下孔6bを利用するなどして固定具6A,6Bを、互いに隣接する切り欠き凹部11間において棒状第一部材P1の平行外側面それぞれにねじ込んで取り付け、当該固定具6A,6Bの頭部6a,6bを、両挟持部10の互いに隣接している平行側板部10c上に被せる。この状態で締結用ボルトナット5を締め付けて、第一挟持手段2の一対の挟持部材4A,4Bを互いに接近させ、挟持部10間で棒状第一部材P1を挟持固定する。このとき、第二挟持手段3の一対の挟持部材7A,7Bも同時に互いに接近して、その挟持部12が棒状第二部材P2を挟持固定することになる。尚、この締結用ボルトナット5の最終的な締め付け操作により、固定具6A,6Bの頭部6a,6bと、挟持部10の平行側板部10cとの間に隙間が生じたならば、当該隙間をなくすように固定具6A,6Bをねじ込んでおく。
以上の操作により、第一挟持手段2で挟持固定された棒状第一部材P1と第二挟持手段3で挟持固定された棒状第二部材P2とは、棒状第一部材P1の先端外側に棒状第二部材P2が直角向きに位置するT字形に連結されることになるが、第一挟持手段2の一対の挟持部材4A,4Bにおける挟持部10と棒状第一部材P1とは、図1C及び図9Aに示すように、各挟持部10のハ形挟持板部10bが、これらハ形挟持板部10bがほぼ平行に対面する棒状第一部材P1側の各外側面に面接触状態で圧接するが、各挟持部10の中央挟持板部10aは、この中央挟持板部10aがほぼ平行に対面する棒状第一部材P1側の外側面には当接せずに若干の隙間を隔てて対面する状態にある。換言すれば、このような状態で一対の挟持部材4A,4Bの挟持部10間で棒状第一部材P1を締結できるように、挟持部10の中央挟持板部10aの幅及びハ形挟持板部10bの傾斜角度が設定されているのである。
尚、第二挟持手段3の一対の挟持部材7A,7Bにおける挟持部12も、第一挟持手段2の一対の挟持部材4A,4Bにおける挟持部10と同様に形成されており、棒状第一部材P1と同一形状同一サイズの棒状第二部材P2は、図4に示すように、第一挟持手段2で挟持固定される棒状第一部材P1と同じ条件で第二挟持手段3により挟持固定されることになる。
仮に誤って、締結用ボルトナット5を強く締めすぎて、図9Bに示すように挟持部10の中央挟持板部10aが、この中央挟持板部10aがほぼ平行に対面する棒状第一部材P1側の外側面に当接するほどに、両挟持部10が互いに接近したときは、ハ形挟持板部10bが、中央挟持板部10aが対面する第一部材P1側の外側面の両肩部で外側へ押し広げられることが予想されるが、この挟持部10が開くように変形することは、当該挟持部10の両側辺、即ち、平行側板部10cが棒状第一部材P1から離れる方向に変形するのを阻止している固定具6A,6Bの頭部6a,6bで防止される。換言すれば、図9Bに示すように挟持部10の中央挟持板部10aが、この中央挟持板部10aがほぼ平行に対面する棒状第一部材P1側の外側面に当接するほどに締結用ボルトナット5を強く締めすぎることは、固定具6A,6Bに対する挟持部10の突っ張りによって未然に防止されるのである。
又、第一挟持手段2の一対の挟持部材4A,4Bにおける挟持部10と棒状第一部材P1との軸方向の相対移動は、棒状第一部材P1側の取り付けられた固定具6A,6Bと挟持部10側の切り欠き凹部11との係合により阻止されているので、当該挟持部10と棒状第一部材P1との間の摩擦力に抗して、棒状第一部材P1を挟持部10間から引き抜く方向に大きな外力が作用しても、挟持部10に対して棒状第一部材P1が軸方向に位置ずれを起こしたり、挟持部10から棒状第一部材P1が抜け出るような不都合は生じない。
尚、タッピングビス利用の固定具6A,6Bを棒状第一部材P1に取り付けるために、棒状第一部材P1に先に下孔6bを穿設しておく場合、その下孔6bの位置は、棒状第一部材P1を第一挟持手段2の一対の挟持部材4A,4Bにおける挟持部10内に所定深さ差し込んだときに当該挟持部10の両側辺が有する切り欠き凹部11の位置と一致させる必要があるが、固定具6A,6Bと挟持部10側の切り欠き凹部11との係合による上記作用効果を放棄するならば、図8に示すように、切り欠き凹部11を設けないで、両挟持部10の両側辺間、即ち、平行側板部10cの側辺10d間に、固定具6A,6Bの軸部の径より広いが当該固定具6A,6Bの頭部6a,6bの径より狭い間隙を確保できるように構成すれば良い。この場合は、両挟持部10の両側辺間、即ち、平行側板部10cの側辺10d間の任意の位置に固定具6A,6Bを取り付けるための下孔6bを設けることができ、当該下孔6bを設けるための作業が容易になる。勿論、下孔6bに代えてネジ孔を設け、固定具6A,6Bとして通常のビスを使用することもできる。
本発明の部材連結装置は、正8角形又は正16角形の角柱状外側面を有する第一部材を挟持する第一挟持手段と、前記第一部材と連結する第二部材を挟持する第二挟持手段とが連設されたものであれば、上記実施形態に示した部材連結装置1、即ち、棒状第一部材P1と棒状第二部材P2とをT字形に連結する部材連結装置1に限定されるものではない。例えば、非特許文献1に記載されたような各種の部材連結装置に本発明を適用することができる。又、正8角形又は正16角形の角柱状外側面を有する第一部材を挟持する第一挟持手段と、前記第一部材と連結する第二部材を挟持する第二挟持手段とが連設された部材連結装置において、本発明は、正8角形又は正16角形の角柱状外側面を有する第一部材を挟持する第一挟持手段の構成に係るものであり、第二部材の断面形状やこの第二部材を挟持する第二挟持手段の構成はいかなるものであっても良い。勿論、第一挟持手段と第二挟持手段とが一体に連設されている必要はなく、第一挟持手段と第二挟持手段とが相対揺動自在に連結されたものであっても良い。
本発明の部材連結装置における第一挟持手段2が挟持固定する棒状第一部材が、図10に示すように正16角形の角柱状外側面を有する棒状第一部材P3である場合、第一挟持手段2の一対の挟持部材4A,4Bにおける各挟持部10に、図10Aに示すように、中央挟持板部10aとその両側のハ形挟持板部10bとの中間位置と、両ハ形挟持板部10bと平行側板部10cとの中間位置とに、中間傾斜板部10f,10gを追加して、棒状第一部材P3の全ての外側面に対しほぼ平行に対面する板部を各挟持部10に設けることができるが、図10Bに示すように、中央挟持板部10aとその両側のハ形挟持板部10bの周方向の幅を広くして、上記中間傾斜板部10f,10gを省いても良い。
A図は本発明の一実施形態を示す正面図、B図は同一部切り欠き底面図、C図はA図のX−X線断面図である。 図1Aの拡大左側面図である。 図1Aの拡大右側面図である。 図1Aの拡大縦断正面図である。 図1Aの分解正面図である。 片側の挟持体を示す平面図である。 A図は図6のY−Y線断面図、B図は図6のZ−Z線断面図である。 変形例を示す一部切り欠き正面図である。 A図は第一挟持手段での正常な締結状態を説明する端面図であり、B図は第一挟持手段での異常な締結状態を説明する端面図である。 A図及びB図は第一挟持手段の別の変形例を説明する端面図である。
符号の説明
P1〜P5 横断面正8角形の棒状部材
P6 丸パイプ材
1 部材連結装置
2 第一挟持手段
3 第二挟持手段
4A,4B 第一挟持手段の挟持部材
5 締結用ボルトナット
6A,6B 固定具
7A,7B 第二挟持手段の挟持部材
8 ボルト挿通孔
9 基部
10,12 挟持部
10a,12a 中央挟持板部
10b,12b ハ形挟持板部
10c 平行側板部
10e 段部
10f,10g 中間傾斜板部
11 切り欠き凹部
12c 外側板部
13a 蟻溝形凹部
13b 逆台形突起部
14A,14B 挟持体
15 凹溝部
P1,P3 棒状第一部材
P2 棒状第二部材

Claims (2)

  1. 正8角形又は正16角形の角柱状外側面を有する第一部材を挟持する第一挟持手段と、前記第一部材と連結する第二部材を挟持する第二挟持手段とが連設され、第一挟持手段は、一対の挟持部材と、この一対の挟持部材を互いに締結する締結用ボルトナットと、固定具とを備え、前記一対の挟持部材には、前記締結用ボルトナットの位置から離れた位置で第一部材を挟持する挟持部が設けられ、各挟持部には、前記締結用ボルトナットの軸方向に対して直角向きの中央挟持板部と、この中央挟持板部の両側辺に連なるハ形挟持板部と、両ハ形挟持板部に連なり且つ前記中央挟持板部に対し直角向きの平行側板部が設けられ、前記固定具は、一対の挟持部材の挟持部間で第一部材を、その角柱状外側面と前記各挟持板部とがほぼ平行に対面する状態で挟持させたとき、前記締結用ボルトナットの軸方向と平行な第一部材の両外側面に、両挟持部の互いに隣接する前記平行側板部間を通る位置で取り付けられ、この固定具の頭部によって両挟持部の前記平行側板部が外側へ広がるのを阻止している、部材連結装置。
  2. 前記一対の挟持部材の挟持部における前記平行側板部の側辺には、前記固定具の軸部が嵌合する切り込み凹部がそれぞれ設けられている、請求項1に記載の部材連結装置。
JP2008212379A 2008-08-21 2008-08-21 部材連結装置 Expired - Fee Related JP4894022B2 (ja)

Priority Applications (1)

Application Number Priority Date Filing Date Title
JP2008212379A JP4894022B2 (ja) 2008-08-21 2008-08-21 部材連結装置

Applications Claiming Priority (1)

Application Number Priority Date Filing Date Title
JP2008212379A JP4894022B2 (ja) 2008-08-21 2008-08-21 部材連結装置

Publications (2)

Publication Number Publication Date
JP2010048317A true JP2010048317A (ja) 2010-03-04
JP4894022B2 JP4894022B2 (ja) 2012-03-07

Family

ID=42065570

Family Applications (1)

Application Number Title Priority Date Filing Date
JP2008212379A Expired - Fee Related JP4894022B2 (ja) 2008-08-21 2008-08-21 部材連結装置

Country Status (1)

Country Link
JP (1) JP4894022B2 (ja)

Citations (4)

* Cited by examiner, † Cited by third party
Publication number Priority date Publication date Assignee Title
JPS61167756A (ja) * 1985-01-19 1986-07-29 Toyota Motor Corp 変速機の制御装置
JPH08159119A (ja) * 1994-12-07 1996-06-18 N I Shi Auto Tec Kk 連結材
JP2000046019A (ja) * 1998-07-24 2000-02-15 Yoshino Kosakusho:Kk 割り型継手
JP2004169775A (ja) * 2002-11-19 2004-06-17 Yazaki Ind Chem Co Ltd 継手とパイプの結合構造

Patent Citations (4)

* Cited by examiner, † Cited by third party
Publication number Priority date Publication date Assignee Title
JPS61167756A (ja) * 1985-01-19 1986-07-29 Toyota Motor Corp 変速機の制御装置
JPH08159119A (ja) * 1994-12-07 1996-06-18 N I Shi Auto Tec Kk 連結材
JP2000046019A (ja) * 1998-07-24 2000-02-15 Yoshino Kosakusho:Kk 割り型継手
JP2004169775A (ja) * 2002-11-19 2004-06-17 Yazaki Ind Chem Co Ltd 継手とパイプの結合構造

Also Published As

Publication number Publication date
JP4894022B2 (ja) 2012-03-07

Similar Documents

Publication Publication Date Title
US7464905B2 (en) Tubular material fixation device
JP2009299885A (ja) 弛み防止ボルト
US20130243543A1 (en) Connector
JP2014051818A (ja) ブレース取付具
JP5411593B2 (ja) ワイヤー張設具
JP4894022B2 (ja) 部材連結装置
JP6313737B2 (ja) ブレース連結金具
KR20100011234U (ko) 칸막이용 프레임의 연결장치
JP6778953B2 (ja) プロファイル用コネクタ
JP2005090681A (ja) クリップ
US20100294087A1 (en) Tool sleeve clamping structure
BR0305919A (pt) Uma porca, um prendedor provido de uma porca e um dispositivo para fixação para o mesmo
JP5248817B2 (ja) 鉄筋とセパレータの接合金具
JP3138891U (ja) スチールワイヤロープ用挟持具
JP4687040B2 (ja) コンクリート部材のための接続装置
JP4954845B2 (ja) 手工具用ホルダー
KR200462117Y1 (ko) 원형관 체결용 너트 고정구
JP3156294U (ja) シートクリップ装置
JP2006183674A (ja) 長手方向締結具、長手方向締結組立体およびその締結方法
JP7472161B2 (ja) 索体引留金具、くさび着脱治具、及び、引抜治具
JPH10219848A (ja) エクスパンションボルト
JP2909404B2 (ja) 配管類用締付け固定具
KR200401730Y1 (ko) 너트와 너트 홀더의 구조
US20080247840A1 (en) Fastener and Fastener Tightening/Loosening Device
JP7173263B1 (ja) ナットの取り外し方法及びナットの取り付け方法

Legal Events

Date Code Title Description
A621 Written request for application examination

Free format text: JAPANESE INTERMEDIATE CODE: A621

Effective date: 20101222

A977 Report on retrieval

Free format text: JAPANESE INTERMEDIATE CODE: A971007

Effective date: 20111031

TRDD Decision of grant or rejection written
A01 Written decision to grant a patent or to grant a registration (utility model)

Free format text: JAPANESE INTERMEDIATE CODE: A01

Effective date: 20111125

A01 Written decision to grant a patent or to grant a registration (utility model)

Free format text: JAPANESE INTERMEDIATE CODE: A01

A61 First payment of annual fees (during grant procedure)

Free format text: JAPANESE INTERMEDIATE CODE: A61

Effective date: 20111208

R150 Certificate of patent or registration of utility model

Ref document number: 4894022

Country of ref document: JP

Free format text: JAPANESE INTERMEDIATE CODE: R150

Free format text: JAPANESE INTERMEDIATE CODE: R150

FPAY Renewal fee payment (event date is renewal date of database)

Free format text: PAYMENT UNTIL: 20150106

Year of fee payment: 3

R250 Receipt of annual fees

Free format text: JAPANESE INTERMEDIATE CODE: R250

R250 Receipt of annual fees

Free format text: JAPANESE INTERMEDIATE CODE: R250

R250 Receipt of annual fees

Free format text: JAPANESE INTERMEDIATE CODE: R250

R250 Receipt of annual fees

Free format text: JAPANESE INTERMEDIATE CODE: R250

R250 Receipt of annual fees

Free format text: JAPANESE INTERMEDIATE CODE: R250

LAPS Cancellation because of no payment of annual fees