JP2010048048A - 気密材 - Google Patents

気密材 Download PDF

Info

Publication number
JP2010048048A
JP2010048048A JP2008215349A JP2008215349A JP2010048048A JP 2010048048 A JP2010048048 A JP 2010048048A JP 2008215349 A JP2008215349 A JP 2008215349A JP 2008215349 A JP2008215349 A JP 2008215349A JP 2010048048 A JP2010048048 A JP 2010048048A
Authority
JP
Japan
Prior art keywords
elastic packing
moisture
proof sheet
airtight material
foundation
Prior art date
Legal status (The legal status is an assumption and is not a legal conclusion. Google has not performed a legal analysis and makes no representation as to the accuracy of the status listed.)
Granted
Application number
JP2008215349A
Other languages
English (en)
Other versions
JP5173675B2 (ja
Inventor
Hiroshi Hayashi
容 林
Current Assignee (The listed assignees may be inaccurate. Google has not performed a legal analysis and makes no representation or warranty as to the accuracy of the list.)
Japan Energy Saving Housing Co Ltd
Original Assignee
Japan Energy Saving Housing Co Ltd
Priority date (The priority date is an assumption and is not a legal conclusion. Google has not performed a legal analysis and makes no representation as to the accuracy of the date listed.)
Filing date
Publication date
Application filed by Japan Energy Saving Housing Co Ltd filed Critical Japan Energy Saving Housing Co Ltd
Priority to JP2008215349A priority Critical patent/JP5173675B2/ja
Publication of JP2010048048A publication Critical patent/JP2010048048A/ja
Application granted granted Critical
Publication of JP5173675B2 publication Critical patent/JP5173675B2/ja
Active legal-status Critical Current
Anticipated expiration legal-status Critical

Links

Images

Landscapes

  • Building Environments (AREA)

Abstract

【課題】基礎と土台間に配置されてその部分の十分な気密シールを達成し、しかも、基礎コーナー部への敷き込み作業並びに基礎外周部における接合作業を簡易迅速に行うことが可能な気密材を提供することを課題とする。
【解決手段】テープ状の防湿シート2の一端から他端にかけて、棒状又は管状の弾性パッキン材3、4を複数本並走させて成り、各弾性パッキン材3、4の両端部は、防湿シート2の端部から適宜長さ分、防湿シート2に固定されずに可動状態にされている。コーナー部に用いるものの場合、防湿シート2は直角形状にされ、弾性パッキン材3、4は直角形状又は円弧状にされる。
【選択図】図1

Description

本発明は気密材、より詳細には、住宅の基礎と土台との間に配装されてその部分の気密性を保持する作用を果たす、施工性に優れた気密材に関するものである。
近年住宅の建築手法において省エネ効果、温熱環境及び空気環境の向上を目的として高気密高断熱が行なわれるケースが増えてきている。この手法においては、住宅の床・壁・天井(いわゆる住宅の外皮部)の気密・断熱化を図ることとなる。
この高気密高断熱の手法において、床(最下階床)部の気密・断熱化を図る代わりに基礎部を断熱する手法が増えてきており、これを基礎断熱工法と呼んでいる(これに対して床部を断熱する場合は、床断熱工法と呼ばれている。)。基礎断熱工法のメリットとしては、気密施工が床断熱工法よりも簡易であること、1階床下部に配管される水道配管などの各種設備のメンテナンスがし易くなる等の点を挙げることができる。
この基礎断熱工法の場合は、基礎と土台間の気密性を如何にして保つかが問題となるが、この問題を解決する目的で、本願出願人は、透湿性と防水性とを併せ有する適宜サイズのシートの端部に、複数本の棒状又は管状の弾性パッキン材を並走させたことを特徴とする気密材を提唱した(特開2006−118305号公報)。
この気密材は、その弾性パッキン材設置部分を基礎と土台の間に挟み入れることにより、弾性パッキン材が潰れてその部分が確実に気密シールされ、また、シート部分が立上げられ、気密防湿シートと連続性を持って断熱材に定着されることにより、気密防湿シートと相俟って、土台から断熱材に至る部分の構成部材間における気密シールを達成するという作用効果を奏するものである。
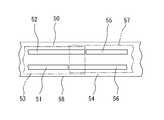
この気密材は、このような優れた効果を奏するものであるが、それをコーナー部に用いる際における作業性や接合時における作業性について十分に配慮がなされているとは言えず、その作業に手間がかかっていた。即ち、それをコーナー部に用いる場合は、一方の気密材50の一方の側の弾性パッキン材51先端部を、他方の気密材54の弾性パッキン材55、56間の間隔に対応する長さ分シート53から剥離して切除する(図5参照)。
そして先ず、一方の気密材50を、シート53を上側にし且つ先端部を切除した弾性パッキン材51を内側にして、アンカーボルト59を貫通させて、基礎58のコーナーに設置する。次いで、他方の気密材54を、その先端部を気密材50のシート53の下にもぐらせ、その弾性パッキン材55、56の先端が気密材50の弾性パッキン材52に当たるようにして敷き込む。
また、基礎外周の直線部分において気密材50、54同士を接合する場合は、一方の気密材50の一方の側の弾性パッキン材51の先端部を、適宜長さシート53から剥離して切除する。また、他方の気密材54の上記先端部を切除したものとは反対側の弾性パッキン材52に突合する弾性パッキン材55の先端部を、弾性パッキン材51の切除分と同じ長さ分シート57から剥離して切除し、同時に他方の弾性パッキン材56の先端部を、上記と同じ長さ分シート57から剥離する(図6参照)。
そして、先ず気密材50を基礎58上に敷き込み、次いで、気密材54を、そのシート57から剥離した弾性パッキン材56の先端部を気密材50のシート53の下にもぐらせ、シート57をシート53の上に重ねるようにして配置する(図6、7参照)。
特開平8−319676号公報 特開平8−319677号公報 特開2006−118305号公報
上述したように、従来の気密材の場合は、基礎と土台間の気密シールに優れた効果を発揮するものの、基礎コーナー部への敷き込み作業、並びに、基礎外周部における接合作業に多くの手間を要するという問題があった。
本発明は、このような従来の気密材における問題点に鑑みてなされたもので、基礎と土台間に配置されてその部分の十分な気密シールを達成し、しかも、基礎コーナー部への敷き込み作業並びに基礎外周部における接合作業を簡易迅速に行うことが可能な気密材を提供することを課題とする。
上記課題を解決するための請求項1に記載の発明は、テープ状の防湿シートの一端から他端にかけて、棒状又は管状の弾性パッキン材を複数本並走させて成り、前記各弾性パッキン材の両端部は、前記防湿シートの端部から適宜長さ分、前記防湿シートに固定されずに可動状態にされていることを特徴とする気密材である。
コーナー部に用いるものの場合、前記防湿シートは直角形状にされ、前記弾性パッキン材は直角形状又は円弧状にされる。通例、前記弾性パッキン材は2本配置され、また、前記弾性パッキン材は断面が中空の円形又は楕円形であって、前記防湿シートに対する十分な接着面積を確保するための着座部を備えたものとされる。
本発明は上記のとおり、テープ状の防湿シートの一端から他端にかけて、棒状又は管状の弾性パッキン材を複数本並走させて成るので、基礎と土台間に配置されることによりその部分の十分な気密シールを達成することができ、また、前記各弾性パッキン材の両端部は、前記防湿シートの端部から適宜長さ分前記防湿シートに固定されていないため、基礎コーナー部への敷き込み作業並びに基礎外周部における接合作業に際し、弾性パッキン材の端部を防湿シートから剥離して切除する手間が省け、以て、これらの作業を簡易迅速に行うことを可能にする効果がある。
本発明を実施するための最良の形態につき、図面に依拠して説明する。図1は、本発明に係る気密材1の一実施形態の平面図であり、気密材1は、テープ状の防湿シート2の一端から他端にかけて、棒状又は管状の弾性パッキン材3、4を複数本(通例2本)並走させて成る。図1に示す気密材1は、基礎20のコーナー部に用いることを予定したものであって、防湿シート2及び弾性パッキン材3、4は、それぞれ直角形状に形成されている(弾性パッキン材3、4は円弧状にすることもできる。)。基礎20の外周直線部分等に用いる場合の気密材1は、防湿シート2及び弾性パッキン材3、4共に直線状にされる。
本発明に係る気密材1は、各弾性パッキン材3、4の両端部が、防湿シート2の端部から適宜長さ分、防湿シート2に接着固定されずに離されることで、非接着部6が形成されることを特徴とするものである(図1において斜線を付した部分が接着されている部分を示している。)。一例としてこの非接着部6は、防湿シート2の端部から100mmの長さとされる。
通例、弾性パッキン材3、4の断面は円形又は楕円形にされ、好ましくは、防湿シート2に対する十分な接着面積を確保するために、底面が平坦な面状の着座部5が設けられる(図2、3参照)。
次に、本発明に係る気密材1の施工方法について説明する。図示したコーナー部用の気密材1の場合は、防湿シート2を上にして基礎20のコーナー部上に載置し、その両端に直線状の気密材7を接合する(図4参照)。図示してないが、アンカーボルトがある場合はそれを防湿シート2に貫通させる。気密材7は、テープ状の防湿シート8の一端から他端にかけて、棒状又は管状の弾性パッキン材9、10を複数本(通例2本)並走させて成るものであるが、気密材1と同様に、弾性パッキン材9、10の両端に非接着部6を設けたものであってもよいし、非接着部6を設けることなく、全長に亘って防湿シート8に接着したものであってもよい。
この気密材7の接合に当たっては、気密材1の非接着部6部分の防湿シート2を捲り上げ、基礎20上に非接着部6部分の弾性パッキン材3、4を残した状態で、気密材7の端部を気密材1の端部にオーバーラップさせる。従って、気密材7の防湿シート8が気密材1の防湿シート2の下側にくることになる。また、その際、気密材1の弾性パッキン材3、4と気密材7の弾性パッキン材9、10とが重なり合うので、可動状態にある非接着部6の弾性パッキン材3、4の端部を内側に寄せて弾性パッキン材9、10間に収め(図4の上方オーバーラップ部参照)、あるいは、一方を内側にし、他方を外側に移動(図4の下方オーバーラップ部参照)させたりすることで、弾性パッキン材同士の重なり合いを回避することができる。そして、弾性パッキン材3、4の端部は、上記のように移動させた後離すと、その復元力で弾性パッキン材9、10に密着するので、隙間ができない。
基礎20外周部の直線部における、気密材1同士、あるいは、気密材1と気密材7との接合も上記と同様にして行い、また、その後の土台の設置等の工程は、従来の気密施工の場合と同じである。
この発明をある程度詳細にその最も好ましい実施形態について説明してきたが、この発明の精神と範囲に反することなしに広範に異なる実施形態を構成することができることは明白なので、この発明は添付請求の範囲において限定した以外はその特定の実施形態に制約されるものではない。
本発明に係る気密材の一実施形態の平面図である。 図1におけるA−A線断面図である。 図1におけるB−B線断面図である。 本発明に係る気密材の施工方法を示す図である。 従来の気密材の構成及び施工方法を示す斜視図である。 従来の気密材の構成及び他の施工方法を示す斜視図である。 従来の気密材の構成及び他の施工方法を示す平面図である。
符号の説明
1 気密材
2 防湿シート
3 弾性パッキン材
4 弾性パッキン材
5 着座部
6 非接着部
7 気密材
8 防湿シート
9 弾性パッキン材
10 弾性パッキン材
20 基礎

Claims (5)

  1. テープ状の防湿シートの一端から他端にかけて、棒状又は管状の弾性パッキン材を複数本並走させて成り、前記各弾性パッキン材の両端部は、前記防湿シートの端部から適宜長さ分、前記防湿シートに固定されずに可動状態にされていることを特徴とする気密材。
  2. 前記防湿シートは直角形状である、請求項1に記載の気密材。
  3. 前記弾性パッキン材は直角形状又は円弧形状である、請求項2に記載の気密材。
  4. 前記弾性パッキン材は2本配置されている、請求項1乃至3のいずれかに記載の気密材。
  5. 前記弾性パッキン材は断面が円形又は楕円形であって、前記防湿シートに対する十分な接着面積を確保するための着座部を備えている、請求項1乃至4のいずれかに記載の気密材。
JP2008215349A 2008-08-25 2008-08-25 気密材 Active JP5173675B2 (ja)

Priority Applications (1)

Application Number Priority Date Filing Date Title
JP2008215349A JP5173675B2 (ja) 2008-08-25 2008-08-25 気密材

Applications Claiming Priority (1)

Application Number Priority Date Filing Date Title
JP2008215349A JP5173675B2 (ja) 2008-08-25 2008-08-25 気密材

Publications (2)

Publication Number Publication Date
JP2010048048A true JP2010048048A (ja) 2010-03-04
JP5173675B2 JP5173675B2 (ja) 2013-04-03

Family

ID=42065334

Family Applications (1)

Application Number Title Priority Date Filing Date
JP2008215349A Active JP5173675B2 (ja) 2008-08-25 2008-08-25 気密材

Country Status (1)

Country Link
JP (1) JP5173675B2 (ja)

Cited By (1)

* Cited by examiner, † Cited by third party
Publication number Priority date Publication date Assignee Title
JP2019152029A (ja) * 2018-03-02 2019-09-12 ダイナガ株式会社 木製建物用パッキン装置及びこれを使用した木製建物の施工方法

Citations (5)

* Cited by examiner, † Cited by third party
Publication number Priority date Publication date Assignee Title
JPS58177411U (ja) * 1982-05-21 1983-11-28 小島 庸行 土台耐湿シ−ト
JP2004190240A (ja) * 2002-12-09 2004-07-08 Joto Techno Co Ltd 基礎気密スペーサ
JP2006118305A (ja) * 2004-10-25 2006-05-11 Nippon Jukankyo Kk 気密材及びその施工方法
JP2006274586A (ja) * 2005-03-28 2006-10-12 Joto Techno Co Ltd 気密スペーサ、該気密スペーサの製造方法及び該気密スペーサを用いた建造物の施工方法
JP2008038572A (ja) * 2006-08-03 2008-02-21 Masayasu Miyazaki 基礎パッキン

Patent Citations (5)

* Cited by examiner, † Cited by third party
Publication number Priority date Publication date Assignee Title
JPS58177411U (ja) * 1982-05-21 1983-11-28 小島 庸行 土台耐湿シ−ト
JP2004190240A (ja) * 2002-12-09 2004-07-08 Joto Techno Co Ltd 基礎気密スペーサ
JP2006118305A (ja) * 2004-10-25 2006-05-11 Nippon Jukankyo Kk 気密材及びその施工方法
JP2006274586A (ja) * 2005-03-28 2006-10-12 Joto Techno Co Ltd 気密スペーサ、該気密スペーサの製造方法及び該気密スペーサを用いた建造物の施工方法
JP2008038572A (ja) * 2006-08-03 2008-02-21 Masayasu Miyazaki 基礎パッキン

Cited By (2)

* Cited by examiner, † Cited by third party
Publication number Priority date Publication date Assignee Title
JP2019152029A (ja) * 2018-03-02 2019-09-12 ダイナガ株式会社 木製建物用パッキン装置及びこれを使用した木製建物の施工方法
JP7125070B2 (ja) 2018-03-02 2022-08-24 ダイナガ株式会社 木製建物用パッキン装置

Also Published As

Publication number Publication date
JP5173675B2 (ja) 2013-04-03

Similar Documents

Publication Publication Date Title
CN107667469B (zh) 用于光伏系统的电连接装置
CA2371606A1 (en) Pre-cut fibrous insulation for custom fitting wall cavities of different widths
CA2371456A1 (en) Pre-cut fibrous insulation for custom fitting wall cavities of different widths
JP5173675B2 (ja) 気密材
AU2012288406B2 (en) Vacuum insulation panel
JP2008050814A (ja) 建物の外壁構造および外壁パネル
JP2018523765A (ja) 太陽光発電システム用電気接続装置
JP6190458B2 (ja) 防湿層を確保した壁システム
JP2010007405A (ja) 断熱壁とそれを適用した建物および住宅
JP5239389B2 (ja) 断熱壁とそれを適用した住宅
JP3199572B2 (ja) 建物の断熱パネル
JP4133998B2 (ja) 気密材及びその施工方法
JP5217924B2 (ja) 断熱壁および断熱壁に用いられる真空断熱材
JP3188144U (ja) ダクト用断熱材
JP3151889U (ja) 温室組立用フイルム固定具
JP3223995B2 (ja) 建物の気密・断熱化工法
JP6422687B2 (ja) 断熱気密外壁構造
JP2012012767A (ja) 床下断熱構造
KR200210950Y1 (ko) 단열재 연결부재
JP2004076353A (ja) 断熱気密構造
AU2024227497A1 (en) Inner-wall panel and inner-wall thermal insulation structure using the inner-wall panel technical field
JP2013194422A (ja) 基礎断熱構造
JP2001090269A (ja) 陸屋根構造
JP2007077686A (ja) 外壁貫通部の防湿構造及び同防湿用スリーブ
JP4160686B2 (ja) 建物の気密施工方法

Legal Events

Date Code Title Description
A621 Written request for application examination

Free format text: JAPANESE INTERMEDIATE CODE: A621

Effective date: 20110704

A977 Report on retrieval

Free format text: JAPANESE INTERMEDIATE CODE: A971007

Effective date: 20121220

TRDD Decision of grant or rejection written
A01 Written decision to grant a patent or to grant a registration (utility model)

Free format text: JAPANESE INTERMEDIATE CODE: A01

Effective date: 20121225

A61 First payment of annual fees (during grant procedure)

Free format text: JAPANESE INTERMEDIATE CODE: A61

Effective date: 20121227

R150 Certificate of patent or registration of utility model

Ref document number: 5173675

Country of ref document: JP

Free format text: JAPANESE INTERMEDIATE CODE: R150

R250 Receipt of annual fees

Free format text: JAPANESE INTERMEDIATE CODE: R250

R250 Receipt of annual fees

Free format text: JAPANESE INTERMEDIATE CODE: R250

R250 Receipt of annual fees

Free format text: JAPANESE INTERMEDIATE CODE: R250

R250 Receipt of annual fees

Free format text: JAPANESE INTERMEDIATE CODE: R250

R250 Receipt of annual fees

Free format text: JAPANESE INTERMEDIATE CODE: R250

R250 Receipt of annual fees

Free format text: JAPANESE INTERMEDIATE CODE: R250

R250 Receipt of annual fees

Free format text: JAPANESE INTERMEDIATE CODE: R250

R250 Receipt of annual fees

Free format text: JAPANESE INTERMEDIATE CODE: R250

S531 Written request for registration of change of domicile

Free format text: JAPANESE INTERMEDIATE CODE: R313531

R350 Written notification of registration of transfer

Free format text: JAPANESE INTERMEDIATE CODE: R350

R250 Receipt of annual fees

Free format text: JAPANESE INTERMEDIATE CODE: R250

R250 Receipt of annual fees

Free format text: JAPANESE INTERMEDIATE CODE: R250

R250 Receipt of annual fees

Free format text: JAPANESE INTERMEDIATE CODE: R250