JP2010047827A - 処理装置及びこれを用いた成膜装置 - Google Patents

処理装置及びこれを用いた成膜装置 Download PDF

Info

Publication number
JP2010047827A
JP2010047827A JP2008215994A JP2008215994A JP2010047827A JP 2010047827 A JP2010047827 A JP 2010047827A JP 2008215994 A JP2008215994 A JP 2008215994A JP 2008215994 A JP2008215994 A JP 2008215994A JP 2010047827 A JP2010047827 A JP 2010047827A
Authority
JP
Japan
Prior art keywords
substrate
chamber
cooling
processing apparatus
air
Prior art date
Legal status (The legal status is an assumption and is not a legal conclusion. Google has not performed a legal analysis and makes no representation as to the accuracy of the status listed.)
Granted
Application number
JP2008215994A
Other languages
English (en)
Other versions
JP5158959B2 (ja
Inventor
Yusuke Mizuno
雄介 水野
Atsushi Ota
淳 太田
Shunichi Imamura
俊一 今村
Hisahiro Terasawa
寿浩 寺澤
Binsei Jo
旻生 徐
Yuji Sumisawa
裕治 住沢
Hi Katsu
飛 葛
Ikuo Sasaki
幾生 佐々木
Takayuki Fujii
隆幸 藤井
Current Assignee (The listed assignees may be inaccurate. Google has not performed a legal analysis and makes no representation or warranty as to the accuracy of the list.)
Ulvac Inc
Original Assignee
Ulvac Inc
Priority date (The priority date is an assumption and is not a legal conclusion. Google has not performed a legal analysis and makes no representation as to the accuracy of the date listed.)
Filing date
Publication date
Application filed by Ulvac Inc filed Critical Ulvac Inc
Priority to JP2008215994A priority Critical patent/JP5158959B2/ja
Publication of JP2010047827A publication Critical patent/JP2010047827A/ja
Application granted granted Critical
Publication of JP5158959B2 publication Critical patent/JP5158959B2/ja
Expired - Fee Related legal-status Critical Current
Anticipated expiration legal-status Critical

Links

Images

Landscapes

  • Chemical Vapour Deposition (AREA)

Abstract

【課題】 簡易な構成により基板割れを防止して基板を冷却することができる処理装置及びこれを用いた成膜装置を提供する。
【解決手段】処理装置である冷却室15は、チャンバと、基板を搬送する搬送手段151と、前記搬送手段の作動を制御して前記基板を前記チャンバ内の所定位置で停止させるための制御手段と、前記チャンバの天井部に、所定位置に搬送され停止された前記基板の中央部に対向するように設置された2以上の冷却用ファン155a、155bとを備える。成膜装置は、この冷却室15を備えている。
【選択図】図3

Description

本発明は処理装置及びこれを用いた成膜装置に関する。
従来、太陽電池の作製工程においては、基板を100℃以上に加熱し(加熱工程)、加熱された基板に対して金属層及び半導体層を順に成膜し(成膜工程)、積層体を形成した後に、作製装置から基板を取り出し、レーザー光によりこの積層体部分を切断して(切断工程)、1枚の基板上に複数の太陽電池用セルを作製する。この場合に、成膜工程後の基板温度は100℃以上を保ったままであるので、この基板に対して後工程を行うためには適宜基板を冷却する必要がある。しかしながら、自然冷却すると冷却に相当の時間を要する上、基板が端から冷えていき基板表面に高温部と低温部とが発生して歪みが生じてしまい、この結果基板に引っ張り応力が働いて、基板割れが生じやすくなってしまう。従って、成膜工程後に基板割れを防ぐために基板の冷却工程を実施できる装置として、基板を冷却する冷却手段としてのベントガスが噴出されるベント管を備えた製膜装置が知られている(例えば、特許文献1参照)。
特開2003−64478号公報(請求項1、図1参照)
前記製膜装置によれば冷却を十分に行うことができ、基板割れを防ぐことができる。しかしながら、現在より構成が簡易な処理装置が求められている。
そこで、本発明の課題は、上記従来技術の問題点を解決することにあり、簡易な構成により基板割れを防止して基板を冷却することができる処理装置及びこれを用いた成膜装置を提供しようとするものである。
本発明の処理装置は、チャンバと、基板を搬送する搬送手段と、前記搬送手段の作動を制御して前記基板を前記チャンバ内の所定位置で停止させるための制御手段と、所定位置に搬送され停止された前記基板の中央部に対向するように設置された2以上の冷却用ファンとを備えたことを特徴とする。
本発明の処理装置は、冷却手段として2以上の冷却用ファンをチャンバに設けるという簡易な構成であり、かつ、この冷却用ファンは、所定位置に搬送され停止された前記基板の中央部に対向するよう設置されているので、基板の中央部付近から端部へ冷却することができ、基板割れを防止できる。
この場合、温度の高い成膜面から冷却すべく、冷却用ファンは前記チャンバの天井部に設けられることが好ましい。
ここで、前記冷却用ファンからの送風の流れが、前記チャンバ内で渦状となるように冷却用ファンが設置されていることが好ましい。チャンバ内で渦状となることで、中央から冷却することができると共に、冷却効率が高まるからである。
具体的には、前記冷却用ファンを傾斜をつけて設置して、前記冷却用ファンからの送風の流れを前記チャンバ内で渦状とすること、冷却用ファンに風向制御板を設けて、前記冷却用ファンからの送風の流れを前記チャンバ内で渦状とすることが挙げられる。
本発明の成膜装置は、基板を加熱する加熱装置と、加熱された基板上に膜を形成する膜形成装置と、前記処理装置とを備えたことを特徴とする。本発明の成膜装置は、前記処理装置を備えているので、基板割れを発生させることなく冷却して基板を取り出すことができる。
本発明の処理装置によれば、基板割れを防ぐことができるという優れた効果を奏し得る。また、これを用いた本発明の成膜装置によれば、成膜後の基板割れを防ぐことができるという優れた効果を奏し得る。
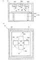
本発明の成膜装置について、図1を用いて説明する。成膜装置1は、ロードロック室11と、加熱室12と、成膜室13と、隔離室14と、本発明の処理装置である冷却室15とを備える。また、ロードロック室11の上流側及び冷却室15の下流側、並びにロードロック室11と、加熱室12と、成膜室13と、隔離室14との間にはそれぞれゲートバルブ16が設けられており、ロードロック室11、加熱室12、成膜室13、隔離室14及び冷却室15はそれぞれ図示しない排気手段を備えて真空状態を保つことが可能である。なお、隔離室14は、大気開放される冷却室15を成膜室13から隔離して成膜室13の真空状態を保持するために設けられている。
成膜装置1の作動を説明する。基板Sをロードロック室11の上流側のゲートバルブ16を開いてロードロック室11に搬送し、ロードロック室11を排気した後に、ロードロック室11の下流側のゲートバルブ16を開いて加熱室12へ基板Sを搬送する。加熱室12において、赤外線ランプ等のヒーターにより基板Sを所定温度まで加熱する。その後、基板Sを成膜室13に搬送し、例えばCVD法により基板表面に成膜を行う。成膜後、基板Sは隔離室14を経由して冷却室15に搬送され、所定温度まで冷却された後に下流側のゲートバルブ16を開いて外部に取り出される。
ここで、冷却室15の構成について図2を用いて説明する。なお、図1〜図7において同一の構成要素については同一の参照符号を付してある。図2は、本発明の処理装置である冷却室を説明するための図であり、(a)は冷却室の模式的縦断面図、(b)は模式的横断面図である。
冷却室15は、基板Sが搬送されるための搬送手段151を備えている。搬送手段151は、基板Sを搬送する搬送部152と、搬送部152を支持する支持部153とを備える。搬送部152は、例えばローラーやベルトコンベアであり、基板Sを略水平に保った状態で載置して基板Sの短手方向に基板Sを搬送できるように構成されている。また、搬送部152は、基板Sの搬送動作の停止・作動を制御する制御部154を備える。冷却室15の天井壁の中央部には、二つの冷却用ファン155a、155bが基板Sの搬送方向に対して直交する方向に離間して設けられている。冷却用ファン155a、155bは、それぞれ送風面156が載置される基板Sと水平になるように設置されている。
冷却室15の作動を説明する。搬送部152に基板Sが載置されると、制御部154により搬送部152が作動して基板Sが搬送される。この基板Sが、基板Sの中央が冷却室15の略中央部の下に位置するまで搬送されると、制御部154により搬送部152の作動が停止されて、基板Sの搬送が停止する。ここで、基板Sの中央部付近に、基板Sの長手方向に対して冷却用ファン155a、155bが対向した状態となる。そして、この状態で冷却用ファン155a、155bが図示しない駆動源により駆動されて、送風が開始される。
この送風の状態を図3を用いて説明する。図3は、冷却室15での送風の流れの状態を説明するための図であり、(a)は冷却室の模式的縦断面図、(b)は模式的横断面図である。なお、制御部154、ゲートバルブ16は送風状態を説明するための図3中では省略した。送風が開始されると、図3に示すように、二つの冷却用ファン155a、155bからの送風(図3中点線で示す)は、基板Sの中央部に最もよく当たり、中央部から基板の端部へ向かって基板を冷却する。このように中央部から基板を冷却することで、基板Sの割れを防ぐことが可能である。
本実施形態では、冷却用ファン155a、155bが長手方向に対して2つ設けられていることで、基板Sの中央部から基板Sの端部まで冷却して基板割れを防ぐことが可能である。
本発明の冷却室15の別の実施形態について、図4を用いて説明する。図4は、冷却室内の構成を説明するための図であり、(a)は冷却室の模式的縦断面図、(b)は模式的横断面図である。
図4に示す本実施形態は、図2に示す実施形態とは冷却用ファン155の設置角度が異なっている。即ち、図2においては冷却用ファン155a、155bは、送風面156が基板Sに対し水平になるように設置されていたが、図4においては、冷却用ファン155a、155bは、冷却用ファン155からの送風の流れが冷却室15内で渦状となるように送風面156を傾斜させて設置している。
詳細に説明すると、冷却用ファン155aは、図4(a)中、基板搬送方向の下流側から上流側に向けて傾斜がついていると共に、基板の中央側から基板の端部側に向かって傾斜がついている。図4(a)中図示されていない冷却用ファン155bは、上流側から下流側に向けて傾斜がついていると共に、基板の中央側から基板の端部側に向かって傾斜がついている。このように、冷却用ファン155a、155bを、冷却用ファン155a、155bの送風面156が互いにやや向き合うように、かつ基板の搬送方向に対しては互いに逆を向くように設置すると、冷却用ファン155a、155bからの送風は図4(b)に点線で示すように冷却室15内で渦状となる。これにより、基板Sを中央部から冷却することができると共に基板Sの冷却効率を高めることができ、基板割れをより確実に防ぐことが可能である。
また、ファンからの送風を渦状とするためには、図5に示すように構成することも可能である。図5は、冷却室15の構成を説明するための図であり、(a)は冷却室の模式的縦断面図、(b)は模式的横断面図である。図5に示す実施形態は、図3に示す実施形態とは、さらに別の二つの冷却用ファン155c、155dを設けた点が異なっている。これらの冷却用ファン155c、155dも送風が基板の中央側から基板の端部側に向かって傾斜して設置されており、かつ、冷却用ファン155cは基板搬送方向の下流側から上流側に向かって傾斜し、また、冷却用ファン155dは基板搬送方向の上流側から下流側に向かって傾斜して設置されている。
図5に示す実施形態では、4つの冷却用ファン155a〜155dが上述したように設置されているので、冷却用ファンからの送風の流れが冷却室15内で渦状となる。これにより、基板Sを中央部から冷却することができると共に基板Sの冷却効率をより高めることができ、基板割れをより確実に防ぐことが可能である。
さらにまた、ファンからの送風の流れを渦状とするためには、図6に示すように構成することも可能である。図6は、冷却室15の構成を説明するための図であり、(a)は冷却室の模式的縦断面図、(b)は模式的横断面図である。図6では、図2に示す実施形態において、冷却用ファン155a、155bに、それぞれ風向制御板(フィルター)157を設けた点が異なっている。この風向制御板157は、冷却用ファン155a、155bからの送風の流れが渦状となるように風向を制御できるように構成されている。風向制御板157を図7を用いて説明する。図7は、風向制御板の構成を説明するための模式図であり、(a)が模式的正面図、(b)がスリット部分の拡大斜視図である。風向制御板157は、図7に示すように、スリット158が設けられている。スリット158は、本実施形態では例として8個設けられており、それぞれ、風向制御板157の冷却用ファン155a、155bの送風面156側に接続される面に形成されたスリット入口159aと他方面側に形成されたスリット出口159bとは、位置をずらして形成されている。即ち、スリット158は、風向制御板157の冷却用ファン155a、155bの送風面156側に接続される面に対して垂直ではなく角度をつけて形成されている。従って、送風面156側のスリット入口159aから送風が流入し、スリット出口159bから送風が流出すると、送風が冷却室15内で渦状となるように構成されている。
冷却室15内の風向制御板157のスリット158により送風の流れを渦状とすることで、基板Sを中央部から冷却することができると共に基板Sの冷却効率を高めることができ、基板割れをより確実に防ぐことが可能である。さらに、このように風向制御板157を設ける場合には、冷却用ファン155a、155bを傾斜させる必要がなく、簡易に送風の流れを冷却室15内で渦状とすることができる。
以上本発明の実施形態について説明したが、これらに必ずしも限定されるわけではない。例えば、図2〜図6においては冷却用ファンをそれぞれ離間して設けているが、風向制御板157を設ける場合には離間して設けなくてもよい。また、冷却用ファン155a〜155dを傾斜をつけて設置する場合には、基板の大きさ等を考慮して適宜その傾斜角度を決定すればよく、それぞれ異なる傾斜角度とすることも可能である。また、冷却室15内の送風の流れを渦状とすることができれば、傾斜の向き等も自由に設定できる。
また、冷却用ファンは基板と対向する位置であれば冷却室15の底面に設けてもよい。この場合、搬送部152をローラーから構成していれば、冷却室15の底部に設けた冷却用ファンからの送風はこのローラーの間隙を通過し、同様に基板Sを中央部から冷却することが可能である。
本発明の処理装置及び成膜装置は、半導体装置製造分野、太陽電池製造分野、薄型ディスプレイ製造分野において利用可能である。
成膜装置の構成を示す模式図である。 冷却室の構成を説明するための模式図である。 冷却室での送風の流れの状態を説明するための模式図である。 冷却室の構成を説明するための模式図である。 冷却室の構成を説明するための模式図である。 冷却室の構成を説明するための模式図である。 風向制御板の構成を説明するための模式図である。
符号の説明
1 成膜装置
11 ロードロック室
12 加熱室
13 成膜室
14 隔離室
15 冷却室
16 ゲートバルブ
151 搬送手段
152 搬送部
153 支持部
154 制御部
155a〜155d 冷却用ファン
156 送風面
157 風向制御板

Claims (6)

  1. チャンバと、基板を搬送する搬送手段と、前記搬送手段の作動を制御して前記基板を前記チャンバ内の所定位置で停止させるための制御手段と、所定位置に搬送され停止された前記基板の中央部に対向するように設置された2以上の冷却用ファンとを備えたことを特徴とする処理装置。
  2. 前記冷却用ファンは、前記チャンバの天井部に設けたことを特徴とする請求項1記載の処理装置。
  3. 前記冷却用ファンからの送風の流れが、前記チャンバ内で渦状となるように冷却用ファンが設置されていることを特徴とする請求項1又は2記載の処理装置。
  4. 前記冷却用ファンを傾斜をつけて設置して、前記冷却用ファンからの送風の流れを前記チャンバ内で渦状とすることを特徴とする請求項1〜3のいずれかに記載の処理装置。
  5. 前記冷却用ファンに風向制御板を設けて、前記冷却用ファンからの送風の流れを前記チャンバ内で渦状とすることを特徴とする請求項1〜3のいずれかに記載の処理装置。
  6. 基板を加熱する加熱装置と、加熱された基板上に膜を形成する膜形成装置と、請求項1〜5のいずれかに記載の前記処理装置とを備えたことを特徴とする成膜装置。
JP2008215994A 2008-08-25 2008-08-25 処理装置及びこれを用いた成膜装置 Expired - Fee Related JP5158959B2 (ja)

Priority Applications (1)

Application Number Priority Date Filing Date Title
JP2008215994A JP5158959B2 (ja) 2008-08-25 2008-08-25 処理装置及びこれを用いた成膜装置

Applications Claiming Priority (1)

Application Number Priority Date Filing Date Title
JP2008215994A JP5158959B2 (ja) 2008-08-25 2008-08-25 処理装置及びこれを用いた成膜装置

Publications (2)

Publication Number Publication Date
JP2010047827A true JP2010047827A (ja) 2010-03-04
JP5158959B2 JP5158959B2 (ja) 2013-03-06

Family

ID=42065133

Family Applications (1)

Application Number Title Priority Date Filing Date
JP2008215994A Expired - Fee Related JP5158959B2 (ja) 2008-08-25 2008-08-25 処理装置及びこれを用いた成膜装置

Country Status (1)

Country Link
JP (1) JP5158959B2 (ja)

Citations (2)

* Cited by examiner, † Cited by third party
Publication number Priority date Publication date Assignee Title
JP2003064478A (ja) * 2001-08-24 2003-03-05 Mitsubishi Heavy Ind Ltd 製膜装置
JP2005123213A (ja) * 2003-10-14 2005-05-12 Mitsubishi Heavy Ind Ltd 基板冷却方法、基板冷却装置、及び製膜装置

Patent Citations (2)

* Cited by examiner, † Cited by third party
Publication number Priority date Publication date Assignee Title
JP2003064478A (ja) * 2001-08-24 2003-03-05 Mitsubishi Heavy Ind Ltd 製膜装置
JP2005123213A (ja) * 2003-10-14 2005-05-12 Mitsubishi Heavy Ind Ltd 基板冷却方法、基板冷却装置、及び製膜装置

Also Published As

Publication number Publication date
JP5158959B2 (ja) 2013-03-06

Similar Documents

Publication Publication Date Title
JP4896148B2 (ja) 薄板状材料搬送装置
CN103547874B (zh) 烘干机
JP2012202600A (ja) 乾燥装置および熱処理システム
CN107304474A (zh) 一种反应腔室及半导体加工设备
JP5401015B2 (ja) 連続式焼成炉
JP5158959B2 (ja) 処理装置及びこれを用いた成膜装置
JP5810074B2 (ja) 乾燥装置
JP5654796B2 (ja) 連続拡散処理装置
TW201833504A (zh) 烘箱、用於將氣體分佈於烘箱的排出噴嘴板、及操作烘箱的方法
JP6651127B2 (ja) ガラス板の製造方法及びその製造装置
TWI503868B (zh) Vacuum processing device
JP2008241076A (ja) 加熱方法及び間欠送り式トンネル炉、バッチ炉
JP4544515B2 (ja) 板状処理物冷却装置。
JP6491216B2 (ja) 対流加熱及び放射加熱を用いた炉
JP2006029644A (ja) 連続熱処理炉
KR20150086832A (ko) 반도체 기판처리용 냉각장치
JP2009218505A (ja) アンロードチャンバ及びその運転方法
JP2009019832A (ja) 板状体冷却装置、熱処理システム
JP2008096003A (ja) 熱処理装置
TWI874982B (zh) 氣體供給裝置、基板處理裝置及基板搬送裝置
CN107677089A (zh) 防止液体残留于基板的风刀吹干方法
JP5337471B2 (ja) 冷却装置
JP6382321B2 (ja) 密閉温度被制御部を備えた炉
JP2008256229A (ja) 焼成炉及び焼成方法
JP2010153480A (ja) 半導体装置の製造方法

Legal Events

Date Code Title Description
A621 Written request for application examination

Free format text: JAPANESE INTERMEDIATE CODE: A621

Effective date: 20110601

A977 Report on retrieval

Free format text: JAPANESE INTERMEDIATE CODE: A971007

Effective date: 20120906

A131 Notification of reasons for refusal

Free format text: JAPANESE INTERMEDIATE CODE: A131

Effective date: 20120912

A521 Request for written amendment filed

Free format text: JAPANESE INTERMEDIATE CODE: A523

Effective date: 20121106

TRDD Decision of grant or rejection written
A01 Written decision to grant a patent or to grant a registration (utility model)

Free format text: JAPANESE INTERMEDIATE CODE: A01

Effective date: 20121128

A61 First payment of annual fees (during grant procedure)

Free format text: JAPANESE INTERMEDIATE CODE: A61

Effective date: 20121210

R150 Certificate of patent or registration of utility model

Ref document number: 5158959

Country of ref document: JP

Free format text: JAPANESE INTERMEDIATE CODE: R150

Free format text: JAPANESE INTERMEDIATE CODE: R150

FPAY Renewal fee payment (event date is renewal date of database)

Free format text: PAYMENT UNTIL: 20151221

Year of fee payment: 3

R250 Receipt of annual fees

Free format text: JAPANESE INTERMEDIATE CODE: R250

R250 Receipt of annual fees

Free format text: JAPANESE INTERMEDIATE CODE: R250

R250 Receipt of annual fees

Free format text: JAPANESE INTERMEDIATE CODE: R250

R250 Receipt of annual fees

Free format text: JAPANESE INTERMEDIATE CODE: R250

R250 Receipt of annual fees

Free format text: JAPANESE INTERMEDIATE CODE: R250

R250 Receipt of annual fees

Free format text: JAPANESE INTERMEDIATE CODE: R250

R250 Receipt of annual fees

Free format text: JAPANESE INTERMEDIATE CODE: R250

LAPS Cancellation because of no payment of annual fees