JP2010046965A - テープカセット - Google Patents

テープカセット Download PDF

Info

Publication number
JP2010046965A
JP2010046965A JP2008214821A JP2008214821A JP2010046965A JP 2010046965 A JP2010046965 A JP 2010046965A JP 2008214821 A JP2008214821 A JP 2008214821A JP 2008214821 A JP2008214821 A JP 2008214821A JP 2010046965 A JP2010046965 A JP 2010046965A
Authority
JP
Japan
Prior art keywords
tape
printing
width direction
transparent
cassette
Prior art date
Legal status (The legal status is an assumption and is not a legal conclusion. Google has not performed a legal analysis and makes no representation as to the accuracy of the status listed.)
Granted
Application number
JP2008214821A
Other languages
English (en)
Other versions
JP5287034B2 (ja
Inventor
Terushiro Yamaguchi
晃志郎 山口
Current Assignee (The listed assignees may be inaccurate. Google has not performed a legal analysis and makes no representation or warranty as to the accuracy of the list.)
Brother Industries Ltd
Original Assignee
Brother Industries Ltd
Priority date (The priority date is an assumption and is not a legal conclusion. Google has not performed a legal analysis and makes no representation as to the accuracy of the date listed.)
Filing date
Publication date
Application filed by Brother Industries Ltd filed Critical Brother Industries Ltd
Priority to JP2008214821A priority Critical patent/JP5287034B2/ja
Publication of JP2010046965A publication Critical patent/JP2010046965A/ja
Application granted granted Critical
Publication of JP5287034B2 publication Critical patent/JP5287034B2/ja
Active legal-status Critical Current
Anticipated expiration legal-status Critical

Links

Images

Landscapes

  • Handling Of Sheets (AREA)
  • Handling Of Continuous Sheets Of Paper (AREA)

Abstract

【課題】印字部分を長期間保護することができるラミネートラベルを作成するためのテープカセットを提供する。
【解決手段】テープカセットは、透明テープ60、印字テープ40、透明テープ60に接する送りローラ24、印字テープ40に接する送りローラ95を有する。透明テープ60の幅方向寸法は、印字テープ40の幅方向寸法よりも大きいので、透明テープ60は、印字テープ40に貼り合わされるに際し、印字テープ40の幅方向両端を覆うことができる。また、送りローラ95の幅方向寸法は、印字テープ40の幅方向寸法よりも小さいので、透明テープ60の粘着剤が、送りローラ95に付着することを防ぐことができる。作成されたラミネートラベルは、被着体に長期間貼り付けたとしても、印字内容の部分まで透明テープ60が剥がれることを防止することができ、ラミネートされた印字テープ40の印字面を長期間保護することができる。
【選択図】図21

Description

本発明は、印字部分を長期間保護することができるラミネートラベルを作成するためのテープカセットに関するものである。
従来、印字テープの印字面に対し透明粘着テープを貼りつけることによりラミネートラベルを作成する装置が提案されている。下記特許文献1には、ラミネートラベルを構成し互いに貼り合わされるラミネートテープと被ラミネート用テープの幅方向のずれを防止する印字装置が開示されている。
特開平10−330705号公報
上記特許文献1に開示される印字装置では、ラミネートテープと被ラミネート用テープが幅方向に正しく整合されていたとしても、被着体に貼り付けられて長時間が経過したラミネートラベルからラミネートテープが剥がれるおそれがある。また、剥がれる量が大きくなると印字部分が空気に曝され、見栄えが悪化し、かつ、耐擦性が低下する。
本発明は、上述した問題点を解決するためになされたものであり、印字部分を長期間保護することができるラミネートラベルを作成するためのテープカセットを提供することを目的とする。
本発明の一側面である請求項1に係る発明は、一面に印字層を有する印字テープと、一面に粘着剤が塗布され、当該粘着剤を介して前記印字テープの前記印字層側に貼り合わされる透明カバーテープと、前記透明カバーテープのうち該粘着剤が塗布されていない他面に接触する第1ローラとを備えるテープカセットにおいて、前記透明カバーテープは、前記印字テープの幅方向寸法よりも大きい幅方向寸法を有し、印字テープに貼り合わされるに際し印字テープの幅方向両端を覆い、前記第1ローラの幅方向寸法は、前記透明カバーテープの幅方向寸法に基いて決定されることを特徴とする。
本発明の一側面である請求項2に係る発明は、請求項1のテープカセットであって、前記第1ローラに透明カバーテープ及び前記印字テープを介して対向する第2ローラを備え、前記第2ローラの幅方向寸法は、前記第1ローラの幅方向寸法よりも小さいことを特徴とする。
本発明の一側面である請求項3に係る発明は、請求項2のテープカセットであって、前記第2ローラの幅方向寸法は、前記印字テープの幅方向寸法以下であることを特徴とする。
本発明の一側面である請求項4に係る発明は、請求項2のテープカセットであって、前記第1ローラ、前記第2ローラ、前記印字テープ、前記透明カバーテープは、それぞれの幅方向の中心位置が一致するように配置されていることを特徴とする。
本発明の一側面である請求項5に係る発明は、請求項1乃至請求項4のいずれかのテープカセットであって、前記印字テープは、前記印字層の反対側に粘着剤層を有し、前記粘着剤層には、剥離材が貼り合わされていることを特徴とする。
本発明の一側面である請求項6に係る発明は、請求項1乃至請求項5のいずれかのテープカセットであって、前記透明カバーテープの幅方向寸法は、前記印字テープの幅方向寸法の1.2倍以上であることを特徴とする。
本発明の一側面である請求項7に係る発明は、請求項1乃至請求項5のいずれかのテープカセットであって、前記透明カバーテープの幅方向寸法は、前記印字テープの幅方向寸法よりも2mm以上大きいことを特徴とする。
請求項1のテープカセットによれば、前記透明カバーテープの幅方向寸法は前記印字テープの幅方向寸法よりも大きく、前記透明カバーテープは、前記印字テープの幅方向両端を覆うように該印字テープに貼り合わされるので、ラミネートラベルを対象物に貼り付けたときに、透明カバーテープの端部が剥がれたとしても印字部分は剥がれることを防ぐことができる。さらに、前記第1ローラの幅方向寸法は、前記透明カバーテープの幅方向寸法に基いて決定されるので、透明カバーテープを安定して搬送することができる。これにより、良好なテープ搬送を実現することができる。
請求項2のテープカセットによれば、前記第2ローラの幅方向寸法は、前記透明カバーテープ側に位置する前記第1ローラの幅方向寸法よりも小さいので、透明カバーテープの粘着剤が前記印字テープ側に位置する第2ローラに転移することがない。これにより、良好なテープ搬送を実現することができる。
請求項3のテープカセットによれば、前記第2ローラの幅方向寸法は、前記印字テープの幅方向寸法以下であるので、透明カバーテープの粘着剤が前記印字テープ側に位置する第2ローラに転移することがない。これにより、良好なテープ搬送を実現することができる。
請求項4のテープカセットによれば、前記第1ローラ、前記第2ローラ、前記印字テープ、前記透明カバーテープは、それぞれの幅方向の中心位置が一致するように配置されているので、透明カバーテープに対して印字テープが幅方向の中心位置にする。これにより、見栄えのよいラミネートラベルを作成することができる。
請求項5のテープカセットによれば、前記印字テープは、前記印字層の反対側に粘着剤層を有し、前記粘着剤層には剥離材が貼り合わされているので、印字テープの粘着剤層によってラミネートラベルを対象物に確実に貼り付けることができる。
請求項6のテープカセットによれば、前記透明カバーテープの幅方向寸法は前記印字テープの幅方向寸法の1.2倍以上であるので、透明部分と印字テープ部分との均整を取ることができる。これにより、見栄えのよいラミネートラベルを作成することができる。
請求項7のテープカセットによれば、前記透明カバーテープの幅方向寸法は前記印字テープの幅方向寸法よりも2mm以上大きいので、透明カバーテープが印字テープの幅方向の端部を確実に覆うことができる。これにより、透明カバーテープの端部が剥がれたとしても、印字部分を確実に保護することができる。
[第1実施形態]
以下、本発明を具体化した一実施形態である第1実施形態について図面を参照しつつ詳細に説明する。
図1はテープ印字装置のカセット収納部にテープカセットを装着する状態を示す要部拡大斜視図である。図2はテープカセットの内部構成及びテープ印字装置の一部を模式的に示す平面図である。
(テープカセット)
まず、テープカセット100について説明する。図1に示すように、テープカセット100は、テープ印字装置200に設けられたカセット収納部210に着脱可能である。
テープカセット100は、上ケース102と下ケース103とを有する。上ケース102は下ケース103の上面を被覆する蓋部材である。下ケース103には、印字テープスプール20、インクリボンスプール21、インクリボン巻取スプール22、透明テープスプール23が配置されている(図2参照)。
印字テープスプール20は、図2の位置関係において、テープカセット100の右側かつ上側部分に位置する。印字テープスプール20には、印字テープ40が印字面を内側にして巻回されている。印字テープ40は、長尺状のテープである。印字テープ40の詳細については後述する。印字テープスプール20は、テープ印字装置200の印字テープ巻取軸80(後述)に係合する。印字テープ巻取軸80が平面視反時計方向に回転することにより、印字テープ40を印字テープスプール20に巻き戻すことができる。
インクリボンスプール21は、図2の位置関係において、テープカセット100の右側かつ下側に位置する。インクリボン巻取スプール22は、図2の位置関係において、テープカセット100の中央部よりも少し下側かつ左側に位置している。インクリボンスプール21には、インクリボン50がインク層を内側にして巻回されている。インクリボン巻取スプール22は、テープ印字装置200のインクリボン巻取軸81(後述)に係合する。インクリボン巻取軸81が平面視時計方向に回転することにより、消費されたインクリボン50をインクリボン巻取スプール22に巻き取ることができる。
透明テープスプール23は、図2の位置関係において、テープカセット100の左側かつ上側に位置する。透明テープスプール23には、透明テープ60が粘着層を内側にして巻回されている。透明テープ60は、長尺状のテープである。透明テープ60の詳細については後述する。透明テープスプール23は、テープ印字装置200の透明テープ巻取軸82(後述)に係合する。透明テープ巻取軸82が平面視時計方向に回転することにより、透明テープ60を透明テープスプール23に巻き戻すことができる。
テープカセット100には、テープ案内コロ26、案内ピン27、開口部28が配置されている。テープ案内コロ26、案内ピン27、開口部28は、印字テープ40の搬送経路を規制する。印字テープスプール20に巻回された印字テープ40は、テープ案内コロ26、案内ピン27、開口部28を経て、後述するヘッド挿通口35に達したときに一旦露出状態となる。
また、テープカセット100には、規制突起部29、規制突起部30が配置されている。規制突起部29及び規制突起部30は、インクリボン50の搬送経路を規制する。
インクリボンスプール21に巻回されたインクリボン50は、規制突起部29、規制突起部30、開口部28を経て、後述するヘッド挿通口35に達したときに一旦露出状態となる。
テープカセット100には、ヘッド挿通口35が形成されている。ヘッド挿通口35は、上ケース102及び下ケース103を貫通している。また、テープカセット100がテープ印字装置200のカセット収納部210に収納された際に、テープ印字装置200のサーマルヘッド70(後述)が挿通される。
また、ヘッド挿通口35の位置においては、印字テープ40とインクリボン50とは重なり合って搬送される。
テープカセット100には、開口部28よりも印字テープ40の搬送方向下流側にガイド部材31が形成されている(図2参照)。ガイド部材31によって、インクリボン50の搬送経路が規制される。印字テープ40とインクリボン50とがヘッド挿通口35を通過する間に、印字テープ40への印字動作が行われ、印字テープ40及びインクリボン50は、ガイド部材31に隣接する開口部からテープカセット100内部に進入する。また、ガイド部材31は、印字位置において貼り合された印字テープ40とインクリボン50とを分離させる機能をも有する。
テープカセット100には、ガイド部材31よりも印字テープ40の排出方向下流側に排出口32が形成されている。印字済みの印字テープ40は、排出口32よりテープカセット100外に一旦排出される。排出口32より排出された印字テープ40は、テープ印字装置200の第2カッタユニット75(後述)によって切断される。
テープカセット100には、テープ入口33が形成されている。第2カッタユニット75を経た印字テープ40は、テープ入口33から再度テープカセット100内に搬送される。
テープカセット100には、送りローラ24及び送りローラ25が配置されている。送りローラ24及び送りローラ25(以下、送りローラ対という。)は、テープ入口33よりも印字テープ40の搬送方向下流側に位置する。送りローラ24は、テープ印字装置200の送りローラ軸83(後述)に係合する。送りローラ軸83が平面視時計方向に回転することにより、送りローラ対は透明テープ60(または、透明テープ60が貼り合された印字テープ40)を搬送することができる。また、送りローラ25の表面には、透明テープ60の粘着剤が付着しないように、離型処理(シリコンによる加工等)がなされている。
テープカセット100には、テープ出口34が形成されている。送りローラ対を経た印字テープ40は、テープ出口34よりテープカセット100外に排出される。
また、テープカセット100は、テープ印字装置200が有するカセットセンサによって読み取られる識別部(テープカセットの種類を示す)を有する。
(カセット収納部の説明)
次に、テープ印字装置のカセット収納部210及びその周辺に配置される各要素について説明する。
カセット収納部210には、サーマルヘッド70が固設されている(図1及び図2参照)。サーマルヘッド70は、縦長四角形の平板状である。前面の左端縁部の辺に沿って、所定個数の各発熱素子が一列に配列されて形成されている。
テープ印字装置200は、プラテンローラ71を備えている。プラテンローラ71は、プラテンホルダ72に回転可能に支持されている。プラテンホルダ72は、ホルダ軸73に回動可能に支持されている。
プラテンローラ71は、モータの駆動に基いて回転する。プラテンローラ71の回転を駆動源として、印字前及び印字後の印字テープ40は搬送される。
プラテンホルダ72には、読取センサ74が取り付けられている。読取センサ74は、印字テープ40に印字されているゼブラマーク(後述)を読み取る。
カセット収納部210には、印字テープ巻取軸80が配置されている。印字テープ巻取軸80は、テープカセット100がテープ印字装置200に装着された際に、印字テープスプール20と係合する。印字テープ巻取軸80は、モータにより回転する。印字テープ巻取軸80が平面視反時計方向に回転することにより、印字テープ40を巻き戻すことができる。
カセット収納部210には、インクリボン巻取軸81が配置されている。インクリボン巻取軸81は、テープカセット100がテープ印字装置200に装着された際に、インクリボン巻取スプール22と連結する。インクリボン巻取軸81は、モータにより回転する。インクリボン巻取軸81が平面視時計方向に回転することにより、インクリボンスプール21からインクリボン50を引き出すことができる。
カセット収納部210には、透明テープ巻取軸82が配置されている。透明テープ巻取軸82は、テープカセット100がテープ印字装置200に装着された際に、透明テープスプール23と係合する。透明テープ巻取軸82は、モータにより回転する。透明テープ巻取軸82が平面視時計方向に回転することにより、透明テープ60を巻き戻すことができる。
カセット収納部210には、送りローラ軸83が配置されている。送りローラ軸83は、テープカセット100がテープ印字装置200に装着された際に、送りローラ24と係合する。送りローラ軸83は、モータにより回転する。送りローラ軸83が回転することにより、透明テープ60(または、透明テープ60が貼り合された印字テープ40)を搬送することができる。
テープ印字装置200には、第2カッタユニット75が配置されている。第2カッタユニット75は、テープカセット100の排出口32から排出された印字テープ40を切断する。第2カッタユニット75は、例えば、固定刃及び可動刃により構成することができる。この場合、可動刃が固定刃に向かって移動することにより、印字テープ40を切断することができ、また、可動刃は駆動回路により駆動制御される。
また、第2カッタユニット75は、可動刃と受け板によって構成することができる。この場合、可動刃が受け板に向かって移動することにより、印字テープ40を切断することができ、また、可動刃は駆動回路により駆動制御される。
テープ印字装置200には、第1カッタユニット76が配置されている。第1カッタユニット76は、テープカセット100のテープ出口34から排出された印字テープ40(透明テープ60が貼り合わされたもの、以下、透明テープ60が貼り合わされた印字テープ40を「ラミネートラベル」という。)を切断する。第1カッタユニット76は、例えば、固定刃及び可動刃により構成することができる。この場合、可動刃が固定刃に向かって移動することにより、ラミネートラベルを切断することができ、可動刃は駆動回路により駆動制御される。
また、第1カッタユニット76は、可動刃と受け板によって構成することができる。この場合、可動刃が受け板に向かって移動することにより、ラミネートラベルを切断することができ、可動刃は駆動回路により駆動制御される。
なお、第1カッタユニット76及び第2カッタユニット75の構成に関し、ラミネートラベル(印字テープ40及び透明テープ60)を切断する第1カッタユニット76を、固定刃及び可動刃で構成し、印字テープ40のみを切断する第2カッタユニット75を、可動刃と受け板で構成してもよい。すなわち、被切断対象が厚い場合は、固定刃と可動刃とによって構成し、また、被切断対象が薄い場合は、可動刃と受け板とによって構成してもよい。
テープ印字装置200には、排出口77が形成されている。第1カッタユニット76を経たラミネートラベルは、排出口77よりテープ印字装置200外に排出される。
また、テープ印字装置200は、ディスプレイ及びキーボードを有する。ユーザは、キーボードを用いて印字内容、及び、カバー量(後述)を入力することができる。また、入力された内容は、ディスプレイに表示される。また、テープ印字装置200を、コンピュータに接続するよう構成してもよい。この場合、ユーザは、コンピュータ側のキーボードによって印字内容等を入力することができ、また、印字内容等は、コンピュータ側のディスプレイに表示させることができる。
(印字動作)
次に、印字テープ40への印字動作について説明する。
印字テープスプール20に巻回されている印字テープ40は、プラテンローラ71の回転駆動により、テープ案内コロ26、案内ピン27、開口部28を経てサーマルヘッド70及びプラテンローラ71に向かって搬送される。
また、インクリボンスプール21に巻回されているインクリボン50は、インクリボン巻取スプール22の回転駆動により、規制突起部29、規制突起部30、開口部28を経てサーマルヘッド70及びプラテンローラ71に向かって搬送される。
印字テープ40及びインクリボン50は、サーマルヘッド70及びプラテンローラ71の位置で重ね合わされる。また、印字時には、サーマルヘッド70の発熱素子群が発熱駆動される。発熱素子群の発熱により、インクリボン50の被加熱部分のインク層51が溶解し、溶解したインク層51が印字テープ40に転写される。
図3は印字過程における印字テープ40及びインクリボン50の関係を模式的に示したものである。
図3に示すように、インクリボン50は、基材フィルム52及びインク層51により構成されている。また、印字テープ40は、基材フィルム41、粘着剤層42、離型紙43により構成されている。
また、離型紙43の表面(粘着剤層42と接していない側)には、例えば、ゼブラマークが印字されている。ゼブラマークは、テープ印字装置200の読取センサ74によって光学的に読み取られる。なお、読取センサ74に対向するテープカセット100の側壁には、ゼブラマークが読取センサ74から臨めるよう開口が設けられている(図2参照)。図4は、ゼブラマークの一例を示した図である。図4に示すように、印字テープ40の幅方向に伸びる線(例えば、直線)が、所定間隔で印字されている。
該所定間隔は、テープ印字装置200によって認識されるよう構成される。例えば、装着されるテープカセットの種別によらず、該所定間隔の長さを一定(固定値)とすることができる。この場合、該固定値をテープ印字装置200に記憶することができる。
また、所定間隔をテープカセットごとに異ならせてもよい。この場合、テープカセット100の識別部に該所定間隔の情報を含ませる。そして、テープ印字装置200の読取センサ74は、装着されたテープカセット100の種類とともに、ゼブラマークの間隔の長さを検出する。
テープ印字装置200は、読取センサ74が読み取ったゼブラマークの数に、該所定間隔の長さを掛け合わせることにより、印字テープ40の搬送量を算出することができる。ゼブラマークの色は、例えば、黒とすることができる。なお、読取センサ74によって読み取ることができる色であれば、どのような色でもよい。また、ゼブラマークが印字される離型紙43は、上述したとおり被着体への貼り付け時に剥がされる。
印字が行われた後、インクリボン50は、ガイド部材31を経てインクリボン巻取スプール22に巻き取られる。このとき、印字済みの印字テープ40とインクリボン50とは分離される。また、印字済みの印字テープ40は、排出口32を経てテープカセット100外に排出される。
その後、印字済みの印字テープ40は、第2カッタユニット75、テープ入口33を経て、送りローラ対まで搬送される。
(貼り合せ動作)
次に、印字済みの印字テープ40に透明テープ60を貼り合せる動作(貼り合せ動作)について説明する。
印字済みの印字テープ40が、送りローラ対(送りローラ24及び送りローラ25)の間を通過するときに、印字テープ40に透明テープ60が貼り合される。
図5は、貼り合せ動作における印字テープ40及び透明テープ60の関係を模式的に示したものである。
図5に示すように、透明テープ60は、粘着剤層61及びフィルム62により構成される。ここで、フィルム62として、インク層(すなわち、印字内容)が視認できるものが用いられる。例えば、PETフィルム、ポリエチレン(PE)フィルム、ポリプロピレン(PP)フィルムを用いることができる。
また、フィルム62は、半透明であってもよい。例えば、曇りガラス状のフィルム(MATTフィルム)を用いてもよい。また、有色のフィルムでもよい。また、幅方向の両端部に、花柄、キャラクター等が印字されているものを用いてもよい。
また、粘着剤層61は、粘着剤が送りローラ25に転移することがない材質のものが望ましい。例えば、イソシアネート等で架橋可能なアクリル粘着剤を用いて、ボールタックが3以下となるように硬化剤(イソシアネート系)を添加して塗工液とし、その塗工液をフィルム62に(例えば、バーコーターを用いて)塗布することによって粘着剤層61を形成することができる。
また、粘着剤層61の粘着剤として、アクリル系、ウレタン系、エポキシ系、シリコーン系、ポリエステル系、等を用いてもよい。また、上述した硬化剤として、イソシアネート系、エポキシ系、金属キレート系、等を用いてもよい。なお、粘着剤層61は、インク層を視認させるために、透明及び半透明とすべきであることはいうまでもない。
送りローラ24及び送りローラ25によって、透明テープ60と印字テープ40とが重ね合わされると、印字テープ40上のインク層51の上に透明テープ60が貼り合される。
透明テープ60が貼り合わされた印字済みの印字テープ40は、第1カッタユニット76まで搬送され、所定の位置で切断される。作成されたラミネートラベルは、離型紙43が剥がされた状態で、粘着剤層42の面が被着体に貼り付けられる。
(電気的構成)
次に、テープ印字装置200の電気的構成について説明する。図6は、テープ印字装置200の電気的構成のブロック図である。
テープ印字装置200は、制御基板220によって動作制御される。制御基板220は、CPU221、ROM222、RAM 223、CGROM224および入出力インタフェース225を含んでおり、これらはバス226を介して互いに接続されている。
ROM222には、テープ印字装置200を動作させるために必要なプログラム(ディスプレイの表示制御プログラム、サーマルヘッド、各種モータ、各カッタ等の駆動制御プログラム等)、その他必要なデータ等が格納されている。
RAM223には、ユーザにより入力されたデータ、CPU221の演算結果等が一時的に格納される。
CGROM( パターンデータメモリ)224には、多数のキャラクタに関するドットパターンデータが格納されている。
入出力インタフェース225には、ディスプレイに接続されたディスプレイコントローラ、サーマルヘッド70を駆動するヘッド駆動回路232、各種モータを駆動するモータ駆動回路233、各カッタを駆動するカッタ駆動回路234、キーボード、現在の日時を刻むタイマ、カセットセンサ、がそれぞれ接続されている。また、各駆動回路は、CPU221によって制御される。
(ラベル作成処理)
次に、ラミネートラベルを作成するためのラベル作成処理について説明する。ラベル作成処理のプログラムは、テープ印字装置200のCPU221によって実行される。ラベル作成処理は、所定のプロセスから実行開始の指令信号が出力されることにより実行が開始される。
図7は、ラベル作成処理によって作成されたラミネートラベルの模式図である。図8は、ラベル作成処理によって作成されたラミネートラベルの断面図である。
なお、印字内容、及び、前後カバー量は、ラベル作成処理の実行前に、ユーザによってキーボードを介して入力され、その内容は、RAM223に記憶されているものとする。
図9〜図11は、ラベル作成処理のフローチャートである。図12〜19は、印字テープ及び透明テープの搬送の様子を示した図である。
S1において、入力情報をRAM223から取得する。S1で取得される入力情報は、ユーザによって入力された印字内容、及び、前後カバー量である。
S2において、プラテンローラ71をサーマルヘッド70に圧接する原点位置に移動させる(図12参照)。
S3において、先端間距離と前カバー量とを比較する。前カバー量は、S1で取得したデータ(すなわち、ユーザによって設定されたデータ)である。また、先端間距離は、待機状態(すなわち、ラベル作成処理開始時)における透明テープ60の先端から印字テープ40の先端までの距離である(図12参照)。なお、待機状態における先端間距離は既知であるとする。
S3において、先端間距離と前カバー量とが等しいと判断した場合は、S8に移行する。
S3において、先端間距離が前カバー量よりも長いと判断した場合は、S4に移行する。
S3において、先端間距離が前カバー量よりも短いと判断した場合は、S6に移行する。
S4において、印字テープ40に対し印字動作を行いつつ、印字テープ40を搬送する。印字テープ40を搬送することにより、搬送した量だけ先端間距離が短くなる。また、印字テープ40の搬送量は、例えば、プラテンローラ71の回転量に基いて算出することができる。
S5において、先端間距離と前カバー量とが等しくなったか否かを判断する。先端間距離と前カバー量とが等しくないと判断した場合は(S5:NO)、S4に戻る。これにより、先端間距離と前カバー量とが等しくなるまでの間、印字動作及び印字テープ40の搬送動作が継続して行われる。
一方、S5において、先端間距離と前カバー量とが等しくなったと判断した場合は(S5:YES)、S8に移行する。
S6において、透明テープ60を搬送する。透明テープ60を搬送することにより、搬送した量だけ先端間距離が長くなる。また、透明テープ60の搬送量は、例えば、送りローラ24(送りローラ軸83)の回転量に基いて算出することができる。
S7において、先端間距離と前カバー量とが等しくなったか否かを判断する。先端間距離と前カバー量とが等しくないと判断した場合は(S7:NO)、S6に戻る。これにより、先端間距離と前カバー量とが等しくなるまで、透明テープ60の搬送動作が継続されることになる。
一方、S7において、先端間距離と前カバー量とが等しくなったと判断した場合は(S7:YES)、S8に移行する。
S8において、印字テープ40に対し印字動作を行いつつ、印字テープ40と透明テープ60とを搬送する。
ここで、S3からS8に移行した場合は、S8において、印字テープ40と透明テープ60の搬送動作が同時に開始されることになる。
また、S5からS8に移行した場合は、S8において、印字動作及び印字テープ40の搬送動作に加え、透明テープ60の搬送動作が新たに開始されることになる。
すなわち、先に印字テープ40の搬送動作が開始され、その後に透明テープ60の搬送動作が開始される。
また、S7からS8に移行した場合は、S8において、透明テープ60の搬送動作に加え、印字動作及び印字テープ40の搬送動作が新たに開始されることになる。
すなわち、先に透明テープ60の搬送動作が開始され、その後に印字テープ40の搬送動作が開始される。
S9において印字が終了したか否かを判断する。印字は終了していないと判断した場合は(S9:NO)、S8に移行する。これにより、印字動作が終了するまでの間、印字テープ40への印字動作、印字テープ40及び透明テープ60の搬送動作が継続して行われる。
図13は、印字テープ40及び透明テープ60が搬送されている様子(印字テープ40の搬送動作を先に開始した場合)を示している。なお、以下に説明する図14〜19についても、印字テープ40の搬送動作を先に開始した場合を示している。
図14は、印字テープ40の先端が、送りローラ対の位置に到着した様子を示している。
図15は、印字テープ40及び透明テープ60が搬送されている様子を示している。
S9において、印字が終了したと判断すると(S9:YES)、S10(図10)に移行する。
S10において、印字動作を終了し、印字テープ40及び透明テープ60を搬送する。
S11において、印字テープ40が切断位置に到着したか否かを判断する。すなわち、印字テープ40の後端が、第2カッタユニット75の位置に到着したか否かを判断する。この判断は、プラテンローラ71の回転量に基いて算出された印字テープ40の搬送量に基いて行われる。
印字テープ40が切断位置に到着していないと判断した場合は(S11:NO)、S10に戻る。これにより、印字テープ40が切断位置に到着するまでの間、印字テープ40及び透明テープ60の搬送動作が継続して行われる。
一方、S11において、印字テープ40が切断位置に到達したと判断した場合は(S11:YES)、S12に移行する。
図16は、印字テープ40が切断位置に到達した様子を示している。
S12において、印字テープ40及び透明テープ60の搬送動作を停止し、印字テープ40の後端を切断する。このとき、第2カッタユニット75の可動刃が動作する。
S13において、透明テープ60のみを搬送する。
S14において、後端間距離と後カバー量とが等しいか否かを判断する。後カバー量は、S1で取得したデータ(すなわち、ユーザによって設定されたデータ)である。また、後端間距離は、印字テープ40の後端位置から第1カッタユニット76の位置までの距離である。
後端間距離と後カバー量とが等しくないと判断した場合は(S14:NO)、S13に戻る。これにより、後端間距離と後カバー量とが等しくなるまでの間、透明テープ60の搬送動作が継続して行われる。
図17は、透明テープ60が搬送される様子を示している。
一方、S14において、後端間距離と後カバー量とが等しいと判断した場合は(S14:YES)、S15に移行する。
図18は、後端間距離と後カバー量とが等しくなっている様子を示している。
S15において、透明テープ60の搬送動作を停止し、透明テープ60の後端を切断する。このとき、第1カッタユニット76の可動刃が動作する。
S16において、プラテンローラ71をサーマルヘッド70から離間させる。その後、S17(図11)に移行する。
S17において、印字テープ40を逆送する。印字テープ巻取軸80が回転することにより、印字テープ40を逆送させることができる。
S18において、印字テープ40の先端が所定位置に到達したか否かを判断する。すなわち、印字テープ40の逆搬送量が所定量に達したか否かを判断する。印字テープ40の逆搬送量は、読取センサ74からの情報に基いて算出することができる。
印字テープ40の先端が所定位置に達していないと判断した場合は(S18:NO)、S17に戻る。これにより、印字テープ40の先端が所定位置に達するまでの間、印字テープ40の逆搬送動作が継続して行われる。
一方、S18において、印字テープ40の先端が所定位置に達したと判断した場合は(S18:YES)、S19に移行する。
S19において、印字テープ40の逆搬送動作を停止する。
S20において、透明テープ60を逆送する。透明テープ巻取軸82が回転することにより、透明テープ60を逆送させることができる。
S21において、透明テープ60の先端が所定位置に到達したか否かを判断する。すなわち、透明テープ60の逆搬送量が所定量に達したか否かを判断する。透明テープ60の逆搬送量は、送りローラ軸83の回転量に基いて算出することができる。
透明テープ60の先端が所定位置に達していないと判断した場合は(S21:NO)、S20に戻る。これにより、透明テープ60の先端が所定位置に達するまでの間、透明テープ60の逆搬送動作が継続して行われる。
一方、S21において、透明テープ60の先端が所定位置に達したと判断した場合は(S21:YES)、S22に移行する。
S22において、透明テープ60の逆搬送動作を停止する。
なお、印字テープ40の逆搬送動作、及び透明テープ60の逆送動作を並行して行うように処理してもよい。すなわち、S17〜S19の処理と、S20〜S22の処理とを、並行して実行するよう構成してもよい。
以上説明したラベル作成処理を実行することにより、所望の前カバー量及び後カバー量を有するラミネートラベルを作成することができる(図7、図8参照)。
以上説明した説明したとおり、本発明の第1実施形態によれば、前カバー量及び後カバー量が設定可能であり、設定された前カバー量及び後カバー量に基いて、印字テープ40の搬送動作の開始タイミング、及び、透明テープ60の搬送動作の開始タイミングを制御することにより、所望の前後カバー量を有するラミネートラベルを作成することができる。そして、作成されたラミネートラベルは、被着体に長期間貼り付けたとしても、印字内容の部分まで透明テープ60が剥がれることを防止することができ、ラミネートされた印字テープ40の印字面を長期間保護することができる。
また、ラミネートラベルの作成後、印字テープ40及び透明テープ60をスプール側に巻き戻すので、印字テープ40及び透明テープ60の消費量を抑制することができる。
[第2実施形態]
次に、本発明を具体化した一実施形態である第2実施形態について図面を参照しつつ詳細に説明する。第2実施形態においては、印字テープの幅方向両端についても透明テープによって保護することができる。
図20は、本実施形態において作成されたラミネートラベルの模式図である。図20に示すように、印字テープ40の前後方向両端、及び、上下方向両端が透明テープ60によって保護されている。
本実施形態のテープ印字装置は、第1実施形態のテープ印字装置200と同じであるので、説明を省略する。
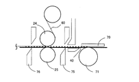
本実施形態のテープカセットは、送りローラ24に対向するローラが異なる点以外は、第1実施形態のテープカセット100と同じである。本実施形態のテープカセットには、送りローラ95が、送りローラ24に対向して配置されている。
図21は、本実施形態のテープカセットの要部拡大斜視図である。なお、図21においては、一部の構成要素は図示していない。
図21に示すように、透明テープ60の幅方向寸法は、印字テープ40の幅方向寸法よりも大きい。これにより、透明テープ60は、印字テープ40に貼り合わされるに際し、印字テープ40の幅方向両端を覆うことになる。また、透明テープ60の幅方向寸法を、印字テープ40の幅方向寸法の1.2倍以上とすることにより、見栄えのよいラミネートラベルを作成することができる。さらに、透明テープ60の幅方向寸法を、印字テープの幅方向寸法よりも2mm以上大きくすることにより、見栄えのよいラミネートラベルを作成することができる。
また、図21に示すように、送りローラ95の幅方向寸法は、印字テープ40の幅方向寸法よりも小さい。これにより、透明テープ60の粘着剤が、送りローラ95に付着することを防ぐことができる。
なお、送りローラ95の幅方向寸法を、印字テープ40の幅方向寸法と等しくしてもよい。すなわち、送りローラ95の幅方向寸法を、印字テープ40の幅方向寸法以下とすることができる。
また、送りローラ24、送りローラ95、印字テープ40、及び透明テープ60は、それぞれの幅方向の中心位置が一致するように配置することができる。
また、中心位置を一致しないように配置する場合は、印字テープ40の上側、または、下側の一方のみをカバーするラミネートラベル、また、上カバー量と下カバー量とが異なるラベルを作成することができる。
また、透明テープ60の幅方向寸法及び印字テープの幅方向寸法が異なる(すなわち、上下カバー量が異なる)種々のテープカセットを、テープ印字装置200に装着することができる。
以上説明した説明したとおり、本発明の第2実施形態によれば、透明テープ60の幅方向寸法が、印字テープ40の幅方向寸法よりも大きいので、印字テープ40の幅方向両端を覆うラミネートラベルを作成することができる。また、前カバー量及び後カバー量を設定可能であり、設定された前カバー量及び後カバー量に基いて、印字テープ40の搬送動作の開始タイミング、及び、透明テープ60の搬送動作の開始タイミングを制御することにより、所望の前後カバー量を有するラミネートラベルを作成することができる。そして、作成されたラミネートラベルは、被着体に長期間貼り付けたとしても、印字内容の部分まで透明テープ60が剥がれることを防止することができ、ラミネートされた印字テープ40の印字面を長期間保護することができる。また、ラミネートラベルの作成後、印字テープ40及び透明テープ60をスプール側に巻き戻すので、印字テープ40及び透明テープ60の消費量を抑制することができる。さらに、透明テープ60の幅方向寸法及び印字テープの幅方向寸法が異なる(すなわち、上下カバー量が異なる)種々のテープカセットを、テープ印字装置200に装着することができるので、テープ印字装置200の汎用性を高めることができる。
[第3実施形態]
次に、本発明を具体化した一実施形態である第3実施形態について図面を参照しつつ詳細に説明する。
図22はテープ印字装置のカセット収納部にテープカセットを装着する状態を示す要部拡大斜視図である。図23はテープカセットの内部構成及びテープ印字装置の一部を模式的に示す平面図である。なお、第1実施形態及び第2実施形態と同じ要素については、同じ符号を用いている。
図22及び図23に示すように、本実施形態のテープ印字装置400は、第1実施形態の第2カッタユニット75に相当する構成を有していない。また、本実施形態のテープ印字装置400は、第1実施形態の印字テープ巻取軸80及び透明テープ巻取軸82に相当する構成を有していない。これにより、テープ印字装置400の製造コストを下げることができる。
また、図23に示すように、本実施形態のテープカセット300には、送りローラ95が送りローラ24に対向して設けられている。また、透明テープ60の幅方向寸法は、印字テープ40の幅方向寸法よりも大きい(図21参照)。
図24は、本実施形態において作成されたラミネートラベルを示している。
図24に示すように、印字テープ40の幅方向両端を透明テープ60で覆うことができる。
また、透明テープ60の幅方向寸法及び印字テープの幅方向寸法が異なる(すなわち、上下カバー量が異なる)種々のテープカセットを、テープ印字装置400に装着することができる。
以上説明したとおり、本発明の第3実施形態によれば、透明テープ60の幅方向寸法が、印字テープ40の幅方向寸法よりも大きいので、印字テープ40の幅方向両端を透明テープ60で覆うラミネートラベルを作成することができる。そして、作成されたラミネートラベルは、被着体に長期間貼り付けたとしても、印字内容の部分まで透明テープ60が剥がれることを防止することができ、ラミネートされた印字テープ40の印字面を長期間保護することができる。また、透明テープ60の幅方向寸法及び印字テープの幅方向寸法が異なる(すなわち、上下カバー量が異なる)種々のテープカセットを、テープ印字装置400に装着することができるので、テープ印字装置400の汎用性を高めることができる。さらに、テープ印字装置を構成する要素数が少ないので、製造コストを削減することができる。
本発明は上述した実施形態に限定されるものではなく、本発明の要旨を逸脱しない範囲内で種々の改良、変形が可能であることはもちろんである。
例えば、各実施形態において、テープカセットが有する構成要素の一部をテープ印字装置側に配置してもよい。特に、送りローラ95をテープカセット側ではなく、テープ印字装置側に配置することができる。また、テープ印字装置が有する構成要素の一部をテープカセット側に配置してもよい。
また、本発明は、テープ印字装置における印字方法、該印字方法を実現するためのコンピュータプログラム、該コンピュータプログラムを記憶した記憶媒体として実現することができることはいうまでもない。
第1実施形態に係るテープ印字装置のカセット収納部にテープカセットを装着する状態を示す要部拡大斜視図である。 第1実施形態に係るテープカセットの内部構成及びテープ印字装置の一部を模式的に示す平面図である。 印字過程における印字テープ及びインクリボンの関係を示す模式図である。 ゼブラマークの一例を示す説明図である。 貼り合せ動作における印字テープ及び透明テープの関係を示す模式図である。 テープ印字装置の電気的構成のブロック図である。 第1実施形態において作成されたラミネートラベルの模式図である。 第1実施形態において作成されたラミネートラベルの断面図である。 ラベル作成処理のフローチャートである。 ラベル作成処理のフローチャートである。 ラベル作成処理のフローチャートである。 印字テープ及び透明テープの搬送の様子を示す模式図である。 印字テープ及び透明テープの搬送の様子を示す模式図である。 印字テープ及び透明テープの搬送の様子を示す模式図である。 印字テープ及び透明テープの搬送の様子を示す模式図である。 印字テープ及び透明テープの搬送の様子を示す模式図である。 印字テープ及び透明テープの搬送の様子を示す模式図である。 印字テープ及び透明テープの搬送の様子を示す模式図である。 印字テープ及び透明テープの搬送の様子を示す模式図である。 第2実施形態において作成されたラミネートラベルの模式図である。 第2実施形態に係るテープカセットの要部拡大斜視図である。 第3実施形態に係るテープ印字装置のカセット収納部にテープカセットを装着する状態を示す要部拡大斜視図である。 第3実施形態に係るテープカセットの内部構成及びテープ印字装置の一部を模式的に示す平面図である。 第3実施形態において作成されたラミネートラベルの模式図である。
符号の説明
24 送りローラ
25 送りローラ
40 印字テープ
60 透明テープ
70 サーマルヘッド
71 プラテンローラ
75 第2カッタユニット
76 第1カッタユニット
80 印字テープ巻取軸
100 テープカセット
200 テープ印字装置
221 CPU

Claims (7)

  1. 一面に印字層を有する印字テープと、
    一面に粘着剤が塗布され、当該粘着剤を介して前記印字テープの前記印字層側に貼り合わされる透明カバーテープと、
    前記透明カバーテープのうち該粘着剤が塗布されていない他面に接触する第1ローラとを備えるテープカセットにおいて、
    前記透明カバーテープは、前記印字テープの幅方向寸法よりも大きい幅方向寸法を有し、印字テープに貼り合わされるに際し印字テープの幅方向両端を覆い、
    前記第1ローラの幅方向寸法は、前記透明カバーテープの幅方向寸法に基いて決定される、
    ことを特徴とするテープカセット。
  2. 請求項1のテープカセットにおいて、
    前記第1ローラに透明カバーテープ及び前記印字テープを介して対向する第2ローラを備え、
    前記第2ローラの幅方向寸法は、前記第1ローラの幅方向寸法よりも小さい、
    ことを特徴とするテープカセット。
  3. 請求項2のテープカセットにおいて、
    前記第2ローラの幅方向寸法は、前記印字テープの幅方向寸法以下である、
    ことを特徴とするテープカセット。
  4. 請求項2のテープカセットにおいて、
    前記第1ローラ、前記第2ローラ、前記印字テープ、前記透明カバーテープは、それぞれの幅方向の中心位置が一致するように配置されている、
    ことを特徴とするテープカセット。
  5. 請求項1乃至請求項4のいずれかのテープカセットにおいて、
    前記印字テープは、前記印字層の反対側に粘着剤層を有し、
    前記粘着剤層には、剥離材が貼り合わされている、
    ことを特徴とするテープカセット。
  6. 請求項1乃至請求項5のいずれかのテープカセットにおいて、
    前記透明カバーテープの幅方向寸法は、前記印字テープの幅方向寸法の1.2倍以上である、
    ことを特徴とするテープカセット。
  7. 請求項1乃至請求項5のいずれかのテープカセットにおいて、
    前記透明カバーテープの幅方向寸法は、前記印字テープの幅方向寸法よりも2mm以上大きい、
    ことを特徴とするテープカセット。
JP2008214821A 2008-08-25 2008-08-25 テープカセット Active JP5287034B2 (ja)

Priority Applications (1)

Application Number Priority Date Filing Date Title
JP2008214821A JP5287034B2 (ja) 2008-08-25 2008-08-25 テープカセット

Applications Claiming Priority (1)

Application Number Priority Date Filing Date Title
JP2008214821A JP5287034B2 (ja) 2008-08-25 2008-08-25 テープカセット

Publications (2)

Publication Number Publication Date
JP2010046965A true JP2010046965A (ja) 2010-03-04
JP5287034B2 JP5287034B2 (ja) 2013-09-11

Family

ID=42064469

Family Applications (1)

Application Number Title Priority Date Filing Date
JP2008214821A Active JP5287034B2 (ja) 2008-08-25 2008-08-25 テープカセット

Country Status (1)

Country Link
JP (1) JP5287034B2 (ja)

Cited By (1)

* Cited by examiner, † Cited by third party
Publication number Priority date Publication date Assignee Title
JP2016064582A (ja) * 2014-09-25 2016-04-28 ブラザー工業株式会社 セルフラミネート用テープホルダ、及び、セルフラミネート用ラベル

Citations (2)

* Cited by examiner, † Cited by third party
Publication number Priority date Publication date Assignee Title
JPH04163069A (ja) * 1990-10-24 1992-06-08 Brother Ind Ltd テープ印刷装置のテープ送り装置
JPH07112559A (ja) * 1993-10-18 1995-05-02 Mitsubishi Pencil Co Ltd ラベル用テープカートリッジ

Patent Citations (2)

* Cited by examiner, † Cited by third party
Publication number Priority date Publication date Assignee Title
JPH04163069A (ja) * 1990-10-24 1992-06-08 Brother Ind Ltd テープ印刷装置のテープ送り装置
JPH07112559A (ja) * 1993-10-18 1995-05-02 Mitsubishi Pencil Co Ltd ラベル用テープカートリッジ

Cited By (1)

* Cited by examiner, † Cited by third party
Publication number Priority date Publication date Assignee Title
JP2016064582A (ja) * 2014-09-25 2016-04-28 ブラザー工業株式会社 セルフラミネート用テープホルダ、及び、セルフラミネート用ラベル

Also Published As

Publication number Publication date
JP5287034B2 (ja) 2013-09-11

Similar Documents

Publication Publication Date Title
JP4968212B2 (ja) 印字装置
US8905658B2 (en) Tape printing apparatus and tape cassette
JP4001132B2 (ja) テープ印刷装置
WO2009107534A1 (ja) テープカセット、テープ作成装置及びテープ作成システム
JP2009544496A (ja) テーププリンタ及びテープカセット
JP2008080668A (ja) 印字テープ、テープカセット及びテープ印字装置
JP4877222B2 (ja) テープカセット及び印字装置
JP4858535B2 (ja) テープ印字装置
JP5287034B2 (ja) テープカセット
JP4894821B2 (ja) テープカセット及び印字装置、および、印字装置
JP2009073135A (ja) テープカセット
JP7342349B2 (ja) カセット及びカセット体
JP4867933B2 (ja) テープカセット
JP5240512B2 (ja) テープ印刷装置
JP4985389B2 (ja) 印字装置
JP4840322B2 (ja) テープカセット及びテープ印字装置
JP2009090497A (ja) テープカセット及びテープ印字装置
JP5119979B2 (ja) テープ作成装置
JP2009083168A (ja) テープカセット
JP2006264031A (ja) 切断装置
JP7677222B2 (ja) 印刷装置、印刷制御方法、及び印刷制御プログラム
JP4501749B2 (ja) シート材切断装置、シート材及びシートカセット
JP5910861B2 (ja) テープカセット
JP2008089799A (ja) ラベル用テープ、無線タグラベル、及びラベル作成装置
JP2019179105A (ja) テープ、テープロール、及び、テープカートリッジ

Legal Events

Date Code Title Description
A621 Written request for application examination

Free format text: JAPANESE INTERMEDIATE CODE: A621

Effective date: 20110706

A977 Report on retrieval

Free format text: JAPANESE INTERMEDIATE CODE: A971007

Effective date: 20121210

A131 Notification of reasons for refusal

Free format text: JAPANESE INTERMEDIATE CODE: A131

Effective date: 20121218

A521 Written amendment

Free format text: JAPANESE INTERMEDIATE CODE: A523

Effective date: 20130115

A131 Notification of reasons for refusal

Free format text: JAPANESE INTERMEDIATE CODE: A131

Effective date: 20130219

A521 Written amendment

Free format text: JAPANESE INTERMEDIATE CODE: A523

Effective date: 20130328

TRDD Decision of grant or rejection written
A01 Written decision to grant a patent or to grant a registration (utility model)

Free format text: JAPANESE INTERMEDIATE CODE: A01

Effective date: 20130507

A61 First payment of annual fees (during grant procedure)

Free format text: JAPANESE INTERMEDIATE CODE: A61

Effective date: 20130520

R150 Certificate of patent or registration of utility model

Ref document number: 5287034

Country of ref document: JP

Free format text: JAPANESE INTERMEDIATE CODE: R150