JP2010046807A - 画像形成装置 - Google Patents

画像形成装置 Download PDF

Info

Publication number
JP2010046807A
JP2010046807A JP2008210381A JP2008210381A JP2010046807A JP 2010046807 A JP2010046807 A JP 2010046807A JP 2008210381 A JP2008210381 A JP 2008210381A JP 2008210381 A JP2008210381 A JP 2008210381A JP 2010046807 A JP2010046807 A JP 2010046807A
Authority
JP
Japan
Prior art keywords
paper
image forming
water
forming apparatus
belt
Prior art date
Legal status (The legal status is an assumption and is not a legal conclusion. Google has not performed a legal analysis and makes no representation as to the accuracy of the status listed.)
Granted
Application number
JP2008210381A
Other languages
English (en)
Other versions
JP5146193B2 (ja
Inventor
Tatsuro Watanabe
達郎 渡辺
Shinichi Shoji
真一 庄子
Takashi Miyagi
隆 宮城
Kengo Tsubaki
健悟 椿
Naoki Okazaki
直樹 岡崎
Yukihiro Asano
幸博 浅野
Current Assignee (The listed assignees may be inaccurate. Google has not performed a legal analysis and makes no representation or warranty as to the accuracy of the list.)
Ricoh Co Ltd
Original Assignee
Ricoh Co Ltd
Priority date (The priority date is an assumption and is not a legal conclusion. Google has not performed a legal analysis and makes no representation as to the accuracy of the date listed.)
Filing date
Publication date
Application filed by Ricoh Co Ltd filed Critical Ricoh Co Ltd
Priority to JP2008210381A priority Critical patent/JP5146193B2/ja
Publication of JP2010046807A publication Critical patent/JP2010046807A/ja
Application granted granted Critical
Publication of JP5146193B2 publication Critical patent/JP5146193B2/ja
Expired - Fee Related legal-status Critical Current
Anticipated expiration legal-status Critical

Links

Images

Landscapes

  • Ink Jet (AREA)
  • Handling Of Sheets (AREA)
  • Delivering By Means Of Belts And Rollers (AREA)
  • Feeding Of Articles By Means Other Than Belts Or Rollers (AREA)

Abstract

【課題】搬送ベルト上に空吐出を行う場合に用紙搬送性が低下する。
【解決手段】用紙Pを搬送する搬送ベルト43と、用紙Pに対して液滴を吐出するヘッドモジュール51とを備え、搬送ベルト43は、表面が撥水性を有する部材に、エアー吸引のための吸引孔45をベルト移動方向と直交する方向千鳥状に配列して形成し、各吸引孔45の周囲には、用紙Pを吸着保持するベルト表面よりも相対的に撥水性が低い又は撥水性がない用紙保持領域46を形成し、各吸引孔45及び用紙保持領域46以外の領域を撥水領域47とすることで、空吐出滴を受ける撥水性を有する撥水領域47と、撥水領域47よりも撥水性が相対的に低い、用紙Pを保持する用紙保持領域46とが、用紙搬送方向に直交する方向及び用紙搬送方向で交互に設けられる。
【選択図】図8

Description

本発明は画像形成装置に関し、特に液滴を吐出する記録ヘッドを備える画像形成装置に関する。
プリンタ、ファクシミリ、複写装置、プロッタ、これらの複合機等の画像形成装置として、例えばインク液滴を吐出する記録ヘッドを用いた液体吐出記録方式の画像形成装置としてインクジェット記録装置などが知られている。この液体吐出記録方式の画像形成装置は、記録ヘッドからインク滴を、搬送される用紙(紙に限定するものではなく、OHPなどを含み、インク滴、その他の液体などが付着可能なものの意味であり、被記録媒体あるいは記録媒体、記録紙、記録用紙などとも称される。)に対して吐出して、画像形成(記録、印字、印写、印刷も同義語で使用する。)を行なうものであり、記録ヘッドが主走査方向に移動しながら液滴を吐出して画像を形成するシリアル型画像形成装置と、記録ヘッドが移動しない状態で液滴を吐出して画像を形成するライン型ヘッドを用いるライン型画像形成装置がある。
なお、本願において、液体吐出方式の「画像形成装置」は、紙、糸、繊維、布帛、皮革、金属、プラスチック、ガラス、木材、セラミックス等の媒体に液体を吐出して画像形成を行う装置を意味し、また、「画像形成」とは、文字や図形等の意味を持つ画像を媒体に対して付与することだけでなく、パターン等の意味を持たない画像を媒体に付与すること(単に液滴を媒体に着弾させること)をも意味する。また、「インク」とは、インクと称されるものに限らず、記録液、定着処理液、液体などと称されるものなど、画像形成を行うことができるすべての液体の総称として用い、例えば、DNA試料、レジスト、パターン材料なども含まれる。
このような画像形成装置(以下、単に「インクジェット記録装置」ともいう。)においては、記録ヘッドは、インクをノズルから用紙に吐出させて記録を行なう関係上、ノズルからの溶媒の蒸発に起因するインク粘度の上昇や、インクの固化、塵埃の付着、さらには気泡の混入などにより吐出不良の状態となり、記録不良を起こすという問題を抱えている。
そのため、記録ヘッドからのインク滴吐出状態を良好に維持するため、印刷動作中に、画像形成に寄与しない液滴を吐出する、いわゆる空吐出動作を行うようにしている。
シリアル型画像形成装置にあっては、記録ヘッドを移動させながら記録を行うことから、空吐出を行なう位置を、用紙を搬送する搬送手段による用紙搬送経路外の領域に設定し、記録ヘッドの往復動作の一過程として搬送経路外で空吐出を行なうことができるため、印刷動作の中断時間は僅かであり、印刷速度が低下する問題は殆どない。
これに対して、記録ヘッドを移動させない状態(固定した状態)で画像形成を行うライン型画像形成装置にあっては、用紙搬送経路外に空吐出位置を設定した場合、印刷動作を中断させて記録ヘッドを搬送経路外の空吐出位置に移動させる必要があるため、相当の時間のロスが発生し、連続印刷及び高速印刷が実現されないという問題がある。
そこで、特許文献1には、連続印刷及び高速印刷に伴う印刷物の生産性を落とさないままで用紙上以外の領域で強制的に行なった空吐出インクをクリーニングする目的で、用紙搬送中の搬送ベルト上の所定の撥水性を有する吐出領域に吐出したインクに対して、クリーニングブレードを押し当て、そのまま吐出領域の隣に設置したメッシュ部を介してメッシュ部の裏側に設置した吸収体に掻き取ったインクを吸収させる構成が開示されている。
特開2004-114406号公報
特許文献2には、搬送ベルト上のインクの除去を確実に行なえるとともに、生産性を向上できることを目的として、表面の全体に撥液処理が施され、さらに複数個のディンプルや溝のような凹部を設けた搬送ベルトのほぼ同一の場所に対して、記録ヘッドの回復動作(予備吐出)を行うことによって、ベルト上の液滴を合体凝集させ、これを搬送ユニット下部のベルト転向位置でインク受けに自然落下させる構成が開示されている。
特許第3835468号号公報
特許文献3には、搬送ベルト上の一部の領域に非インク吸収材部を設け、その領域に空吐出を行い、クリーニング部材でクリーニングする構成が開示されている。
特開2004−299218号公報
特許文献4には、搬送ベルトに代えて、用紙に対して空吐出を行うことが記載されている。
特開2007−301733号公報
しかしながら、搬送ベルト上の特定の位置にインク撥水部を設けてインクを空吐出させてクリーニングする構成にあっては、用紙を搬送するときに搬送ベルト上の撥水部に用紙が載らないように用紙送り制御を行わなければならず、給紙制御が複雑になるばかりか、撥水部を避ける用紙送り制御を行った場合、一時的に用紙送りを停止したり、給紙タイミングを遅らせて用紙を送るなどの制御となってしまうために、画像形成の生産性(単位時間当たりの印刷枚数)に影響を与えてしまうという課題がある。
一方、搬送ベルトの全面を撥水部とする構成にあっては、用紙先端を搬送ベルト面に吸着させる力が弱くなってしまい、用紙先端が捲れあがって搬送ミスが生じるという課題がある。特に、搬送ベルトにエアー吸引用の孔を設けて用紙の片面をエアー吸着させながら用紙搬送を行っている構成においては、この用紙先端の吸着不足による搬送ミスが生じ易いという課題が顕著になる。
同様に、上述したように搬送ベルト上の特定の位置にインク撥水部を設け、撥水部を無視して用紙を送る用紙送り制御とした場合も撥水部に用紙が載ると、搬送ミスが生じるという課題が生じる。
本発明は上記の課題に鑑みてなされたものであり、搬送ベルトの用紙吸着力を落とすことなく搬送ベルト上に空吐出を行うことができるようにすることを目的とする。
上記の課題を解決するため、本発明に係る画像形成装置は、
用紙を搬送する搬送ベルトと、
前記用紙に対して液滴を吐出する複数のノズルが配列されたノズル列がベルト移動方向と直交する方向に配置された記録ヘッドと、を備え、
前記搬送ベルトには、前記記録ヘッドから吐出される画像形成に寄与しない液滴を受ける撥水性を有する撥水領域と、前記撥水領域よりも撥水性が相対的に低い、前記用紙を保持する用紙保持領域とが、用紙搬送方向に直交する方向で交互に設けられている
構成とした。
ここで、前記搬送ベルトの前記用紙保持領域には前記用紙をエアー吸着するための複数の吸引孔が形成されている構成とできる。
この場合、前記吸引孔の周囲に前記用紙保持領域が形成され、前記吸引孔の周囲の前記用紙保持領域を除く領域のすべてが前記撥水領域である構成とできる。
あるいは、前記吸引孔と前記吸引孔との間に前記撥水領域が個別的に配置されている構成とできる。
また、用紙搬送方向と直交する方向に配列された、前記搬送ベルトの前記撥水領域に吐出された液滴を清掃する複数の清掃部材を有している構成とできる。
この場合、前記清掃部材の列が用紙搬送方向に複数列設けられ、各列の清掃部材は用紙搬送方向と直交する方向に交互に配置されている構成とできる。
本発明に係る画像形成装置によれば、搬送ベルトには、記録ヘッドから吐出される画像形成に寄与しない液滴を受ける撥水性を有する撥水領域と、用紙を保持する撥水領域よりも撥水性が相対的に低い、用紙を保持する用紙保持領域とが、用紙搬送方向に直交する方向で交互に設けられている構成としたので、搬送ベルトの用紙吸着力を落とすことなく搬送ベルト上に空吐出を行うことができる。
以下、本発明の実施の形態について添付図面を参照して説明する。まず、本発明に係る画像形成装置の一例について図1及び図2を参照して説明する。なお、図1は同画像形成装置の全体構成を説明する概略構成図、図2は同装置の模式的平面説明図である。
この画像形成装置はライン型画像形成装置であり、装置本体1と、用紙Pを積載し給紙する給紙トレイ2と、印刷された用紙Pを排紙積載する排紙トレイ3と、用紙Pを給紙トレイ2から排紙トレイ3まで搬送する搬送ユニット4と、搬送ユニット4によって搬送される用紙Pに液滴を吐出し印字するヘッドモジュール51を含む画像形成ユニット5と、印刷終了後又は所要のタイミングで画像形成ユニット5の各記録ヘッドの維持回復を行う維持回復機構であるヘッドクリーニング装置6と、ヘッドクリーニング装置6を開閉する搬送ガイド部7と、画像形成ユニット5のヘッドモジュール51にインクを供給するインクタンクユニット8と、インクタンクユニット8にインクを供給するメインタンクユニット9とを備えている。
装置本体1は、図示しない前後側板及びステーなどで構成されており、給紙トレイ2上に積載されている用紙Pは、分離ローラ21及び給紙ローラ22によって1枚ずつ搬送ユニット4に給紙される。
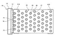
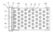
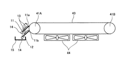
搬送ユニット4は、搬送駆動ローラ41Aと搬送従動ローラ41Bと、これらのローラ41A、41B間に掛け回された無端状の搬送ベルト43とを備えている。この搬送ベルト43の表面には複数の図示しない穴が形成されており、搬送ベルト43の下部には用紙Pを吸引する吸引ファン44が配置されている。また、搬送駆動ローラ41A、搬送従動ローラ41B上部には、それぞれ搬送ガイドローラ42A、42Bが図示しないガイドに保持されて、自重にてベルト43に当接している。
搬送ベルト43は、搬送駆動ローラ41Aが図示しないモータにより回転されることで周回移動し、用紙Pは搬送ベルト43上に吸引ファン44により吸い付けられ、搬送ベルト43の周回移動によって搬送される。なお、搬送従動ローラ41B、搬送ガイドローラ42A、42Bは搬送ベルト43に従動して回転する。
搬送ユニット4の上部には用紙Pに印字する液滴を吐出する複数のヘッドモジュール51で構成される画像形成ユニット5が矢示A方向(及び逆方向)に移動可能に配置されている。この画像形成ユニット5は、維持回復動作時(クリーニング時)にはクリーニング装置6上方まで移動され、画像形成時には図1の位置に戻される。
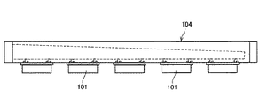
画像形成ユニット5は、図3及び図4に示すように、液滴を吐出する複数のノズル102をノズル面103に配列したノズル列102A、102Bを二列有する複数のヘッド101を一列に配列し、各ヘッド101にインクを分配供給する分岐部材104とともに一体化したヘッドモジュール(記録ヘッドユニット)51A、51B、51C、51Dが、用紙搬送方向に沿って並べてラインベース部材52に取付けられて配置されている。
ここでは、ヘッドモジュール51A、51Bの2つのノズル列の一方でイエロー(Y)の液滴を、他方でマゼンタ(M)の液滴を吐出し、また、ヘッドモジュール51C、51Dの2つのノズル列の一方でシアン(C)の液滴を、他方でブラック(K)の液滴を吐出する。つまり、この画像形成ユニット5は、同じ色の液滴を吐出する2つのヘッドモジュール51が用紙搬送方向に並べて配置され、2つのヘッドモジュール51で用紙幅相当の1列分のノズル列が構成されている構成としている。
この画像形成ユニット5の上流側にはインクタンクユニット8のインクタンク81(図示の都合上1つのインクタンクのみ符号を付している。)が配置され、供給チューブ82を介して各ヘッドモジュールユニット51に供給され、インクタンク81とヘッドモジュール51との水頭差によりヘッドモジュール51の各ヘッドに対する負圧が形成される。このインクタンクユニット8は画像形成ユニット5とともに矢示A方向に移動可能に配置されている。なお、インクタンク81からヘッドモジュール51に対する供給チューブ82は分かり易くするためヘッドモジュール51の上方から接続して状態で図示しているが、後述するように、ヘッドモジュール51の長手方向(用紙搬送方向と直交する方向)の端部に接続される。
さらに、インクタンク81の上流側にはメインタンクユニット9が配置され、メインタンク91から供給チューブ92を介してインクがインクタンク81に供給される。
搬送ユニット4の下流側には用紙Pを排紙トレイ3に排紙する搬送ガイド部7が設けられている。搬送ガイド部7にて案内されて搬送される用紙Pは排紙トレイ3に排紙される。排紙トレイ3は、用紙Pの幅方向を規制する対のサイドフェンス31と用紙Pの先端を規制するエンドフェンス32を備えている。
維持回復機構(ヘッドクリーニング装置)6は、画像形成ユニット5の各ヘッドモジュール51に対応して、4列分のクリーニング手段61A〜61Dが配置され、1つのクリーニング手段61はヘッドモジュール51の各ヘッドに対応するキャップ部材62及び図示しないがワイパ部材などで構成されている。なお、各クリーニング手段61のキャップ部材62は各列毎に独立して上下動させることができる構成としている。さらに、クリーニング手段61の下方には、キャップ部材62でヘッドモジュール51のノズル面をキャッピングした状態でノズルからインクを吸引するための吸引ポンプ63A〜63Dが配置されている。
また、この画像形成装置においては、印刷終了後、液滴を吐出するヘッドモジュール51の各ヘッドのノズル面をクリーニング手段61でキャッピングした状態でノズルからインクを吸引する場合、あるいは、ヘッドモジュール51の各ヘッドのノズル面に付着したインクをワイピング部材で清掃する場合は、図1にも示すように、印刷停止後、搬送ユニット4全体が搬送従動ローラ41Bを支点に矢印B方向に回動し、画像形成ユニット5との間の空間を画像形成時よりも大きくすることで、画像形成ユニット5の移動スペースを確保するようにしている。このとき、ヘッドクリーニング装置6上部に配置されている搬送ガイド部7も支点71にて矢印C方向上方に回動され、ヘッドクリーニング装置6の上方が開放される。
そして、搬送ユニット4と搬送ガイド部7がそれぞれ解放(解除)された後に、画像形成ユニット5が用紙通紙方向(矢示A方向)に移動し、ヘッドクリーニング装置6上方で停止され、クリーニング手段61が上昇して各ヘッドモジュール51のクリーニング動作(維持回復動作)に移行する。
次に、この画像形成装置における本発明の第1実施形態について図5ないし図7を参照して説明する。なお、図5は同実施形態の説明に供する要部平面説明図、図6は同じく正面説明図、図7はベルトクリーニング装置の要部拡大斜視説明図である。
搬送ベルト43は、表面が撥水性を有する部材に、エアー吸引のための吸引孔45をベルト移動方向(用紙を搬送する側では用紙搬送方向と同じ)と直交する方向千鳥状に配列して形成し、各吸引孔45の周囲には、用紙Pを吸着保持するベルト表面よりも摩擦抵抗が大きい(相対的に撥水性が低い又は撥水性がない)用紙保持領域46を形成し、各吸引孔45及び用紙保持領域46以外の領域を撥水領域47としている。
これにより、搬送ベルト43には、記録ヘッドであるヘッドモジュール51の各ヘッド101から吐出される画像形成に寄与しない液滴(空吐出滴)を受ける撥水性を有する撥水領域47と、撥水領域47よりも撥水性が相対的に低い、用紙Pを保持する用紙保持領域46とが、用紙搬送方向に直交する方向及び用紙搬送方向で交互に設けられることになる。
したがって、搬送ベルト43上に空吐出を行う場合には各吸引孔45及び用紙保持領域46以外の領域である撥水領域47に対して空吐出を行うことができ、この場合、用紙Pは用紙保持領域46によって確実に保持されるので、吸着不足によって用紙先端が捲れあがって搬送ミスが生じることを防止できる。つまり、吸引孔45の周りを摩擦係数の大きい用紙保持領域46とすることで、吸引孔45から吸い込まれるエアーの力によって用紙Pをこの用紙保持領域46に強力に吸着させることができ、用紙の搬送性能が損なわれない。
また、用紙搬送方向と直交する方向の各吸引孔45は、ヘッドモジュール51A〜51Dのヘッド101間に位置するように形成し、各吐出孔45間及び両端の吐出孔45の外側の撥水領域47に対してヘッドモジュール51A〜51Dのヘッド101の各ヘッド101から空吐出をできるようにしている。
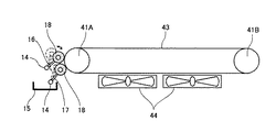
一方、搬送ベルト43の排紙側にはヘッドクリーニング装置6との間に搬送ベルト43上に吐出された空吐出滴を清掃除去するベルトクリーニング手段としてのベルトクリーニング装置10を配設している。
このベルトクリーニング装置10は、清掃部材である複数(ここでは2つ)のクリーニング部材11、12をベルト移動方向に位置をずらして配置している。各クリーニング部材11,12は、クリーニングブレードであって、搬送ベルト43の吸引孔45を避けるようにベルト移動方向に対向する側が凹凸状に形成されて、凸状部分を搬送ベルト43に接触するブレード11a、12aとしている。
そして、クリーニング部材11、12のブレード11a、12aにはインクの廃液を吸収できるスポンジやフェルト等の多孔質部材からなる吸収部材13を取付け、ブレード11a、12aでかき集められたインクの廃液が直ぐに吸収部材13に吸収されるようにしている。なお、ブレード11a、12aの先端(ベルト移動方向に対向する端)に対して吸収部材13の先端を距離Y1だけ後退させて配置している。これにより、撥水領域47のインククリーニング性能を高めることができる。この距離Y1はブレード先端から0〜1mmの範囲であることが好ましい。
これらのクリーニング部材11、12は、支軸14、14にて図6の矢示方向に揺動可能に軸支して、搬送ベルト43に対して接触及び離間可能に配設している。また、クリーニング部材11、12の下側には吸収部材13から廃液が垂れた場合に受ける廃液溜め部15が配置されている。
次に、この画像形成装置における制御部の概要について図9のブロック説明図を参照して説明する。
この制御部は、この画像形成装置全体の制御を司る空吐出制御手段を兼ねるマイクロコンピュータ、画像メモリ、通信インタフェースなどで構成した主制御部(システムコントローラ)501を備えている。主制御部501は、外部の情報処理装置(ホスト側)などから転送される画像データ及び各種コマンド情報に基づいて用紙に画像を形成するために、印刷制御部502に印刷用データを送出する。
印刷制御部502は、主制御部501からの受領する印刷データ信号に基づいて、記録ヘッドユニット51のノズル102から液滴を吐出させるための圧力発生手段を駆動するためのデータを生成し、このデータの転送及び転送の確定などに必要な各種信号などをヘッドドライバ503に転送するとともに、駆動波形データ格納手段である記憶部、駆動波形のデータをD/A変換するD/A変換器及び電圧増幅器や電流増幅器等で構成される駆動波形生成部、ヘッドドライバ503に与える駆動波形を選択する選択手段を含み、1の駆動パルス(駆動信号)或いは複数の駆動パルス(駆動信号)で構成される駆動波形を生成してヘッドドライバ503に出力して、記録ヘッド51を駆動制御する。
また、主制御部501は、モータドライバ504を介して、搬送ベルト43を周回移動させる用紙送りモータ505、クリーニング装置10のクリーニング部材11,12を揺動させる駆動モータ508(駆動手段はソレノイドなどでもよい。)を駆動制御する。
また、主制御部501には、前述した用紙Pの先端、後端を検出する図示しない用紙センサを含むセンサ群506からの検出信号が入力され、また、操作部507との間で各種情報の入出力及び表示情報のやり取りを行う。
次に、このように構成したこの実施形態における制御部による空吐出制御について図10に示すフロー図を参照して説明する。
印字中又は待機中において、特定のノズルの使用頻度が低くなり、ある時間以上インクが吐出されない状態が続くと、ノズル近傍のインク溶媒が蒸発してインク粘度が高くなる現象が発生し、このような状態になるとヘッドモジュール51のヘッド101から吐出する液滴の吐出不良(噴射曲がりや吐出不能)が生じることから、画像形成に寄与しない液滴(空吐出滴)を吐出させて劣化インク(粘度が上昇したノズル近傍のインク)を排出する空吐出動作を行う。
この空吐出動作は、予め定められた非稼働ノズルの経過時間或いは記録回数経過した後に実施される。
そこで、主制御部501は、図10に示すように、所定時間又は所定回数に達するまで記録動作が連続的に行われて、空吐出実行がエントリイされたときには、次に搬送される用紙Pの先端(又は後端)を検知しておき、現在搬送中(画像形成中)の用紙Pの後端がヘッドモジュール51を通過した後に、ヘッドモジュール51のヘッド101から空吐出滴を搬送ベルト43に吐出させる。
つまり、現在搬送中の用紙Pの後端と次に搬送される用紙Pの先端との搬送間隔を利用し、ヘッドモジュール51との対向位置に用紙Pの相互の隙間(紙間)が位置したときに、その紙間の搬送ベルト43の撥水領域47に向けてヘッド101から空吐出滴を吐出させる。
この場合、ヘッドモジュール51Aから空吐出を行なった後、紙間位置の撥水領域47がヘッドモジュール51Bの対向位置に移動したときに、その紙間における搬送ベルト43の撥水領域47に向けて空吐出を行う。このとき、図8に示すように、ヘッドモジュール51Aと51Bの各ヘッド101は相互に千鳥配置となるので、ヘッドモジュール51Aと51Bから空吐出された液滴で構成されるライン状の空吐出画像151a、151bは千鳥状に配列される撥水領域部分150に吐出されることになる。なお、ヘッドモジュール51Cはヘッドモジュール51Aと同じ位置に、ヘッドモジュール51Dはヘッドモジュール51Bと同じ位置にそれぞれ空吐出することで、2列の空吐出画像151a、151bとしている。
このようにして搬送ベルト43上に形成された空吐出画像151a、151bを清掃除去するクリーニング動作を行う。このクリーニング動作では、所定のタイミングでクリーニング部材11、12を交互に搬送ベルト43表面に押し付けて行う。これにより、吸引孔45及び用紙保持領域46にはクリーニング部材11、12が押付けられないようにしている。
なお、2つのクリーニング部材11、12を押し付けるタイミングは、ヘッド101から空吐出された情報、搬送ベルト43の速度情報、ヘッド101からクリーニング部材11,12までの距離の情報に基づいて空吐出画像151a、151bが2つのクリーニング部材11、12に到達するまでの時間を算出して行われる。
この場合、2つのクリーニング部材11、12を押し付けるタイミングは、少し早めのタイミングでも特に問題はなく、2つのクリーニング部材11、12を交互に押付け/解除(接触/退避)を数回繰り返せばよい。
この実施形態では、吸引孔45及び用紙保持領域46以外の領域が撥水領域47であるので、空吐出領域も広くなり、吐出タイミングの精度を緩和でき、またクリーニング範囲を長くとることができる。なお、前述したように、搬送ベルト43の表面の殆どは撥水領域47であるが、実際に空吐出される領域150は図8に示すように破線で示す領域となる。
また、空吐出は、図8に示すように、用紙搬送方向に並ぶ2つの用紙保持領域46、46間の撥水領域47のうち、用紙搬送方向下流側の用紙保持領域46の近傍に行うようにしている。これにより、クリーニング部材11、12は用紙搬送方向下流側から搬送ベルト43に押し付けるために、上流側に向かうに従ってインクのクリーニングが完了することになり、クリーニング範囲を有効に使用できる。
このように、搬送ベルトには、記録ヘッドから吐出される画像形成に寄与しない液滴を受ける撥水性を有する撥水領域と、用紙を保持する撥水領域よりも撥水性が相対的に低い、用紙を保持する用紙保持領域とが、用紙搬送方向に直交する方向で交互に設けられている構成としたので、搬送ベルトの用紙吸着力を落とすことなく搬送ベルト上に空吐出を行うことができる。
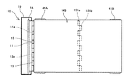
次に、本発明の第2実施形態について図11ないし図13を参照して説明する。なお、図11は同実施形態の説明に供する要部平面説明図、図12は同じく正面説明図、図13はベルトクリーニング装置の要部拡大斜視説明図である。
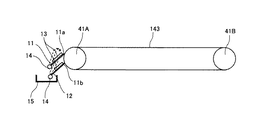
ベルトクリーニング装置10は、用紙搬送方向と直交する方向に互い違いに凹凸形状にした支持体16、17の凸状部分の先端部に清掃部材としての吸収体ローラ18を回転自在に保持している。吸収体ローラ18としては、インク吸収できるスポンジやフェルト状のものを多孔質体のローラを使用している。
この吸収体ローラ18は搬送ベルト43と連れまわる構成としているが、吸収体ローラ18に独立で回転駆動を与えた状態で搬送ベルト43に押付ける構成とすることもできる。
このように、清掃部材を吸収体ローラとすることで、ブレード形状に比べて、搬送ベルト43の吸引孔45を避けて搬送ベルト43に対して押付け及び解除をするためのタイミングの精度としては厳しくないため、制御が容易になる。
次に、本発明の第3実施形態について図14を参照して説明する。なお、図14は同実施形態の説明に供する要部平面説明図である。
搬送ベルト43は、エアー吸引のための吸引孔45をベルト移動方向(用紙を搬送する側では用紙搬送方向と同じ)と直交する方向千鳥状に配列して形成し、各吸引孔45の間に個別的に撥水性を有する撥水領域147を個別的に配置し、吸引孔45及び撥水領域147を除く領域を、用紙Pを吸着保持する摩擦抵抗が大きい(相対的に撥水領域47よりも撥水性が低い又は撥水性がない)用紙保持領域146としている。
これにより、搬送ベルト43には、記録ヘッドであるヘッドモジュール51の各ヘッド101から吐出される画像形成に寄与しない液滴(空吐出滴)を受ける撥水性を有する撥水領域147と、撥水領域147よりも撥水性が相対的に低い、用紙Pを保持する用紙保持領域146とが、用紙搬送方向に直交する方向及び用紙搬送方向で交互に設けられることになる。
このように撥水領域147を個別的に配置することによって、撥水領域147として空吐出に必要な最小限の領域を確保し、摩擦係数が大きな用紙保持領域146の面積を広くとるようにすることで、用紙を搬送するときの用紙保持性が向上して、より安定した用紙搬送性能が得られる。
なお、撥水領域147のうち実際の空吐出に使用する領域151、空吐出画像150の形成は前述した図8で説明した同様である。
次に、本発明におけるベルトクリーニング装置を静電吸着搬送ベルトの清掃に適用した例について図15及び図16を参照して説明する。
静電吸着搬送ベルト243は、吸引孔が無く、表面全体が撥水性を有する材質で形成されるので、いずれも位置でも空吐出を行うことができる。この場合、空吐出制御では、用紙搬送方向と直交する方向に一列に空吐出滴が配置されるのではなく、空吐出画像251が千鳥状に配列されるタイミングで吐出させている。そして、例えば前述した第1実施形態のベルトクリーニング装置10を備えている。
このように構成することで、搬送ベルト43上の空吐出滴のクリーニング残りが発生して、その拭き残した液滴が用紙の裏面に転写されたとしても、千鳥状に転写されることになり、一直線で転写されるよりも目立ち難くなる。また、上述したベルトクリーニング装置10のように互い違いに凹凸の2段のクリーニング部材を備えて空吐出滴を拭き取ることで、万一の拭き残しが生じてもインク残り状態も千鳥状となる。
また、静電吸着搬送ベルトを用いる場合でも、撥水領域と撥水性を有しない用紙保持領域とを用紙搬送方向と直交する方向に交互に配置する構成とすることもできる。
なお、上記実施形態では記録ヘッドとして、複数のヘッドを並べて配置したヘッドモジュール(記録ヘッドユニット)を使用しているが、1つのヘッドで用紙全幅のノズル列を有するフルライン型ヘッドを用いる場合でも同様に適用することができる。
このフルライン型ヘッドを用いた場合には、1つのノズル列を複数のノズルからなる複数のノズル群(例えば前記各実施形態のヘッド101のノズル列の長さに相当する数のノズル毎)に分割して、各ノズル群毎に滴吐出タイミングをずらすことよって、前述した図8などと同様に、用紙搬送方向と直交する方向に分割され、用紙搬送方向に並ぶような空吐出画像を形成することができる。
本発明に係る画像形成装置の全体構成を説明する概略構成図である。 同じく平面説明図である。 ヘッドモジュールの説明図である。 ヘッドの説明図である。 本発明の第1実施形態の説明に供する要部平面説明図である。 同じく正面説明図である。 同じくベルトクリーニング装置の要部拡大斜視説明図である。 空吐出動作の説明に供する要部平面説明図である。 制御部の概要を示すブロック説明図である。 空吐出動作の制御の説明に供するフロー図である。 本発明の第2実施形態の説明に供する要部平面説明図である。 同じく正面説明図である。 同じくベルトクリーニング装置の要部拡大斜視説明図である。 本発明の第3実施形態の説明に供する要部平面説明図である。 本発明を静電吸着ベルトに適用した例の説明に供する要部平面説明図である。 同じく正面説明図である。
符号の説明
4…搬送ユニット
5…画像形成ユニット
10…ベルトクリーニング装置
11、12…クリーニング部材
11a、12a…ブレード
16、17…クリーニング部材
18…吸収体ローラ
43…搬送ベルト
45…吸引孔
46…用紙保持領域
47…撥水領域
51…ヘッドモジュール(記録ヘッドユニット)

Claims (6)

  1. 用紙を搬送する搬送ベルトと、
    前記用紙に対して液滴を吐出する複数のノズルが配列されたノズル列がベルト移動方向と直交する方向に配置された記録ヘッドと、を備え、
    前記搬送ベルトには、前記記録ヘッドから吐出される画像形成に寄与しない液滴を受ける撥水性を有する撥水領域と、前記撥水領域よりも撥水性が相対的に低い、前記用紙を保持する用紙保持領域とが、用紙搬送方向に直交する方向で交互に設けられている
    ことを特徴とする画像形成装置。
  2. 請求項1に記載の画像形成装置において、前記搬送ベルトの前記用紙保持領域には前記用紙をエアー吸着するための複数の吸引孔が形成されていることを特徴とする画像形成装置。
  3. 請求項2に記載の画像形成装置において、前記吸引孔の周囲に前記用紙保持領域が形成され、前記吸引孔の周囲の前記用紙保持領域を除く領域のすべてが前記撥水領域であることを特徴とする画像形成装置。
  4. 請求項2に記載の画像形成装置において、前記吸引孔と前記吸引孔との間に前記撥水領域が個別的に配置されていることを特徴とする画像形成装置。
  5. 請求項1ないし4のいずれかに記載の画像形成装置において、用紙搬送方向と直交する方向に配列された、前記搬送ベルトの前記撥水領域に吐出された液滴を清掃する複数の清掃部材を有していることを特徴とする画像形成装置。
  6. 請求項5に記載の画像形成装置において、前記清掃部材の列が用紙搬送方向に複数列設けられ、各列の清掃部材は用紙搬送方向と直交する方向に交互に配置されていることを特徴とする画像形成装置。
JP2008210381A 2008-08-19 2008-08-19 画像形成装置 Expired - Fee Related JP5146193B2 (ja)

Priority Applications (1)

Application Number Priority Date Filing Date Title
JP2008210381A JP5146193B2 (ja) 2008-08-19 2008-08-19 画像形成装置

Applications Claiming Priority (1)

Application Number Priority Date Filing Date Title
JP2008210381A JP5146193B2 (ja) 2008-08-19 2008-08-19 画像形成装置

Publications (2)

Publication Number Publication Date
JP2010046807A true JP2010046807A (ja) 2010-03-04
JP5146193B2 JP5146193B2 (ja) 2013-02-20

Family

ID=42064332

Family Applications (1)

Application Number Title Priority Date Filing Date
JP2008210381A Expired - Fee Related JP5146193B2 (ja) 2008-08-19 2008-08-19 画像形成装置

Country Status (1)

Country Link
JP (1) JP5146193B2 (ja)

Cited By (6)

* Cited by examiner, † Cited by third party
Publication number Priority date Publication date Assignee Title
JP2011213057A (ja) * 2010-04-01 2011-10-27 Seiko Epson Corp インクジェット記録方法及び記録物
CN102310655A (zh) * 2010-07-02 2012-01-11 株式会社理光 图像形成设备和用于维护头的方法
JP2012250384A (ja) * 2011-06-01 2012-12-20 Ricoh Co Ltd 画像形成装置
JP2014047034A (ja) * 2012-08-31 2014-03-17 Seiko Epson Corp ベルト洗浄装置、媒体送り装置およびインクジェット記録装置
JP2017197324A (ja) * 2016-04-26 2017-11-02 セイコーエプソン株式会社 印刷装置
US11590773B2 (en) 2020-09-16 2023-02-28 Ricoh Company, Ltd. Sheet conveyor, sheet heater, liquid discharge apparatus, and printer that reduce sheet deformation via multiple supports

Cited By (6)

* Cited by examiner, † Cited by third party
Publication number Priority date Publication date Assignee Title
JP2011213057A (ja) * 2010-04-01 2011-10-27 Seiko Epson Corp インクジェット記録方法及び記録物
CN102310655A (zh) * 2010-07-02 2012-01-11 株式会社理光 图像形成设备和用于维护头的方法
JP2012250384A (ja) * 2011-06-01 2012-12-20 Ricoh Co Ltd 画像形成装置
JP2014047034A (ja) * 2012-08-31 2014-03-17 Seiko Epson Corp ベルト洗浄装置、媒体送り装置およびインクジェット記録装置
JP2017197324A (ja) * 2016-04-26 2017-11-02 セイコーエプソン株式会社 印刷装置
US11590773B2 (en) 2020-09-16 2023-02-28 Ricoh Company, Ltd. Sheet conveyor, sheet heater, liquid discharge apparatus, and printer that reduce sheet deformation via multiple supports

Also Published As

Publication number Publication date
JP5146193B2 (ja) 2013-02-20

Similar Documents

Publication Publication Date Title
JP5143930B2 (ja) 画像形成装置及びインクジェット記録装置
JP5653245B2 (ja) インクジェット記録装置及び記録ヘッドの回復方法
JP5353530B2 (ja) 画像形成装置
JP5146193B2 (ja) 画像形成装置
JP2022148025A (ja) インクジェット記録装置
EP3020670A1 (en) Device for redirecting sheets in a printing system
JP3852883B2 (ja) インクジェット記録装置
JP2013154591A (ja) 画像形成装置
JP5282549B2 (ja) 画像形成装置
JP6232862B2 (ja) 画像形成装置
JP2011184163A (ja) 画像形成装置
JP3801603B2 (ja) 画像形成装置
JP4947009B2 (ja) 液体吐出装置
JP5282585B2 (ja) 画像形成装置
JP4321515B2 (ja) インクジェット記録装置
JP2014008725A (ja) 画像形成装置
JP5085047B2 (ja) 画像形成装置及びインクジェット記録装置
US20090141066A1 (en) Recording Device
JP2011084004A (ja) 画像形成装置
JP4841386B2 (ja) 液体吐出装置および液体吐出装置の清掃方法
JP2010058348A (ja) 画像形成装置
JP2006175883A (ja) 画像形成装置
JP5832623B2 (ja) インクジェット記録装置及び記録ヘッドの回復方法
JP2014015020A (ja) インクジェット記録装置
CN114559747B (zh) 擦拭器机构

Legal Events

Date Code Title Description
A621 Written request for application examination

Free format text: JAPANESE INTERMEDIATE CODE: A621

Effective date: 20110613

A977 Report on retrieval

Free format text: JAPANESE INTERMEDIATE CODE: A971007

Effective date: 20121022

TRDD Decision of grant or rejection written
A01 Written decision to grant a patent or to grant a registration (utility model)

Free format text: JAPANESE INTERMEDIATE CODE: A01

Effective date: 20121030

A61 First payment of annual fees (during grant procedure)

Free format text: JAPANESE INTERMEDIATE CODE: A61

Effective date: 20121112

FPAY Renewal fee payment (prs date is renewal date of database)

Free format text: PAYMENT UNTIL: 20151207

Year of fee payment: 3

LAPS Cancellation because of no payment of annual fees