JP2010046485A - 歯科用放射線装置とその利用法 - Google Patents

歯科用放射線装置とその利用法 Download PDF

Info

Publication number
JP2010046485A
JP2010046485A JP2009193274A JP2009193274A JP2010046485A JP 2010046485 A JP2010046485 A JP 2010046485A JP 2009193274 A JP2009193274 A JP 2009193274A JP 2009193274 A JP2009193274 A JP 2009193274A JP 2010046485 A JP2010046485 A JP 2010046485A
Authority
JP
Japan
Prior art keywords
image acquisition
slit
collimation
sensor
axis
Prior art date
Legal status (The legal status is an assumption and is not a legal conclusion. Google has not performed a legal analysis and makes no representation as to the accuracy of the status listed.)
Granted
Application number
JP2009193274A
Other languages
English (en)
Other versions
JP5519974B2 (ja
Inventor
Sylvie Bothorel
ボトレル シルビィ
Vincent Loustauneau
ルストノー バンサン
Jean-Marc Inglese
アングルス ジャン−マルク
Current Assignee (The listed assignees may be inaccurate. Google has not performed a legal analysis and makes no representation or warranty as to the accuracy of the list.)
Trophy SAS
Original Assignee
Trophy SAS
Priority date (The priority date is an assumption and is not a legal conclusion. Google has not performed a legal analysis and makes no representation as to the accuracy of the date listed.)
Filing date
Publication date
Application filed by Trophy SAS filed Critical Trophy SAS
Publication of JP2010046485A publication Critical patent/JP2010046485A/ja
Application granted granted Critical
Publication of JP5519974B2 publication Critical patent/JP5519974B2/ja
Expired - Fee Related legal-status Critical Current
Anticipated expiration legal-status Critical

Links

Images

Classifications

    • AHUMAN NECESSITIES
    • A61MEDICAL OR VETERINARY SCIENCE; HYGIENE
    • A61BDIAGNOSIS; SURGERY; IDENTIFICATION
    • A61B6/00Apparatus or devices for radiation diagnosis; Apparatus or devices for radiation diagnosis combined with radiation therapy equipment
    • A61B6/50Apparatus or devices for radiation diagnosis; Apparatus or devices for radiation diagnosis combined with radiation therapy equipment specially adapted for specific body parts; specially adapted for specific clinical applications
    • A61B6/51Apparatus or devices for radiation diagnosis; Apparatus or devices for radiation diagnosis combined with radiation therapy equipment specially adapted for specific body parts; specially adapted for specific clinical applications for dentistry

Landscapes

  • Health & Medical Sciences (AREA)
  • Life Sciences & Earth Sciences (AREA)
  • Medical Informatics (AREA)
  • Engineering & Computer Science (AREA)
  • Optics & Photonics (AREA)
  • Biomedical Technology (AREA)
  • Biophysics (AREA)
  • High Energy & Nuclear Physics (AREA)
  • Oral & Maxillofacial Surgery (AREA)
  • Nuclear Medicine, Radiotherapy & Molecular Imaging (AREA)
  • Dentistry (AREA)
  • Pathology (AREA)
  • Radiology & Medical Imaging (AREA)
  • Physics & Mathematics (AREA)
  • Heart & Thoracic Surgery (AREA)
  • Molecular Biology (AREA)
  • Surgery (AREA)
  • Animal Behavior & Ethology (AREA)
  • General Health & Medical Sciences (AREA)
  • Public Health (AREA)
  • Veterinary Medicine (AREA)
  • Apparatus For Radiation Diagnosis (AREA)

Abstract

【課題】歯科用放射線装置の改善。
【解決手段】複数の形状のコリメーション用スリットにより適切にX線をコリメートするコリメーション装置を有するX線発生装置(18)と、画像取得用の第1の面、第2の面、第3の面を有する少なくとも1つのX線センサー(20a、20b)とを備える歯科用放射線装置において、各面が適切な形状のスリットと向かい合って配置され、パノラマ撮影モードと、コーン・ビーム断層撮影モードと、パノラマ撮影モードで利用される軌跡を決定するモードのそれぞれにおいて利用される。第3のモードでは、面Pに沿って延伸する1つの形状のスリットが、第2の面で面Pに垂直なZ軸に沿っている一部に対応する第3の面と向かい合うように配置され、X線発生装置とセンサーの組立体が、Z軸に平行な軸のまわりに回転駆動される。
【選択図】図1

Description

本発明は、歯科用放射線装置と、その利用法に関する。
歯科放射線医学の分野では、例えばパノラマ画像またはコーン・ビーム断層画像を取得するため、X線発生装置とX線センサーのそれぞれをアーチの形態になった構造体のアームに取り付けた状態で備える歯科用放射線装置が知られている。
パノラマ画像しか得られない装置が存在している一方で、別の装置は、パノラマ画像とコーン・ビーム断層画像の両方を生成させることができる。
第2のタイプの装置は、2つのタイプのセンサーと、2つのコリメーション用スリットを有する1つのX線発生装置とを備えている。2通りの動作のそれぞれ、すなわちパノラマ撮影モードとコーン・ビーム断層撮影モードのそれぞれについて、2つのスリットのうちで2つのセンサーの一方に対応するものが利用される。
より詳細には、この装置をパノラマ撮影モードで動作させるため、X線発生装置には鉛直方向のコリメーション用スリット(第1のスリット)が設けられていて、センサーのうちの1つ(第1のセンサー)は、画素マトリックスの形態にされて、そのX線発生装置の第1のスリットと向かい合って配置される鉛直方向のスリットの背後に配置される。
X線撮影をする対象物は、X線発生装置と第1のセンサーの間に配置される。X線は、スリットによってコリメートされた円錐の形態でX線発生装置からその対象物に向けて発生する。センサーは、その対象物を照射したX線を受光して電気信号に変換し、照射された対象物の画像信号を出力する。
このタイプの装置を用いて患者の顎のX線撮影を行ない、特にその顎のパノラマ画像を取得することを望む場合には、患者はアーチの下でX線発生装置とセンサーの間に座った状態または立った状態になる。
センサーが患者の顎の画像信号を供給できるよう、アーチは、顎にX線を照射している間に鉛直回転軸のまわりを回転する。
アーチの回転軸は、回転運動すると同時に、患者の歯列弓の形状に沿った馬蹄形の軌跡を描く。興味の対象となる求める領域(歯列弓)は顎をカバーしている。
しかしX線発生装置とセンサーは患者の両側に位置しているため、回転中にセンサーによって捕集される取得画像において骨構造が顎と重なることになる。
この重複の影響を制限するため、センサーの画素を、アーチの運動と位置に依存した速度でシフトさせる。すると運動によるぼけが生じ、望ましくない上記の骨構造が水平な帯(引きずりによるぼけ)となるため、診断を確立する際の不便さが制限される。
さらに、軌跡がたどる運動とは逆方向にシフトして読み取られるセンサーの画素は、鮮明領域にある歯列弓の面に対して固定されたままに留まるようにされている。
この方法はTDI(時間遅延積分)という名称で知られており、線量の収支をよりよくするのにも寄与する。
アーチの回転速度、回転中心の軌跡、センサー上の画素の並進速度を組み合わせることで、患者の歯列弓に従うある程度広い帯の形状の鮮明領域を得ることができる。この鮮明領域の両側に位置する対象物は、引きずりによるぼけとなる。
患者の顎の展開図として現われる得られた画像のレベルでは、鮮明領域の中に位置する対象物は、この鮮明領域の両側に位置する対象物によって生じる引きずりによるぼけから明らかに分離しているため、診断が容易になる。
この軌跡に沿ったセンサーとX線発生装置の移動は、アーチの上方に位置していて回転面内でX軸とY軸に沿ってセンサーとX線発生装置の運動を制御するためのサーボモータ機構(例えばX、Y方向に制御される盤)のおかげでなされる。
この機構を制御するには、患者の歯列弓の形状に合った軌跡を知る必要がある。
ところでパノラマ画像を得るとき、装置のオペレータは、患者の顎に合わせてセンサーとX線発生装置の移動を制御することを可能にする情報を利用できない。
したがって装置は、オペレータが標準的な複数の歯列弓の形状を利用できるようにされていることが非常にしばしばあり、オペレータはその中から、X線撮影する患者に最も合っていると思われるものを選択する。標準的な形状は典型的な形状の統計データに基づいている。次に、センサーとX線発生装置の組立体が、選択した歯列弓の標準的な形状に対応する軌跡をたどるように装置をプログラムする(軌跡は、歯列弓の標準的な形状の互いに反対側の2つの辺の間の平均線として規定される)。
しかしこの解決法は完全に満足のゆくものではない。というのも、センサーとX線発生装置が患者の顎の形状に合った位置にないからである。
その結果、このようにして得られた画像内の興味の対象となる領域の鮮明さに問題が生じる可能性がある。例えば患者の歯は、オペレータが選択した歯列弓の標準的な形状に完全には含まれない可能性がある。
さらに、上に説明したばかりの選択法では、パノラマ画像を得るのにオペレータが複数の操作を実行せねばならない。しかもこのパノラマ画像では、歯列弓のいくつかの領域(門歯、臼歯など)が不正確になることがある。
以上のことを考慮すると、上記の問題のうちの少なくとも1つを解決するのに少なくともわずかでも寄与できる装置と、その利用法があると興味深いであろう。
そこで本発明では、歯科用放射線装置として、
X線の出力ウインドウと、そのウインドウの前に位置していて、複数の形状のコリメーション用スリットを利用してX線を適切にコリメートするコリメーション装置とを有するX線発生装置と、
少なくとも1つのセンサーと、を具備し、
少なくとも1つのセンサーは画像取得用の第1の面と画像取得用の第2の面を備えていて、
画像取得用の第1の面は、面Pに垂直な軸Zに沿って延びていて歯科用放射線装置が第1の位置にあるときに利用され、X線発生装置とこの画像取得用の第1の面の間に位置する顎のパノラマ画像を生成させ、このパノラマ画像は、Z軸に沿って延伸する第1の形状のコリメーション用スリットによってコリメートされてセンサーの画像取得用の第1の面によって受光されるX線をもとにして、面P内の所定の軌跡に沿ったX線発生装置と第1の面の移動と、Z軸に平行な軸のまわりの回転とを組み合わせることによって生成され、
画像取得用の第2の面は、歯科用放射線装置が第2の位置にあるときにコーン・ビーム断層撮影モードで利用され、第2の形状のコリメーション用スリットによってコリメートされて画像取得用の第2の面によって受光されるX線をもとにして、顎の一部だけの立体表示を、X線発生装置と第2の面をZ軸に平行な軸のまわりに回転させることによって生成させ、第2の形状のコリメーション用スリットは、画像取得用の第2の面に合ったサイズを有する、
構成にされた歯科用放射線装置において、
この歯科用放射線装置が、第3の利用位置を占めることができ、そうするためにX線出力ウインドウの前に、面Pに平行な方向に沿って延びていて、第2の面のZ軸に沿った一部に対応する画像取得用の第3の面と協働させるためその画像取得用の第3の面と向かい合って配置される第3の形状のコリメーション用スリットを位置決めする手段を備えていて、面Pに平行な方向に沿ったこのスリットの長手方向のサイズが、画像取得用の第2の面のこの同じ方向に沿ったサイズに適合している、
ことを特徴とする歯科用放射線装置を提案する。
したがってパノラマ撮影モードとコーン・ビーム断層撮影モードで動作することのできるこの歯科用放射線装置には、パノラマ画像をのちに生成させるときに上記少なくとも1つのセンサーと第1のスリットがたどる軌跡を決定することを目的として、コーン・ビーム断層撮影を利用する新しい動作モードが中間モード(装置の第3の位置)として備わっている。
この中間モードでは、歯科用放射線装置は、従来のようにコーン・ビーム断層撮影で利用される画像取得用の第1の面と向かい合わせに面P内を延伸する第3の形状のコリメーション用スリットを配置する構成にされている。
より詳細には、歯科用放射線装置のこの新しい構成によって新しい機能が得られ、この装置により、(コーン・ビーム断層撮影によって)顎の一部の立体表示を得ることができる。このような方向を向いた第3の形状のスリットと画像取得用の第1の面に適合したサイズになっていることで、幅方向に関して顎の一部だけの立体表示を得ることができる。この立体表示は、装置が通常のパノラマ撮影モードで動作してパノラマ画像を得るときに利用されることになるデータを含んでいる。
歯科用放射線装置のこの新しい構成を利用して対象物の異なる部分の複数の立体表示が得られることに注意されたい。
例えば1つの特徴によれば、この装置は、コーン・ビーム断層撮影モードにおいて、画像取得用の第3の面−面Pに平行に延伸する第3の形状のコリメーション用スリットを有するX線発生装置の組立体をもとにして、それぞれが顎の異なる部分を表わす立体表示を所定の個数取得する手段を備えている。
立体表示がこのように複数あることで、装置のパノラマ撮影動作モードの改善を可能にするのに必要なデータが供給される。
そのためには、顎で噛み合わせ領域(2つの歯列弓で歯が互いに接触する部分)の上方と下方に位置する部分がカバーされるように立体表示の数を選択する。
より詳細には、この歯科用放射線装置は、
画像取得用の第3の面−面Pに平行に延伸する第3の形状のコリメーション用スリットを有するX線発生装置の組立体を、面P内で、Z軸に平行な固定軸のまわりに位置決めする手段と、
第3の面−X線発生装置の組立体を固定軸のまわりに回転駆動する手段と、
回転運動の間に第3の面−X線発生装置の組立体が取る複数の位置について、面Pに平行な方向を向いた第3の形状のスリットによってコリメートされたX線を照射された顎の1つの部分に関する複数の画像信号を取得する手段と、
を備えている。
断層撮影モードで動作する装置に特有のこれら手段が、面Pに平行な向きで長手方向のサイズが画像取得用の第2の面の幅に合ったスリットの形状と組み合わさることで、顎の一部の画像に関する信号を得ることができる。
顎のこの部分の高さは顎全体の高さには対応していないが、求める情報はほぼ噛み合わせ領域のレベルに位置することを考慮すると、これは重要ではない。
1つの特徴によれば、位置決め手段は、画像取得用の第3の面−面Pに平行に延伸する第3の形状のコリメーション用スリットを有するX線発生装置の組立体を、複数の別の固定回転軸のまわりに順番に位置決めできて、その複数の別の固定回転軸のうちの1つの周囲に位置決めするごとに、駆動手段と取得手段が協働して、照射された顎の別の部分に関する画像信号を取得できる。
したがって回転軸を顎の選択した領域に対して適切に移動させることにより、問題の領域の画像に関する信号を得ることができる。
1つの特徴によれば、この歯科用放射線装置は、取得した画像信号の集合をもとにして、照射された顎の各部分の立体表示を取得する手段を備えている。
したがって、問題の部分に関する画像信号の集合をそれぞれ取得した後に、または顎のすべての部分についての画像信号の集合が得られた後に、照射された顎の一部の立体表示を得ることができる。
この方法では、患者が動かないでいる時間をできるだけ短くするため、全画像信号を取得する操作を1段階にまとめることが想定されている。
このようにすることで、患者が動いた場合のエラーの危険性を小さくすることができる。
1つの特徴によれば、この装置は、
顎の異なる複数の部分の立体表示をもとにして顎の1つの立体表示を再構成する手段と、
このようにして再構成された立体表示をもとにして、顎のパノラマ画像をのちに生成させる際に画像取得用の第1の面−X線発生装置の組立体がたどるべき軌跡を特定する手段と、
を備えている。
顎の選択した異なる領域または部分に関する複数の立体表示が得られると、それら立体表示はまとめられ、(顎の全高よりも低い高さに関して)顎を幅全体にわたって表わす1つの立体表示にされる。
この装置は、このようにして再構成された立体表示から、コーン・ビーム断層撮影によってX線撮影する対象物に合った軌跡を得ることを可能にする手段を含んでいる。この対象物のパノラマ画像をのちに作り出すとき、画像取得用の第1の面とX線発生装置が対象物の輪郭のできるだけ近くをたどるようにする、すなわち対象物の輪郭をできるだけ忠実にたどるようにするため、装置はこの軌跡に沿ってガイドされて移動することになる。
その結果、生成する対象物のパノラマ画像は、以前よりも優れた品質になるであろう。実際、このようにして対象物(歯列弓)が鮮明な面内にあることを保証する。
さらに、オペレータは、標準的ないろいろなタイプの歯列弓の中から選択する必要がなくなる。するとエラーの危険性と操作の回数が減る。
1つの特徴によれば、再構成された立体表示から軌跡を特定する手段は、その立体表示を構成するデータの閾値化手段またはセグメント化手段を備えている。
1つの特徴によれば、コリメーション装置は、形状の異なる3つのコリメーション用スリットを備えていて、命令により、出力ウインドウの前に各スリットを位置させてX線を適切なやり方でコリメートすることができる。
この装置はしたがって3つのコリメーション用スリットを備えていて、そのそれぞれは、特定の1つの動作モード(装置の利用位置)専用である。
1つの特徴によれば、コリメーション装置は、コリメーション用スリットの可動支持体を備えていて、位置決め手段の作用により、1つのコリメーション用スリットをX線出力ウインドウの前に位置させることができる。
したがってこの装置により、この装置のためにプログラムされた動作モードに合わせてスリットを切り換えることができる。
1つの特徴によれば、コリメーション用スリットの支持体は、位置決め手段の作用を受けて軸回転できる。
1つの特徴によれば、コリメーション装置は、1つのコリメーション用スリットと、そのスリットのサイズを調節する手段を含んでいるため、そのスリットに、歯科用放射線装置の3つの位置それぞれで利用されるコリメーション用スリットの3つの形状のうちの少なくともいくつかの形状が与えられる。
したがってこの装置は、幾何学的な形状を変えることができるスリットを備えている。
別の1つの特徴によれば、調節手段は、スリットの互いに垂直な方向に沿った長さを調節する手段である。
1つの特徴によれば、調節手段は方向ごとに独立である。
1つの特徴によれば、コリメーション用スリットは4つの辺によって区画されていて、調節手段が、その辺のそれぞれを互いに独立に移動させることができる。
1つの特徴によれば、上記少なくとも1つのセンサーの画像取得用の第1の面、第2の面、第3の面のそれぞれは、1つの画素マトリックスまたは1つの画素サブマトリックスである。
1つの特徴によれば、立体表示の所定の個数は、特に、画像取得用の第3の面の画素マトリックスまたは画素サブマトリックスのサイズに依存する。
確かに、コーン・ビーム断層撮影において掃引される顎の部分の体積はマトリックスまたはサブマトリックスのサイズによって制限されるため、そのサイズにより、噛み合わせ領域の上方と下方で幅全体だが全高ではない顎の立体画像を得るのに必要な“単位立体”の数が決まる。
1つの特徴によれば、複数の画像信号を取得する手段は、画素マトリックスまたは画素サブマトリックスによって捕集されたデータの読み取り手段を備えていて、その読み取り手段が、所定数の画素に従って画素をグループ化する手段を含んでいて、このようにしてグループ化された画素を読み取る。
画像をグループ化することで、中間モード(軌跡決定モード)で画像取得用の第2の面を利用して装置を動作させるのに用いるX線の線量を減らすことができる。
画素をグループ化することで取得する画像の空間解像度が失われるとしても、求める情報が何であるかを考慮するとこれは問題ではない。
1つの特徴によれば、画像取得の第1の面と第2の面は、それぞれ第1のセンサーと第2のセンサーの一部をなしている。
これら2つのセンサーは物理的に異なっている。一方のセンサーはパノラマ撮影モード(線形断層撮影によるパノラマ画像の取得)だけに適しているのに対し、他方のセンサーは、“小さな視野”(これは一般に半分の歯列弓の画像に対応する)の立体画像を取得するためのコーン・ビーム断層撮影モードに適している。
したがってこの構成により、選択した動作モードに応じて一方のセンサーまたは他方のセンサーを容易に、しかも制御されたやり方で(例えばコンピュータ/情報化システムを介入させる制御システムによって)位置決めすることができる。
1つの特徴によれば、画像取得の第1の面、第2の面、第3の面は同じセンサーの一部をなしている。
したがって1つのセンサーだけが利用され、選択した動作モードに応じ、このセンサーの感受面(アクティブな検出面)の全体またはこの感受面の一部に対応する1つまたは複数の画像取得面が利用される。
画像取得用の所定の1つの面の選択は、単純に、面内/面外に位置する画素を読み取ること/読み取らないことによって実現できる。
コーン・ビーム断層撮影モードで頭蓋骨全体を取得できるサイズの大きなセンサーを用いるときには、中間動作モード(軌跡の決定)において、このセンサーの一部(画像取得用の第3の面)しか利用せず、この第3の面の外に位置する第2の面の画素は読まれない。このようにすると、利用するX線の線量を減らすことができる。
本発明は、
歯科用放射線装置により患者の顎のパノラマ画像を生成させる方法であって、
歯科用放射線装置が、
X線の出力ウインドウと、そのウインドウの前に位置していて、複数の形状のコリメーション用スリットを利用してX線を適切にコリメートするコリメーション装置とを有するX線発生装置と、
少なくとも1つのセンサーと、を具備し、
その少なくとも1つのセンサーは画像取得用の第1の面と画像取得用の第2の面を備え、
画像取得用の第1の面が、面Pに垂直な軸Zに沿って延びていて歯科用放射線装置が第1の位置にあるときに利用され、X線発生装置とこの画像取得用の第1の面の間に位置する顎のパノラマ画像を生成させ、このパノラマ画像は、Z軸に沿って延伸する第1の形状のコリメーション用スリットによってコリメートされてセンサーの画像取得用の第1の面によって受光されるX線をもとにして、面P内の所定の軌跡に沿ったX線発生装置と第1の面の移動と、Z軸に平行な軸のまわりの回転とを組み合わせることによって生成され、
画像取得用の第2の面が、歯科用放射線装置が第2の位置にあるときにコーン・ビーム断層撮影モードで利用され、第2の形状のコリメーション用スリットによってコリメートされて画像取得用の第2の面によって受光されるX線をもとにして、顎の一部だけの立体表示を、X線発生装置と第2の面をZ軸に平行な軸のまわりに回転させることによって生成させ、第2の形状のコリメーション用スリットは、画像取得用の第2の面に合ったサイズを有する、
歯科用放射線装置であって、
この方法が、
コーン・ビーム断層撮影モードにおいてその歯科用放射線装置が第3の利用位置にあるとき、顎のパノラマ画像を生成させるためにその歯科用放射線装置の第1の利用位置においてX線発生装置−画像取得用の第1の面の組立体が面P内をたどることになる軌跡を得るため、
面Pに平行な方向に沿って延びていて、この方向に沿った長手方向のサイズが、画像取得用の第2の面のこの同じ方向に沿ったサイズに適合している第3の形状のコリメーション用スリットをX線出力ウインドウの前に位置決めするステップと、
このような方向を向いた第3の形状のコリメーション用スリットと向かい合うように、第2の面のZ軸に沿った一部に対応する画像取得用の第3の面を位置決めし、その第3の形状のスリットとその第3の面を協働させるステップと、
をあらかじめ含むことを特徴とする方法も目的としている。
したがってこの方法では、パノラマ撮影モードで動作する装置の機能改善に利用されることになるデータを取得するためとパノラマ画像の品質を向上させるため(特に後者)、一時的に断層撮影動作の中間モード(軌跡決定モード)に移るようにされている。
この移行は、装置の配置/位置を変えることによってなされる。
特に、スリットの新しい方向/形状は、コーン・ビーム断層撮影で通常用いられる第2の形状のスリットではなく、画像取得用の第2の面と関係している。
1つの特徴によれば、この方法は、2つの位置決めステップの後、コーン・ビーム断層撮影モードにおいて、画像取得用の第3の面−面Pに平行に延伸する第3の形状のコリメーション用スリットを有するX線発生装置の組立体をもとにして、それぞれが顎の異なる部分を表わす立体表示を所定の個数取得するステップを含んでいる。
1つの特徴によれば、この方法は、
a)画像取得用の第3の面−面Pに平行に延伸する第3の形状のコリメーション用スリットを有するX線発生装置の組立体を面P内でZ軸に平行な固定軸のまわりに位置決めするステップと;
b)画像取得用の第3の面−X線発生装置の組立体を固定回転軸のまわりに回転駆動するステップと;
c)回転運動の間に第3の面−X線発生装置の組立体が取る複数の位置について、面Pに平行な方向を向いた第3の形状のスリットによってコリメートされたX線を照射された顎の1つの部分に関する複数の画像信号を取得するステップと、
を含んでいる。
1つの特徴によれば、この方法は、さらに、
画像取得用の第3の面−面Pに平行に延伸する第3の形状のコリメーション用スリットを有するX線発生装置の組立体を、Z軸に平行な別の固定軸のまわりに位置決めするステップと、
ステップb)とステップc)を実施して顎の照射された別の部分に関する複数の画像信号を取得するステップと、
を含んでいる。
上記の2つのステップの組立体は、顎の幅全体に関する画像信号を取得するのに必要な回数実施されることに注意されたい。
1つの特徴によれば、この方法は、取得した画像信号の集合をもとにして、顎の照射された各部分の立体表示を取得するステップを含んでいる。
1つの特徴によれば、この方法は、
顎の異なる複数の部分の立体表示をもとにして顎の1つの立体表示を再構成するステップと、
このようにして再構成された立体表示をもとにして、顎のパノラマ画像をあとで生成させる際に画像取得用の第1の面−X線発生装置の組立体がたどるべき軌跡を特定するステップと、
を含んでいる。
1つの特徴によれば、再構成された立体表示から軌跡を特定するステップは、その立体表示を構成するデータを閾値化またはセグメント化するステップを含んでいる。
1つの特徴によれば、この方法は、
X線出力ウインドウの前に、Z軸に沿って延伸する第1の形状のコリメーション用スリットを位置決めするステップと、
このような方向を向いた第1の形状のコリメーション用スリットと向かい合う位置に画像取得用の第1の面を位置決めするステップと、
第1の形状のコリメーション用スリットを有するX線発生装置と、軸Zに平行に配置された画像取得用の第1の面とで形成される組立体を得られた軌跡に沿って移動させることと、軸Zのまわりに回転運動させることを組み合わせる命令を出すステップと、
この移動命令の際に画像取得用の第1の面の画素をシフトさせる操作を組み合わせて顎のパノラマ画像を取得するステップとを、
を含んでいる。
したがって中間断層撮影動作モードで軌跡が決定されると、この方法ではパノラマ撮影動作モードに移行することが想定されている。
そのために装置の配置/位置がもう一度変更される。第3の形状のスリットと画像取得用の第2の面は、それぞれ、通常はパノラマ撮影モードに付随する第1の形状のスリットと画像取得用の第1の面で置き換えられる。
したがって得られる軌跡により、センサーの画像取得用の第1の面と、第1の形状のスリットを有するX線発生装置との面内での移動を正確かつ忠実にプログラムし、優れた品質の最終画像を生成させることができる。
1つの特徴によれば、コリメーション装置は、形状の異なる3つのコリメーション用スリットを備えていて、命令によりそのそれぞれを出力ウインドウの前に位置させる操作を、X線発生装置から出るX線の外に位置する静止位置からの移動によって行なう。
1つの特徴によれば、コリメーション装置は1つのコリメーション用スリットを備えていて、出力ウインドウの前に1つの形状のコリメーション用スリットを配置する操作を、そのスリットのサイズの調節によって行なう。
1つの特徴によれば、調節操作は、特に、スリットの互いに垂直な方向に沿った長さを調節する操作を含んでいる。
1つの特徴によれば、上記の少なくとも1つのセンサーの画像取得用の第1の面、第2の面、第3の面のそれぞれは、1つの画素マトリックスまたは1つの画素サブマトリックスである。
1つの特徴によれば、立体表示の所定の個数は、特に、画像取得用の第3の面の画素マトリックスまたは画素サブマトリックスのサイズに依存する。
1つの特徴によれば、複数の画像信号を取得するステップは、画素マトリックスまたは画素サブマトリックスによって捕集されたデータを読み取るステップを備えていて、その読み取りステップは、所定数の画素に従って画素をグループ化し、このようにしてグループ化された画素を読み取る操作を含んでいる。
1つの特徴によれば、画像取得の第1の面と第2の面は、それぞれ第1のセンサーと第2のセンサーの一部をなしている。
1つの特徴によれば、センサーをX線発生装置と向かい合うように配置する操作は、そのセンサーを移動させることによって行なう。
1つの特徴によれば、画像取得の第1の面、第2の面、第3の面は同じセンサーの一部をなしている。
本発明の他の特徴と利点は、添付の図面を参照した例示としての以下の説明に現われるであろう。
本発明の歯科用放射線装置の全体概略図である。 パノラマ撮影動作モードのため、画像取得用の第1の面と、鉛直方向の第1の形状のスリットの配置を示す全体概略図である。 図1の装置の移動盤24を単純化した全体概略図である。 断層撮影動作モードのため、画像取得用の第2の面と、第2の形状のスリットの配置を示す全体概略図である。 軌跡決定動作モードのため、画像取得用の第3の面と、水平状態になった第3の形状のスリットの配置を示す全体概略図である。 幾何学的形状を変えることのできるスリットの実現に用いられる手段の概略図である。 幾何学的形状を変えることのできるスリットの実現に用いられる手段の概略図である。 図6aと図6bの装備を用いて得られるスリットの一例である。 図1の装置の動作アルゴリズムである。 歯列弓の異なる3つの部分を再構成した3つの立体部を上から見た概略図である。 再構成したこれら立体部のうちの1つを斜めから見た概略図である。 歯列弓と、再構成された立体と、本発明のおかげで決定された軌跡とを上から見た概略図である。 図10の軌跡から得られるパノラマ画像の概略図である。
図1に全体を参照番号10で示してあるように、本発明による歯科用放射線装置は、パノラマ撮影装置の機能と断層撮影装置の機能を組み合わせた装置である。より詳細には、この装置により、ある対象物(例えば歯列弓)のパノラマ画像と、コーン・ビーム断層撮影によって得られるある対象物の三次元画像を生成させることができる。この装置は、固定されたフレーム12(例えば鉛直な支柱)を備えており、そのフレームに、回転する断層撮影ユニット14が取り付けられている。断層撮影ユニットについては以下に説明する。
このユニットは、横倒しにされたC字形の可動構造体16(アーチ)を備えていて、このアーチは、支持体を形成していてC字の本体を構成する中央の水平な支柱16aと、この水平な支柱から下に向かってそれぞれがC字の2つの枝を構成する鉛直な2本のアーム16b、16cとを有する。
X線源またはX線発生装置18がアーム16bに固定されている一方で、可動検出ユニット20がアーム16cに取り付けられている。
したがってX線発生装置18と検出ユニット20は互いに向かい合って配置されていて、互いに固定された幾何学的関係にある。
X線発生装置18と検出ユニット20の支持体として機能する構造体16は、回転するX線撮影ユニット14の心臓部を構成する。
放射線医学装置10は、図示していないが、フレーム12の一端に固定された下方アームも備えている。このアームの自由端には、この装置が動作してX線画像を取得している間、患者の頭部を動かなくすることのできる位置決め装置が取り付けられている。したがって頭部はX線発生装置18と検出ユニット20の間に挿入される。
X線発生装置18には、検出ユニット20と向かい合う面18aに、例えば円弧の形状(扇形)の可動支持体22が取り付けられている。この面18aには、X線発生装置から出るX線の出力ウインドウ18bが設けられている。
支持体22は、X線のこの出力ウインドウ18bの前に位置しており、複数(例えば3つ)のコリメーション用スリットを備えている。これらスリットは、それぞれ、支持体の制御状態に応じて出力ウインドウ18bの正面に位置する。
移動手段(例えばモータ18c)により、支持体22の移動を制御することができる。ここでは移動は、X線発生装置の面18aに垂直な軸18dのまわりを回転する形態でなされる。
したがって支持体22を制御された状態で移動させることで、あらかじめ選択したコリメーション用スリットを、静止位置からウインドウ18bの前に位置させることができる。
より詳細には、スリットの支持体22は、異なる3つの形状のスリット22a、22b、22cを備えており、それぞれ、順番に出力ウインドウ18bの前に位置したとき、装置の特定の1つの利用モードまたは位置に合った状態になっている。
第1のスリット22aは、位置決め手段によってウインドウ18bの正面に来る状態にされたとき(図1)、面P(例えば水平方向)に垂直なZ軸(例えば鉛直方向)に沿って延びている。
このスリットは例えば長方形である。
スリット22aは、装置の第1の位置で利用され、このスリットを有するX線発生装置と可動検出ユニット20の間に位置する対象物のパノラマ画像を生成させる。
出力ウインドウ18bから出るX線ビームはスリットによってコリメートされるため、円錐台の形状である。このビームは、底面において(スリットの面に平行な断面内で)、スリットが延伸する方向に対応する方向に沿って延びている。
よって、検出ユニット20は、X線の軌跡上に位置する対象物を横断したコリメートされたX線を受光する。
この点に関し、検出ユニット20は、2つのセンサー20a、20bと、センサーの制御および電力供給用とセンサーによって回収された信号の処理用の電子回路20cを備えている。
この電子回路は2つのセンサーに共通だが、それぞれのセンサーごとに、特に、センサーで回収されたデータの処理と、そのデータを離れた処理ユニット(図示せず)に送信することに関する特別な機能を有する。
センサーの性質に応じ、電子回路で制御および/または電力供給に関係する部分は、各センサー用である場合とそうでない場合がある。
第1のセンサー20aは、装置の第1の利用モードにおいて、画像取得用の第1の面と呼ぶ画像取得面(X線を光学的に検出する感受面)によって第1のスリット22aと協働する。
そのために装置は、センサー20aを第1のスリット22aに対して位置決めする手段を備えている。
この手段は、例えばアーム16cによって支持され、例えば切り換えモータ20dの形態を取る。
このモータは、適切に制御されると、検出ユニット20を、鉛直軸のまわりに、図1に双方向矢印で示した方向の一方に向かって回転させるため、一方または他方のセンサーを、可動支持体22と、その中でも特にスリット22aと向かい合った状態にすることができる。
装置のこの第1の動作モードについては、図2を参照してより詳しく説明する。
支持体22に設けられた第2の形状のスリット22bは、装置の第2の位置において、位置決め手段18cによってウインドウ18bと対応する状態にされる。
それに対応して、位置決め手段20dが検出ユニット20を軸回転させ(図1に示した位置)、第2のセンサー20bを第2のスリット22bと向かい合った状態にする。
第2のセンサー20bは、画像取得用の第2の面と呼ぶ画像取得面(X線を光学的に検出する感受面)により、第2のスリット22bと協働するようにされている。
この第2のスリット22bは第2のセンサー20bとの距離を考慮して第2のセンサー20bのサイズに合うようにしたサイズを有することに注意されたい。そのため例えば望む対象物の立体画像を取得することができる。
装置のこの第2の動作モード(コーン・ビーム断層撮影)については、図4を参照してより詳しく説明する。
図4に示した第2のスリット22bと第2のセンサー20bはどちらも、図2に示したものよりも正方形に近い形状を有する。
一変形例によれば、第2のセンサー20bと第2のスリット22bのサイズにより、コーン・ビーム断層撮影で顎全体、それどころか一人の頭蓋骨全体を取得することができる。
支持体22はさらに、第3の形状のコリメーション用スリット22cを備えている。このスリットは、出力ウインドウ18bの前に位置するとき、面P(ここでは例えば水平)に平行なある軸または方向に沿って延びている。
このスリットは例えば長方形である。
スリット22cは、装置の第3の位置において、第2のモードの第2のセンサー20cと組み合わせて利用される。
装置のこの第3の動作モード(軌跡決定モード)については、図5を参照してより詳しく説明する。
図1に示した状態では、Z軸に沿って延伸する第1のスリット22aが選択されている(X線発生装置の第1の動作モード)。
図2に非常におおまかに示してあるように、第1のセンサー20aはX線発生装置18と向かい合った位置にある。第1のセンサー20aは、X線発生装置から出てそのX線発生装置とセンサーの間に位置する対象物23を照射した後のX線を受光する一方で、対象物を横断することによって減衰したX線を、この対象物のX線画像を表わす電気信号に変換することができる。
第1のセンサー20aは、装置のこの第1の動作モード用に、Z軸に平行な長手方向に沿って延伸しておりコリメーション用スリット22aから出るビームに対応する構成にされた画素マトリックスを備えている。
このセンサーは、例えばCCDタイプの電荷移動センサーであり、その長方形のサイズは例えば12cm(Z軸に沿った高さ)×1cm(幅)である。
センサーとスリットは、互いの比率が例えば5倍である。例えばセンサーの幅が1cmだと、スリットの幅は2mmである。
スリットとセンサーの照射したい領域のサイズの比は、X線発生源とスリットの間の距離(例えば12cmの距離)と、X線発生源とセンサーの距離(例えば60cmの距離)の比である。
図1の装置は、公知のようにパノラマ撮影モード(第1のモード)で動作することができる。
そうするため、第1の形状のスリット22aを備えたX線発生装置とアーチ状構造体によって支持された第1のセンサー20aとを含む組立体が、Z軸に垂直な面P内を移動する(図2)。しかし装置の動作は、互いに垂直なZ軸と面Pがそれぞれ鉛直方向と水平方向でないとしても同じであろう。
面P内の移動は、Z軸に平行な軸の回転と、患者23の顎の歯列弓の全体形状を再現する馬蹄形の軌跡に沿った移動を組み合わせた結果としての運動である。
この軌跡は、水平面内で、歯列弓の互いに反対側の2つの辺の間の平均線に対応している。
X線発生装置−センサーの組立体の移動は、支持構造体の移動手段によって保証される。
この手段は、例えばX、Y方向に制御される移動盤の形態(サーボ制御機構)であり、上記の軌跡を描くようプログラムされている(図1)。
図3に非常に大まかに示してあるように、盤24は、第1の方向A1(Y)を向いた長手方向の2本のレール32、34の上を第1の駆動手段の作用によって滑る第1の台車30を備えている。第1の駆動手段は、例えばウォーム38によってその台車に接続されたモータ36である。
盤は、第2の方向A2(X)(方向A1とA2は、面Pに平行な平面内に含まれる)の長手方向を向いた2本のレール42、44の上を第2の駆動手段の作用によって滑る第2の台車40も備えている。第2の駆動手段は、例えばウォーム48によってその台車に接続されたモータ46である。
盤24はアーチ形状の構造体16と一体化しており、駆動手段49(例えばモータ)が構造体16に接続されていて、命令により、この構造体を、面Pに垂直で、したがって方向A1とA2によって規定される面に垂直な回転軸51のまわりに回転駆動する。
台車30と40がX方向とY方向に沿って移動するのを適切に制御することにより、構造体16は、面P内で求める(馬蹄形の)軌跡を描く。
X線発生装置と第1のセンサー20aが面P内で対象物(患者の顎)のまわりを移動するとき、そのセンサーは、TDI(時間遅延積分として知られる)と呼ばれるモードで動作する。
公知のこの動作モードは、患者の顎を照射したX線を捕集する可動センサーの画素が顎に対して固定されていると見なされるようにすることを目的としている。
そうするため、マトリックスの読み取りパルスのもとで、シフト・レジスタに向けてのマトリックスの行のシフトがセンサーの移動方向と逆になるように画素マトリックスの読み取り頻度を調節する。
したがってTDIモードにより、得られるパノラマ画像のぼけ現象を避けることができる。
図1の装置に関して上に説明したばかりの第1の動作モードは、パノラマ撮影モードに関する。
本発明の装置10は、コーン・ビーム断層撮影によって三次元画像を実現するため、第2の動作モードでも使用することができる。
このモードでは、支持体22は、ウインドウ18bの前にコリメーション用スリット22bが位置するように移動させる。さらに、検出ユニット20の回転駆動手段20dは、そのユニット全体を軸回転させて第2のセンサー20bを第2のスリットと向かい合った状態にするため、図4に示したようになる。
第2のセンサー20bは、第1のセンサーよりも正方形に近い形状であり、より広い感受面をやはり有する画素マトリックスCMOSを備えている。
このセンサーのサイズは、例えば6cm(Z軸に沿った高さ)×5cm(幅)である。
このようなサイズだと、第2のセンサー20bのサイズは、コーン・ビーム断層撮影によって顎の三次元画像(立体表示)をたった一度で取得するには十分な大きさではない。
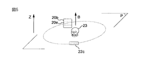
そのためこのセンサーは、歯科放射線医学で一般に“小さな視野”と呼ばれる断層画像を生成させるのに用いられる。ここで関係するのは、顎で、半歯列弓と、例えば臼歯または門歯とを少なくとも含む興味の対象となる部分だけである。この画像は、第2のスリット22bを有するX線発生装置と第2のセンサー20bを、面P内でZ軸に平行な軸Bのまわりに移動させることによって得られる(図4)。
第2のスリット22bは、ほぼ正方形または長方形の形状であり、サイズは第2のセンサー20bのサイズに合わせてある。
これらのサイズが適合しているというのは、スリットによってコリメートされて対象物23によって減衰したX線ビームが、センサーの表面全体を照射できるが、その表面のまわりのあまりに広い領域は照射しないようなサイズを持たねばならないという意味である。
理想的なのは、センサーに到達するコリメートされたビームのサイズが、センサーのサイズとほぼ同じになっていることである。
本発明の装置は、第1のパノラマ撮影モードのために移動させる軌跡を決定するため、第3の動作モードで使用することができる。この軌跡は、装置がのちにパノラマ撮影動作モードに戻るとき、センサーと、第1のスリットを有するX線発生装置とがたどることになる。
そのためには、アクティブにされた支持体移動手段18cが支持体22を適切な回転方向に望みの角度だけ回転駆動する。ウインドウの前の領域外に位置する静止状態からのこの移動により、第3のスリット22cを出力ウインドウ18bの前に来させることができる(スリットの切り換え)。
したがってスリット22cは、面Pに含まれる方向に沿って延びた状態で配置される。
この動作モードでは、利用されるセンサーは第2のセンサー20bであり、スリット22cと向かい合った位置にある。このような空間的方向のスリットを有するX線発生装置は、この同じ方向に沿って延伸する底面を持つX線ビームを発生させることができる。
この構成にしたときに発生して顎によって減衰されるビームは、第2のセンサー20bの感受面を照射する。
このようなビームは、噛み合わせ領域のまわりで顎のわずかな高さしか照射せず、その部分が興味の対象となる領域を構成することに注意されたい。
ビームの幅は、スリットの水平な長手方向のサイズによって与えられ、このサイズは、センサーの幅に合っている。
スリットがこの長手方向のサイズに合っていることで、センサーの幅を効率的に利用できる。
図5には、第2のセンサー20bの照射される領域20eを点線で示してある。この領域20eは、センサーの画像取得用の第2の面の一部に対応しており、この面と同じ幅だが高さがより低い。
この照射される面部分は、画像取得用の第3の面20eと呼ばれる。なぜならこの部分が軌跡決定モードに特有の画像データを回収することになるからである。
図1の電子回路20cは、この第3の面20eに含まれる画素だけの読み取りを命令する。
このように構成された第2のセンサー20bと第3のスリット22c(図5)は、対象物23に合った上記の軌跡を決定するため、次に、図3の手段49により、Z軸に平行な(鉛直方向の)回転軸Bのまわりに、点線で示した円に沿って回転駆動される。これについてはあとで説明する。
第2のセンサーが、顎全体、それどころか頭蓋骨全体の3D画像を取得するのに十分な大きさだと、上に説明した第3のモードが有利であることに注意されたい。なぜなら軌跡の決定に用いる線量をできるだけ少なくできるからである。
異なるモードを実施するのにこの装置で利用されるさまざまな形状のスリットを実現する多数の変形例が可能である。
図示していない第1の変形例によれば、放射線医学装置は、スリットを2つしか備えていないようにできる。それは、
1つの方向に沿って延びていて、軸回転によって図1のスリット22aの役割またはスリット22cの役割を果たす第1のスリットと、
図1のスリット22bと同様の第2のスリットである。
図示していない第2の変形例によれば、この装置は2つのスリットを備えている。それは、
スリットの互いに垂直な方向に沿った長さを調節するため、可動性のある4つの辺によって区画されていて、各辺を互いに独立に移動させる調節手段を有する、幾何学的形状を変えることのできるスリットと、
図1のスリット22bと同様の第2のスリットである。
第3の変形例によれば、この装置は、幾何学的形状を変えることのできるスリットを1つしか備えていない。このスリットは、図1の3つのスリットの中から選択した1つの形状になった望ましいスリットにするため、スリットの辺を互いに独立に調節する手段を備えている。
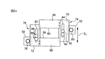
この第3の変形例を図6a〜図6cに示してある。
図6aと図6bは、図1の3つのスリットの代わりに、幾何学的形状を変えることのできる単一のコリメーション用スリットを実現できる一変形例を示している。
命令によってスリットの幾何学的形状を変えるため、その中でも特に互いに垂直な2つの方向(例えば水平方向と鉛直方向)に沿った長さを変えるため、調節手段が設けられている。
より詳細には、スリットの1つの方向に沿った長さを変えることのできる調節手段は、別の方向での長さを変えることのできる手段とは独立であるため、調節の柔軟性が非常に大きい。
図示した実施例では、放射線医学装置は、コリメーション用スリットを規定する4つの辺58、60、62、64のそれぞれの位置を独立に変えるための独立な4つの調節手段50、52、54、56を備えている。
この装置は、例えば図1のX線発生装置に支持されるか、構造体16(例えばアーム16b)に直接固定されてウインドウ18bの前に位置するスリット支持体を備えている。
この支持体には、順番に、図6bの機構が、次いで図6aの機構が重ねられる。
これらの機構は、図を見やすくするために重ねた状態では示していない。
より詳細には、図6aの機構は、互いに向かい合って配置された2枚の(例えば長方形の)プレート66、68の2つの辺58、60を備えており、それぞれ、垂直に配置された別のプレート70、72に固定されている。
したがってそれぞれのプレート対66、70と68、72は、L字、または180°回転したL字を形成する。
それぞれの対の第2のプレート70、72は、第1のプレートに固定されている辺とは反対側の辺に、一列になった長手方向の歯74、76を備えている。
辺58(または60)の移動手段は、歯の付いたピニオン78(または80)を出力軸に有するモータ50(または52)を備えている。このピニオンは、歯76(または74)と協働し、ピニオンの回転方向に応じてプレート72と68を方向D1に沿っていずれかの方向に移動させる。
対応するプレート、したがって対応する辺の長手方向の移動をガイドするため、ガイド用開口部82(または84)が第2のプレート72(または70)に設けられるとともに、上記の支持体に固定された2つのガイド用ピン86、88(または90、92)がこの開口部の中に位置している。
この機構によって向かい合った辺58と60の方向D1に沿った離れ具合を調節することで、スリットの1つの方向のサイズ、したがって1つの方向の長さを調節することができる。
それと同様に、図6bに示した機構によって向かい合った辺62と64の垂直な方向D2に沿った離れ具合を調節することで、別の方向に沿ったスリットの1つのサイズを調節することができる。
例えば辺62と64を近づけ、辺58と60を離すと、方向D1に沿って細長い形状のスリットになる。すると(図1と図2のスリット22aと同様)図6cに示したZ軸に沿って細長いスリットが得られる。
逆に、辺62と64を離し、辺58と60を近づけると、方向D2に沿って細長い形状のスリットが実現する。したがって図1と図5のスリット22cのようにZ軸に垂直な軸に沿って細長いスリットが得られる。
図1と図4のスリット22bのほうは、辺58と60を互いに離すとともに、辺62と64を互いに離すことによって得られる。すると他のスリットよりも正方形に近い形状になる。
図6bに示したさまざまな要素、すなわち第1と第2のプレート100、102(または104、106)、歯108(または110)、モータ54(または56)、歯の付いたピニオン116(または118)、ガイド用開口部128(または130)の中のガイド用ピン120、122(または124、126)は、図6aの対応する要素と同じだが、90°だけずれている。
図示していない一変形例によれば、本発明の装置は、2つのセンサー20aと20bの代わりにセンサーを1つしか備えていないようにできる。するとセンサーの移動機構をなくすことができる。
モードを変えることにより、適切な形状のスリットが選択される。画像取得段階では、センサーで考慮の対象となる画像取得面の照射される画素は、図1の電子回路20cによって読み取られる。照射されない画素は読み取られない。
この変形例では、単一のセンサーの感受面(光学的な感受面)は十分に大きいため、すべてのモードで利用できる。
それぞれのモードでは、センサーの全感受面の一部である異なる画像取得面が利用されることになる。
例えば第1のモード(パノラマ画像の取得)では、第1の形状のスリット22aが、センサーの画像取得用の第1の面を照射する。その面の形状は、図2に示した形状である。
第2のモード(立体画像の取得)では、第2の形状のスリット22bが、センサーの画像取得用の第2の面を照射する。その面の形状は、図4に示した形状である。
第3のモード(軌跡の決定)では、選択された第3の形状のスリット22cがX線に合っているため、X線は、センサーの画像取得用の第2の面の一部(画像取得用の第3の面20e)しか照射しない。その面の形状は、図5に示した形状である。
上に説明したばかりの装置10は、従来よりも品質が向上したパノラマ画像の実現を可能にする手段を備えている。この装置の異なる動作モードについてこれから説明する。
図7は、本発明の装置10を動作させる/実現する方法の主要なステップを詳細に示すアルゴリズムである。
このアルゴリズムは、例えば装置10の機能を制御するプログラム可能な装置(例えばPCタイプのコンピュータ)のメモリ領域に記憶され、命令によって実行される。
このプログラム可能な装置は、一般に、本発明の装置とは離れており、本発明の装置から例えば数メートルのところに位置する。
本発明の方法は、自動的に実施できると望ましかろう。すると人間の介入が制限される。
図7に示した本発明の方法のアルゴリズムを実施する前に、放射線医学装置は、
パノラマ撮影を行なう第1の動作モードにある(図2の第1のセンサー20aとスリット22a)か、
コーン・ビーム断層撮影を行なう第2の動作モード(図4の第2のセンサーとスリット22b)にある。このモードは、CBCT(コーン・ビーム断層撮影)とも呼ばれる。
したがって装置10はモードが変化し、これら2つのモードの一方から第3の新しい動作モードへと移行する。この新しいモードにより、この装置は、X線発生装置およびスリット22aと第1のセンサー20aの組立体が面P内をたどることになる軌跡を忠実かつ効果的に決め、患者の顎のパノラマ画像を生成させることができる。
そうするため、アルゴリズムは、コリメーション用スリット22cを位置決めする第1のステップS1から始まる。
スリット支持体22を移動させると、スリット22cは、X線発生装置から出るX線の外に位置する静止位置から出力ウインドウ18bの前にある位置に移る。
するとX線ビームが、面Pに平行な向きの(すなわちここでは水平な)このスリットによってコリメートされる。
アルゴリズムは、このような方向を向いたスリットに対してセンサー20bを位置決めする第2のステップS2を含んでいる。
このステップは、装置の前の動作モードがパノラマ撮影モードであるときにしか起こらない。なぜならそうでない場合には、第2のセンサーはすでに配置されているからである(図4)。
この場合、すでに説明したように、センサー20dの切り換え機構が、すでに説明したようにしてセンサー20aと20bを切り換える。
これら位置決めステップの後、センサーとスリットは図5に示したように配置されている。
次のステップS3の間に放射線医学装置はアクティブにされてCBCT動作モードに移る。
この第3の動作モード(軌跡決定モード)では、CBCT技術を利用して顎全体のX線画像を得ることはできないことに注意されたい。逆に、この動作モードは、一時的に、パノラマ撮影モードではアクセスできない(照射された対象物に固有の)個人的ないくつかのデータを取得するのに用いられる。このデータは、のちにパノラマ撮影モードで利用されることになる。
このモードでは、スリットは、コリメートされたX線ビームが、噛み合わせ領域の両側に位置する顎の一部を照射できるように位置し、この領域に特有の画像データを取得する。
ステップS3の後にステップS4が続き、そのステップS4において、装置は、第2のセンサー20bと、第3のスリット22cを有するX線発生装置とからなる組立体の位置を、面P内において、Z軸に平行な軸のまわりで調節する。したがってこの軸が、この組立体の回転軸として機能することになる。
言い換えると、この組立体の回転軸を、再構成する対象物またはその一部の体積に対して適切に位置決めする。
説明している実施例では、この軸が顎の第1の領域A1(この領域の中心はO1)の中心に位置するようにして、この領域の立体表示を得る。
図8は、歯列弓と、センサー−X線発生装置の組立体の回転軸Bが点O1に来るように位置決めした状態とを上から見た概略図である。
この位置決めは、すでに説明した図3に示した移動手段24のおかげでなされる。
次のステップS5の間には、コリメーション用スリットを有するX線発生装置とセンサーからなる組立体が面P内でZ軸に平行な軸Bのまわりに回転駆動される。この回転運動の間にこの組立体は順番に複数の角度位置を占め、その各角度位置において、コリメートされたX線を照射された対象物の画像信号がセンサーによって取得される。より詳細には、画像信号は、センサーの画像取得用の第3の面20e(図5)によって取得される。この第3の面は、センサー20bの画素マトリックスの画素サブマトリックスを表わしている。
この運動の間、X線発生装置−センサーの組立体の回転中心は固定されている。
ステップS6は、コーン・ビーム断層撮影を行なう第2の動作モード(CBCT)での、X線発生装置とセンサーの間に位置する対象物(例えば図5の対象物23)のデータ捕集、さらに特定するならば患者の顎のデータ捕集に関する。
この組立体の各角度位置に関してセンサーによって捕集されたデータは、X線発生装置−画像センサーの軸に沿った対象物の第1の領域の射影を表わす。
この点に関し、ステップS5とS6は同時であることに注意されたい。
X線発生装置とセンサーの組立体が完全に一回転し終わると、例えば、ビームを照射された対象物23の第1の領域の1つの射影をそれぞれが表わす画像信号の集合と、対象物のこの領域の360通りの射影(1°回転するごとに撮影される場合)が得られる。
それぞれのアナログ画像信号は、センサーの画素マトリックスの画素サブマトリックスによって捕集され、センサーによってアナログ電気信号に変換され、次いで図1の電子回路20cによってディジタル信号に変換される。
これらの信号を得るのに用いるX線の線量を減らすには、読み取りのためにセンサーがマトリックス(したがってサブマトリックス)の画素をあらかじめ決めた数(例えば4または9)に従ってグループ化できることを利用するのが適切であることに注意されたい。
確かに、例えば画素を選択したグループ化に従って例えば4つまたは9つの画素からなるグループ(より一般には、正方形を形成する画素のグループ)にして読み取ることで、センサーの信号対雑音比(S/N比)が大きくなるため、X線の線量を少なくできる。
次のステップS7では、対象物の照射された部分の体積(第1の領域A1)が、あらかじめ得られた画像信号の全体から当業者に知られているようにして(例えばFdKアルゴリズムを利用して)再構成される。この再構成された立体は、高さの低い円筒形C1の形状を持つ。この円筒の高さh1または厚さは、(X線の線量を最少にするため)図5のZ軸に沿ったスリット22cの高さによって制限されるのに対し、この円筒の直径のほうは、倍率は別にしてセンサーの幅によって制限される。
スリットの高さは、噛み合わせ領域を包含する高さの低い領域しか照射しないように選択したことに注意されたい。
例えば円柱の高さは、数ミクロンから数ミリメートルになる。
患者の歯列弓の一部を包含する第1の立体C1を図9に示してある(この立体は、図8に示した上から見た図では、参照符号A1によって特定される円に対応する)。
再構成されたこの第1の立体は、照射された対象物の第1の部分の形状の立体表示を提供する。この立体には、対象物のこの部分に特有の求めるデータを明らかにするのに十分な情報が含まれる。
対象物のこの部分の立体表示は、興味の対象である領域の(軸Zに沿った)高さの中心に位置することに注意されたい。このように中心を決める操作は、X線発生装置−センサーの組立体を、その組立体を回転させる(ステップS5)前に位置決めするときに実現される。ここで説明している例の興味の対象となる領域は、患者の顎の“噛み合わせ面”、すなわち歯と歯の接触面である。
ステップS8〜S11は、それぞれ、上に説明したばかりのステップS4〜S7に対応するが、ステップS8では、センサー−X線発生装置の組立体の回転軸を顎の第2の領域A2の中心O2に位置させる点が異なっている。
このようにしてセンサー−X発生装置の組立体を移動させてステップS9〜S11を実行することにより、円筒形の第2の立体C2(図を見やすくするため図9には図示せず)が得られる。しかしこの円筒形の第2の立体は、図8に示した上から見た図には見ることができ、参照符号A2によって特定される円に対応している。
したがって公知のようにして再構成された第2の立体は、照射された対象物の第2の部分の形状の立体表示を提供する。この立体には、対象物のこの部分に特有の求めるデータを明らかにするのに十分な情報が含まれる。この立体には第1の立体と重複する情報も含まれている。というのも、領域同士が互いに重なっているからである。
ステップS8〜S11で実施する操作の詳細は、ステップS4〜S7の操作と同じであるため、ここには繰り返さない。
求める対象物を完全に再構成するのに必要な個数の立体表示が得られるまで、一連のステップS4〜S11がN回繰り返されることに注意されたい。
この例では、これら一連のステップが3回繰り返される。円筒形の立体C3は、図8の上から見た円A3に対応していて、顎の別の部分を表わす。
公知のようにして再構成されたこの第3の立体は、照射された対象物の第3の部分の形状の立体表示を提供する。この立体にも、最初の2つの立体と重複する情報が含まれる。
再構成される立体の数は、主に、第2のセンサー20bのサイズと画像取得用の第3の面20eに、その中でも特に後者に依存する。この数は、第3の面に対応する画素サブマトリックスのサイズが小さくなるほど大きくなる。
好ましい一変形例では、すべての立体表示(ここでは3つ)のすべての画像信号の取得は、立体の再構成を開始する前に実行する。このようにすると、患者があまりに長時間にわたって動かないようにしなくても済む。
そのため異なる立体を互いに信頼性よく合体させる(接合する)ことがより簡単になる。
次のステップS12では、顎の異なるN個の立体表示から顎の立体表示が再構成される。
特に、ここではNは3に等しく、3つの円筒形の立体が合体される。これらの立体それぞれに含まれるディジタル・データの集合から、複数の立体に共通するデータを考慮し、図10の上から見た図に示した立体全体150を簡単に再構成することができる。
この立体は、3つの立体C1、C2、C3の外側輪郭線を合わせた輪郭線によって境界が決まるため、上から見ると(図10)三つ葉のクローバーの形状を持つ。
立体C1〜C3(図8)を構成するデータを取得するとき、門歯領域を中心とする円筒形のデータ取得から始めるとよいことに注意されたい。次に他の円筒形と合体させるための基準としてこの円筒形を用いる。なぜなら断面の厚さが最も薄いために最もエラーが生じやすいのは、門歯が位置する領域だからである。
例えばこれらの立体すべてに共通する点を同定することに基づく立体の接合/接続(立体の合体)に関する公知のアルゴリズムは、すべての場合には必要とされないことに注意する必要がある。
そうなるのは特に、
再構成するすべての立体の画像信号の取得が順番になされる場合と、
撮影の間、固定システムが患者を動かなくする場合と、
である。
したがって本発明によれば、複数の立体を接合した後に軌跡の探知に関する定性的情報しか保持されないという条件では、立体の接合、したがって軌跡におけるミリメートルの程度の誤差は、本発明にはほとんど影響しない。
次のステップS13では、このようにして再構成された立体から、興味の対象である対象物またはその一部を、すなわち特にここでは患者の歯列弓を明確にする。
そのためには、再構成された立体中のデータに対して“閾値化”または“セグメント化”と呼ばれる操作を行なう。
例えば閾値化によって歯とその周辺環境の間で密度の差を表わすグレーのレベルの差を分析することで、歯列弓の三次元形状を導出する。
歯列弓152の形状がこのようにして得られる。それを上から見た図として図10に示してある。この図では、再構成された立体の包絡線150も示してある。
歯列弓152の形状から水平断面を取り出すことにより、次のステップS14において、上から見たときに歯列弓の中でその歯列弓の互いに向かい合った辺の間を延伸する平均線154を決定する。
この平均線の決定は、“軌跡”を特定することに対応する。
より詳細には、この平均線154(図10)は、のちに装置がパノラマ撮影モードで動作するとき、第1のスリット22aを有するX線発生装置と第1のセンサー(図2の配置)が対象物のパノラマ画像を得るためにたどる軌跡として利用されることになる。
馬蹄形のこの軌跡により、対象物に適合していて個人に合わせた状態で、パノラマ撮影装置10をプログラムすることができる。従来のパノラマ撮影装置は、標準的な歯列弓の形状をもとにして機能する。したがってその歯列弓はX線撮影する対象物に合っておらず、本発明とは異なってほとんど正確ではない。
閾値化のステップは、軌跡の決定の一部をなすことに注意されたい。
ステップS14で特定される軌跡は、さまざまな現象(歯の充填物などの金属アーチファクト(金属対象物の周囲に星状のノイズを生じさせる可能性がある)や、場の中に存在する他の対象物(例えば図10の脊柱156))によって乱されることがある。
ステップS14で得られた軌跡の精度を向上させるため、この軌跡を例えば平滑化によって修正する(オプションの)ステップS15が設けられている。
修正された軌跡が得られると、次のステップS16に移る。このステップでは、装置は、支持体22を望む回転方向に適切な角度だけ軸回転させることによってコリメーション用の第1のスリット22aを出力ウインドウ18bの前に位置させる。
同様に、ステップS17では、装置はセンサーを切り換え、第1のセンサー20aを第1のスリット22aの正面に来させる。センサーとX線発生装置のスリットのこの配置は、すでに説明した図2の配置である。
これらの位置決めステップの後、ステップS18において、パノラマ撮影装置を新たにプログラムしてパノラマ撮影モードで動作させることができる。
この機会に、ステップS14で得られ(場合によってはステップS15で変更され)た軌跡が利用され、新たにZ軸に平行に配置されたコリメーション用スリットを有するX線発生装置とセンサーとからなる組立体の移動がプログラムされる。
従来よりも合致した軌跡を利用して装置がパノラマ撮影モードで動作している間、X線発生装置とセンサーからなる組立体は、鉛直方向の回転軸のまわりを回転運動する。この回転軸は、命令を受け、図3に示したさまざまな駆動手段のおかげでこの軌跡に沿った移動もする。
この移動の間、鉛直方向に配置されたセンサーは、上に説明したTDIモードで動作し、X線を照射された対象物(ここでは歯列弓)の画像データを取得する。その画像データから、求めるパノラマ画像が生成される。
公知のように、歯列弓のパノラマ画像は、馬蹄形の軌跡に沿って移動している間にセンサーによって取得された画像データをもとにして得られる。
アーチ16の回転運動と、盤24の移動の助けを借りたアーチの回転中心の移動と、センサーの画素の滑り(TDIモード)とを組み合わせることにより、鮮明領域の中に常に含まれる仮想的な回転点を再び作り出す。したがって鮮明領域の外に位置する解剖学的構造体は引きずりによるぼけとなって診断を損なうことはないのに対し、鮮明領域に含まれる構造体は鮮明に現われる。
図11は、本発明によって得られたパノラマ画像の概略図である。
このようにして得られたパノラマ画像は、従来から知られている方法と比べて最適化された品質を持つことに注意されたい。というのも、パノラマ画像は、ここでは、対象物、特にこの場合には患者の顎の形状に完全に合っているからである。
さらに、上に説明したばかりの方法では、オペレータが、不正確な結果をもたらす多数の操作をすることが回避される。
装置が軌跡決定モードで動作しているとき、このモードでは高品質の画像を得ようとしていないことに注意されたい。それが理由で、この動作モードではX線の線量を減らすことができる。
図7のアルゴリズムは、図1の装置での利用に限定されないことに注意する必要がある。
実際、このアルゴリズムは、異なる構成の装置で利用することができる。例えば上に説明したいろいろな変形例の構成で利用でき、場合によってはこれらの構成が組み合わされる。
例えばこの装置は、図1の切り換え装置の代わりに幾何学的形状を変えることのできるスリットを備えることができる。
さらに、この装置は、2つのセンサーの代わりに1つのセンサーだけを備えることができる。その場合、図7のアルゴリズムにおいてセンサーを切り換えるステップS2とS17は不要である。単一のセンサーだと、装置は、幾何学的形状を変えることのできる1つのスリットを備えるか、複数のスリットを備えることができる。

Claims (37)

  1. 歯科用放射線装置であって、
    X線の出力ウインドウ(18b)と、そのウインドウの前に位置していて、複数の形状のコリメーション用スリットを利用してX線を適切にコリメートするコリメーション装置とを有するX線発生装置(18)と、
    少なくとも1つのセンサー(20a、20b)と、を備えており、
    少なくとも1つのセンサーは画像取得用の第1の面と画像取得用の第2の面を具備し、
    画像取得用の第1の面は、面Pに垂直な軸Zに沿って延伸しており、歯科用放射線装置が第1の位置にあるときに、X線発生装置とこの画像取得用の第1の面の間に位置する顎のパノラマ画像を生成するために利用され、パノラマ画像は、Z軸に沿って延伸する第1の形状のコリメーション用スリット(22a)によってコリメートされたX線をセンサーの画像取得用の第1の面によって受光し、X線発生装置とセンサーの第1の面をZ軸に平行な軸のまわりの回転とを組み合わせられた面P内の所定の軌跡に沿って移動せしめることによって生成され、
    画像取得用の第2の面は、歯科用放射線装置が第2の位置にあるときに、コーン・ビーム断層撮影モードで利用され、第2の形状のコリメーション用スリット(22b)によってコリメートされたX線を画像取得用の第2の面によって受光し、X線発生装置と第2の面をZ軸に平行な軸のまわりに回転させることによって、顎の一部だけの立体表示を生成され、第2の形状のコリメーション用スリットは、画像取得用の第2の面に合ったサイズを有する、
    歯科用放射線装置において、
    該歯科用放射線装置が、第3の位置を占めることができ、そうするためにX線出力ウインドウの前に、面Pに平行な方向に沿って延びていて、第2の面のZ軸に沿った一部に対応する画像取得用の第3の面と協働させるためその画像取得用の第3の面と向かい合って配置される第3の形状のコリメーション用スリット(22c)を位置決めする手段を備えていて、面Pに平行な方向に沿ったこのスリットの長手方向のサイズが、画像取得用の第2の面のこの同じ方向に沿ったサイズに適合している、
    ことを特徴とする歯科用放射線装置。
  2. コーン・ビーム断層撮影モードにおいて、画像取得用の第3の面−面Pに平行に延伸する第3の形状のコリメーション用スリットを有するX線発生装置の組立体をもとにして、それぞれが顎の異なる部分を表わす立体表示を所定の個数取得する手段を備える、ことを特徴とする請求項1に記載の歯科用放射線装置。
  3. 画像取得用の第3の面−面Pに平行に延伸する第3の形状のコリメーション用スリットを有するX線発生装置の組立体を、面P内で、Z軸に平行な固定軸のまわりに位置決めする手段と、
    第3の面−X線発生装置の組立体を固定軸のまわりに回転駆動する手段と、
    回転運動の間に第3の面−X線発生装置の組立体が取る複数の位置について、面Pに平行な方向を向いた第3の形状のスリットによってコリメートされたX線を照射された顎の1つの部分に関する複数の画像信号を取得する手段と、を備える、
    ことを特徴とする請求項1または2に記載の歯科用放射線装置。
  4. 位置決め手段が、画像取得用の第3の面−面Pに平行に延伸する第3の形状のコリメーション用スリットを有するX線発生装置の組立体を、複数の別の固定回転軸のまわりに順番に位置決めできて、
    その複数の別の固定回転軸のうちの1つの周囲に位置決めするごとに、駆動手段と取得手段が協働して、照射された顎の別の部分に関する画像信号を取得できる、
    ことを特徴とする請求項3に記載の歯科用放射線装置。
  5. 取得した画像信号の集合をもとにして、照射された顎の各部分の立体表示を取得する手段を備える、ことを特徴とする請求項3または4に記載の歯科用放射線装置。
  6. 顎の異なる複数の部分の立体表示をもとにして顎の1つの立体表示を再構成する手段と、
    このようにして再構成された立体表示をもとにして、顎のパノラマ画像をのちに生成させる際に画像取得用の第1の面−X線発生装置の組立体がたどるべき軌跡を特定する手段と、を備える、
    ことを特徴とする請求項5に記載の歯科用放射線装置。
  7. 再構成された立体表示から軌跡を特定する手段が、その立体表示を構成するデータの閾値化手段またはセグメント化手段を備える、
    ことを特徴とする請求項6に記載の歯科用放射線装置。
  8. コリメーション装置が、形状の異なる3つのコリメーション用スリットを備えていて、命令により、出力ウインドウの前に各スリットを位置させてX線を適切なやり方でコリメートすることができる、
    ことを特徴とする請求項1から7のいずれか1項に記載の歯科用放射線装置。
  9. コリメーション装置が、コリメーション用スリットの可動支持体を備えていて、位置決め手段の作用により、1つの形態のコリメーション用スリットをX線出力ウインドウの前に位置させることができる、
    ことを特徴とする請求項1から8のいずれか1項に記載の歯科用放射線装置。
  10. コリメーション用スリットの支持体が、位置決め手段の作用を受けて軸回転できる、ことを特徴とする請求項9に記載の歯科用放射線装置。
  11. コリメーション装置が、1つのコリメーション用スリットと、そのスリットのサイズを調節する手段を含んでいて、
    そのスリットに、この歯科用放射線装置の3つの位置それぞれで利用されるコリメーション用スリットの3つの形状のうちの少なくともいくつかの形状が与えられる、
    ことを特徴とする請求項1から7のいずれか1項に記載の歯科用放射線装置。
  12. 調節手段が、スリットの互いに垂直な方向に沿った長さを調節する手段である、ことを特徴とする請求項11に記載の歯科用放射線装置。
  13. 調節手段が方向ごとに独立である、ことを特徴とする請求項12に記載の歯科用放射線装置。
  14. コリメーション用スリットが4つの辺(58、60、62、64)によって区画されていて、調節手段が、その辺のそれぞれを互いに独立に移動させることができる、ことを特徴とする請求項11から13のいずれか1項に記載の歯科用放射線装置。
  15. 少なくとも1つのセンサーの画像取得用の第1の面、第2の面、第3の面のそれぞれが、1つの画素マトリックスまたは1つの画素サブマトリックスである、ことを特徴とする請求項1から14のいずれか1項に記載の歯科用放射線装置。
  16. 立体表示の所定の個数が、特に、画像取得用の第3の面の画素マトリックスまたは画素サブマトリックスのサイズに依存する、ことを特徴とする請求項2と15に記載の歯科用放射線装置。
  17. 複数の画像信号を取得する手段が、画素マトリックスまたは画素サブマトリックスによって捕集されたデータの読み取り手段を備えていて、その読み取り手段が、所定数の画素に従って画素をグループ化する手段を含んでいて、このようにしてグループ化された画素を読み取る、ことを特徴とする請求項3または4と請求項15に記載の歯科用放射線装置。
  18. 画像取得の第1の面と第2の面がそれぞれ第1のセンサーと第2のセンサーの一部をなす、ことを特徴とする請求項1から17のいずれか1項に記載の歯科用放射線装置。
  19. 適切な形状のコリメーション用スリットによってコリメートされたX線を受光するため、2つのセンサーを含んでいて、命令によってその2つのセンサーのそれぞれをX線発生装置と向かい合った位置に配置できる可動ユニット(20)を備えている、ことを特徴とする請求項18に記載の歯科用放射線装置。
  20. 画像取得の第1の面、第2の面、第3の面が同じセンサーの一部をなす、ことを特徴とする請求項1から17のいずれか1項に記載の歯科用放射線装置。
  21. 歯科用放射線装置により患者の顎のパノラマ画像を生成させる方法であって、
    歯科用放射線装置が、
    X線の出力ウインドウ(18b)と、そのウインドウの前に位置していて、複数の形状のコリメーション用スリットを利用してX線を適切にコリメートするコリメーション装置とを有するX線発生装置(18)と、
    少なくとも1つのセンサー(20a、20b)とを備えており、
    その少なくとも1つのセンサーは、面Pに垂直な軸Zに沿って延びていて歯科用放射線装置が第1の位置にあるときに利用される画像取得用の第1の面を備えていて、X線発生装置とこの画像取得用の第1の面の間に位置する顎のパノラマ画像を生成させ、 このパノラマ画像は、Z軸に沿って延伸する第1の形状のコリメーション用スリット(22a)によってコリメートされてセンサーの画像取得用の第1の面によって受光されるX線をもとにして、面P内の所定の軌跡に沿ったX線発生装置と第1の面の移動と、Z軸に平行な軸のまわりの回転とを組み合わせることによって生成され、
    少なくとも1つのセンサーは、歯科用放射線装置が第2の位置にあるときにコーン・ビーム断層撮影モードで利用される画像取得用の第2の面を備えていて、
    第2の形状のコリメーション用スリット(22b)によってコリメートされて画像取得用の第2の面によって受光されるX線をもとにして、
    顎の一部だけの立体表示を、X線発生装置と第2の面をZ軸に平行な軸のまわりに回転させることによって生成させ、
    第2の形状のコリメーション用スリットは、画像取得用の第2の面に合ったサイズを有する、
    歯科用放射線装置であって、
    この方法が、コーン・ビーム断層撮影モードにおいてその歯科用放射線装置が第3の利用位置にあるとき、顎のパノラマ画像を生成させるためにその歯科用放射線装置の第1の利用位置においてX線発生装置−画像取得用の第1の面の組立体が面P内をたどることになる軌跡を得るため、
    面Pに平行な方向に沿って延びていて、この方向に沿った長手方向のサイズが、画像取得用の第2の面のこの同じ方向に沿ったサイズに適合している第3の形状のコリメーション用スリット(22c)をX線出力ウインドウの前に位置決めするステップ(S1)と、
    このような方向を向いた第3の形状のコリメーション用スリットと向かい合うように、第2の面のZ軸に沿った一部に対応する画像取得用の第3の面を位置決めし、その第3の形状のスリットとその第3の面を協働させるステップ(S2)をあらかじめ含む、
    ことを特徴とする方法。
  22. 2つの位置決めステップの後、コーン・ビーム断層撮影モードにおいて、画像取得用の第3の面−面Pに平行に延伸する第3の形状のコリメーション用スリットを有するX線発生装置の組立体をもとにして、それぞれが顎の異なる部分を表わす立体表示を所定の個数取得するステップを含む、
    ことを特徴とする請求項21に記載の方法。
  23. a)画像取得用の第3の面−面Pに平行に延伸する第3の形状のコリメーション用スリットを有するX線発生装置の組立体を面P内でZ軸に平行な固定軸のまわりに位置決めするステップ(S4)と;
    b)画像取得用の第3の面−X線発生装置の組立体を固定回転軸のまわりに回転駆動するステップ(S5)と;
    c)回転運動の間に第3の面−X線発生装置の組立体が取る複数の位置について、面Pに平行な方向を向いた第3の形状のスリットによってコリメートされたX線を照射された顎の1つの部分に関する複数の画像信号を取得するステップ(S6)と、を含む、
    ことを特徴とする請求項21または22に記載の方法。
  24. 画像取得用の第3の面−面Pに平行に延伸する第3の形状のコリメーション用スリットを有するX線発生装置の組立体を、Z軸に平行な別の固定軸のまわりに位置決めするステップと、
    前記ステップb)とステップc)を実施して照射された顎の別の部分に関する複数の画像信号を取得するステップと、を含む、
    ことを特徴とする請求項23に記載の方法。
  25. 取得した画像信号の集合をもとにして、照射された顎の各部分の立体表示を取得するステップを含む、ことを特徴とする請求項23または24に記載の方法。
  26. 顎の異なる複数の部分の立体表示をもとにして顎の1つの立体表示を再構成するステップ(S12)と、
    このようにして再構成された立体表示をもとにして、顎のパノラマ画像をのちに生成させる際に画像取得用の第1の面−X線発生装置の組立体がたどるべき軌跡を特定するステップ(S14)と、を含む、
    ことを特徴とする請求項25に記載の方法。
  27. 再構成された立体表示から軌跡を特定するステップが、その立体表示を構成するデータを閾値化またはセグメント化するステップ(S13)を含む、ことを特徴とする請求項26に記載の方法。
  28. X線出力ウインドウの前に、Z軸に沿って延伸する第1の形状のコリメーション用スリットを位置決めするステップ(S16)と、
    このような方向を向いた第1の形状のコリメーション用スリットと向かい合う位置に画像取得用の第1の面を位置決めするステップ(S17)と、
    第1の形状のコリメーション用スリットを有するX線発生装置と、軸(Z)に平行に配置された画像取得用の第1の面とで形成される組立体を得られた軌跡に沿って移動させることと、軸(Z)のまわりに回転運動させることを組み合わせる命令を出すステップと、
    この移動命令の際に画像取得用の第1の面の画素をシフトさせる操作を組み合わせて顎のパノラマ画像を取得するステップと、
    を含む、
    ことを特徴とする請求項21から27のいずれか1項に記載の方法。
  29. コリメーション装置が、形状の異なる3つのコリメーション用スリットを備えていて、命令によりそのそれぞれを出力ウインドウの前に位置させる操作を、X線発生装置から出るX線の外に位置する静止位置からの移動によって行なう、ことを特徴とする請求項21から28のいずれか1項に記載の方法。
  30. コリメーション装置が1つのコリメーション用スリットを備えていて、出力ウインドウの前に1つの形状のコリメーション用スリットを配置する操作を、そのスリットのサイズの調節によって行なう、ことを特徴とする請求項21から28のいずれか1項に記載の方法。
  31. 調節操作が、特に、スリットの互いに垂直な方向に沿った長さを調節する操作を含む、ことを特徴とする請求項30に記載の方法。
  32. 少なくとも1つのセンサーの画像取得用の第1の面、第2の面、第3の面のそれぞれが、1つの画素マトリックスまたは1つの画素サブマトリックスである、ことを特徴とする請求項21から31のいずれか1項に記載の方法。
  33. 立体表示の所定の個数が、特に、画像取得用の第3の面の画素マトリックスまたは画素サブマトリックスのサイズに依存する、ことを特徴とする請求項22と32に記載の方法。
  34. 複数の画像信号を取得するステップが、画素マトリックスまたは画素サブマトリックスによって捕集されたデータを読み取るステップを備えていて、その読み取りステップが、所定数の画素に従って画素をグループ化し、このようにしてグループ化された画素を読み取る操作を含んでいる、ことを特徴とする請求項23または24と請求項32に記載の方法。
  35. 画像取得の第1の面と第2の面がそれぞれ第1のセンサーと第2のセンサーの一部をなす、ことを特徴とする請求項21から34のいずれか1項に記載の方法。
  36. センサーをX線発生装置と向かい合うように配置する操作を、そのセンサーを移動させることによって行なう、ことを特徴とする請求項35に記載の方法。
  37. 画像取得の第1の面、第2の面、第3の面が同じセンサーの一部をなす、ことを特徴とする請求項21から34のいずれか1項に記載の方法。
JP2009193274A 2008-08-22 2009-08-24 歯科用放射線装置とその利用法 Expired - Fee Related JP5519974B2 (ja)

Applications Claiming Priority (2)

Application Number Priority Date Filing Date Title
FR0855681A FR2938182B1 (fr) 2008-08-22 2008-08-22 Appareil de radiologie dentaire et procede d'utilisation associe
FR0855681 2008-08-22

Publications (2)

Publication Number Publication Date
JP2010046485A true JP2010046485A (ja) 2010-03-04
JP5519974B2 JP5519974B2 (ja) 2014-06-11

Family

ID=40418461

Family Applications (1)

Application Number Title Priority Date Filing Date
JP2009193274A Expired - Fee Related JP5519974B2 (ja) 2008-08-22 2009-08-24 歯科用放射線装置とその利用法

Country Status (5)

Country Link
US (1) US7945016B2 (ja)
EP (1) EP2156791B1 (ja)
JP (1) JP5519974B2 (ja)
KR (1) KR101598630B1 (ja)
FR (1) FR2938182B1 (ja)

Cited By (2)

* Cited by examiner, † Cited by third party
Publication number Priority date Publication date Assignee Title
JP2013135765A (ja) * 2011-12-28 2013-07-11 Nihon Univ X線ct撮影装置、及びx線ct撮影方法
JP2014161510A (ja) * 2013-02-25 2014-09-08 Tele Systems:Kk パノラマ撮像装置及びパノラマ画像の再構成方法

Families Citing this family (20)

* Cited by examiner, † Cited by third party
Publication number Priority date Publication date Assignee Title
FI123978B (fi) * 2008-06-27 2014-01-15 Planmeca Oy Hammashoitolaitteisto
FR2938183B1 (fr) * 2008-08-22 2011-12-09 Trophy Appareil de radiologie dentaire panoramique et procede d'utilisation associe
DE102009038588A1 (de) * 2009-08-26 2011-03-24 Degudent Gmbh Verfahren zur Ermittlung eines Gesamtdatensatzes eines zu messenden Objektes
US9004757B2 (en) * 2010-03-24 2015-04-14 PaloDEx Grou Oy Systems, assemblies, computer readable media and methods for medical imaging
CN103458793B (zh) * 2010-12-22 2018-08-03 特罗菲公司 数字检测器
US9161727B2 (en) 2011-09-01 2015-10-20 Hologic Inc Independently rotatable detector plate for medical imaging device
ITBO20110566A1 (it) * 2011-10-05 2013-04-06 Cefla Coop Dispositivo per l'acquisizione di radiografie panoramiche e radiografie volumetriche cbct
FR2982759B1 (fr) * 2011-11-17 2013-11-29 Trophy Appareil de radiologie dentaire panoramique
KR101362723B1 (ko) * 2012-05-15 2014-02-13 (주)포인트닉스 듀얼 씨티 촬영 모드를 가진 치과용 엑스선 촬영 장치
WO2014037770A1 (en) * 2012-09-07 2014-03-13 Trophy Apparatus for partial ct imaging
USD698022S1 (en) 2013-05-30 2014-01-21 Dentsply International Inc. Holder for a digital dental x-ray sensor
KR20160060638A (ko) * 2013-08-20 2016-05-30 주식회사바텍 엑스선 영상촬영장치 및 엑스선 영상촬영방법
KR20150088679A (ko) * 2014-01-24 2015-08-03 주식회사바텍 Ct 촬영 장치
US9408581B2 (en) 2014-03-07 2016-08-09 Elwha Llc Systems, devices, and methods for lowering dental x-ray dosage including feedback sensors
US9888891B2 (en) 2014-06-26 2018-02-13 Palodex Group Oy X-ray imaging unit for medical imaging
CN105741239B (zh) * 2014-12-11 2018-11-30 合肥美亚光电技术股份有限公司 牙齿全景图像的生成方法、装置及用于拍摄牙齿的全景机
ITUA20162102A1 (it) * 2016-03-30 2017-09-30 Cefla S C Dispositivo di limitazione del fascio per apparecchiature radiografiche
JP6878583B2 (ja) * 2017-06-20 2021-05-26 シャープ株式会社 調湿装置および調湿方法
KR101941019B1 (ko) * 2018-11-26 2019-01-22 오스템임플란트 주식회사 엑스선 촬영 장치 및 방법
US11862357B2 (en) * 2020-10-21 2024-01-02 Illinois Tool Works Inc. Adjustable collimators and x-ray imaging systems including adjustable collimators

Citations (5)

* Cited by examiner, † Cited by third party
Publication number Priority date Publication date Assignee Title
JPH10225455A (ja) * 1996-12-10 1998-08-25 Morita Mfg Co Ltd X線撮影装置
WO2006109802A1 (ja) * 2005-04-11 2006-10-19 J. Morita Manufacturing Corporation X線ct撮影用ユニットおよびx線撮影装置
JP2007029166A (ja) * 2005-07-22 2007-02-08 Morita Mfg Co Ltd 画像処理装置
WO2007046372A1 (ja) * 2005-10-17 2007-04-26 J. Morita Manufacturing Corporation 医療用デジタルx線撮影装置及び医療用デジタルx線センサ
JP2007159913A (ja) * 2005-12-15 2007-06-28 Toshiba Corp X線診断装置及びその作動方法

Family Cites Families (13)

* Cited by examiner, † Cited by third party
Publication number Priority date Publication date Assignee Title
JP3319905B2 (ja) * 1995-03-24 2002-09-03 株式会社モリタ製作所 デジタルx線撮影装置
JP3919048B2 (ja) * 1998-09-02 2007-05-23 株式会社モリタ製作所 局所照射x線ct撮影装置
WO2000057789A1 (fr) * 1999-03-25 2000-10-05 Nihon University Appareil et procede d'imagerie obtenue par tomographie informatisee (ct) aux rayons x, par rayonnement local
JP4149189B2 (ja) * 2002-04-04 2008-09-10 株式会社日立メディコ X線ct装置
DE10313110A1 (de) * 2003-03-24 2004-10-21 Sirona Dental Systems Gmbh Röntgeneinrichtung und röntgenstrahlenempfindliche Kamera
DE10313109A1 (de) * 2003-03-24 2004-10-21 Sirona Dental Systems Gmbh Röntgenstrahlenempfindliche Kamera und Röntgeneinrichtung
FI118413B (fi) * 2005-04-11 2007-11-15 Planmeca Oy Tietokonetomografialaitteisto
US7711085B2 (en) * 2005-04-11 2010-05-04 J. Morita Manufacturing Corporation Radiography apparatus with scout view function
JP4307406B2 (ja) * 2005-04-22 2009-08-05 株式会社モリタ製作所 医療用x線撮影装置及びこれに用いるx線検出器
JP4632891B2 (ja) * 2005-07-22 2011-02-16 株式会社モリタ製作所 X線ct撮影装置およびx線ct撮影方法
US7486759B2 (en) * 2006-10-12 2009-02-03 J. Morita Manufacturing Corporation X-ray computer tomography apparatus
WO2008092009A2 (en) * 2007-01-24 2008-07-31 Imaging Sciences International Llc Adjustable scanner
US7787586B2 (en) * 2007-02-22 2010-08-31 J. Morita Manufacturing Corporation Display method of X-ray CT image of maxillofacial area, X-ray CT apparatus and X-ray image display apparatus

Patent Citations (5)

* Cited by examiner, † Cited by third party
Publication number Priority date Publication date Assignee Title
JPH10225455A (ja) * 1996-12-10 1998-08-25 Morita Mfg Co Ltd X線撮影装置
WO2006109802A1 (ja) * 2005-04-11 2006-10-19 J. Morita Manufacturing Corporation X線ct撮影用ユニットおよびx線撮影装置
JP2007029166A (ja) * 2005-07-22 2007-02-08 Morita Mfg Co Ltd 画像処理装置
WO2007046372A1 (ja) * 2005-10-17 2007-04-26 J. Morita Manufacturing Corporation 医療用デジタルx線撮影装置及び医療用デジタルx線センサ
JP2007159913A (ja) * 2005-12-15 2007-06-28 Toshiba Corp X線診断装置及びその作動方法

Cited By (2)

* Cited by examiner, † Cited by third party
Publication number Priority date Publication date Assignee Title
JP2013135765A (ja) * 2011-12-28 2013-07-11 Nihon Univ X線ct撮影装置、及びx線ct撮影方法
JP2014161510A (ja) * 2013-02-25 2014-09-08 Tele Systems:Kk パノラマ撮像装置及びパノラマ画像の再構成方法

Also Published As

Publication number Publication date
US20100074402A1 (en) 2010-03-25
EP2156791B1 (en) 2013-05-15
EP2156791A1 (en) 2010-02-24
FR2938182B1 (fr) 2010-11-19
KR20100023782A (ko) 2010-03-04
KR101598630B1 (ko) 2016-02-29
JP5519974B2 (ja) 2014-06-11
US7945016B2 (en) 2011-05-17
FR2938182A1 (fr) 2010-05-14

Similar Documents

Publication Publication Date Title
JP5519974B2 (ja) 歯科用放射線装置とその利用法
JP5547443B2 (ja) 歯科用放射線装置とその利用法
CN108463170B (zh) X光图像显示设备和x光图像显示方法
JP5805688B2 (ja) 医療用x線撮影装置
JP6546173B2 (ja) X線画像撮影装置及びx線画像撮影方法
US10687768B2 (en) X-ray image forming device
JPH10243944A (ja) 人間の身体部分のx線撮影セットアップ装置
JP2013085667A (ja) 歯科用x線撮影装置
US9066687B2 (en) Panoramic dental x-ray unit
JP2019536605A (ja) 複数のx線画像から2d画像を再構築する方法
KR100280198B1 (ko) Ct촬영이가능한x선촬영장치및방법
JP4653303B2 (ja) コンピュータ断層撮影装置
KR101941019B1 (ko) 엑스선 촬영 장치 및 방법
JP5217179B2 (ja) X線断層撮影装置
KR102203630B1 (ko) 엑스선 영상 생성 방법, 엑스선 영상 생성 장치 및 컴퓨터 판독 가능한 기록 매체
KR102203644B1 (ko) 엑스선 영상 생성 방법, 엑스선 영상 생성 장치 및 컴퓨터 판독 가능한 기록 매체
JP2007151849A (ja) X線ct撮影方法およびx線ct装置
CN120713549A (zh) 用于采集双能量cbct容积射线照相术的设备和方法
KR20180096410A (ko) 엑스선 촬영 장치 및 방법
KR20200037998A (ko) 파노라마 영상 생성 방법, 파노라마 영상 생성 장치 및 컴퓨터 판독 가능한 기록 매체

Legal Events

Date Code Title Description
A621 Written request for application examination

Free format text: JAPANESE INTERMEDIATE CODE: A621

Effective date: 20110907

RD03 Notification of appointment of power of attorney

Free format text: JAPANESE INTERMEDIATE CODE: A7423

Effective date: 20130307

RD04 Notification of resignation of power of attorney

Free format text: JAPANESE INTERMEDIATE CODE: A7424

Effective date: 20130307

A131 Notification of reasons for refusal

Free format text: JAPANESE INTERMEDIATE CODE: A131

Effective date: 20130703

A601 Written request for extension of time

Free format text: JAPANESE INTERMEDIATE CODE: A601

Effective date: 20130925

A602 Written permission of extension of time

Free format text: JAPANESE INTERMEDIATE CODE: A602

Effective date: 20130930

A521 Request for written amendment filed

Free format text: JAPANESE INTERMEDIATE CODE: A523

Effective date: 20131225

TRDD Decision of grant or rejection written
A01 Written decision to grant a patent or to grant a registration (utility model)

Free format text: JAPANESE INTERMEDIATE CODE: A01

Effective date: 20140305

A61 First payment of annual fees (during grant procedure)

Free format text: JAPANESE INTERMEDIATE CODE: A61

Effective date: 20140404

R150 Certificate of patent or registration of utility model

Ref document number: 5519974

Country of ref document: JP

Free format text: JAPANESE INTERMEDIATE CODE: R150

R250 Receipt of annual fees

Free format text: JAPANESE INTERMEDIATE CODE: R250

R250 Receipt of annual fees

Free format text: JAPANESE INTERMEDIATE CODE: R250

R250 Receipt of annual fees

Free format text: JAPANESE INTERMEDIATE CODE: R250

R250 Receipt of annual fees

Free format text: JAPANESE INTERMEDIATE CODE: R250

R250 Receipt of annual fees

Free format text: JAPANESE INTERMEDIATE CODE: R250

R250 Receipt of annual fees

Free format text: JAPANESE INTERMEDIATE CODE: R250

R250 Receipt of annual fees

Free format text: JAPANESE INTERMEDIATE CODE: R250

LAPS Cancellation because of no payment of annual fees