JP2010046302A - 蒸気排出ユニット - Google Patents

蒸気排出ユニット Download PDF

Info

Publication number
JP2010046302A
JP2010046302A JP2008213471A JP2008213471A JP2010046302A JP 2010046302 A JP2010046302 A JP 2010046302A JP 2008213471 A JP2008213471 A JP 2008213471A JP 2008213471 A JP2008213471 A JP 2008213471A JP 2010046302 A JP2010046302 A JP 2010046302A
Authority
JP
Japan
Prior art keywords
discharge unit
steam
steam discharge
storage shelf
unit
Prior art date
Legal status (The legal status is an assumption and is not a legal conclusion. Google has not performed a legal analysis and makes no representation as to the accuracy of the status listed.)
Granted
Application number
JP2008213471A
Other languages
English (en)
Other versions
JP5035912B2 (ja
Inventor
Takeshi Chiku
剛 知久
Yutaka Ishihara
裕 石原
Kazuhiko Tonogaichi
和彦 殿垣内
Current Assignee (The listed assignees may be inaccurate. Google has not performed a legal analysis and makes no representation or warranty as to the accuracy of the list.)
Toshiba Corp
Toshiba Lifestyle Products and Services Corp
Kanazawa Kogyo Co Ltd
Original Assignee
Toshiba Consumer Electronics Holdings Corp
Toshiba Home Appliances Corp
Kanazawa Kogyo Co Ltd
Priority date (The priority date is an assumption and is not a legal conclusion. Google has not performed a legal analysis and makes no representation as to the accuracy of the date listed.)
Filing date
Publication date
Application filed by Toshiba Consumer Electronics Holdings Corp, Toshiba Home Appliances Corp, Kanazawa Kogyo Co Ltd filed Critical Toshiba Consumer Electronics Holdings Corp
Priority to JP2008213471A priority Critical patent/JP5035912B2/ja
Publication of JP2010046302A publication Critical patent/JP2010046302A/ja
Application granted granted Critical
Publication of JP5035912B2 publication Critical patent/JP5035912B2/ja
Active legal-status Critical Current
Anticipated expiration legal-status Critical

Links

Images

Landscapes

  • Combinations Of Kitchen Furniture (AREA)

Abstract

【課題】収納棚への組み込みが容易で、美観に優れた蒸気排出ユニットを提供する。
【解決手段】本蒸気排出ユニットは、電気器具が収納される収納棚の上部に組み込まれ、ユニット本体に設けた蒸気吸込口と蒸気排気口間に配置されるダクト及び吸排気用の送風機を備え、ユニット本体の両側面には、これら両側面の中間部から突出し、収納棚の両側に設けられた取付部に載置された状態で螺着される取付部材が設けられる。
【選択図】 図7

Description

本発明は蒸気排出ユニットに係り、特に、収納棚への取り付け構造を改良した蒸気排出ユニットに関する。
従来、収納棚に収納された炊飯器、電気ポットあるいはコーヒーメーカーなどの電気器具の加熱時に発生する蒸気を外部に排出するために、収納棚に蒸気排出ユニットを組み込んでいる。
このような従来の蒸気排出ユニットにおいて、電気炊飯器や電気ポットなどヒータを熱源とする電気器具が多く収納される。
従来の蒸気排出ユニットとして、遠心式ファンが収容されるケーシングのファン収容部の高さと蒸気排出口の高さとを略同一にして、薄形化を図り、収納される電気器具の高さに制約を受けない蒸気排出ユニットが提案されている(例えば、特許文献1参照)。
しかしながら、この特許文献1に記載の蒸気排出ユニットは、図10に示すように、収納棚31の両側に設け一対の取付部31aに、ユニット本体の側面2dの側面下端2dに固着した取付部材14を載置した状態で螺着して、ユニット本体を収納棚31に組み込んでいた。
このように取付部材14の固着位置が、側面下端2dにあるため、蒸気排出ユニットの製造後の梱包時、あるいは、開梱時、蒸気排出ユニットの収納棚31への組み込み時などに、作業者が取付部材14を作業台、床などに当てるなどして、取付部材14を変形させることがある。
取付部材14が変形すると、収納棚31への組み込みが困難になり、また、組み込み後に収納棚31に対して傾きが生じたり、蒸気排出ユニットと収納棚間に隙間が生じたりして、美観に劣る。
特開2008−161432号公報
本発明は上述した事情を考慮してなされたもので、収納棚への組み込みが容易で、美観に優れた蒸気排出ユニットを提供することを目的とする。
上述した目的を達成するため、本発明に係る蒸気排出ユニットは、電気器具が収納される収納棚の上部に組み込まれ、ユニット本体に設けた蒸気吸込口と蒸気排気口間に配置されるダクト及び吸排気用の送風機を備える蒸気排出ユニットにおいて、前記ユニット本体の両側面には、これら両側面の中間部から突出し、前記収納棚の両側に設けられた取付部に載置された状態で螺着される取付部材が設けられることを特徴とする。
本発明に係る蒸気排出ユニットによれば、収納棚への組み込みが容易で、美観に優れた蒸気排出ユニットを提供することができる。
本発明の一実施形態に係る蒸気排出ユニットについて添付図面を参照して説明する。
図1は本発明の一実施形態に係る蒸気排出ユニットを組み込んだ収納棚の正面図、図2は本発明の一実施形態に係る蒸気排出ユニットを組み込んだ収納棚の斜視図、図3は本蒸気排出ユニットの正面図、図4は本蒸気排出ユニットの下面図、図5は本蒸気排出ユニットの天板を外しダクトを透視した状態の平面図、図6は本蒸気排出ユニットの幅方向の縦断面図である。
図1および図2に示すように、本発明の一実施形態に係る蒸気排出ユニット1は、炊飯器、電気保温ポットあるいはコーヒーメーカーなどの電気器具が収納される収納棚31の収納部32の上部に組み込み使用される。
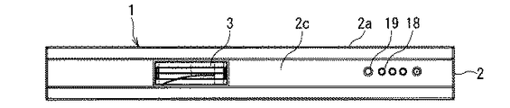
図3に示すように、蒸気排出ユニット1は天板2aを備えた扁平直方体状のユニット本体2を有し、ユニット本体2の前面部2cには蒸気排気口3が設けられる。
図4に示すように、ユニット本体2の底面には、このユニット本体2の一部をなす凹部形成板4によって形成され、底面が平らで扁平略矩形状の凹部5が設けられ、この凹部5の略全体を覆うように平板状の蒸気分散板6が取り付けられる。
凹部5は可能な限り浅くして、ユニット本体2を薄くし、さらに、蒸気分散板6は、凹部5の下端部5aと段差ができるように凹部5に押し込んで、空間部を形成し、蒸気分散板6の下方には大きな収納部32(図2)のスペースを形成する。
また、凹部5には、蒸気分散板6により図中ドットを付して示す蒸気吸込口7が形成され、この蒸気吸込口7は、蒸気分散板6に設けた円弧部を含む略T字状の第1の吸込口7aと、蒸気分散板6の周縁部と凹部5の側面とで画成されるコ字状の第2の吸込口7bからなる。これにより、均一かつ速やかな吸い込みが可能となる。
図5は天板を外しダクトを透視した状態の平面図であり、図5および図6に示すように、送風機8はユニット本体2の前面の略中央部近傍に、ユニット本体2の前面から奥行方向及び下方に延びるように水平状態に配され、遠心式ファン9を備え、ケーシング10外には遠心式ファン9を回転させるモータ11が設けられる。このモータ11はケーシング10とユニット本体2の本体底部2bとの間に形成される空間sに収容される。
ケーシング10のケーシング吸込口10aは、送風機8の上方に位置するダクト12に設けたダクト吸込口12a、12aに連通する。
ダクト12は扁平で略逆2等辺三角形状をなし、この2等辺三角形の頂角近傍に、上記2個のダクト吸込口12a、12aを設け、底角近傍にダクト吹出口12bを設けている。2個のダクト吸込口12a、12aは、凹部形成板4に設けた2個の通気孔4aに各々一致し、ダクト吸込口12a、12a及び通気孔4a、4aは、各々蒸気分散板6と凹部形成板4間に形成される扁平な狭い通気路13に対向して開口する。
一方、ダクト吹出口12bは凹部形成板4の2個の通気孔4aの幅方向の距離の中間に位置、すなわち送風機8は、2個のダクト吸込口12a、12aの幅方向の距離の中間に位置する。
このダクト12が蒸気吸込口7及び通気孔4aを介して吸い込んだ蒸気を、ダクト吹出口12b、ケーシング吸込口10aを介してケーシング10に吸い込み、蒸気排気口3からユニット本体2外に排出する。
また、送風機8を2個のダクト吸込口12a、12aの幅方向の距離の中間に位置させることにより、収納部32で発生する蒸気を偏りなく、速やかに排出でき、さらに、吸気に偏りがない。
ケーシング10には、遠心式ファン9の高さより僅かに高く(広い上下幅)、略円形状に形成され、ファン収容部10bが設けられ、さらに、このファン収容部10bとケーシング吹出口10c間には、排気路部10dが設けられる。
この排気路部10dは、その底面部10dが一端でファン収容部10bの底面10bに連なり、底面部10dの一部には、が曲線状に、緩やかに前下がりに傾斜する傾斜部10dが設けられ、さらに、傾斜部10dに連なって安全上必要な水滴溜まり10dが設けられ、他端がファン収容部10bの高さより高い、ケーシング吹出口10c、蒸気排気口3に達する。
蒸気排気口3は、高さがファン収容部10bの高さに限定されることなく、ファン収容部10bの高さよりも高く形成することができるので、設計に自由度が増す。
傾斜部10dを含む底面部10dは、ケーシング10とユニット本体2の本体底部2bとの間に形成される空間sに突き出て、収容される。
再び図4、図5および図7に示すように、ユニット本体2の両側面2dには、この側面2dの中間部2d例えば側面下端2dと側面上端2dの中間位置で側面下端寄りには、一対の長尺の取付部材14、14が設けられる。この取付部材14、14には、螺子15が挿入される螺子孔14aが穿設される。また、取付部材14、14の高さは前面部2cの両前面側部2c、2cの高さ(突出)に比べて低いので、正面視、取付部材14、14は両前面側部2c、2cで隠される。
なお、図中符号16、17は入力端子・出力端子、符号18は運転表示ランプ、符号19は操作スイッチである。
次に蒸気排出ユニット1の収納棚31への組み込みについて説明する。
製造終了時、工場で梱包され、収納棚31への組み込み現場で開梱された蒸気排出ユニット1は、次のようにして、収納棚31に組み込まれる。
図8は取付部材の一方側のみを示す断面図であり、図8および図9に示すように、蒸気排出ユニット1を水平に保った状態で、ユニット本体2の両側面2d、2dに設けた取付部材14、14に前部を、収納棚31にレール状に設けた取付部31a、31aに載置する。
しかる後、取付部材14、14を取付部31a、31a上で摺動させながら、ユニット本体2の後面が収納棚31に当接するまで、蒸気排出ユニット1を収納棚31に押し込む。
取付部材14、14に設けた螺子孔14a、14a、取付部31a、31aに設けた螺子孔31a、31aを介して螺子15、15により、本体底部2b側から取付部材14、14を取付部31a、31aに螺着する。本体底部2b側からの螺着により、取り付け作業が容易である。
このようにして、ユニット本体2は収納棚31の上部に組み込まれる。
取付部材14、14は、前面部2cの両前面側部2c、2cによって覆われ、外部から視認されず、また、取付部材14は側面2dの中間部2dに設けられるので、通常の姿勢の使用者からは視認されず、美観に優れる。
また、取付部材14、14が中間部2dに設けられるので、梱包時を始め、開梱および収納棚31への組み込み時にも、側面下端2dおよび前面部2cの両前面側部2c、2cに守られて、取付部材14、14が他のものに当たることがなく、取付部材14、14の変形が防止される。
従って、収納棚31への組み込みが容易になり、また、組み込み後に収納棚31に対しても水平が保たれ、美観に優れる。
本実施形態の蒸気排出ユニットによれば、収納棚への組み込みが容易で、美観に優れた蒸気排出ユニットが実現する。
本発明の一実施形態に係る蒸気排出ユニットを備えた収納棚の正面図。 本発明の一実施形態に係る蒸気排出ユニットを備えた収納棚の斜視図。 本発明の一実施形態に係る蒸気排出ユニットの正面図。 本発明の一実施形態に係る蒸気排出ユニットの下面図。 本発明の一実施形態に係る蒸気排出ユニットの天板を外しダクトを透視した状態の平面図。 本発明の一実施形態に係る蒸気排出ユニットの幅方向の縦断面図。 本発明の一実施形態に係る蒸気排出ユニットの組み込み状態を示す斜視図。 本発明の一実施形態に係る蒸気排出ユニットに用いる取付部材の使用状態を示す断面図。 本発明の一実施形態に係る蒸気排出ユニットを収納棚に組み込んだ状態を示す斜視図。 従来の蒸気排出ユニットに用いる取付部材の使用状態を示す断面図。
符号の説明
1 蒸気排出ユニット
2 ユニット本体
2a 天板
2b 本体底部
2c 前面部
2c 前面側部
2d 側面
2d 中間部
2d 側面下端
2d 側面上端
3 蒸気排気口
4 凹部形成板
4a 通気孔
5 凹部
5a 下端部
6 蒸気分散板
7 蒸気吸込口
8 送風機
9 遠心式ファン
10 ケーシング
10a ケーシング吸込口
10b ファン収容部
10b 底面
10c ケーシング吹出口
10d 排気路部
10d 底面部
10d 傾斜部
10d 水滴溜まり
11 モータ
12 ダクト
12a ダクト吸込口
12b ダクト吹出口
13 通気路
14 取付部材
15 螺子
16 入力端子・出力端子
17 入力端子・出力端子
18 運転表示ランプ
19 操作スイッチ

Claims (2)

  1. 電気器具が収納される収納棚の上部に組み込まれ、ユニット本体に設けた蒸気吸込口と蒸気排気口間に配置されるダクト及び吸排気用の送風機を備える蒸気排出ユニットにおいて、
    前記ユニット本体の両側面には、これら両側面の中間部から突出し、
    前記収納棚の両側に設けられた取付部に載置された状態で螺着される取付部材が設けられる
    ことを特徴とする蒸気排出ユニット。
  2. 前記取付部材の前記取付部への螺着は、本体底部側から行われることを特徴とする請求項1に記載の蒸気排出ユニット。
JP2008213471A 2008-08-22 2008-08-22 蒸気排出ユニット Active JP5035912B2 (ja)

Priority Applications (1)

Application Number Priority Date Filing Date Title
JP2008213471A JP5035912B2 (ja) 2008-08-22 2008-08-22 蒸気排出ユニット

Applications Claiming Priority (1)

Application Number Priority Date Filing Date Title
JP2008213471A JP5035912B2 (ja) 2008-08-22 2008-08-22 蒸気排出ユニット

Publications (2)

Publication Number Publication Date
JP2010046302A true JP2010046302A (ja) 2010-03-04
JP5035912B2 JP5035912B2 (ja) 2012-09-26

Family

ID=42063915

Family Applications (1)

Application Number Title Priority Date Filing Date
JP2008213471A Active JP5035912B2 (ja) 2008-08-22 2008-08-22 蒸気排出ユニット

Country Status (1)

Country Link
JP (1) JP5035912B2 (ja)

Citations (2)

* Cited by examiner, † Cited by third party
Publication number Priority date Publication date Assignee Title
JP2008161432A (ja) * 2006-12-28 2008-07-17 Toshiba Consumer Electronics Holdings Corp 蒸気排出ユニット
JP2010022735A (ja) * 2008-07-24 2010-02-04 Sanyo Electric Co Ltd 蒸気排出装置

Patent Citations (2)

* Cited by examiner, † Cited by third party
Publication number Priority date Publication date Assignee Title
JP2008161432A (ja) * 2006-12-28 2008-07-17 Toshiba Consumer Electronics Holdings Corp 蒸気排出ユニット
JP2010022735A (ja) * 2008-07-24 2010-02-04 Sanyo Electric Co Ltd 蒸気排出装置

Also Published As

Publication number Publication date
JP5035912B2 (ja) 2012-09-26

Similar Documents

Publication Publication Date Title
USD651464S1 (en) Gas cooktop and/or grate thereof
USD468414S1 (en) Warmer electric fan
USD464723S1 (en) Electric fan
USD620097S1 (en) Small tower fan and pedestal stand
USD479743S1 (en) Electric fan
USD510226S1 (en) Electric cooking appliance
JP6022271B2 (ja) 加熱調理器
JP5035912B2 (ja) 蒸気排出ユニット
USD510509S1 (en) Grater assembly
USD1050795S1 (en) Heating module of an electric griddle
JP2002034686A (ja) キッチンユニット
USD527582S1 (en) Hand held kitchen appliance power unit
USD546435S1 (en) Housing for an inline vent fan
USD478875S1 (en) Duct and housing unit for a heat sink for electronic equipment
JP2010046301A (ja) 蒸気排出ユニット
JP6709614B2 (ja) こんろ
KR101620100B1 (ko) 빌트인 타입 조리기기
USD509987S1 (en) Electric cooking appliance
JP5072352B2 (ja) 蒸気排出ユニット
USD515031S1 (en) Plug-in wall outlet accessory module
CN205783139U (zh) 电陶炉机芯
CN219479870U (zh) 一种空气炸锅
JP5072351B2 (ja) 蒸気排出ユニット
JP3658352B2 (ja) キッチン
CN214048573U (zh) 烹饪器具

Legal Events

Date Code Title Description
RD04 Notification of resignation of power of attorney

Free format text: JAPANESE INTERMEDIATE CODE: A7424

Effective date: 20100422

A621 Written request for application examination

Free format text: JAPANESE INTERMEDIATE CODE: A621

Effective date: 20101213

RD01 Notification of change of attorney

Free format text: JAPANESE INTERMEDIATE CODE: A7421

Effective date: 20111215

TRDD Decision of grant or rejection written
A01 Written decision to grant a patent or to grant a registration (utility model)

Free format text: JAPANESE INTERMEDIATE CODE: A01

Effective date: 20120605

A01 Written decision to grant a patent or to grant a registration (utility model)

Free format text: JAPANESE INTERMEDIATE CODE: A01

A61 First payment of annual fees (during grant procedure)

Free format text: JAPANESE INTERMEDIATE CODE: A61

Effective date: 20120628

FPAY Renewal fee payment (event date is renewal date of database)

Free format text: PAYMENT UNTIL: 20150713

Year of fee payment: 3

R150 Certificate of patent or registration of utility model

Free format text: JAPANESE INTERMEDIATE CODE: R150

Ref document number: 5035912

Country of ref document: JP

Free format text: JAPANESE INTERMEDIATE CODE: R150

S111 Request for change of ownership or part of ownership

Free format text: JAPANESE INTERMEDIATE CODE: R313115

R350 Written notification of registration of transfer

Free format text: JAPANESE INTERMEDIATE CODE: R350

S531 Written request for registration of change of domicile

Free format text: JAPANESE INTERMEDIATE CODE: R313531

S533 Written request for registration of change of name

Free format text: JAPANESE INTERMEDIATE CODE: R313533

R350 Written notification of registration of transfer

Free format text: JAPANESE INTERMEDIATE CODE: R350

S111 Request for change of ownership or part of ownership

Free format text: JAPANESE INTERMEDIATE CODE: R313117

S531 Written request for registration of change of domicile

Free format text: JAPANESE INTERMEDIATE CODE: R313531

R350 Written notification of registration of transfer

Free format text: JAPANESE INTERMEDIATE CODE: R350

R250 Receipt of annual fees

Free format text: JAPANESE INTERMEDIATE CODE: R250

R250 Receipt of annual fees

Free format text: JAPANESE INTERMEDIATE CODE: R250

R250 Receipt of annual fees

Free format text: JAPANESE INTERMEDIATE CODE: R250

R250 Receipt of annual fees

Free format text: JAPANESE INTERMEDIATE CODE: R250

R250 Receipt of annual fees

Free format text: JAPANESE INTERMEDIATE CODE: R250

R250 Receipt of annual fees

Free format text: JAPANESE INTERMEDIATE CODE: R250