JP2010046176A - メダルゲーム機 - Google Patents

メダルゲーム機 Download PDF

Info

Publication number
JP2010046176A
JP2010046176A JP2008211401A JP2008211401A JP2010046176A JP 2010046176 A JP2010046176 A JP 2010046176A JP 2008211401 A JP2008211401 A JP 2008211401A JP 2008211401 A JP2008211401 A JP 2008211401A JP 2010046176 A JP2010046176 A JP 2010046176A
Authority
JP
Japan
Prior art keywords
medal
game medium
ball
game
lottery
Prior art date
Legal status (The legal status is an assumption and is not a legal conclusion. Google has not performed a legal analysis and makes no representation as to the accuracy of the status listed.)
Granted
Application number
JP2008211401A
Other languages
English (en)
Other versions
JP5155061B2 (ja
Inventor
Osamu Izumi
治 泉
Masayuki Saito
雅之 齊藤
Current Assignee (The listed assignees may be inaccurate. Google has not performed a legal analysis and makes no representation or warranty as to the accuracy of the list.)
Capcom Co Ltd
Original Assignee
Capcom Co Ltd
Priority date (The priority date is an assumption and is not a legal conclusion. Google has not performed a legal analysis and makes no representation as to the accuracy of the date listed.)
Filing date
Publication date
Application filed by Capcom Co Ltd filed Critical Capcom Co Ltd
Priority to JP2008211401A priority Critical patent/JP5155061B2/ja
Publication of JP2010046176A publication Critical patent/JP2010046176A/ja
Application granted granted Critical
Publication of JP5155061B2 publication Critical patent/JP5155061B2/ja
Active legal-status Critical Current
Anticipated expiration legal-status Critical

Links

Images

Landscapes

  • Slot Machines And Peripheral Devices (AREA)
  • Time Recorders, Dirve Recorders, Access Control (AREA)

Abstract

【課題】ゲーム用媒体を用いてゲームを行うメダルゲーム機において、ゲーム用媒体の投入についてプレイヤが関与することにより、プレイヤの期待度や興奮度を高めてさらに興趣を高めるようにしたメダルゲーム機を提供する。
【解決手段】メダルとは異なるゲーム用媒体(ボールb1)がフィールドに投入され、このフィールドへ投入されたボールb1の移動によって所定のイベントが開始されるように構成されたメダルゲーム機であって、ボールb1を載置する回転テーブル43と、回転テーブル43上のボールb1を保持して移動させるキャッチャー42とを有し、プレイヤの入力操作によってキャッチャー42を作動させることにより、当該キャッチャー42を用いてボールb1を獲得するように構成されたキャッチャー抽選装置4を備え、上記フィールドへのボールb1の投入は、キャッチャー抽選装置4によってボールb1が獲得された場合に行われる。
【選択図】図5

Description

本発明は、ゲームセンタなどに設置されるいわゆるアーケード型のメダルゲーム機に関し、より詳しくは、たとえばボールなどのゲーム用媒体を用いてゲームを行うように構成されたメダルゲーム機に関する。
アーケード型のメダルゲーム機としては、メダルを所定のメダルゲームフィールド内に投入させてゲームを行わせるものがある。このようなメダルゲーム機においては、メダルを用いて単純なゲームを進行させるだけではなく、メダルゲームの進行状況に応じて、たとえばボールを利用した抽選ゲームを行わせることにより、ゲームを複雑化し、その興趣を高めるようにしたものがある(たとえば、特許文献1を参照)。
特許文献1に開示されたメダルゲーム機においては、メダルゲームフィールドには、電子ゲームの実行を液晶画面によって表示する画像表示装置が設けられている。この画像表示装置において展開されるコンピュータ抽選に当選すると、たとえば当選した賞に応じて、1または2以上のボールがプッシャフィールド上に投入される。そして、当該ボールがプッシャフィールドの手前に落下すると、多量のメダル獲得チャンスを有する抽選が開始されるようになっている。
しかしながら、特許文献1の構成においては、プッシャフィールドへのボールの投入はコンピュータ抽選によってのみ決定されるので、当該ボールの投入についてプレイヤが関与することはない。したがって、プレイヤにとっては運任せの要素が強く、ゲーム展開の興趣に欠ける面があった。
特開2002−210225号公報
本発明は、このような事情のもとで考え出されたものであって、ボールなどのゲーム用媒体を用いてゲームを行うメダルゲーム機において、ゲーム用媒体の投入についてプレイヤが関与することにより、プレイヤの期待度や興奮度を高めてさらに興趣を高めるようにしたメダルゲーム機を提供することをその課題とする。
上記の課題を解決するため、本発明では、次の技術的手段を採用した。
本発明によって提供されるメダルゲーム機は、メダルとは異なるゲーム用媒体がフィールドに投入され、このフィールドへ投入されたゲーム用媒体の移動によって所定のイベントが開始されるように構成されたメダルゲーム機であって、上記ゲーム用媒体を載置するための載置部材と、上記載置部材上のゲーム用媒体を保持して移動させるためのキャッチャーとを有し、プレイヤの入力操作によって上記キャッチャーを作動させることにより、当該キャッチャーを用いてゲーム用媒体を獲得するように構成されたゲーム用媒体獲得手段を備え、上記フィールドへのゲーム用媒体の投入は、上記ゲーム用媒体獲得手段によってゲーム用媒体が獲得された場合に行われることを特徴としている。
本発明のメダルゲーム機によれば、プレイヤの入力操作によってキャッチャーを作動させ、ゲーム用媒体を獲得することができた場合に限り、ゲーム用媒体がフィールドへ投入される。すなわち、プレイヤは、ゲーム用媒体の投入の可否に自ら関与することができる。したがって、かかる構成によれば、プレイヤの期待度や興奮度を高めることができ、メダルゲーム機としての興趣を高めることができる。
好ましい実施の形態においては、上記フィールドは、固定プレートおよび当該固定プレート上において往復動する可動プレートを有し、上記固定プレート上に載っているメダルが上記可動プレートによって押されて落下溝に落下するように構成されたプッシャフィールドを含み、上記プッシャフィールドへ投入されたゲーム用媒体が上記落下溝に落下することによって上記所定のイベントが開始されるように構成されている。
このような構成によれば、投入されたゲーム用媒体がプッシャフィールド上のどこに位置しているかによって、所定のイベントが開始されまでの条件が異なりうる。したがって、プレイヤの期待度や興奮度がより高められ、メダルゲーム機としての興趣をより高めることができる。
好ましい実施の形態においては、物理的抽選を行う抽選部を備え、上記所定のイベントは、ゲーム用媒体が落下することによって上記抽選部において行われる物理的抽選である。
好ましい実施の形態においては、上記フィールドは物理的抽選を行う抽選フィールドを含んでおり、上記所定のイベントは、上記ゲーム用媒体獲得手段によって獲得されたゲーム用媒体を用いて上記抽選フィールドにおいて行われる物理的抽選である。
好ましい実施の形態においては、上記ゲーム用媒体は、属性の異なる2種以上によって構成されており、上記所定のイベントは、上記ゲーム用媒体の属性の種類に応じてイベント効果が変化しうるように構成されている。
このような構成によれば、どの属性のゲーム用媒体を獲得するかによって所定のイベントにおけるイベント効果が変化しうるため、プレイヤは、どの属性のゲーム用媒体を狙うかについて関心が高くなる。これにより、ゲーム用媒体獲得手段におけるプレイヤの期待度や興奮度がより高められ、メダルゲーム機としての興趣をより高めることができる。
好ましい実施の形態においては、上記ゲーム用媒体の属性の種類ごとの上記イベント効果の内容を表示する表示手段を備える。
このような構成によれば、プレイヤは、表示手段を介して所定のイベントにおけるイベント効果の変化内容を認識したうえで、最も有益な属性のゲーム用媒体を狙うことができる。
好ましい実施の形態においては、上記載置部材は、平面視において円環形状を呈し、かつ上面が全体としてほぼ水平面状をなしており、所定の垂直軸周りに回転させられる。
このような構成によれば、ゲーム用媒体の獲得の難易度を上げることができる。これにより、プレイヤのゲーム用媒体獲得に対する挑戦意欲が掻き立てられ、メダルゲーム機としての興趣をより高めることができる。
また、キャッチャーの移動可能範囲が載置部材上面の全範囲でない場合であっても、載置部材が回転させられるため、獲得したいゲーム用媒体を狙うことができる。すなわち、狙っているゲーム用媒体がキャッチャーの移動可能範囲外にあっても、載置部材の回転によってキャッチャーの移動可能範囲内に移動してくるので、その移動のタイミングに応じて狙うことが可能となる。したがって、ゲーム用媒体が載置部材上の一部に偏っているような場合でも、プレイヤ全員に対して公平にゲーム用媒体を獲得できる機会を付与することができる。
好ましい実施の形態においては、上記載置部材は、回転速度が可変とされている。
このような構成によれば、ゲーム用媒体の獲得の難易度を変化させることができる。
好ましい実施の形態においては、上記ゲーム用媒体は転動体からなり、上記載置部材の上記上面には、上記ゲーム用媒体の移動を規制するための複数の凹部が設けられている。
このような構成によれば、ゲーム用媒体として球体などの転動体を採用する場合において、当該ゲーム用媒体が凹部に適宜入ることによってその移動が規制されるので、載置部材の回転に伴ってゲーム用媒体が転がり続けるといった不都合が適切に防止される。
好ましい実施の形態においては、上記載置部材は、上記上面の周縁を包囲するように形成された起立壁を備えている。
このような構成によれば、たとえばキャッチャーによるゲーム用媒体の獲得動作中において、回転する載置部材上のゲーム用媒体がキャッチャーによって弾かれるなどしても、ゲーム用媒体が載置部材の上面周縁から不当にこぼれ落ちることはない。
好ましい実施の形態においては、上記キャッチャーは、投入されたメダルの作用に基づいて行われるゲームにおいて所定の結果が生じた場合に作動させられる。
このような構成によれば、メダルの作用に基づいて行われるゲームと、キャッチャーを用いて行われるゲーム用媒体の獲得ゲームと、所定のイベントとを組み合わせた多様なゲーム性を提供することができる。このことは、メダルゲーム機の興趣を高めるうえで好適である。
好ましい実施の形態においては、上記キャッチャーは、それぞれが独立して作動可能とされ、上記ゲーム用媒体を保持するための複数の保持爪を有しており、上記キャッチャーの作動が可能となった場合に行われる抽選の結果に応じて上記保持爪の作動数が変化させられる。
このような構成によれば、ゲーム用媒体の獲得の難易度を変化させることができる。
好ましい実施の形態においては、上記フィールドに投入されたゲーム用媒体を上記載置部材上に戻すためのリフト機構をさらに備える。
このような構成によれば、ゲーム用媒体を循環利用することができる。
本発明のその他の特徴および利点は、添付図面を参照して以下に行う詳細な説明によって、より明らかとなろう。
以下、本発明に係るメダルゲーム機の好ましい実施形態につき、図面を参照しつつ具体的に説明する。
図1〜図14は、本発明に係るメダルゲーム機の一実施形態を示している。図1によく表われているように、本実施形態のメダルゲーム機Aは、下部筐体10上に筒状のショーケース11が載設され、かつこのショーケース11上に上部カバー12が設けられた構成を有しており、ショーケース11によって囲まれた空間部には、後述するメダルゲームフィールドMFやセンターユニットCUが設けられている。下部筐体10の外周面部には、複数の操作パネル部13が等間隔で設けられており、それらの操作パネル部13と同数の複数人(たとえば8人)が同時にゲームを行なうことができるようになっている。各操作パネル部13には、後述する抽選ゲーム等に使用される操作ボタン13Aのほか、詳細な図示説明は省略するが、メダルを溜めておくためのメダル留置部、メダル投入口などが設けられている。操作パネル部13の奥方には、メダルゲームフィールドMFから落とされたメダルを払い出すメダル払出口13Bも設けられている。また、各操作パネル部13の左右両側の下部筐体10内部には、メダル投入装置14が設けられている。メダル投入装置14は、ショーケース11の外側でプレイヤにより投入されたメダルを、左右において所望の方向に向けてショーケース11内のメダルゲームフィールドMFへと投出するように構成されている。メダルゲームフィールドMFは、複数の操作パネル部13の個々に対応してたとえば計8箇所設けられている。
メダルゲーム機Aには、図2に電気的な構成を示すように、後述する画像表示装置2やプッシャフィールド3、クルーン抽選装置6、さらにはセンターユニットCU(キャッチャー抽選装置4やセンター抽選装置7)などの各部の動作を制御するマイクロコンピュータ9が搭載されている。
図3および図4に表れているように、メダルゲームフィールドMFには、液晶ディスプレイなどを用いた電子ゲーム実行用の画像表示装置2と、プッシャフィールド3とが設置されている。
図4によく表れているように、画像表示装置2は、その画面部分が手前側に向かうほど低位となるように傾斜させられている。画像表示装置2の画面部分は、枠体20を挟んでガラス板21に覆われており、このガラス板21の手前側の表面が傾斜面21Aとなっている。
画像表示装置2とプッシャフィールド3との間には、複数のチャッカ26が横方向に並んで設けられている。チャッカ26は、ガラス板21の傾斜面21Aに略沿った姿勢のメダルの通過を許容する横長状の開口26Aを有している。
メダル投入装置14は、図示しないメダル送出機構を介してメダルmを上向きに搬送するための起立状のメダル搬送ガイド141と、メダルmを立てたまま初速を与えて投出するためのメダルシュータ142とを有している。より詳細には、このメダルシュータ142は、メダル搬送ガイド141から受け渡されたメダルmを転動させて加速させる下向きレール部142Aと、水平方向よりも上方に投出するための上向きレール部142Bとがつながった構成とされている。メダルシュータ142は、操作パネル部13に設けられたレバー13Cの操作によって横方向に所定角度範囲内で揺動可能とされている。なお、メダル送出機構は、メダル投入口からメダル搬送ガイド141の間に配設され、メダルmを搬送する通路およびメダルmのホッパー装置等を備えた周知のものである。
チャッカ26の上方近傍には、上記開口26Aへのメダルの落下を誘導する規制部材25が設けられている。この規制部材25は、ガラス板21と略平行に配置された棒材である。規制部材25の上方近傍には、支持部材23を介して複数のピン24が横方向に並ぶように設けられている。これらピン24は、チャッカ26の配置と同一ピッチで配列されており、たとえば図3の矢印Na方向に往復動させられている。ピン24の上方近傍には、複数のピン22が横方向に並ぶように設けられている。これらピン22は、枠体20に支持され、ガラス板21の表面から手前側に突出するように立設されており、隣接するピン22どうしの間をメダルmが通過可能となるように一定ピッチで配列されている。
図4に表れているように、メダルシュータ142から初速が与えられたメダルmが投出されると、当該メダルmは、山形の放物線を描くように空中を飛んだ後に傾斜面21Aに斜め前方から衝突する。ここで、メダルmは、概して、傾斜面21Aに沿った姿勢と傾斜面21Aに対して起立した姿勢との間で暴れながら落下し、ピン22およびピン24に当たって進路が変えられる。そして規制部材25の奥方をメダルmが通過すると、その殆どがチャッカ26に入る。一方、規制部材25の手前側をメダルmが通過すると、当該メダルmは、チャッカ26に入らずにチャッカ26の手前側から落下する。
各チャッカ26は、たとえば内部に設けられた図示しないセンサによりメダルmの通過が検出されるように構成されている。メダルシュータ142から投出されたメダルmがチャッカ26に入ると、マイクロコンピュータ9は、画像表示装置2で展開される電子ゲームやチャッカ26を利用したゲーム等を実行する。キャッチャー抽選装置4における抽選ゲームは、上記ゲームのうちの所定のゲームにおける所定の結果に応じて実行される。たとえば、上記電子ゲームの1つである画像表示装置2における画面抽選(スロットゲーム)や、上記チャッカ26を利用したゲームの1つである指定されたチャッカ26への入賞を狙うゲームにおいて、抽選ゲームの権利獲得に当選(入賞)した場合に実行される。なお、抽選ゲームの権利を獲得するためのゲームは、上記電子ゲームやチャッカを利用したゲームに限られず、投入されたメダルの作用に基づいて行われるゲームであればよい。例えば、メダルを投出して上記権利当選の的を狙うゲームがある。また、メダルを貯留可能な貯留部を狙ってメダルを投入し、この貯留部に所定枚数のメダルが貯留されることで上記権利を獲得できるゲームがある。図4に表れているように、チャッカ26に入ったメダルmおよびチャッカ26に入らなかったメダルmのいずれもプッシャフィールド3上に落下する。
図3および図4に表れているように、プッシャフィールド3は、固定プレート30上に可動プレート31が重ねられ、かつこの可動プレート31が図示しないモータの駆動によって一定のストロークで図4に矢印で示すような往復動を行なうように構成されたものである。可動プレート31が手前側に前進したときに、固定プレート30上に載っている複数枚のメダルmどうしが固定プレート30の手前に向けてうまく押し合うと、この固定プレート30の先端縁30aからその手前の落下溝32にメダルmが落下するようになっている。可動プレート31の往復動は、常時繰り返して実行されるように構成されているが、これに代えて、たとえば画像表示装置2において実行されるゲーム結果に対応させて可動プレート31を間欠的に動作させるようにしてもかまわない。落下溝32に落下したメダルmは、メダルmのホッパー装置等を有する周知のメダル払出機構(図示略)を介してメダル払出口13Bを通じて操作パネル部13上のメダル留置部(図示略)に払い出されるようになっている。固定プレート30上には、たとえばゲームの進行状況に応じて、キャッチャー抽選装置4によって獲得したボールb1が散在している。当該ボールb1は、固定プレート30上のメダルmが手前に押されるのに伴って手前に移動し、いずれ落下溝32に落下する。プッシャフィールド3の側方には、画像表示装置2において実行される電子ゲームやクルーン抽選装置6における抽選ゲームで所定の結果となった場合に固定プレート30ないし可動プレート31上にメダルmを払い出すためのメダル払出口33が設けられている。なお、固定プレート30の両側方には、メダル回収口301が設けられており、このメダル回収口301に入ったメダルmは、所定のメダル貯留部(図示略)に回収される。
本実施形態においては、メダルゲームフィールドMFには、後述するキャッチャー抽選装置4によって獲得したボールb1を搬送してプッシャフィールド3に投入するための固定レール51および可動レール52が設けられている。固定レール51の上端には、後述するキャッチャー42によって掬い取ったボールb1を載せる受皿51aが設けられ、固定レール51の下端には、ボールb1を可動レール52の基端部に落下させる孔51bが設けられている。可動レール52は、プッシャフィールド3上におけるボールb1の投入位置を振り分けるためのものであり、その基端部が、図示しないモータの出力軸に連結されるなどにより、所定の垂直軸回りに一定角度範囲内で回動可能とされている。可動レール52の先端部には、ボールb1を落下させるための孔52aが設けられている。
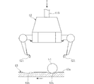
図5に表れているように、センターユニットCUは、キャッチャー抽選装置4と、センター抽選装置7と、メインディスプレイ8と、図示しないメダル払い出し機構とを具備して構成されている。本実施形態においては、センター抽選装置7によって実行される抽選ゲームは、たとえば最大数千枚ものメダルmが払い出される大当たり(以下、SJP(スーパージャックポット)という)を獲得するための抽選である。
キャッチャー抽選装置4は、プレイヤの入力操作によってボールb1を掬い取る抽選を行うためのものであり、キャッチャー駆動部41と、キャッチャー42と、回転テーブル43とを含んで構成されている。回転テーブル43上には、複数のボールb1(ゲーム用媒体)が載置されている。
キャッチャー駆動部41は、キャッチャー42を支持する直線レール411と、この直線レール411を回動させる回動機構412と、直線移動機構413とを備えている。直線レール411は、その一端部が上部カバー12の中央付近に設けられた回動軸121を中心として回動可能とされる一方、他端部に設けられたローラ411Aが上部カバー12の周縁付近に設けられた円弧レール122上を走行するようになっている。かかる構成の回動機構412は、図示しないモータによって駆動させられる。直線移動機構413は、キャッチャー42を直線レール411の長手方向に沿って直線移動させるためのものであり、直線レール411の長手方向にスライド移動可能なスライド部材414を備えている。キャッチャー42は、伸縮シャフト415を介してスライド部材414に吊り下げられており、スライド部材414の内部には、伸縮シャフト415の伸縮動作を行うためのモータが設けられている。スライド部材414は、たとえば、図示しないモータによってプーリ、ベルトを介して駆動させられる。
キャッチャー42は、図6に表れているように、伸縮シャフト415の下端に連結された支持枠体420と、ボールb1を保持するための開閉可能な一対の保持爪421とを有している。保持爪421は、それぞれ、基端部が支持枠体420の左右下寄りに位置する水平軸421a,421b周りに回動可能に設けられており、先端部がボールb1を掬い取ることができるように溝状とされている。また、支持枠体420の中央には、モータ422と、このモータ422の出力軸に連結される板カム423とが設けられている。また、保持爪421の基端部内側には、板カム423の外周に当接可能なローラ421c,421dが回転自在に取り付けられている。
板カム423は、平面視において略楕円形とされており、図6に示すように、この板カム423が短軸側両端423a,423bにおいてローラ421c,421dに当接する位置にあるとき、保持爪421は閉じた状態に保たれる。一方、図7に表れているように、板カム423が長軸側両端423c,423dにおいてローラ421c,421dに当接する位置にあるとき、保持爪421は開いた状態に保たれる。このような構成により、モータ422の駆動によって板カム423が垂直軸周りに回転させられると、一対の保持爪421は、開いた状態と閉じた状態との間で開閉動作を行う。なお、各保持爪421の上端には、支持枠体420に設けられた付勢バネ424の一端が連結されており、各保持爪421は、付勢バネ424の弾性復元力によって閉じる方向に付勢されている。
支持枠体420には、保持爪421が図6および図7に示す所定姿勢にあることを検出するセンサ425,426が設けられている、ここで、センサ425,426としては、たとえばフォトセンサが用いられ、図6および図8に表れているように、垂直軸を中心として対称となる位置に配置されている。一方、板カム423上には、上記垂直軸を中心として90°の角度間隔で高さの高い遮光板427と高さの低い遮光板428とが交互に配置されている。センサ425は、高さの高い遮光板427のみを検知することができる高さ位置に設定されており、センサ426は、両方の遮光板427,428を検知することができる高さ位置に設定されている。これにより、センサ425,426による検知信号によってマイクロコンピュータ9がモータ422を駆動制御することにより、保持爪421は、図6の開いた状態、あるいは図7の閉じた状態でその姿勢が保たれる。
キャッチャー42は、ゲームを実行していない時には、受皿51aの真上に待機している。なお、本実施形態においては、キャッチャー42およびキャッチャー駆動部41は、隣接する2つのメダルゲームフィールドMFごとに1セット設けられている。
回転テーブル43は、平面視において円環形状を呈しており、たとえば樹脂製である。回転テーブル43の上面部分は、フラットなボール載置面43aとなっている。このボール載置面43aには、複数のディンプル43bが設けられている。また、回転テーブル43には、ボール載置面43aの周縁を包囲するように上向きに起立した起立壁43cが設けられている。図9に表れているように、ディンプル43bは球面状とされており、その曲率半径はボールb1の曲率半径よりも大とされている。ディンプル43bの深さは、ボールb1の直径の1/10程度と比較的に小さく設定されている。これにより、ボールb1がディンプル43bに嵌まった状態においては、回転テーブル43が定速で回転しても、ボールb1がディンプル43bから出ることはなく、ボール載置面43aに対するボールb1の移動が規制される。これらディンプル43bは、回転テーブル43の円周方向に沿って規則的に配列されている。ディンプル43bの間隔は、ボールb1が通過可能な程度隔てられており、これにより、隣接する2つのディンプル43bにボールb1が嵌まった状態であっても、その間をボールb1が通過できるようになっている。また、ディンプル43bの直径は、円周方向に沿う列ごとに適宜異ならせてもよい。
回転テーブル43は、図10に表れているように、環状の上板431と、筒状部432と、環状の下板433とが連結された構成とされており、上記したボール載置面43a、ディンプル43bおよび起立壁43cは、上板431に設けられている。下板433は、下部筐体10の適所に設けられた複数のローラ101を介して回転可能に支持されている。また、下板433の側面には、水平方向の位置を規定する複数のローラ102が回転自在に当接している。これにより、回転テーブル43は、下部筐体10に対して垂直軸v1周りに回転可能に支持されている。また、下板433の上面には、下部筐体10に支持されたモータ103の出力軸に取り付けられた出力ローラ104が圧接されており、マイクロコンピュータ9がモータ103を駆動制御することによって、回転テーブル43が回転させられる。
回転テーブル43は、少なくともキャッチャー抽選装置4によってボールb1を掬い取る抽選が行われる際には回転させられ、あるいは常時回転させられてもよい。また、回転テーブル43の回転速度は可変とされている。たとえば、画像表示装置2の画面抽選によってキャッチャー抽選装置4における抽選の権利を獲得した際に、回転テーブル43の回転速度についての抽選を行い、その抽選結果に基づいて回転テーブル43の回転速度が調整される。なお、回転テーブル43は、円環形状に限られず、多角形状のテーブルであってもよく、また環状でなくてもよい。
複数のボールb1は、属性の異なる2種以上によって構成されている。ボールb1の属性は外見上識別可能とされており、本実施形態においては、たとえば、赤、青、および黄に色分けされた3種の属性を有している。また、ボールb1には、図示しないICタグが内蔵されており、このICタグを読取センサによって読み取ることにより、ボールb1の属性を識別可能となっている。
本実施形態では、ボールb1の属性の種類に応じて、センター抽選装置7においてSJP抽選に当選した場合のメダル払い出し枚数が異なるように設定されている。すなわち、ボールb1の色に対応させてSJP当選時のメダル払い出し枚数が規定されている。メダル払い出し枚数は、たとえば、初期値を、赤が1000枚、青が500枚、黄が500枚と異ならせられ、各プレイヤによるメダルゲームフィールドMFへのメダル投入枚数に応じて加算されるように設定されている。具体的には、メダル投入枚数と所定の係数との乗算によって得られた値を加算する。ここで、加算値はすべての色について一定ではなく、異なるものであってもよい。たとえば、メダル払い出し枚数の表示値が最も大きいものについて、加算値が最大となるように各色の係数が採用される。また、SJP当選が発生した場合、SJP当選に係る色に対応するメダル払い出し枚数は、初期値にリセットされる。色ごとのメダル払い出し枚数は、たとえばメインディスプレイ8に表示されている。
キャッチャー42は、操作パネル部13のレバー13Cおよび操作ボタン13Aの操作に応じて作動するようになっている。たとえば、キャッチャー抽選装置4における抽選の権利が発生すると、プレイヤが任意のタイミングでレバー13Cを操作することにより、直線レール411が往復回動する範囲においてキャッチャー42(スライド部材414)を所望の位置(たとえば狙いを定めたボールb1の円周上)まで移動させることができる。当該位置において、操作ボタン13Aを押すことにより、図11に表れているように、伸縮シャフト415が自動的に送り出され、キャッチャー42が降下する。このとき、保持爪421は開いた状態となっており、平面視において、保持爪421の開閉方向は、回転テーブル43の回転方向に略平行となっている。そして、キャッチャー42が回転テーブル43のボール載置面43aに接触すると、当該接触をセンサによって検知し、キャッチャー42を少し引き上げたうえで保持爪421を閉じる(図12参照)。これにより、保持爪421を閉じる動作中に当該保持爪421が回転テーブル43に接触して引き摺られることはなく、伸縮シャフト415などに余分な負荷がかかることはない。
ここで、ボールb1が保持爪421に挟まれる位置にあれば、ボールb1を掬い取ることができる。なお、本実施形態では、上述したように、保持爪421の開閉方向が回転テーブル43の回転方向に略平行であり、また、ディンプル43bによってボールb1の移動が規制されているため、比較的容易にボールb1を掬い取ることができる。次いで、キャッチャー42を引き上げるとともに、回動機構412および直線移動機構413を動作させて、キャッチャー42を待機位置(受皿51aの真上)に戻す。次いで、保持爪421を開く。これら一連の動作は、マイクロコンピュータ9によって制御される。なお、本実施形態では、保持爪421はボールb1を掬い取る形態とされているが、これに代えてボールb1を挟持する形態としてもよい。
キャッチャー抽選装置4によってボールb1を獲得すると、当該ボールb1は、固定レール51および可動レール52を介してプッシャフィールド3上に投入される。このボールb1が落下溝32から落下すると、落下溝32の下部にある図示しない上記読取センサによってボールb1の属性が読み取られた後に、クルーン抽選装置6において抽選ゲーム(物理的抽選)が実行される。なお、プッシャフィールド3へのボールb1の投入について、固定レール51および可動レール52を介さない構成とすることもできる。この場合、たとえば、上記レール51,52を具備しない代わりにキャッチャー42がプッシャフィールド3上まで移動可能となるように構成し、ボールb1をキャッチャー42からプッシャフィールド3上へ直接投入すればよい。
上記読取センサによって属性が読み取られたボールb1は、図13に表れているように、通路15を介してリフト機構16に送られる。リフト機構16は、ボールb1を回転テーブル43上に戻すためのものであり、上下に離間する一対のプーリ161と、これらプーリ161に掛け回されるベルト162と、ベルト162に略一定間隔で設けられた複数の仕切板163と、これらを収容するケース164とを備えている。通路15を転がってきたボールb1は、ベルト162と、隣り合う仕切板163と、ケース164との間に受容される。一方のプーリ161が図示しないモータによって回転駆動させられ、ベルト162が矢印方向に移動させられる。これに伴い、ボールb1は上方に運搬され、開口164aを通じて回転テーブル43上に放出される。このようにして、メダルゲーム機A内においては、ボールb1は循環利用される。
図3に表れているように、クルーン抽選装置6は、ボールb2を用いて物理的抽選(所定のイベント)を行うためのものであり、ボールb2が転動する抽選盤61と、抽選盤61の中央において、回転可能とされ、かつ上下に配置された2枚のディスク62,63とを備えている。上側のディスク62には、ボールb2が入る複数(本実施形態では6個)の入賞孔62aが一定ピッチで形成されており、下側のディスク63には、ボールb2が通過しうる複数の孔63aが入賞孔62aと同一ピッチで形成されている。ディスク63は、ディスク62に対し、孔63aが入賞孔62aとずれた位置と、孔63aが入賞孔62aに重なる位置との間で孔63aの配列ピッチの約半ピッチ分だけ相対移動可能になっている。この入賞孔62aへのボールb2の入賞によってイベント効果が発生する。本実施形態では、たとえば1個の入賞孔62aが、センター抽選装置7におけるSJP抽選に進むための権利獲得(当選)となっており、他の5個の入賞孔62aが、メダル払出口33による所定枚数のメダル払い出しや画像表示装置2における電子ゲームのステップアップとなっている。
クルーン抽選装置6における抽選時には、マイクロコンピュータ9が図示しないモータを駆動することによって、ディスク62,63は、入賞孔62aおよび孔63aがずれた位置関係で一定方向に回転させられる。ここで、たとえば、ディスク62には図示しないワンウェイクラッチが係合しており、ディスク63の回転駆動に追従してディスク62が回転するようになっている。そして、待機位置にあるボールb2が抽選盤61上に自動的に放出される。ボールb2がいずれかの入賞孔62aに入ると、ボールb2はディスク63上面に支持され、入賞孔62aに半分ほど入った状態で一旦保持される。ここで、ボールb2がどの入賞孔62aに入ったかを図示しないセンサによって検知し、その入賞孔62aに応じて次の展開に進む。次いで、たとえばディスク63だけが少し逆回転させられ、孔63aが入賞孔62aと重なることにより、ボールb2が孔63aから落下する。落下したボールb2は、たとえば図示しないリフト機構によって再び待機位置まで戻される。
図14に表れているように、センター抽選装置7は、ボールb3を用いて物理的抽選(SJP抽選)を行うためのものであり、ボールb3が転動する転動フィールド71と、レール72と、傾斜フィールド73と、入賞テーブル74とを備えている。これら符号71〜74で表された部分は、中央筐体70に支持されており、中央筐体70は、下部筐体10に対して垂直軸周りに回転可能に支持されている。なお、SJP抽選も、ボールb1の落下溝32への落下を条件としてクルーン抽選装置6による物理的抽選で権利を獲得することで実行されることから、本発明の所定のイベントに相当する。
転動フィールド71は、中央に孔71aが形成されており、中央に向かうほど低位になる漏斗状とされている。レール72は、孔71aから落下したボールb3を螺旋状に転がし、下端の孔72aを通じて傾斜フィールド73の奥方に落下させるためのものである。傾斜フィールド73は、手前側ほど低位になる傾斜面を有しており、たとえばゴムを張設したバウンド部73bによってボールb3を弾きつつ手前側の開口73cに導くように構成されている。なお、傾斜フィールド73の中央には、ゴムを張設した回転ボード73aが設けられており、この回転ボード73aは傾斜面に対する垂直軸周りに適宜回転させられる。これにより、レール72を通じて落下したボールb3は、回転ボード73aによって弾かれて不規則な動きをする。入賞テーブル74は、所定の円周上に沿って配置された複数(本実施形態では20個)のポケット74aを有しており、手前側ほど低位となるように傾斜させられている。入賞テーブル74は、中央筐体70に対して、当該傾斜姿勢を保ったまま所定の傾斜軸周りに回転可能に支持されている。隣接するポケット74aの間は縦壁によって区切られており、ボールb3が傾斜フィールド73の開口73cを通過すると、いずれか1つのポケット74aに入るようになっている。
ポケット74aの外周部には、各ポケット74aに対応する賞の内容が表示されている。本実施形態では、たとえば、20個のポケット74aのうち、1個がSJP当選、5個がSJP以外の所定枚数のメダル払い出し、4個がキャッチャー抽選装置4による抽選の権利獲得、10個がはずれ、として割り当てられている。各ポケット74aにボールb3が入った状態は、たとえば光学式センサ(図示略)によって検知される。たとえば、ポケット74aの外側には、ボールb3が収納されているポケット74aを検知するセンサと、入賞テーブル74の基準位置を検知するセンサと、入賞テーブル74の基準位置からの回転量を検知するセンサとが設けられており、これらセンサからの検知信号に基づいて、どのポケット74aにボールb3が入ったかを把握することができる。
センター抽選装置7における抽選時には、中央筐体70は、マイクロコンピュータ9が図示しないモータを制御することによって、傾斜フィールド73および入賞テーブル74の傾斜方向がSJP抽選を行うプレイヤの正面方向を向くように適宜回転させられる。また、入賞テーブル74は、マイクロコンピュータ9が図示しないモータを制御することによって適宜回転させられる。そして、待機位置にあるボールb3が転動フィールド71に放出される。ボールb3は、転動フィールド71、レール72、傾斜フィールド73を転動した後に開口73cを通過し、いずれかのポケット74aに入る。ここで、ボールb3がどのポケット74aに入ったかを上記センサによって検知し、そのポケット74aに応じた賞がプレイヤに与えられる。次いで、たとえば入賞テーブル74を約半周回転させ、ボールb3が入ったポケット74aを上位奥方に配置することにより、中央筐体70内にボールb3が落下回収される。回収されたボールb3は、たとえば図示しないリフト機構によって再び待機位置まで戻される。
上記メダル払い出し機構は、センター抽選装置7における抽選ゲーム(SJP抽選)の終了後に該当するプレイヤのメダルゲームフィールドMF上にメダルmを払い出すためのものである。詳細な図示説明は省略するが、上記メダル払い出し機構は、たとえば通常時にはメインディスプレイ8の裏側に収納される一方、メダル払い出し時には下方に伸張させられてメダルゲームフィールドMFの直上まで通ずるメダル搬送経路を形成するように構成されている。メダル払い出し時には、メインディスプレイ8の両端上部に設けられた図示しないボウルから上記メダル搬送経路上にメダルmが供給される。
本実施形態のメダルゲーム機Aにおいては、所定のイベントであるクルーン抽選装置6における物理的抽選およびセンター抽選装置7の物理的抽選の開始条件となるプッシャフィールド3へのボールb1の投入は、プレイヤの入力操作によって作動させられるキャッチャー42によってボールb1を獲得することができた場合に限って行われる。すなわち、プレイヤは、ボールb1の投入の可否に自ら関与することができる。したがって、かかる構成によれば、プレイヤの期待度や興奮度を高めることができ、メダルゲーム機としての興趣を高めることができる。
本実施形態においては、キャッチャー抽選装置4によって獲得されるべきボールb1は、属性の異なる複数種類によって構成されている。そして、ボールb1の属性の種類に応じて、センター抽選装置7におけるイベント効果(SJP当選時のメダル払い出し枚数)が異なる。このため、プレイヤは、どの属性のボールb1を狙うかについて関心が高くなる。これにより、キャッチャー抽選装置4におけるプレイヤの期待度や興奮度がより高められ、メダルゲーム機としての興趣をより高めることができる。
また、センター抽選装置7におけるSJP当選時のメダル払い出し枚数は、メインディスプレイ8に表示されている。このため、プレイヤは、メインディスプレイ8によって上記メダル払い出し枚数を認識したうえで、最も有益な属性のボールb1を狙うことが可能である。
キャッチャー抽選装置4によって獲得されたボールb1は、プッシャフィールド3上において振り分けて投入され、当該ボールb1が手前の落下溝32に落下すると、クルーン抽選装置6による抽選が開始される。すなわち、プッシャフィールド3上に留まっているボールb1の位置や数量によって、クルーン抽選装置6による抽選の開始条件が異なりうる。このため、プレイヤがゲームを開始するに際し、空いているメダルゲームフィールドMFのいずれを選択するかについて当該プレイヤの期待度や興奮度を高めることができる。したがって、かかる観点からもメダルゲーム機としての興趣を高めることができる。
キャッチャー抽選装置4の回転テーブル43は、抽選ゲーム時に回転させられているため、回転テーブル43上にあるボールb1の獲得の難易度を上げることができる。これにより、プレイヤのボールb1獲得に対する挑戦意欲が掻き立てられ、メダルゲーム機としての興趣をより高めることができる。また、回転テーブル43の回転速度が調整可能とされているため、ボールb1の獲得の難易度を変化させることができる。
本実施形態では、キャッチャー42およびキャッチャー駆動部41は、隣接する2つのメダルゲームフィールドMFごとに1セット設けられており、全体として4セット設けられている。これにより、各キャッチャー42の移動可能範囲は、回転テーブル43のボール載置面43aの全範囲ではなく、当該全範囲の略1/4の範囲であるが、回転テーブル43が回転させられることにより、獲得したいボールb1を狙うことができる。すなわち、狙っているボールb1がキャッチャー42の移動可能範囲外にあっても、回転テーブル43の回転によってキャッチャー42の移動可能範囲内に移動してくるので、その移動のタイミングに応じて狙うことが可能となる。したがって、ボールb1が回転テーブル43上の一部に偏っているような場合でも、プレイヤ全員に対して公平にボールb1を獲得できる機会を付与することができる。
回転テーブル43上にあるボールb1は、ボール載置面43aに設けられたディンプル43bに適宜入ることによってその移動が規制されるため、回転テーブル43の回転に伴ってボールb1が転がり続けるといった不都合が適切に防止される。
また、メダルゲーム機Aが設置される店舗のフロアが多少傾斜している場合もあるので、従来においては、たとえば回転テーブルの上面をボールが転がり難い人工芝などの材料によって形成することにより、ボールの不用意な移動を防止することも考えられる。しかしながら、人工芝を用いた場合、ボールやキャッチャーとの摩擦などにより芝部分が剥がれ易く、塵や埃などが発生し易かった。そして、塵などがメダルゲーム機本体内部に入り込むと故障のなどの不具合を招く虞もあった。これに対し、本実施形態では、ディンプル43bによってボールb1の移動が規制されるので、回転テーブル43として樹脂等のようなボールb1が転がり易い材料を用いても傾斜方向にボールb1が偏ってしまうことを防止できる。すなわち、回転テーブル43の構成材料が制限されることはなく、塵や埃などが発生し難い樹脂等の材料によって回転テーブル43を形成することが可能となる。
また、回転テーブル43にはボール載置面43aの周縁を包囲する起立壁43cが設けられている。このため、たとえばキャッチャー42によるボールb1の獲得動作中において、回転テーブル43上のボールb1がキャッチャー42によって弾かれるなどしても、当該ボールb1が回転テーブル43の周縁から不当にこぼれ落ちることはない。
以上、本発明の実施形態を説明したが、本発明の技術的範囲は上記した実施形態に限定されるものではない。本発明に係るメダルゲーム機の各部の具体的な構成は、発明の思想から逸脱しない範囲内で種々な変更が可能である。
本発明に係るメダルゲーム機において、ゲーム用媒体獲得手段(キャッチャー抽選装置4)を介して獲得されたゲーム用媒体によって抽選(所定のイベント)が開始されるまでの態様はいかなるものであってもよい。上記実施形態では、キャッチャー抽選装置4によって獲得されたボールb1が所定のフィールド(プッシャフィールド3)に投入され、所定位置(落下溝32)に到達した場合にクルーン抽選装置6による物理的抽選、およびセンター抽選装置7による物理的抽選が順次行われるように構成されていたが、これに代えて、たとえば、キャッチャー抽選装置4によってボールb1が獲得されると、当該ボールb1をクルーン抽選装置6(抽選フィールド)に投入して物理的抽選を行い、これに当選した場合のみ所定のフィールドにボールb1を投入し、当該ボールb1が所定位置に到達することにより、センター抽選装置7による物理的抽選が開始される構成としてもよい。
上記実施形態においては、獲得されたボールb1が落下溝32に落下(所定位置に到達)することによって抽選が開始されるように構成されていたが、ボールb1の落下溝32への落下により、たとえば所定枚数のメダルmがプッシャフィールド3またはプレイヤに払い出される(所定のイベント)構成であってもよい。この場合、ボールb1の属性種類に応じてメダル払出枚数(イベント効果)が異なるようにしてもよい。さらに、ボールb1の属性種類に応じたメダル払出枚数をメインディスプレイ8に表示してもよい。
また、ボールb1の落下溝32への落下により、たとえば画像表示装置2の画面上での抽選、画面上でのゲームの進行等の所定のイベントがなされてもよい。ゲームの進行は、例えば双六ゲームにおいて、ボールb1の到達によって所定のコマ数進める、所定のマスに進む等が考えられる。この場合、ボールb1の属性種類に応じて画面上の抽選の抽選内容、ゲーム進行の内容(コマ数や所定のマス等)等のイベント効果が変化するようにしてもよい。さらに、ボールb1の属性種類に応じた抽選内容等を画像表示装置2に表示してもよい。
上記実施形態においては、キャッチャー42によって獲得したボールb1をプッシャフィールド3に投入するように構成されているが、これに限定されものではない。たとえば、獲得したボールb1を抽選フィールド(センター抽選装置7の転動フィールド71)に直接投入し、SJP抽選(所定のイベント)を行う構成であってもよい。この場合、プッシャフィールドを具備しない構成とすることができる。
ボールb1の属性種類に応じて、センター抽選装置7におけるSJP抽選の当選確率(イベント効果)を変化させる構成であってもよい。たとえば、ポケット74aの外周部に各ポケット74aに対応するように複数の表示部を備えた構成とすることができる。これらの表示部は、たとえばLEDドットマトリクスによって構成され、各ポケット74aの賞の内容を表示するべくマイクロコンピュータ9によって制御される。また、ボールb1の属性種類に応じてSJPの数(表示部の表示数)を増減させる。上記例においては、SJP当選によるメダル払出枚数はボールb1の属性種類にかかわらず共通としてもよい。
ゲーム用媒体獲得手段のキャッチャーとしては、上記実施形態のような一対の保持爪を有するタイプのものに限定されず、たとえば、図15に示すように、開閉可能な複数対の保持爪421を有するキャッチャー42’を採用することができる。複数対の保持爪421を有する構成においては、たとえば、キャッチャー抽選の権利が発生した場合に、作動させる保持爪421の数を、画像表示装置2を用いた抽選によって決定するように構成することができる。図15に表されたキャッチャー42’の場合、4つの保持爪421に個々に対応する駆動部(図6〜図8を参照して上述したモータ422および板カム423等を具備したのと同様の構成のもの)を設け、4つの保持爪421すべてが独立して作動しうる構成とすることができる。あるいは、対向する一対の保持爪421ごとに1つの駆動部を設け、各対ごとに独立して作動しうる構成とすることができる。この場合、作動させない保持爪421については、開いた状態にして退避させておけばよい。
このような構成によれば、当該抽選の結果に応じて作動させる保持爪421の数が変化させられることになり、ゲーム用媒体の獲得率を実質的に変化させることが可能となる。したがって、かかる構成によれば、メダルゲーム機としての興趣をより高めることができる。
また、作動させる保持爪421の数を変化させる構成に代えて、例えば、キャッチャー抽選の権利が発生した場合に、ゲーム用媒体を獲得するための機会(キャッチャーの作動回数)を抽選(画面抽選)によって決定するように構成してもよい。この場合、キャッチャーを作動させる回数が変化することによってゲーム用媒体の獲得率を実質的に変化させることが可能となる。
本発明のキャッチャーとしては、複数の保持爪を有する構成に限定されるものではなく、たとえば単一のクレーン(シャベル部材)を有する構成としてもよい。当該クレーンは、たとえば基端部において水平軸周りに回動させられる。また、クレーンを有する構成の場合、たとえばクレーンを複数配設し、抽選で作動数を決定する構成にしてもよい。作動しないクレーンは、回動させて閉じきった状態にして退避させておけばよい。
ゲーム用媒体獲得手段の載置部材としては、凹部(ディンプル43b)を備えた構成に代えて、たとえば人工芝を敷き詰めた構成としてもよい。この場合、人工芝とゲーム用媒体(ボールb1)との摩擦により、当該ボールb1が載置部材上において不当に転動するのは防止される。
本発明でいうゲーム用媒体としては、球状のボールに限定されるものではなく、ボール以外の多面体や卵状などの非球状の物体を用いることができる。
また、ゲーム用媒体の形状およびサイズは同一である必要はない。たとえば、各ゲーム用媒体のそれぞれの形状等を異なるように形成し、この形状等の違いを属性種類としてもよい。この場合、各ゲーム用媒体の表面の色を同一にすることが可能となる。
上記実施形態においては、メダルプッシャゲーム装置について説明したが、本発明は、プッシャフィールドを有しないメダルゲーム機にも適用可能である。たとえば、チャッカを有し、投入したメダルのチャッカへの入賞によって所定のゲームが実行され、ゲーム結果に応じてメダルが払い出されるようなメダルゲーム機としてもよい。この場合、ゲーム結果によってボールを掬い取って抽選フィールドに投入する構成とすればよい。
本発明に係るメダルゲーム機の一実施形態の全体外観図である。 図1に示すメダルゲーム機の電気的構成を示すブロック図である。 図1に示すメダルゲーム機のメダルゲームフィールドの構成例を示す概略正面図である。 図3に示される構成の部分縦断面図である。 図1に示すメダルゲーム機の要部斜視図である。 キャッチャーの内部構造を表し、保持爪が閉じた状態を示す要部正面図である。 キャッチャーの内部構造を表し、保持爪が開いた状態を示す要部正面図である。 図6の右側面図である。 図5の要部断面図である。 載置部材の支持構造を示す要部縦断面図である。 キャッチャーの作動を説明するための要部正面図である。 キャッチャーの作動を説明するための要部正面図である。 リフト機構の構造を説明するための要部縦断面図である。 図1に示すメダルゲーム機のセンター抽選装置の要部斜視図である。 キャッチャーの他の構成例を示す要部斜視図である。
符号の説明
A メダルゲーム機
b1 ボール(ゲーム用媒体)
m メダル
MF メダルゲームフィールド
v1 垂直軸
2 画像表示装置(表示手段)
3 プッシャフィールド
4 キャッチャー抽選装置(ゲーム用媒体獲得手段)
6 クルーン抽選装置(抽選部)
7 センター抽選装置(抽選部)
8 メインディスプレイ(表示手段)
16 リフト機構
30 固定プレート
31 可動プレート
32 落下溝
41 キャッチャー駆動部
42,42’ キャッチャー
43 回転テーブル(載置部材)
43a ボール載置面(載置部材の上面)
43b ディンプル(凹部)
43c 起立壁
421 保持爪

Claims (13)

  1. メダルとは異なるゲーム用媒体がフィールドに投入され、このフィールドへ投入されたゲーム用媒体の移動によって所定のイベントが開始されるように構成されたメダルゲーム機であって、
    上記ゲーム用媒体を載置するための載置部材と、上記載置部材上のゲーム用媒体を保持して移動させるためのキャッチャーとを有し、プレイヤの入力操作によって上記キャッチャーを作動させることにより、当該キャッチャーを用いてゲーム用媒体を獲得するように構成されたゲーム用媒体獲得手段を備え、
    上記フィールドへのゲーム用媒体の投入は、上記ゲーム用媒体獲得手段によってゲーム用媒体が獲得された場合に行われることを特徴とする、メダルゲーム機。
  2. 上記フィールドは、固定プレートおよび当該固定プレート上において往復動する可動プレートを有し、上記固定プレート上に載っているメダルが上記可動プレートによって押されて落下溝に落下するように構成されたプッシャフィールドを含み、
    上記プッシャフィールドへ投入されたゲーム用媒体が上記落下溝に落下することによって上記所定のイベントが開始されるように構成されている、請求項1に記載のメダルゲーム機。
  3. 物理的抽選を行う抽選部を備え、
    上記所定のイベントは、ゲーム用媒体が落下することによって上記抽選部において行われる物理的抽選である、請求項2に記載のメダルゲーム機。
  4. 上記フィールドは物理的抽選を行う抽選フィールドを含んでおり、
    上記所定のイベントは、上記ゲーム用媒体獲得手段によって獲得されたゲーム用媒体を用いて上記抽選フィールドにおいて行われる物理的抽選である、請求項1に記載のメダルゲーム機。
  5. 上記ゲーム用媒体は、属性の異なる2種以上によって構成されており、
    上記所定のイベントは、上記ゲーム用媒体の属性の種類に応じてイベント効果が変化しうるように構成されている、請求項1または2に記載のメダルゲーム機。
  6. 上記ゲーム用媒体の属性の種類ごとの上記イベント効果の内容を表示する表示手段を備える、請求項5に記載のメダルゲーム機。
  7. 上記載置部材は、平面視において円環形状を呈し、かつ上面が全体としてほぼ水平面状をなしており、所定の垂直軸周りに回転させられる、請求項1ないし6のいずれかに記載のメダルゲーム機。
  8. 上記載置部材は、回転速度が可変とされている、請求項7に記載のメダルゲーム機。
  9. 上記ゲーム用媒体は転動体からなり、上記載置部材の上記上面には、上記ゲーム用媒体の移動を規制するための複数の凹部が設けられている、請求項1ないし8のいずれかに記載のメダルゲーム機。
  10. 上記載置部材は、上記上面の周縁を包囲するように形成された起立壁を備えている、請求項9に記載のメダルゲーム機。
  11. 上記キャッチャーは、投入されたメダルの作用に基づいて行われるゲームにおいて所定の結果が生じた場合に作動させられる、請求項1ないし10のいずれかに記載のメダルゲーム機。
  12. 上記キャッチャーは、それぞれが独立して作動可能とされ、上記ゲーム用媒体を保持するための複数の保持爪を有しており、
    上記キャッチャーの作動が可能となった場合に行われる抽選の結果に応じて上記保持爪の作動数が変化させられる、請求項11に記載のメダルゲーム機。
  13. 上記フィールドに投入されたゲーム用媒体を上記載置部材上に戻すためのリフト機構をさらに備える、請求項1ないし12に記載のメダルゲーム機。
JP2008211401A 2008-08-20 2008-08-20 メダルゲーム機 Active JP5155061B2 (ja)

Priority Applications (1)

Application Number Priority Date Filing Date Title
JP2008211401A JP5155061B2 (ja) 2008-08-20 2008-08-20 メダルゲーム機

Applications Claiming Priority (1)

Application Number Priority Date Filing Date Title
JP2008211401A JP5155061B2 (ja) 2008-08-20 2008-08-20 メダルゲーム機

Related Child Applications (1)

Application Number Title Priority Date Filing Date
JP2012238050A Division JP5512777B2 (ja) 2012-10-29 2012-10-29 メダルゲーム機

Publications (2)

Publication Number Publication Date
JP2010046176A true JP2010046176A (ja) 2010-03-04
JP5155061B2 JP5155061B2 (ja) 2013-02-27

Family

ID=42063802

Family Applications (1)

Application Number Title Priority Date Filing Date
JP2008211401A Active JP5155061B2 (ja) 2008-08-20 2008-08-20 メダルゲーム機

Country Status (1)

Country Link
JP (1) JP5155061B2 (ja)

Cited By (4)

* Cited by examiner, † Cited by third party
Publication number Priority date Publication date Assignee Title
JP2013051986A (ja) * 2011-08-31 2013-03-21 Copcom Co Ltd ゲーム機
JP2014200600A (ja) * 2013-04-10 2014-10-27 株式会社カプコン ゲーム機
JP2016041114A (ja) * 2014-08-14 2016-03-31 株式会社コナミデジタルエンタテインメント ゲームシステム、制御方法及びコンピュータプログラム
JP2022024751A (ja) * 2020-07-28 2022-02-09 株式会社コナミアミューズメント 抽選システム、抽選システムの動作方法およびプログラム

Citations (6)

* Cited by examiner, † Cited by third party
Publication number Priority date Publication date Assignee Title
JPH06254257A (ja) * 1993-03-04 1994-09-13 Konami Kk クレーンゲーム機
JP2004073575A (ja) * 2002-08-20 2004-03-11 Copcom Co Ltd 景品獲得ゲーム機
JP2005205155A (ja) * 2003-12-25 2005-08-04 Sega Corp 物品取得ゲーム装置
JP2006087728A (ja) * 2004-09-24 2006-04-06 Nippon Bmc:Kk クレーンゲーム機
JP2006223407A (ja) * 2005-02-15 2006-08-31 Kenzo Yamazaki 景品獲得ゲーム機の景品載置台
JP2007209652A (ja) * 2006-02-13 2007-08-23 Konami Digital Entertainment:Kk ゲーム装置及びその制御方法

Patent Citations (6)

* Cited by examiner, † Cited by third party
Publication number Priority date Publication date Assignee Title
JPH06254257A (ja) * 1993-03-04 1994-09-13 Konami Kk クレーンゲーム機
JP2004073575A (ja) * 2002-08-20 2004-03-11 Copcom Co Ltd 景品獲得ゲーム機
JP2005205155A (ja) * 2003-12-25 2005-08-04 Sega Corp 物品取得ゲーム装置
JP2006087728A (ja) * 2004-09-24 2006-04-06 Nippon Bmc:Kk クレーンゲーム機
JP2006223407A (ja) * 2005-02-15 2006-08-31 Kenzo Yamazaki 景品獲得ゲーム機の景品載置台
JP2007209652A (ja) * 2006-02-13 2007-08-23 Konami Digital Entertainment:Kk ゲーム装置及びその制御方法

Cited By (5)

* Cited by examiner, † Cited by third party
Publication number Priority date Publication date Assignee Title
JP2013051986A (ja) * 2011-08-31 2013-03-21 Copcom Co Ltd ゲーム機
JP2014200600A (ja) * 2013-04-10 2014-10-27 株式会社カプコン ゲーム機
JP2016041114A (ja) * 2014-08-14 2016-03-31 株式会社コナミデジタルエンタテインメント ゲームシステム、制御方法及びコンピュータプログラム
JP2022024751A (ja) * 2020-07-28 2022-02-09 株式会社コナミアミューズメント 抽選システム、抽選システムの動作方法およびプログラム
JP7527628B2 (ja) 2020-07-28 2024-08-05 株式会社コナミアミューズメント 抽選システム、抽選システムの動作方法およびプログラム

Also Published As

Publication number Publication date
JP5155061B2 (ja) 2013-02-27

Similar Documents

Publication Publication Date Title
TW309438B (ja)
US7192345B2 (en) Reel strip interaction
US20040048659A1 (en) Gaming device and method
US10410478B2 (en) Dice-based gaming system operable to generate an animation
US8992296B2 (en) Gaming system and device having multiple wagering outcome systems and an intersection-based win evaluation
JP5155061B2 (ja) メダルゲーム機
US11410503B2 (en) Gaming system and method for modifying a play of a table game based on a sporting event
JP2002210221A (ja) 抽選搬送装置及びこれを備えた遊技機
CN102917761B (zh) 抽签装置及抽签程序
JP4772296B2 (ja) ゲーム機
JP5746743B2 (ja) メダルゲーム機
JP2005080690A (ja) マルチターミナル型ルーレットゲーム装置
JP5512777B2 (ja) メダルゲーム機
JP5485556B2 (ja) 抽選装置
JP5424554B2 (ja) ゲーム機
JP5155062B2 (ja) メダルゲーム機
JP5097643B2 (ja) ゲーム機
JP4495548B2 (ja) 抽選装置
JP5227574B2 (ja) ゲーム機
JP5097645B2 (ja) メダル投出装置およびそれを用いたメダルゲーム機
JP5563040B2 (ja) メダルゲーム機
CN120322273A (zh) 信息处理设备和程序
JP2008206669A (ja) ゲーム装置
JP2011239965A (ja) 抽選装置及び抽選プログラム
JPH09322961A (ja) パチンコ機

Legal Events

Date Code Title Description
A621 Written request for application examination

Free format text: JAPANESE INTERMEDIATE CODE: A621

Effective date: 20110818

A977 Report on retrieval

Free format text: JAPANESE INTERMEDIATE CODE: A971007

Effective date: 20120720

A131 Notification of reasons for refusal

Free format text: JAPANESE INTERMEDIATE CODE: A131

Effective date: 20120828

A521 Request for written amendment filed

Free format text: JAPANESE INTERMEDIATE CODE: A523

Effective date: 20121029

TRDD Decision of grant or rejection written
A01 Written decision to grant a patent or to grant a registration (utility model)

Free format text: JAPANESE INTERMEDIATE CODE: A01

Effective date: 20121204

A61 First payment of annual fees (during grant procedure)

Free format text: JAPANESE INTERMEDIATE CODE: A61

Effective date: 20121206

FPAY Renewal fee payment (event date is renewal date of database)

Free format text: PAYMENT UNTIL: 20151214

Year of fee payment: 3

R150 Certificate of patent or registration of utility model

Ref document number: 5155061

Country of ref document: JP

Free format text: JAPANESE INTERMEDIATE CODE: R150

Free format text: JAPANESE INTERMEDIATE CODE: R150

R250 Receipt of annual fees

Free format text: JAPANESE INTERMEDIATE CODE: R250

R250 Receipt of annual fees

Free format text: JAPANESE INTERMEDIATE CODE: R250

R250 Receipt of annual fees

Free format text: JAPANESE INTERMEDIATE CODE: R250

R250 Receipt of annual fees

Free format text: JAPANESE INTERMEDIATE CODE: R250

R250 Receipt of annual fees

Free format text: JAPANESE INTERMEDIATE CODE: R250

R250 Receipt of annual fees

Free format text: JAPANESE INTERMEDIATE CODE: R250

S802 Written request for registration of partial abandonment of right

Free format text: JAPANESE INTERMEDIATE CODE: R311802

R350 Written notification of registration of transfer

Free format text: JAPANESE INTERMEDIATE CODE: R350

R250 Receipt of annual fees

Free format text: JAPANESE INTERMEDIATE CODE: R250

R250 Receipt of annual fees

Free format text: JAPANESE INTERMEDIATE CODE: R250

R250 Receipt of annual fees

Free format text: JAPANESE INTERMEDIATE CODE: R250