JP2010046091A - 防鳥具取付装置 - Google Patents

防鳥具取付装置 Download PDF

Info

Publication number
JP2010046091A
JP2010046091A JP2009262160A JP2009262160A JP2010046091A JP 2010046091 A JP2010046091 A JP 2010046091A JP 2009262160 A JP2009262160 A JP 2009262160A JP 2009262160 A JP2009262160 A JP 2009262160A JP 2010046091 A JP2010046091 A JP 2010046091A
Authority
JP
Japan
Prior art keywords
mounting
electric shock
bird
wiring
lever
Prior art date
Legal status (The legal status is an assumption and is not a legal conclusion. Google has not performed a legal analysis and makes no representation as to the accuracy of the status listed.)
Granted
Application number
JP2009262160A
Other languages
English (en)
Other versions
JP5042295B2 (ja
Inventor
Giichi Fujinaga
義一 藤永
Masaya Fujinaga
雅也 藤永
Current Assignee (The listed assignees may be inaccurate. Google has not performed a legal analysis and makes no representation or warranty as to the accuracy of the list.)
FUJINAGA KK
Original Assignee
FUJINAGA KK
Priority date (The priority date is an assumption and is not a legal conclusion. Google has not performed a legal analysis and makes no representation as to the accuracy of the date listed.)
Filing date
Publication date
Application filed by FUJINAGA KK filed Critical FUJINAGA KK
Priority to JP2009262160A priority Critical patent/JP5042295B2/ja
Publication of JP2010046091A publication Critical patent/JP2010046091A/ja
Application granted granted Critical
Publication of JP5042295B2 publication Critical patent/JP5042295B2/ja
Active legal-status Critical Current
Anticipated expiration legal-status Critical

Links

Images

Landscapes

  • Catching Or Destruction (AREA)

Abstract

【課題】電撃用通電線を利用する防鳥具取付装置として、配線施工操作が容易で、施工に要する時間及び労力を低減でき、熟練を要さずに高い施工能率が得られるものを提供する。
【解決手段】取付基体Mに接着又はねじ止めする略板状の取付チップ1に、電撃配線用の碍子部材2を保持させる碍子保持部が一体形成されてなり、該碍子保持部は、前記碍子部材2の両側面部に対して摺動可能に凹凸係合する両側一対のスライド嵌合部17,17にて構成されてなる。
【選択図】図5

Description

本発明は、ハトやカラスを始めとする鳥類による糞害や営巣を防止するための防鳥具の取付装置に関する。
近年、市街地での鳥類による被害が多発しており、特に高架橋下、看板や広告塔、電柱、建物のベランダや屋上、ビルの窓枠部、屋根付き駐車場、工場や倉庫、神社や仏閣等では、飛来したハトやカラス等が巣作りしたり、糞を撒き散らして周辺を汚すことが大きな社会問題になっている。
そこで、防鳥対策として、従来より、鳥が留まり易い部位や営巣し易い部位にピンを剣山状に設置する方法(特許文献1〜4)、建物やベランダ等の開口部に侵入防止用のネットやワイヤーを張り巡らす方法(特許文献5〜8)、鳥が留まり易い部位に沿って電撃用の通電線を配線する方法等が一般的に採用されている。
特開平8−173006号公報 特開平11−289644号公報 特開2001−352892号公報 特開2006−75036号公報 特開2001−164673号公報 特開2002−186404号公報 特開2003−116445号公報 特開2006−37650号公報
しかしながら、前記従来の防鳥対策では、防鳥手段毎に専用の取付装置を用いることになるが、剣山状のピンの設置、ネットやワイヤーの張設、更には電撃用通電線の配線等の作業に多大な手間及び時間を要して施工能率が悪く、またそれぞれの施工操作を習熟するのに時間と労力を要するという問題があった。
本発明は、上述の事情に鑑みて、特に電撃用通電線を利用する防鳥具取付装置として、配線施工操作が容易で、施工に要する時間及び労力を低減でき、熟練を要さずに高い施工能率が得られるものを提供することを目的としている。
上記目的を達成するために、本発明の請求項1に係る防鳥具取付装置は、図面の参照符号を付して示せば、取付基体Mに接着又はねじ止めする略板状の取付チップ1に、電撃配線用の碍子部材2を保持させる碍子保持部が一体形成されてなり、該碍子保持部は、前記碍子部材2の両側面部に対して摺動可能に凹凸係合する両側一対のスライド嵌合部17,17にて構成されるものとしている。
請求項2の発明は、上記請求項1の防鳥具取付装置において、前記碍子部材2が、平面視で長細い形状を備え、その長手方向とこれに直交する方向との二方向に沿う各複数本の電撃線3に対応した電撃線挿通孔21a〜21cを備える構成としている。
請求項3の発明は、上記請求項1又は2の防鳥具取付装置において、前記取付チップ1に、表裏方向に貫通する複数の貫通穴14・・・(孔11,ねじ止め穴15)が設けられてなる構成としている。
請求項1の発明に係る防鳥具取付装置によれば、取付チップを建物等の取付基体に対して接着又はねじ止めすることで簡単確実に固定できる共に、碍子部材をその取付チップにスライド操作することによって簡単に着脱することができる。それがために、電撃用通電線の配線施工操作が容易となり、施工に要する時間及び労力を低減できる共に、熟練を要さず施工することができるため、高い施工能率を発揮することができる。
請求項2の発明によれば、平面視で長細い形状の碍子部材に、その長手方向とこれに直交する方向に沿う各複数本の電撃線に対応する電撃線挿通孔を有するから、取付チップに保持させる当該碍子部材の向きを縦横に選択することにより、周辺状況に応じて電撃配線幅を広狭いずれかに設定できる。
請求項3の発明によれば、取付チップが表裏方向に貫通する複数の貫通穴を備えるから、取付基体に対して当該取付チップを接着剤によって固着する際、接着剤が貫通穴に入り込んで固化し、そのアンカー作用で当該取付チップの固着強度が格段に増大する。
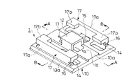
本発明の一実施形態に係る防鳥具取付装置の取付チップの斜視図である。 同取付チップの縦断面を示し、(A)は図1のA−A線の断面矢視図、(B)は図1のB−B線の断面矢視図である。 同取付チップの取付基体に対する固着状態を示し、(A)はねじ止めによる固着状態の縦断正面図、(B)は接着による固着状態の縦断正面図である。 同防鳥具取付装置による防鳥用電撃配線に使用する碍子部材を示し、(A)は側面図、(B)は正面図、(C)は縦断正面図である。 同防鳥具取付装置を利用した電撃配線例を示す斜視図である。 同電撃配線例における碍子部材の取付部分を示し、(A)は縦断側面図、(B)は縦断正面図である。
以下、本発明に係る防鳥具取付装置の実施形態について、図面を参照して具体的に説明する。
図1及び図2(A)(B)は、防鳥具取付装置の取付チップ1を示す。この取付チップ1は、全体が硬質合成樹脂成形物からなり、平面視正方形の板状ベース部10の上面中央に、フック係着部を構成する下向きコ字枠状の差込みゲート12が突設され、該板状ベース部10が差込みゲート12の前後両側で膨出部10a,10aによって厚肉化すると共に、この前後の膨出部10a,10aに、一対の孔11,11が上下方向に貫設され、また該板状ベース部10の上面左右両側に、碍子保持部を構成する一対のスライド嵌合部17,17が立ち上げ形成されている。
しかして、孔11は、板状ベース部10の上面側では前後方向に沿う長孔として開口すると共に、同下面側では丸孔として開口しており、図2(A)に示すように、差込みゲート12側の内側面部が垂直で、反対側の内側面部が傾斜した形になっている。また、差込みゲート12の出口側となる後端側の上縁部12aが後方へ突出している。
一方、碍子保持部の各スライド嵌合部17は、前後方向に沿う垂直壁部17aの前後両側部に、上端から内向きに突出する係合片17b,17bを一体形成したものであり、その垂直壁部17aには前後両端面から斜め上向きに凹入するネット仮止め用溝16,16が設けられている。なお、本実施形態におけるネット仮止め用溝16,16は、設けてもよいし設けなくてもよい。
さらに、板状ベース部10には、各係合片17bの下方位置と差込みゲート12の下方位置との計5箇所に、前後方向に長い略矩形の貫通穴14・・・が設けられると共に、図2(B)に示すように、差込みゲート12と左右の垂直壁部17a,17aとの間に、円形で上方へ拡径したねじ止め穴15,15が開設されている。そして、板状ベース部10の左右側縁は、上半部13aを傾斜面として厚みを約半分に減じている。
なお、取付チップ1の通常のサイズは、板状ベース部10の一辺が20〜50mm程度、該板状ベース部10の膨出部10a以外の厚みが1〜3mm程度、差込みゲート12及びスライド嵌合部17の板状ベース部10下面からの高さが5〜10mm程度、にそれぞれ設定される。
このような取付チップ1を防鳥部位の取付基体に止着するには、図3(A)に示すように木製の取付基体M1に対し、ねじ止め穴15,15を利用して木ねじNによってねじ止めするか、もしくは図3(B)に示すように各種材質の取付基体M2に対し、例えばエポキシ系接着剤の如き主剤と硬化剤とからなる二液性ボンド等の接着剤Sによって接着固定すればよい。後者の接着固定では、接着剤Sが貫通穴14・・・,孔11,11及びねじ止め穴15,15に入り込んで固化することでアンカー作用を発揮するから、当該取付チップ1は固着強度が格段に増大して剥落しにくくなる。
以上のように構成される防鳥具取付装置の取付チップ1を防鳥用電撃配線に適用する場合、図4(A)〜(C)に示すような碍子部材2を用いる。この碍子部材2は、側面視が略60°短軸に沿って半割した形で、底面外形が略25°楕円をなし、底面側に開放した硬質合成樹脂中空成形物からなり、左右両側面で大小の二等辺三角形の各頂点をなすように配置した外側及び内側各3つの電撃線挿通孔21a,21bが左右方向に貫通し、前後方向にも上下2つの電撃線挿通孔21cが貫通している。そして、この碍子部材2には、図5の如く取付チップ1に嵌着させるために、左右両側面の下部に前後方向に沿うスライドガイド溝22,22が形成されると共に、前端下部に中空内部20へ連通して下方に開く矩形開口部23が設けられ、また後部の下方突出によって前方に臨むストッパー段部24が形成されている。
すなわち、各碍子部材2は、図6(A)(B)に示すように、電撃配線を施す取付基体Mの要所に予め止着した取付チップ1に対し、そのスライド嵌合部17,17の間に下部が入り込むように前方側からスライド嵌合操作する。これにより、取付チップ1のスライド嵌合部17,17の係合片17b,17bが碍子部材2の両スライドガイド溝22,22に嵌入し、碍子部材2のストッパー段部24が該取付チップ1の板状ベース部10の端縁に当接することで、碍子部材2はより以上の前方移動が不能な位置決め嵌着状態となる。なお、取付チップ1の中央部で突出する差込みゲート12は、碍子部材5に干渉せずに矩形開口部23から図6(B)の如く中空内部20へ入り込むので、スライド嵌合操作の支障にならない。
このような碍子部材2と取付チップ1を用いた電撃配線は、碍子部材2・・・に通した裸導線である電撃線3に通電し、これに留まろうとした鳥に軽い電気ショックを与えて嫌忌効果を得るものである。しかして、図5及び図6では碍子部材2の左右両側面における小さい二等辺三角形の各頂点をなす内側3つの電撃線挿通孔21bに電撃線3を挿通した状態を例示しているが、この碍子部材2によれば3通りの配線パターンを選択できる。すなわち、ハトやカラス等の大型鳥類を対象とする場合は大きい二等辺三角形の各頂点をなす外側3つの各電撃線挿通孔21aを通した相互間隔の大きい3本配線パターンとし、小型鳥類を対象とする場合は図示した相互間隔の小さい3本配線パターンとすればよい。また周辺状況等から三角形配置の3本配線パターンとする空間的余裕がない場合は、図6の仮想線で示すように、前後方向に沿う上下2つの電撃線挿通孔21cを利用した上下2本の配線パターンを採用できる。なお、電撃線3は、鳥を感電させる上で少なくとも1本をアース線として複数本を必要とする。また、図6の仮想線で示す上下2本の配線パターンでは、三角形配置の3本配線パターンとは碍子部材2の向きが90度異なるから、これに対応して予め取付基体Mに止着する取付チップ1の向きも変わることになる。
以上説明した本実施形態に係る防鳥具取付装置によれば、建物等の取付基体Mに取付チップ1を接着又はねじ止めすることで簡単確実に固定できる共に、碍子部材2をその取付チップ1にスライド操作することによって簡単に着脱することができる。それがために、電撃用通電線の配線施工操作が容易となり、施工に要する時間及び労力を低減できる共に、熟練を要さず施工することができるため、高い施工能率を発揮することができる。
なお、本実施形態において例示した取付チップにおける取付チップの板状ベース部における貫通穴の数、穴形状、形成位置等、細部構成について実施例以外に種々設計変更可能である。また、電撃配線用の碍子部材と取付チップとのスライド嵌合部は、その凹凸関係が実施形態とは逆であってもよい。さらに、碍子部材における全体形状、電撃線挿通孔の数と配置についても、例示以外に種々設定可能である。
1 取付チップ
10 板状ベース部
11 孔(貫通穴)
14 貫通穴
15 ねじ止め穴(貫通穴)
17 スライド嵌合部(碍子保持部)
2 碍子部材
21a 電撃線挿通孔
21b 電撃線挿通孔
21c 電撃線挿通孔
3 電撃線
M 取付基体
M1,M2 取付基体
S 接着剤

Claims (3)

  1. 取付基体に接着又はねじ止めする略板状の取付チップに、電撃配線用の碍子部材を保持させる碍子保持部が一体形成されてなり、
    該碍子保持部は、前記碍子部材の両側面部に対して摺動可能に凹凸係合する両側一対のスライド嵌合部にて構成されてなる防鳥具取付装置。
  2. 前記碍子部材が、平面視で長細い形状を備え、その長手方向とこれに直交する方向との二方向に沿う各複数本の電撃線に対応した電撃線挿通孔を備える請求項1に記載の防鳥具取付装置。
  3. 前記取付チップに、表裏方向に貫通する複数の貫通穴が設けられてなる請求項1又は2に記載の防鳥具取付装置。
JP2009262160A 2009-11-17 2009-11-17 防鳥具取付装置 Active JP5042295B2 (ja)

Priority Applications (1)

Application Number Priority Date Filing Date Title
JP2009262160A JP5042295B2 (ja) 2009-11-17 2009-11-17 防鳥具取付装置

Applications Claiming Priority (1)

Application Number Priority Date Filing Date Title
JP2009262160A JP5042295B2 (ja) 2009-11-17 2009-11-17 防鳥具取付装置

Related Parent Applications (1)

Application Number Title Priority Date Filing Date
JP2006247750A Division JP4474394B2 (ja) 2006-09-13 2006-09-13 防鳥具取付装置

Publications (2)

Publication Number Publication Date
JP2010046091A true JP2010046091A (ja) 2010-03-04
JP5042295B2 JP5042295B2 (ja) 2012-10-03

Family

ID=42063726

Family Applications (1)

Application Number Title Priority Date Filing Date
JP2009262160A Active JP5042295B2 (ja) 2009-11-17 2009-11-17 防鳥具取付装置

Country Status (1)

Country Link
JP (1) JP5042295B2 (ja)

Cited By (14)

* Cited by examiner, † Cited by third party
Publication number Priority date Publication date Assignee Title
US8344665B2 (en) 2008-03-27 2013-01-01 Orion Energy Systems, Inc. System and method for controlling lighting
US8376600B2 (en) 2007-06-29 2013-02-19 Orion Energy Systems, Inc. Lighting device
US8445826B2 (en) 2007-06-29 2013-05-21 Orion Energy Systems, Inc. Outdoor lighting systems and methods for wireless network communications
US8450670B2 (en) 2007-06-29 2013-05-28 Orion Energy Systems, Inc. Lighting fixture control systems and methods
US8476565B2 (en) 2007-06-29 2013-07-02 Orion Energy Systems, Inc. Outdoor lighting fixtures control systems and methods
US8586902B2 (en) 2007-06-29 2013-11-19 Orion Energy Systems, Inc. Outdoor lighting fixture and camera systems
US8729446B2 (en) 2007-06-29 2014-05-20 Orion Energy Systems, Inc. Outdoor lighting fixtures for controlling traffic lights
CN105265425A (zh) * 2015-11-28 2016-01-27 国网江西省电力公司赣西供电分公司 一种用于杆塔的驱鸟装置
US9521726B2 (en) 2007-05-03 2016-12-13 Orion Energy Systems, Inc. Lighting systems and methods for displacing energy consumption using natural lighting fixtures
CN107079905A (zh) * 2017-04-17 2017-08-22 朱德仲 一种农作物防护用激光驱鸟器移动调节装置
US9951933B2 (en) 2009-09-04 2018-04-24 Orion Energy Systems, Inc. Outdoor lighting fixtures and related systems and methods
CN108719266A (zh) * 2018-07-17 2018-11-02 国网江西省电力有限公司电力科学研究院 一种自取能长效驱鸟装置
US10334704B2 (en) 2008-03-27 2019-06-25 Orion Energy Systems, Inc. System and method for reducing peak and off-peak electricity demand by monitoring, controlling and metering lighting in a facility
KR20220139673A (ko) * 2021-04-08 2022-10-17 (주)하이쏠라에너지 전기충격식 조류 퇴치기

Families Citing this family (1)

* Cited by examiner, † Cited by third party
Publication number Priority date Publication date Assignee Title
JP4295521B2 (ja) 2003-02-13 2009-07-15 株式会社日本触媒 アクリル酸製造用触媒およびアクリル酸の製造方法

Cited By (24)

* Cited by examiner, † Cited by third party
Publication number Priority date Publication date Assignee Title
US9521726B2 (en) 2007-05-03 2016-12-13 Orion Energy Systems, Inc. Lighting systems and methods for displacing energy consumption using natural lighting fixtures
US11026302B2 (en) 2007-06-29 2021-06-01 Orion Energy Systems, Inc. Outdoor lighting fixtures control systems and methods
US10206265B2 (en) 2007-06-29 2019-02-12 Orion Energy Systems, Inc. Outdoor lighting fixtures control systems and methods
US8450670B2 (en) 2007-06-29 2013-05-28 Orion Energy Systems, Inc. Lighting fixture control systems and methods
US8476565B2 (en) 2007-06-29 2013-07-02 Orion Energy Systems, Inc. Outdoor lighting fixtures control systems and methods
US8586902B2 (en) 2007-06-29 2013-11-19 Orion Energy Systems, Inc. Outdoor lighting fixture and camera systems
US8729446B2 (en) 2007-06-29 2014-05-20 Orion Energy Systems, Inc. Outdoor lighting fixtures for controlling traffic lights
US10098213B2 (en) 2007-06-29 2018-10-09 Orion Energy Systems, Inc. Lighting fixture control systems and methods
US10187557B2 (en) 2007-06-29 2019-01-22 Orion Energy Systems, Inc. Outdoor lighting fixture and camera systems
US11432390B2 (en) 2007-06-29 2022-08-30 Orion Energy Systems, Inc. Outdoor lighting fixtures control systems and methods
US10694594B2 (en) 2007-06-29 2020-06-23 Orion Energy Systems, Inc. Lighting fixture control systems and methods
US8445826B2 (en) 2007-06-29 2013-05-21 Orion Energy Systems, Inc. Outdoor lighting systems and methods for wireless network communications
US11202355B2 (en) 2007-06-29 2021-12-14 Orion Energy Systems, Inc. Outdoor lighting fixture and camera systems
US8376600B2 (en) 2007-06-29 2013-02-19 Orion Energy Systems, Inc. Lighting device
US10694605B2 (en) 2007-06-29 2020-06-23 Orion Energy Systems, Inc. Outdoor lighting fixtures control systems and methods
US10334704B2 (en) 2008-03-27 2019-06-25 Orion Energy Systems, Inc. System and method for reducing peak and off-peak electricity demand by monitoring, controlling and metering lighting in a facility
US8344665B2 (en) 2008-03-27 2013-01-01 Orion Energy Systems, Inc. System and method for controlling lighting
US9951933B2 (en) 2009-09-04 2018-04-24 Orion Energy Systems, Inc. Outdoor lighting fixtures and related systems and methods
CN105265425A (zh) * 2015-11-28 2016-01-27 国网江西省电力公司赣西供电分公司 一种用于杆塔的驱鸟装置
CN107079905A (zh) * 2017-04-17 2017-08-22 朱德仲 一种农作物防护用激光驱鸟器移动调节装置
CN108719266A (zh) * 2018-07-17 2018-11-02 国网江西省电力有限公司电力科学研究院 一种自取能长效驱鸟装置
CN108719266B (zh) * 2018-07-17 2024-02-06 国网江西省电力有限公司电力科学研究院 一种自取能长效驱鸟装置
KR20220139673A (ko) * 2021-04-08 2022-10-17 (주)하이쏠라에너지 전기충격식 조류 퇴치기
KR102589342B1 (ko) * 2021-04-08 2023-10-16 (주)하이쏠라에너지 전기충격식 조류 퇴치기

Also Published As

Publication number Publication date
JP5042295B2 (ja) 2012-10-03

Similar Documents

Publication Publication Date Title
JP5042295B2 (ja) 防鳥具取付装置
US7954279B2 (en) Fascia cap for roof
US20110038689A1 (en) Cable staple
KR101815510B1 (ko) 데크의 설치구조
KR101279719B1 (ko) 철망 고정용 클립 및 이를 이용한 철망울타리
JP4474394B2 (ja) 防鳥具取付装置
KR101810954B1 (ko) 데크 고정용 클립
KR101793842B1 (ko) 무용접 각형 프레임 연결장치
KR20170000783U (ko) 조류퇴치구
KR102259672B1 (ko) 철망 고정프레임
JP2013247865A (ja) 防鳥ネット取付装置
JP2013247864A (ja) 鳥類飛来防止装置用の電撃線接続具
JP2015218448A (ja) 支持構造
KR101580095B1 (ko) 철망펜스용 주주
JP2009133176A (ja) 防水シート連結固定具
JP3176168U (ja) 鳥類飛来防止器
JP4785805B2 (ja) コーナ・フロア兼用光インドアケーブル
JP2016070048A (ja) 太陽光発電装置
US7537191B2 (en) Mounting device
CN202519564U (zh) 一种木栈道面板
EP2976479B1 (en) Post
CN204273035U (zh) 防止鸟巢搭建的装置
CN104472472A (zh) 防止鸟巢搭建的装置
JP2006112041A (ja) ラス網及びそれを用いた壁体の施工方法
JP3124638U (ja) デッキ部材

Legal Events

Date Code Title Description
A621 Written request for application examination

Free format text: JAPANESE INTERMEDIATE CODE: A621

Effective date: 20091117

A521 Request for written amendment filed

Free format text: JAPANESE INTERMEDIATE CODE: A523

Effective date: 20091216

TRDD Decision of grant or rejection written
A01 Written decision to grant a patent or to grant a registration (utility model)

Free format text: JAPANESE INTERMEDIATE CODE: A01

Effective date: 20120622

A01 Written decision to grant a patent or to grant a registration (utility model)

Free format text: JAPANESE INTERMEDIATE CODE: A01

A61 First payment of annual fees (during grant procedure)

Free format text: JAPANESE INTERMEDIATE CODE: A61

Effective date: 20120710

R150 Certificate of patent or registration of utility model

Ref document number: 5042295

Country of ref document: JP

Free format text: JAPANESE INTERMEDIATE CODE: R150

Free format text: JAPANESE INTERMEDIATE CODE: R150

FPAY Renewal fee payment (event date is renewal date of database)

Free format text: PAYMENT UNTIL: 20150720

Year of fee payment: 3

R250 Receipt of annual fees

Free format text: JAPANESE INTERMEDIATE CODE: R250

R250 Receipt of annual fees

Free format text: JAPANESE INTERMEDIATE CODE: R250

R250 Receipt of annual fees

Free format text: JAPANESE INTERMEDIATE CODE: R250

R250 Receipt of annual fees

Free format text: JAPANESE INTERMEDIATE CODE: R250

R250 Receipt of annual fees

Free format text: JAPANESE INTERMEDIATE CODE: R250

R250 Receipt of annual fees

Free format text: JAPANESE INTERMEDIATE CODE: R250

R250 Receipt of annual fees

Free format text: JAPANESE INTERMEDIATE CODE: R250

R250 Receipt of annual fees

Free format text: JAPANESE INTERMEDIATE CODE: R250

R250 Receipt of annual fees

Free format text: JAPANESE INTERMEDIATE CODE: R250

R250 Receipt of annual fees

Free format text: JAPANESE INTERMEDIATE CODE: R250

R250 Receipt of annual fees

Free format text: JAPANESE INTERMEDIATE CODE: R250