JP2010045353A - 基板上にパターン金属を誘導する方法 - Google Patents

基板上にパターン金属を誘導する方法 Download PDF

Info

Publication number
JP2010045353A
JP2010045353A JP2009182935A JP2009182935A JP2010045353A JP 2010045353 A JP2010045353 A JP 2010045353A JP 2009182935 A JP2009182935 A JP 2009182935A JP 2009182935 A JP2009182935 A JP 2009182935A JP 2010045353 A JP2010045353 A JP 2010045353A
Authority
JP
Japan
Prior art keywords
substrate
directing
transistor
conductive
layer
Prior art date
Legal status (The legal status is an assumption and is not a legal conclusion. Google has not performed a legal analysis and makes no representation as to the accuracy of the status listed.)
Granted
Application number
JP2009182935A
Other languages
English (en)
Other versions
JP5656311B2 (ja
JP2010045353A5 (ja
Inventor
Theresa Holtermann
テレサ・ホルターマン
Anthony Graupera
アンソニー・グラウペラ
Michael Dibattista
マイケル・ディバティスタ
Current Assignee (The listed assignees may be inaccurate. Google has not performed a legal analysis and makes no representation or warranty as to the accuracy of the list.)
FEI Co
Original Assignee
FEI Co
Priority date (The priority date is an assumption and is not a legal conclusion. Google has not performed a legal analysis and makes no representation as to the accuracy of the date listed.)
Filing date
Publication date
Application filed by FEI Co filed Critical FEI Co
Publication of JP2010045353A publication Critical patent/JP2010045353A/ja
Publication of JP2010045353A5 publication Critical patent/JP2010045353A5/ja
Application granted granted Critical
Publication of JP5656311B2 publication Critical patent/JP5656311B2/ja
Expired - Fee Related legal-status Critical Current
Anticipated expiration legal-status Critical

Links

Images

Classifications

    • HELECTRICITY
    • H01ELECTRIC ELEMENTS
    • H01JELECTRIC DISCHARGE TUBES OR DISCHARGE LAMPS
    • H01J37/00Discharge tubes with provision for introducing objects or material to be exposed to the discharge, e.g. for the purpose of examination or processing thereof
    • H01J37/30Electron-beam or ion-beam tubes for localised treatment of objects
    • H01J37/305Electron-beam or ion-beam tubes for localised treatment of objects for casting, melting, evaporating, or etching
    • H01J37/3053Electron-beam or ion-beam tubes for localised treatment of objects for casting, melting, evaporating, or etching for evaporating or etching
    • H01J37/3056Electron-beam or ion-beam tubes for localised treatment of objects for casting, melting, evaporating, or etching for evaporating or etching for microworking, e. g. etching of gratings or trimming of electrical components
    • HELECTRICITY
    • H01ELECTRIC ELEMENTS
    • H01JELECTRIC DISCHARGE TUBES OR DISCHARGE LAMPS
    • H01J37/00Discharge tubes with provision for introducing objects or material to be exposed to the discharge, e.g. for the purpose of examination or processing thereof
    • H01J37/30Electron-beam or ion-beam tubes for localised treatment of objects
    • H01J37/317Electron-beam or ion-beam tubes for localised treatment of objects for changing properties of the objects or for applying thin layers thereon, e.g. for ion implantation
    • HELECTRICITY
    • H01ELECTRIC ELEMENTS
    • H01JELECTRIC DISCHARGE TUBES OR DISCHARGE LAMPS
    • H01J37/00Discharge tubes with provision for introducing objects or material to be exposed to the discharge, e.g. for the purpose of examination or processing thereof
    • H01J37/30Electron-beam or ion-beam tubes for localised treatment of objects
    • H01J37/317Electron-beam or ion-beam tubes for localised treatment of objects for changing properties of the objects or for applying thin layers thereon, e.g. for ion implantation
    • H01J37/3178Electron-beam or ion-beam tubes for localised treatment of objects for changing properties of the objects or for applying thin layers thereon, e.g. for ion implantation for applying thin layers on objects
    • H10P14/47
    • H10W20/023
    • H10W20/0234
    • H10W20/0242
    • HELECTRICITY
    • H01ELECTRIC ELEMENTS
    • H01JELECTRIC DISCHARGE TUBES OR DISCHARGE LAMPS
    • H01J2237/00Discharge tubes exposing object to beam, e.g. for analysis treatment, etching, imaging
    • H01J2237/006Details of gas supplies, e.g. in an ion source, to a beam line, to a specimen or to a workpiece
    • HELECTRICITY
    • H01ELECTRIC ELEMENTS
    • H01JELECTRIC DISCHARGE TUBES OR DISCHARGE LAMPS
    • H01J2237/00Discharge tubes exposing object to beam, e.g. for analysis treatment, etching, imaging
    • H01J2237/30Electron or ion beam tubes for processing objects
    • H01J2237/317Processing objects on a microscale
    • H01J2237/31701Ion implantation
    • H01J2237/31706Ion implantation characterised by the area treated
    • H01J2237/3171Ion implantation characterised by the area treated patterned
    • H01J2237/31713Focused ion beam
    • HELECTRICITY
    • H01ELECTRIC ELEMENTS
    • H01JELECTRIC DISCHARGE TUBES OR DISCHARGE LAMPS
    • H01J2237/00Discharge tubes exposing object to beam, e.g. for analysis treatment, etching, imaging
    • H01J2237/30Electron or ion beam tubes for processing objects
    • H01J2237/317Processing objects on a microscale
    • H01J2237/31732Depositing thin layers on selected microareas
    • HELECTRICITY
    • H01ELECTRIC ELEMENTS
    • H01JELECTRIC DISCHARGE TUBES OR DISCHARGE LAMPS
    • H01J2237/00Discharge tubes exposing object to beam, e.g. for analysis treatment, etching, imaging
    • H01J2237/30Electron or ion beam tubes for processing objects
    • H01J2237/317Processing objects on a microscale
    • H01J2237/31735Direct-write microstructures
    • H01J2237/31737Direct-write microstructures using ions
    • HELECTRICITY
    • H01ELECTRIC ELEMENTS
    • H01JELECTRIC DISCHARGE TUBES OR DISCHARGE LAMPS
    • H01J2237/00Discharge tubes exposing object to beam, e.g. for analysis treatment, etching, imaging
    • H01J2237/30Electron or ion beam tubes for processing objects
    • H01J2237/317Processing objects on a microscale
    • H01J2237/3174Etching microareas
    • H01J2237/31742Etching microareas for repairing masks
    • H01J2237/31744Etching microareas for repairing masks introducing gas in vicinity of workpiece
    • HELECTRICITY
    • H01ELECTRIC ELEMENTS
    • H01JELECTRIC DISCHARGE TUBES OR DISCHARGE LAMPS
    • H01J2237/00Discharge tubes exposing object to beam, e.g. for analysis treatment, etching, imaging
    • H01J2237/30Electron or ion beam tubes for processing objects
    • H01J2237/317Processing objects on a microscale
    • H01J2237/3174Etching microareas
    • H01J2237/31745Etching microareas for preparing specimen to be viewed in microscopes or analyzed in microanalysers
    • HELECTRICITY
    • H01ELECTRIC ELEMENTS
    • H01JELECTRIC DISCHARGE TUBES OR DISCHARGE LAMPS
    • H01J2237/00Discharge tubes exposing object to beam, e.g. for analysis treatment, etching, imaging
    • H01J2237/30Electron or ion beam tubes for processing objects
    • H01J2237/317Processing objects on a microscale
    • H01J2237/31749Focused ion beam
    • H10P74/207
    • H10W20/067

Landscapes

  • Chemical & Material Sciences (AREA)
  • Analytical Chemistry (AREA)
  • Physics & Mathematics (AREA)
  • Engineering & Computer Science (AREA)
  • Plasma & Fusion (AREA)
  • Electrodes Of Semiconductors (AREA)
  • Internal Circuitry In Semiconductor Integrated Circuit Devices (AREA)
  • Electroplating Methods And Accessories (AREA)
  • Testing Or Measuring Of Semiconductors Or The Like (AREA)
  • Micromachines (AREA)
  • Drying Of Semiconductors (AREA)
  • Weting (AREA)

Abstract

【課題】微小金属構造を製造すること。
【解決手段】導電率が高められたパターン形成された領域を生成し、または露出させ、次いでこの領域上に、電着を使用して導体を形成することによって、微小金属構造が製造される。いくつかの実施形態では、基板上に微小金属構造が形成され、次いで基板からこの構造を除去するために、基板がエッチングされる。いくつかの実施形態では、付着前駆体ガスを含まない集束ガリウム・イオン・ビームが、シリコン基板上をあるパターンで走査して、導電パターンを生成し、次いでこの導電パターン上に、1種または数種の金属の電気化学付着によって銅構造が形成される。エッチングによってこの構造を基板から取り出すことができ、またはその場で使用することができる。ビームを使用して、トランジスタの活性層にアクセスすることができ、導体を電着させて、トランジスタが機能している間にその動作を感知しまたは変化させるためのリードを形成することができる。
【選択図】図1

Description

本発明は、ナノテクノロジ製造および半導体試験に関する。
さまざまなサイズの微小(microscopic)機械および電気デバイスがさまざまな用途で使用されている。集積回路(IC)素子のサイズの絶え間ない縮小は、縮小されたコンピュータ構成要素の設計、構築および試験に必要なプロセスおよび構造に相応なスケーリングを要求する。MEMS(マイクロエレクトロメカニカル・システム)に使用されるマイクロアセンブリの製造は、このICチップの小型化に関係する。MEMSはしばしば、IC製造に対して使用されるプロセスと同様のプロセスを使用して半導体基板上に製造される。
微小金属構造の製造は困難であったり、費用がかかったりすることがある。高アスペクト比の金属構造を形成する知られている1つの技法は「LIGA」と呼ばれ、これは、ドイツ語の(X線)リソグラフィ(Lithographie)、電気めっき(Galvanoformung)および造型(Abformung)の頭字語である。一般的なLIGAプロセスでは、導電基板上にX線感受性のフォトレジスト材料を付着させ、このフォトレジスト材料を、パターン形成されたマスクを通して高度に平行なX線で露光する。X線で露光された領域はX線によって化学的に改質され、この領域を現像液中で溶解して、X線で露光されなかった領域に対応するレジスト材料中にパターンを残すことができる。このパターン内の空間が金属の電着によって埋められる。次いで、残ったレジストが除去され、この金属パターンが、セラミックまたはポリマー微小部品を製造する射出成形用の金型として使用される。このLIGAプロセスを使用して、金属微小部品を製造するための犠牲プラスチック金型を製造することもできる。LIGAプロセスは、一般にサイクロトロンからの高度に平行なX線の使用を必要とし、それによりこのプロセスは高価になる。
金属導電トラックを基板上に付着させる他のプロセスが、イオン・ビーム誘起付着(ion beam−induced deposition)(「IBID」)であり、このプロセスでは、前駆体ガスが基板表面に吸着し、イオン・ビームの存在下でこれが分解して基板上に金属を付着させる。揮発性の分解生成物はシステムの真空ポンプによって除去される。イオン・ビーム誘起付着は例えば、電気接続を追加しまたは除去するために集積回路、一般にプロトタイプが変更される「回路編集(circuit edit)」の分野で使用される。前駆体ガスは、タングステンヘキサカルボニル(W(CO)6)などの金属有機化合物とすることができる。付着のためのエネルギーは、格子振動によって、吸着した前駆体へ伝達されると考えられる。したがって、ビーム衝突位置の前駆体が分解して材料を付着させるだけでなく、格子振動の影響を受けるビーム衝突位置に十分に近い前駆体分子も分解する。1次イオン・ビームはさらに2次粒子の放出を引き起こし、これによってイオン・ビームの衝突位置から離れた位置で付着が起こることもある。したがって、非常に細く集束したビームを使用したとしても、付着フィーチャの最小サイズには依然として限界がある。
本発明の譲受人に譲渡された「System for modifying small structure」という名称のGu他の米国特許出願公開第20050227484号は、イオン・ビーム誘起付着を使用して導電層を生成し、次いでこのイオン・ビーム誘起付着(「IBID」)層の上に別の導電層を電着させることを教示している。この電着層は一般にIBID層よりも良好な導電率を有する。しかしながらこの電着層は少なくともIBID層と同じ程度の幅を有する。したがって、このIBIDと電着の組合せは、少なくともIBIDと同じフィーチャ・サイズの限界を有する。
小型化によって生じる他の困難は回路の試験の困難さである。集積回路はしばしば、「コントロールド・コラスプ・チップ・コネクション(Controlled Collapse Chip Connection)」または「C4」と呼ばれる技法を使用してパッケージ内に取り付けられる。集積回路は基板上に「逆さま」に取り付けられ、チップからの電気コネクタがパッケージ基板上の対をなすコンタクトと接触する。したがってこのようなチップは「フリップ・チップ」とも呼ばれる。取り付けられた後のこのようなチップの試験は、活性回路素子に近づくために、チップの裏面からシリコンの多くを除去することを要求する。
トランジスタなどの回路素子内の信号を決定する1つの方法は、回路素子にレーザを照射し、反射光に対する電流の影響を観察することを含む。このような技法は例えば「Novel Optical Probing and Micromachining Techniques for Silicon Debug of Flip Chip Packaged Microprocessors」、Paniccia他、Microelectronics Engineering 46巻、27〜34ページ(1999年)に記載されている。しかしながら、回路がより小さくなると、レーザは、単一のトランジスタの影響を決定することができる十分に小さな領域に集束することができない。赤外線レーザに基づくツールは、波長の限界により評価に失敗しており、そのレーザ・スポットは現在、その領域内に複数のトランジスタを包含し、このことが、単一のトランジスタの特性を決定することを困難にしている。
フリップ・チップの提案された1つの回路編集法が、「Contacting Diffusion with FIB for Backside Circuit Edit − Procedures and Material Analysis」、Kerst他、STFA 2005、米カリフォルニア州Santa Clara、Proceedings of the 31st International Symposium for Testing and Failure Analysis、64〜69ページ(2005年)(以下「Kerst」)に記載されている。Kerstは、イオン・ビーム誘起付着を使用してトランジスタの拡散領域または拡散領域へのコンタクトに接触するために、ウェーハの裏面からトレンチをミリング(milling)することを記載している。イオン・ビーム誘起付着によって付着させた材料と拡散領域のドープされた半導体との間の界面は、好ましいオーミック・コンタクトではなくショットキ・ダイオードを生成する。Kerstは、付着させたFIB導体と拡散層内のドープされたシリコンとの間にオーミック・コンタクトを形成するために、シリサイド層を生成する手順を記載している。このプロセスは接触領域を加熱することを必要とし、このことが集積回路に損傷を与える可能性がある。
したがって、より小さな金属構造を、独立した金属微小部品として、および基板上の導体として製造することが求められている。
米国特許出願公開第20050227484号
「Novel Optical Probing and Micromachining Techniques for Silicon Debug of Flip Chip Packaged Microprocessors」、Paniccia他、Microelectronics Engineering 46巻、27〜34ページ(1999年) 「Contacting Diffusion with FIB for Backside Circuit Edit − Procedures and Material Analysis」、Kerst他、STFA 2005、米カリフォルニア州Santa Clara、Proceedings of the 31st International Symposium for Testing and Failure Analysis、64〜69ページ(2005年)
本発明の目的は、微小金属構造を製造する方法および装置を提供することにある。
本発明のいくつかの実施形態では、導電率が高められたパターン形成された領域を生成し、または露出させ、次いでこの領域上に電着を使用して導体を形成することによって、微小金属構造が製造される。いくつかの実施形態では、基板上に微小金属構造が形成され、次いで基板からこの構造を除去するために、基板がエッチングされる。
以上では、以下の本発明の詳細な説明をよりいっそう理解できるように、本発明の特徴および技術的利点をやや幅広く概説した。以下では、本発明の追加の特徴および利点が説明される。本発明と同じ目的を達成するために他の構造を変更しまたは設計するための基礎として、開示される概念および特定の実施形態を容易に利用することができることを当業者は理解されたい。さらに、このような等価の構成は、添付の特許請求の範囲に記載された本発明の趣旨および範囲から逸脱しないことを当業者は認識すべきである。
次に、本発明および本発明の利点のより完全な理解のため、添付図面に関連して書かれた以下の説明を参照する。
本発明の第1の実施形態のステップの流れ図である。 図1の流れ図の異なるステップを図解した図であって、具体的には、より大きな領域内の小さな領域を示す平面図である。 図1の流れ図の異なるステップを図解した図であって、具体的には、より大きな領域内にトレンチを形成するためにミリングされた、より小さな領域の透視図である。 図1の流れ図の異なるステップを図解した図であって、具体的には、電気めっきする領域に配置された電解液を示す図である。 図1の流れ図の異なるステップを図解した図であって、具体的には、電気めっきのための電極の配置を示す図である。 図1の流れ図の異なるステップを図解した図であって、具体的には、基板から分離された完成した付着構造を示す図である。 図1のステップを使用して製造された構造を示す顕微鏡写真である。 MEMS構成要素などの独立した部品を製造する本発明に基づく追加のステップを示す流れ図である。 図4のステップの結果を示す図であって、具体的には、構造に取り付けられたプローブを示す図である。 図4のステップの結果を示す図であって、具体的には、構造の上に配置された選択エッチング剤を示す図である。 図4のステップの結果を示す図であって、具体的には、プローブによって基板から取り外された構造を示す図である。 図4のステップの結果を示す図であって、具体的には、異なる基板上に置かれた構造および構造から取り出されたプローブを示す図である。 チップの裏面から電気構成要素への電気接続を形成する、本発明の他の実施形態に含まれるステップを示す図である。 図6のステップの結果を示す図であって、具体的には、フリップ・チップの薄化された基板を示す図である。 図6のステップの結果を示す図であって、具体的には、トランジスタの活性領域の上にエッチングされたトレンチを示す図である。 図6のステップの結果を示す図であって、具体的には、トランジスタの活性拡散層にミリングされた穴を示す図である。 図6のステップの結果を示す図であって、具体的には、ミリングされた穴を含む領域の上に配置された電解液を示す図である。 図6のステップの結果を示す図であって、具体的には、穴の中に電着させた金属材料を示す図である。
本発明のいくつかの実施形態では、より低導電率の表面に導電パターンを形成し、次いでこの導電パターン上に金属構造を電着を使用して付着させることによって、微小寸法の金属構造が製造される。電気めっきは、電子との電気化学めっき反応を供給するための導電経路を必要とし、そのため、導電パターンの形状を制御することによって構造の形状が制御される。例えば、ドーパント・イオンのビームを走査して、ドーパント原子を所望のパターンに注入することにより、半導体表面の導電率を増大させることができる。ドーパント・イオンは、ビームによって走査されなかった表面領域に比べて半導体の導電率を増大させる。フォトリソグラフィ・プロセスを使用しても、ドーパント原子をあるパターンに注入することができる。走査されたパターンは、電着を支えるための電流経路を提供し、注入されたイオンを含まない領域には金属が付着しない。
他の実施形態では、表面の低導電率の層をパターン形成して、その下のより大きな導電率の層を露出させることによって、導電パターンが形成され、この大きなまたは高い導電率の層は、電着反応を支えるのに十分な導電率を有し、低導電率の層は、電着反応を支えるには不十分な導電率を有する。この低導電率の層は、イオン・ビーム、電子ビーム、レーザなどの集束ビーム、またはフォトリソグラフィを使用してパターン形成することができる。電子ビームが使用される場合には、低導電率層をエッチングするために、電子ビームとともにXeF2などのエッチング剤が使用される。このイオン・ビームは、ドープされたまま残る、または基板内に残るイオンからなる必要はない。例えばヘリウム、酸素またはアルゴン・イオンを使用することができる。低導電率の層は例えば、自然酸化物、あるいは付着または成長させた酸化物または窒化物層とすることができる。パターン形成された導電層を生成しまたは露出させた後、電着を使用して金属構造を付着させる。
他の実施形態では、基板上に微小な金属構造が製造され、次いでエッチングによって基板から取り出される。この金属構造は、前述のように、パターン形成された領域の表面への電着を使用して製造することができる。この金属構造を、電着を使用しないIBIDによって製造することもできる。個々の構造を別々に製造し取り外すことができ、または複数の構造を製造し、取り出し、例えばフィルタ・メッシュを使用して回収することができる。
好ましい一実施形態では、ガリウム・イオン源などの液体金属イオン源が、ビームとして形成され半導体シリコン基板内に注入されるイオンを提供する。プラズマ・イオン源からのイオン・ビームなど、他の粒子ビームを使用することもできる。注入されたイオンは、電気めっきプロセスを開始するのには十分に導電性の弱導電性シード層を形成する。例えば、注入されたガリウム原子がシリコンをドープしてシリコンの導電率を増大させ、導電シード層を形成する。イオン・ビームを使用した導電パターンの生成は自然酸化物を形成する材料上でよく機能することを、出願人らは見出した。このビームは、表面酸化物層に損傷を与えて、半導体基板への導電経路を提供すると考えられる。いくつかの実施形態では、導電経路を提供するこの機構が、絶縁自然酸化物層を除去することと、基板をドープすることとの組合せであると考えられる。当業者が本発明のさまざまな実施形態を実現するのを助けるため、出願人らは、根底にあるこれらの理論的な機構を説明する。本発明が機能することは経験的に示されており、その機能は、本明細書に提示される理論的な機構の正確さに依存しない。
シード層または他の導電パターンを形成した後、このシード層の上に、より高導電率の材料を電着させる。電着材料は一般にシード層よりも低い抵抗率、および従来のIBIDによって付着させた導体よりも低い抵抗率を有する。この導電パターンはIBID層よりも高い精度を有するため、本発明のプロセスは、米国特許出願公開第20050227484号の最小フィーチャ・サイズの限界を克服する。本発明は、銅、ニッケル、クロムまたは他の導電材料などの金属から、3次元形状および3次元物体を微細製造する(microfabricate)能力を提供し、IBID層は、前駆体ガスに由来する非金属元素で常に汚染されており、IBID層と半導体層との間の接触は一般に非オーミックである、すなわち界面にショットキ障壁が生成されるため、それらの形状および物体は、IBIDによって生み出される電気特性よりも優れた電気特性を有する。
イオン・ビームを任意のパターンに走査して、任意の形状の細線またはべたのパターンを形成することができる。リソグラフィ・プロセスを使用してシード層を形成することもできる。例えば、パターン形成された保護コーティングをウェーハに付着させ、次いで例えばプラズマ・チャンバ内での注入、または拡散によって、イオンを基板内へ、保護層によって覆われていない領域によって画定されたパターンとして追加することができる。これらのイオンは、保護層のない領域によって画定されたパターンに基板をドープし、またはそのようなパターン内の絶縁層を除去して、保護されていない領域内にだけ十分に導電性の層が露出するようにすることができる。
シード層を生成した後、酢酸銅または硫酸銅溶液中の銅など、付着させるタイプの金属イオンを含む電解液を使用して、パターン形成されたシード層を含む領域を覆う。その用途に応じ、電解液を基板の一部分の上に局所的に配置することができ、あるいは基板全体を電解液で覆いまたは基板全体を電解液に浸漬することができる。例えば、ドロッパ(dropper)またはピペットから一滴の電解液を滴下することができる。1つの電極が基板に電気接続され、別の電極が電解液中に置かれる。電着によって所望の付着厚さが達成されるまで、電極間に電圧が印加される。出願人らは、いくつかの実施形態ではその下のシリコン基板の導電率が、電気化学付着を支える電流をドープされた領域へ流すのに十分だが、基板表面の導電率は、おそらくは自然酸化物層のため、ドープされていない領域において付着を引き起こすのには不十分であることを見出した。シード層はこの電気化学反応のカソードとして機能し、電解液中の電極はアノードとして機能する。
シリコンなど、周期表の第4列の元素の半導体基板に対しては、ビームが、周期表の第3または第5列、あるいは第2および第6列からなるグループからのイオンを含むことが好ましい。
付着させる材料は、最初に電解液中に存在する金属イオンによって提供することができ、または、付着させる材料によって構成されたアノード電極からそれらの金属イオンを絶えず補給することができる。いくつかの実施形態では、めっきする材料とは異なる材料によってアノードを形成することができ、めっきする材料は電解液から付着させる。異なるアノードおよびカソード点を選択することによりこのプロセスを繰り返して、金属めっきの分布を変更することができる。電解液を変更して、異なる材料の積層構造を生成することができる。このように、本発明の好ましい実施形態は、微細で複雑な導電パターンの生成を可能にする。
図1は、本発明の好ましい一実施形態のステップを示す流れ図である。図1の処理ステップを受けている基板が図2A〜2Eに示されている。ステップ102および104では、集束イオン・ビームを使用して、シード層を所望のパターンに付着させる。このビームは、ガリウム液体金属イオン・ビーム源から生成されることが好ましい。本明細書で使用される用語「集束ビーム」は、「ガウスのスポット(Gaussian spot)」とは異なる長方形、楕円形などの形状を基板表面に生成する「成形ビーム」をも含む。ビームの作用パラメータは用途によって異なるが、ビーム・エネルギーは一般に1keVから50keV、電流は一般に1pAから1μAである。
好ましいいくつかの実施形態は、液体金属イオン源からのガリウム・イオン・ビームを使用してシード層を注入する。ビーム中のイオンのエネルギーおよび電流は変更することができる。例えば、ガリウム・ビームが走査され、画像化のために2次粒子が集められるときに注入されるガリウムの量は比較的に少なく、表面をミリングするためにビームが使用されるときに注入されるガリウムの量はより大きいが、画像化操作でもまたはミリング操作でも、導電シード層を生成するのに十分な量のイオンを注入することができる。いくつかの実施形態では、イオン・ビームを使用して基板に凹みをミリングすることができ、この凹みには後に、電着によって材料を充填し、部分的に充填し、または過充填することができる。ガリウム注入の深さは、ビーム中のイオンのエネルギーによって異なるが、一般に数ナノメートルが限界である。ガリウムは、シリコン基板に注入されたときに、電荷キャリアとしての「正孔」の寄与によって基板の導電率を増大させるp型ドーパントである。
ステップ102では、イオン・ビームが基板200に誘導され、例えば約30μm×20μmの領域202(図2A)の上で走査される。ビームは基板200の表面に衝突し、画像を形成するため2次電子が集められる。ビームのエネルギーは約30keV、ビーム電流は約2nAであることが好ましい。ガリウム・イオン・ビームは常に基板200から一部の材料を除去するが、ステップ102のイオン・エネルギーおよび線量は、有効なトレンチを形成するのには不十分だが、画像化のための2次電子を供給するためには十分である。ステップ104では、図2Bに示されているように深さ約1,000nmのトレンチをミリングするために、イオン・ビームが、約10μm×10μmのより小さな領域204の上で走査される。領域204をミリングする目的で使用されるとき、ビームのエネルギーは約30keV、ビーム電流は約2nAであることが好ましい。異なる領域のイオン量を変更することによって、ミリングの深さを変化させて、入り組んだ3次元構造を生み出すことができる。イオン・ビームによってエッチングされた基板は鋳型の役目を果たし、電着材料は鋳物のようにこの鋳型を満たす。
ステップ106では、図2Cに示されているように、酢酸銅溶液などの電解液208を、電気めっきする領域を覆うように配置する。電解液は、ピペットまたはアイドロッパ(eyedropper)を使用して局所的に滴下することができ、または電解液208に基板200を浸漬することができる。図2Dに示されているように、ステップ108では、電極210が電解液208の中に置かれる。電極210は、注入された領域の表面と接触しないことが好ましい。電極210は例えばタングステン針または銅線を含むことができる。ステップ110では、基板表面と接触するように第2の電極212が配置される。基板表面のどこに第2の電極212を配置しても、電気化学反応を持続させる十分な電流経路を提供することができることを、出願人らは見出した。ステップ112では、電気めっき反応を開始させるために、電極210と電極212の間に電圧が印加される。ある場合には定電流源が使用され、ある実施形態では定電圧源が使用される。この例では、12Vに設定されたコンプライアンス電圧で、100μAの定電流が2分間印加される。一実施形態では、電極210に+12Vの電圧が印加され、電極212が接地される。他の試験例も、定電圧の使用が同じ銅めっき結果をもたらすことを示した。判断ブロック114に示されているように所望の付着厚さが達成された後、ステップ116で、電極210と電極212の間の電圧が除かれ、ステップ118で、基板200から電解液208が洗い流され、図2Eに示されているような付着構造220が残される。図3は、図1および2のプロセスによって製造された実際の構造300の顕微鏡写真である。
本発明に従って製造された構造は、例えば集積回路に導体を追加するために、構造が製造された同じ基板上で使用することができる。基板上に構造を製造し、その基板を除去して、独立した構造を出現させることもできる。例えば、本発明を使用して、より大きなMEMSアセンブリの部分として使用することができるギアまたは他の機械構成要素を製造することができる。
図4は、独立した部品を製造する本発明に基づく追加のステップを示す流れ図である。図5A〜5Dは図4のステップの結果を示す。ステップ402では、図5Aに示されているように、構造220にプローブ502が取り付けられる。プローブ502は例えば、プローブ502の端部の接着剤を使用して、または荷電粒子ビーム付着を使用して取り付けることができる。プローブは、構造を把持するための把持部を含むことができ、または、静電気を使用して構造を付着させるために、プローブに電圧を印加することができる。ステップ404では、二フッ化キセノンなどの選択エッチング剤504が、図5Bに示されているように構造220の上に、または少なくとも構造の縁に配置される。選択エッチング剤504は、構造220、プローブ502または構造220をプローブ502に取り付けるために使用された材料をエッチングするよりもずっと速く基板200をエッチングするエッチング剤であるべきである。いくつかの実施形態では、プローブが取り付けられる前にエッチングを始めることができ、その場合、プローブは、構造が取り出される前のどこかの時点で取り付けられる。ステップ406では、エッチング剤504が基板200の一部を溶解して、構造220を取り出す。半導体基板に穴をミリングし、穴の底から電気めっきすることによって、高アスペクト比の構造を形成することができる。
ステップ410では、プローブ502を移動させることによって、図5Cに示されているように基板200から構造220が取り出され、任意選択のステップ412では、エッチング剤504を除去または中和するために構造220およびプローブ502が洗浄される。ステップ414では、ホルダの上、または図5Dに示されているように別の基板510の上など、構造220が使用される所望の位置に構造220を配置するため、プローブ502を使用して構造220が移動される。ステップ416では、やはり図5Dに示されているように、例えば接着剤を溶解することによって、または集束イオン・ビーム・ミリングを使用することによって、プローブ502から構造220が取り出される。
いくつかの実施形態では、ステップ102から118を使用して複数の構造を同時に製造し、次いで基板200の表面をエッチング剤で覆い、または基板200をエッチング剤に浸漬して、複数の構造220を取り出し、浮かび上がらせることができる。構造220は、メッシュ・フィルタで、または他の知られている技法を使用して捕捉することができる。図4の手順は、図1の手順が終わった場合に始まるが、図4のプロセスは、最初の構造がどのようにして製造されたのかに関わらず実行することができる。例えば、米国特許出願公開第20050227484号に記載されているように、IBIDを使用して導体を付着させ、次いでこのIBID層上に構造を電気めっきをすることによって、構造を製造することもできる。例えば、タングステンカルボニルを使用してタングステンのIBID層を付着させ、次いでIBIDタングステン層の上に銅を電気めっきすることができる。二フッ化キセノンなどの選択エッチング剤は、銅には最小限の影響しか与えずにタングステンを選択的にエッチングし、タングステン層を溶解することによって銅構造を基板から効果的に切り離す。次いで基板から構造を分離し、使用するために他の位置へ、例えば個々の構造を移動させるためにプローブを使用して、または少数または多数の構造を捕捉するためにフィルタ・メッシュを使用して、運ぶことができる。
上記の方法を使用して、ミクロンで測られる寸法、具体的には100μm未満、50μm未満、10μm未満または1μm未満の寸法を有する構造を製造することができる。最初にイオン・ビームを使用して基板に3次元「鋳型」をミリングすることによって、複雑な3次元形状を製造することができる。この鋳型を、異なる電解液を使用して複数の段階で満たして、異なる金属を付着させることができる。付着させた金属をイオン・ビームを使用して、付着と付着の間に、および全ての電着が完了した後で最終製品を形成するために、彫刻することができる。
ガリウム・イオンを注入するときには、最初の位置決めのための画像を形成する目的にはイオン・ビームを使用しないことが好ましい。これは、画像化のためのイオン・ビームの使用が、めっきされる導電領域を生成するだけの十分なガリウムを注入する可能性があるためである。イオン・ビームと電子ビームとを含む「デュアル・ビーム」システムを使用することが好ましい。基板の領域をイオン・ビームに露出することを避けるため、最初の画像化および位置決めには電子ビームを使用することができる。
上記の実施形態は、ガリウムをドーパントとして使用してシード層を生成することを記述しているが、基板の導電率を局所的に増大させる任意のドーパントを使用することができる。例えば、リチウムまたはアルミニウムを使用して、シリコンをドープすることができる。ドーパントを決定する際にはその下の基板の特性を考慮すべきである。例えば、n型基板では、少量のp型ドーパントは導電率を低下させるが、より多量のp型ドーパントは、その局所領域をp型半導体に変化させ、その導電率を増大させることができる。前述のとおり、いくつかの実施形態では、自然酸化物層などの絶縁層を除去して導電パターンを生成するためにビームが使用される。いくつかの実施形態では、表面の酸化、絶縁材料の付着などによって、導電基板を絶縁層でコーティングすることができ、次いでその絶縁層がパターン形成される。このような実施形態では、ビーム成分が基板をドープする必要はない。例えば、ヘリウム・イオン・ビーム、電子ビームと適当なエッチング剤、またはレーザ・ビームを使用して絶縁層を選択的に除去し、電気めっきのために導電パターンを提供することができる。任意の電解液を使用することができる。例えば、硫酸銅、硫酸ニッケル、硫酸パラジウムが有用である。
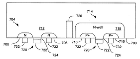
図6は、トランジスタの特性を測定する方法の好ましいステップを示す流れ図である。図7A〜7Eは、図6に示されたプロセスのステップの結果を示す。ステップ602では、化学機械研磨によって、フリップ・チップを一般に50ないし100μmの厚さに薄くする。図7Aは、相補的な2つの金属酸化物半導体電界効果トランジスタ「(MOSFET)」、すなわちP型基板領域712内に2つのN領域706を含むPチャネルMOSFET704と、Nウェル領域718内にP+領域716を有する相補的なNチャネルMOSFET714とを含むCMOSトランジスタ702(尺度不定)を有するフリップ・チップの薄化された基板700を示す。濃くドープされたP+領域716およびN領域706は、トランジスタ702の活性領域または拡散領域と呼ばれる。ゲート720は、絶縁層724の上に金属コンタクト722を含む。PチャネルMOSFET704とNチャネルMOSFET714は、二酸化シリコンなどの絶縁材料の浅いトレンチ726によって分離される。
トランジスタ702はさらに、活性領域への電気アクセスを提供する金属またはポリシリコンのコンタクト732を含む。ステップ604では、着目するフィーチャを含む領域の上にトレンチ740を形成するため、図7Bに示されているようにトランジスタ702の活性領域の上に約10μmが残るまで、レーザ化学エッチングによって追加の基板材料が除去される。ステップ606では、イオン・ビームを使用して、図7Cに示されているようにN領域706まで穴742をミリングする。このイオン・ビーム・ミリングは、エッチングを支援するガス、好ましくは塩素、ヨウ素、臭素などのハロゲンを使用して実行されることが好ましい。このガスは、スパッタリングされた材料の穴742の側壁への再付着を低減させる。活性層、すなわちN領域706とP+領域716のうちの一方に到達するためにFIBでミリングするとき、FIBのオペレータは、2次電子電流の変化によって示される材料の変化を検出することによって、活性層に到達した時点を決定することができる。活性領域の導電率は、基板領域712またはNウェル718の導電率よりも大きく、そのためFIB SIM画像のコントラストが顕著に変化する。このコントラストの変化をFIBオペレータが観察して、またはこのコントラストの変化を自動的に検出して、活性領域に到達し、ミリングを止めるべき時点を決定することができる。
ステップ607では、穴742の側壁にスパッタリングされたガリウムが、塩素、臭素、ヨウ素などの気体エッチング剤、または湿式エッチング剤を使用して除去される。注入されたガリウムを側壁から除去することは、穴の底から電着が起こり、付着金属内にボイド(voids)が生じにくくなることを保証する。穴の底に注入されたガリウムもエッチング剤によって除去される可能性があるが、活性領域の導電率は、電着のための電流を提供するのに十分である。
ステップ608では、図7Dに示されているように、穴742を含む領域の上に電解液750が滴下される。ステップ610では、電解液750中に電極752の先端が、好ましくは基板700に接触しないように浸漬され、ステップ612では、第2の電極(図示せず)が、パッケージ・リードから回路金属層を介して導体732と電気的に接触する。ステップ614では、穴742の中に電解液から金属材料756を付着させるために、電極750と第2の電極との間に電圧が印加される。電解液750は例えば、酢酸銅、硫酸銅、硫酸ニッケル、クロム、パラジウムなどの溶液とすることができる。銅などの一部の材料はシリコン内に迅速に拡散し、その導電率を低下させること、および使用される材料は、トランジスタの動作に対して最小限の影響を有することが好ましい材料であることが理解される。
N領域706は、電極750と金属コンタクト732との間に電圧が印加されたときに、穴742の中に金属材料756が電着し、それが図7Eに示されているように穴742を埋めるような電流経路を提供する十分な導電性を有する。トランジスタ704のN領域704にアクセスするためのコンタクトを生成するため、穴742を過充填して、穴742の頂部にキャップ760構造を形成することができる。ステップ620では、基板700から電解液750が除去される。付着した材料756は、シリサイドを生成する加熱ステップを必要とすることなくN領域706との低抵抗率接触を提供するが、接触特性を変化させるためにこのような加熱ステップを実行することもできる。
ステップ622では回路が作動され、その間に、ステップ630で、プローブ762(図7E(導体756を介してトランジスタ704のN領域706と電気的に接触したキャップ760と接触する))を使用して信号を検出する。動作中にトランジスタ704に流れる電流の目安とするため、この信号が解釈され、この電流の目安から、トランジスタ704の動作パラメータを決定することができる。電流と電圧のどちらを測定してもよい。あるいは、ステップ624で、トランジスタ704をターンオンまたはターンオフさせ、あるいは動作している間にトランジスタ702の特性を変化させるために、導体756を通して電圧を印加し、または穴の中へ電流を注入することができる。上記の手順はN領域706へのアクセスを提供するが、もう一方のN領域706、いずれかのP+領域716など任意の活性領域へのアクセスを提供するために、穴742をミリングすることもできる。
図6および7A〜7Eの実施形態は、フリップ・チップ上のCMOSトランジスタに適用されたが、本発明は、特定のタイプの回路または基板に限定されない。本発明の実施形態は、例えば他のタイプのパッケージング、NMOS、PMOS、バイポーラ、およびセミコンダクタ・オン・インシュレータ(SOI)技術を使用して実現される回路を含む他のタイプの回路を使用する他のチップに容易に適合させることができる。
したがって、半導体実験室において本発明を使用して、ドープされたシリコン領域に直接に電気接触することができる。この技法は、集積回路の裏面からトランジスタのソースおよびドレインへの接続を可能にし、製品が試験条件下で正常に動作し続けることを可能にする。ソースへの電気接続は、駆動電流の直接制御を可能にし、特定の回路のスイッチ・タイミングをシフトさせることができる。ドレインへの直接接続は、トランジスタのスイッチング時間および駆動電流の測定を可能にする。
微小導電構造を製造する本発明の好ましい実施形態は、
付着前駆体ガスが存在しない状況で基板表面に向かって集束ビームを誘導して、導電シード・パターンを生成するステップと、
導電シード・パターンの少なくとも一部分を電解液で覆うステップと、
電解液を通して導電パターンに電流を流して、導電シード・パターン上に導電材料を付着させるステップとを含む。
基板表面に向かって集束ビームを誘導する好ましい実施形態は、半導体基板内へドーパント・イオンの集束ビームを誘導して、基板表面内にドーパント原子粒子を注入するステップを含む。イオンのビームは、周期表の第3または第5列からなるグループからのイオンのビームを含むことができ、基板は、周期表の第4列からなるグループからの材料からなることができる。
基板表面に向かって集束ビームを誘導する好ましい実施形態はさらに、
より高導電率の層を覆っている、より低導電率の層に向かって集束ビームを誘導するステップであり、より高導電率の層が、電着反応を支えるのに十分な導電率を有し、より低導電率の層が、電着反応を支えるには不十分な導電率を有し、集束ビームが、ビームが衝突した位置において電着反応を支えるために、より高導電率の層の少なくとも一部分を露出させるステップ、
荷電粒子ビームをある2次元パターンに誘導するステップ、
荷電粒子ビームを誘導して、ある3次元構造を除去しまたは追加するステップ、
トランジスタの活性領域と接触するために、荷電粒子ビームを誘導して基板の一部分を除去するステップ
を含むことができ、かつ/あるいは、
電解液を通して導電パターンに電流を流して導電材料を付着させるステップが、活性領域への電気接触を提供する導電リードを付着させるステップを含む。
より高導電率の層を覆っている、より低導電率の層に向かって集束ビームを誘導する好ましい実施形態は、ドープされた半導体シリコン層の上の酸化物層に向かって集束イオン・ビームを誘導するステップ、あるいはより低導電率の層に向かってレーザ・ビームまたは電子ビームを誘導するステップを含む。
微小導電構造を製造する好ましい実施形態はさらに、基板上により低導電率の層を成長させる、または付着させるステップを含む。
付着前駆体ガスが存在しない状況で基板表面に向かって集束ビームを誘導して導電シード・パターンを生成する好ましい実施形態は、基板内のある構造を除去するステップを含む。
本発明の好ましい実施形態はさらに、導電リードを通して、トランジスタの電気動作を感知するステップと、リードに電流源または電圧源を提供して、動作中のトランジスタの特性を変化させるステップと、基板をエッチングして、導電材料を取り出すステップと、電流を監視して、導電シード・パターン上の導電材料の付着速度または付着量を決定するステップとを含む。
微小導電構造を製造する本発明の好ましい実施形態は、
前駆体ガスが存在しない状況で基板に向かってイオンまたは原子を誘導して、導電率が高められたパターン形成された領域を生成するステップと、
導電率が高められたパターン形成された領域の上に金属材料を電気化学付着させるステップとを含む。
前駆体ガスが存在しない状況で基板に向かってイオンまたは原子を誘導する好ましい実施形態は、基板に向かって集束イオン・ビームをあるパターンで走査するステップ、あるいは、
基板の上にフォトレジスト層を塗布するステップ、
フォトレジストを露光するステップ、
フォトレジストを現像して、露出した基板表面のパターンを残すステップ、
基板の露出した領域を、イオン・フラックスまたは原子フラックスに露出するステップ、および/または
残ったフォトレジストを除去するステップを含む。
本発明の好ましい実施形態はさらに、電着中に電流または電圧を監視して、電気メッキの付着速度または付着量を決定するステップを含む。
基板の露出した領域を、イオン・フラックスまたは原子フラックスに露出する好ましい実施形態は、ドーパント・イオンまたはドーパント原子を注入することによって、および/あるいは低導電率層を除去することによって、露出した基板表面の導電率を増大させるステップを含む。
微小金属構造を製造する本発明の好ましい実施形態は、
基板に集束ビームを誘導して、導電パターンを形成するステップと、
導電パターン上へ金属材料を電着させて、微小金属構造を形成するステップと、
基板から微小金属構造を取り出すステップとを含む。
基板から微小金属構造を取り出す好ましい実施形態は、微小金属構造の下の基板をエッチングするステップを含む。
導電パターンを形成する好ましい実施形態は金属材料を付着させるステップを含み、基板から微小金属構造を取り出す好ましい実施形態は金属材料をエッチングするステップを含む。
下面の方に金属層を有するパッケージ上に取り付けられた集積回路上のトランジスタの特性を決定する本発明の好ましい実施形態は、
基板を全体的に薄化するステップと、
基板のトランジスタの上のある領域をさらに薄化するステップと、
荷電粒子ビームを誘導して、トランジスタの活性領域にアクセスするための穴をミリングするステップと、
穴の中に導体を電着させて、トランジスタの活性領域への電気接触を提供するステップとを含む。
基板を薄化する好ましい実施形態は、基板を全体的に研磨するステップ、またはレーザ・ビームを誘導して、基板から材料を除去するステップを含む。
荷電粒子ビームを誘導して、活性領域にアクセスするための穴をミリングする好ましい実施形態は、ビームの衝突点に向かってエッチング強化ガスを誘導するステップ、イオン・ビームを誘導するステップ、および/またはエッチング剤を使用して、注入されたイオンを穴の側壁から除去するステップを含む。
好ましい実施形態はさらに、電気ノードを電気的に接触させて、トランジスタの動作中にトランジスタの特性を観察し、かつ/または動作中にトランジスタの動作を変化させるステップを含むことができる。
動作中にトランジスタの動作を変化させる好ましい実施形態は、電気接触を通して電圧を印加し、または電気接触を通して電流を注入するステップを含む。
いくつかの好ましい実施形態のトランジスタはCMOSトランジスタとすることができる。
上記の実施形態では、半導体パラメータ・アナライザ、チャート式記録計、マルチメータなどで電圧または電流値を観察することによって、プロセスの進行中に、付着を監視することができる。例えば電流は付着速度の目安になる。電流を時間に関して積分して回路を通過した全電荷を求めることによって、付着した材料の量を推定することができる。
本発明および本発明の利点を詳細に説明したが、添付の特許請求の範囲によって定義された本発明の趣旨および範囲から逸脱することなく、さまざまな変更、置換および改変を実施することができることを理解されたい。さらに、本出願の範囲が、本明細書に記載されたプロセス、機械、製造、組成物、手段、方法およびステップの特定の実施形態に限定されることは意図されていない。当業者は、本発明の開示から、本明細書に記載された対応する実施形態と実質的に同じ機能を果たし、または実質的に同じ結果を達成する、現存しまたは今後開発されるプロセス、機械、製造、組成物、手段、方法およびステップを、本発明に従って利用することができることを容易に理解するであろう。したがって、添付の特許請求の範囲は、このようなプロセス、機械、製造、組成物、手段、方法またはステップを含むことが意図される。
200 基板
202 より大きな領域
204 より小さな領域
208 電解液
210 電極
212 第2の電極
220 付着構造
502 プローブ
504 選択エッチング剤
510 別の基板
700 薄化された基板
702 CMOSトランジスタ
704 PチャネルMOSFET
706 N領域
712 P型基板領域
714 NチャネルMOSFET
716 P+領域
718 Nウェル領域
732 導電コンタクト
740 トレンチ
742 穴
750 電解液
752 電極
756 金属材料
760 キャップ
762 プローブ

Claims (33)

  1. 微小導電構造を製造する方法であって、
    付着前駆体ガスが存在しない状況で基板表面に向かって集束ビームを誘導して、導電シード・パターンを生成するステップと、
    前記導電シード・パターンの少なくとも一部分を電解液で覆うステップと、
    前記電解液を通して前記導電パターンに電流を流して、前記導電シード・パターン上に導電材料を付着させるステップと
    を含む方法。
  2. 基板表面に向かって集束ビームを誘導するステップが、半導体基板内へドーパント・イオンの集束ビームを誘導して、前記基板表面内にドーパント原子粒子を注入するステップを含む、請求項1に記載の方法。
  3. 基板表面に向かって集束ビームを誘導するステップが、周期表の第3または第5列からなるグループからのイオンのビームを誘導するステップを含み、前記基板が、周期表の第4列からなるグループからの材料からなる、請求項1または2に記載の方法。
  4. 前記基板表面に向かって集束ビームを誘導するステップが、より高導電率の層を覆っている、より低導電率の層に向かって集束ビームを誘導するステップを含み、前記より高導電率の層が、電着反応を支えるのに十分な導電率を有し、前記より低導電率の層が、電着反応を支えるには不十分な導電率を有し、前記集束ビームが、前記ビームが衝突した位置において電着反応を支えるために、前記より高導電率の層の少なくとも一部分を露出させる、請求項1〜3のいずれかに記載の方法。
  5. より高導電率の層を覆っている、より低導電率の層に向かって集束ビームを誘導するステップが、ドープされた半導体シリコン層の上の酸化物層に向かって集束イオン・ビームを誘導するステップを含む、請求項4に記載の方法。
  6. より高導電率の層を覆っている、より低導電率の層に向かって集束ビームを誘導するステップが、前記より低導電率の層に向かってレーザ・ビームまたは電子ビームを誘導するステップを含む、請求項4に記載の方法。
  7. 前記基板上に前記より低導電率の層を成長させる、または付着させるステップをさらに含む、請求項4〜6のいずれかに記載の方法。
  8. 付着前駆体ガスが存在しない状況で基板表面に向かって集束ビームを誘導して導電シード・パターンを生成するステップが、基板内のある構造を除去するステップを含む、請求項1〜7のいずれかに記載の方法。
  9. 基板表面に向かって集束ビームを誘導するステップが、荷電粒子ビームをある2次元パターンに誘導するステップを含む、請求項1〜8のいずれかに記載の方法。
  10. 基板表面に向かって集束ビームを誘導するステップが、荷電粒子ビームを誘導して、ある3次元構造を除去しまたは追加するステップを含む、請求項1〜9のいずれかに記載の方法。
  11. 基板表面に向かって集束ビームを誘導するステップが、トランジスタの活性領域と接触するために、荷電粒子ビームを誘導して基板の一部分を除去するステップを含み、
    前記電解液を通して前記導電パターンに電流を流して導電材料を付着させるステップが、前記活性領域への電気接触を提供する導電リードを付着させるステップを含む、
    請求項1に記載の方法。
  12. 前記導電リードを通して、前記トランジスタの電気動作を感知するステップをさらに含む、請求項11に記載の方法。
  13. 前記リードに電流源または電圧源を提供して、動作中の前記トランジスタの特性を変化させるステップをさらに含む、請求項11または12に記載の方法。
  14. 前記基板をエッチングして、前記導電材料を取り出すステップをさらに含む、請求項11〜13のいずれかに記載の方法。
  15. 前記電流を監視して、前記導電シード・パターン上の導電材料の付着速度または付着量を決定するステップをさらに含む、請求項1〜14のいずれかに記載の方法。
  16. 微小導電構造を製造する方法であって、
    前駆体ガスが存在しない状況で基板に向かってイオンまたは原子を誘導して、導電率が高められたパターン形成された領域を生成するステップと、
    前記導電率が高められたパターン形成された領域の上に金属材料を電気化学付着させるステップと
    を含む方法。
  17. 前駆体ガスが存在しない状況で基板に向かってイオンまたは原子を誘導するステップが、前記基板に向かって集束イオン・ビームをあるパターンで走査するステップを含む、請求項16に記載の方法。
  18. 電着中に電流または電圧を監視して、電着の付着速度または付着量を決定するステップをさらに含む、請求項16または17に記載の方法。
  19. 前駆体ガスが存在しない状況で基板に向かってイオンまたは原子を誘導するステップが、
    基板の上にフォトレジスト層を塗布するステップと、
    前記フォトレジストを露光するステップと、
    前記フォトレジストを現像して、露出した基板表面のパターンを残すステップと、
    前記基板の露出した領域を、イオン・フラックスまたは原子フラックスに露出するステップと、
    残ったフォトレジストを除去するステップと
    を含む、請求項16〜18のいずれかに記載の方法。
  20. 前記基板の露出した領域を、イオン・フラックスまたは原子フラックスに露出するステップが、ドーパント・イオンまたはドーパント原子を注入することによって、前記露出した基板表面の導電率を増大させるステップを含む、請求項19に記載の方法。
  21. 前記基板の露出した領域を、イオン・フラックスまたは原子フラックスに露出するステップが、低導電率層を除去することによって、前記露出した基板表面の導電率を増大させるステップを含む、請求項19に記載の方法。
  22. 微小金属構造を製造する方法であって、
    基板に集束ビームを誘導して、導電パターンを形成するステップと、
    前記導電パターン上へ金属材料を電着させて、前記微小金属構造を形成するステップと、
    前記基板から前記微小金属構造を取り出すステップと
    を含む方法。
  23. 前記基板から前記微小金属構造を取り出すステップが、前記微小金属構造の下の前記基板をエッチングするステップを含む、請求項22に記載の方法。
  24. 導電パターンを形成するステップが金属材料を付着させるステップを含み、前記基板から前記微小金属構造を取り出すステップが前記金属材料をエッチングするステップを含む、請求項22に記載の方法。
  25. 導電パターンを形成するステップが金属材料を付着させるステップを含む、請求項24に記載の方法。
  26. 下面の方に金属層を有するパッケージ上に取り付けられた集積回路上のトランジスタの特性を決定する方法であって、
    前記基板を全体的に薄化するステップと、
    前記基板の前記トランジスタの上のある領域をさらに薄化するステップと、
    荷電粒子ビームを誘導して、前記トランジスタの活性領域にアクセスするための穴をミリングするステップと、
    前記穴の中に導体を電着させて、前記トランジスタの前記活性領域への電気接触を提供するステップと
    を含む方法。
  27. 前記基板を全体的に薄化するステップが、前記基板を研磨するステップを含み、
    前記基板のある領域をさらに薄化するステップが、レーザ・ビームを誘導して、前記基板から材料を除去するステップを含む、
    請求項26に記載の方法。
  28. 荷電粒子ビームを誘導して、活性領域にアクセスするための穴をミリングするステップが、ビームの衝突点に向かってエッチング強化ガスを誘導するステップを含む、請求項26または27に記載の方法。
  29. 荷電粒子ビームを誘導して、前記トランジスタの活性領域にアクセスするための穴をミリングするステップが、イオン・ビームを誘導するステップを含み、前記方法が、エッチング剤を使用して、注入されたイオンを前記穴の側壁から除去するステップを含む、請求項26〜28のいずれかに記載の方法。
  30. 電気ノードを電気的に接触させて、前記トランジスタの動作中に前記トランジスタの特性を観察するステップをさらに含む、請求項26〜29のいずれかに記載の方法。
  31. 電気ノードを電気的に接触させて、動作中に前記トランジスタの動作を変化させるステップをさらに含む、請求項26〜30のいずれかに記載の方法。
  32. 動作中に前記トランジスタの動作を変化させるステップが、前記電気接触を通して電圧を印加し、または前記電気接触を通して電流を注入するステップを含む、請求項31に記載の方法。
  33. 前記トランジスタがCMOSトランジスタである、請求項26〜32のいずれかに記載の方法。
JP2009182935A 2008-08-08 2009-08-06 基板上にパターン金属を誘導する方法 Expired - Fee Related JP5656311B2 (ja)

Applications Claiming Priority (4)

Application Number Priority Date Filing Date Title
US8760508P 2008-08-08 2008-08-08
US61/087,605 2008-08-08
US12/210,781 US8278220B2 (en) 2008-08-08 2008-09-15 Method to direct pattern metals on a substrate
US12/210,781 2008-09-15

Related Child Applications (2)

Application Number Title Priority Date Filing Date
JP2014094903A Division JP2014187371A (ja) 2008-08-08 2014-05-01 半導体試験方法
JP2014094902A Division JP2014187370A (ja) 2008-08-08 2014-05-01 微小金属構造の製造方法

Publications (3)

Publication Number Publication Date
JP2010045353A true JP2010045353A (ja) 2010-02-25
JP2010045353A5 JP2010045353A5 (ja) 2012-08-30
JP5656311B2 JP5656311B2 (ja) 2015-01-21

Family

ID=41228378

Family Applications (3)

Application Number Title Priority Date Filing Date
JP2009182935A Expired - Fee Related JP5656311B2 (ja) 2008-08-08 2009-08-06 基板上にパターン金属を誘導する方法
JP2014094902A Withdrawn JP2014187370A (ja) 2008-08-08 2014-05-01 微小金属構造の製造方法
JP2014094903A Withdrawn JP2014187371A (ja) 2008-08-08 2014-05-01 半導体試験方法

Family Applications After (2)

Application Number Title Priority Date Filing Date
JP2014094902A Withdrawn JP2014187370A (ja) 2008-08-08 2014-05-01 微小金属構造の製造方法
JP2014094903A Withdrawn JP2014187371A (ja) 2008-08-08 2014-05-01 半導体試験方法

Country Status (3)

Country Link
US (1) US8278220B2 (ja)
EP (2) EP2151854A3 (ja)
JP (3) JP5656311B2 (ja)

Cited By (2)

* Cited by examiner, † Cited by third party
Publication number Priority date Publication date Assignee Title
JP2012252004A (ja) * 2011-06-03 2012-12-20 Fei Co Tem画像化用の薄い試料を作製する方法
JP2015130471A (ja) * 2014-01-02 2015-07-16 サムソン エレクトロ−メカニックス カンパニーリミテッド. チップ電子部品の製造方法

Families Citing this family (20)

* Cited by examiner, † Cited by third party
Publication number Priority date Publication date Assignee Title
EP2199434A1 (en) * 2008-12-19 2010-06-23 FEI Company Method for forming microscopic structures on a substrate
EP2226830B1 (en) 2009-03-06 2014-01-08 FEI Company Charged particle beam processing
EP2261395A1 (en) * 2009-06-12 2010-12-15 Fei Company Au-containing layer obtainable by charged particle beam processing
EP2668488B1 (en) 2011-01-28 2016-09-21 FEI Company Tem sample preparation
US8986524B2 (en) 2011-01-28 2015-03-24 International Business Machines Corporation DNA sequence using multiple metal layer structure with different organic coatings forming different transient bondings to DNA
JP2013101929A (ja) 2011-11-07 2013-05-23 Fei Co 荷電粒子ビーム・システムの絞り
US9733164B2 (en) 2012-06-11 2017-08-15 Fei Company Lamella creation method and device using fixed-angle beam and rotating sample stage
US8759764B2 (en) 2012-06-29 2014-06-24 Fei Company On-axis detector for charged particle beam system
US9046511B2 (en) 2013-04-18 2015-06-02 International Business Machines Corporation Fabrication of tunneling junction for nanopore DNA sequencing
US9182369B2 (en) 2013-06-19 2015-11-10 Globalfoundries Inc. Manufacturable sub-3 nanometer palladium gap devices for fixed electrode tunneling recognition
US9188578B2 (en) 2013-06-19 2015-11-17 Globalfoundries Inc. Nanogap device with capped nanowire structures
JP6290559B2 (ja) * 2013-09-03 2018-03-07 株式会社日立ハイテクサイエンス 断面加工観察方法、断面加工観察装置
AU2015256331B2 (en) * 2014-05-09 2020-03-12 AuroMedics Pharma LLC Formulations of Cyclophosphamide liquid concentrate
EP3043372B1 (en) 2015-01-12 2017-01-04 Fei Company Method of modifying a sample surface layer from a microscopic sample
US10103008B2 (en) 2016-01-12 2018-10-16 Fei Company Charged particle beam-induced etching
EP3249676B1 (en) 2016-05-27 2018-10-03 FEI Company Dual-beam charged-particle microscope with in situ deposition functionality
ES2738911A1 (es) * 2018-07-25 2020-01-27 Consejo Superior Investigacion Procedimiento para depositar elementos sobre un sustrato de interes y dispositivo
US11298547B2 (en) 2018-07-27 2022-04-12 Medtronic, Inc. Fluid status detection from a cardiac electrical signal and impedance signal
CN111413727B (zh) * 2020-04-15 2021-12-28 中国科学院电工研究所 一种电子束发散角测量装置及其制备方法和测量方法
US20230369211A1 (en) * 2022-05-13 2023-11-16 Intel Corporation Designs to enable inline circuit edit

Citations (3)

* Cited by examiner, † Cited by third party
Publication number Priority date Publication date Assignee Title
JPS60145612A (ja) * 1984-01-09 1985-08-01 Mitsubishi Electric Corp 半導体装置の製造方法
JPH0320026A (ja) * 1989-01-25 1991-01-29 Rikagaku Kenkyusho 選択的金属薄膜の形成方法
JP2005303319A (ja) * 2004-04-13 2005-10-27 Fei Co 微細構造を改修するためのシステム

Family Cites Families (20)

* Cited by examiner, † Cited by third party
Publication number Priority date Publication date Assignee Title
US3013955A (en) * 1959-04-29 1961-12-19 Fairchild Camera Instr Co Method of transistor manufacture
US3043955A (en) * 1960-01-25 1962-07-10 Hughes Aircraft Co Discriminating radiation detector
GB1062365A (en) 1965-03-01 1967-03-22 Hughes Aircraft Co A method of electroplating an ohmic contact bump upon a semiconductor body
US3506545A (en) * 1967-02-14 1970-04-14 Ibm Method for plating conductive patterns with high resolution
JPS60143630A (ja) * 1983-12-29 1985-07-29 Fujitsu Ltd イオン注入方法
JPS63210845A (ja) * 1987-02-27 1988-09-01 Hitachi Ltd 欠陥修正方法
US4874460A (en) * 1987-11-16 1989-10-17 Seiko Instruments Inc. Method and apparatus for modifying patterned film
US6153891A (en) * 1994-11-23 2000-11-28 Intel Corporation Method and apparatus providing a circuit edit structure through the back side of an integrated circuit die
US5976980A (en) * 1994-11-23 1999-11-02 Intel Corporation Method and apparatus providing a mechanical probe structure in an integrated circuit die
JP2000232078A (ja) * 1999-02-10 2000-08-22 Toshiba Corp メッキ方法及びメッキ装置
US6319831B1 (en) * 1999-03-18 2001-11-20 Taiwan Semiconductor Manufacturing Company Gap filling by two-step plating
JP3541931B2 (ja) * 1999-05-17 2004-07-14 富士ゼロックス株式会社 電着膜形成方法、電極形成方法および電着膜形成装置
US6372529B1 (en) * 1999-09-30 2002-04-16 Advanced Micro Devices, Inc. Forming elongated probe points useful in testing semiconductor devices
US6838380B2 (en) * 2001-01-26 2005-01-04 Fei Company Fabrication of high resistivity structures using focused ion beams
US6815358B2 (en) * 2001-09-06 2004-11-09 Seagate Technology Llc Electron beam lithography method for plating sub-100 nm trenches
KR100465063B1 (ko) * 2002-04-01 2005-01-06 주식회사 하이닉스반도체 반도체 소자의 금속배선 형성방법
US6974768B1 (en) * 2003-01-15 2005-12-13 Novellus Systems, Inc. Methods of providing an adhesion layer for adhesion of barrier and/or seed layers to dielectric films
US6958248B1 (en) * 2003-02-28 2005-10-25 Credence Systems Corporation Method and apparatus for the improvement of material/voltage contrast
US20060251801A1 (en) * 2005-03-18 2006-11-09 Weidman Timothy W In-situ silicidation metallization process
EP1890136A1 (en) * 2006-08-16 2008-02-20 FEI Company Method for obtaining images from slices of a specimen

Patent Citations (3)

* Cited by examiner, † Cited by third party
Publication number Priority date Publication date Assignee Title
JPS60145612A (ja) * 1984-01-09 1985-08-01 Mitsubishi Electric Corp 半導体装置の製造方法
JPH0320026A (ja) * 1989-01-25 1991-01-29 Rikagaku Kenkyusho 選択的金属薄膜の形成方法
JP2005303319A (ja) * 2004-04-13 2005-10-27 Fei Co 微細構造を改修するためのシステム

Cited By (2)

* Cited by examiner, † Cited by third party
Publication number Priority date Publication date Assignee Title
JP2012252004A (ja) * 2011-06-03 2012-12-20 Fei Co Tem画像化用の薄い試料を作製する方法
JP2015130471A (ja) * 2014-01-02 2015-07-16 サムソン エレクトロ−メカニックス カンパニーリミテッド. チップ電子部品の製造方法

Also Published As

Publication number Publication date
US8278220B2 (en) 2012-10-02
JP5656311B2 (ja) 2015-01-21
EP2151859A2 (en) 2010-02-10
JP2014187371A (ja) 2014-10-02
JP2014187370A (ja) 2014-10-02
EP2151854A2 (en) 2010-02-10
US20100032302A1 (en) 2010-02-11
EP2151854A3 (en) 2011-11-16
EP2151859A3 (en) 2011-08-17

Similar Documents

Publication Publication Date Title
JP5656311B2 (ja) 基板上にパターン金属を誘導する方法
KR101290681B1 (ko) 소구조물 변경 시스템
US9812286B2 (en) Localized, in-vacuum modification of small structures
US11999016B2 (en) Methods of forming parts using laser machining
JP2002170784A (ja) 炭化珪素半導体装置及びその製造方法
US8557707B2 (en) Focused ion beam deep nano-patterning apparatus and method
US7902062B2 (en) Electrodepositing a metal in integrated circuit applications
KR20250105457A (ko) 깊은 다중층 구조의 개선된 편집
CN100592466C (zh) 用于修改小结构的系统
TWI902278B (zh) 離子束掃描半導體樣品之方法及檢查和修復系統
Park et al. FIB overview
JP2002075849A (ja) 電子ビーム露光装置、荷電粒子線を整形する部材及びその製造方法
US11233017B2 (en) Ex-situ manufacture of metal micro-wires and FIB placement in IC circuits
JP2006507675A (ja) 金属、特に銅を電着する方法、この方法の使用、および集積回路構造
JP2011179959A (ja) 電気特性測定用試料の作製方法、測定方法及び試料加工測定装置
RU2762129C2 (ru) Способ обработки несогласованностей в устройствах на основе солнечных элементов и устройства, полученные с его помощью
HK40115207A (zh) 利用导电材料沉积在半导体上以产生相变和欧姆接触所形成的半导体器件及其制造方法
JP2002222725A (ja) 薄膜インダクタの製造方法
Cheng Metallic nanotransistors
Spiegel Electrochemical investigation of ion implanted p-Si
JP2006093257A (ja) 半導体素子の微小領域の電気物性測定方法

Legal Events

Date Code Title Description
A521 Request for written amendment filed

Free format text: JAPANESE INTERMEDIATE CODE: A523

Effective date: 20120714

A621 Written request for application examination

Free format text: JAPANESE INTERMEDIATE CODE: A621

Effective date: 20120714

A977 Report on retrieval

Free format text: JAPANESE INTERMEDIATE CODE: A971007

Effective date: 20130930

A131 Notification of reasons for refusal

Free format text: JAPANESE INTERMEDIATE CODE: A131

Effective date: 20131101

A601 Written request for extension of time

Free format text: JAPANESE INTERMEDIATE CODE: A601

Effective date: 20140131

A602 Written permission of extension of time

Free format text: JAPANESE INTERMEDIATE CODE: A602

Effective date: 20140205

A601 Written request for extension of time

Free format text: JAPANESE INTERMEDIATE CODE: A601

Effective date: 20140226

A602 Written permission of extension of time

Free format text: JAPANESE INTERMEDIATE CODE: A602

Effective date: 20140303

A601 Written request for extension of time

Free format text: JAPANESE INTERMEDIATE CODE: A601

Effective date: 20140331

A602 Written permission of extension of time

Free format text: JAPANESE INTERMEDIATE CODE: A602

Effective date: 20140403

A521 Request for written amendment filed

Free format text: JAPANESE INTERMEDIATE CODE: A523

Effective date: 20140430

A131 Notification of reasons for refusal

Free format text: JAPANESE INTERMEDIATE CODE: A131

Effective date: 20140527

A601 Written request for extension of time

Free format text: JAPANESE INTERMEDIATE CODE: A601

Effective date: 20140826

A602 Written permission of extension of time

Free format text: JAPANESE INTERMEDIATE CODE: A602

Effective date: 20140829

A521 Request for written amendment filed

Free format text: JAPANESE INTERMEDIATE CODE: A523

Effective date: 20140925

TRDD Decision of grant or rejection written
A01 Written decision to grant a patent or to grant a registration (utility model)

Free format text: JAPANESE INTERMEDIATE CODE: A01

Effective date: 20141024

A61 First payment of annual fees (during grant procedure)

Free format text: JAPANESE INTERMEDIATE CODE: A61

Effective date: 20141122

R150 Certificate of patent or registration of utility model

Ref document number: 5656311

Country of ref document: JP

Free format text: JAPANESE INTERMEDIATE CODE: R150

R250 Receipt of annual fees

Free format text: JAPANESE INTERMEDIATE CODE: R250

R250 Receipt of annual fees

Free format text: JAPANESE INTERMEDIATE CODE: R250

LAPS Cancellation because of no payment of annual fees