JP2010044954A - 電池パック - Google Patents
電池パック Download PDFInfo
- Publication number
- JP2010044954A JP2010044954A JP2008208268A JP2008208268A JP2010044954A JP 2010044954 A JP2010044954 A JP 2010044954A JP 2008208268 A JP2008208268 A JP 2008208268A JP 2008208268 A JP2008208268 A JP 2008208268A JP 2010044954 A JP2010044954 A JP 2010044954A
- Authority
- JP
- Japan
- Prior art keywords
- battery pack
- exterior material
- battery
- layer
- laminate
- Prior art date
- Legal status (The legal status is an assumption and is not a legal conclusion. Google has not performed a legal analysis and makes no representation as to the accuracy of the status listed.)
- Granted
Links
Images
Classifications
-
- H—ELECTRICITY
- H01—ELECTRIC ELEMENTS
- H01M—PROCESSES OR MEANS, e.g. BATTERIES, FOR THE DIRECT CONVERSION OF CHEMICAL ENERGY INTO ELECTRICAL ENERGY
- H01M50/00—Constructional details or processes of manufacture of the non-active parts of electrochemical cells other than fuel cells, e.g. hybrid cells
- H01M50/50—Current conducting connections for cells or batteries
- H01M50/572—Means for preventing undesired use or discharge
-
- H—ELECTRICITY
- H01—ELECTRIC ELEMENTS
- H01M—PROCESSES OR MEANS, e.g. BATTERIES, FOR THE DIRECT CONVERSION OF CHEMICAL ENERGY INTO ELECTRICAL ENERGY
- H01M50/00—Constructional details or processes of manufacture of the non-active parts of electrochemical cells other than fuel cells, e.g. hybrid cells
- H01M50/10—Primary casings; Jackets or wrappings
- H01M50/116—Primary casings; Jackets or wrappings characterised by the material
- H01M50/121—Organic material
-
- H—ELECTRICITY
- H01—ELECTRIC ELEMENTS
- H01M—PROCESSES OR MEANS, e.g. BATTERIES, FOR THE DIRECT CONVERSION OF CHEMICAL ENERGY INTO ELECTRICAL ENERGY
- H01M10/00—Secondary cells; Manufacture thereof
- H01M10/05—Accumulators with non-aqueous electrolyte
- H01M10/052—Li-accumulators
-
- H—ELECTRICITY
- H01—ELECTRIC ELEMENTS
- H01M—PROCESSES OR MEANS, e.g. BATTERIES, FOR THE DIRECT CONVERSION OF CHEMICAL ENERGY INTO ELECTRICAL ENERGY
- H01M10/00—Secondary cells; Manufacture thereof
- H01M10/05—Accumulators with non-aqueous electrolyte
- H01M10/052—Li-accumulators
- H01M10/0525—Rocking-chair batteries, i.e. batteries with lithium insertion or intercalation in both electrodes; Lithium-ion batteries
-
- H—ELECTRICITY
- H01—ELECTRIC ELEMENTS
- H01M—PROCESSES OR MEANS, e.g. BATTERIES, FOR THE DIRECT CONVERSION OF CHEMICAL ENERGY INTO ELECTRICAL ENERGY
- H01M10/00—Secondary cells; Manufacture thereof
- H01M10/42—Methods or arrangements for servicing or maintenance of secondary cells or secondary half-cells
- H01M10/44—Methods for charging or discharging
-
- H—ELECTRICITY
- H01—ELECTRIC ELEMENTS
- H01M—PROCESSES OR MEANS, e.g. BATTERIES, FOR THE DIRECT CONVERSION OF CHEMICAL ENERGY INTO ELECTRICAL ENERGY
- H01M50/00—Constructional details or processes of manufacture of the non-active parts of electrochemical cells other than fuel cells, e.g. hybrid cells
- H01M50/10—Primary casings; Jackets or wrappings
- H01M50/116—Primary casings; Jackets or wrappings characterised by the material
- H01M50/117—Inorganic material
- H01M50/119—Metals
-
- H—ELECTRICITY
- H01—ELECTRIC ELEMENTS
- H01M—PROCESSES OR MEANS, e.g. BATTERIES, FOR THE DIRECT CONVERSION OF CHEMICAL ENERGY INTO ELECTRICAL ENERGY
- H01M50/00—Constructional details or processes of manufacture of the non-active parts of electrochemical cells other than fuel cells, e.g. hybrid cells
- H01M50/10—Primary casings; Jackets or wrappings
- H01M50/116—Primary casings; Jackets or wrappings characterised by the material
- H01M50/124—Primary casings; Jackets or wrappings characterised by the material having a layered structure
-
- H—ELECTRICITY
- H01—ELECTRIC ELEMENTS
- H01M—PROCESSES OR MEANS, e.g. BATTERIES, FOR THE DIRECT CONVERSION OF CHEMICAL ENERGY INTO ELECTRICAL ENERGY
- H01M50/00—Constructional details or processes of manufacture of the non-active parts of electrochemical cells other than fuel cells, e.g. hybrid cells
- H01M50/50—Current conducting connections for cells or batteries
- H01M50/543—Terminals
-
- H—ELECTRICITY
- H01—ELECTRIC ELEMENTS
- H01M—PROCESSES OR MEANS, e.g. BATTERIES, FOR THE DIRECT CONVERSION OF CHEMICAL ENERGY INTO ELECTRICAL ENERGY
- H01M50/00—Constructional details or processes of manufacture of the non-active parts of electrochemical cells other than fuel cells, e.g. hybrid cells
- H01M50/50—Current conducting connections for cells or batteries
- H01M50/572—Means for preventing undesired use or discharge
- H01M50/574—Devices or arrangements for the interruption of current
-
- Y—GENERAL TAGGING OF NEW TECHNOLOGICAL DEVELOPMENTS; GENERAL TAGGING OF CROSS-SECTIONAL TECHNOLOGIES SPANNING OVER SEVERAL SECTIONS OF THE IPC; TECHNICAL SUBJECTS COVERED BY FORMER USPC CROSS-REFERENCE ART COLLECTIONS [XRACs] AND DIGESTS
- Y02—TECHNOLOGIES OR APPLICATIONS FOR MITIGATION OR ADAPTATION AGAINST CLIMATE CHANGE
- Y02E—REDUCTION OF GREENHOUSE GAS [GHG] EMISSIONS, RELATED TO ENERGY GENERATION, TRANSMISSION OR DISTRIBUTION
- Y02E60/00—Enabling technologies; Technologies with a potential or indirect contribution to GHG emissions mitigation
- Y02E60/10—Energy storage using batteries
Landscapes
- Chemical & Material Sciences (AREA)
- Chemical Kinetics & Catalysis (AREA)
- Electrochemistry (AREA)
- General Chemical & Material Sciences (AREA)
- Engineering & Computer Science (AREA)
- Inorganic Chemistry (AREA)
- Manufacturing & Machinery (AREA)
- Materials Engineering (AREA)
- Battery Mounting, Suspending (AREA)
- Sealing Battery Cases Or Jackets (AREA)
- Connection Of Batteries Or Terminals (AREA)
Abstract
【解決手段】電池パックは、外装材と、外装材に収容された電池素子とを備える。外装材は、導電層を有するラミネート材であり、電池素子の正極端子または負極端子が、導電層と電気的に接続されている。外装材の導電層は、電池素子の正極または負極と同電位に設定されている。
【選択図】図2
Description
外装材と、
外装材に収容された電池素子と
を備え、
外装材は、導電層を有するラミネート材であり、
電池素子の正極端子または負極端子が、導電層と電気的に接続されている電池パックである。
外装材と、
外装材に収容された電池素子と、
外装材を覆う表面部材と
を備え、
表面部材は金属層を有し、
電池素子の正極端子または負極端子が、表示部材の金属層と電気的に接続されている電池パックである。
(1−1)電池パックの構成
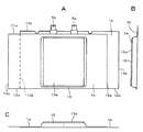
図1は、この発明の第1の実施形態による電池パックの外観を示す斜視図である。図2は、この発明の第1の実施形態による電池パックの一構成例を示す分解斜視図である。この電池パックは、例えば、角形または扁平型を有するリチウムイオンポリマー二次電池の電池パックである。図1に示すように、この電池パックは、外装材1に電池素子を収納し、両端開口に対してそれぞれトップカバー2およびボトムカバー3を嵌合したものである。トップカバー2には、正極端子2a、負極端子2b、識別端子2cが備えられている。外装材1の表面は、表面部材であるラベルにより覆われている。
図3は、この発明の第1の実施形態による電池素子4の外観の一例を示す斜視図である。図3に示すように、電池素子4は、例えば、角形または扁平型を有し、帯状の正極、帯状の負極とがポリマー電解質およびセパレータを介して積層され、長手方向に巻回されると共に、正極および負極からそれぞれ正極リード5aおよび負極リード5bが導出されている。
図4は、電池素子4を被覆する外装材1の一形状例を示す展開図である。図4に示すように、この外装材1は、電池素子4を収納するための収納部15が設けられた軟質ラミネート材(第1のラミネート材)1aと、この軟質ラミネート材1a上に収納部15を覆うようにして重ねられる硬質ラミネート材(第2のラミネート材)1bとからなる。また、収納部15の底面に相当する位置の外側表面には熱溶着シート15aが配置されている。軟質ラミネート材1aに設けられた収納部15は、例えば、予め金型で絞り加工を施して電池素子4の形状に応じて凹状に形成される。
トップカバー2は、外装材1のトップ側開口に嵌合して、このトップ側開口を塞ぐものである。トップカバー2は、トップカバー本体21と、回路基板22と、リレータブ23と、ヒューズ24と、正極タブ25と、負極タブ26と、ホルダー27とを備える。トップカバー2は、電池素子4と対向する側の面に収容部を有する。この収容部に、回路基板22と、リレータブ23と、ヒューズ24と、正極タブ25と、負極タブ26とが収容される。これらの収容部品は、トップカバー本体21にホルダー27を嵌合させることによりトップカバー本体21内に保持される。また、トップカバー2と外装材1との間に絶縁テープ28、絶縁テープ29を配置するようにしてもよい。
ボトムカバー3は、外装材1のボトム側の開口を塞ぐものである。ボトムカバー3は、ボトムカバー本体31と、ボトムプレート32とを備える。ボトムプレート32は、ボトムカバー本体31と電池素子4との間に配置される。ボトムカバー本体31には、ボトムカバー3と電池素子との間に溶融樹脂を注入するための1または2以上の貫通孔が設けられている。
次に、この発明の第1の実施形態による電池パックの製造方法の一例について説明する。
まず、例えば、ゲル電解質層が両面に形成された正極および負極と、セパレータとを、負極、セパレータ、正極、セパレータの順に順次積層し、この積層体を平板の芯に巻き付けて、長手方向に多数回巻回して巻回型の電池素子4を作製する。
次に、例えば予め深絞成形により、電池素子4を入れるための収納部15を軟質ラミネート材1aに成形する。この際、図4Aに示すように、軟質ラミネート材1aの収納部15は、例えば、中心位置に対してやや右側にずれた位置に形成する。そして、電池素子4を軟質ラミネート材1aに形成された収納部15内に収納する。
次に、正極リード5aおよび負極リード5bなどを例えば抵抗溶接または超音波溶接によって回路基板22などに接続するとともに、トップカバー2の各部品を組み合わせることにより、トップカバー2を形成する。次に、図10Aに示すように、導電テープ30aの一端を、電池素子4から引き出された正極リード5aに対して接続する。次に、図10Bに示すように、導電テープ30aの他端をトップカバー2の上面に配置する。次に、図10Cに示すように、正極リード5aおよび負極リード5bを適宜折り返しながら、トップカバー2を外装材1のトップ側開口に嵌合する。これにより、図10Dに示すように、外装材1のトップ側開口がトップカバー2により塞がれるとともに、導電テープ30aの他端がトップカバー2と硬質ラミネート材1bとの間に挟み込まれる。なお、トップカバー2を外装材1のトップ側開口に嵌合する際に、トップカバー2と外装材1との間に、絶縁テープ28、29を配置するようにしてもよい。次に、ボトムカバー3の各部品を組み合わせてボトムカバー3を形成し、このボトムカバーを外装材1のボトム側開口に嵌合する。
次に、治具にて全長をおさえ、熱溶着を行う。すなわち、銅などの金属からなるヒーターブロックを外装材1のトップ側の端の近傍に上下から押し当て、トップカバー2の周面と、硬質ラミネート材1bの内面のポリプロピレン層とを熱溶着する。これにより、ポリプロピレン層が溶融し、トップカバー2の上面と外装材1との間に挟み込まれた導電テープ30aの他端が、硬質アルミ金属層と電気的に接合する。また、同様に、ヒーターブロックを外装材1のボトム側の端の近傍に上下から押し当て、ボトムカバー3の周面と、硬質ラミネート材1bの内面のポリプロピレン層とを熱溶着するようにしてもよい。
次に、貫通孔を介して電池素子4とボトムカバー3との間に溶融樹脂を充填し、固化させる。これにより、ボトムカバー3が電池素子4の端面に接着される。なお、充填される樹脂は、注形時に低粘度状態を有すればよく、特に限定されるものではなく、例えばポリアミド系ホットメルト、ポリオレフィン系ホットメルト、ナイロン、PP、PC、ABSなどを使用することができる。
以上の工程により、この発明の第1の実施形態による電池パックが製造される。
この第2の実施形態による電池パックは、電池素子4の負極リード5bと外装材1の導電層とを電気的に接合している点において、第1の実施形態のものとは異なっている。電池パックの負極端子2bと、外装材1の金属層との間の抵抗値Rを500Ω以下にすることが好ましい。これにより、ESD耐性をより向上できるからである。
図15は、この発明の第3の実施形態による電池パックの一構成例を示す分解斜視図である。図15に示すように、この電池パックは、ラベルとして金属ラベル61を用いる点において、第1の実施形態のものとは異なっている。
この第4の実施形態は、外装材1の導電層と電池素子4の正極リード5aとを電気的に接続する代わりに、金属ラベル61の金属基材72と電池素子4の正極リード5aとを電気的に接続する点において、第3の実施形態のものとは異なっている。
まず、図3に示した電池素子4を準備した。次に、電池素子4を外装材1に収納した後、軟質ラミネート材1aに設けられた収納部15の底面外側へ向けて、外装材1の短辺側を折り込んで、外装材1の短辺側を熱溶着するとともに、軟質ラミネート材1aに設けられた収納部15の底面に対して外装材1を熱溶着させた。これにより、トップ側開口およびボトム側開口が形成された。
以上の工程により目的とする電池パックが得られた。
電池パックの正極端子2aと、外装材1の硬質アルミ金属層17bとの間の抵抗値Rを500Ωとする以外のことは、実施例1と同様にして電池パックを得た。
電池パックの正極端子2aと、外装材1の硬質アルミ金属層17bとの間の抵抗値Rを100kΩとする以外のことは、実施例1と同様にして電池パックを得た。
電池パックの正極端子2aと、外装材1の硬質アルミ金属層17bとの間の抵抗値Rを1MΩとする以外のことは、実施例1と同様にして電池パックを得た。
電池パックの正極端子2aと、外装材1の硬質アルミ金属層17bとの間の抵抗値Rを10MΩとする以外のことは、実施例1と同様にして電池パックを得た。
次に、実施例1〜5の電池パックをそれぞれ5個準備し、これらの電池パックを電子機器に収容し、ESD耐性試験を行い、電子機器に異常が発生するか否かを判定した。なお、耐性試験は、IEC61000−4−2に準拠して行った。また、耐久試験は、ESD放電の試験電圧を±8kV、±15kV、±25kVに変えて行った。その結果を表1に示す。
図13Aに示すように、導電テープ30aの一端を、電池素子4から引き出された負極リード5bに対して接続し、導電テープ30aの他端を、硬質アルミ金属層17bと電気的に接合し、電池パックの負極端子2bと、外装材1の硬質アルミ金属層17bとの間の抵抗値Rを100Ωとする以外は、実施例1と同様にして電池パックを得た。
電池パックの負極端子2bと、外装材1の硬質アルミ金属層17bとの間の抵抗値Rを500Ωとする以外のことは、実施例6と同様にして電池パックを得た。
電池パックの負極端子2bと、外装材1の硬質アルミ金属層17bとの間の抵抗値Rを100kΩとする以外のことは、実施例6と同様にして電池パックを得た。
電池パックの負極端子2bと、外装材1の硬質アルミ金属層17bとの間の抵抗値Rを1MΩとする以外のことは、実施例6と同様にして電池パックを得た。
電池パックの負極端子2bと、外装材1の硬質アルミ金属層17bとの間の抵抗値Rを10MΩとする以外のことは、実施例6と同様にして電池パックを得た。
次に、実施例6〜10の電池パックをそれぞれ5個準備し、これらの電池パックを電子機器に収容し、ESD耐性試験を行い、電子機器に異常が発生するか否かを判定した。なお、耐性試験は、IEC61000−4−2に準拠して行った。また、耐久試験は、ESD放電の試験電圧を±8kV、±15kV、±25kVに変えて行った。その結果を表2に示す。
電池素子4の正極リード5aまたは負極リード5bと、外装材1の導電層とを電気的に接続し、外装材1の導電層をプラスまたはマイナスに設定することで、ESD耐性が向上することがわかる。
電池素子4の正極リード5aと、外装材1の導電層とを電気的に接続した電池パックは、電池素子4の負極リード5bと、外装材1の導電層とを電気的に接続した電池パックに比べて、ESD耐性に優れていることがわかる。特に、その違いは、ESD放電の電位が±15kVを超える領域において顕著になることがわかる。
電池素子4の正極リード5aと、外装材1の導電層とを電気的に接続した電池パックでは、電池パックの正極端子2aと、外装材1の金属層との間の抵抗値Rを1MΩ以下にすることで、ESD耐性を向上できることがわかる。
電池素子4の負極リード5bと、外装材1の導電層とを電気的に接続した電池パックでは、電池パックの負極端子2bと、外装材1の金属層との間の抵抗値Rを500Ω以下にすることで、ESD耐性を向上できることがわかる。
一方、外装材1の導電層と電池素子1の電極リードとを接続する接続部材30の導体抵抗が大きくなると、静電貫通ではなく、静電拡散と同等の状態となる。特に、抵抗が15kVを超える領域では、上述の実施例の測定結果から推測すると、外装材1の導電層をGNDに接続した場合には、完全に静電貫通に至らずに、静電拡散が一部始まり、その結果、電流は筐体に流れ込み、ESD破壊につながると考えられる。
以上により、接続抵抗を制限し、静電拡散を抑える効果を定量的に定義することで、筐体の形態に依存せず、ESD耐性を向上させることができると考えられる。
外装材1に対してPETラベル41を貼り合わせ、PETラベル41により外装材1の表面全体を覆う以外は、実施例1と同様にして電池パックを得た。
外装材1に対してSUSラベル61を貼り合わせ、SUSラベル61により外装材1の表面全体を覆う以外は、実施例1と同様にして電池パックを得た。
上述のようにして得られた実施例11、および実施例12の電池パックに対して自由落下試験を以下のようにして行った。1.5mの高さから、電池パック表面部6面×2サイクル、合計12回の落下試験を行い、電池パックを構成する全ての部品にクラックや外れがあるか否かを確認した(図22、図24参照)。
上述のようにして得られた実施例11、および実施例12の電池パックに対してランダム自由落下試験を以下のようにして行った。1.0mの高さから電池パックを厚さ3mmの鉄板上に200回落下し、電池パックを構成する全ての部品にクラックや外れがあるか否かを確認した(図22、図24参照)。
上述のようにして得られた実施例11、および実施例12の電池パックに対してパンチン耐性試験を以下のようにして行った。パンチング治具(鉄製Φ8mm、先端Φ3mm、45°カット)92を用いて、荷重400N、スピード1.5mm/minの条件でパンチング試験を行い、電池パックに内部ショートが発生しているか否かを確認した(図23、図25参照)。
実施例11では、PETラベルが柔らかいため、電池パックの機械的強度をあまり向上できなかった。これに対して、実施例12では、SUSラベルがPETラベルより硬質であるため、電池パックの機械的強度を大幅に向上することができた。
1a 軟質ラミネート材
1b 硬質ラミネート材
2 トップカバー
2a 正極端子
2b 負極端子
2c 識別端子
3 ボトムカバー
4 電池素子
5a 正極リード
5b 負極リード
15 収納部
15a 熱溶着シート
16a ポリプロピレン層
16b ポリプロピレン層
17a 軟質アルミ金属層
17b 硬質アルミ金属層
18a PET層
18b ナイロン層またはPET層
21 トップカバー本体
22 回路基板
41 ラベル
42 絶縁テープ
51 粘着剤層
52 基材
53 インク接着剤層
54 インク層
55 UVコーティング層
61 ラベル(SUS)
62 接続部材
63 正極端子
64 正極端子
65 開口部
71 粘着材
72 基材
73 粘着材
74 基材
75 インク
76 UVコーティング
81 金属ラベル
91 回路基板
Claims (13)
- 外装材と、
上記外装材に収容された電池素子と
を備え、
上記外装材は、導電層を有するラミネート材であり、
上記電池素子の正極端子または負極端子が、上記導電層と電気的に接続されている電池パック。 - 上記電池素子の正極端子が、上記外装材の導電層と電気的に接続されている請求項1記載の電池パック。
- 上記正極端子と、上記外装材の導電層との間の抵抗が1MΩ以下である請求項2記載の電池パック。
- 上記電池素子の負極端子が、上記外装材の導電層と電気的に接続され、
上記負極端子と、上記外装材の導電層との間の抵抗が500Ω以下である請求項1記載の電池パック。 - 上記外装材の開口に嵌合されるカバーと、
上記電池素子の正極端子または負極端子と、上記外装材の導電層とを電気的に接続する接続部材と
をさらに備え、
上記接続部材の一端は上記電池素子の正極端子または負極端子に対して接続され、
上記接続部材の他端は上記外装部材と上記カバーとの間に挟み込まれている請求項1記載の電池パック。 - 上記外装材を覆う表面部材をさらに備え、
上記表面部材は金属層を備える請求項1記載の電池パック。 - 上記金属層は、ステンレス鋼を主成分とする請求項6記載の電池パック。
- 上記電池素子の正極端子または負極端子が、上記表面部材の金属層と電気的に接続されている請求項6記載の電池パック。
- 上記外装材は、略同一サイズの第1および第2のラミネート材を備え、
上記第1および上記第2のラミネート材は導電層を有し、
上記第1のラミネート材に形成された凹部に電池が収容され、
上記凹部の開口を上記第2のラミネート材が覆うように、上記第1および第2のラミネート材が重ねられ、上記開口の周囲において、上記第1および上記第2のラミネート材の対向面が熱溶着され、
上記ラミネート材の上記凹部の底面の外側において、上記第1のラミネート材の両端部同士が接合されている請求項1記載の電池パック。 - 上記第1のラミネート材の導電層は軟質アルミ金属層であり、
上記第2のラミネート材の導電層は硬質アルミ金属層である請求項9記載の電池パック。 - 上記第1のラミネート材と上記第2のラミネート材とがずらして重ね合わされ、
上記第1のラミネート材および上記第2のラミネート材のずれた部分が、上記ラミネート材の上記凹部の底面の外側において、重ね合わされている請求項9記載の電池パック。 - 上記第1のラミネート材は、接着層と、軟質アルミ金属層と、表面保護層とがこの順序で積層されてなり、
上記第2のラミネート材は、接着層と、硬質アルミ金属層と、表面保護層とがこの順序で積層されてなり、
上記第1のラミネートの接着層と、上記第2のラミネート材の接着層とが、対向する請求項9記載の電池パック。 - 外装材と、
上記外装材に収容された電池素子と、
上記外装材を覆う表面部材と
を備え、
上記表面部材は金属層を有し、
上記電池素子の正極端子または負極端子が、上記表示部材の金属層と電気的に接続されている電池パック。
Priority Applications (6)
| Application Number | Priority Date | Filing Date | Title |
|---|---|---|---|
| JP2008208268A JP4858510B2 (ja) | 2008-08-12 | 2008-08-12 | 電池パック |
| SG200904752-3A SG159443A1 (en) | 2008-08-12 | 2009-07-14 | Battery pack |
| US12/539,375 US8318339B2 (en) | 2008-08-12 | 2009-08-11 | Battery pack |
| EP09010346A EP2157632A1 (en) | 2008-08-12 | 2009-08-11 | Battery pack |
| KR1020090073724A KR20100020434A (ko) | 2008-08-12 | 2009-08-11 | 전지 팩 |
| CN200910165892A CN101651235A (zh) | 2008-08-12 | 2009-08-12 | 电池包 |
Applications Claiming Priority (1)
| Application Number | Priority Date | Filing Date | Title |
|---|---|---|---|
| JP2008208268A JP4858510B2 (ja) | 2008-08-12 | 2008-08-12 | 電池パック |
Publications (2)
| Publication Number | Publication Date |
|---|---|
| JP2010044954A true JP2010044954A (ja) | 2010-02-25 |
| JP4858510B2 JP4858510B2 (ja) | 2012-01-18 |
Family
ID=41100859
Family Applications (1)
| Application Number | Title | Priority Date | Filing Date |
|---|---|---|---|
| JP2008208268A Expired - Fee Related JP4858510B2 (ja) | 2008-08-12 | 2008-08-12 | 電池パック |
Country Status (6)
| Country | Link |
|---|---|
| US (1) | US8318339B2 (ja) |
| EP (1) | EP2157632A1 (ja) |
| JP (1) | JP4858510B2 (ja) |
| KR (1) | KR20100020434A (ja) |
| CN (1) | CN101651235A (ja) |
| SG (1) | SG159443A1 (ja) |
Cited By (3)
| Publication number | Priority date | Publication date | Assignee | Title |
|---|---|---|---|---|
| JP2011243385A (ja) * | 2010-05-18 | 2011-12-01 | Showa Denko Packaging Co Ltd | ラミネート組電池及び組電池用ラミネート外装材 |
| JP2018511153A (ja) * | 2015-10-29 | 2018-04-19 | エルジー・ケム・リミテッド | 下部ケースの厚さが薄い電池パックおよびこれを含むノートパソコン |
| JP2018170161A (ja) * | 2017-03-30 | 2018-11-01 | Tdk株式会社 | 非水電解質二次電池 |
Families Citing this family (9)
| Publication number | Priority date | Publication date | Assignee | Title |
|---|---|---|---|---|
| TWI422285B (zh) * | 2010-03-17 | 2014-01-01 | Simplo Technology Co Ltd | 具靜電放電防護之電池模組 |
| CN102214812B (zh) * | 2010-04-07 | 2013-05-29 | 新普科技股份有限公司 | 具静电放电防护功能的电池组及电子装置 |
| CN107369785B (zh) * | 2011-08-29 | 2020-11-17 | 村田新能源(无锡)有限公司 | 电池包、电池包的制造方法、电池和电子设备 |
| US20150022148A1 (en) * | 2012-01-23 | 2015-01-22 | Avery Dennison Corporation | Electrochemical cell labels and accessories |
| EP3182484B1 (de) * | 2015-12-17 | 2019-04-03 | Lithium Energy and Power GmbH & Co. KG | Batteriezelle mit einem batteriezellgehäuse, in dem ein elektrochemischer teil und ein träger mit wenigstens einem schaltungsteil angeordnet sind, sowie herstellungsverfahren für eine solche batteriezelle |
| CN108886121B (zh) * | 2016-04-01 | 2021-11-30 | 株式会社Lg化学 | 电池模块 |
| KR102441838B1 (ko) | 2018-02-14 | 2022-09-08 | 삼성전자주식회사 | 브라켓의 개구부에서 발생되는 공진을 조정하기 위해 개구부에 전기적으로 연결된 도전성 부재를 포함하는 전자 장치 |
| JP7310096B2 (ja) * | 2018-04-10 | 2023-07-19 | ソニーグループ株式会社 | 電池パック及び電子機器 |
| CN112567562B (zh) * | 2018-08-10 | 2023-12-05 | 株式会社村田制作所 | 固态电池 |
Citations (6)
| Publication number | Priority date | Publication date | Assignee | Title |
|---|---|---|---|---|
| WO2001008248A1 (fr) * | 1999-07-23 | 2001-02-01 | Mitsubishi Denki Kabushiki Kaisha | Cellule et procede d'inspection de cellule |
| JP2001319633A (ja) * | 2000-05-10 | 2001-11-16 | Toshiba Battery Co Ltd | 電池パック |
| JP2001357825A (ja) * | 2000-06-14 | 2001-12-26 | Mitsubishi Electric Corp | 電 池 |
| JP2002124235A (ja) * | 2000-10-19 | 2002-04-26 | Gs-Melcotec Co Ltd | 電池パック |
| JP2005166650A (ja) * | 2003-11-14 | 2005-06-23 | Sony Corp | 電池パック |
| JP2007323909A (ja) * | 2006-05-31 | 2007-12-13 | Sanyo Electric Co Ltd | パック電池 |
Family Cites Families (5)
| Publication number | Priority date | Publication date | Assignee | Title |
|---|---|---|---|---|
| CN1196215C (zh) | 1999-05-14 | 2005-04-06 | 三菱电机株式会社 | 板状电池和电子仪器 |
| JP3625773B2 (ja) | 2001-02-27 | 2005-03-02 | 三洋電機株式会社 | パック電池 |
| TWI300637B (en) * | 2002-09-27 | 2008-09-01 | Sony Corp | Battery pack and method for producing same |
| JP2008181702A (ja) | 2007-01-23 | 2008-08-07 | Mitsumi Electric Co Ltd | 電池パック及び電池保護モジュール及び電池保護モジュール用基板の製造方法 |
| JP2008208268A (ja) | 2007-02-27 | 2008-09-11 | Toshiba Corp | メタンガス精製装置及びメタンガス精製装置システム |
-
2008
- 2008-08-12 JP JP2008208268A patent/JP4858510B2/ja not_active Expired - Fee Related
-
2009
- 2009-07-14 SG SG200904752-3A patent/SG159443A1/en unknown
- 2009-08-11 US US12/539,375 patent/US8318339B2/en not_active Expired - Fee Related
- 2009-08-11 EP EP09010346A patent/EP2157632A1/en not_active Withdrawn
- 2009-08-11 KR KR1020090073724A patent/KR20100020434A/ko not_active Withdrawn
- 2009-08-12 CN CN200910165892A patent/CN101651235A/zh active Pending
Patent Citations (6)
| Publication number | Priority date | Publication date | Assignee | Title |
|---|---|---|---|---|
| WO2001008248A1 (fr) * | 1999-07-23 | 2001-02-01 | Mitsubishi Denki Kabushiki Kaisha | Cellule et procede d'inspection de cellule |
| JP2001319633A (ja) * | 2000-05-10 | 2001-11-16 | Toshiba Battery Co Ltd | 電池パック |
| JP2001357825A (ja) * | 2000-06-14 | 2001-12-26 | Mitsubishi Electric Corp | 電 池 |
| JP2002124235A (ja) * | 2000-10-19 | 2002-04-26 | Gs-Melcotec Co Ltd | 電池パック |
| JP2005166650A (ja) * | 2003-11-14 | 2005-06-23 | Sony Corp | 電池パック |
| JP2007323909A (ja) * | 2006-05-31 | 2007-12-13 | Sanyo Electric Co Ltd | パック電池 |
Cited By (4)
| Publication number | Priority date | Publication date | Assignee | Title |
|---|---|---|---|---|
| JP2011243385A (ja) * | 2010-05-18 | 2011-12-01 | Showa Denko Packaging Co Ltd | ラミネート組電池及び組電池用ラミネート外装材 |
| JP2018511153A (ja) * | 2015-10-29 | 2018-04-19 | エルジー・ケム・リミテッド | 下部ケースの厚さが薄い電池パックおよびこれを含むノートパソコン |
| US10665830B2 (en) | 2015-10-29 | 2020-05-26 | Lg Chem, Ltd. | Battery pack having lower case of small thickness and laptop computer including the same |
| JP2018170161A (ja) * | 2017-03-30 | 2018-11-01 | Tdk株式会社 | 非水電解質二次電池 |
Also Published As
| Publication number | Publication date |
|---|---|
| US8318339B2 (en) | 2012-11-27 |
| US20100040947A1 (en) | 2010-02-18 |
| CN101651235A (zh) | 2010-02-17 |
| SG159443A1 (en) | 2010-03-30 |
| KR20100020434A (ko) | 2010-02-22 |
| EP2157632A1 (en) | 2010-02-24 |
| JP4858510B2 (ja) | 2012-01-18 |
Similar Documents
| Publication | Publication Date | Title |
|---|---|---|
| JP4858510B2 (ja) | 電池パック | |
| JP3922281B2 (ja) | 電池パックおよび電池パックの製造方法 | |
| US10930897B2 (en) | Battery and battery pack | |
| JP5298077B2 (ja) | リチウムポリマー二次電池 | |
| KR101035759B1 (ko) | 전지 팩 및 전지 팩 제조 방법 | |
| KR101666418B1 (ko) | 전극리드-전극 탭 결합부 보호용 필름부재를 포함하는 파우치형 전지셀 | |
| US9634304B2 (en) | Battery pack | |
| KR101567600B1 (ko) | 전지팩 및 그의 제조 방법 | |
| JP2006066090A (ja) | 電池パックおよびその製造方法 | |
| KR20180120027A (ko) | 이차전지용 전극리드, 이를 포함하는 파우치형 이차전지 및 배터리 모듈 | |
| JP4214985B2 (ja) | 電池パック | |
| US9419253B2 (en) | Battery pack and its fabricating method, battery, and electronic device | |
| JP5044934B2 (ja) | 電池パック | |
| JP4946068B2 (ja) | 電池パック | |
| JP4862971B2 (ja) | 電池および電池パック | |
| US10014496B2 (en) | Rechargeable battery | |
| JP4639819B2 (ja) | 電池パック | |
| JP2011204604A (ja) | 電池パックおよびその製造方法 | |
| JP2007323875A (ja) | トップカバー、電池パック及びその製造方法 | |
| EP4178011A1 (en) | Secondary battery | |
| JP5135805B2 (ja) | 電池パック | |
| JP2010165646A (ja) | 電池パック |
Legal Events
| Date | Code | Title | Description |
|---|---|---|---|
| A977 | Report on retrieval |
Free format text: JAPANESE INTERMEDIATE CODE: A971007 Effective date: 20101207 |
|
| A131 | Notification of reasons for refusal |
Free format text: JAPANESE INTERMEDIATE CODE: A131 Effective date: 20101214 |
|
| A521 | Request for written amendment filed |
Free format text: JAPANESE INTERMEDIATE CODE: A523 Effective date: 20110214 |
|
| TRDD | Decision of grant or rejection written | ||
| A01 | Written decision to grant a patent or to grant a registration (utility model) |
Free format text: JAPANESE INTERMEDIATE CODE: A01 Effective date: 20111004 |
|
| A01 | Written decision to grant a patent or to grant a registration (utility model) |
Free format text: JAPANESE INTERMEDIATE CODE: A01 |
|
| A61 | First payment of annual fees (during grant procedure) |
Free format text: JAPANESE INTERMEDIATE CODE: A61 Effective date: 20111017 |
|
| FPAY | Renewal fee payment (event date is renewal date of database) |
Free format text: PAYMENT UNTIL: 20141111 Year of fee payment: 3 |
|
| LAPS | Cancellation because of no payment of annual fees |
