JP2010043665A - 等速ジョイント - Google Patents

等速ジョイント Download PDF

Info

Publication number
JP2010043665A
JP2010043665A JP2008207051A JP2008207051A JP2010043665A JP 2010043665 A JP2010043665 A JP 2010043665A JP 2008207051 A JP2008207051 A JP 2008207051A JP 2008207051 A JP2008207051 A JP 2008207051A JP 2010043665 A JP2010043665 A JP 2010043665A
Authority
JP
Japan
Prior art keywords
outer ring
cage
constant velocity
velocity joint
annular space
Prior art date
Legal status (The legal status is an assumption and is not a legal conclusion. Google has not performed a legal analysis and makes no representation as to the accuracy of the status listed.)
Granted
Application number
JP2008207051A
Other languages
English (en)
Other versions
JP5102143B2 (ja
Inventor
Yoshimi Asayama
好美 浅山
Masaaki Ohashi
正明 大橋
Satoru Fukuzawa
覚 福澤
Current Assignee (The listed assignees may be inaccurate. Google has not performed a legal analysis and makes no representation or warranty as to the accuracy of the list.)
NTN Corp
Original Assignee
NTN Corp
NTN Toyo Bearing Co Ltd
Priority date (The priority date is an assumption and is not a legal conclusion. Google has not performed a legal analysis and makes no representation as to the accuracy of the date listed.)
Filing date
Publication date
Application filed by NTN Corp, NTN Toyo Bearing Co Ltd filed Critical NTN Corp
Priority to JP2008207051A priority Critical patent/JP5102143B2/ja
Publication of JP2010043665A publication Critical patent/JP2010043665A/ja
Application granted granted Critical
Publication of JP5102143B2 publication Critical patent/JP5102143B2/ja
Expired - Fee Related legal-status Critical Current
Anticipated expiration legal-status Critical

Links

Images

Landscapes

  • Rolling Contact Bearings (AREA)

Abstract

【課題】トリボール式の等速ジョイントの外輪やケージを交換することによって駆動軸と被駆動軸間の距離が短くなった場合でも、最大角度変位を生じる外輪とケージの先端部との接触を防ぎ、等速精度の低下を防止する。
【解決手段】外輪1とガイド軸4を同心に一体形成し、外輪1の内周面とガイド軸4の外周面で環状空間5を形成し、両周面に3本のトラック溝6、7を120°配置で形成し、環状空間5の底面に周溝8を形成し、最大角度変位を生じた状態でケージ10の先端部13が外輪1と非接触のまま周溝8へ軸方向に進入可能に設けることにより、外輪1の強度低下を抑えつつ、最大角度変位を前提とした先端部13の逃がし空間を予め形成した。その逃がし空間がある分、駆動軸と被駆動軸間の距離が短くなった場合でも、最大角度変位を生じる外輪1とケージ10の先端部13との接触を防ぎ、等速精度の低下を防止することができる。
【選択図】図1

Description

この発明は、駆動軸と被駆動軸の2軸を連結して、駆動軸の動力を被駆動軸に伝達する等速ジョイントに関する。
自動車のドライブシャフトの回転トルクを車軸に伝達する部品として等速ジョイントが従来から知られている。
上記等速ジョイントは、駆動軸と被駆動軸との等速性を維持しながら両軸の角度変位を許容する部材であるため、自動車以外の各種産業機械にも多用されている。
等速ジョイントには、角度変位のみを許容する固定型等速ジョイントと、角度変位と軸方向変位を許容する摺動型等速ジョイントとが存在している。
上記摺動型等速ジョイントとしては、図9に示すように、外輪101と、ケージ102と、3つのボール103とを備えた、いわゆるトリボール式等速ジョイント(単に「トリボールジョイント」と称されることもある)が知られている。外輪101には、内部中心軸上にガイド軸104を設けることにより環状空間105が形成されている。環状空間105の外壁面と内壁面の少なくとも一方には、各ポケット106に対応する位置に軸方向に延びる3本のトラック溝107、108が周方向に120°の間隔をおいて設けられている。環状空間105内に組み込まれるケージ102には、3つのボール103間の周方向間隔を保持するポケット106が周方向に120°間隔で形成されている。各ポケット106内に組み込まれたボール103は、上記トラック溝107、108に沿って転動自在であり、そのボール103を介して外輪101とケージ102の相互間で回転トルクの伝達を行うようになっている。
図9に示すような等速ジョイントにおいては、各種部品を鉄鋼等の金属から構成すると、強度が高いものの重くなり、グリース潤滑が必要である。このようなものは、動作音が大きい等の特徴が有り、使用箇所が制限される。例えば、食品製造機器、医療機器、事務機器、家庭用電化製品、音響機器などのように静粛性やグリースの飛散が許されない条件下で使用される機器には適していない。このため、等速ジョイントの各種部品を合成樹脂の成形品とし、各種部品の軽量化を図ると同時に、グリース潤滑を不要とし、動作音の低減を図ったものもある(例えば、特許文献1参照)。
また、図9に示すような等速ジョイントにおいては、外輪101の環状空間105にケージ102を組み込むときにポケット106からボール103が落下しないように抜け止め109を設けることにより、外輪101又はケージ102の交換を容易に行えるようにし、さらに、トラック溝107、108の開口端部にテーパ面110、111を設けることにより、ケージ102の組み込み時に各ボール103をテーパ面110、111でトラック溝107、108に入れ易くしている(例えば、特許文献2参照)
特開2006−38204号公報 特開2006−118703号公報
通常、外輪101、ケージ102及び各ボール103間の関係から、外輪101とケージ102とは、環状空間105の底面とケージ102の先端部102aを除いた他の部分で接触することの無いように使用される。このような等速ジョイントは、外輪101とケージ102の最大角度変位を生じた状態でも環状空間105の底面とケージ102とが非接触に保たれる使用条件を前提にしている。
しかしながら、外輪101やケージ102を交換すると、駆動軸と被駆動軸間の距離が僅かながら短くなることがある。図9中に二点鎖線でケージ102の位置を示すように、環状空間105の底面の直近にケージ102の先端部が位置する軸方向変位を許容する使用条件のとき、2軸間の距離が僅かでも短くなると、駆動軸と被駆動軸の角度変位に伴って外輪101とケージ102の角度変位を生じることにより、ケージ102の先端部102aと環状空間105の底面との接触が起こり得る。この接触は、等速ジョイントの等速精度を低下させる一因になる。さらに、その接触部で生じた摩耗粉がポケット106の内周やトラック溝107、108に付着し、ボール103の摺動によりポケット106の内周等の摩耗が進行し易くなり、等速精度の低下を招く、という問題が生じる。
また、コストダウンや製品の付加価値向上のため、等速ジョイントの小型軽量化が求められている。この要求に応えるべく、全長寸法を極力短くした製品設計によって、軸方向変位の許容範囲を必要最小限にした等速ジョイントにすることが考えられる。しかし、環状空間105の底面とケージ102間に冗長空間を殆ど設けられず、やはり、外輪101とケージ102の角度変位時、ケージ102の先端部102aと環状空間105の底面との接触が懸念される。
上記の事情に鑑み、この発明の課題は、トリボール式の等速ジョイントの外輪やケージを交換することによって駆動軸と被駆動軸間の距離が短くなった場合でも、最大角度変位を生じる外輪とケージの先端部との接触を防ぎ、等速精度の低下を防止することにある。
上記の課題を達成するこの発明は、一端が開口する環状空間を有し、その環状空間の内壁面を形成するガイド軸が該環状空間と同心に配置され、その環状空間の外壁面と内壁面の少なくとも一方に軸方向に延びる3本のトラック溝が周方向に120°の間隔で形成された外輪と、前記外輪の前記環状空間内に組み込まれ、前記トラック溝のそれぞれと対応する位置にポケットが形成されたケージと、前記ポケットに周方向間隔を保持された状態で前記トラック溝に沿って転動可能なボールとを備えた等速ジョイントを前提とする。すなわち、トリボール式の等速ジョイントを前提とする。
この発明は、前記外輪の前記環状空間の底面に周溝を形成されており、最大角度変位を生じた状態で前記ケージの先端部が前記外輪と非接触のまま前記周溝へ軸方向に進入可能に設けられている構成を特徴とする。ここで、軸方向は、外輪及びケージの中心軸で成された同心軸に沿う方向のことをいう。最大角度変位を生じた状態は、外輪とケージの一方が他方に対して非接触のまま最大限に傾いた状態のことをいう。
最大角度変位は、同心軸と直交するどのラジアル方向にも起こり得る。このため、環状空間の底面に周溝を形成することにより、角度変位を生じたラジアル方向によらずに有効なケージの先端部の逃がし空間を予め形成することができる。上記の構成によれば、最大角度変位を生じた状態でケージの先端部が外輪と非接触のまま環状空間の底面に形成された周溝へ軸方向に進入することができる。最大角度変位を生じた状態を基準とするため、角度変位の有無によらず、ケージと外輪とが非接触のまま、ケージの先端部が周溝へ進入することができる。すなわち、従来ならば環状空間の底面とケージの先端部が突き当たる軸方向変位に相当する軸方向変位を生じた状態で、ケージと外輪とが同心の状態から角度変位を生じても、ケージの先端部は外輪との接触を生じないまま次第に周溝へ入り込むため、非接触のまま最大角度変位に達することができる。勿論、最大角度変位を生じた状態で係る軸方向変位を生じても、ケージの先端部は外輪との接触を生じないまま周溝へ入り込むことができる。このような周溝を予め環状空間の底面に形成したため、外輪やケージを交換することによって駆動軸と被駆動軸間の距離が僅かながら短くなった場合でも、最大角度変位を生じた外輪とケージの先端部との接触を防ぐことができる。
また、周溝は、外輪とケージとが同心の状態から最大角度変位を生じる間にケージの先端部を逃がす程度の凹みで形成すればよい。例えば、ケージの先端部を逃がすために環状空間の底面全体を深くすることが考えられるが、そうした場合には外輪の強度低下が懸念される。上述のように角度変位を生じるケージの先端部を逃がす程度の凹みを有する周溝であれば、外輪の強度低下を抑え、外輪の強度確保のために外輪外形寸法の拡大を要さず、従来品と同じ空間に等速ジョイントを組み込む代替性を維持することができる。
また、前記ケージは、前記ボールを保持させた状態で前記環状空間に対して抜き差し可能に設けられている構成にすることが好ましい。この等速ジョイントは、ケージにボールを保持させた状態で等速ジョイントの分解、組立てを行うことができ、ケージや外輪の交換を手軽に行うことができる。このため、前記の接触防止が特に求められる。この等速ジョイントは、環状空間の底面に予め最大角度変位を考慮した周溝を形成されているため、等速ジョイントの組立て時、特に周溝を意識した位置合わせを行うこと無く、接触防止を図ることができる。
より具体的には、前記ポケットのケージ外径側及びケージ内径側の開口端部に、前記ボールの脱落を防止する抜け止め手段が設けられている構成を採用することができる。この等速ジョイントは、抜け止め手段によりボールをポケットに保持させた状態で分解、組立てを行うことができる。
前記抜け止め手段は、前記ポケットの周方向に間隔を空けて形成された複数の突出部からなる構成を採用することが好ましい。この等速ジョイントは、単純にポケットの開口縁を全周に亘って小径にした抜け止め手段と比して、ボールをポケットに押し込むときに抜け止め手段に過大な荷重が負荷されず、抜け止め手段の破損を防止することができる。
また、前記ケージは合成樹脂の射出成形体からなる構成を採用することが好ましい。ケージが軽量で、トルク伝達時の動作音も小さい等速ジョイントを得られる。また、抜け止め手段を形成するときは、ケージと共に射出成形で容易に形成することができる。
前記複数の突出部の内接円径は、前記ボールのボール径の80〜99%であることが好ましい。この範囲の内接円径を採用すれば、離型時に無理抜きをしても突出部を破損させずにケージを取り出すことができる。
また、前記各トラック溝の開口端部に、前記環状空間における外壁面及び内径面の開口端を大径端とするテーパ面が設けられている構成を採用することも好ましい。ボールをポケットに保持させた状態でケージを環状空間に対して抜き差しする際、テーパ面が開口端を大径端とするため、外輪とケージの円周方向の位置合わせをせずともボールがトラック溝に導かれる。このため、この等速ジョイントは、ケージの組み込みを容易に行うことができる。
また、前記外輪の各トラック溝の横断面形状は、一対の対向する円弧状曲線からなるゴシックアーチ形状になっている構成を採用することが好ましい。この等速ジョイントは、各トラック溝の横断面形状が半円曲線からなるものと比して、トラック溝とボールとの摺動抵抗が小さくなり、その結果、トラック溝の耐摩耗性が高まるため、製品寿命を向上させることができる。
また、前記外輪は合成樹脂の射出成形体からなる構成を採用することが好ましい。この等速ジョイントは、外輪の環状空間の底面に周溝を容易に形成することができる。また、外輪が軽量で、トルク伝達時の動作音も小さい等速ジョイントを得られる。金属製では製造が困難であった前記のゴシックアーチ状のトラック溝を形成するときは、外輪と共に射出成形で容易に形成することができる。
具体的には、前記外輪の射出成形ゲートは前記ガイド軸の先端中心軸上に設けられている構成を採用することが好ましい。一般に外輪は120°の回転対称形状になっている。外輪の中心軸はガイド軸の先端部を通るから、その先端中心軸上にゲートを設けると、合成樹脂の充填バランスがよく、各トラック溝の成形精度が均一になる。このため、この等速ジョイントは、等速精度をより高めることができる。
上述のように、外輪やケージを射出成形するときは、前記合成樹脂が潤滑性樹脂である構成を採用することが好ましい。この等速ジョイントは、潤滑剤を使用しないドライ条件で使用することができる。ひいては、ブーツの取り付けが不要で、軽量化と相俟って動作音が小さく、特にトルク伝達損失の少ない等速ジョイントを得られる。このため、この等速ジョイントは、使用環境の制限を受け難く、これまで使用が困難であった事務機器、音響機器、医療機器、家庭用電気機器等へ使用することができる。ひいては、この等速ジョイントを採用することにより、これらの機器の設計自由度を高めると共に、小型化、低コスト化を図ることができる。
上述のように、この発明は、上記前提の構成を備えたトリボール式の等速ジョイントにおいて、外輪の環状空間の底面に周溝を形成されており、最大角度変位を生じた状態でケージの先端部が前記外輪と非接触のまま前記周溝へ軸方向に進入可能に設けられている構成の採用により、ケージの先端部と外輪との接触が生じるまでの余裕を周溝で増すことができるため、外輪やケージを交換することによって駆動軸と被駆動軸間の距離が僅かながら短くなった場合でも、最大角度変位を生じる外輪とケージの先端部との接触を防ぐことができ、ひいては等速精度の低下を防止することができる。
また、この発明は、最大角度変位を生じる外輪とケージの先端部との接触による摩耗粉が発生せず、トラック溝等が摩耗し難くなり、このことからも等速精度の低下を防止することができる。
以下、この発明の実施形態を添付図面に基づいて説明する。
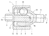
図1、図2は、実施形態に係る等速ジョイント(以下、単に「この等速ジョイント」と称する)の全体構造を示す。図示のように、第1の実施形態に係る等速ジョイントは、外輪1、ケージ10及びボール20から構成されている。
外輪1は、一端が開口するカップ部2を有し、そのカップ部2の閉塞端に第1軸3が一体に設けられている。第1軸3には、駆動軸又は被駆動軸が挿入される挿入孔3aが外輪1の中心軸C上に沿って形成されている。また、カップ部2内には、中心軸C上にガイド軸4がカップ部2と一体に設けられている。そのガイド軸4とカップ部2間に環状空間5が形成されている。その環状空間5の内壁面を形成するガイド軸4の外周面と、環状空間5の外壁面を形成するカップ部2の内周面とに、軸方向に延びる3本のトラック溝6、7が周方向に120°の間隔で形成されている。
ケージ10は外輪1の環状空間5内に組み込まれ、そのケージ10の上記環状空間5の開口端側に位置する端部に第2軸11が一体に設けられている。第2軸11には、被駆動軸又は駆動軸が連結される。
また、ケージ10には、外輪1の3本のトラック溝6、7のそれぞれに対応する位置にポケット12が形成され、各ポケット12内に前記ボール20が組み込まれている。ボール20のそれぞれは、ポケット12に保持された状態で対応するトラック溝6、7に沿って転動可能とされている。トラック溝6、7は、ボール20の摺動範囲となる溝部分をいう。
3本のトラック溝6、7の横断面形状は、一対の対向する円弧状曲線からなるゴシックアーチ形状となっている。図3にトラック溝6を代表例として横断面形状を拡大図示するが、トラック溝7についても同じに考えることができる。図1、図3に示すように、トラック溝6、7をゴシックアーチ形状とすることで、ボール20はトラック溝6、7の内面における両側2か所に点接触することになる。そのため、接触角のばらつきが少なくなり等速精度が向上する。さらにトラック溝6、7とボール20との摺動抵抗が小さくなることでトラック溝6、7の耐摩耗性が高くなり、製品寿命が向上する。
トラック溝6、7の横断面形状は、ボール20とアンギュラ接触する接触点Yを越える部位Zまでゴシックアーチ状に形成し、前記接触点Yを越える部位Zからトラック溝6、7の肩部Xまでの間を、前記接触点Yを越える部位Zでの接線方向に延びる直線状に連続的に形成することにより構成される。
トラック溝6、7のゴシックアーチ部21は、半径rのボール20がトラック溝6、7とアンギュラ接触する接触点Yとボール中心Oとを結ぶ線分をボール中心側へ延長した線上に位置するトラック溝中心O1を有し、ボール半径rよりも大きな曲率半径R1を持つ。通常、ボール半径rと曲率半径R1との比率(接触率)は、1.01〜1.12であり、好ましくは、1.02〜1.08である。
このようにトラック溝6、7をゴシックアーチ状としたことにより、トラック溝6、7とボール20との接触は、トラック接触角αを有するアンギュラ接触となっている。したがって、ゴシックアーチ部21の形成角度βは、トラック接触角αよりも大きく、接触点Yを越える部位Zまでとしている。そして、この接触点Yを越える部位Zからトラック溝6、7の肩部Xまでの間に逃げ部22を形成する。
この逃げ部22は、ゴシックアーチ部21の曲率半径面から後退しており、接触点Yを越える部位Zでの接線方向に延びる直線状に形成されている。前記ゴシックアーチ部21との境界部分、すなわち、接触点Yを越える部位Zは、そのゴシックアーチ部21と逃げ部22との連続性が保持されて滑らかに繋がれている。したがって、ゴシックアーチ部21の形成角度βは、トラック溝6、7の肩部Xまでの角度γよりも小さく設定されている。トラック溝6、7の肩部Xとボール20との間のすきまを逃げ部22で大きくすれば、トラック溝6、7でのボール20の転動時、トラック溝6、7の肩部Xに打ち傷による変形やバリが万一存在していても、それら打ち傷による変形やバリがボール20と干渉することを抑制でき、また、トルクが負荷された時のボール20とトラック溝6、7との接触楕円が小さくなることから、トラック溝6、7の肩部Xへのボール乗り上げを抑制することができる。なお、環状空間5の内壁面と外壁面のそれぞれにトラック溝6、7を形成したが、上記内壁面と外壁面の一方にトラック溝を設けるようにしてもよい。
図1、図4に示すように、外輪1の環状空間5の底面は、トラック溝6、7よりも深い位置で環状空間5の内壁面と外壁面とを繋ぐ軸方向端部からなる。ケージ10の先端部13は、ケージ10の内径面先端縁と外径面先端縁とを繋ぐ軸方向端部からなる。環状空間5の底面及びケージ10の先端部13は、同心軸Cと直交する平面(以下、単に「ラジアル平面」と称する)から構成することが好ましい。これは、同心の状態で環状空間5の深さを軸方向変位の移動空間として最も有効に利用可能なこと、角度変位をどのラジアル方向に生じたときでも同じ位置関係になること、傾斜面にすると製造難度が高まること等の理由からである。
環状空間5の底面に周溝8が形成されている。図5中に実線で示すように、最大角度変位θを生じると、ケージ10の先端部13は、角度変位を生じたラジアル方向に応じて半周域が環状空間5の底面に対して接近し、残り半周域が遠ざかる。図5中に、最大角度変位θを生じた状態のままケージ10を軸方向に移動させた状態を二点鎖線で示す。図5から明らかなように、周溝8は、最大角度変位θを生じた状態でケージ10の先端部13の半周域が軸方向に進入可能な溝深さ及び溝幅を全周に亘って有している。このため、角度変位を生じたラジアル方向によらず、最大角度変位θを生じた状態でケージ10の先端部13が外輪1と非接触のまま周溝8へ軸方向に進入可能に設けられる。
図1に示すように、外輪1とケージ10とが同心にあるとき、ケージ10の先端部13は、周溝8の溝底に軸方向に臨む位置関係にある。この等速ジョイントにおいて、外輪1とケージ10の一方が他方に対して生じる最大限の軸方向変位は、ケージ10の先端部13と周溝8の溝底とが突き当たる位置になっている。
周溝8は、トラック溝6、7と環状空間5の底面との連続部及び第1軸3と外輪1の外底面との連続部のそれぞれからラジアル方向に外れた位置関係にある。このようにすれば、トルク負荷が集中する各連続部の肉厚が周溝8で減らず、強度低下を防止することができる。
この等速ジョイントが正規の使用条件で組み込まれたとき、外輪1とケージ10とが同心の状態で軸方向位置Pa上まで軸方向変位を生じる使用条件を仮定する。この仮定において、外輪1やケージ10を交換することによって駆動軸と被駆動軸間の距離が僅かながら短くなり、その結果、前記の軸方向位置Pa上に達する軸方向変位量に相当する軸方向変位量を生じると、外輪1とケージ10とが同心の状態で、ケージ10の先端部13が図6中に実線で示す位置まで変位するようになった場合を考える。
図6中にケージ10を二点鎖線で示すことで最大角度変位θを生じた状態を示す。前記の軸方向変位量を生じると、ケージ10の先端部13は、周溝8の溝肩を含むラジアル平面の直近に位置する。この位置で同心状態から最大角度変位θを生じたとき、周溝8の無い環状空間5の底面だと、二点鎖線と周溝8の溝肩との関係から明らかなように、ケージ10の先端部13の半周域が該底面に押し付けられてしまう。
この等速ジョイントは、図5中の二点鎖線の関係を満たす周溝8があるため、図5と図6中の二点鎖線の対応関係から明らかなように、図6中の実線位置で角度変位θを生じても、ケージ10全体と外輪1とが非接触のまま、ケージ10の先端部13の半周域側が次第に周溝8へ入り込み、最大角度変位θまで変位することができる。このように最大角度変位θを生じるまでの間、ケージ10の先端部13以外の部分と外輪1とが接触することも無い。
上述のように、この等速ジョイントは、周溝8を予め環状空間5の底面に形成することにより、外輪1やケージ10を交換することによって駆動軸と被駆動軸間の距離が僅かながら短くなった場合でも、最大角度変位θを生じた外輪1とケージ10の先端部13との接触を防ぐことができる。ひいては、ケージ10の先端部13が環状空間5の底面に押し付けられることも避けられるので、等速精度の低下を防止することができる。
また、この等速ジョイントは、係る接触による摩耗粉の発生が無く、トラック溝6、7やポケット20の内周等の摩耗も防止されるので、このことからも等速精度の低下を防止することができる。
駆動軸と被駆動軸間の距離短縮は、交換時に外輪1やケージ10を駆動軸や被駆動軸に取り付ける際の取り付け誤差に由来する僅かなものである。このため、周溝8で前記取り付け誤差に由来する軸方向変位位置のずれ量を吸収する必要は無く、外輪1とケージ10とが同心の状態から最大角度変位θを生じる間にケージ10の先端部13を非接触に逃がすことができれば、目的を達成することができる。この程度の凹みとして周溝8を形成するだけなので、外輪1の減肉を抑え、外輪1の強度確保のために外輪1の外形寸法を拡大する必要は無い。したがって、この等速ジョイントは、従来品と同じ空間に組み込む代替性を維持することができる。
上述の部品交換を容易にするため、ケージ10は、各ボール20を保持させた状態で環状空間5に対して抜き差し可能に設けられている。具体的には、図1、図2に示すように、ポケット12のケージ外径側及びケージ内径側の開口端部に、ボール20の脱落を防止する抜け止め手段14a、14a、14b、14bが設けられている。抜け止め手段は、ポケット12の周方向に間隔を空けて形成された複数の突出部14a、14a、14b、14bからなる。ケージ外径側の突出部14a、14a、及びケージ内径側の突出部14b、14bの内接円径dは、ボール20のボール径Dより小さい。ボール20をポケット12を押し込むと、ボール20はケージ内外径のいずれの側にも脱落することができなくなる。このため、外輪1の環状空間5からケージ10を引き抜いた場合でも、ボール20がポケット12から落下せず、容易に分解することができる。また、ポケット12にボール20を保持させた状態でケージ10を環状空間5に組み込むこともできる。
なお、突出部14a、14bの数、周方向配置は、ボール20の抜け止めがなされる限り任意に決めることができる。突出部に代えて、ポケットの開口端部の内径をボール径よりも小さくすることで抜け止め手段を設けることもできる。また、抜け止め手段は、ポケットの開口端部に取り付ける止め輪やOリングから構成することもできる。また、抜け止め手段は、ポケットに合わせて孔が形成されたカバーから構成し、そのカバーをケージに被せることでボールを抜け止めするように設けることもできる。
また、図1、図7に示すように、各トラック溝6、7の開口端部に、環状空間5における外壁面及び内径面の開口端を大径端とするテーパ面9a、9bが設けられている。環状空間5にケージ10を組み込むとき、ボール20はテーパ面9a、9bで周方向及び軸方向に案内される。周方向案内により、外輪1とケージ10とが相対回転し、ボール20は自然とトラック溝6、7内に導入される。このため、トラック溝6、7とボール20の組み込み開始位置の間に周方向の位置ずれがある状態でも、ケージ10を容易に組み込むことができる。
ここで、環状空間5の外壁面に形成するテーパ面9aは、外輪1の中心軸上に軸心を有するテーパ面にすることができる。また、テーパ面9a、9bは、図8に示すように、ボールPCD(図中に一点鎖線で示す)上に軸心を有するテーパ面にすることもできる。
図7に示すテーパ面9aを形成する場合、周方向に隣り合うテーパ面9a、9a間にガイド突部9cを形成することにより、周方向の方向性を考慮すること無くケージ10を組み込むことができる。
外輪1及びケージ10は、合成樹脂の射出成形体からなる。外輪1やケージ10を射出成形体とすることで外輪1やケージ10の製造を容易にすることができる。また、外輪1やケージ10を合成樹脂製にすると、グリース潤滑等の無潤滑化、トルク伝達時の動作音の低減化、及び軽量化を図ることもできる。
図1、図2に示すケージ10に突出部14a、14bを一体に射出成形すると、ケージ10の成形時にアンダーカットとなるため、突出部14a、14bの突出量が必要以上に長くなると、脱型時に突出部14a、14bが破損し、また、短くなり過ぎると、ボール20の脱落を防止することができなくなる。このため、突出部14a、14a、及び突出部14b、14bの内接円径dは、ボール径Dの80%〜99%の範囲にすることが好ましい。
外輪1を合成樹脂で射出成形する場合、外輪1とガイド軸4とは、軽量化及び潤滑剤の不使用化のため、一体射出成形することが好ましい。外輪1とガイド軸4が合成樹脂の射出成形体であるので、金属製では製造が困難であったトラック溝6、7のゴシックアーチ形状を容易に形成することができる。
図1中に、外輪1のゲートGの位置を矢印で示す。外輪1のゲートGは、ガイド軸4の先端の中心軸C上に配置されている。これにより、合成樹脂を中心軸C上から軸方向に充填することが可能になっている。
上記ゲートGは、ピンポイントゲートとされている。ピンポイントゲートは、成形部品に殆どゲート残りを残さない極めて小さな円形横断面積の射出流路又は絞り穴なので、ゲート痕が非常に小さい。また、射出成形後の金型開放時にゲートが自動切断される。ゲート形状は、合成樹脂の溶融粘度や射出成形金型のキャビティ容積に応じて適宜に設定されるが、ゲート径は0.3mm〜2mm、ゲートランドは0.8mm〜1.2mm程度にするのが一般的である。このため、外輪1のゲート痕は、ガイド軸4の先端(図1中のゲートGの位置)に円形で小さく残るだけなので、外輪1の外観上、目立つことが無い。
そのゲートGは、ガイド軸4の先端に形成された凹部4a内に配置されている。このため、外輪1のゲート痕がガイド軸4の凹部4aから突き出ることは無い。したがって、ガイド軸長さの寸法管理を容易に行うことができる。また、組立て時、外輪1のゲート残りが作業者の手に引っ掛かることも防止され、作業者の安全性を確保することができる。さらには、ゲート痕がより目立ち難くなる。
また、ゲートGが配置されたガイド軸4の先端は、組立てにより、ケージ10に隠される。このため、等速ジョイントに組み立てると、ゲート痕が外輪1の外観上、見え無くなる。
外輪1は、全体として中心軸回りの周方向に120°間隔で回転対称の形状とされている。外輪1がトラック溝6、7の配置間隔に対応する回転対称性を有するため、中心軸方向に充填される合成樹脂は、図1中に矢線でその流れを概念的に示すように、各トラック溝6、7の部分に向かって同じように広がり、充填された合成樹脂の成形収縮も各トラック溝6、7の部分で同じように生じる。したがって、外輪1に形成される各トラック溝6、7間で成形精度のばらつきが殆ど生じず、その結果、非常に高い等速精度を得ることができる。
このとき、各トラック溝6、7が前記のゴシックアーチ状であっても、各トラック溝6、7で両側対称に充填バランスが均一になり、各トラック溝6、7の両側で成形精度のばらつきが殆ど生じない。その結果、摺動が小さく、非常に高い等速精度を得ることができる。
なお、外輪1の閉塞端を構成する第1軸3の先端に射出成形ゲートGを配置することも可能である。
第1軸3の挿入孔3aを中心軸上に沿って形成すれば、溶融樹脂の流路の壁が形成されるため、図1中に矢示した如くカップ部2への溶融樹脂の充填が速やかに行われる。
上記外輪1及びケージ10の製造に使用可能な合成樹脂は、等速ジョイントの使用条件によって適切なものを選択すればよい。例えば、合成樹脂は、熱可塑性樹脂、熱硬化性樹脂のいずれでもよく、さらに結晶性樹脂、非結晶性樹脂のいずれでもよい。なお、非結晶性樹脂は靭性が比較的低いため、急激な破壊を回避することができる点で結晶性樹脂の方が好ましい。
好ましい合成樹脂としては、潤滑特性に優れた合成樹脂、例えば、ポリアセタール樹脂(POM)、ナイロン樹脂、PFAやFEP、ETFE等の射出成形可能なフッ素樹脂、射出成形可能なポリイミド樹脂、ポリフェニレンスルフィド樹脂(PPS)、全芳香族ポリエステル樹脂、ポリエーテルエーテルケトン系樹脂(PEEK)、ポリアミドイミド樹脂等が挙げられる。
これらの各樹脂は単独で使用してもよく、2種類以上混合したポリマーアロイであってもよい。あるいは、上記以外の潤滑特性の低い合成樹脂に上記の合成樹脂を配合したポリマーアロイであってもよい。
また、潤滑特性の低い合成樹脂であっても、固体潤滑剤や潤滑油を添加することで潤滑特性を高めることにより使用可能である。固体潤滑剤として、ポリテトラフルオロエチレン、黒鉛、二硫化モリブデン等を挙げることができる。
また、上記合成樹脂にガラス繊維、炭素繊維、各種鉱物性繊維(ウィスカー)を配合して強度を高めてもよく、固体潤滑剤等と併用してもよい。
図1に示すように、ガイド軸4を中実軸にするときは、合成樹脂に、その母材である樹脂成分100容量部に対して無機充填材10〜65容量部、好ましくは20〜60容量部を配合するとよい。無機充填材の配合量が10容量部未満であると、ヒケによる成形収縮の改善効果が小さく、65容量部を超えると、射出成形性が低下することでキャビティ内の流動が乱れ易くなり、トラック溝6、7の成形精度が低下する。また、無機充填材の配合量が20容量部以上であると、成形収縮の改善効果が非常に高く、60容量部を超えると、無機充填材の種類によっては表面円滑性が低下するため、ざらつき摩耗を生じる恐れがある。なお、ガイド軸4のヒケを防止するため、ガイド軸4を中空軸にすることもできる。
上記無機充填材としては、ガラス繊維、炭素繊維、各種鉱物性繊維等の無機繊維は勿論、ガラス粉末、炭素粉末、酸化亜鉛粉末、酸化チタン粉末、硫酸カルシウム粉末等の無機粉末を用いることができる。
この発明で特に使用に適した樹脂材料は、POM、ナイロン樹脂、PPS、PEEKである。ナイロン樹脂はナイロン6、ナイロン66、ナイロン610、ナイロン612、ナイロン11、ナイロン12、ナイロン46、分子鎖中に芳香族環を有する半芳香族ナイロン等のいずれでもよい。POM、ナイロン樹脂、PPSは、耐熱性、潤滑性に優れて比較的安価であるため、コストパフォーマンスの優れた等速ジョイントを得ることができる。また、PEEKは補強材や潤滑剤を配合しなくても機械的強度や潤滑性に優れるため、高機能な等速ジョイントを得ることができる。
上記のように、この等速ジョイントは、外輪1を合成樹脂の成形品とすることによって、軽量であって、トルク伝達時の動作音の小さな等速ジョイントを得ることができる。
また、この等速ジョイントは、外輪1及びケージ10を合成樹脂の成形品とすることによって、より軽量であって、グリース潤滑を不要とすることができる。また、グリース潤滑する必要が無いため、ブーツの取り付けを不要とすることができ、部品点数の少ない簡単な構造の小型の等速ジョイントを得ることができる。
このため、この等速ジョイントは、使用の制限を受けることが少なく、食品製造機器等の各種の機器に使用することが可能である。
なお、ボール20は、軸受鋼、ステンレススチール、セラミックス、合成樹脂等のボールを使用することができる。等速ジョイントを医療機器や食品製造機器に使用する場合は、ボール20をステンレススチールやセラミックスにすることで環境的懸念が払拭されるので好ましい。ボール20を合成樹脂にすることで、さらに軽量化、静音化に優れる等速ジョイントを得ることができる。また、衛生的な印象を与えるため、外輪等を形成する合成樹脂は白色系のものを用いるのが好ましい。POMであれば、白色系であると共に、潤滑性も高く、グリースレス化が可能なため最適である。
この等速ジョイントでは、ケージ10と第2軸11を合成樹脂で一体に成形したが、第2軸11をセラミックスや鉄鋼、ステンレススチール、アルミニウム合金等の金属で形成し、合成樹脂で成形されたケージ10とボルト等の結合手段で結合してもよい。
なお、第2軸11をケージ10と別体に設けると共に等速ジョイントの全長より長くする場合は、トルク損失を防止するため、第2軸11をセラミックスや金属で形成することが好ましい。
この等速ジョイントでは、外輪1のカップ部2とガイド軸4を合成樹脂で一体に成形したが、ガイド軸4をセラミックスや鉄鋼、ステンレススチール、アルミニウム合金等で形成して、カップ部2に結合するようにしてもよい。カップ部2とガイド軸4及びケージ10と第2軸11を合成樹脂で一体に成形することによって、等速ジョイントの軽量化をより図ることができる。
この等速ジョイントは、外輪1の環状空間5の底面に周溝8が形成されているため、外輪1やケージ10の交換部品の取り付け誤差から駆動軸と被駆動軸との2軸間の距離が僅かながら短くなった場合でも、ケージ10の先端部13と環状空間5の底面との接触が防止されるので、例えば、画像形成装置に備わる感光体の回転軸と駆動軸を接続する場合に好適である。
第1の実施形態に係る等速ジョイントの縦断正面図 図1のII−II線の断面図 図2のトラック溝の拡大断面図 図1の外輪のII−II線の断面図 図1の等速ジョイントが最大角度変位を生じた状態で軸方向変位が生じる様子を示す作用図 図1の等速ジョイントの2軸間の距離が狭くなった状態で最大角度変位を生じる様子を示す作用図 図1のVII−VII線の断面図 図1のテーパ面の別例を示す外輪の側面図 従来例の縦断正面図
符号の説明
1 外輪
4 ガイド軸
4a 凹部
5 環状空間
6、7 トラック溝
8 周溝
9a、9b テーパ面
10 ケージ
12 ポケット
13 先端部
14a、14b 突出部
20 ボール
21 ゴシックアーチ部
22 逃げ部
G 射出成形ゲート

Claims (11)

  1. 一端が開口する環状空間を有し、その環状空間の内壁面を形成するガイド軸が該環状空間と同心に配置され、その環状空間の外壁面と内壁面の少なくとも一方に軸方向に延びる3本のトラック溝が周方向に120°の間隔で形成された外輪と、
    前記外輪の前記環状空間内に組み込まれ、前記トラック溝のそれぞれと対応する位置にポケットが形成されたケージと、
    前記ポケットに保持された状態で前記トラック溝に沿って転動可能なボールとを備えた等速ジョイントにおいて、
    前記外輪の前記環状空間の底面に周溝を形成されており、最大角度変位を生じた状態で前記ケージの先端部が前記外輪と非接触のまま前記周溝へ軸方向に進入可能に設けられていることを特徴とする等速ジョイント。
  2. 前記ケージは、前記ボールを保持させた状態で前記環状空間に対して抜き差し可能に設けられていることを特徴とする請求項1に記載の等速ジョイント。
  3. 前記ポケットのケージ外径側及びケージ内径側の開口端部に、前記ボールの脱落を防止する抜け止め手段が設けられていることを特徴とする請求項2に記載の等速ジョイント。
  4. 前記抜け止め手段は、前記ポケットの周方向に間隔を空けて形成された複数の突出部からなることを特徴とする請求項3に記載の等速ジョイント。
  5. 前記ケージは合成樹脂の射出成形体からなることを特徴とする請求項1から4のいずれか1つに記載の等速ジョイント。
  6. 前記複数の突出部の内接円径は、前記ボールのボール径の80〜99%であることを特徴とする請求項5に記載の等速ジョイント。
  7. 前記各トラック溝の開口端部に、前記環状空間における外壁面及び内径面の開口端を大径端とするテーパ面が設けられていることを特徴とする請求項2から6のいずれか1つに記載の等速ジョイント。
  8. 前記外輪の各トラック溝の横断面形状は、一対の対向する円弧状曲線からなるゴシックアーチ形状になっている請求項1から7のいずれか1つに記載の等速ジョイント。
  9. 前記外輪は合成樹脂の射出成形体からなることを特徴とする請求項1から8のいずれか1つに記載の等速ジョイント。
  10. 前記外輪の射出成形ゲートは前記ガイド軸の先端中心軸上に設けられていることを特徴とする請求項9に記載の等速ジョイント。
  11. 前記合成樹脂が潤滑性樹脂であることを特徴とする請求項5、9、又は10に記載の等速ジョイント。
JP2008207051A 2008-08-11 2008-08-11 等速ジョイント Expired - Fee Related JP5102143B2 (ja)

Priority Applications (1)

Application Number Priority Date Filing Date Title
JP2008207051A JP5102143B2 (ja) 2008-08-11 2008-08-11 等速ジョイント

Applications Claiming Priority (1)

Application Number Priority Date Filing Date Title
JP2008207051A JP5102143B2 (ja) 2008-08-11 2008-08-11 等速ジョイント

Publications (2)

Publication Number Publication Date
JP2010043665A true JP2010043665A (ja) 2010-02-25
JP5102143B2 JP5102143B2 (ja) 2012-12-19

Family

ID=42015212

Family Applications (1)

Application Number Title Priority Date Filing Date
JP2008207051A Expired - Fee Related JP5102143B2 (ja) 2008-08-11 2008-08-11 等速ジョイント

Country Status (1)

Country Link
JP (1) JP5102143B2 (ja)

Cited By (1)

* Cited by examiner, † Cited by third party
Publication number Priority date Publication date Assignee Title
US9109633B2 (en) 2011-03-10 2015-08-18 Ricoh Company, Limited Driving force transmission mechanism and image forming apparatus

Citations (3)

* Cited by examiner, † Cited by third party
Publication number Priority date Publication date Assignee Title
JPS51138645U (ja) * 1975-04-28 1976-11-09
JPH0429212A (ja) * 1990-05-25 1992-01-31 Toshiba Corp ポリゴンミラー、ポリゴンミラー成形用金型及びポリゴンミラーの製造方法
JP2007292211A (ja) * 2006-04-25 2007-11-08 Ntn Corp 等速ジョイント

Patent Citations (3)

* Cited by examiner, † Cited by third party
Publication number Priority date Publication date Assignee Title
JPS51138645U (ja) * 1975-04-28 1976-11-09
JPH0429212A (ja) * 1990-05-25 1992-01-31 Toshiba Corp ポリゴンミラー、ポリゴンミラー成形用金型及びポリゴンミラーの製造方法
JP2007292211A (ja) * 2006-04-25 2007-11-08 Ntn Corp 等速ジョイント

Cited By (1)

* Cited by examiner, † Cited by third party
Publication number Priority date Publication date Assignee Title
US9109633B2 (en) 2011-03-10 2015-08-18 Ricoh Company, Limited Driving force transmission mechanism and image forming apparatus

Also Published As

Publication number Publication date
JP5102143B2 (ja) 2012-12-19

Similar Documents

Publication Publication Date Title
JP4772381B2 (ja) 合成樹脂製保持器およびこの保持器を用いた玉軸受
US8944693B2 (en) Rolling bearing cage and rolling bearing
CN102119281B (zh) 滚珠轴承以及混合动力车用变速器
JP6483989B2 (ja) シールリング
US20110142389A1 (en) Tapered roller bearing resin cage and tapered roller bearing
JP5102143B2 (ja) 等速ジョイント
JPH09151954A (ja) 等速自在継手
JP2007224995A (ja) 等速ジョイント
JP4554306B2 (ja) 等速ジョイント
JP5006232B2 (ja) 等速ジョイント
JP4815682B2 (ja) シールリング
JP2006300261A (ja) 玉軸受
JP2007255511A (ja) トリポード型等速ジョイント
JP4515869B2 (ja) トリポード型等速ジョイント
JP2007078041A (ja) 樹脂製シールリング
JP2006118703A (ja) 等速ジョイント
JP2020051555A (ja) シールリング
JP2019023506A (ja) 転がり軸受用保持器および転がり軸受
JP4603441B2 (ja) 等速ジョイント
JP2006097758A (ja) 等速ジョイント
JP2006161932A (ja) トリポード型等速ジョイント
JP5395236B2 (ja) トリポード型等速ジョイント
JP2021143716A (ja) 回転伝達用スライドスプラインシャフト、及び等速自在継手ユニット
JP4601538B2 (ja) 固定式等速ジョイント
JP2008064166A (ja) 玉軸受

Legal Events

Date Code Title Description
A621 Written request for application examination

Free format text: JAPANESE INTERMEDIATE CODE: A621

Effective date: 20110801

A977 Report on retrieval

Free format text: JAPANESE INTERMEDIATE CODE: A971007

Effective date: 20120511

A131 Notification of reasons for refusal

Free format text: JAPANESE INTERMEDIATE CODE: A131

Effective date: 20120522

A521 Written amendment

Free format text: JAPANESE INTERMEDIATE CODE: A523

Effective date: 20120719

TRDD Decision of grant or rejection written
A01 Written decision to grant a patent or to grant a registration (utility model)

Free format text: JAPANESE INTERMEDIATE CODE: A01

Effective date: 20120911

A01 Written decision to grant a patent or to grant a registration (utility model)

Free format text: JAPANESE INTERMEDIATE CODE: A01

A61 First payment of annual fees (during grant procedure)

Free format text: JAPANESE INTERMEDIATE CODE: A61

Effective date: 20120927

FPAY Renewal fee payment (event date is renewal date of database)

Free format text: PAYMENT UNTIL: 20151005

Year of fee payment: 3

R150 Certificate of patent or registration of utility model

Ref document number: 5102143

Country of ref document: JP

Free format text: JAPANESE INTERMEDIATE CODE: R150

Free format text: JAPANESE INTERMEDIATE CODE: R150

R250 Receipt of annual fees

Free format text: JAPANESE INTERMEDIATE CODE: R250

R250 Receipt of annual fees

Free format text: JAPANESE INTERMEDIATE CODE: R250

R250 Receipt of annual fees

Free format text: JAPANESE INTERMEDIATE CODE: R250

R250 Receipt of annual fees

Free format text: JAPANESE INTERMEDIATE CODE: R250

R250 Receipt of annual fees

Free format text: JAPANESE INTERMEDIATE CODE: R250

LAPS Cancellation because of no payment of annual fees