JP2010042997A - ガラス容器成形装置にガラスゴブを搬送するための装置及び方法 - Google Patents

ガラス容器成形装置にガラスゴブを搬送するための装置及び方法 Download PDF

Info

Publication number
JP2010042997A
JP2010042997A JP2009265104A JP2009265104A JP2010042997A JP 2010042997 A JP2010042997 A JP 2010042997A JP 2009265104 A JP2009265104 A JP 2009265104A JP 2009265104 A JP2009265104 A JP 2009265104A JP 2010042997 A JP2010042997 A JP 2010042997A
Authority
JP
Japan
Prior art keywords
gob
scoop
scooping
elongated
contact surface
Prior art date
Legal status (The legal status is an assumption and is not a legal conclusion. Google has not performed a legal analysis and makes no representation as to the accuracy of the status listed.)
Granted
Application number
JP2009265104A
Other languages
English (en)
Other versions
JP5094820B2 (ja
Inventor
Dan M Hayes
エム ヘイズ ダン
Mark R Tipping
アール ティッピング マーク
Current Assignee (The listed assignees may be inaccurate. Google has not performed a legal analysis and makes no representation or warranty as to the accuracy of the list.)
Owens Brockway Glass Container Inc
Original Assignee
Owens Brockway Glass Container Inc
Priority date (The priority date is an assumption and is not a legal conclusion. Google has not performed a legal analysis and makes no representation as to the accuracy of the date listed.)
Filing date
Publication date
Application filed by Owens Brockway Glass Container Inc filed Critical Owens Brockway Glass Container Inc
Publication of JP2010042997A publication Critical patent/JP2010042997A/ja
Application granted granted Critical
Publication of JP5094820B2 publication Critical patent/JP5094820B2/ja
Anticipated expiration legal-status Critical
Expired - Fee Related legal-status Critical Current

Links

Images

Classifications

    • CCHEMISTRY; METALLURGY
    • C03GLASS; MINERAL OR SLAG WOOL
    • C03BMANUFACTURE, SHAPING, OR SUPPLEMENTARY PROCESSES
    • C03B7/00Distributors for the molten glass; Means for taking-off charges of molten glass; Producing the gob, e.g. controlling the gob shape, weight or delivery tact
    • C03B7/14Transferring molten glass or gobs to glass blowing or pressing machines
    • C03B7/16Transferring molten glass or gobs to glass blowing or pressing machines using deflector chutes
    • YGENERAL TAGGING OF NEW TECHNOLOGICAL DEVELOPMENTS; GENERAL TAGGING OF CROSS-SECTIONAL TECHNOLOGIES SPANNING OVER SEVERAL SECTIONS OF THE IPC; TECHNICAL SUBJECTS COVERED BY FORMER USPC CROSS-REFERENCE ART COLLECTIONS [XRACs] AND DIGESTS
    • Y02TECHNOLOGIES OR APPLICATIONS FOR MITIGATION OR ADAPTATION AGAINST CLIMATE CHANGE
    • Y02PCLIMATE CHANGE MITIGATION TECHNOLOGIES IN THE PRODUCTION OR PROCESSING OF GOODS
    • Y02P40/00Technologies relating to the processing of minerals
    • Y02P40/50Glass production, e.g. reusing waste heat during processing or shaping
    • Y02P40/57Improving the yield, e-g- reduction of reject rates

Landscapes

  • Chemical & Material Sciences (AREA)
  • Engineering & Computer Science (AREA)
  • Materials Engineering (AREA)
  • Organic Chemistry (AREA)
  • Re-Forming, After-Treatment, Cutting And Transporting Of Glass Products (AREA)
  • Jigging Conveyors (AREA)

Abstract

【課題】並列型のガラス成形機械のブランク成形型へ溶融ガラスゴブを運ぶための樋に、ゴブ剪断装置からの溶融ガラスゴブを搬送するための改良された掬いを提供する。
【解決手段】傾斜したゴブ掬い(20,40)は、昇温された成形可能なガラスゴブを、その自重によって、並列型のガラス容器成形機械の部分に搬送する。
ゴブ掬い(20,40)の横断面の形態は、上向きの略V字形になっていて、屈曲した部材(22,42)は曲線状の湾曲部(22e,42e)を有していて、ここから上方向に曲線状の対向する足部(22c,22d;42c,42d)が延在している。
【選択図】図1

Description

本発明は、並列型(ISタイプ)のガラス容器成形機械における、複数の並列な部分のうちのひとつのブランク成形型に、溶融ガラスゴブをその供給源から搬送するための装置に関する。特に、本発明は、ゴブの剪断装置から相対的に固定された樋へ溶融ガラスゴブを搬送するための揺動可能なゴブ掬いに関する。
現在、ほとんどのボトルやジャーその他のタイプのガラス容器は、並列型の機械で成形されており、かかる機械は同一構成の容器成形部分を複数並列させるようにして、例えば8ないし10さらには12のそうした部分を備えている。さらに、もっと高い生産性の仕様の並列型機械では、複数の同一の容器をそれぞれの並列型機械の部分にて同時に成形するために、例えば2つないし3つさらには4つのそうした容器を成形すべく、それぞれ、ダブルゴブ処理、トリプルゴブ処理、又はクアッドゴブ処理と称されるような処理をしばしば用いている。いずれの事例にあっても、並列型機械の部分で成形されるそれぞれの容器は、成形可能な溶融ガラスのゴブに2段階の処理を施すことで成形される。このうちの第1の段階では、通例ブランクとかパリソンと称される容器のプリフォームを、通例ブランク成形型と称される第1の成形型にて、吹込み成形することで若しくはプレス成形することで成形する。ブランクないしパリソンは、逆さ位置、つまり上側の開口が底部の下方に位置するような位置にして成形した後に、180゜回転させて水平にして、通例吹込み成形型と称される第2の成形型へと移動させて、通常の直立した向きにて、吹込み成形されて最終的な形態にされてから、容器は、そうした並列型の機械の部分にて同時に成形された他の容器といっしょに、並列型の機械から搬出されてさらに処理される。
溶融ガラスゴブをゴブの剪断装置から並列型機械のブランク成形型へ配送するための配送装置は、揺動式のゴブ掬いを備えていて、これがゴブを案内して実質的に平行である複数の対の装置へ導くが、これらの装置は固定されていて多少は調節可能な樋であって、こうした装置は真っ直ぐで下向きに傾いてなるような、揺動式のゴブ掬いからゴブを受取るための樋と、樋からゴブを受取ってゴブを並列型機械の部分のブランク成形型に導くための、下向きに屈曲した部分を有してなる、下向きに傾斜したデフレクターとである。このような一般的な装置については、米国特許第4,529,431号(Mumfold)に開示されていて、この特許は本願の以前の譲受人に譲渡されており、かかる開示をここで参照して引用する。
Mumfordの '431号特許に開示されている装置においては、広範囲のサイズの任意のゴブの、ゴブの配送されるゴブの樋の入口に対する正確な位置決めを損なわずに、所定のゴブの掬いに適応できるゴブのサイズの範囲を大きくすることにより、成形機械毎に必要とされるゴブ掬いの数を減少できることが重要である。
本発明によるゴブ掬いは、上向きのV字形の横断面を有していて、その対向してなる足部の自由端部の間の間隔は、通過させようとする最大のゴブのために必要とされる間隔に比べて大きくなっている。従って、対向しているV字形の足部の間隔は、V字形の上部ないし開部端における広い間隔から、V字形の底部ないし閉部端における実質的に狭い間隔へと変化していて、V字形の底部ないし閉部端における間隔は、通過させようとする最小のゴブの幅に比べて小さくなっている。これにより、広範囲のサイズにわたる任意のゴブを掬いに通過させることができて、様々なサイズのゴブに適応するために掬いを交換するような必要は無くなって、また、かかるサイズ範囲内のゴブは掬いの底部と接触することが無いために、掬いを通って流れるあらゆる液体冷媒と接触することも無い。さらに、本発明による掬いの下方には、空気マニホールドを備えて、掬いの開口を通して圧縮空気ないしは送風空気を掬いに導入することができるので、任意の所定の並列型機械に使用される様々な掬いにおいて、掬い毎の温度を均等化できて、これにより、並列型機械の様々な部分につながっている樋にゴブが到着する時間をより均一にすることができる。この冷却空気は、必要によっては、掬い中のガラスゴブをある程度浮揚させるためにも用いることができ、ゴブが掬いを通過する走行時間を速めることができる。
変形例においては、本発明による掬いの下方に流路を備えて、水などの液体冷媒を循環させて、掬いのゴブ接触表面を間接的に冷却することで、掬いを鋳造ないし製造するのに用いている材料が熱劣化することを防止すると共に、ゴブと掬いのゴブ接触表面との間の摩擦係数を低下させる。いずれにしても、掬いを適切に冷却すると共にゴブ接触表面を極めて滑らかに仕上げることで、掬いのゴブ接触表面に被膜を行なう必要を回避することが可能であり、ゴブが掬いを通過するときのゴブから掬いへの熱伝達を最小にできる。
従って、本発明の目的は、並列型のガラス成形機械のブランク成形型へ溶融ガラスゴブを運ぶための樋に、ゴブ剪断装置からの溶融ガラスゴブを搬送するための改良された掬いを提供することである。より詳しくは、本発明の目的は、上記特徴を備えた掬いであって、広範囲のサイズのゴブを取扱うことができて、あるサイズのガラスゴブから別のサイズのガラスゴブを用いたガラス容器の生産へと機械を変更するときに、並列型機械の掬いを頻繁に交換する必要性を解消できるような掬いを提供することである。さらに詳しくは、本発明の目的は、上記特徴を備えた掬いであって、通過するゴブが、掬いの底部を流れる任意の液体冷媒と接触すること無く保たれることを保証できるように形成されてなる掬いを提供することである。
本発明とその目的とをさらに良く理解できるように、以下に本発明の実施形態について添付図面を参照しつつ説明する。
図1は、本発明の好ましい実施形態による揺動可能なガラスゴブ掬いについて、一部を破断して示した立面図である。 図2は、図1のゴブ掬いを示した平面図である。 図3は、図1及び図2のゴブ掬いの底部部分を示した端面図である。 図4は、図1の線4−4に沿った断面図である。 図5は、図1の矢印5の方向から見た図である。 図6は、図5の線6−6に沿った断面図である。 図7は、本発明の他の実施形態によるゴブ掬いを図1と同じように示した図である。 図8は、図7のゴブ掬いを示した平面図である。 図9は、図7及び図8のゴブ掬いの底部を示した端面図である。 図10は、図7の線10−10に沿った断面図である。 図11は、図7の矢印11の方向から見た図である。 図12は、図11の線12−12に沿った断面図である。 図13は、本発明によるゴブ掬いを用いて、広範囲のサイズのガラスゴブを扱う様子を示している模式図である。
図1乃至図6は、本発明の実施形態によるゴブ掬いであって、その全体を参照符号20にて示している。ゴブ20は、調和して揺動可能になっているが、そのために使用されるゴブ掬いの駆動装置は、例えば、共に譲渡された米国特許第5,895,514号(DiFrank)に教示されているタイプのものであって、かかる開示をここで参照して引用することとし、溶融ガラスゴブは並列型機械の樋組立体10などの様々な樋組立体に配送される。ゴブ掬い20は屈曲した部材22を有していて、この上端22aにて垂直落下してきたガラスゴブを受取って、かかるゴブは、水平に対してわずかに傾斜してなる下端22bから排出される。
屈曲した部材22は、その端部22aと22bとの間の箇所にて横方向に延在している一体的な支持部材24に固定されていて、その長さ方向に沿った横断面は図7及び図8に示すように略V字形になっている。つまり、屈曲した部材22は対向する一対の足部22c及び22dを有していて、これらの足部は、丸い湾曲部22eから上方向かつ外方向へ向けて、徐々に半径を増加させるように曲がっている。足部22c及び22dの自由端部の間隔は、ゴブ掬い20を通過させようとする広範囲のゴブサイズのうちの最大のゴブ幅に比べて、より大きい距離の間隔を隔てており、湾曲部22eの半径は、そうした広範囲のサイズのゴブのうちの最小のゴブの半径に比べて、より小さい半径を有しているので、そうしたあらゆるサイズのゴブが足部22cと22dとの対向する箇所に支持されながら、ゴブ掬い20を通過する。このため、いかなるゴブも、部材22の上端22aの上方にあるゴブ剪断装置からゴブ掬い20を通って流れる液体冷媒と接触することに起因して、局所的に冷却されるようなことが無い。
支持部材24は、図面には2つを示しているような、ガス冷媒のための少なくともひとつの入口26を有していて、部材22の湾曲部22eの下方にある空間28へ空気又は他のガスを導入する。空間28に導入されたガスは、部材22を間接的に冷却するために使用されるが、この事例では、入口26の一方は出口として使用され、2つの入口26の間には、空間28の大部分にわたるような長手方向に延びた仕切(図示せず)が延在していて、一対の冷却通路が直列的に結合されて冷媒を導くようになっている。変形例として、図示の如く、部材22には多数の開口30を間隔を隔てて備えても良い。そうした開口によれば、ガス冷媒は空間28から流出し、ゴブ掬い20を通過するゴブに接触して、いっそう部材22を冷却すると共に、ゴブ掬い20を通過するゴブを浮揚させないしは部分的に浮揚させて、ゴブが部材22の下端22bに到着する時間を速めることができる。部材22は、適当な耐熱性のステンレス鋼やアルミニウムから鋳造することができ、この場合、支持部材24は部材22と一体的に鋳造することが好ましい。なお、支持部材24と部材とは別個の部品から製造しても良い。
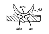
図7乃至図12では、実施形態によるゴブ掬いの全体を参照符号40にて示しているが、以下に説明する事項を除けば、ゴブ掬い40の構成及び機能はゴブ掬い20と同様である。従って、ゴブ掬い40は、上側のゴブ入口42aと下側のゴブ出口42bとを備えてなるような屈曲した部材42を有している。図9及び図10に示すように、部材42の横断面の形態は上方向に向いたV字形であって、その湾曲部42eから曲線状の対向する一対の足部42c及び42dが上方向に延在している。このように、湾曲部42eの半径は、ゴブ掬い40を通過させようとする最小のガラスゴブの半径に比べて小さくなっていて、足部42c及び42dの自由端部の間隔は、ゴブ掬い40を通過させようとする最大のガラスゴブの幅に比べて大きい距離の間隔を隔てているので、広範囲のゴブサイズのあらゆるゴブが足部42cと42dとの対向する箇所に支持されて、湾曲部42eとは接触することがなく、このために、ゴブ掬い40を通って流れるであろういかなる剪断装置の冷媒によっても、局所的に冷却されることは無い。部材42は、支持部材44を結合されて有していて、適当な耐熱性のステンレス鋼やアルミニウムから鋳造することができ、この場合、支持部材は部材42と一体的に鋳造することが好ましい。なお、部材42と支持部材44とは別個の部品から製造しても良い。いずれの事例においても、支持部材44は冷媒入口開口46aと冷媒出口開口46bとを備えていて、ここに通した水や他の液体冷媒は空間48を通って流れて、部材42のゴブ接触表面を間接的に冷却することになる。これに関連して、空間48の内部には長手方向に延在するような仕切48aが備えられていて、空間を互いに平行であるような入口流路と戻り流路とに分割する。
図13は、ゴブ掬い20とゴブ掬い40との双方の機能について模式的に示した図であって、図1乃至図6の実施形態の屈曲した部材22と図7乃至図12の実施形態の屈曲した部材42との双方に共通している特徴を具体化してなる、屈曲した部材52の文脈において示している。部材52においては、部材52の壁52cと52dとの間に、部材52を通過させようとするゴブのサイズ範囲のうちの最大のゴブG1が接触していると共に、そうしたゴブのサイズ範囲のうちの最小のゴブG2も同じく接触している。ゴブG1及びG2ならびにG1とG2との間のサイズのすべてのゴブは、壁52cと52dとの間に支持されるが、ゴブG1は対向する箇所L1とL2とにて、ゴブG2はL3とL4とにて支持されることとなって、ゴブG1及びゴブG2はもとより、ゴブG1とG2との間のサイズであるようなあらゆるゴブにおいて、部材52の湾曲部52eに接触することは全くない。
ゴブは、それがゴブG1若しくはゴブG2またはこれらの中間サイズであるようないかなるゴブであったとしても、その両側部にて屈曲した部材22、42、52のいずれかによって支持されることから、ゴブの配送される樋の中心軸線に対して極めて正確に中心合わせされる見込みがあって、このことは摩擦損失を最小にすると共に、ゴブがそうした樋を通り抜ける走行時間を均一化する助けになる。
屈曲した部材22及び42のそれぞれの曲率半径Rは、屈曲した部材の長さの最終部分の6〜7インチにわたる真っ直ぐな部分に至るまでは、屈曲した部材22又は42の入口端部から出口端部に進むにつれて徐々に大きくなっていて、こうした形態は、ゴブが屈曲した部材を通り進むときにゴブと屈曲した部材との接触が維持されることを助けて、ゴブが通り進むときにゴブが屈曲した部材の上ではね上がるようなことがない。このことは、ゴブが屈曲した部材を通過する走行時間を均一化すると共に、ゴブが屈曲した部材に対して浮揚した状態から着地したときに、ゴブが屈曲した部材の側面間に膠着することを防止する。
望ましくは、図1乃至図6の実施形態の屈曲した部材22と、図7乃至図12の実施形態の屈曲した部材42とのそれぞれにおいて、上に向いたゴブ接触表面は非常に滑らかになっていて、そうした表面に被覆を施す必要がない。そのような目的のためには、10RMSの表面仕上げが適切であることが判明した。
本発明を実施するためのベストモードであると出願時において発明者が考えるものを図示して説明したけれども、当業者にあっては発明の範囲を逸脱することなく適当な改変、変形、及び均等物を案出できることは明らかであり、従って、そうした掬いは特許請求の範囲とその法的均等物によってのみ限定される。
また、本発明は、下記の[1]〜[9]の通りである。
[1]細長い揺動可能なゴブ掬いであって、溶融ガラスゴブを該装置の入口から該装置の出口へ搬送するための掬いにおいて、前記部材は、前記装置の長手軸線に対して平行に延在してなる平面において、高い位置にある入口から低い位置にある出口へと屈曲していて、前記部材の横断面の形態は、上向きのV字形と略一致する形態になっていて、対向する一対の足部はその底部端の湾曲部にて結合されており、足部の上方の自由端部は、細長い部材を通過させようとする広範囲のゴブサイズのうちの最大のゴブ幅に比べて、より大きい距離の間隔を隔てており、湾曲部の半径は、ゴブサイズのうちの最小サイズのゴブの半径に比べて、より小さい半径を有していることを特徴とする細長いゴブ掬い。
[2]装置がさらに、
前記屈曲した部材の下方に設けられたマニホールドを備えていて、前記マニホールドは冷媒が循環する通路を有しており、前記部材の足部のゴブ接触表面を冷却する、
ことを特徴とする[1]に記載の細長いゴブ掬い。
[3]前記細長い部材の足部を貫通してなる複数の小さい開口をさらに備え、前記開口は、前記マニホールドから前記細長い部材の足部を通して、ガス冷媒を運ぶために用いられることを特徴とする[2]に記載の細長いゴブ掬い。
[4]前記揺動可能な掬いは、滑らかで被覆されていないようなゴブ接触表面を有していて、この装置がさらに、
前記ゴブ接触表面を間接的に冷却する手段を備えている、
ことを特徴とする[1]に記載の細長いゴブ掬い。
[5]前記ゴブ接触表面を間接的に冷却する前記手段は、
前記ゴブ接触表面と間接的に接触している前記掬いに通すように液体冷媒を循環させる、前記掬いの下方に設けられた手段である、
ことを特徴とする[4]に記載の細長いゴブ掬い。
[6]前記接触表面と間接的に接触するように冷媒を循環させる、前記掬いの下方に設けられた手段は、前記掬いに通すようにガス冷媒を循環させる手段であることを特徴とする[4]に記載の細長いゴブ掬い。
[7]装置がさらに、
前記ゴブ掬いに設けられた複数の開口をさらに備えていて、ガス冷媒は、前記掬いの下方にある前記手段に流入し、その後、前記掬いに流入して、前記掬いを通り過ぎるガラスゴブに直接接触して冷却する、
ことを特徴とする[6]に記載の細長いゴブ掬い。
[8]前記ゴブ接触表面は少なくとも10RMSの表面仕上げを有していることを特徴とする[4]に記載の細長いゴブ掬い。
[9]前記部材の入口付近における長手軸線に沿った半径は、出口付近における長手軸線に沿った半径に比べて小さくなっていて、細長い部材における出口のすぐ内側の最後の部分は真っ直ぐになつていることを特徴とする[4]に記載の細長いゴブ掬い。

Claims (11)

  1. 細長い揺動可能なゴブ掬いであって、
    溶融ガラスゴブを該掬いの入口から該掬いの出口へ搬送するための掬いにおいて、前記掬いは、その長手軸線に対して平行に延在してなる平面において、高い位置にある入口から低い位置にある出口へと屈曲していて、前記出口及びこの出口に隣接する真っ直ぐな部分に進むにつれて徐々に大きくなる曲率半径(R)を有し、
    前記掬いの横断面の形態は、上向きのV字形と略一致する形態になっていて、対向する一対の足部はその底部端の湾曲部にて結合されており、足部の上方の自由端部は、細長い掬いを通過させようとする広範囲のゴブサイズのうちの最大のゴブ幅に比べて、より大きい距離の間隔を隔てており、湾曲部の半径は、ゴブサイズのうちの最小サイズのゴブの半径に比べて、より小さい半径を有していることを特徴とする細長いゴブ掬い。
  2. さらに、屈曲した前記掬いの下方に設けられたマニホールドを備えていて、前記マニホールドは冷媒が循環する通路を有しており、前記掬いの足部のゴブ接触表面を冷却する、
    ことを特徴とする請求項1に記載の細長いゴブ掬い。
  3. 前記掬いの足部を貫通してなる複数の小さい開口をさらに備え、前記開口は、前記マニホールドから前記掬いの足部を通して、ガス冷媒を運ぶために用いられることを特徴とする請求項2に記載の細長いゴブ掬い。
  4. 前記揺動可能な掬いは、滑らかで被覆されていないようなゴブ接触表面を有していて、この掬いがさらに、
    前記ゴブ接触表面を間接的に冷却する手段を備えている、
    ことを特徴とする請求項1に記載の細長いゴブ掬い。
  5. 前記ゴブ接触表面を間接的に冷却する前記手段は、
    前記ゴブ接触表面と間接的に接触している前記掬いに通すように液体冷媒を循環させる、前記掬いの下方に設けられた手段である、
    ことを特徴とする請求項4に記載の細長いゴブ掬い。
  6. 前記接触表面と間接的に接触するように冷媒を循環させる、前記掬いの下方に設けられた手段は、前記掬いに通すようにガス冷媒を循環させる手段であることを特徴とする請求項5に記載の細長いゴブ掬い。
  7. 前記ゴブ掬いに設けられた複数の開口をさらに備えていて、ガス冷媒は、前記掬いの下方にある前記手段に流入し、その後、前記掬いに流入して、前記掬いを通り過ぎるガラスゴブに直接接触して冷却する、
    ことを特徴とする請求項6に記載の細長いゴブ掬い。
  8. 前記ゴブ接触表面は少なくとも10RMSの表面仕上げを有していることを特徴とする請求項4に記載の細長いゴブ掬い。
  9. 前記掬いの入口付近における長手軸線に沿った半径は、出口付近における長手軸線に沿った半径に比べて小さくなっていて、細長い掬いにおける出口のすぐ内側の最後の部分は真っ直ぐになつていることを特徴とする請求項4に記載の細長いゴブ掬い。
  10. さらに、1つ又は複数のさらなる掬いと、溶融ガラスを前記細長いコブ掬い及び前記1つ又は複数のさらなる掬いに配送するガラスコブの供給源と、を含み、前記細長いコブ掬い、及び、前記1つ又は複数のさらなる掬いのそれぞれのマニホルドは、掬い毎の温度を均等化し、前記細長いコブ掬い及び前記1つ又は複数のさらなる掬いの出口にゴブが到着する時間を均一にする請求項2に記載の細長いコブ掬い。
  11. さらに、1つ又は複数のさらなる掬いと、溶融ガラスを前記細長いコブ掬い及び前記1つ又は複数のさらなる掬いに配送するガラスコブの供給源と、を含み、前記細長いコブ掬い、及び、前記1つ又は複数のさらなる掬いを冷却する手段は、掬い毎の温度を均等化し、前記細長いコブ掬い及び前記1つ又は複数のさらなる掬いの出口にゴブが到着する時間を均一にする請求項8に記載の細長いコブ掬い。
JP2009265104A 2001-08-30 2009-11-20 ガラス容器成形装置にガラスゴブを搬送するための装置及び方法 Expired - Fee Related JP5094820B2 (ja)

Applications Claiming Priority (2)

Application Number Priority Date Filing Date Title
US09/942,899 US6776011B2 (en) 2000-08-21 2001-08-30 Apparatus for conveying gobs of glass to a glass container forming machine
US09/942899 2001-08-30

Related Parent Applications (1)

Application Number Title Priority Date Filing Date
JP2002254451A Division JP4447825B2 (ja) 2001-08-30 2002-08-30 ガラス容器成形装置にガラスゴブを搬送するための装置及び方法

Publications (2)

Publication Number Publication Date
JP2010042997A true JP2010042997A (ja) 2010-02-25
JP5094820B2 JP5094820B2 (ja) 2012-12-12

Family

ID=25478790

Family Applications (2)

Application Number Title Priority Date Filing Date
JP2002254451A Expired - Fee Related JP4447825B2 (ja) 2001-08-30 2002-08-30 ガラス容器成形装置にガラスゴブを搬送するための装置及び方法
JP2009265104A Expired - Fee Related JP5094820B2 (ja) 2001-08-30 2009-11-20 ガラス容器成形装置にガラスゴブを搬送するための装置及び方法

Family Applications Before (1)

Application Number Title Priority Date Filing Date
JP2002254451A Expired - Fee Related JP4447825B2 (ja) 2001-08-30 2002-08-30 ガラス容器成形装置にガラスゴブを搬送するための装置及び方法

Country Status (20)

Country Link
US (1) US6776011B2 (ja)
EP (1) EP1288168B1 (ja)
JP (2) JP4447825B2 (ja)
CN (1) CN1243675C (ja)
AR (1) AR036367A1 (ja)
AT (1) ATE314320T1 (ja)
AU (1) AU2002300772B2 (ja)
BR (1) BR0203435B1 (ja)
CA (1) CA2399845C (ja)
CO (1) CO5400111A1 (ja)
DE (1) DE60208277T2 (ja)
DK (1) DK1288168T3 (ja)
EE (1) EE04875B1 (ja)
ES (1) ES2254571T3 (ja)
HU (1) HU230178B1 (ja)
MX (1) MXPA02008455A (ja)
PE (1) PE20030529A1 (ja)
PL (1) PL200253B1 (ja)
RU (1) RU2296722C2 (ja)
ZA (1) ZA200206950B (ja)

Families Citing this family (11)

* Cited by examiner, † Cited by third party
Publication number Priority date Publication date Assignee Title
FR2862960A1 (fr) * 2003-11-27 2005-06-03 Jacques Mathey Forme de goulottes utilisees pour le transport des paraisons destinees a la fabrication des flacons en verre
US8621008B2 (en) 2007-04-26 2013-12-31 Mcafee, Inc. System, method and computer program product for performing an action based on an aspect of an electronic mail message thread
US8199965B1 (en) 2007-08-17 2012-06-12 Mcafee, Inc. System, method, and computer program product for preventing image-related data loss
US20130276061A1 (en) 2007-09-05 2013-10-17 Gopi Krishna Chebiyyam System, method, and computer program product for preventing access to data with respect to a data access attempt associated with a remote data sharing session
US8893285B2 (en) 2008-03-14 2014-11-18 Mcafee, Inc. Securing data using integrated host-based data loss agent with encryption detection
US9077684B1 (en) 2008-08-06 2015-07-07 Mcafee, Inc. System, method, and computer program product for determining whether an electronic mail message is compliant with an etiquette policy
US20110197635A1 (en) * 2010-02-12 2011-08-18 Mcdermott Braden A Optimized Scoop for Improved Gob Shape
JP6076334B2 (ja) * 2012-04-24 2017-02-08 日精エー・エス・ビー機械株式会社 プリフォーム供給装置
US11912608B2 (en) 2019-10-01 2024-02-27 Owens-Brockway Glass Container Inc. Glass manufacturing
WO2021076644A1 (en) 2019-10-15 2021-04-22 Emhart Glass S.A. Trough to thermally balance loaded gob temp
US12522530B2 (en) 2023-08-24 2026-01-13 Owens-Brockway Glass Container Inc. Molten glass gob delivery guide

Citations (3)

* Cited by examiner, † Cited by third party
Publication number Priority date Publication date Assignee Title
JPS5145114A (en) * 1974-10-16 1976-04-17 Nippon Electric Glass Co Garasuseikeiki niokeru gobushuuto
JPS58160232U (ja) * 1982-04-15 1983-10-25 東洋ガラス株式会社 スク−プ
JPS63236718A (ja) * 1987-03-25 1988-10-03 Nabeya:Kk ガラス成形用デリバリ

Family Cites Families (18)

* Cited by examiner, † Cited by third party
Publication number Priority date Publication date Assignee Title
US1638593A (en) * 1924-08-19 1927-08-09 Hartford Empire Co Method of and apparatus for conveying plastic glass
US1959328A (en) * 1931-03-10 1934-05-22 Bartholomew Tracy Method for conveying molten slag
US3198616A (en) * 1960-12-09 1965-08-03 Owens Illinois Glass Co Apparatus for conveying molten glass charges
US3340038A (en) * 1964-09-21 1967-09-05 Owens Illinois Inc Gob chute with fluid flow means
US3650723A (en) 1969-03-12 1972-03-21 Corning Glass Works Glass gob delivery
US3721544A (en) * 1971-11-17 1973-03-20 Emhart Corp Molten glass gob distribution system
US4529431A (en) * 1983-10-28 1985-07-16 Owens-Illinois, Inc. Multiple gob delivery and reject mechanism
US4718933A (en) * 1986-10-08 1988-01-12 Emhart Industries, Inc. Internally cooled gob chute
US4772306A (en) * 1987-10-13 1988-09-20 Owens-Illinois Glass Container Inc. Molten glass gob delivery system
IT1236745B (it) * 1989-12-15 1993-03-31 Boscato & Dalla Fontana Perfezionamenti al distributore di gocce di vetro fuso nelle macchine formatrici di oggetti in vetro cavo.
DE4116593C1 (ja) * 1991-05-22 1993-01-07 Fa. Hermann Heye, 3063 Obernkirchen, De
GB9206830D0 (en) * 1992-03-28 1992-05-13 Emhart Glass Mach Invest Trough system
JP2549972B2 (ja) * 1992-10-06 1996-10-30 東洋ガラス株式会社 製びん機のゴブ分配装置
GB9325781D0 (en) * 1993-12-16 1994-02-16 Emhart Glass Mach Invest Trough assembly
DE19501762C2 (de) * 1995-01-21 1997-04-30 Gps Glasprod Serv Gmbh Rinnenanordnung zur Überführung eines Glastropfens von einem Tropfenverteiler zu einer Vorform einer Glasmaschine
DE29508465U1 (de) * 1995-05-26 1995-07-27 Fa. Hermann Heye, 31683 Obernkirchen Rinneneinrichtung für eine I.S.-Glasformmaschine
DE19643108C2 (de) 1996-10-21 2000-01-13 Haver & Boecker Rinnensystem für eine Reihenmaschine zur Herstellung von Hohlglaskörpern
US6494061B1 (en) 2000-08-21 2002-12-17 Owens-Brockway Glass Container Inc. Apparatus and method for conveying gobs of glass to a glass container forming machine

Patent Citations (3)

* Cited by examiner, † Cited by third party
Publication number Priority date Publication date Assignee Title
JPS5145114A (en) * 1974-10-16 1976-04-17 Nippon Electric Glass Co Garasuseikeiki niokeru gobushuuto
JPS58160232U (ja) * 1982-04-15 1983-10-25 東洋ガラス株式会社 スク−プ
JPS63236718A (ja) * 1987-03-25 1988-10-03 Nabeya:Kk ガラス成形用デリバリ

Also Published As

Publication number Publication date
CA2399845C (en) 2008-03-11
EE200200478A (et) 2003-04-15
PE20030529A1 (es) 2003-06-18
PL355733A1 (en) 2003-03-10
JP5094820B2 (ja) 2012-12-12
MXPA02008455A (es) 2004-08-12
US20020046575A1 (en) 2002-04-25
RU2296722C2 (ru) 2007-04-10
US6776011B2 (en) 2004-08-17
AU2002300772B2 (en) 2008-02-14
EP1288168B1 (en) 2005-12-28
DE60208277T2 (de) 2006-08-17
AR036367A1 (es) 2004-09-01
ES2254571T3 (es) 2006-06-16
HUP0202778A3 (en) 2012-09-28
DK1288168T3 (da) 2006-04-10
ZA200206950B (en) 2003-04-30
BR0203435A (pt) 2004-05-25
HU0202778D0 (ja) 2002-10-28
EE04875B1 (et) 2007-08-15
JP4447825B2 (ja) 2010-04-07
JP2003104732A (ja) 2003-04-09
PL200253B1 (pl) 2008-12-31
DE60208277D1 (de) 2006-02-02
CN1243675C (zh) 2006-03-01
ATE314320T1 (de) 2006-01-15
CN1406888A (zh) 2003-04-02
CA2399845A1 (en) 2003-02-28
EP1288168A1 (en) 2003-03-05
HU230178B1 (hu) 2015-09-28
HUP0202778A2 (hu) 2003-04-28
CO5400111A1 (es) 2004-05-31
BR0203435B1 (pt) 2011-12-27

Similar Documents

Publication Publication Date Title
JP5094820B2 (ja) ガラス容器成形装置にガラスゴブを搬送するための装置及び方法
US5961680A (en) Internally cooled glass gob deflector
JP3939515B2 (ja) ガラスゴブをガラス容器成形装置に搬送するための装置及び方法
KR920703459A (ko) 롤러 반송된 유리판을 냉각하는 장치
US12202761B2 (en) Trough to thermally balance loaded gob temp
KR102773300B1 (ko) 이송 장치 및 리본 이송
CN105813990B (zh) 用于将熔融玻璃料滴装入坯料模具中的分裂式装载漏斗
IE970475A1 (en) Method and installation for manufacturing glass objects,¹especially bottles
JP7045320B2 (ja) ガラスリボンの製造方法及び装置
FR2862960A1 (fr) Forme de goulottes utilisees pour le transport des paraisons destinees a la fabrication des flacons en verre

Legal Events

Date Code Title Description
A621 Written request for application examination

Free format text: JAPANESE INTERMEDIATE CODE: A621

Effective date: 20091120

A977 Report on retrieval

Free format text: JAPANESE INTERMEDIATE CODE: A971007

Effective date: 20110422

A131 Notification of reasons for refusal

Free format text: JAPANESE INTERMEDIATE CODE: A131

Effective date: 20110427

A601 Written request for extension of time

Free format text: JAPANESE INTERMEDIATE CODE: A601

Effective date: 20110726

A602 Written permission of extension of time

Free format text: JAPANESE INTERMEDIATE CODE: A602

Effective date: 20110729

A521 Request for written amendment filed

Free format text: JAPANESE INTERMEDIATE CODE: A523

Effective date: 20110823

A131 Notification of reasons for refusal

Free format text: JAPANESE INTERMEDIATE CODE: A131

Effective date: 20120524

A521 Request for written amendment filed

Free format text: JAPANESE INTERMEDIATE CODE: A523

Effective date: 20120823

TRDD Decision of grant or rejection written
A01 Written decision to grant a patent or to grant a registration (utility model)

Free format text: JAPANESE INTERMEDIATE CODE: A01

Effective date: 20120913

A01 Written decision to grant a patent or to grant a registration (utility model)

Free format text: JAPANESE INTERMEDIATE CODE: A01

A61 First payment of annual fees (during grant procedure)

Free format text: JAPANESE INTERMEDIATE CODE: A61

Effective date: 20120918

R150 Certificate of patent or registration of utility model

Ref document number: 5094820

Country of ref document: JP

Free format text: JAPANESE INTERMEDIATE CODE: R150

Free format text: JAPANESE INTERMEDIATE CODE: R150

FPAY Renewal fee payment (event date is renewal date of database)

Free format text: PAYMENT UNTIL: 20150928

Year of fee payment: 3

R250 Receipt of annual fees

Free format text: JAPANESE INTERMEDIATE CODE: R250

R250 Receipt of annual fees

Free format text: JAPANESE INTERMEDIATE CODE: R250

R250 Receipt of annual fees

Free format text: JAPANESE INTERMEDIATE CODE: R250

R250 Receipt of annual fees

Free format text: JAPANESE INTERMEDIATE CODE: R250

R250 Receipt of annual fees

Free format text: JAPANESE INTERMEDIATE CODE: R250

LAPS Cancellation because of no payment of annual fees