JP2010042628A - インクジェット記録装置 - Google Patents

インクジェット記録装置 Download PDF

Info

Publication number
JP2010042628A
JP2010042628A JP2008209257A JP2008209257A JP2010042628A JP 2010042628 A JP2010042628 A JP 2010042628A JP 2008209257 A JP2008209257 A JP 2008209257A JP 2008209257 A JP2008209257 A JP 2008209257A JP 2010042628 A JP2010042628 A JP 2010042628A
Authority
JP
Japan
Prior art keywords
platen
belt
recording apparatus
roller
cleaning
Prior art date
Legal status (The legal status is an assumption and is not a legal conclusion. Google has not performed a legal analysis and makes no representation as to the accuracy of the status listed.)
Granted
Application number
JP2008209257A
Other languages
English (en)
Other versions
JP5193738B2 (ja
Inventor
Shinji Fujikawa
真司 藤川
Current Assignee (The listed assignees may be inaccurate. Google has not performed a legal analysis and makes no representation or warranty as to the accuracy of the list.)
Olympus Corp
Original Assignee
Olympus Corp
Priority date (The priority date is an assumption and is not a legal conclusion. Google has not performed a legal analysis and makes no representation as to the accuracy of the date listed.)
Filing date
Publication date
Application filed by Olympus Corp filed Critical Olympus Corp
Priority to JP2008209257A priority Critical patent/JP5193738B2/ja
Publication of JP2010042628A publication Critical patent/JP2010042628A/ja
Application granted granted Critical
Publication of JP5193738B2 publication Critical patent/JP5193738B2/ja
Active legal-status Critical Current
Anticipated expiration legal-status Critical

Links

Images

Landscapes

  • Ink Jet (AREA)
  • Handling Of Sheets (AREA)

Abstract

【課題】従来の画像記録装置における搬送ベルトにより記録媒体を搬送する搬送機構は、搬送ベルトを支持するプラテンまでは十分にクリーニングされないため、摺動抵抗が大きく搬送ベルトが規定の速度で回動できず、良好な品質の画像記録が得られない。
【解決手段】インクジェット記録装置は、インクジェットヘッドに対向して配設され、駆動ローラと従動ローラに搬送ベルトが掛け回され、駆動ローラと従動ローラとの間に設けられたプラテンが搬送ベルトの裏面に当接し搬送ベルトの平面度を保持し、搬送ベルトの内面側でプラテンの上流側及び下流側にそれぞれ設けられて、延出するアームを備え、これらのアームの回動により、搬送ベルトの裏面を押し上げてプラテンから搬送ベルトを離間させる。
【選択図】 図2

Description

本発明は、画像品質を低下させる搬送ベルト及びプラテンに付着したインクをクリーニング除去可能なインクジェット記録装置に関する。
一般に、記録媒体にインクを吐出して画像を記録するインクジェット記録装置が知られている。従来のインクジェット記録装置は、記録ヘッドからインクを吐出しつつ記録媒体の幅方向に走査移動させて、画像を形成するシリアル型記録ヘッド、又は記録媒体の幅以上のノズル列長を持ち且つ固定されて、搬送移動する記録媒体にインクを吐出して画像を記録するライン型記録ヘッドの何れかを搭載している。インクジェット記録装置には、記録ヘッドのノズルと予め定めた距離が離間して対向するようにプラテンが配置されている。記録ヘッドから記録媒体の表面にインクを吐出する際には、記録媒体の裏面側はプラテン上を走行する搬送ベルトにより支持され、ノズルと記録媒体との一定距離を保持させている。
従来のライン型記録ヘッドを搭載する画像記録装置は、画像を形成するためのテーブルとなるプラテン上(プラテン外周)を回転する搬送ベルトに記録媒体を吸着させて搬送を行っている。通常のメンテナンスでは、ベルトとプラテンを離間させずに、搬送ベルトの両面からクリーニングを行っていた。例えば、特許文献1には、搬送ベルトと搬送ベルトを支持する作画テーブル(プラテン)を有し、無端ベルトに洗浄液を拭きつけて搬送ベルトを洗浄する技術が開示されている。
特開2002−370416号公開
前述した従来技術は、搬送ベルトの表面及び裏面をプラテン設置領域外にクリーニング機構を設置し、搬送ベルトの表面又は、裏面をクリーニングしていた。しかしながら、インクが付着するのは搬送ベルトだけでなく、搬送ベルトを支持しているプラテン表面も汚れている。従って、プラテン表面もクリーングしなければ、搬送ベルトとプラテンとの間に粘度の高いインクや紙粉等により、摺動抵抗が良好な画像記録ができる状態までは改善されず、搬送ベルトが規定の速度で回動できず、結果、良好な品質の画像記録が得られなくなる。
さらに、特許文献1では、ノズル形状の噴出口により搬送ベルトに洗浄液を吹き付け、下方に配置した受け皿で洗浄液を回収している構成である。しかし、吹き付ける勢いや冷却ファンによる空気流により発生する、インクを含む洗浄液がミストとなって機器内を対流して構成部材に付着して、記録媒体を汚染する可能性がある。
そこで本発明は、プラテンをクリーニングできるように搬送ベルトとプラテンの間を離間させる機構を持つインクジェット記録装置を提供することを目的とする。
上記目的を達成するために、本発明の従う実施形態は、インクを記録媒体に吐出して画像記録するインクジェットヘッドと、前記記録媒体を保持して搬送するために、前記インクジェットヘッドに対向して配設され、少なくとも駆動ローラ及び従動ローラとの間に掛け回された無端状の搬送ベルトと、前記駆動ローラ及び前記従動ローラとの間に配置され、前記搬送ベルトの裏面に当接して該搬送ベルトの平面度を保持するプラテンと、前記搬送ベルトの裏面から前記プラテンを相対的に離間させる離間機構と、を有するインクジェット記録装置を提供する。
本発明によれば、搬送ベルトとプラテンとの間にクリーニングのための空間を形成し、その空間を利用して手動または自動で搬送ベルト裏面及びプラテン表面をクリーニングすることにより搬送ベルトの摺動抵抗を減少させ、常に良好な画像記録が行え、またクリーニングをユーザーが容易にできるようにすることで、サービスマンがユーザー先に出向かずに済みユーザーにとって経費削減になるインクジェット記録装置を提供することができる。
以下、図面を参照して本発明の実施形態について詳細に説明する。
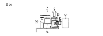
第1の実施形態に係るインクジェット記録装置について、図1乃至図27を用いて説明する。図1は、本実施形態のインクジェット記録装置概略斜視図である。図2は、本提案に係るインクジェット記録装置内の画像形成媒体搬送部の画像記録状態を示す正面斜視図である。図3は、画像形成媒体搬送部の画像記録状態を示す背面斜視図である。図4は、搬送ベルトとプラテンの一部を除いた画像形成媒体搬送部の内部構造を示す正面斜視図である。図5は、画像形成媒体搬送部のプラテン及びプラテン下の吸引ファンを除いた正面斜視図である。図6は、駆動ローラの正面側端部に設置している搬送ベルト離間機構を示す斜視図である。図7は、図6を反対方向からみた斜視図である。図8は、駆動ローラの正面側端部に設置した搬送ベルト離間機構を軸方向に切断した断面図である。図9は、従動ローラの正面側端部に設けられた搬送ベルト離間機構を示す斜視図である。図10は、背面側に設置された搬送ベルト離間機構の以後説明する部位を示したものである。図11は、駆動ローラの背面側端部に設置している搬送ベルト離間機構を示す斜視図である。図12は、図11に示す搬送ベルト離間機構を正面から見た図である。図13は、従動ローラの背面側端部に設けられた搬送ベルト離間機構を示す斜視図である。図14は、画像形成媒体搬送部の画像記録状態を示す背面下方斜視図で、以降説明する背面側の搬送ベルト離間機構の部位を示す図である。図15は、画像記録時の駆動ローラ側の搬送ベルト離間機構の位置決め機構を示す斜視図である。図16は、画像記録時の従動ローラ側の搬送ベルト離間機構の位置決め機構を示す斜視図である。図17は、搬送ベルトの中央部にある搬送ベルトテンション機構の正面図である。図18は、画像形成媒体搬送部近傍に設置されているクリーニングユニットの斜視図である。図19(a)は、クリーニングユニットの左側面図である。図19(b)は、構成詳細図である。図19(c)は、洗浄ユニットの左断面図である。図19(d)は、ガイドの形状を示す斜視図である。図20は、クリーニング時の搬送ベルト離間機構の位置状態を示すフレーム構成斜視図である。図21は、搬送ベルト離間機構のクリーニング時の位置決め部材を内側から見た拡大図である。図22は、搬送ベルト離間機構のクリーニング時の位置決め部材を外側から見た拡大図である。図23(a)〜(c)は、搬送ベルトとプラテンを離間させる過程を示す正面図である。図24は、クリーニングユニットの動作を示す斜視図である。図25は、クリーニングユニットの画像形成媒体送り方向への動作を示す上面図である。図26は、クリーニングユニットの動作を示す左側面図である。図27は、クリーニングユニットのクリーニング棒の動作を示す断面図である。尚、以下の各実施形態における各図では、X軸方向は水平方向で、記録媒体搬送方向を示し、Y軸方向は、水平方向で記録媒体搬送と直行する方向を示し、Z軸方向は、鉛直方向の上下方向を示すものとして図示している。
インクジェット記録装置1は、記録媒体の幅以上の画像記録領域(ノズル列)を有する少なくとも1個以上の固定記録ヘッドを用いた画像記録装置である。その記録ヘッドは、インクを吐出する複数のノズルが配列された1つのノズル列で記録エリアをカバーするライン型記録ヘッドと、図1に示すような記録媒体の幅に満たない短尺のノズル列を有する複数の記録ヘッドをその幅方向で交互に配置した短尺型記録ヘッドのいずれかを用いている。
インクジェット記録装置1は、少なくとも1個以上の記録ヘッドを保持し、インクジェット記録装置1内の図示しないフレームに上下移動可能に支持されたキャリッジ2と、記録ヘッドのインク吐出面(ノズル面)に対向し平行になるように図示しないフレームに設置された画像形成媒体搬送部4と、画像形成媒体搬送部4と離れた位置にキャリッジ2と画像形成媒体搬送部4との間に移動可能に配置されているメンテナンスユニット3とを備えている。
画像形成媒体搬送部4は、図1及び図5に示すように、大分して、搬送ベルト6、搬送ベルト駆動モータ5、駆動ローラ21、従動ローラ16、テンションローラA73、B17、C18、これらを回転可能に保持するフロントフレーム14及びリアフレーム15と、から構成される。
搬送ベルト6には、多数の小孔が開口されている。図4に示すように、搬送ベルト6の下方には、搬送ベルト6を支持するプラテン19が設置され、プラテン19には、複数の穴が開口されている。またプラテン19の下方には、搬送ベルト6を通じて画像記録媒体を吸引するための1個以上の吸引ファン20が設置されている。駆動ローラ21の軸端は、タイミングベルトとプーリ等によって搬送ベルト駆動モータ5に接続されている。図5に示すように、搬送ベルト駆動モータ5は、リアフレーム15に設置されている。
また、図2に示すように、プラテン19の近傍にはクリーニングユニット7が設置されている。駆動ローラ21の軸端には、搬送ベルト離間ユニット71、76が設置され、従動ローラ16の軸端には、搬送ベルト離間ユニット77、78が設置されている。
図7及び図11に示すように、駆動ローラ21及び従動ローラ16の近傍には、テンションローラA73及びテンションローラB17が配置される。テンションローラA73の両端にはベアリング40a、40bが設けられ、第1のアーム41a、41bに回転可能に支持されている。
同様に、図9及び図13に示すように、テンションローラB17の両端にはベアリング40c、40dを介して、第1のアーム41c、41dが回転可能に支持されている。第1のアーム41a〜41dにはスライドガイドピンA39a〜dが設けられ、このスライドガイドピンA39a〜39dが図12に示すように、第2のアーム43a〜43dに設けられた長穴81と係合することによって、第2のアーム43a〜43dに対して第1のアーム41a〜41dがスライド可能に保持されている。
尚、スライドガイドピンA39a〜39dには、長穴81からの脱落防止のためにEリング35a〜35dが設けられている。更に、第1のアーム41a〜41dの側端には第2のアーム43a〜43dとの間で移動方向を規制する(ズレを防止する)ためのガイド80が形成されている。スライドピンA39a〜39dと長穴との係合及びガイド80により、第2のアーム43a〜43dに対して、第1のアーム41a〜41dは、その長手方向に沿ってのみ移動することが可能となる。
図7乃至図13に示すように、画像記録時の搬送ベルト6の弛み防止として、第1のアーム41a〜41dと第2のアーム43a〜43dとの間には、バネ42a〜42d及びバネガイドA44a〜44dが設置されている。尚、バネ42a〜42dの付勢する向きは、第1のアームの移動方向に一致し、且つ第1のアーム41a〜41dを第2のアームから引き離す向きに一致するように取り付けられている。
また、図11及び図13に示すように、リアフレーム15側の第1のアーム41b、41dには、位置決め穴74b、74dが開口されている。第2のアーム43bは、ベアリング90bにより駆動ローラ21のリア側端部に支持され、駆動ローラの軸上にて回転可能に支持されている。また、第2のアーム43dも43bと同一構成で、ベアリング90dによって従動ローラ16のリア側端部に回動自在に支持されている。第2のアーム43cは、次に説明する電磁クラッチ及びベアリングを介して固定されるスペーサ45に支持されている。
搬送ベルト6は、図5に示す駆動ローラ21、従動ローラ16、テンションローラA73、テンションローラB17及びテンションローラC18に掛け渡されている。図11乃至図13に示すように、リアフレーム15には、第1のアーム41b、41d、第2のアーム43b、43dの回動範囲を規制し、テンションローラA73、テンションローラB17を画像記録位置に位置決めするための位置決めピン8b、8dが植設されている。また、固定板9には、第1のアーム41b、41dの近傍に、ソレノイド11b、11dがそれぞれ設置される。設置位置についてさらに詳細に説明する。
図15及び図16に示すように、第1のアーム41b、41dが位置決めピン8b、8dに当てつけられた画像記録時の状態における第1のアーム41b、41dの位置決め穴74b、74dに対して、ソレノイド11b、11dから繰り出される軸が挿入されるような位置に、ソレノイド11b、11dが固定板9に設置される。位置決め穴74b、74dにソレノイド11b、11dから繰り出される軸が挿入されることにより、画像記録中にテンションローラA73、テンションローラB17が画像記録位置(位置決めピン8b、8dに第1のアーム41b、41dが当て付いた位置)から動かないように保持される。ソレノイド11b、11dの軸先端は74b、74dの挿入し易いようにテーパ状や、球状に形成してもよい。
リアフレーム15の第2のアーム43b、43dの近傍には、図13に示した回転位置検出センサ10が図示しないブラケット等でリアフレーム15に設置され、第1のアーム41b、41dの画像記録位置、クリーニング位置をそれぞれ検出する。この回転位置検出センサ10からの検出結果に基づいて、各ソレノイド11a〜11dの駆動(軸の出入)が制御される。
なお、回転位置検出センサは、光学的なもの、磁気的なものを問わない。光学的センサを用いる場合には、例えば第2のアームに切り欠きなどを形成し、また磁気的センサを用いる場合には、例えば、第2のアームに磁石を取り付けることで、第2のアームの回転位置(画像記録時の位置、クリーニング時の位置)を検出する。また、第2のアームの位置は、画像記録位置、クリーニング位置に限らず、シームレスに位置決めさせてもよい。この場合の位置決めはディスクブレーキなどを使用して行っても良い。
図5及び図17に示すように、テンションローラC18の両端は、テンション調整ユニット72a、72bで保持されている。共に同一構成であるため、ここではテンション調整ユニット72aの構成について説明する。
テンションローラC18は、ベアリング83を介してスライド板13aに保持されている。テンションローラC18とスライド板13aは、Eリング84によって抜けが防止されている。スライド板13aには、バネウケB49が設けられると共に、そのバネウケB49にはスライド板13aのスライド方向と平行に延在する棒状のバネガイドB47が固着されている。また、スライド板13aには、スライド板13aのスライド方向と平行に2つの長孔50が開口されている。フロントフレーム14には、2つの長穴50にそれぞれ挿通するスライドガイドピンB52が植設されると共に、バネウケA48が設けられている。
バネ受けA48には、バネガイドB47が挿通する穴が開口されている。そして、スライド板13aの2つの長穴50にスライドガイドピンB52が挿通される。スライドガイドピンB52の先端には、Eリング51が取り付けられ、スライド板13aのフロントフレーム14からの脱落が防止される。
また、コイル状のテンションバネ12aは、バネガイドB47に嵌合されて、かつバネウケB49とバネウケA47の間に配設される。テンションバネ12aは、スライド板13aをフロントフレームから離間する向き(上述したスライド方向と平行)に付勢する。
図6乃至図9を参照して、前述したベルト離間ユニットA71、B76、C77、D78の駆動機構について説明する。
駆動ローラ21のフロント側端部には、第1の電磁クラッチ23と第2の電磁クラッチ25が挿入されており、それぞれステーA22、ステーB24を介してフロントフレーム14に取り付けられている。第1の電磁クラッチ23は、ステータ28、キー29、ロータ30及びアーマチュア31で構成される。ステータ28はステーA22に固着されている。
ロータ30と駆動ローラ21は、キー29によって連結され、駆動ローラ21に追従して回動可能になっている。アーマチュア31には搬送ベルト離間ユニットA71の第2のアーム43aが固着されている。
第2の電磁クラッチ25も第1の電磁クラッチ23と同じようにステータ37、キー33、ロータ38、アーマチュア34で構成されている。ステータ37はステーB24に固着されている。ロータ38と駆動ローラ21はキー33によって連結され、駆動ローラ21に追従して回動可能になっている。アーマチュア34には第1のピニオン26が固着されている。
第1のピニオン26と噛み合う位置にラック27が設置され、ラック27はフロントフレーム14に対して移動可能に図示しないフレームに支持されている。従動ローラ16の軸端にはベアリング85を介して第2のピニオン46が取り付けられている。また、従動ローラ16の軸まわりにスペーサ45が配置され、このスペーサ45は、第2のアーム43cと第2のピニオン46を連結するように固着している。スペーサ45及び第2のアーム43cは、従動ローラ16の軸から径方向に離間して配置されている(従動ローラ16の軸径以上の孔が形成されている)。
この構成により、第2のピニオン46、スペーサ45及び第2のアーム43cは、従動ローラ16に対して回転自在に支持され、従動ローラ16の回転に対して追従しない。また、第2のピニオン46はラック27と噛み合うように配置され、ラック27の移動に応じて回転する。
次に、図18及び図19(a)〜図19(d)を参照して、クリーニングユニット7について説明する。
プラテン19に対してフロント側に設置されているクリーニングユニット7は、クリーニングユニット台座59によってフロントフレーム14に固着されている。クリーニングユニット台座59には、画像記録媒体搬送方向にプラテン19の長さ分のガイド67が設置されている。このガイド67に沿って移動可能な上下ソレノイド62がガイド67上に配置されている。上下ソレノイド62とガイド67は、ガタつきが少なく、且つ滑らかにスライド移動できることが好ましい。
本実施形態では、上下ソレノイド62をベルト60により移動する構成であり、クリーニング用モータ58とプーリ61は、上下ソレノイド62の移動距離を確保する位置に設置され、これらの間にベルト60が倦回するように掛けられている。プーリ61は、固定板97によってベアリング96を介してクリーニングユニット台座59に固着されている。上下ソレノイド62は、ベルト60に上下ソレノイド62に固着されているクランク形状の連結板98とビスによりにベルト60を圧縮させて固着されている。
上下ソレノイド62の軸先端は、上下板63の上板下面に固着される。上下板63の下板上面は、回転ソレノイド64に固着されている。回転ソレノイド64の軸先端には連結板65が固着され、その連結板65にはクリーニング棒66がネジなどにより取り外し可能に設置されている。ガイド67の両端には上下ソレノイド62の移動位置を検出するための位置検出センサ57a,57bが設置されている。より滑らかなスライド移動を行うために、リニアモータを用いた精密なガイド移動機構を使用しても良い。
上下ソレノイド62の側面には位置検出センサ57a、57b用のドグが形成されている。クリーニング棒66の下方には洗浄ユニット56が設置されている。洗浄ユニット56は洗浄槽68と開閉板69a、69bとから構成されている。開閉板69a、69bはゴムのような柔らかい素材でも、プラスチック、金属などの硬い素材でも良い。またはクリーニング棒66の軸周にクリーニング用の布または紙等を巻いても良い。硬い素材の場合は開閉用のバネ、ヒンジなどの機構を付加する。洗浄槽66には洗浄液70が装填されている。
図23(a)には、画像形成媒体搬送部4における通常の画像記録時の形態を示す。テンションローラA73及びテンションローラB17は、画像記録位置に位置づけられている。即ち、第1のアーム41a〜41dがリアフレーム15に設置されている位置決めピン8b、8dに当てついた状態であり、第1のアーム41b、41dに形成されている位置決め穴74b、74dに、ソレノイド11b、11dの軸が挿入されて、テンションローラA73及びB17が画像記録位置に保持されている。搬送ベルト6は、テンションローラC18、テンションローラA73、テンションローラB17によって、外方に引っ張られる方向に付勢されることで弛み無く張られている。また、プラテン19の表面と搬送ベルト6とが密着した状態となっている。
駆動モータ5が駆動ローラ21を回転させると、搬送ベルト6が回動する。また、搬送ベルト6上に載置される画像形成媒体は、吸引ファン20によって発生された負圧により、搬送ベルト6上に吸着され保持される。画像形成媒体が記録ヘッドと対向する画像形成位置まで搬送されると、記録ヘッドの各インク吐出口からインク滴が吐出され、画像形成媒体に画像記録が行われる。
一般に、インク吐出口の状態やインク滴が画像形成媒体に到達するまでの間にインクミストが発生して浮遊する。インクミスト以外にも、装置の不良又は、人為的な不具合により画像形成位置に画像形成媒体が無いにも関わらずインクを吐出した場合など、インクが搬送ベルト6の表面に付着したり、搬送ベルト6に形成された複数の穴を通して、搬送ベルト6の裏面及びプラテン19にインクが付着したりする事態が発生する。搬送ベルト6の裏面やプラテン19の表面に付着したインクは、時間経過により増粘する。その増粘の影響により、搬送ベルト6とプラテン19との間の摺動抵抗が大きくなり、駆動モータ5の駆動負荷が高くなる、または搬送ベルト6の回動速度が遅くなることから、良好な画像記録が行えなくなる。
このような不具合が発生しないように、予め定めた記録実行時間毎、又は設定記録枚数毎など定期的に又は、駆動モータ5の過負荷状態時などの装置状況に応じた不定期、又はユーザーの望んだタイミングにて、搬送ベルト6の裏面とプラテン19の表面との間をクリーニングする必要がある。
次に、このように構成された離間機構について説明する。
図示しないオペレーションパネル等の操作によって、搬送ベルト6とプラテン19の離間モードが指示されると、画像記録動作中であれば、記録動作を終了して、駆動モータ5が停止する。駆動モータ5の停止により搬送ベルト6が停止する。
次に、ソレノイド11b,11dを駆動して、画像記録位置にある第1のアーム41b、41dの位置決め穴74b、74dに挿入されていたソレノイド11b、11dの軸を引き抜き、回動可能状態となる。即ち、第1のアーム41b、41dは、駆動ローラ21及び従動ローラ16を中心に、位置決めピン8b、8dに突き当たる方向とは逆方向への回動が可能となる。
ソレノイド11b,11dの軸の引き抜き後、第1の電磁クラッチ23が駆動(ON)する。第1の電磁クラッチ23がONすると、ロータ30がアーマチュア31を電磁力により引き寄せ、強固に固着した状態になる。そして、アーマチュア31には第2のアーム43aが固定され、またロータ30がキー29を介して駆動ローラ21と一体になっていることから、第2のアーム43aと駆動ローラ21とは第1の電磁クラッチ23がオンされることで結合される。
次に、駆動ローラ21を、図23(b)において反時計方向に回動させるように、駆動モータ5を駆動させると、駆動ローラ21及びロータ30が回動する。ロータ30に固着されたアーマチュア31も回動し、さらにアーマチュア31に固定された第2のアーム43aが回動する。第2のアーム43aが回動することで、テンションローラA73を含む搬送ベルト離間ユニット71が反時計回り(図23(b)Aまわり)に回動する。尚、テンションローラA73の他端側に連結されている搬送ベルト離間ユニット76は、第2のアーム43aの回動に連動して駆動ローラ21周りに回動する。
搬送ベルト離間ユニット71及び76が回動するに伴い、テンションローラA73が搬送ベルト6を外方へ引っ張ることになる。この搬送ベルト6を引っ張る力は、テンションローラC18におけるテンションバネ12a、12bよりも強いため、テンションローラC18を支持しているテンション調整ユニット72a、72bのテンションバネ12a、12bが収縮し、自動的にテンションローラC18が上昇する(図23(b)B方向)。
固定板9に設置された位置決めピン8aに搬送ベルト離間ユニット76の第1のアーム41bが当接したときに、位置検出センサ10(従動ローラ16の背面側センサ10と同じ構成)が第2のアーム43bがクリーニング位置に達したことを感知する(この昇降ユニットA71、B76のクリーニング位置とは、テンションローラA73がプラテン19よりも上方に位置し、搬送ベルト6がプラテン19から離間している状態を指す)。
回転位置検出センサ10が、搬送ベルト離間ユニットA71、B76がクリーニング位置に達したことを検知すると、ソレノイド11aが作動し、第1のアーム41bに形成された位置決め穴74bにソレノイド11aの軸が挿入される。
これにより、第1のアーム41bの移動が規制され、テンションローラA73がクリーニング位置にて保持される。このときのテンションローラA73の高さ位置は、その上端(鉛直方向上方のローラ端部)がプラテン19よりも上方に位置する。ここで、ソレノイド11aの軸が挿入した後、第1の電磁クラッチ23をOFFにする。すると第2のアーム43aに固定されていたアーマチュア31に作用していた電磁力がなくなり、ロータ30との結合が解除され分離される。つまり第2のアーム43aと駆動ローラ21との結合が解除される。
次に、第2の電磁クラッチ25をONすることにより、電磁力による作用によりアーマチュア34がロータ38に固着する。この結果、アーマチュア34に固定されている第1のピニオン26が、ロータ38と一体に駆動され、駆動ローラ21に追従可能となる。
そして、駆動ローラ21を図7において時計回りに回動させると、第1のピニオン26が駆動ローラ21と同方向に回動し、さらに第1のピニオン26と噛み合っているラック27が従動ローラ16方向に移動することになる。ラック27が移動することにより、従動ローラ16の端部に設置され、ラック27と噛み合っている第2のピニオン46が時計回りに連れ回りする。
第2のピニオン46が回動すると、第2のピニォン46にスペーサ45を介して固定されている第2のアーム43cが従動ローラ16を中心に連れ回りする。第2のアーム43cが回動することで、搬送ベルト離間ユニット77が図23(c)のCまわりに回動し、テンションローラB17で連結されている搬送ベルト離間ユニット78も回動する。
テンションローラB17が移動している間、駆動ローラ21側のテンションローラA73のときと同様に、搬送ベルト6を外方に引っ張ることになる。このとき、テンションローラC18は搬送ベルト6によって内方へと押され(図23(c)のDで示す方向に付勢される)、テンションバネ12a、12bがさらに収縮する。このように、テンションローラC18はテンションバネ12aが収縮することにより内方へ変位することが可能であり、テンションローラA73、B17がクリーニング位置へ移動するのに伴う搬送ベルトを引っ張る分を吸収することが可能となる。
駆動ローラ21側と同様に、搬送ベルト離間ユニット78が回動していくと、その第1のアーム41dが位置決めピン8cに当接する。位置決めピン8cに当接する位置まで搬送ベルト離間ユニット78が回動すると、回転位置検出センサ10が第1のアーム41dがクリーニング位置に達したことを感知する。
回転位置検出センサ10が感知結果を基づき、ソレノイド11cを作動させる。第1のアーム41dに形成された位置決め穴74dにソレノイド11cの軸を挿入させることで、テンションローラB17の回動を規制すると共にクリーニング位置への保持を行う。このときのテンションローラB17の高さ位置は、その上端(鉛直方向上方のローラ端部)がプラテン19よりも上方に位置する。ソレノイド11cの軸の挿入が完了したならば、第2の電磁クラッチ25をオフする。
図23(c)に示すように、搬送ベルト離間機構がクリーニング位置に位置づけられた結果、搬送ベルト6とプラテン19との間に空間ができる。第2の電磁クラッチ25がオフされた後、クリーニングユニット7を駆動させる。つまり、第2の電磁クラッチ25のオフは、回転位置検出センサ10が搬送ベルト離間機構76,78の第1のアーム41b、41dのクリーニング位置を検出し、ソレノイド11a、11cの軸が突出している状態(位置決め穴に挿通されている状態)を示唆する。
次に、上下ソレノイド62を駆動させて、クリーニング棒66を第1の高さ位置(初期の高さ位置)から第2の高さ位置まで下降させる(図27H方向)。クリーニング棒66は、洗浄漕68の開閉板69a,69bを通過し、洗浄液70内で停止させ、洗浄液70に浸した状態で所定時間経過させる。
そして、所定時間が経過した後、上下ソレノイド62を逆に駆動させて、第1の位置までクリーニング棒66を上昇させる。次に、回転ソレノイド64を駆動させて、クリーニング棒66を搬送ベルト6裏面及びプラテン19表面との間の空間内を、プラテン19の表面と平行な面内に沿って、図24E方向に90度回動させる。
クリーニング棒66を90度回動させて、画像形成媒体搬送方向と直交する方向に一致させたならば、上下ソレノイド62を駆動させて、クリーニング棒66がプラテン19の表面に当接するように、クリーニング棒66を第2の高さ位置に下降させる。クリーニング棒66が第2の高さ位置まで下降したら、クリーニング用モータ58を駆動させる。
このクリーニング用モータ58の駆動により、クリーニング用モータ58とプーリ61に掛けられたベルト60が回動し、ベルト60に固着されている上下ソレノイド62がガイド67に沿って画像形成媒体搬送方向に移動する。上下ソレノイド62が移動することにより、上下板63、回転ソレノイド64、連結板65を介して固着されているクリーニング棒66も移動する。
上下ソレノイド62が画像形成媒体搬送方向に沿って、プラテン19の表面と平行に移動することにより、それに搭載されているクリーニング棒66は搬送ベルト6の裏面及びプラテン19の表面との間の空間を、プラテン19の表面に当接しクリーニングしながら移動する(図25F方向)。
上下ソレノイド62は、クリーニング領域端部まで移動し、上下ソレノイド62に設けられたドグが位置検出センサ57bの検知領域に達すると、クリーニング用モータ58の駆動が停止され、上下ソレノイド62の移動が停止する。そして今度はクリーニングモータ58を逆に駆動させて、上下ソレノイド62を逆方向に移動させる。この際もクリーニング棒66はプラテン19の表面をクリーニングしながら移動する。上下ソレノイド62のドグが位置検出センサ57aによって検出されたならば、クリーニング用モータ58の駆動を停止させる。
次に上下ソレノイド62を駆動させて、クリーニング棒66を第1の高さまで上昇させて、クリーニング棒66をプラテン19の表面から離間させる。クリーニング棒66を第1の位置に上昇させたならば、上下ソレノイド62の駆動を停止させる。次に回転ソレノイド64を駆動させて、クリーニング棒66を逆方向に90度回動させて、クリーニング棒66を搬送ベルト6とプラテン19との間の空間から排出させて、クリーニング棒66を元の位置に戻す。このようにして、プラテン19の表面に付着したインクの払拭・クリーニングを行う。クリーニングユニット7によるプラテン19のクリーニングが終了したならば、搬送ベルト離間ユニットを下降させて、搬送ベルト6を下降させプラテン19に密着させて、画像記録可能状態に移行させる。
以下、一連の流れの要約を記載する(画像記録可能状態に復帰させる動作の要約)。
(1)第2の電磁クラッチON → ロータ38にアーマチュア34が電磁力により固着 → 駆動ローラ21と第1のピニオン26が結合する。
(2)ソレノイド11cの軸を引っ込める → 第1のアーム41dのロックの解除 → 搬送ベルト離間ユニット78(77)が回動可能な状態になる。
(3)駆動ローラ21を駆動させることで第1のピニオン26に噛み合っているラック27を搬送ベルト離間ユニット71側に移動させる → ラック27の移動により、ラック27に噛み合っている第2のピニオン46が連れ回り → 第2のピニオン46に固着されている第2のアーム43cが回動することで搬送ベルト離間ユニット77(78)が下降する。搬送ベルト6が下降し弛みが生じようとするが、テンションローラC18による付勢力がベルト6にかかるため弛みは生じない。
(4)搬送ベルト離間ユニット78の第1のアーム41dが位置決めピン8dに当接する位置に達すると、回転位置検出センサ10によって、搬送ベルト離間ユニット78が画像記録位置に達したことが感知される。
(5)ソレノイド11dの軸を突出させて、その軸を第1のアーム41dに形成された位置決め穴74dに挿入し、第1のアーム41dを画像記録位置でロックする。よって、搬送ベルト離間ユニット78(77)を画像記録位置にてロックする。
(6)第2の電磁クラッチ25をOFF → 駆動ローラ21と第2のピニオン26との結合を解除する。
(7)第1の電磁クラッチ23をON → ロータ30とアーマチュア31を電磁力により固着 → 駆動ローラ21と第2のアーム43aを結合する。
(8)ソレノイド11aの軸を引っ込める→第1のアーム41bのロックが解除される。これにより搬送ベルト離間ユニット76(71)が回動可能な状態になる。
(9)駆動ローラ21を駆動させることで、第2のアーム43aを回動させて、搬送ベルト離間ユニット76(71)を下降させる。
(10)搬送ベルト離間ユニット76の第1のアーム41bが位置決めピン8bに当接する位置に達すると、回転位置検出センサ10によって、搬送ベルト離間ユニット76が画像記録位置に達したことが感知される。
(11)ソレノイド11bの軸を突出させて、その軸を第1のアーム41bに形成された位置決め穴74bに挿入し、第1のアーム41bを画像記録位置でロックする。よって、搬送ベルト離間ユニット76(71)を画像記録位置にて、ロックするという過程を経て、画像記録状態に復帰する。
尚、本実施形態では、搬送ベルト6とプラテン19との離間処理と、クリーニングユニット7によるプラテン19のクリーニング処理とを一連の流れで実施するものとして説明したが、これに限られるものではない。例えば、プラテン19の表面の汚れが激しく、クリーニングユニット7によるクリーニングだけでは不十分と判断される場合、ユーザーあるいはサービスマンによって直接、クリーニングしてもよい。
この場合には、オペレーションパネルでの操作上、1回目のボタン押下で搬送ベルト離間ユニットを上昇させ、2回目のボタン押下で搬送ベルト離間ユニットを下降させるようにすれば、ユーザーやサービスマンによって直接プラテン19を拭き取りクリーニングすることが可能となる。また、画像記録状態において、搬送ベルト離間ユニットには、搬送ベルトと当接することで搬送ベルトにテンションを加える機能を持たせているが、これに限られるものではなく、搬送ベルトに当接させなくてもよい。
本実施形態は、このような構成により以下の効果を奏する。
第1に、搬送ベルトとプラテンの間を自動的に離間させることにより、ユーザーでも容易に搬送ベルト裏面及びプラテン表面をクリーニングすることができる。第2に、クリーニングユニットを設置することで自動的にクリーニングが行える。第3に、搬送ベルト離間ユニットは、搬送ベルトをプラテンから離間させていない画像記録状態において、搬送ベルトにテンションを加えるテンション機構も兼ね備えることができる。第4に、搬送ベルトを昇降させる搬送ベルト離間ユニットの駆動源を、搬送ベルト駆動用の駆動源と共用にしたことで、駆動源の部品点数を削減できる。第5に、搬送ベルト離間ユニットが搬送ベルトに当接する部位として回動可能なローラ(テンションローラ)を採用しているため、搬送ベルト離間ユニットが回動しながら上昇下降する際に発生するローラと搬送ベルトとの間に摩擦抵抗が極めて小さくなり、搬送ベルトの摩耗が少なくなる。
次に、第2の実施形態に係るインクジェット記録装置の搬送ベルト離間機構について説明する。
図28は、搬送ベルト離間機構の概略斜視図である。図29は、駆動ローラの正面端部詳細図である。図30は、搬送ベルトを除いた全体斜視図である。図31は、搬送ベルトとプラテンを除いた全体斜視図である。図32(a)、(b)は、昇降状態を示す正面図である。
本実施形態は、前述した第1の実施形態における駆動ローラ及び従動ローラに設置したテンションローラで搬送ベルトを昇降させるのではなく、プラテンに形成された溝に搬送ベルトとプラテンを離間させる部材を配置し、その部材を上昇させることによって空間を形成するようにしたものである。以下の説明においては、第1の実施形態と異なる部分についてのみ説明する。
駆動モータ5にベルト等を用いて連結された駆動ローラ21の正面端部には、第1の電磁クラッチ23が設置される。内部構造は、第1の実施形態と同じである。第1の電磁クラッチ23のアーマチュア31には、ピニオン101が固定されている。ピニオン101と噛み合う位置にラック27を設けている。ベルト離間ユニット107a〜107dはそれぞれフロントフレーム14及びリアフレーム15にそれぞれ設置しており、互いに構成は同じである。
フロントフレーム14側のベルト離間ユニット107aとリアフレーム15側の107cはギヤ回転用軸109によって連結されている。また107bと107dも前記と同様にギヤ回転用軸109によって連結されている。ギヤ回転用軸109は図示しないベアリングによってフロントフレーム14とフロントフレーム15によって支持されている。107a〜107dの構成は、ラック27に噛み合う位置にギヤ102、ギヤ102と噛み合い、搬送ベルト6を昇降させる方向にラック105を設置し、ラック105にはスライド用穴が設けられており、フロントフレーム14及びリアフレーム15に固着されたスライドガイドピンC103と抜け防止のEリング104によって保持されている。
ベルト離間ユニット107a、107cのラック105の上端には、ベルト離間板A106が設けられている。つまり、ベルト離間板A106の両端に、ベルト離間ユニット107aと107cのラック105がそれぞれ固定されている。ベルト離間ユニット107b、107dのラック105間は、ベルト離間板B108が固定されている。即ち、ベルト離間板B108の両端に、ベルト離間ユニット107bと107dのラック105がそれぞれ固定されている。ベルト離間板A106、ベルト離間板B108の上面は、プラテン19の表面よりも下になるように設置している。つまり、ベルト離間板B108の上面は、プラテン19の表面と同一面位置ではない。また、ラック105の上下位置を検知するセンサを設けても良い。
このように構成された搬送ベルト離間機構の動作について説明する。
ここで、図28は、画像記録状態を示している。搬送ベルト6とプラテン19を離間させる場合は、図示しないオペレーションパネル等で実行開始を選択すると、第1の実施形態と同様に第1の電磁クラッチ23のアーマチュア31とロータ30が結合し、アーマチュア31に固着されているピニオン101も駆動ローラ21と一体的になる。
駆動モータ5が時計回りに回動するとピニオン101が回動し、ラック27が図32(a)に示すJ方向に移動する。ラック27が移動すると、ラック27に噛み合っている107a、107bのギヤ102が回動し(図32(a)K方向)、且つ、リアフレーム15に設置しているベルト離間ユニット107c、107dのギヤ102もギヤ回転用軸109によって同時に回動するフロントフレーム14、リアフレーム15のギヤ102が回動すると、ラック105が図32(b)で示すL方向に移動する。
ラックがL方向に移動すると、ラック105に結合しているベルト離間板A106及びベルト離間板B108によって搬送ベルト6が上昇し、搬送ベルト6とプラテン19との間に空間が形成される。
画像記録状態に戻すには駆動モータ5を反時計回りに稼動させ、ベルト離間板A106及びベルト離間板B108を下降させ、プラテンに形成された溝に格納した後、第1の電磁クラッチ23をOFFし、アーマチュア31とロータ30を分離させる。
本実施形態によれば、前述した第1の実施形態と同等の効果が得られ、さらに、第1の実施形態に比べ、簡易な構造となり、安価で実現できる。
次に、第3の実施形態に係るインクジェット記録装置の搬送ベルト離間機構について説明する。
図33及び、図34(a),(b)には、本実施形態の搬送ベルト離間機構の概念的な構成を示す。プラテン200の搬送ベルト6の設置領域以外の箇所、本実施形態では、両側端に複数の切り欠き部を形成する。各切り欠き部には、ソレノイドまたはシリンダ201a〜201d等の簡単に上下できるアクチュエータを設置する。ソレノイドまたはシリンダ201a〜201dの先端は、画像記録時にはプラテン200表面よりも低い位置になるように設置される。尚、プラテン200の切り欠き部は、必ずしも切欠形状である必要はなく、ソレノイド又はシリンダ201a〜201dの軸が通過できる穴でもよい。また、図示していないが、ソレノイドまたはシリンダ201a〜201dにおいて、搬送ベルト6に当接する先端部分は、搬送ベルト6に変形等の損傷を与えないように、ある程度の面積を持った面を有している。 これらのソレノイド又はシリンダ201a〜201dを駆動させ、軸を図34(b)に示すM方向に延出させることによって、搬送ベルト6を上方に持ち上げてプラテン200と離間させて空間を形成する。
本実施形態は、前述した第1の実施形態と同等の効果が得られ、さらに、第1の実施形態に比べ、簡易な構造となり、安価で実現できる。さらに、プラテン200が搬送方向に長尺な場合には、前述した第1の実施形態のように上流下流側の上昇だけでは、ベルトの自重の撓みによりベルト中央部分にクリーニングユニットが挿入できる十分なスペースが確保されない場合には、本実施形態の構成が好適する。
図35(a)、(b)は、本発明の第3の実施形態の第1の変形例を示す。
前述した第3の実施形態において、ソレノイドまたはシリンダ201a〜201dの先端に、搬送ベルト6の幅方向に橋渡しされる少なくとも2つのベルト離間板B203を設置した構成である。前述した第3の実施形態と同様に、画像記録時はベルト離間板B203の上面はプラテン202表面より下方に位置している。
本変形例は、前述した第3の実施形態と同じ作用であり、その効果は第3の実施形態に比べ、搬送ベルトをより多くの面積を当て付けて昇降でき、搬送ベルトを持ち上げたときの搬送ベルトの弛みを低減することができる。尚、ベルト離間板B203は、駆動ローラ21及び従動ローラ16の近接又は近傍に配置することが好ましく、離間距離を得ることにより、プラテン端側のクリーニング処理を実施しやすくする。
図36は、本発明の第3の実施形態の第2の変形例を示すものである。
本変形例では、板状のベルト離間板B203に換わって、四角の枠状構造のベルト離間枠C204に形成される。
ベルト離間枠C204は、四隅に駆動系となるソレノイドまたはシリンダ201a〜201dが配置される。このベルト離間枠C204は、ソレノイドまたはシリンダ201a〜201dの昇降により、搬送ベルト6を均一的に上昇させて、プラテンと離間させる。本変形例は、前述した第1の変形例と同様に、搬送ベルトを持ち上げたときの搬送ベルトの弛みを低減することができる。
図37は本発明の第3の実施形態の第3の変形例を示すものである。
第3の実施形態の第2の変形例と同様なベルト離間板D205を複数のガイド209a〜209dによって保持し、ベルト離間板D205の近傍に支持板207を配置し、ベルト離間板Dと結合させ、支持板207はボールネジ208用のネジが切られボールネジ208が挿入されている。ボールネジ208は図示しないカップリングによって昇降用モータ206に連結されている。
第3の実施形態と同様に画像記録時はベルト離間板Dの上面はプラテン202表面より下方に位置している。上記の構成を用いて作用を説明する。搬送ベルト6とプラテン202との間に空間を形成する際は昇降用モータ206を駆動させることにより昇降用モータ206の軸が回動し、図示しないカップリングによってボールネジ208が回動し、支持板207及び支持板207に結合されているベルト離間板D205をガイド209に沿って上昇させ、搬送ベルト6とプラテン202の間に空間が形成される。効果はガイドで案内することで、ベルト離間板がスムーズに移動することができ、更に昇降用モータを使用することでベルト離間板が任意の位置で昇降させることができる。
次に、第4の実施形態に係るインクジェット記録装置の搬送ベルト離間機構について説明する。
図38(a)、(b)は、本発明の第4の実施形態の構成例を示す。プラテン300の中央にソレノイドまたはシリンダなどの直動アクチュエータ301を配置し、図38(a)に示す矢印N方向に直動アクチュエータ301の軸を移動させることにより、プラテン300の下降を行う。本実施形態によれば、1つのアクチュエータでプラテン自体の昇降が行え、コストを低減できる。
図39は、本発明の第4の実施形態の第1の変形例を示す。
この第1の変形例は、プラテン300の複数個所にガイド302を設置した構成である。本変形例は、前述した第4の実施形態と同じ昇降により、プラテンとベルトとの間に離間するスペースを形成することができる。第4の実施形態よりも、直動アクチュエータの軸回転の影響を受けず、プラテンの昇降位置が正確に位置決めできる。
次に、第5の実施形態に係るインクジェット記録装置の離間機構について説明する。
図40(a)、(b)は、駆動ローラ21及び従動ローラ16の回転軸に連結して、それぞれ内側に延出する昇降用アーム402を設置する。昇降用アーム402のもう一方には、ベルト離間ローラ401をそれぞれに配置している。
2つのベルト離間ローラ401は、記録媒体の搬送方向でプラテン400を両側から昇降可能に支持している。昇降用アーム402の回転機構は、前述した第1の実施形態と同等であり、ベルト離間ユニット403は、図40(a)の矢印P方向に回動する。昇降用アーム402は、上昇位置において画像記録位置となり、下降位置でメンテナンス位置となる。本実施形態の構成においては、前述した第1の実施形態におけるベルト離間ユニット71,76,77,78のテンション機構を削除し、第1のアーム41と第2のアーム43を一体化した構成である。昇降用アーム402の移動は、第1の実施形態と同じである。
このような構成により、プラテンを昇降するための構成部位、例えば、ソレノイド、シリンダ及びモータ等のアクチュエータを設置することなく、搬送ベルトを駆動させる駆動モータを流用することにより低コストでコスト実現することができる。
次に、第6の実施形態に係るに係るインクジェット記録装置の搬送ベルト離間機構について説明する。
図41(a)は、本実施形態における搬送ベルト離間機構の外観構成を示す。図41(b)は、ユーザーに対する警告表示の一例を示す。
搬送ベルト6の画像記録領域外に搬送ベルト6の回転速度を計測する非接触センサ500と回転検出用のセンサ識別用部材501を設け、インクジェット記録装置1にオペレーションパネル502を設置した。搬送ベルト6の回転速度を非接触センサ500とセンサ識別用部材501によって1回乃至複数回転の速度を計測して、良好な画像記録を実現する速度の閾値として保存する。起動時の初期化実施時、又は画像記録時にモニタして、閾値より遅くなった場合には、良好な画像記録を行う速度ではないことを、図41(b)に示すように、オペレーションパネル502に警告表示させる。また、随時、取得した搬送ベルト6の速度が閾値よりも速度低下すると、自動的にクリーニングモードが起動して、搬送ベルトとプラテンを離間させる動作を実行する。
本実施形態は、前述した第1乃至第5の実施形態における搬送ベルト離間機構に搭載することにより、不良検出を常時、行うことにより、不良な記録画像の発生を防止することができる。
以上説明した各実施形態及びそれらの変形例によれば、搬送ベルトとプラテンとの間に空間を形成し、その空間を利用して手動または自動で搬送ベルト裏面及びプラテン表面をクリーニングすることにより搬送ベルトの摺動抵抗を減少させ、常に良好な画像記録が行え、またクリーニングをユーザーが容易にできるようにすることで、サービスマンがユーザー先に出向かずに済みユーザーにとって経費削減になるインクジェット記録装置を提供することができる。
以上説明した各実施形態及び変形例は、以下の発明を含んでいる。
(1)複数のローラに巻き掛けられた搬送ベルトと、搬送ベルトを回動させるための搬送ベルト駆動モータと、搬送ベルトに掛けられた複数のローラと搬送ベルトを支持する部材(以下プラテン)を介して吸着部により画像形成媒体を表面に吸着搬送する画像形成媒体搬送部と、該画像形成媒体搬送部により搬送されてきた画像形成媒体に対してインクを吹き付けることにより画像形成媒体に画像を形成する画像記録部とを備えたインクジェット記録装置において、搬送ベルトとプラテンとの間に空間を形成させる離間機構を有することを特徴とするインクジェット記録装置。
(2)搬送ベルトとプラテンとの間の空間の形成を複数の空間形成ローラによって行うことを特徴とする前記(1)項に記載のインクジェット記録装置。
(3)空間形成ローラは必要な時に搬送ベルトを回動させる駆動ローラに追従することを特徴とする前記(2)項に記載のインクジェット記録装置。
(4)空間形成ローラは搬送ベルト(駆動軸)を回動させる駆動モータを用いて回動することを特徴とする前記(2)項に記載のインクジェット記録装置。
(5)駆動ローラ側、従動ローラ側の空間形成ローラはラックとピニオンやプーリとタイミングベルトなどで連結されていることを特徴とする前記(2)項に記載のインクジェット記録装置。
(6)空間形成ローラは搬送ベルトのテンション調整機構を有することを特徴とする前記(2)項に記載のインクジェット記録装置。
(7)搬送ベルトとプラテンとの間にできた空間に挿入され、自動で搬送ベルト裏面及びプラテン表面をクリーニングするクリーニング機構を有することを特徴とする前記(2)項に記載のインクジェット記録装置。
(8)クリーニング機構のクリーニング部は容易に交換可能であることを特徴とする前記(7)項に記載のインクジェット記録装置。
(9)搬送ベルトとプラテンとの間の空間の形成をプラテン表面に形成した溝に設置してある離間材を用いて行うことを特徴とする前記(1)項に記載のインクジェット記録装置。
(10)プラテン表面に形成した溝に設置してある離間材の昇降をソレノイドバルブ、シリンダ、及びモータとボールネジで行うことを特徴とする前記(9)項に記載のインクジェット記録装置。
(11)プラテン表面に形成した溝に設置してある離間材を駆動ローラに連結されたピニオンとピニオンに噛み合うラックを利用して昇降させることを特徴とする前記(9)項に記載のインクジェット記録装置。
(12)搬送ベルトとプラテンとの間の空間の形成をプラテンの昇降によって行うことを特徴とする前記(1)項に記載のインクジェット記録装置。
(13)プラテンの昇降をソレノイドバルブ、シリンダ、及びモータとボールネジで行うことを特徴とした前記(12)項に記載のインクジェット記録装置。
(14)搬送ベルトの速度を検知し、過去の速度の履歴と比較し、クリーニング時期を知らせる機能を有することを特徴とする前記(1)項に記載のインクジェット記録装置。
図1は、本実施形態のインクジェット記録装置の全体構成を示す概略斜視図である。 図2は、インクジェット記録装置内の画像形成媒体搬送部の画像記録状態を示す正面斜視図である。 図3は、画像形成媒体搬送部の画像記録状態を示す背面斜視図である。 図4は、画像記録状態にある画像形成媒体搬送部の一部をカットした構成を示す正面斜視図である。 図5は、画像形成媒体搬送部のプラテン及びプラテン下の吸引ファンを除いた正面斜視図である。 図6は、駆動ローラの正面側端部に設置している搬送ベルト離間機構を示す斜視図である。 図7は、図6に示す搬送ベルト離間機構を反対方向からみた斜視図である。 図8は、駆動ローラの正面側端部に設置した搬送ベルト離間機構を軸方向に切断した断面図である。 図9は、従動ローラの正面側端部に設けられた搬送ベルト離間機構を示す斜視図である。 図10は、背面側に設置された搬送ベルト離間機構の一部を示す図である。 図11は、駆動ローラの背面側端部に設置している搬送ベルト離間機構を示す斜視図である。 図12は、図11を正面から見た搬送ベルト離間機構を示す図である。 図13は、従動ローラの背面側端部に設けられた搬送ベルト離間機構を示す斜視図である。 図14は、画像形成媒体搬送部の画像記録状態を示す搬送ベルト離間機構の背面下方斜視図である。 図15は、画像記録時の駆動ローラ側の搬送ベルト離間機構の位置決め機構を示す斜視図である。 図16は、画像記録時の従動ローラ側の搬送ベルト離間機構の位置決め機構を示す斜視図である。 図17は、搬送ベルトの中央部にある搬送ベルトテンション機構の正面図である。 図18は、画像形成媒体の搬送部近傍に設置されているクリーニングユニットの斜視図である。 図19(a)は、クリーニングユニットの断面構成を示す図、図19(b)は、クリーニングユニットの端部の斜視図、図19(c)は洗浄ユニットの左断面図、図19(d)はガイドの形状を示す斜視図である。 図20は、しクリーニング時の搬送ベルト離間機構の位置状態を示すフレーム構成斜視図である。 図21は、搬送ベルト離間機構のクリーニング時の位置決め部材を内側から見た拡大図である。 図22は、搬送ベルト離間機構のクリーニング時の位置決め部材を外側から見た拡大図である。 図23(a)〜(c)は、搬送ベルトとプラテンを離間させる過程を示す正面図である。 図24は、クリーニングユニットの動作を説明するための斜視図である。 図25は、クリーニングユニットによる動作を示す上面図である。 図26は、クリーニングユニットの断面構成を示す図である。 図27は、クリーニングユニットのクリーニング棒の動作について説明するための断面図である。 図28は、第2の実施形態に係るインクジェット記録装置の搬送ベルト離間機構の概略斜視図である。 図29は、駆動ローラの正面端部を示す図である。 図30は、搬送ベルト離間機構における搬送ベルトを除いた全体斜視図である。 図31は、搬送ベルト離間機構における搬送ベルトとプラテンを除いた全体斜視図である 図32(a)、(b)は、搬送ベルト離間機構における昇降状態について説明するための図である。 図33は、第3の実施形態に係るインクジェット記録装置の離間機構を示す斜視図である。 図34(a),(b)は、インクジェット記録装置の離間動作について説明するための図である。 図35(a)、(b)は、第3の実施形態の第1の変形例の離間機構を示す図である。 図36は、第3の実施形態の第2の変形例の離間機構の離間機構を示す図である。 図37は、第3の実施形態の第3の変形例を示すものである。 図38(a)、(b)は、第4の実施形態に係るインクジェット記録装置の離間機構を示すものである。 図39は、第4の実施形態における第1の変形例を示す図である。 図40(a)、(b)は、第5の実施形態に係るインクジェット記録装置の離間機構を示す図である。 図41(a)は、第6の実施形態に係るインクジェット記録装置の離間機構を示す斜視図、図41(b)は、警告表示の一例を示す図である。
符号の説明
1…インクジェット記録装置、2…キャリッジ、3…メンテナンスユニット、4…画像形成媒体搬送部、5…搬送ベルト駆動モータ、6…搬送ベルト、7…クリーニングユニット、14…フロントフレーム、15…リアフレーム、16…従動ローラ、19…プラテン、20…吸引ファン、21…駆動ローラ、35a,35b,35c,35d…Eリング、A39a,39b,39c,39d…スライドピン、40a,40b…ベアリング、41a,41b,41c,41d…第1のアーム、43a,43b,43c,43d…第2のアーム、A73,B17,C18…テンションローラ、71,76…搬送ベルト離間ユニット、80…ガイド、81…長穴。

Claims (13)

  1. インクを記録媒体に吐出して画像記録するインクジェットヘッドと、
    前記記録媒体を保持して搬送するために、前記インクジェットヘッドに対向して配設され、少なくとも駆動ローラ及び従動ローラとの間に掛け回された無端状の搬送ベルトと、
    前記駆動ローラ及び前記従動ローラとの間に配置され、前記搬送ベルトの裏面に当接して該搬送ベルトの平面度を保持するプラテンと、
    前記搬送ベルトの裏面から前記プラテンを相対的に離間させる離間機構と、
    を有することを特徴とするインクジェット記録装置。
  2. 前記離間機構は、前記プラテンに対して、前記搬送ベルトを上昇させて離間させることを特徴とする請求項1記載のインクジェット記録装置。
  3. 前記離間機構は、
    前記搬送ベルトの裏面に当接する当接部材と、
    少なくとも、前記搬送ベルトの裏面が前記プラテンに当接する位置と、前記搬送ベルトの裏面が所定距離だけ前記プラテンから離間する位置との間を、前記当接部材を移動させる駆動部と、
    を有することを特徴とする請求項2記載のインクジェット記録装置。
  4. 前記当接部材は、それぞれが一端に前記駆動部の連結する回動軸を有し、他端に回動可能にローラが設けられる複数のアームを備え、
    前記駆動部は、それぞれの前記アームを、前記回動軸を中心に回動させる駆動モータを有することを特徴とする請求項3記載のインクジェット記録装置。
  5. 前記駆動モータは、前記駆動ローラの駆動源と共用であることを特徴とする請求項4記載のインクジェット記録装置。
  6. 複数の前記アームのうちの第1のアームは、その回動軸が前記駆動ローラの回転軸と同軸であり、第2のアームは、その回動軸が前記従動ローラの回転軸と同軸であることを特徴とする請求項5記載のインクジェット記録装置。
  7. 前記駆動モータの駆動力を前記第1のアーム及び前記第2のアームに選択的に伝達する伝達部材を有することを特徴とする請求項6記載のインクジェット記録装置。
  8. 前記当接部材が前記搬送ベルトを所定距離まで離間した離間位置に到達したことを検知するセンサを有し、
    前記センサによって前記離間位置への到達が検知されることにより、前記駆動部は前記当接部材の駆動を停止させると共に、前記当接部材を離間位置で固定することを特徴とする請求項3記載のインクジェット記録装置。
  9. 前記搬送ベルトにテンションを印加するテンションローラを有し、
    前記離間機構は、前記テンションローラが前記搬送ベルトに与える前記テンション以上の力量で前記搬送ベルトを前記プラテンから離間させることを特徴とする請求項2記載のインクジェット記録装置。
  10. 前記当接部材は、前記プラテン上の両端に形成された複数のプラテン幅方向の溝にそれぞれ配設され、前記プラテンの幅に相当する長さを有する複数の棒状部材を有し、
    前記駆動部は、前記棒状部材をプラテン上方に向けて直線移動させる駆動モータを有することを特徴とする請求項3記載のインクジェット記録装置。
  11. 前記駆動部は、ソレノイドバルブ、シリンダ、またはモータ及びボールネジのうちのいずれかにより構成されることを特徴とする請求項10記載のインクジェット記録装置。
  12. 前記離間機構は、前記搬送ベルトから前記プラテンを下降させて離間させることを特徴とする請求項1記載のインクジェット記録装置。
  13. 前記離間機構は、ソレノイドバルブ、シリンダ、またはモータ及びボールネジのうちのいずれかにより構成されることを特徴とする請求項12記載のインクジェット記録装置。
JP2008209257A 2008-08-15 2008-08-15 インクジェット記録装置 Active JP5193738B2 (ja)

Priority Applications (1)

Application Number Priority Date Filing Date Title
JP2008209257A JP5193738B2 (ja) 2008-08-15 2008-08-15 インクジェット記録装置

Applications Claiming Priority (1)

Application Number Priority Date Filing Date Title
JP2008209257A JP5193738B2 (ja) 2008-08-15 2008-08-15 インクジェット記録装置

Publications (2)

Publication Number Publication Date
JP2010042628A true JP2010042628A (ja) 2010-02-25
JP5193738B2 JP5193738B2 (ja) 2013-05-08

Family

ID=42014399

Family Applications (1)

Application Number Title Priority Date Filing Date
JP2008209257A Active JP5193738B2 (ja) 2008-08-15 2008-08-15 インクジェット記録装置

Country Status (1)

Country Link
JP (1) JP5193738B2 (ja)

Cited By (3)

* Cited by examiner, † Cited by third party
Publication number Priority date Publication date Assignee Title
CN105150696A (zh) * 2015-09-18 2015-12-16 深圳市润天智数字设备股份有限公司 一种喷墨印刷机的输送平台装置
US10619531B2 (en) 2017-02-15 2020-04-14 Riso Kagaku Corporation Image forming device
EP3796096A1 (en) * 2019-09-20 2021-03-24 Konica Minolta, Inc. Image forming apparatus

Citations (3)

* Cited by examiner, † Cited by third party
Publication number Priority date Publication date Assignee Title
JPH08156353A (ja) * 1994-10-07 1996-06-18 Canon Inc プリント装置
JP2002370416A (ja) * 2001-03-23 2002-12-24 Konica Corp インクジェットプリンタ
JP2006035635A (ja) * 2004-07-27 2006-02-09 Ricoh Co Ltd ベルト搬送装置及び該ベルト搬送装置を用いた画像形成装置

Patent Citations (3)

* Cited by examiner, † Cited by third party
Publication number Priority date Publication date Assignee Title
JPH08156353A (ja) * 1994-10-07 1996-06-18 Canon Inc プリント装置
JP2002370416A (ja) * 2001-03-23 2002-12-24 Konica Corp インクジェットプリンタ
JP2006035635A (ja) * 2004-07-27 2006-02-09 Ricoh Co Ltd ベルト搬送装置及び該ベルト搬送装置を用いた画像形成装置

Cited By (3)

* Cited by examiner, † Cited by third party
Publication number Priority date Publication date Assignee Title
CN105150696A (zh) * 2015-09-18 2015-12-16 深圳市润天智数字设备股份有限公司 一种喷墨印刷机的输送平台装置
US10619531B2 (en) 2017-02-15 2020-04-14 Riso Kagaku Corporation Image forming device
EP3796096A1 (en) * 2019-09-20 2021-03-24 Konica Minolta, Inc. Image forming apparatus

Also Published As

Publication number Publication date
JP5193738B2 (ja) 2013-05-08

Similar Documents

Publication Publication Date Title
US7789484B2 (en) Printer-plotter and method for printing and cutting
JP6620509B2 (ja) 印刷装置
US20210237480A1 (en) Recording apparatus
US8529017B2 (en) Printhead cleaning web assembly
JP6891487B2 (ja) 印刷装置
US20240424793A1 (en) Recording apparatus
JP2019043031A (ja) ワイパーユニット、液体噴射装置及びワイピング部材のエンド状態判断方法
JP2014040678A (ja) 液体噴射装置
JP5193738B2 (ja) インクジェット記録装置
EP3636439A1 (en) Roll device, roll apparatus, head maintenance device, and liquid discharge apparatus
JP5638972B2 (ja) 液体吐出装置
US8100398B2 (en) Printer media transport system
US9199496B2 (en) Belt cleaner and image forming apparatus
JP2012061829A (ja) 液体吐出装置
JP7013763B2 (ja) 払拭装置及び液滴吐出装置
JP2012020523A (ja) インクジェット記録装置
JP2025062711A (ja) 記録装置
JP2015047761A (ja) インクジェット記録装置
JP5614192B2 (ja) 記録装置、及び記録装置の制御方法
JP5932695B2 (ja) ベルトクリーニング装置及び画像形成装置
JP5982335B2 (ja) ベルトクリーニング装置及び画像形成装置
CN108688320B (zh) 液体喷出装置
JP7043385B2 (ja) インクジェットプリンタおよびクリーニング用のコンピュータプログラム
CN107042707A (zh) 液体喷出装置
JP5918717B2 (ja) ベルトクリーニング装置及び画像形成装置

Legal Events

Date Code Title Description
A711 Notification of change in applicant

Free format text: JAPANESE INTERMEDIATE CODE: A711

Effective date: 20110225

A711 Notification of change in applicant

Free format text: JAPANESE INTERMEDIATE CODE: A711

Effective date: 20110616

A621 Written request for application examination

Free format text: JAPANESE INTERMEDIATE CODE: A621

Effective date: 20110705

A711 Notification of change in applicant

Free format text: JAPANESE INTERMEDIATE CODE: A712

Effective date: 20111201

A977 Report on retrieval

Free format text: JAPANESE INTERMEDIATE CODE: A971007

Effective date: 20121003

A131 Notification of reasons for refusal

Free format text: JAPANESE INTERMEDIATE CODE: A131

Effective date: 20121016

A521 Request for written amendment filed

Free format text: JAPANESE INTERMEDIATE CODE: A523

Effective date: 20121210

TRDD Decision of grant or rejection written
A01 Written decision to grant a patent or to grant a registration (utility model)

Free format text: JAPANESE INTERMEDIATE CODE: A01

Effective date: 20130108

A61 First payment of annual fees (during grant procedure)

Free format text: JAPANESE INTERMEDIATE CODE: A61

Effective date: 20130204

R150 Certificate of patent or registration of utility model

Ref document number: 5193738

Country of ref document: JP

Free format text: JAPANESE INTERMEDIATE CODE: R150

Free format text: JAPANESE INTERMEDIATE CODE: R150

FPAY Renewal fee payment (event date is renewal date of database)

Free format text: PAYMENT UNTIL: 20160208

Year of fee payment: 3

R250 Receipt of annual fees

Free format text: JAPANESE INTERMEDIATE CODE: R250

R250 Receipt of annual fees

Free format text: JAPANESE INTERMEDIATE CODE: R250

R250 Receipt of annual fees

Free format text: JAPANESE INTERMEDIATE CODE: R250

R250 Receipt of annual fees

Free format text: JAPANESE INTERMEDIATE CODE: R250

R250 Receipt of annual fees

Free format text: JAPANESE INTERMEDIATE CODE: R250

R250 Receipt of annual fees

Free format text: JAPANESE INTERMEDIATE CODE: R250

R250 Receipt of annual fees

Free format text: JAPANESE INTERMEDIATE CODE: R250

R250 Receipt of annual fees

Free format text: JAPANESE INTERMEDIATE CODE: R250

R250 Receipt of annual fees

Free format text: JAPANESE INTERMEDIATE CODE: R250

R250 Receipt of annual fees

Free format text: JAPANESE INTERMEDIATE CODE: R250

R250 Receipt of annual fees

Free format text: JAPANESE INTERMEDIATE CODE: R250