JP2010042281A - 創傷処置装置 - Google Patents

創傷処置装置 Download PDF

Info

Publication number
JP2010042281A
JP2010042281A JP2009236963A JP2009236963A JP2010042281A JP 2010042281 A JP2010042281 A JP 2010042281A JP 2009236963 A JP2009236963 A JP 2009236963A JP 2009236963 A JP2009236963 A JP 2009236963A JP 2010042281 A JP2010042281 A JP 2010042281A
Authority
JP
Japan
Prior art keywords
canister
control unit
wound
housing
vacuum
Prior art date
Legal status (The legal status is an assumption and is not a legal conclusion. Google has not performed a legal analysis and makes no representation as to the accuracy of the status listed.)
Granted
Application number
JP2009236963A
Other languages
English (en)
Other versions
JP5118113B2 (ja
Inventor
James Robert Risk Jr
リスク,ジェームズ,ロバート,ジュニア
Robert Petrosenko
ペトロセンコー,ロバート
Current Assignee (The listed assignees may be inaccurate. Google has not performed a legal analysis and makes no representation or warranty as to the accuracy of the list.)
KCI Medical Resources ULC
Original Assignee
KCI Medical Resources ULC
Priority date (The priority date is an assumption and is not a legal conclusion. Google has not performed a legal analysis and makes no representation as to the accuracy of the date listed.)
Filing date
Publication date
Family has litigation
First worldwide family litigation filed litigation Critical https://patents.darts-ip.com/?family=29714714&utm_source=google_patent&utm_medium=platform_link&utm_campaign=public_patent_search&patent=JP2010042281(A) "Global patent litigation dataset” by Darts-ip is licensed under a Creative Commons Attribution 4.0 International License.
Priority claimed from US10/159,720 external-priority patent/US6824533B2/en
Priority claimed from US10/159,583 external-priority patent/US6764462B2/en
Application filed by KCI Medical Resources ULC filed Critical KCI Medical Resources ULC
Publication of JP2010042281A publication Critical patent/JP2010042281A/ja
Application granted granted Critical
Publication of JP5118113B2 publication Critical patent/JP5118113B2/ja
Anticipated expiration legal-status Critical
Expired - Fee Related legal-status Critical Current

Links

Images

Classifications

    • AHUMAN NECESSITIES
    • A61MEDICAL OR VETERINARY SCIENCE; HYGIENE
    • A61MDEVICES FOR INTRODUCING MEDIA INTO, OR ONTO, THE BODY; DEVICES FOR TRANSDUCING BODY MEDIA OR FOR TAKING MEDIA FROM THE BODY; DEVICES FOR PRODUCING OR ENDING SLEEP OR STUPOR
    • A61M1/00Suction or pumping devices for medical purposes; Devices for carrying-off, for treatment of, or for carrying-over, body-liquids; Drainage systems
    • A61M1/71Suction drainage systems
    • A61M1/78Means for preventing overflow or contamination of the pumping systems
    • AHUMAN NECESSITIES
    • A61MEDICAL OR VETERINARY SCIENCE; HYGIENE
    • A61MDEVICES FOR INTRODUCING MEDIA INTO, OR ONTO, THE BODY; DEVICES FOR TRANSDUCING BODY MEDIA OR FOR TAKING MEDIA FROM THE BODY; DEVICES FOR PRODUCING OR ENDING SLEEP OR STUPOR
    • A61M1/00Suction or pumping devices for medical purposes; Devices for carrying-off, for treatment of, or for carrying-over, body-liquids; Drainage systems
    • A61M1/71Suction drainage systems
    • A61M1/78Means for preventing overflow or contamination of the pumping systems
    • A61M1/784Means for preventing overflow or contamination of the pumping systems by filtering, sterilising or disinfecting the exhaust air, e.g. swellable filter valves
    • AHUMAN NECESSITIES
    • A61MEDICAL OR VETERINARY SCIENCE; HYGIENE
    • A61MDEVICES FOR INTRODUCING MEDIA INTO, OR ONTO, THE BODY; DEVICES FOR TRANSDUCING BODY MEDIA OR FOR TAKING MEDIA FROM THE BODY; DEVICES FOR PRODUCING OR ENDING SLEEP OR STUPOR
    • A61M1/00Suction or pumping devices for medical purposes; Devices for carrying-off, for treatment of, or for carrying-over, body-liquids; Drainage systems
    • A61M1/90Negative pressure wound therapy devices, i.e. devices for applying suction to a wound to promote healing, e.g. including a vacuum dressing
    • A61M1/91Suction aspects of the dressing
    • A61M1/918Suction aspects of the dressing for multiple suction locations
    • AHUMAN NECESSITIES
    • A61MEDICAL OR VETERINARY SCIENCE; HYGIENE
    • A61MDEVICES FOR INTRODUCING MEDIA INTO, OR ONTO, THE BODY; DEVICES FOR TRANSDUCING BODY MEDIA OR FOR TAKING MEDIA FROM THE BODY; DEVICES FOR PRODUCING OR ENDING SLEEP OR STUPOR
    • A61M1/00Suction or pumping devices for medical purposes; Devices for carrying-off, for treatment of, or for carrying-over, body-liquids; Drainage systems
    • A61M1/71Suction drainage systems
    • A61M1/73Suction drainage systems comprising sensors or indicators for physical values
    • AHUMAN NECESSITIES
    • A61MEDICAL OR VETERINARY SCIENCE; HYGIENE
    • A61MDEVICES FOR INTRODUCING MEDIA INTO, OR ONTO, THE BODY; DEVICES FOR TRANSDUCING BODY MEDIA OR FOR TAKING MEDIA FROM THE BODY; DEVICES FOR PRODUCING OR ENDING SLEEP OR STUPOR
    • A61M1/00Suction or pumping devices for medical purposes; Devices for carrying-off, for treatment of, or for carrying-over, body-liquids; Drainage systems
    • A61M1/90Negative pressure wound therapy devices, i.e. devices for applying suction to a wound to promote healing, e.g. including a vacuum dressing
    • A61M1/92Negative pressure wound therapy devices, i.e. devices for applying suction to a wound to promote healing, e.g. including a vacuum dressing with liquid supply means
    • AHUMAN NECESSITIES
    • A61MEDICAL OR VETERINARY SCIENCE; HYGIENE
    • A61MDEVICES FOR INTRODUCING MEDIA INTO, OR ONTO, THE BODY; DEVICES FOR TRANSDUCING BODY MEDIA OR FOR TAKING MEDIA FROM THE BODY; DEVICES FOR PRODUCING OR ENDING SLEEP OR STUPOR
    • A61M1/00Suction or pumping devices for medical purposes; Devices for carrying-off, for treatment of, or for carrying-over, body-liquids; Drainage systems
    • A61M1/90Negative pressure wound therapy devices, i.e. devices for applying suction to a wound to promote healing, e.g. including a vacuum dressing
    • A61M1/96Suction control thereof
    • AHUMAN NECESSITIES
    • A61MEDICAL OR VETERINARY SCIENCE; HYGIENE
    • A61MDEVICES FOR INTRODUCING MEDIA INTO, OR ONTO, THE BODY; DEVICES FOR TRANSDUCING BODY MEDIA OR FOR TAKING MEDIA FROM THE BODY; DEVICES FOR PRODUCING OR ENDING SLEEP OR STUPOR
    • A61M1/00Suction or pumping devices for medical purposes; Devices for carrying-off, for treatment of, or for carrying-over, body-liquids; Drainage systems
    • A61M1/90Negative pressure wound therapy devices, i.e. devices for applying suction to a wound to promote healing, e.g. including a vacuum dressing
    • A61M1/98Containers specifically adapted for negative pressure wound therapy
    • A61M1/982Containers specifically adapted for negative pressure wound therapy with means for detecting level of collected exudate
    • AHUMAN NECESSITIES
    • A61MEDICAL OR VETERINARY SCIENCE; HYGIENE
    • A61MDEVICES FOR INTRODUCING MEDIA INTO, OR ONTO, THE BODY; DEVICES FOR TRANSDUCING BODY MEDIA OR FOR TAKING MEDIA FROM THE BODY; DEVICES FOR PRODUCING OR ENDING SLEEP OR STUPOR
    • A61M1/00Suction or pumping devices for medical purposes; Devices for carrying-off, for treatment of, or for carrying-over, body-liquids; Drainage systems
    • A61M1/90Negative pressure wound therapy devices, i.e. devices for applying suction to a wound to promote healing, e.g. including a vacuum dressing
    • A61M1/98Containers specifically adapted for negative pressure wound therapy
    • A61M1/984Containers specifically adapted for negative pressure wound therapy portable on the body
    • AHUMAN NECESSITIES
    • A61MEDICAL OR VETERINARY SCIENCE; HYGIENE
    • A61MDEVICES FOR INTRODUCING MEDIA INTO, OR ONTO, THE BODY; DEVICES FOR TRANSDUCING BODY MEDIA OR FOR TAKING MEDIA FROM THE BODY; DEVICES FOR PRODUCING OR ENDING SLEEP OR STUPOR
    • A61M2205/00General characteristics of the apparatus
    • A61M2205/18General characteristics of the apparatus with alarm
    • AHUMAN NECESSITIES
    • A61MEDICAL OR VETERINARY SCIENCE; HYGIENE
    • A61MDEVICES FOR INTRODUCING MEDIA INTO, OR ONTO, THE BODY; DEVICES FOR TRANSDUCING BODY MEDIA OR FOR TAKING MEDIA FROM THE BODY; DEVICES FOR PRODUCING OR ENDING SLEEP OR STUPOR
    • A61M2205/00General characteristics of the apparatus
    • A61M2205/33Controlling, regulating or measuring
    • A61M2205/3331Pressure; Flow
    • AHUMAN NECESSITIES
    • A61MEDICAL OR VETERINARY SCIENCE; HYGIENE
    • A61MDEVICES FOR INTRODUCING MEDIA INTO, OR ONTO, THE BODY; DEVICES FOR TRANSDUCING BODY MEDIA OR FOR TAKING MEDIA FROM THE BODY; DEVICES FOR PRODUCING OR ENDING SLEEP OR STUPOR
    • A61M2205/00General characteristics of the apparatus
    • A61M2205/33Controlling, regulating or measuring
    • A61M2205/3379Masses, volumes, levels of fluids in reservoirs, flow rates
    • A61M2205/3386Low level detectors
    • AHUMAN NECESSITIES
    • A61MEDICAL OR VETERINARY SCIENCE; HYGIENE
    • A61MDEVICES FOR INTRODUCING MEDIA INTO, OR ONTO, THE BODY; DEVICES FOR TRANSDUCING BODY MEDIA OR FOR TAKING MEDIA FROM THE BODY; DEVICES FOR PRODUCING OR ENDING SLEEP OR STUPOR
    • A61M2205/00General characteristics of the apparatus
    • A61M2205/42Reducing noise
    • AHUMAN NECESSITIES
    • A61MEDICAL OR VETERINARY SCIENCE; HYGIENE
    • A61MDEVICES FOR INTRODUCING MEDIA INTO, OR ONTO, THE BODY; DEVICES FOR TRANSDUCING BODY MEDIA OR FOR TAKING MEDIA FROM THE BODY; DEVICES FOR PRODUCING OR ENDING SLEEP OR STUPOR
    • A61M2205/00General characteristics of the apparatus
    • A61M2205/50General characteristics of the apparatus with microprocessors or computers
    • A61M2205/52General characteristics of the apparatus with microprocessors or computers with memories providing a history of measured variating parameters of apparatus or patient
    • AHUMAN NECESSITIES
    • A61MEDICAL OR VETERINARY SCIENCE; HYGIENE
    • A61MDEVICES FOR INTRODUCING MEDIA INTO, OR ONTO, THE BODY; DEVICES FOR TRANSDUCING BODY MEDIA OR FOR TAKING MEDIA FROM THE BODY; DEVICES FOR PRODUCING OR ENDING SLEEP OR STUPOR
    • A61M2205/00General characteristics of the apparatus
    • A61M2205/70General characteristics of the apparatus with testing or calibration facilities
    • AHUMAN NECESSITIES
    • A61MEDICAL OR VETERINARY SCIENCE; HYGIENE
    • A61MDEVICES FOR INTRODUCING MEDIA INTO, OR ONTO, THE BODY; DEVICES FOR TRANSDUCING BODY MEDIA OR FOR TAKING MEDIA FROM THE BODY; DEVICES FOR PRODUCING OR ENDING SLEEP OR STUPOR
    • A61M2205/00General characteristics of the apparatus
    • A61M2205/84General characteristics of the apparatus for treating several patients simultaneously
    • AHUMAN NECESSITIES
    • A61MEDICAL OR VETERINARY SCIENCE; HYGIENE
    • A61MDEVICES FOR INTRODUCING MEDIA INTO, OR ONTO, THE BODY; DEVICES FOR TRANSDUCING BODY MEDIA OR FOR TAKING MEDIA FROM THE BODY; DEVICES FOR PRODUCING OR ENDING SLEEP OR STUPOR
    • A61M2209/00Ancillary equipment
    • A61M2209/08Supports for equipment
    • A61M2209/084Supporting bases, stands for equipment
    • A61M2209/086Docking stations

Landscapes

  • Health & Medical Sciences (AREA)
  • Heart & Thoracic Surgery (AREA)
  • Vascular Medicine (AREA)
  • Engineering & Computer Science (AREA)
  • Anesthesiology (AREA)
  • Biomedical Technology (AREA)
  • Hematology (AREA)
  • Life Sciences & Earth Sciences (AREA)
  • Animal Behavior & Ethology (AREA)
  • General Health & Medical Sciences (AREA)
  • Public Health (AREA)
  • Veterinary Medicine (AREA)
  • Media Introduction/Drainage Providing Device (AREA)
  • External Artificial Organs (AREA)
  • Surgical Instruments (AREA)

Abstract

【課題】創傷に対して流体を投薬し、かつ、創傷から流体を吸引除去するタイプの真空包帯と共に使用される創傷処置装置を提供する。
【解決手段】創傷処置装置2は、アラームおよびアラームの各起動に関連する情報を提供するアラームログを表示するディスプレーを含むコントロールユニットを含む。ディスプレーはまた、創傷処置装置2の操作法をユーザーに教示する情報も表示する。コントロールユニットを較正する方法も開示する。コントロールユニットは、真空創傷包帯14からの廃棄物を収集するキャニスター26、創傷を洗浄するための流体供給源24、および、流体供給源24を少なくとも部分的に覆うドアを有する。
【選択図】図1

Description

<関連出願に対するクロスリファレンス>
本特許出願は、2002年5月31日に出願された米国特許出願番号第10/159,583号、および、2002年5月31日に出願された米国特許出願番号第10/159,720号に対して優先権を主張するものである。これらはいずれも、1999年11月29日に出願された米国暫定出願番号第60/167,753号の利益を主張する、2000年11月29日に出願された米国特許出願番号第09/725,666号の一部継続出願である。なお、これら全ての特許出願は、援用することにより本明細書に組み込むものとする。
<本発明の背景>
本開示は、創傷に対して流体を投薬し、かつ、創傷から流体を吸引除去するタイプの真空包帯と共に使用される処置創傷処置装置に関する。
看護師および医師のような医療専門家は、様々の大きさ、形、および、重度の表面創傷を有する患者を日常的に処置する。創傷に隣接した局所の環境を制御することは、治癒過程を強化し得ることが知られている。例えば、創傷の上に薬剤を与えることによって、または、場合によっては水を与えることによって、汚れや細菌を殺傷するか、または、洗い流されて治癒が促進されるのである。さらに、創傷に陰圧または真空を与えると、汚れや細菌を含む可能性のある浸出液が創傷から出て、治癒がさらに促進される。
従来の表面創傷の処置は、例えば、綿、ガーゼ、または、他の包帯のような材料などの包装材料または被覆材料を、患者の創傷に直接接触するように留置することを含んでいる。包帯材料は、創傷から放出される浸出物で満たされるため、包帯材料を交換する必要が頻繁に起こる。いくつかの被覆材料は、浸出物を吸引して治癒を促進するために、包帯を通じてこの創傷を真空にして、接着させる用途を含む。
<本発明の要旨>
本開示によれば、患者の創傷に使用される真空創傷包帯を通じて、陰圧を与えるように構成されたコントロールユニットを較正する方法は、第1圧力センサーをコントロールユニットと通信可能に(接続)工程を包含する。この方法は、第1圧力センサーが第1較正圧を検知した時に、コントロールユニットの第2圧力センサーの第1出力を第1較正圧と相関させ、第2圧力センサーが第2較正圧を検知した時に、第2圧力センサーの第2出力を第2較正圧に相関させる工程を包含する。
本開示の別の態様によれば、コントロールユニットはアラームとディスプレーを含む。ディスプレーは、各アラームの起動に関連する情報を供給するアラームログを表示する。
本開示の別の態様によれば、創傷処置装置は、患者の創傷に使用される真空創傷包帯を用いた用途に適用され、真空創傷包帯を通じて創傷に陰圧を与える。この創傷処置装置は、ユーザー入力コントロール、および、電子ディスプレーを含み、この電子ディスプレーは、ユーザー入力コントロールのグラフ表示と、そのグラフ表示と関連して、ユーザーに何時ユーザー入力コントロールを操作すべきかを指示するテキストを含む情報を表示する。いくつかの実施形態において、電子ディスプレーは、創傷処置装置の通常操作の間において、同装置の操作法をユーザーに指示する情報を表示し、しかも、このディスプレーがその情報を表示している際に、その情報を実行してその創傷処置装置を操作することが可能である。
本開示によれば、コントロールユニットは、真空創傷包帯を用いた用途に構成される。コントロールユニットは、真空創傷包帯を通じて陰圧を与えるためのコントロールモジュール、および、真空創傷包帯からの廃棄物を収集するための内部領域を有するキャニスターと、このキャニスターをコントロールモジュールに結合させるためのラッチを含む。ラッチは、内部領域を貫通して伸びる。例示として、ラッチは、キャニスターを移動させてコントロールモジュールと嵌合してモジュールを密封するように操作することも可能である。さらに例示として、キャニスターは、内部領域内に設置されたスリーブを持ち、ラッチの一部はこのスリーブ内に設置される。
本開示の別の態様によれば、コントロールユニットは、創傷を処置するために、真空創傷包帯を通じて所望の陰圧を与える真空源、圧力センサー、および、キャニスターを含む。キャニスターは、真空にさせた包帯から廃棄物を収集するチェンバー、真空にさせた包帯からの廃棄物をチェンバーに導く入口ポート、チェンバーおよび真空源と連通する出口ポート、チェンバーと連通する加圧ポート、および、圧力センサーを有する。加圧ポートは、チェンバー内の廃棄物が、出口ポートを少なくとも一部閉塞し、真空源が、チェンバー内に所望の陰圧を与えることを阻止する場合、圧力センサーにその圧力を検知することを可能とするように設置される。
本開示の別の態様によれば、コントロールユニットは、傷口を濯ぐための流体供給源、真空源と流体供給源を担持する筐体、および、流体供給源を露出する開放位置と、少なくとも部分的に流体供給源を覆う閉鎖位置との間の筐体に関連した移動可能なドアを含む。コントロールユニットはさらに、ドアに対して、その閉鎖位置から開放位置へのドアの移動を阻止するラッチ位置と、その閉鎖位置と開放位置との間でドアを移動させる解除位置との間に関係する移動に対して、ドアに結合したラッチを含む。本開示の別の態様によれば、ドアは、流体供給源を支える取り付け台を有する。
図1は、患者に付着される包帯に結合する創傷処置装置の斜視図である。 図2は、図1の創傷処置装置のブロックダイアグラムである。 図3は、図1の創傷処置装置の模式図である。 図4は、図1の線A-Aに沿って得られた、創傷処置装置の側面断面図である。 図5は、図1の創傷処置装置の真空吸引サブシステムの模式的ブロックダイアグラムである。 図6は、図1の線B-Bに沿って得られた、創傷処置装置の廃棄物処理キャニスターの断面図である。 図7は、廃棄物キャニスターを取り外した、図1の創傷処置装置の、部分分解斜視図である。 図8は、創傷処置装置のさらに別の実施形態の斜視図である。 図9は、真空包帯、および、図1の創傷処置装置の構成要素の模式的側面図である。 図10は、廃棄物キャニスターを取り外した、図1の創傷処置装置の斜視図である。 図11は、廃棄物キャニスターの前面立体図である。 図12は、図11の廃棄物キャニスターの側面立体図である。 図13は、図11の廃棄物キャニスターの平面図である。 図14は、別の創傷処置装置の斜視図である。一対のキャニスターが、コントロールユニットの筐体の両側面に形成されたそれぞれの収容器に挿入されるよう配置されるところ、および、流体供給源が、筐体の前面に形成される収容器に挿入されるよう配置されるところが示される。 図15は、図14の創傷処置装置のドアに対するラッチの拡大立体図であり、解除位置にあるラッチを示す。 図16は、図15と同様の図であって、施錠位置のラッチを示す。 図17は断片的断面図であって、ドアの溝によって受容されるフランジを有する注射筒、および、注射等の筒を適切に保持する筐体を示す。 図18は、図14の創傷処置装置のコントロールユニットの後部の斜視図であり、コントロールユニットの上部に把持ハンドル、および、コントロールユニットの後部壁に取り付けブラケットを示す。 図19は、後部壁を取り除いた、図18のコントロールユニットの後部の斜視図である。 図20は、コントロールユニットの廃棄物収集キャニスターの分解斜視図である。 図21は、図20のキャニスター一部、および、キャニスターが収容される筐体収容器の一部の分解斜視図である。 図22は、収容器に部分的に挿入されたキャニスターの側面断面図である。 図23は、収容器に設置された、図22と同様の側面断面図である。 図24は、ラッチと収容器の壁との間のインターフェイスの立体拡大図で、ラッチの小突起が、収容器の壁に形成された開口の小突起受容空間と軸揃えされているところを示す。 図25は、図24と同様の立体拡大図で、ラッチの小突起が、開口の小突起受容空間と軸が不揃いなために、キャニスターを収容器に保持するところを示す。 図26は、図25の直線26〜26に沿って得られた断面図であり、小突起と収容器の壁との間の嵌合状態を示す。 図27は、図14の創傷処置装置の部分の模式図である。 図28は、3チェンバー構成マフラーの模式図である。 図29は、図14の創傷処置装置のユーザーインターフェイスの立体図であり、患者の第1創傷に対して真空療法を与えるための第1システムと関連する左側と、患者の第2創傷に対して真空療法を与えるための第2システムと関連する右側とを有し、各側がディスプレーと複数のユーザーコントロールを有するユーザーインターフェイスを示す。 図30は、ユーザーインターフェイスの立体図であり、左側ディスプレーにおけるソフトウェア改版レベル、および、右側ディスプレーにおける、システム自己テスト完了に要する残りの秒数を示す。 図31は、ユーザーインターフェイスの立体図であり、左右ディスプレーにおける、創傷処置装置の圧力センサーを較正をするための較正画面を示す。 図32は、創傷処置装置の二つのシステムの内の一方の構成要素の模式図であり、廃棄物収集キャニスターの右圧ポートに結合する圧力センサーを較正するために、圧力センサーが、廃棄物収集キャニスターの左入口ポートに結合するところを示す。 図33は、ユーザーインターフェイスの立体図であり、創傷処置装置のアラーム起動に関連する情報を提供するアラームログを示す。 図34は、ユーザーインターフェイスの立体図であり、ユーザーに対して、創傷処置装置の次の実施は、新規の患者用であるか、または、創傷処置装置の最近の実施と同一の患者用であるかを選択するように促す画面である。 図35は、ユーザーインターフェイスの立体図であり、左右のディスプレーが、ユーザーに対して、創傷処置装置の関連システムのために4種の動作モードの内から一つを選択するよう促しているところを示す。 図36は、ユーザーインターフェイスの立体図であり、左ディスプレーに関連するシステムは「連続」モードで動作して、ユーザーに、第1創傷に与えるべき所望の陰圧を入力するように促し、また、右ディスプレーに関連するシステムは「プロフィール」モードで動作して、ユーザーに、第2創傷に与えることが可能な最大陰圧を入力するよう促しているところを示す。 図37は、ユーザーインターフェイスの立体図であり、左ディスプレーに関連するシステムは正規に「連続」モードで動作しており、右ディスプレーに関連するシステムは「プロフィール」モードで動作して、ユーザーに、第2創傷に与えることが可能な最小陰圧を入力するよう促しているところを示す。 図38は、ユーザーインターフェイスの立体図であり、左ディスプレーに関連するシステムはある期間一時停止し、右ディスプレーに関連するシステムは正規に「プロフィール」モードで動作しているところを示す。 図39は、ユーザーインターフェイスの立体図であり、各ディスプレーは、「履歴」モードで動作する関連システムの活動記録を提供するところを示す。 図40は、ユーザーインターフェイスの立体図であり、左ディスプレーに関連するシステムは「履歴」モードで動作し、右ディスプレーに関連するシステムは、その間システムの活動が中断される「オフ」モードで動作しているところを示す。 図41は、ユーザーインターフェイスの立体図であり、左右のディスプレーが、創傷処置装置の、それぞれの、フラッシュまたは洗浄機構操作のための情報を提供するところを示す。 図42は、ユーザーインターフェイスの立体図であり、左ディスプレーは該当の洗浄機構操作のための情報を提供し、右ディスプレーはアラーム条件に関連する情報を提供するところを示す。 図43は、ユーザーインターフェイスの立体図であり、左右のディスプレーが、各種アラーム条件と関連する情報を提供するところを示す。 図44は、ユーザーインターフェイスの立体図であり、左右のディスプレーが、各種アラーム条件と関連する情報を提供するところを示す。 図45は、ユーザーインターフェイスの立体図であり、左右のディスプレーが、各種アラーム条件と関連する情報を提供するところを示す。 図46は、ユーザーインターフェイスの立体図であり、左右のディスプレーが、各種アラーム条件と関連する情報を提供するところを示す。 図47は、ユーザーインターフェイスの立体図であり、左右のディスプレーが、各種アラーム条件と関連する情報を提供するところを示す。 図48は、ユーザーインターフェイスの立体図であり、左右のディスプレーが、各種アラーム条件と関連する情報を提供するところを示す。
本装置の、追加の特徴および利点は、以下において明らかにされるように、本装置を実行するのに最良の形態を例示する以下の詳細な説明を考察することによって、当業者に明らかになる。
以下に、非限定的な実例としてのみ示される付属の図面を参照しながら、例示の装置を説明する。いくつかの図面を通じて、対応する参照文字は対応する部品を表す。本明細書に示す図説は、本装置のいくつかの実施態様を例示するものであって、これらの図説は、任意の手段において本開示の範囲を限定するものと考えてはならない。
<図面の詳細な説明>
創傷処置装置2の一つの実施形態を図1に示す。創傷処置装置2は、中央ユニット筐体4を含み、筐体4の各々の側面に備えられた創傷処置装置6および創傷処置装置8を有する。ユーザーインターフェイス10は、各処置装置6,8の間に設置されることを示す。中央ユニット筐体4は、看護人のようなユーザーが、患者が位置する場所に筐体4を移動させて、一つの創傷または複数の創傷に近接させる携帯ユニットとして構成される。筐体4は、看護人が、筐体4を移動する際に役立つハンドル部分12を有することを示す。図1はまた、患者の脚16に付着される包帯14に結合する創傷処置装置6を示す。吸引処理チューブおよび真空チューブ18,20が、包帯14および装置6の両方に結合する。具体的に言うと、吸引処理チューブ18は、注射筒24から延びるルアーロック22に結合する。注射筒24は、代表的には生食液である流体によって満たされており、この流体は、チューブ18を通じて包帯14に移動し、最終的には、包帯14の下位置する創傷300に至る(図9も参照のこと)。創傷300に接触した後、流体および、創傷300からの浸出液は、真空チューブ20を通じて包帯14から吸引されて、廃棄物キャニスター26に入れられ、そこに集められる。キャニスター26は、満杯の際には廃棄され、新規キャニスター26と交換し得る。
装置2は、システム6由来の筐体4の反対側に第二システム8を含む。この構成により、二つの創傷が、単一筐体4の制御下において、別々の包帯を用いて同時に処置することが可能になる。第二包帯15は、システム8の一部として、それぞれ、吸引処理チューブおよび真空チューブ28,30と結合し、システム6についての記載と同じ機能を実行する(図2を参照のこと)。ユーザーインターフェイス10は、看護人が、システム6,8のどちらか、または、両方を制御することが可能となり、それによって、注射筒24,224のどちらか、または、両方から流体を流下させ、どちらかの包帯14,15のどちらかまたは両方の包帯を真空にする。各々の創傷処置装置6,8は互いに独立しており、従って、看護人に、各創傷に対して適当であるが、異なるレベルの処置を施す柔軟性を付与する。
筐体4におけるユーザーインターフェイス10に関係するシステム6,8を配置することによって、システム6,8と看護人との間に快適な相互関係を可能にさせる。例えば、注射筒24,224は、ユーザーインターフェイス10の反対側に好適に設置される。各注射筒は、筐体4の前面上のドア34,36によって部分的に覆われる。各ドア32,33はヒンジ34,36の周囲を外方に動き、それによって、注射筒24,224の取り外しおよび交換を可能とする。同様に、廃棄物キャニスター26,27は、それぞれ、筐体4の片側に配される空洞9に設置される。(図7を参照のこと)。各キャニスター26,27は、好適な取り外しおよび交換のためのグリップ部分40を含む。キャニスター26,27は、摩擦フィットによって各腔に固定されるところが描かれている。(図6を参照のこと)。しかし、注射筒24,224は、筐体4の他の位置に固定が可能であることが理解される。
装置2の携帯性のために、看護人は、患者の所在がどこであろうと、処置準備のために、この装置を患者の近くに設置することが可能になる。処置のために装置2を準備するには、看護人は、流体を含む注射筒24,224を、以下により詳細に記載した方法において、装置2に固定する。次いで、看護人は、一つの創傷の処置のために、チューブ18をポート22および包帯14に結合し、そして、チューブ20を包帯14および廃棄物キャニスター26に結合する。次いで、看護人は、第2の創傷の処置のために、チューブ28をポート222および包帯15に結合し、そして、チューブ21を包帯15および廃棄物キャニスター27に結合する。(図2も参照のこと)。看護人は、ユーザーインターフェイス10を使用することによって、選択的にこれらの創傷を流体で濯ぎ、かつ、傷口から浸出液および流体を吸引することによって、患者を処置し得る。
創傷装置2の操作法を示す概略図を図2に示す。コントローラー50は筐体4に設置し、装置2を制御する電子コントロールユニットである。コントローラー50は、それぞれ、ライン52,54を通じて、ユーザーインターフェイス10からユーザーインプットを受容し、かつ、ユーザーインターフェイス10へフィードバックを与える。コントローラー50は、両方のシステム6,8からの情報を処理し、各システムに適当な、独立したインプットを供給すると理解される。コントローラー50はまた、本明細書においてさらに詳細に記載されるように、各種センサー全ての状態を監視し、かつ、バルブおよびモーターにインプットも与える。例示として、ユーザーインターフェイス10は、従来のグラフィック型液晶ディスプレー(LCD)、および、膜スイッチパネルから構成される。
電源56は、コントローラー50および、筐体4における全ての付属のシステムに電力を供給する。電源56は、従来の外壁ソケット補給であってもよい(図示せず)し、バッテリーパック補給であってもよい(これも図示せず)し、または、両者の変種(例えば、バッテリーパック補給を備えた壁ソケット補給)であってもよい。例示として言うのであるが、電源56は、約65ワットの出力および約12VDCの電圧を供給する医用級電源である。電源は、筐体がアメリカで使用されるのか、ヨーロッパで使用されるのかに応じて、120V/60Hzまたは220-240V/50Hz用に構成され得る。例示として、バッテリー電源は、外部の電源への接続をしないで、約60分動作するための電力を装置に供給する。さらに、バッテリーは再充電可能であり、装置を外部の壁ソケットに接続した場合、エネルギーを蓄積することが可能であると考えられる。
姿勢センサー58は、ライン60を通じてコントローラー50と交通するように設けられる。例示として、姿勢センサー58は、コントローラー50へのフィードバックを供給する傾斜スイッチである。例示として、スイッチが閉鎖位置にある場合、コントローラー50は操作を続けるが、スイッチが開放の場合、コントローラーは、システム6,8を停止させる。例えば、センサー58は、筐体4が任意の方向において垂直から指定の量以上傾いた(例えば、45°以上)場合、システム6,8を無効にする。
コントローラー50、ユーザーインターフェイス10、電源56、および、姿勢センサー58は全て、両システム6,8に共通であり、両システムと共に作動することが考えられる。各システム6,8はさらに、流体流下および真空吸引サブシステム62,64および66,68を含む。流体流下サブシステム62は、プランジャー70を有する注射筒24を含む。(図4も参照のこと)。例示として、注射筒24は、ルアーロック(Luer-lock)ポート22を利用する、標準60-mlの医用注射筒である。プランジャー70は、注射筒24の中に侵入して、ルアーロックポート22を通じて流体を流下させる従来のプランジャーである。例示として、注射筒駆動モーター72は、注射筒駆動74に回転エネルギーを与えるように構成される、12VDCブラッシレス電気モーターまたはステッパーモーターである。(図4を参照のこと)。信号が、コントローラー50からライン76に沿って注射筒駆動モーター72に送信されると、モーター22は、例として、モーター駆動ネジ322である注射筒駆動74にトルクおよび角速度を与える。(図4も参照のこと)。モーター駆動ネジ322は、注射筒駆動モーター72の回転運動を上下運動に変換する。この駆動部は、プランジャーインターフェイス78を一軸に沿う運動に制限するためのガイド80を有する。図示された実施形態において、注射筒駆動72は、参照数字82によって示されるように、プランジャー78の約5.25インチ(13.3cm)の移動を実現し、これによって、注射筒24に含まれる流体を放出する。(図4も参照のこと)。さらに、注射筒駆動モーター72および注射筒駆動74は、一つのシステムとして、プランジャーインターフェイス78に対して、約27ポンドの直線力を毎秒1.45インチ(3.7cm)の速度で供給する。流体排出注射筒24によって生み出される力は、例示として、創傷300に対して4-PSIGから6-PSIGまでの陽圧を生み出す。
注射筒ホームセンサー84は、プランジャーインターフェイス78から情報を受け取り、注射筒捕捉機構88がそのホーム位置79に達する時、フィードバックをコントローラー50に供給する。注射筒完全移動センサー86は、プランジャーインターフェイス78が完全移動を実現した時を検知することによって、注射筒24が完全に空になった時点を確定する。センサー86が起動された場合、コントローラー50は、注射筒24が一旦取り外されると、プランジャーインターフェイス78をホーム位置79にリセットする。
注射筒捕捉機構88は、看護人が注射筒24を装置2に設置した場合に、その注射筒24を所定の場所に保持する。(図4も参照のこと)。捕捉機構88はまた、注射筒24が空の場合、看護人が、注射筒24を装置2から解放させるように構成される。捕捉機構88はさらに、注射筒24が捕捉機構88に適切に保持されている場合に、ライン92を通じてコントローラー50にフィードバックを供給する注射筒センサー90を含む。コントローラー50は、センサー90が、注射筒50が捕捉機構88に適正に保持されていることを検出していない場合、システム6の作動を阻止する。
コネクター94,96が流下チューブ18の対向末端に設けられる。コネクター94,96のどちらか一方または両方は、閉鎖されると、注射筒24から包帯14への流れを阻止する。このようなコネクター94,96は、包帯14を除去しないか、または、装置2を停止しないで、装置2から患者を切り離すことが可能となる。
手動用ポート98も、補助チューブ100によって流下チューブ18に付着される。ポート98により、看護人は、流体を包帯14に手動で流下させるための流下容器をシステムに装着することが可能になる。しかしながら、ポート98は、注射筒が付着されていない場合は、閉鎖システムを維持するために、閉鎖されるように構成される。
この注射筒および駆動体は、一つの創傷基礎を洗い流すための流体供給源および駆動体を供給するための一つの方法として例示される。注射筒以外の容器でも、駆動体によって洗浄流体を創傷表面に排出するよう操作することが可能であることが理解され得る。例えば、どのようなタイプの流体容器であっても、駆動機構によって捻られ、または、体積減少させられて、流体を排出することが可能である。また、図8に関連して論じられるように、容器は、洗浄用流体に対して静水圧を与えるために上昇位置に保持することも可能である。
コネクター94,96に類似のコネクター104,106が、吸引チューブ20の対向末端に設けられる。コネクター104,106のどちらか一方または両方は、閉鎖されると、包帯14から廃棄物キャニスター26への流れを阻止する。このようなコネクター104,106のあるために、包帯14を除去しないか、または、装置2を停止しないで、装置2から患者を切り離すことが可能となる。
キャニスターセンサー116,118は、廃棄物容器26が装置2に適正に収められると、嵌合する。これによって、装置2は、キャニスター26が装置2に適正に収められていない場合は、動作を阻止される。図2に示したように、両センサー116,118は、ライン120,122を通じてコントローラー50にフィードバックを供給して、看護人に、キャニスター26が装置2の中に適正に収容されることを保証する。
図示した実施形態において、廃棄物キャニスター26は、筐体4の側部38に「パチンとはめ込まれる」ディスポーザブルユニットである。(図1および6も参照のこと)。例示として、キャニスター26は、流体の監視を可能とする窓(図示せず)を含む。例示として、キャニスター26の流体容量は、約500mlである。
廃棄物キャニスター26の例示した実施形態は、吸引チューブ20および真空ポンプ110の両方と連通する疎水性フィルター108を含む。(図6も参照のこと)。このフィルター108は、空気は通すが、液体は通さないように構成される。従って、流体がキャニスター26に吸引される際、流体は廃棄物キャニスター26に廃棄されるが、一方、真空はフィルター108とポンプ110を通じて連続する。例示として、フィルター108は、キャニスター26の裏壁407に固定される1.0ミクロンの疎水性フィルターである。(図6も参照のこと)。疎水性フィルター108はまた、流体レベルが「充満」レベル420を超過した場合は、キャニスター26に対する真空支給を遮断する、キャニスター充満機構114またはバルブとしても働く。疎水性フィルター108は、一旦流体がフィルター108を覆うと、流体の通過を阻止するので、真空も同様に通過を阻止される。システムの中に真空が全く見られないと、システムは停止させられる。
真空ポンプ110は、キャニスター26全体に渡って存在する陰圧を生成する。この陰圧をモニターおよび制御するために、真空は、真空圧トランスデューサー124を含む、いくつかの機器を通じて存在する。トランスデューサー124は、キャニスター26から延びるライン128と結合する。(図5を参照のこと)。トランスデューサー124は、キャニスター26全体に存在する陰圧を測定する。次いで、トランスデューサー124は、ライン128を通じてコントローラー50にフィードバックを供給する。コントローラー50は、トランスデューサー124からの測定値と、ユーザーインターフェイス10を通じてコントローラー50に入力された看護人が定義した値とを比較することによって、この陰圧をモニターする。
比例バルブ130は、陰圧が存在し、かつ、流通口132を含むライン126と結合する。(図5も参照のこと)。流通口132は選択的に拡張または収縮し、それによって、サブシステム66を通じて陰圧を制御する。具体的に述べると、コントローラー50は、トランスデューサー124のフィードバックから決定された真空圧のレベルに基づいて、かつ、そのレベルを看護人が定義した値と比較して、比例バルブ130に信号入力を供給する。次いで、流通口132は、必要に応じて拡張または収縮して、適当なレベルの陰圧を生成する。例示として、比例バルブ130は、コントローラー50からの信号を全く受け取らない場合に、完全に収縮するか、または閉鎖され、コントローラー50から適切な信号が与えられた場合は、拡張または開放して、例示として、250 mmHg(4.83-PSIG)の真空において、最大毎分2リットルの通過を可能とする。
真空制御器134が、ポンプ110についての機械的な限界コントロールとして、比例バルブ130とポンプ110の間のライン126において設けられる。制御器134は、システムに存在する陰圧の最大レベルを機械的に定める。従って、真空ポンプ110は、この最大圧を越えて、包帯14から真空を引き出すことは物理的にできない。例示として、この最大陰圧または真空は、250 mmHg (4.83-PSIG)である。さらに、比例バルブ130が、コントローラー50からの信号に応じて、前記最大陰圧レベル未満の陰圧を作製した場合、制御器134に結合するポート136が開放して、ポンプ110がより多くの空気を吸引し、ポンプ110を通じて十分な流れを維持できるようにして、ポンプが損傷されるのを防止する。例示として、第1の空気フィルター137が、ポート136とポンプ110との間でポート136に付着される。これは、空気が、ポンプ110に達する前に空気から粒子を濾し去るためである。例示として、フィルター137は、25ミクロンのろ過等級を持つガラス微細繊維から構成される。第2のフィルター139は、ポンプ110および排出口141に関連する。フィルター139は、ポンプ110から排出される空気に対する排気マフラーとして働く。
例示として、真空ポンプ110は、250 mmHg (4.83-PSIG)真空において毎分約2リットルを流す、ダイアフラム型コンプレッサーである。例示として、真空ポンプ110は、ポンプを駆動するための12VDCブラッシレス単一モーター138の末端に装着される。しかしながら、ポンプ110は、システム6を通じて所望の陰圧を引き出す限り、他の任意の形態を取ってもよいし、また、どのようなやり方で装着されてもよいことが理解される。また、筐体4の外部の真空ポンプも、制御システムの一部となり得ることが考えられる。例えば、多くの医療施設では、患者が処置される場所の近くに真空ポートを有し、それぞれが、全体の真空(吸引)ポンプによって作動する。従って、筐体4におけるポンプ110は、適当な接続部であってもよいことが考えられ、これは、次には、施設の真空ポンプに接続され、それによって、制御システムに真空源を供給する。
ポート136、フィルター137,139、電気モーター138、真空ポンプ110、および、真空制御器134は、全て、音響チェンバー140の中に収容されることが考えられる。例示として、音響チェンバー140の内部は、例えば、3M社の制振フォイル番号2552のような制振フォイルによって裏張りされる。音響チェンバー140は、上記構成要素によって作り出される振動エネルギーを減衰させるだけでなく、構成要素の発生する熱の分散を助ける。
前述したように、コントローラー50、ユーザーインターフェイス10、電源56、および、姿勢センサー58は、流体供給および真空吸引両サブシステム62,64および66,68に共通であり、両サブシステムと共に作動する。独立に操作が可能な、第2のサブシステム64,68のセットを供給することによって、看護人が、単一の装置2を用いて二つの創傷を処置することを可能にする。従って、図2に示される第2の流体供給サブシステムおよび吸引サブシステム64,68は、サブシステム62,66に関して検討されたように、同一構成要素を含み、対応する方法で表示される。例えば、サブシステム62における注射筒モーター駆動体72は、サブシステム64における注射筒モーター駆動体172と特定され、また、サブシステム66における真空ポンプ110は、サブシステム68における真空ポンプ210と特定される。
創傷処置装置2の一部の模式図を図3に示す。それぞれシステム6およびシステム8は、同じ方法で作動するように構成される。具体的に言うと、図3は、システム6の作動を示す。プランジャー70を注射筒24に導入すると、注射筒24に保存される流体は、チューブ18に流出し、さらに、包帯314に流出し、そこで複数の開口302を通じて創傷300に排出される。真空110は、廃棄物キャニスター26および包帯314を通じて陰圧を与える。次いで、流体および浸出液が創傷300からチューブ20を通じて吸引されて、キャニスター26に導入される。図2と関連して上述した疎水性フィルター108により、真空は廃棄物キャニスター26を通過することが可能であるが、それでいて、全ての流体は漏出すること、従って、ポンプ110内に溜まることを阻止する。
プランジャー70を注射筒24中に侵入させる機構、すなわち、流体供給サブシステム62の一部を、図4に断面図として示す。図示した実施形態は、筐体4の中に設置されたサブシステム62を含む。具体的には、枠フレーム310は、サブシステム62に対する骨格構造としての役割を果たす。枠310は、基盤部分312の一端から上方に延びる、付属の構造部材314を備える基盤部分310を含む。支持部分316は、部材314から外方に延び、基盤部分312の上で重なる。支持部分316から延びるのは注射筒支持体318である。注射筒捕捉機構88が支持体318の中に形成され、前述したように、注射筒24を受け取るように構成される。支持体318および捕捉機構88は、上方へ指向したルアーロックポート22を有する注射筒24を宙吊りするように構成される。捕捉機構88は、注射筒24を支持体318に固定するのに、摩擦フィット、クリップまたはボルトによる固定を含む他の手段によって固定することが考えられる。プランジャー70を移動させるために、注射筒駆動体74およびプランジャーインターフェイス78は、フレーム310に結合する。プランジャーインターフェイス78は、プランジャー70を捕捉し、注射筒24を空にするために上方に向かう直線運動を与える。インターフェイス78は、移動の任意の地点で注射筒24の取り外しを可能とするために、プランジャー70の解除機構を設ける。
注射筒駆動体74は、注射筒駆動モーター72およびモーター駆動ネジ322を含む。モーター駆動ネジ322は、アパチャー324を通じて支持位置316に配置位され、モーター72に回転可能な形で結合する。モーター72は、例えば、ステッパーモーターまたは電気モーターであってもよいと解される。モーター駆動ネジ322の下端326は、軸受け腔328の中に配置され、その腔においてモーター駆動ネジ322は回転する。モーター駆動ネジ322に平行的に離れて配置されるのはガイド80である。ガイド80はアパチャー330に受容され、さらに、その上端332において支持部316に配位され、また、その下端336において腔334に受容される。プランジャーインターフェイス78は、プランジャー70のキャップ338を受け取るように構成され、二重カップラー340に結合する。二重カップラー340は、それぞれ貫通孔346,348を備える2個のブロック342,344を含む。図示した実施形態では、貫通孔346は滑らかな表面を持ち、かつ、ガイド80を受け取るように構成される。これと対照的に、貫通孔348はネジ溝付き表面を持ち、モーター駆動ネジ322のネジ溝と協力するように構成される。カップラー340は、上下方向350,352に移動が可能である。参照番号354によって示される、カップラー340の点線輪郭線版は、上方350に移動した場合のプランジャーインターフェイス78とプランジャー70を描くために図示する。図4に示すように、プランジャー70が上方に移動すると、ヘッド356も上方に移動し、注射筒24中の利用可能な空間を減少させ、従って、注射筒24の中に流体があれば、それをルアーロック22から排出し、流体をチューブ18および包帯14に流下させる。キャップ356の移動は、参照番号358によって示される上方位置へ移動した、点線で描かれるキャップ356の位置によって示される。
筐体4の38側の空洞9に配置される廃棄物キャニスター26の断面図を図6に示す。チューブ20は、キャニスター26の前面壁405に配位される凹部402に結合するチェックバルブアッセンブリー400に接続される。チェックバルブ400は、包帯14からの流体および浸出液がキャニスター26に入り、キャニスター26内の保持空間404に堆積することを許容するが、他方で、空間404の中に既存する流体が、バルブ400を通じて漏出するのを防止するように構成される。チェックバルブ400は従って、チューブ20がバルブ400から外された場合、流体が漏出するのを防ぐ。さらに、キャニスター26は、流体を一滴も漏出させることなく廃棄することが可能である。疎水性フィルター108は、キャニスター26の後面壁407に配置される。浸出液の流動性を低下させるために、液固体化器29が空間404に設けられる。これは、キャニスター26(または27)が開放された場合、または、破壊された場合、飛散・流出の可能性を少なくするための安全策である。
キャニスター26内のフィルター108は、空間404に設けられる入口410、および、コネクター416に結合する出口412を持つところが示される。コネクター416には、入口と出口の間に疎水性材料414から成る障壁がある。前述したように、疎水性材料は、真空に対しては入口410および出口412の通過を可能とするが、流体は全て通過を阻止する。チェックバルブ400と同様に、疎水性フィルター108も、キャニスター26が筐体4から取り外された場合でも、全ての流体の漏出を阻止する。フィルター108の出口412は、コネクター416と連通する。コネクター416は、キャニスターが空洞9に配置されると、出口412を受容し、かつ、出口を密封するように構成される。コネクター416は、ライン126と交通し、そして最終的にはポンプ110と交通する。
図示した実施形態において、疎水性フィルター108は、流体レベルが参照番号420によって示される「満杯レベル」を越えた場合、キャニスター26への真空補給を停止させるキャニスター満杯機構114としても働く。参照番号422によって示されるように、流体レベルが入口410よりも低い場合、流体は、バルブ400を通じて空間404に入り続ける。流体レベル420が入口410の上になると、流体は空気ブロックとして作用する。流体は、フィルター108を通過することができず、流体レベルが入口410の上になるので、空気も通過することができない。これは、ライン126を通じて急激な圧力低下(真空上昇)を引き起こす。前述したように、真空圧トランスデューサー124はライン126に結合し、キャニスター26を通過する陰圧を測定する。このような急激な圧力下降が起こると、トランスデューサー124は、ライン128を通じて、そのデータをコントローラー50に供給する。次いで、コントローラー50は、満杯のキャニスターが、空のキャニスターまたは部分的に満たされたキャニスターのいずれかによって交換されるまで、システムを遮断することを知ることになる。
創傷処置装置の別の図示した実施形態を図8に示し、参照番号3にて表示する。装置3は、流体を供給するために、筐体4の上に宙吊りされる、2個の「静脈内型」流体バッグ510,512の使用を除いては、装置2と同様な方法で作動する。この図示された実施形態において、フック518,520付き支柱514,516が、ドア32,33の後ろから装置3の上方に延びる。支柱514,516は、濯ぎ洗浄のための選択された圧力を提供するために、バッグ510,512を選択された別々の高さに上昇させるよう延長し得ると解される。流下チューブ18は、各バッグ510,512の一端から延長して各包帯に結合する。重力は、流体がチューブ18を通過して包帯の中に移動するのを助ける。チューブクリップ522は各チューブ18に結合し、チューブをはさみ、かつ、閉鎖するように構成されるが、これによって看護人は、流体が包帯に流下するのを選択的に阻止させる。
図3の例示した真空包帯314は、創傷300の周囲に保護的な環境を提供するように設計される。例示として、このような包帯は、交換しないで最大7日間耐久する。包帯314は、包帯314の本体の内部に、それぞれ、チューブ18およびチューブ20と連通する洗浄口および排出口(図示せず)を含む。これらの連絡口は、例示として、直径0.030インチ(0.08cm)および/または直径0.040インチ(0.10cm)である。真空吸引サブシステム66は、包帯14と同様、包帯314と協力して、創傷300表面から流体および浸出的を引き込み、これらを廃棄物キャニスター26中に収集する。
包帯14および包帯15の例は、2002年5月30日に発行された「創傷の真空療法および洗浄包帯(VACUUM THERAPY AND CLEANSING DRESSING FOR WOUNDS)」なる米国特許出願US-2002-0065494-A1に示され、本開示と同じ登録者および本開示に関係した登録者によって付与される。なお、上記出願の全開示を、援用することにより本明細書に組み込むものとする。さらに、他の包帯は、別個の洗浄ポートおよび排出ポートを有する包帯等を含むこの制御システムを使用し得ると考えられる。このような包帯の例は、2002年10月1日に発行された「処置創傷処置装置(WOUND TREATMENT APPARATUS)」なる米国特許第6,458,109号に示され、本開示と同じ登録者および本開示に関係した登録者によって付与される。なお、上記出願の全開示を、援用することにより本明細書に組み込むものとする。2002年10月31日に発行された「創傷に対する真空療法および洗浄包帯(VACUUM THERAPY AND CLEANSING DRESSING FOR WOUNDS)」なる米国特許出願US-2002-0161346-A1の全開示を援用することにより本明細書に組み込むものとする。
包帯14の側面模式図を、システム6の一部と共に図9に示す。(図1も参照のこと)。包帯14は、装置2と共に使用される例示のタイプのものである。(包帯は原寸大ではないことに注意すること)。前述したように、包帯14は真空させた包帯である。包帯14は、創傷300の外周を密封するカバーフィルム602(図示では屈曲性カバー)を含む。しかし、フィルム602は、水蒸気は浸透可能とするが、その他の点では創傷300を外部環境から保護する、閉塞性の材料、または、半閉塞性の材料から製造可能であると考えられる。包帯部材604は、創傷300の直近に設置され、創傷300を濯ぐように構成される。図示した実施形態において、包帯部材604は、それぞれ、包帯部材604の対向側610,612に設けられる複数の上方チャンネル606および複数の下方チャンネル608を含む。各上方チャンネル606は、全体として、下方チャンネル608の一つと対応する。チャンネル606およびチャンネル608は、連絡口614を通じて互いに連通する。図示した実施形態に示されるように、包帯部材604の側面612は創傷300に直面し、側面610は多孔性パック618に面する。パック618は、陰圧を促進するために、空間616の供給を支援するフィルム602の下に設けられる。パック618は代表的にガーゼ材料である。しかし、ある種の創傷処置用途では、パック618は使用されず、部材604をフィルム602の下に設けることが考えられる。
例示として、看護人は、前述の手段を用いてシステム6を起動し得、創傷300から浸出液を、チャンネル606、チャンネル608および包帯部材604の連絡口614、パック618およびフィルム602を通じ、吸引チューブ20に接続される分岐チューブ620を通じて吸引し、これをキャニスター26に貯留させる。ポンプ110によって作製されて、創傷300に与えられる陰圧は、看護人が定める期間において適用可能である。吸引期間の後、看護人は、この陰圧を停止してもよい。看護人は、注射筒24から流体を放出して、チューブ18から分岐チューブ620へ、フィルム602とパック618を通じて包帯部材604の中へ送ることによって創傷300を洗い流すことを始めてもよい。流体は、チャンネル606を通過し、連絡口614に溜まり、チャンネル608を通過することによって創傷300を洗い濯ぐ。例示として、流体は、空間616がもうこれ以上流体を受容できなくなるまで、創傷300を洗い続ける。この流体は、看護人が定める期間の間、空間616に保持される。この期間の後、ポンプ110を再起動し、前述のようにして、創傷300からの流体および浸出液が、包帯14から吸引されキャニスター26に送られる。看護人が定めた必要回数だけ、この過程を繰り返す。
一つの実施形態において、ユーザーインターフェイス10は、前述の過程を選択的に操作する瞬時スイッチ(図示せず)を含む。例えば、スイッチは、看護人がスイッチを押してそのまま保持している場合、流体が注射筒24から包帯14に流下するように構成されてもよい。看護人がスイッチを解除すると、流体は流下するのを止め、ポンプ110を起動し、流体と浸出液の吸引を開始する。スイッチは、看護人が定義し得る期間の間、吸引と流下との間を遅延するように構成されてもよいと考えられる。システム6について適用されるものとして、上述された全ての説明は、システム8にも適用可能であると考えられる。
装置2は、標準的な損傷手当ての実施を容易にするための特徴を備えた保護的な環境/閉鎖的な環境を提供することを意図した、携帯用の簡便な局所処置システムである。装置2は、独立して制御される創傷の処置に備えるものである。装置2は、創傷基盤に陰圧を与え、かつ、看護人がその陰圧レベルを設定し得る。例示として、陰圧は、10 mmHg刻みで25-mmHgから175-mmHgまで変動が可能である。看護人は、連続、断続(プロフィール)、および、陰圧でないモードを選択し得る。装置2は、様々な時間において、様々な真空レベルを供給するように設定してもよいと理解される。この装置は、設定した期間の間、陰圧療法を一時停止する能力を付与されていてもよい。システムは、看護人に、リセットすること、または、真空療法の新規サイクルを開始することを気付かせるために、可聴的なアラームを提供するように設定されてもよい。
装置2は、閉鎖的に創傷を治癒する環境を提供するよう意図される。装置2は、活発な創傷治癒のために排水および洗浄を実施する積極的な処置ユニットを供給する。この装置は、例えば、全ての褥瘡(段階IIから段階IVまで)、外科的な創傷排出、および、下腿潰瘍への使用が意図される。
図示した実施形態において、図7および図10に示すように、例えば、キャニスター26は、筐体4の側面38に配置される空洞9に収納されるように構成される。特に図10に示すように、空洞9は、2個の引き出し凹部702および凹部704を含む。このような凹部702および凹部704は、側面38、および、側壁706および側壁708に近接して形成される凹型部分である。凹部702および凹部704は、指で開放できるように設けられる。すなわち、看護人が、キャニスター26を空洞9から外すか、または、キャニスター26を空洞9に挿入するために、キャニスター26のグリップ部分39,40を掴む場合に、指で開放できる。(図1、図11および図13も参照のこと)。側壁706,710および下部壁および上部壁708,712は、空洞9が、キャニスター26に対して比較的合致した容器となるように空洞9を定義する。壁706,710および壁708,712は、キャニスター26のパネル714,716,718,720のサイズと形と一致する。(図12および図13を参照のこと)。フィルター108の出口412は、コネクター416と嵌合し、ポート412とコネクター416との間に気密な封印を形成する。出口412とコネクター416の他の構造または形態も、キャニスター26が筐体4に対して適正に結合した場合、システム6が確実に閉鎖システムとなるように使用し得ると考えられる。さらに、システム6のキャニスター26に関する前述の記載は、システム8のキャニスター27にも当てはまることも考えられる。
キャニスター26の上面パネルおよび底面パネル718,720は、それぞれ、ボス722,724を含む。各ボス722,724は、それぞれ、図2に示すようなセンサー116,118と嵌合するように構成される。この嵌合によって、キャニスター26が空洞9に適正に安置され、真空療法処置の実施を始めてもよいことを示す信号がコントローラー50に供給される。ボス722,724は、機械的センサー、光学的センサー、静電容量的センサー、または、その他の類似の型のセンサーであってもよいと考えられる。
側面パネル714,716は、ボタン726,728を含む。これは、看護人が、空洞9内の適正な位置において、キャニスター26を設置するのを助けるためのものである。例示として、ボタン726,728は、それぞれ側面パネルから延びる小突起である。各ボタン726,728は、それぞれ壁706,710に配置される、それぞれ対応する陥凹730,732に受容されるように、または、「パチンとはめ込まれる」ように構成される。図示した実施形態において、このボタンは、キャニスター26の側面714,716の最大幅点から延びる。
別の創傷処置装置802を図14に示す。装置802は、装置2における機能および構造と類似であり、別様に指示しない限り、同一参照番号は類似の構成要素をいう。装置802は、一対の真空の創傷包帯14、一対の液供給ライン18、一対の吸引ライン20、および、包帯14およびライン18,20と組み合わせて使用されるように構成された主コントロールユニット803を有する。複数の包帯14、複数のライン18,20、および、コントロールユニット803は協力して、二重の真空の処置システム806,808を提供する。
コントロールユニット803は、図14に示すように、コントロールモジュール810(創傷洗浄用流体を供給するために、流体供給ライン18に結合する注射筒24のような、一対の流体供給源)、および、創傷からの浸出液および注射筒24からの流体のような廃棄物を収集するために、吸引ライン20に結合する一対の廃棄物収集用ディスポーザブルキャニスター826を有する。各流体供給ライン18および吸引ライン20は、包帯14の一つと関連する。各注射筒24およびキャニスター826は、システム806,808の一つに供給される。コントロールモジュール810は筐体804を有する。以下に詳述するように、注射筒24は筐体804の前面に結合し、かつ、キャニスター826は筐体804の側面に結合する。筐体804は、携帯コントロールユニット803となるために、その天辺にハンドル812を有する。ユーザーインターフェイス10は、看護人にシステム806,808の操作を可能とするように、注射筒24とキャニスター826との間において筐体804の中央部に取り付けられる。
システム806,808は、構造および機能において互いに類似している。従って、システム806に関する以下の記述は、システム808にも適用される。
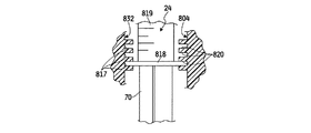
筐体804は、図14に示すように、注射筒24を部分的に覆うドア832を有する。ドア832は、垂直に隔てられた一対のヒンジ814によって、筐体804にヒンジ接続される。ヒンジ814は、ドア832の側方外側815に沿って配置され、開放位置と閉鎖位置の間とのドア832の移動を可能とする。ドア832の裏側816は、注射筒24のフランジ818を受容するために、複数の、垂直に隔てられた水平取り付け部または溝817を有する(図14および図17を参照のこと)。筐体804もまた、フランジ818を受容するために、複数の、対応する垂直空間、水平取り付け部または溝820を有する(図14および図17を参照のこと)。注射筒24を取り付ける間、注射筒24のプランジャー70の末端は、例えば、装置2と関連して前述したもののように、注射筒駆動機構の垂直可動性プランジャーインターフェイス78の上に設置し、フランジ818は溝820の一つに挿入される。次いで、ドア832を閉鎖し、溝817の一つにフランジ818を受け取るように仕向け、それによって、注射筒24が溝817,820によって所定の位置に保持されるようにする。溝817,820は、注射筒24を垂直方向に支持する。
図14〜図16に図示するように、ドアラッチ822は、ドア832の側面の内側824に結合する。ラッチ822は、ドア832に対して相対的に、ドア832がその閉鎖位置から開放位置へと移動するのを阻止する施錠位置(図16)と、ドア832がその閉鎖位置と開放位置の間を移動するのを可能とする解除位置(図14および図15)の間を移動可能である。ラッチ822は、アームまたは突起のようなファスナー828、および、施錠位置と解除位置の間でファスナー828を筐体804のスロット834に、入れたり、出したりするように軸回転させるための作動器830とを有する。作動器830は、ファスナー828と結合する支柱836、および、支柱836に結合するハンドルまたはドアノブ838を有する。このハンドルは、看護人がハンドル838を回転させる場合、施錠位置と解除位置との間において、支柱836およびファスナー828を移動させるためのものである。支柱836は、ドア832の開口を貫いて延びる。ハンドル838は、ドア832の前面において支柱836の末端に結合し、また、ファスナー828は、ドア832の背面において支柱836の対向端に結合する。
キャニスター826は、例えば、図27に図示するように、真空にさせた包帯14および、装置802の他の構成要素と結合する。吸引ライン20は、真空にさせた包帯14とキャニスター826の入口ポート850に結合して、入口ポート850を通じて、キャニスター826の内部領域すなわちチェンバー866に廃棄物を導入する。圧力センサー124は、流体ライン854を通じてキャニスター826の上方圧ポート852に結合し(図19および図27を参照のこと)、領域866における圧力を検知する。圧力センサー124は、検知された圧力を示す信号を、電気ライン856を通じて、システム806、808の両方に共通のコントローラー850に送る(図27を参照のこと)。比例バルブ130(図19および図27を参照のこと)は、流体ライン858を通じて、キャニスター826の下方出口ポート857に結合する(図19および図27を参照のこと)。圧力制御器134(図19および図27を参照のこと)は、それぞれ、流体ライン860および流体ライン862を通じて、比例バルブ130および真空供給源110に結合する(図27)。真空供給源110は、ライン862、860、858、20、および、制御器134、バルブ130、および、キャニスター826を通じて、包帯14内に陰圧または真空圧を与えて、廃棄物をキャニスター826へ吸引する。
真空供給源110は、例えば、真空供給源110の上流のどこかで閉塞が生じても、作動し続ける。障碍があまりにも重大である場合には、真空供給源110は大きな負荷、または、真空圧を経験する可能性がある。圧力制御器134は、真空供給源110が経験し得る最大負荷を定めるために設けられる。圧力制御器134は、真空供給源110を保護するために、この最大負荷に達した場合に、空気をライン862に吸引させる。
フィルター864は、図20、図23および図27に示されるように、内部領域866に設置される。フィルター864は、圧ポート852および出口ポート857を覆う。これは、廃棄物がライン856,858に入り、圧力センサー124、比例バルブ130、圧制御器134、または、真空供給源110を損傷する可能性を防止するためである。フィルター864は、例えば、1.0ミクロンのテフロン(登録商標)製疎水性フィルターである。
コントローラー850、圧力センサー124、および、比例バルブ130は、包帯14に供給される真空圧のフィードバック制御を実現するために協同する。コントローラー850は、圧力センサー124によって検知した圧力に応じて、電気ライン865を通じて比例バルブ130を作動し、内部領域866に所望の陰圧を供給する。看護人は、ユーザーインターフェイス10を通じて、この所望の陰圧をコントローラー850に供給する。仮に、例えば、圧力センサー124が、キャニスター826における圧力を検知した場合(すなわち、所望の陰圧(適当な容認可能な範囲を含む)よりさらに陰性であること)、コントローラー850は、完全に閉鎖した位置にバルブ130を接近させるように移動させ、内部領域866が、真空供給源110からの吸引をより少なくなるように、かつ、キャニスター826の圧力が上昇して、所望の陰圧に近づくようにする。一方で、圧力センサー124は、キャニスター826の圧力が所望の陰圧よりもより陽性であると検知した場合には、コントローラー850は、完全に開放した位置にバルブ130を接近させるように移動させ、内部領域866が、真空供給源110からの吸引をより多くなるように、かつ、キャニスター826の圧力が下降して、所望の陰圧に接近するようにする。
圧力センサー124が読み取る値に基づいて、コントローラー850は、キャニスター826中の廃棄物が一杯になる限界に達した時点を検知することができる。この限界は、廃棄物が、出口ポート857の少なくとも一部を閉塞した時に見られる。出口ポート857はフィルター864の湿潤によって閉塞されるので、真空供給源110によって確立された陰圧は、内部領域866から阻止される。次いで、センサー124によって検知する圧力は所望の陰圧を越えて上昇を始める(すなわち、より陰性でなくなる)。これは、特に、包帯14が、大気と連絡するする通気口を備えており、空気が包帯14、ライン20および入口ポート850を通じて内部領域866に入ってくる場合に顕著である。いくつかの実施形態において、包帯の通気口の代わりに、または、それに加えて、出口ポート857よりも高い位置に形成された筐体884のエア抜きポート(図示せず)を通じて、空気が内部領域866に入る。圧力上昇に応じて、コントローラー850は比例バルブ130を完全に開放した位置に移動させ、検知された圧力を所望の陰圧に下げようとする。真空供給源110がこの検知された圧力を所望の陰圧に下げることができる場合、廃棄物が一杯になる限界にはまだ達していないことになる。もしも検知された圧力が、所望の陰圧を上回ったままであるならば、コントローラー850は比例バルブ130をさらに開放し、検知された圧力を所望の陰圧と比較する。
コントローラー850は、比例バルブ130が完全に開放してもまだ検知される圧力が所望陰圧を上回ったままである時点で、キャニスター826中の廃棄物が一杯なる限界に達したと判断する。これが起こるのは、廃棄物が出口ポート857を、真空供給源110が、検知圧を所望陰圧にまで下げることができなくなるほど閉塞してしまったためである。一方、圧力センサー124の方は、圧ポート852は出口ポート857よりも高い位置に設置されているために、依然として、圧ポート852を通じて内部領域866内の圧力を検知することができる。次に、コントローラー850は、電気ライン870を通じてアラーム868を起動して、キャニスター826が一杯で、交換の必要性があることを看護人に警告する。
筐体804は、図19に示すように、コントロールユニット803の構成要素を含む。筐体804は、筐体804の各側に1個の収容器840を有し、かつ、各収容器840は、その内部にそれぞれのキャニスター826を受け取るように構成される。筐体804はまた、取り外し可能な垂直後壁842を有する(図18を参照のこと)。後壁842の裏にはチェンバー871がある(図19を参照のこと)。各収容器840は、筐体804の側面からチェンバー871の中心に向かって延びる。プリント基板(PCB)872は、チェンバー871の内部において筐体804の前壁873の後面に取り付けられる。圧力センサー124およびコントローラー850は、チェンバー871内のPCB872に取り付けられる。バルブ130、圧制御器134、真空供給源110、および、ライン854,858もチェンバー871内に設置される。
一対のマフラー874および一対のマフラーライン876がチェンバー871に設置される。各マフラーライン876は、二つのマフラー874の内の一つ、および、二つの真空供給源110の内の一つに結合する。例示として、各マフラー874は、直列に連ねた3個の円板フィルター878を有する。これは、音響エネルギーを吸収するために、その中にグラスファイバー材料882を備える3個のチェンバー880を供給するためである。隣接フィルター878は、ルアーロック機構によって相互に結合する。
図19に示すように、バッテリー954が、チェンバー871内の筐体804の底部壁956上に安置される。主電力結合958が、バッテリー954およびPCB872に結合する。バッテリー954は、例示として、再充電可能な水素化ニッケル金属バッテリーである。このバッテリーは、主電力結合958を、例えば、電力コード(図示せず)を通じて外部電気出力口(図示せず)に結合させると自動的に再充電し、かつ、バッテリー954が充電され、電力コードとその外部電気出力口との接続を外すと、自動的にコントロールユニット803の電気構成要素に電力を供給する。
図18に示すように、取り付けブラケット844は、後壁842の外面に結合する。これは、コントロールユニット803を適当なコントロールユニット支持体(図示せず)に取り付けるためである。ブラケット844は、下方開口848を通じて支持体を受容するエンベロープ846を有する。水平上部壁849はエンベロープ846の天辺と結合する。エンベロープ846は、エンベロープ846の基底から上部壁849に延びるテーパー内壁960を有する。コントロールユニット支持体は、エンベロープ846内に挿入されると、テーパー壁960にくさび固定される。
キャニスター826は、図14および図20〜図23に示すように、その中に廃棄物を収集するための内部領域866を与える筐体884、および、筐体884を、コントロールモジュール810の筐体804に結合させるためのラッチ886を有する。キャニスター826はさらに、筐体884によって担持され、内部領域866を貫いて水平に延びる円筒形スリーブ888を有する。スリーブ888の両端は、筐体884の垂直外面および筐体884の垂直内面891,899に付着する。壁891,899は、各々、スリーブ888の内部領域と連通する連絡口889を備えて形成される。ラッチ886は、後に詳述するように、連絡口889およびスリーブ888を貫いて延び、収容器840の垂直後壁890に嵌合する。
筐体884の垂直外壁891およびスリーブ888は協同して、例えば、高周波または超音波溶接または接着剤によって、筐体884の主部892に対して結合する一体ユニットを実施する(図20〜図23を参照のこと)。スリーブ888の外方末端部分893は、壁891の陥凹部894と一体に形成される。壁891は、主部892の対応する末梢フランジ896に対して結合する末梢フランジ895を有する。スリーブ888の内方末端部分897は、主部892の垂直内壁899の陥凹部898に結合する。外壁891は、それと一体に形成するか、または、それに付着される入口ポート850を有する。内壁899は、それと一体に形成さするか、または、それに付着される上方圧ポート852および下方出口ポート857を有する。
ラッチ886は、図21〜図23に示すように、背部壁890と結合するファスナー910、および、ファスナー910を回転させる作動器912を有する。ファスナー910は、作動器912の軸918の内端部916に結合する、一対のバヨネット型折り曲げ片914を有する。二つの折り曲げ片914は正確に対向的に配され、軸918上においてやや円周方向および軸方向に延びる。
作動器912はさらに、図14,20,22および23に示すように、軸918の外方末端部922と結合するハンドル920を有する。ハンドルは、末端部922に結合する円板924、および、それに結合し、円板924から外方に放射状に延びるフランジ926を有する。円板924とフランジ926の一部は、陥凹部894の内部に設置される。陥凹部894は、一対の停止端952を有する(図20を参照のこと)。これは、フランジ926の回転を約90°に制限するように設置される。
保持器928(図21〜図23を参照のこと)が、ハンドル920とファスナー910の間で軸918に取り付けられる。例示の保持器928は、e-クリップのようなクリップ930、および、クリップ取り付け台932を有する。クリップ取り付け台932は、軸918の上に取り付けられる円板の形をしており、クリップ930を受け取るように構成される円周溝934を有する。円板932は、キャニスター826の組み立ての際に、ファスナー910のスリーブ888中への挿入を容易にするために、スリーブ888の内径よりも小さい直径を持つ。ファスナー910をスリーブ888に挿入後、クリップ930を溝934の中に設置し、陥凹部898と嵌合させる。これによって、ラッチ886が、不慮の事故でスリーブ888から引き抜かれるのが防止される。円板932の内方部は、連絡口889の内の一つによって受容され、円板924は、ラッチ886の筐体884に対する相対的回転を補佐するよう、壁891の弓状辺縁950(図20、図22および図23参照)によって定義される空間に受容される。
ラッチ886が筐体884に結合すると、キャニスター826は、収容器840内に設置される態勢になる。看護人は、キャニスター826を収容器840内に収め(図22を参照のこと)、つまみ914を受け容れる形態を持つ背面壁890の連絡口938を通して、突起914の先導端を挿入する(図24を参照のこと)。次いで、看護人はハンドル920およびつまみ914を手で、例えば、方向936に約90度回転させる(図25を参照のこと)。この回転によって、つまみ914は、後壁890の内方進入面940に対して噛み合い(図26を参照のこと)、そのため、キャニスター826は後壁890の方に移動し、圧ポート852および流出口857は、後壁890の、それぞれ、対応する後壁890の上方ソケット904および後壁890の下方ソケット906に引き込まれる(図22〜図23を参照のこと)。各ポート852,857は、それぞれのソケット904,906の中に挿入される小突起900、および、小突起900を取り巻くO-リング902を有する。つまみ914が表面940に対して捻じ込まれると、小突起900はソケット904,906に引き込まれ、O-リング902は、ソケット904,906のテーパー壁908と密封的に嵌合する。ソケット904,906は、それぞれ、ライン854,858の部分となる。ドームカバー942が、後壁890の内側面と、つまみ914および軸918の内方末端部916の上に設置される。
キャニスター826は、キャニスター826が廃棄物で一杯になると、収容器840から外されて処分される。このために、看護人は、入口ポート850からライン20を外し、漏出を防ぐためにポート850にキャップ(図示せず)を設置し、ハンドル920を逆方向944に回転してつまみ914を後壁890から解除する。次いで、看護人は、キャニスター826の側面グリップ946を引っ張り(図14を参照のこと)、キャニスター826を収容器840から外す。キャニスター826が収容器840から外されると、つまみ914は、連絡口938を通じて戻り、圧ポート852および出口ポート857は、上方ソケットおよび下方ソケット904,906から引き抜かれる。次いで、キャニスター826は廃棄され、新しい空のキャニスター826を収容器840に設置することが可能になる。
廃棄物で満たされた後の処分されるキャニスター826の一部として、ラッチ886を含めたために、ラッチ886は繰り返し使用されることがなくなり、そのため、つまみ914が磨耗することもなく、ポート852,857とソケット904,906との間の密封した接続を悪化させることから免れている。
ユーザーインターフェイス10は、例えば、図29に示す。インターフェイス10は、システム806操作用の左側1010と、システム808操作用の右側1012に分割される。各側部1010、1012は、各種画面、および、それぞれのシステム806,808の動作を制御するための複数のユーザー入力コントロールを表示するための電子ディスプレー1013を有する。各ディスプレー1013は、例えば、液晶ディスプレー(LCD)、および、LCD背後の一列のLEDによって供給されるバックライトを含む。ユーザーコントロールは、ホーム画面1015(図35を参照のこと)に戻るためのホームコントロールまたはボタン1014、および、直前の画面にナビゲートするためのバックコントロールまたはボタン1016を含む。後者の場合、最終的にはホームスクリーンに達するまでナビゲートが可能である。ユーザーコントロールはまた、本明細書で記述される目的を実施するための上方コントロールまたはボタン1018および下方コントロールまたはボタン1020、各種選択を実施するための入力ボタン1022、装置2,802に関して本明細書に論じられる洗浄機構を操作するためのフラッシュまたは洗浄コントロールまたはボタン1024、および、それぞれの真空供給源110の動作を中断させるための一時停止コントロールまたはボタン1026を含む。
ユーザーコントロールの一つは、アラームサイレンスコントロールまたはボタン1028である。ボタン1028は、両システム806,808に共通であり、これは、指定の期間、例えば、15分間、コントロールユニット803の全ての可聴アラームを静かにさせる。ボタン1028を押すとLEDがボタン1028を照らして、全ての可聴アラームが静かにさせられていることを示す。指定の期間の間、任意の時間において、再びボタン1028を押すと、指定期間の超過を開始する。ボタン1014、1016、1018、1020、1022、1024、1026、1028の前記の特定された機能は例示のものであり、ボタン1014、1016、1018、1020、1022、1024、1026、1028はその他の機能を実現するように操作されてもよいと理解しなければならない。
インターフェイス10はまた、電源LED1030およびバッテリーLED1032を有する。電源LED1030は、コントロールユニット803の電源がオンされると、その可視的な表示を与える。コントロールユニット803の電源は、ロッカースイッチ(図示せず)によってオン・オフされる。バッテリーLED1032は、コントロールユニット803がバッテリー954からの電力を使用している場合、その可視的な表示を与える。
コントロールユニット803は、指定の時間起動しなかった後に、電力を節約するモードに作動するように構成される。この電力を節約するモードの間は、ディスプレー1013のバックライトは消滅する。電力を節約するモードの間にボタン1014、1016、1018、1020、1022、1024、1026、1028のうちのどれかを押すと、電力を節約するモードを停止し、再びバックライトを点灯させる。アラーム条件は自動的に電力を節約するモードを停止する。
図30を参照すると、コントロールユニット803は、コントロールユニット803の電源が最初にオンされると、Power On Self Test (POST)を実施する。POST中、コントローラー850のソフトウェアの改版レベルを示すテキスト1031がディスプレー1013のうちの一つに現れ、また、他方のディスプレー1013の上には、POST完了までのおよその残り時間を示すカウントダウン1033が現れる。
カウントダウン1033の間、ユーザー(例えば、補修技術者)は、コントロールユニット803を較正モードに移行して、圧力センサー124を較正することも可能である。この移行を行うには、ユーザーは、カウントダウン1033の間に、両一時停止ボタン1026を同時に押して、両ディスプレー1013に図31に示すような較正画面1036を出現させる。各較正スクリーン1036は、真空供給源110の一方に関連する。
一旦較正スクリーン1036を得たならば、ユーザーは、圧力センサー124の片方または両方を較正することが可能である。コントロールユニット803の電源がオンされると、真空供給源110は両方とも動作を開始し、また、比例バルブ130は両方とも完全に閉鎖される。較正モードが開始された場合、真空供給源110は動作を続けたままであり、バルブ130は完全な閉鎖位置にある。圧力センサー124を較正する手順は両圧力センサー124について同じであるから、較正過程は一方の圧力センサーについてのみ記述する。
一般に、圧力センサー124の二つの出力は、圧力センサー124を較正するための二つの較正圧と相関する。一つの実施形態において、第1較正圧は、例えば、水銀0ミリメートル(または、0 mmHg、すなわち大気圧)であり、第2較正圧は、例えば、225 mmHgの陰圧である。
圧力センサー124の第1出力を得るために、図32に模式的に示すように、キャニスター826の内部領域866と連通してマノメーターのような圧力センサー1038を設置する。特に、センサー1038は、センサー1038が内部領域866の圧力と交通できるように、入口ポート850に結合する。センサー124は圧ポート852に結合しているのであるから、センサー124は既に内部領域866の圧力と交通するように設置されている。
コントロールユニット803が較正モードに入った時点で、バルブ130は完全に閉鎖されたままである。完全に閉鎖されているので、バルブ130は、真空供給源110と内部領域866間の交通を阻止し、そのために、内部領域866には大気圧が確立されている。従って、センサー124,1038は、較正過程の開始時には大気圧と交通する。
ユーザーは、センサー1038が第1較正圧を示すことを観察した場合、ユーザーは、ユーザーコントロールを操作して、センサー124のこの出力をコントローラー850に保存し、この出力を、第1較正圧と相関させる。例えば、ユーザーは、センサー1038が0 mmHgの第1較正圧を示したのを観察した場合、ユーザーはホームボタン1014を押して、センサー124の対応するアナログ対ディジタル(A/D)出力を、第1較正設定としてコントローラー850に保存し、この出力を0 mmHgと相関させる(この場合ホームボタン1014を押しても、ホーム画面1015は現れない)。例示として、センサー124のA/D出力は0から4095の範囲であり得る。
次いで、ユーザーは、センサー124からの第2出力を第2較正圧と関連させる工程に進む。センサー124,1038は、それぞれ、ポート852,850と結合したままであるが、ユーザーは必要に応じてアップボタンおよびダウンボタン1018、1020を操作して、内部領域866に第2較正圧を確立し、センサー124、1038を第2較正圧と交通させる。一般に、較正モードでは、アップボタン1018を押すと、バルブ130をその完全に閉鎖した位置に向けて動かすことによって内部領域866の圧力を上昇させ(すなわち、圧力をより陽性にする)、このために、真空供給源110が内部領域866に確立する陰圧はより小さくなる。一方、ダウンボタン1020を押すと、バルブ130を完全に開放した位置に向けて動かすことによって内部領域866の圧力を低下させ(すなわち、圧力をより陰性にする)、このために、真空供給源110が内部領域866に確立する陰圧はより大きくなる。内部領域866に陰圧225 mmHgの第2較正圧を実現するためには、バルブ130をやや開放して、真空供給源110と内部領域866との間の交通を僅かに許容する。
センサー1038が第2較正圧を表示したことをユーザーが観察する場合、再びコントロールを操作して、センサー124の出力をこの第2較正圧と関連させる。例えば、センサー1038が、陰圧225 mmHgの第2較正圧を表示するのをユーザーが観察すると、再びホームボタン1014を押して、センサー124の対応A/D出力を、第2較正設定としてコントローラー850に保存し、センサー124のこの出力を陰圧225 mmHgと相関させる。第2較正設定が得られたならば、この較正過程は終了する。次いで、コントローラー850は、真空供給源110を制御するのに、この第1較正設定および第2較正設定を用いて、キャニスター826において実現可能な圧力の全体範囲の中から所望の圧力を実現する。
較正画面1036は、ユーザーに較正情報を提供する。較正画面1036は、以下の情報を提供するテキスト1042を有する。すなわち、mmHgで表したセンサー124の現在の圧力の読み取り値、バルブ130の開放パーセント、センサー124のA/D出力、第1較正設定、および、第2較正設定である。
較正画面1036はまた、コントロールユニット830が較正モードにある場合、ユーザーに告知するための較正情報も提供する。較正画面1036の天辺にある情報1044は、較正過程の始めには圧力を0 mmHgに設定するようにユーザーに指示する。情報1046は、アップボタンおよびダウンボタン1018,1020を操作してバルブ130の位置を変えることが可能であることを示す。情報1048は、ホームボタン1014を操作して較正設定を保存することが可能であることを示す。情報1049は、Enter(実行)ボタン1022を押すことによって較正モードから抜け出すことが可能であるという情報を与える。
コントロールユニット803は、各真空供給源110と関連する刻時メーター1052(図27を参照のこと)を有する。これは、関連する真空供給源110がどのくらいの期間開放していたかを追跡記録するためである。刻時メーター1052の動作に基づいて、どのくらいの期間真空供給源110が作動していたかを示す数値が、コントローラー850の記憶位置に保存される。どのくらいの期間真空供給源110が作動していたかを示す数値は、コントローラー850によって更新され、コントローラー850の較正時に表示される。各較正画面1036は、テキスト1050の行に、関連真空供給源110の全使用時間数を表示する。
テキスト1051に表示するように(図31を参照のこと)、較正画面1036において関連する一時停止ボタン1026を押すことによって各アラーム868に関連するアラームログ1052にアクセスされる(図33を参照のこと)。較正画面1036において左側1010の一時停止ボタン1026を押すと、左側1010のディスプレー1013は、システム806のアラーム868と関連するアラームログ1052を有するアラームログ画面1054を表示する。較正画面1036において右側1010の一時停止ボタン1026を押すと、右側1010のディスプレー1013は、システム808のアラーム868に関連するアラームログ1052を有するアラームログ画面1054を表示する。各アラームログ1052は、過去48時間内に起こった関連アラーム868の全ての起動を列挙し、アラーム起動に関する情報、起動がどのくらい前に起こったのかという情報、起動の記載事項、および、起動に関連するエラーコードを含む情報を提供する。
アラームログ画面1054は、画面の下部にユーザーのためのナビゲーション情報を提供する。終了情報1049は、Enterボタン1022を押すと、それぞれのディスプレー1013は、アラームログ画面1054から終了したことを教える。アラームログ画面1054を終了すると、ディスプレー1013は較正画面1036に戻る。ページアップ/ページダウン情報1055は、ダウンボタン1020を押すと、関連するディスプレー1013はアラームログ1052の次ページを表示し、また、アップボタン1018を押すと、関連ディスプレー1013は前のアラームログ1052を表示することを教える。
較正画面1036を終了すると、図34に示すように、ディスプレー1013の一方に患者設定画面1056が現れる。ユーザーは、これからコントロールユニット803は、「新規患者」のために使われるのか、または、「同一患者」(すなわち、システムが使用されたもっとも最近の患者)のために使われるのかを選択するように促される。「新規患者」を選択すると、システムのデフォルト設定が復元され、ユーザーは新規患者設定を選択することが可能になる。「同一患者」を選択すると、システムは、もっとも新しく保存された患者設定を保持する。患者設定画面1056は、画面の下部に情報1058を提供する。この情報は、アップボタンとダウンボタン1018,1020が、「新規患者」選択肢と「同一患者」選択肢の間の振り替わりに使用が可能であること、また、ユーザーが選択した場合に、Enterボタン1022を押すことを教える。「新規患者」選択肢を選んでEnterボタン1022を押すと、例えば図35に示すように、ホーム画面1015がディスプレー1013に現れ、ユーザーが新規患者設定を選択するのを可能にする。「同一患者」選択肢が選ばれ、Enterボタン1022が押されると、最近保存された患者設定が受認されて、コントロールユニット803は創傷処置の態勢に入る。
ホーム画面1015において、画面トップの情報1060は、図35に示すように、システム806およびシステム808について、4種のモードの内から一つを選ぶようにユーザーに指示する。この4種のモードは、「連続」、「プロフィール」、「オフ」および「履歴」と表示される。それぞれ以下においてさらに詳述する。デフォルトでは、左側1010のシステム806に対して「連続モード」が選択され、右側1012のシステム808に対しては「オフ」モードが選択される。アップボタンおよびダウンボタン1018,1020を押すことによって、ユーザーは、これら4種のモードの間を振り替わり移動してその内のどれか一つを選択する。ホーム画面1015下部の情報1062は、ユーザーがそれぞれのシステム806,808に対して4種のモードの内から一つを選んだならば、Enterボタン1022を押して、その選択を確認するように指令する。
「連続」モードでは、ユーザーは、それぞれのシステム806,808によってそれぞれの創傷16に適用される所望の陰圧設定を選択することができる。ホーム画面1015で「連続」モードを選択すると、図36の左側1010のディスプレー1013で示すように、第1連続モード画面1064が該当ディスプレー1013に現れる。該当真空供給源110に対するデフォルトの所望陰圧設定(125 mmHg)が、画面1064中に閃光テキスト1066として現れる。ユーザーは、画面1064に表示される情報1067に示されるように、この所望陰圧を、アップボタンおよびダウンボタン1018,1020を押すことによって変更することが可能である。この所望の陰圧設定は、25 mmHgから175 mmHgの範囲の中を10 mmHg刻みで増大または減少させることが可能である。Enterボタン1022を押すことは、新たに所望の陰圧設定を容認し、創傷処置のために該当する真空供給源110の操作を開始することになる。
一旦創傷処置が始まったならば、該当のシステム806,808は連続モードを続行し、該当ディスプレー1013に第2連続モード画面1070が現れる(図37を参照のこと)。画面1070は以下の情報を提供する。この情報は、現在の所望の陰圧設定1071、情報1072であって、所望の陰圧設定を変更するためのボタン1016を押すことによって第1連続モード画面1064に戻ることが可能であることを示す情報、および、情報1074であって、ホームボタン1014を押すことによってホーム画面1015に行くことが可能であることを示す情報である。
「プロフィール」モードでは、ユーザーは、システム806,808がそれぞれの創傷16に対して適用することが可能な最大および最小陰圧設定を選択することができる。ホーム画面1015で「プロフィール」モードを選択すると、図36の右側1012のディスプレー1013に示されるように、第1プロフィールモード画面1076が該当ディスプレー1013に現れる。それぞれ、125 mmHgと25 mmHgのデフォルトの最大陰圧設定および最小陰圧設定が、画面1076上に、最大陰圧設定を閃光テキスト1078として示しながら現れる。ユーザーは、画面1076に表示される情報1080によって示されるように、アップボタンおよびダウンボタン1018,1020を押すことによって、10 mmHg刻みで最大の陰圧設定を変更することが可能である。Enterボタン1022を押すことは、情報1082に示されるように、画面1076上の最大陰圧設定を承認し、第2プロフィールモード画面1083をディスプレー1013に出現させることになる。
第2プロフィールモード画面1083では、最小陰圧設定が閃光テキスト1084として現れる(図37を参照のこと)。最大陰圧設定の場合と同様、画面1083上の情報1086によって示されるように、ユーザーは、アップボタンおよびダウンボタン1018,1020を押すことによって、10 mmHg刻みで最小陰圧設定を変更することが可能である。Enterボタン1022を押すことは、情報1082に示されるように、画面1084上の最小の陰圧設定を承認したことになる。最大陰圧設定および最小陰圧設定が選ばれたならば、それぞれのシステム806,808は創傷処置の態勢に入り、第3プロフィールモード画面1088(図38を参照のこと)が該当ディスプレー1013に現れる。画面1088には、最大陰圧設定および最小陰圧設定が表示され、情報1090が与えられる。この情報は、バックボタン1016を押すと、所望の陰圧設定の変更が可能であること、および、ホームボタン1014を押すとホーム画面1015が現れることをユーザーに伝える。
一時停止ボタン1026を押すと、「連続」モードまたは「プロフィール」モードにおける該当の真空供給源110の動作は、指定の時間、例えば、15分間中断される。図38の左側1010のディスプレー1013に示されるように、ユーザーが、そのディスプレー1013に関連する一時停止ボタン1026を押すと、一時停止画面1096が該当ディスプレー1013に現れる。一時停止画面1096にはテキスト1098が現れ、休止期間の残りの時間(分)を示す。再び一停止ボタン1026を押すと一時停止期間を終了し、以前の活動を取り戻すことを示す情報1099が、一時停止画面1096の下部に与えられる。
ホーム画面1015で「オフ」モードを選択すると、それぞれのシステム806,808の動作が中断される。「オフ」モード画面1088(図40を参照のこと)が、「オフ」モード時該当のディスプレー1013に現れ、画面1088の下部の情報1089は、ホームボタン1014を押すとホーム画面1015が再現することを示す。
ホーム画面1015で「履歴」モードを選択すると、図39および図40に示すように、該当ディスプレー1013上に履歴画面1092が現れる。画面1092は、コントロールユニット803の電源がオンされていた過去48時間におけるそれぞれのシステム806,808の活動に関する履歴情報を提供する。特に、履歴情報は、表形式で、各48時間の終了時に見られた該当モード(すなわち、連続、プロフィール、オフ)に関連する陰圧設定、該当時間において該当洗浄機構が活動していたかどうか(滴記号1093によって示される)、および、該当システム806,808が、該当時間において創傷処置を行った時間(分)を含む。終了情報1049が、画面1092の下部に提供される。これは、ユーザーに、「履歴」モードは、Enterボタン1022を押すことによって脱け出すことが可能であることを教える。また情報1094と情報1095の内の一方または両方が画面1092の下部に提供される。これは、アップおよびダウンボタン1018,1020を操作することによって履歴モードのページの間を移動することが可能であることをユーザーに教えるためである。
該当システム806,808が「連続」、「プロフィール」または「オフ」モードにある時に洗浄ボタン1024を押すと、該当ディスプレー1013に、フラッシュ開始画面1100が現れる(図41を参照のこと)。画面1100は、ユーザーに該当の洗浄機構の使用法を教える洗浄情報1102を提供する。情報1102は、ユーザーに、洗浄機構と関連するスイッチまたはストップコック1101(図1および図14を参照のこと)をフラッシュ位置に設定するやり方を教える。これによって、該当する真空創傷包帯14および該当創傷16は、該当注射筒24と連通する。次に、情報1102は、ユーザーに、洗浄ボタン1024を押し、そのまま保持して、該当創傷16洗浄用の洗浄機構を動作させるように教示する。情報1103は、該当Enterボタン1022を押すと、洗浄過程を終了し、真空処置を再開することを伝える。
洗浄ボタン1024は一時的スイッチであり、そのために、洗浄は洗浄ボタン1024が押されている間だけ起こる。洗浄のために洗浄ボタン1024が押されると、フラッシュ起動画面1104(図41を参照のこと)が、ディスプレー1013の一方に現れ、該当創傷16が現在洗浄中または噴射流体に暴露中であることを示す閃光テキスト1105がそれに伴う。
洗浄ボタン1024が解除されると、図42に示すようなフラッシュ終了画面1106が現れる。画面1106は、その上部に、情報1108を提供する。これは、ユーザーが、洗浄ボタン1024を再度押すことによってさらに新たな洗浄を実現することが可能であることを示す。画面1106はまた、洗浄が完了した場合、ユーザーは何をすべきかを教える情報1110を提供する。情報1110は、ストップコック1101を真空位置に戻し、該当真空創傷包帯14および該当創傷16を、該当真空供給源110に連通させ、次に、Enterボタン1022を押して洗浄過程を終了し、真空療法を再開するように、ユーザーに教える。フラッシュ画面1100、1104、1106は協同して、フラッシュメニューまたは洗浄メニューを提供する。
コントローラー850は、ディスプレー1013に対し、三つのタイプのアラーム条件に関連するメッセージを表示させるように構成される。このアラーム条件は、「リマインダー(reminder)」条件、「アラーム」条件、および、「要修理」条件と呼ぶことが可能であり、それぞれを順に論ずることにする。このアラーム条件とは、それぞれのシステム806,808の正規の動作からの逸脱している。
「リマインダー」条件におけるアラーム起動を図43、図44および図48に示す。このようなアラーム起動をもたらす条件としては、該当注射筒24が空の時に洗浄ボタン1024を押すこと(図43の画面1109を参照のこと)、該当ドア832が開放の時に洗浄ボタン1024を押すこと(図43の画面1111参照のこと)、該当廃棄物収集キャニスター826がその収容器840の中に収められていない時に「連続」または「プロフィール」モードを起動すること(図44の画面1112参照のこと)、および、フラッシュメニューを終了た場合(図48の画面1114参照のこと)、が挙げられる。
各画面1109、1111、1112、1114において、テキスト「リマインダー」が現れ、ユーザーに問題条件と、その条件の処置法を伝える情報1116、1118が表示される。画面1109では、情報1116は、ユーザーに、該当注射筒24が空であることを伝え、情報1118は、別の注射筒24を設置するようにユーザーに指令する。画面1111では、情報1116は、該当ドア832が開放していることをユーザーに伝え、情報1118は、ドア832を閉鎖することをユーザーに指令する。画面1112では、情報1116は、該当キャニスター826が無くなっていることをユーザーに伝え、情報1118は、キャニスター826を設置するようにユーザーに指令する。画面1114では、情報1116は、ストップコック1101の位置が不適切であることをユーザーに伝え、情報1118は、ストップコック1101を真空位置に設定するようにユーザーに指令する。
「リマインダー」条件によってアラーム起動が起こった場合、該当画面1109,1111,1112,1114が、指定の期間の間、例えば、5秒間該当ディスプレー1013に現れ、可聴のアラーム868が、また別の指定の期間の間、例えば、1秒間起動する。次いで、画面は消え、それぞれシステム806,808は以前ののモードを続行する。
図42および図44〜図48に示すように、アラーム条件が起きた場合には、”Alarm”(「アラーム」)という言葉を含む画面が、該当ディスプレー1013の上に現れ、可聴アラーム868が起動される。情報1120,1122が、問題条件と、その条件への対処法を示すために当該画面に提供される。
アラーム条件の実例を図42および図44〜図48に示す。画面1124(図42を参照のこと)は情報1120と情報1122を提供する。情報1120は、ユーザーに、フラッシュ画面1100,1106の内の一方が指定の時間、例えば、1分間停止状態であることを警告し、情報1122は、ユーザーに、その条件の解消法を教える。画面1123(図44を参照のこと)は情報1120および情報1122を提供する。情報1120は、ユーザーに、廃棄物を収集するキャニスター826の内の一方が、該当真空供給源110の操作中に外れたことを警告し、情報1122は、ユーザーに、外れたキャニスター826を設置し、設置が完了した時点でEnterボタン1022を押すように指令する。
画面1126(図45を参照のこと)は情報1120および情報1122を提供する。情報1120は、ユーザーに、閉鎖システムについて注意を促し、情報1122は、ユーザーに、ホースで捻れたもの、詰まったものは無いかどうか、また、ストップコック1101がフラッシュ位置にあるかどうかをチェックし、ホースの捻れや詰まりを解除し、または、ストップコック1101を真空位置に移動させたならば、Enterボタン1022を押すように指令する。
画面1128(図45を参照のこと)は情報1120および情報1122を提供する。情報1120は、ユーザーに、真空創傷処置が停止したことについて注意を促し、情報1122は、ユーザーに、一杯の廃棄物を収集するキャニスター826、緩い薄層付着、または、ホースの不適切な接続の有無についてチェックし、アラームの原因となった条件の補正が完了した時点でEnterボタン1022を押すように指令する。
画面1130(図46を参照のこと)は情報1120および情報1122を提供する。情報1120は、ユーザーに、コントロールユニット803は45°を越えて傾いているので創傷処置は中断されると警告を発し、情報1122は、ユーザーに、コントロールユニット803を水平維持するように指令する。画像1132(図47を参照のこと)は情報1120と情報1122を提供する。情報1120は、ユーザーに、バッテリー954の荷電量が終末に近づいていること(例えば、バッテリー954の残余荷電量が約15分である)ことについて注意を促し、情報1122は、ユーザーに、コントロールユニット803の電源コードをチェックするように指令する。画像1134(図47を参照のこと)は情報1120と情報1122を提供する。情報1120は、ユーザーに、バッテリー954が間もなく(例えば、約2分以内に)その荷電量の終末に達することについて注意を促し、情報1122は、ユーザーに、再度コントロールユニット803の電源コードをチェックするよう指令し、また、ユーザーに、処置を中断するように忠告する。画面1134が現れると、該当アラーム868は、電源コードが電力出力コンセントに差し込まれ、コントロールユニット803が真空処置を止めるまで鳴り続ける。
画面1136(図48を参照のこと)は情報1120と情報1122を提供する。情報1120は、ユーザーに、プランジャーインターフェイス78が、指定の時間(例えば、15秒以内)内に、最大移動距離に達しないかどうかについて注意を促し、情報1122は、ユーザーに、ホース18で詰まったもの、捻れたものは無いかどうか、また、ホースの捻れや詰まりを解除した時点で、Enterボタン1022を押すように指令する。ストップコック1101がフラッシュ位置ではなく真空位置にあるため、プランジャーインターフェイス78が所定の時間内に完全移動に達することが出来ない可能性がある。
ユーザーは、「アラーム」条件に対処するために適切な対応策を取った後でEnterボタン1022を押す。「アラーム」条件が直されると、アラーム868は鳴るのを止め、該当画面1123,1124,1126,1128,1130,1132,1134,1136はそれぞれのディスプレー1013から消え、真空処置が再開する。
一方、「アラーム」条件が適切に直されずに、Enterボタン1022を押すと、該当アラーム868の鳴りを静め、リセットする。しかしながら、それぞれのシステム806,808は、再度アラーム条件を検出し、その検出時に、それぞれのアラーム868はまた起動し、それぞれの画面1123,1124,1126,1128,1130,1132,1136は再現される。
「補修要求」なる言葉を伴う「補修要求」画面1138(図46を参照のこと)が、それぞれのシステム806,808に修理が必要な場合、該当のディスプレー1013に現れる。画面1138は、エラーコードを与える情報1120、および、情報1122を提供する。情報1122は、ユーザーに、エラーコードと関連する問題に対処するために補修技術者に電話をするように指令する。画面1138が現れると可聴アラーム868が起動される。補修要求条件の場合、補修技術者が、該当のシステム806,808に必要なサービスを提供し、補修要求条件によって引き起こされたアラーム868を解除することが意図される。
前記装置はここに記述されたわけであるが、当業者であれば、本装置の本質的な特徴を容易に確かめ、前記特許請求項に記載される、本開示の精神と範囲を逸脱することなく、様々な用法や特性に合うように様々に変更および修飾の実行が可能であろう。

Claims (55)

  1. 患者の創傷に関連する真空創傷包帯と組み合わせて使用され、前記真空創傷包帯を通じて創傷に陰圧を与えるように構成されたコントロールユニットであって、
    アラームと、
    前記アラームの各起動と関連する情報を提供するアラームログを表示するディスプレーとを含むコントロールユニット。
  2. 前記アラームおよび前記ディスプレーを結合し、前記アラームログを保存するコントローラーをさらに含むことを特徴とする請求項1に記載のコントロールユニット。
  3. 前記コントローラーが、前記ディスプレーに前記アラームログを表示させるように構成されることを特徴とする請求項2に記載のコントロールユニット。
  4. ユーザーコントロールをさらに含むコントロールユニットであって、
    前記ユーザーコントロールが、コントローラーに結合し、
    前記ユーザーコントロールが操作される時に、前記ディスプレーに前記アラームログを表示させることを特徴とする請求項3に記載のコントロールユニット。
  5. 前記アラームログが、前記アラームの各起動の原因となった条件の記述を提供することを特徴とする請求項1に記載のコントロールユニット。
  6. 前記アラームログが、前記アラームの各起動の原因となった条件に関連するコードを提供することを特徴とする請求項1に記載のコントロールユニット。
  7. 前記アラームログが、前記アラームの各起動が生じた時に関連する時間を提供することを特徴とする請求項1に記載のコントロールユニット。
  8. 患者の創傷に関連する真空創傷包帯と組み合わせて使用され、前記真空創傷包帯を通じて前記創傷に陰圧を与えるように構成された創傷処置装置であって、
    ユーザー入力コントロールと、
    前記ユーザー入力コントロールのグラフィック表示、および、前記ユーザー入力コントロールを操作する時に、ユーザーに教えるためのグラフィック表示に関連するテキストを含む情報を表示する電子ディスプレーとを含む創傷処置装置。
  9. 前記創傷を洗浄する洗浄機構をさらに包含する創傷処置装置であって、
    前記ユーザー入力コントロールは、前記洗浄機構を操作する洗浄コントロールを含み、
    前記情報は、前記洗浄コントロールのグラフィック表示、および、前記洗浄コントロールを操作する時にユーザーに教えるためのグラフィック表示に関連するテキストを含むことを特徴とする請求項8に記載の創傷処置装置。
  10. 前記グラフィック表示およびそれと関連する前記テキストが協同して、前記創傷処置装置の操作のために陰圧設定を入力するようにユーザーに指令することを特徴とする請求項8に記載の創傷処置装置。
  11. 前記グラフィック表示およびそれと関連する前記テキストが協同して、前記創傷処置装置の較正のために較正設定を入力するようにユーザーに指令することを特徴とする請求項8に記載の創傷処置装置。
  12. 前記グラフィック表示およびそれと関連する前記テキストが協同して、前記創傷処置装置の操作のためにユーザー選択を確認するようにユーザーに指令することを特徴とする請求項8に記載の創傷処置装置。
  13. 患者の創傷に関連する真空創傷包帯と組み合わせて使用され、前記真空創傷包帯を通じて前記創傷に陰圧を与えるように構成された創傷処置装置であって、
    前記創傷処置装置の通常運転の間に、前記創傷処置装置の操作法をユーザーに教示する情報を表示する電子ディスプレーを含み、
    前記ディスプレーが前記情報を表示している時に、前記情報が、前記創傷処置装置を操作するための実行ファイルであることを特徴とする創傷処置装置。
  14. 前記創傷を洗浄する洗浄機構をさらに含む創傷処置装置であって、
    前記情報が、洗浄機構の操作法をユーザーに教示する情報を含むことを特徴とする請求項13に記載の創傷処置装置。
  15. 前記情報が、前記創傷処置装置の較正法をユーザーに教示する情報を含むことを特徴とする請求項14に記載の創傷処置装置。
  16. 前記創傷処置装置が、前記真空創傷包帯から廃棄物を収集するための廃棄物収集キャニスターと、内部領域の圧力を検知するように、前記廃棄物収集キャニスターの内部領域と連通する圧力センサーを含み、かつ、
    前記情報が、前記圧力センサーの較正法をユーザーに教示する情報を含むことを特徴とする請求項15に記載の創傷処置装置。
  17. 真空創傷包帯と組み合わせて使用されるように構成されたコントロールユニットであって、
    前記真空創傷包帯を通じて陰圧を与えるコントロールモジュールと、
    前記真空創傷包帯から廃棄物を収集する内部領域を有するキャニスターと、
    前記キャニスターを前記コントロールモジュールに結合させるラッチを含み、
    前記ラッチが、前記内部領域を貫いて延びることを特徴とするコントロールユニット。
  18. 前記キャニスターが、前記内部領域に設置されたスリーブを有し、かつ、
    前記ラッチの一部が、前記スリーブの内部に設置されることを特徴とする請求項17に記載のコントロールユニット。
  19. 前記キャニスターが、第1壁および第2壁を有し、かつ、
    前記スリーブが、第1壁から第2壁へ延びることを特徴とする請求項18に記載のコントロールユニット。
  20. 前記ラッチが、前記スリーブの内部に設置された軸を有することを特徴とする請求項18に記載のコントロールユニット。
  21. 前記キャニスターが、第1開口を有する第1壁および第2開口を有する第2壁を有し、
    前記コントロールモジュールが、第3開口を有する第3壁を有し、かつ、
    前記ラッチが、前記第1開口、前記第2開口および前記第3開口を貫いて延びることを特徴とする請求項17に記載のコンントロールユニット。
  22. 前記ラッチが、活性器と、前記活性器の回転に応じて前記キャニスターを前記コントロールモジュールに結合させるファスナーを有することを特徴とする請求項17に記載のコントロールユニット。
  23. 前記コントロールモジュールが、筐体を有し、かつ、
    前記ファスナーが、前記活性器の回転に応じて前記コントロールモジュールの筐体に接触嵌合する一対の折り曲げ片を有することを特徴とする請求項22に記載のコントロールユニット。
  24. 前記コントロールモジュールの前記筐体が、開口を有し、かつ、
    前記キャニスターが前記コントロールモジュールに結合する時に、前記折り曲げ片が、前記開口を貫通することを特徴とする請求項23に記載のコントロールユニット。
  25. 前記活性器が、前記ファスナーに結合し、前記内部領域内に設置される軸を有することを特徴とする請求項22に記載のコントロールユニット。
  26. 前記活性器が、前記ファスナーを回転させるために、前記軸に結合したハンドルを有することを特徴とする請求項25に記載のコントロールユニット。
  27. 前記コントロールモジュールが、筐体を有し、
    前記キャニスターが、前記内部領域を有する筐体を有し、かつ、
    前記ラッチが、前記キャニスターの前記筐体を動かして、前記コントロールモジュールの筐体に対して密封性嵌合を果たすように操作し得ることを特徴とする請求項17に記載のコントロールユニット。
  28. 前記キャニスターの前記筐体が、ポートを有し、
    前記コントロールモジュールの前記筐体が、テーパーソケットを有し、かつ、
    前記コントロールモジュールの前記筐体に対して前記ラッチを回転させると、前記ポートはテーパーソケットの中に引き込まれ、そのために、前記キャニスターの前記筐体と前記コントロールモジュールの前記筐体との間に、密封性嵌合を与えることを特徴とする請求項27に記載のコントロールユニット。
  29. 患者の創傷に関連する真空創傷包帯と組み合わせて使用されるように構成されたキャニスター、および、前記真空創傷包帯を通じて陰圧を与えて前記創傷を処置するコントロールモジュールであって、
    前記真空創傷包帯からの廃棄物を収集する内部領域を有する筐体と、
    前記筐体を前記コントロールモジュールに結合させるラッチを含み、
    前記ラッチは前記内部領域を貫いて延びることを特徴とするキャニスター。
  30. 前記筐体によって担持され、前記内部領域に設置されるスリーブをさらに含み、前記ラッチの一部が前記スリーブ内に設置されることを特徴とする請求項29に記載のキャニスター。
  31. 前記筐体が、第1垂直壁および第2垂直壁を有し、かつ、
    前記スリーブが、前記第1垂直壁から前記第2垂直壁へと延びることを特徴とする請求項30に記載のキャニスター。
  32. 前記第1垂直壁が、第1陥凹部を有し、
    前記第2垂直壁が、第2陥凹部を有し、かつ、
    前記スリーブが、前記第1陥凹部と結合する第1末端部、および、前記第2陥凹部と結合する第2末端部を有することを特徴とする請求項31に記載のキャニスター。
  33. 前記ラッチが、
    前記第1陥凹部内で回転するよう設置されるハンドルと、
    前記スリーブ内にラッチを維持するように前記第2陥凹部と嵌合する保持器を有することを特徴とする請求項32に記載のキャニスター。
  34. 前記第1陥凹部が、前記ハンドルの回転を約90度に限定するように構成されることを特徴とする請求項32に記載のキャニスター。
  35. 前記第1垂直壁が、前記真空創傷包帯からの廃棄物を前記内部領域に導入するための入口ポートを有し、
    前記第2垂直壁が、前記コントロールモジュールの真空供給源と連通する出口ポートを有し、かつ、
    前記スリーブが、前記入口ポートおよび前記出口ポートよりも低いことを特徴とする請求項31に記載のキャニスター。
  36. 前記筐体が、第1開口を有する第1壁および第2開口を有する第2壁を有し、かつ、
    前記ラッチが、前記第1開口および前記第2開口を貫いて延びることを特徴とする請求項29に記載のキャニスター。
  37. 前記ラッチが、活性器と、前記活性器の回転に応じて前記筐体を前記コントロールモジュールに結合するファスナーを有することを特徴とする請求項29に記載のキャニスター。
  38. 前記ファスナーが、前記活性器の回転に応じて前記コントロールモジュールに接触嵌合する一対の折り曲げ片を有することを特徴とする請求項37に記載のキャニスター。
  39. 前記活性器が、前記ファスナーに結合し、前記内部領域内に設置される軸を有することを特徴とする請求項37に記載のキャニスター。
  40. 前記ラッチが、前記シャフトを前記内部領域内に維持するように、前記シャフトに結合する保持器を有することを特徴とする請求項39に記載のキャニスター。
  41. 前記保持器が、クリップ、および、溝を有する円板を有し、
    前記クリップが、前記溝内に設置されて前記筐体を嵌合することを特徴とする請求項40に記載のキャニスター。
  42. 前記活性器が、前記軸に結合したハンドルを有し、前記ファスナーを回転させることを特徴とする請求項39に記載のキャニスター。
  43. 患者の創傷と関連する真空創傷包帯と組み合わせて使用されるように構成されたコントロールユニットであって、
    前記真空創傷包帯を通じて陰圧を与える真空供給源と、
    前記創傷を洗浄する流体供給源と、
    前記真空供給源および前記流体供給源を担持する筐体と、
    前記流体供給源を露出する開放位置と、前記流体供給源を少なくとも部分的に覆う閉鎖位置との間において、前記筐体に対して相対的に移動し得るドアと、
    施錠位置と解除位置との間のドアの移動において、ドアに結合させるラッチを含み、
    前記施錠位置は、ドアの閉鎖位置からドアの開放位置への移動を阻止する位置であり、
    前記解除位置は、ドアの閉鎖位置とドアの開放位置との間においてドアが移動できる位置であることを特徴とするコントロールユニット。
  44. 前記筐体が、スロットを有し、
    前記ラッチが、前記施錠位置では前記スロット内に設置され、前記解除位置では前記スロット外に設置されていることを特徴とする請求項43に記載のコントロールユニット。
  45. 前記ラッチが、ファスナーと、前記ファスナーを回転させて前記スロットに入れるための活性器と、前記ファスナーを回転させて前記スロットから出すための活性器を有することを特徴とする請求項44に記載のコントロールユニット。
  46. 前記活性器が、前記ドアの前に設置されるハンドルを有し、
    前記ファスナーが、前記ドアの後ろに設置されていることを特徴とする請求項45に記載のコントロールユニット。
  47. 前記活性器が、前記ハンドルおよび前記ファスナーに結合し、前記ドアを貫いて延びる支柱であることを特徴とする請求項46に記載のコントロールユニット。
  48. 前記ファスナーが、前記支柱に対して垂直なアームであることを特徴とする請求項47に記載のコントロールユニット。
  49. 前記ドアが、第1側面と第2側面を有し、
    前記第1側面が、前記筐体とヒンジ結合し、
    前記ラッチが、前記第2側面と回転可能に結合することを特徴とする請求項43に記載のコントロールユニット。
  50. 患者の創傷と関連する真空創傷包帯と組み合わせて使用されるように構成されたコントロールユニットであって、
    前記真空創傷包帯を通じて陰圧を与える真空供給源と、
    前記創傷を洗浄する流体供給源と、
    前記真空供給源と前記流体供給源を担持する筐体と、
    前記筐体に結合し、前記流体供給源を少なくとも部分的に覆うドアを含み、
    前記ドアが、前記流体供給源を支持する取り付け部を有することを特徴とするコントロールユニット。
  51. 前記取り付け部が、溝であり、
    前記流体供給源が、前記溝内に設置されるフランジを有する注射筒であることを特徴とする請求項50に記載のコントロールユニット。
  52. 前記ドアが、複数の垂直に隔てられた溝を有し、
    前記フランジが、前記溝の内の一つに設置されていることを特徴とする請求項51に記載のコントロールユニット。
  53. 前記筐体が、複数の垂直に隔てられた溝を有し、
    前記フランジが、前記筐体の前記溝の内の一つに設置されていることを特徴とする請求項52に記載のコントロールユニット。
  54. 前記筐体が、1本の溝を有し、
    前記フランジが、前記筐体の前記溝の内に設置されていることを特徴とする請求項51に記載のコントロールユニット。
  55. 前記複数の溝は、前記注射筒が垂直に指向されるように、水平になっていることを特徴とする請求項54に記載のコントロールユニット。
JP2009236963A 2002-05-31 2009-10-14 創傷処置装置 Expired - Fee Related JP5118113B2 (ja)

Applications Claiming Priority (4)

Application Number Priority Date Filing Date Title
US10/159,720 US6824533B2 (en) 2000-11-29 2002-05-31 Wound treatment apparatus
US10/159,583 2002-05-31
US10/159,583 US6764462B2 (en) 2000-11-29 2002-05-31 Wound treatment apparatus
US10/159,720 2002-05-31

Related Parent Applications (1)

Application Number Title Priority Date Filing Date
JP2004508861A Division JP4558481B2 (ja) 2002-05-31 2003-05-30 創傷処置装置

Publications (2)

Publication Number Publication Date
JP2010042281A true JP2010042281A (ja) 2010-02-25
JP5118113B2 JP5118113B2 (ja) 2013-01-16

Family

ID=29714714

Family Applications (2)

Application Number Title Priority Date Filing Date
JP2004508861A Expired - Fee Related JP4558481B2 (ja) 2002-05-31 2003-05-30 創傷処置装置
JP2009236963A Expired - Fee Related JP5118113B2 (ja) 2002-05-31 2009-10-14 創傷処置装置

Family Applications Before (1)

Application Number Title Priority Date Filing Date
JP2004508861A Expired - Fee Related JP4558481B2 (ja) 2002-05-31 2003-05-30 創傷処置装置

Country Status (6)

Country Link
EP (3) EP1565219B2 (ja)
JP (2) JP4558481B2 (ja)
AU (1) AU2003238836A1 (ja)
CA (1) CA2487307A1 (ja)
ES (2) ES2644226T3 (ja)
WO (1) WO2003101508A2 (ja)

Cited By (1)

* Cited by examiner, † Cited by third party
Publication number Priority date Publication date Assignee Title
JP2014500739A (ja) * 2010-10-27 2014-01-16 ケーシーアイ ライセンシング インコーポレイテッド 対話型無線減圧ドレッシング、方法、およびシステム

Families Citing this family (140)

* Cited by examiner, † Cited by third party
Publication number Priority date Publication date Assignee Title
US6855135B2 (en) 2000-11-29 2005-02-15 Hill-Rom Services, Inc. Vacuum therapy and cleansing dressing for wounds
AU2002359830A1 (en) 2001-12-26 2003-07-24 Hill-Rom Services, Inc. Wound vacuum therapy dressing kit
WO2003057070A2 (en) * 2001-12-26 2003-07-17 Hill-Rom Services Inc. Vented vacuum bandage and method
US7846141B2 (en) 2002-09-03 2010-12-07 Bluesky Medical Group Incorporated Reduced pressure treatment system
GB0224986D0 (en) 2002-10-28 2002-12-04 Smith & Nephew Apparatus
US11298453B2 (en) 2003-10-28 2022-04-12 Smith & Nephew Plc Apparatus and method for wound cleansing with actives
GB0325126D0 (en) 2003-10-28 2003-12-03 Smith & Nephew Apparatus with heat
GB0325129D0 (en) 2003-10-28 2003-12-03 Smith & Nephew Apparatus in situ
GB0325130D0 (en) 2003-10-28 2003-12-03 Smith & Nephew Apparatus with scaffold
US10058642B2 (en) 2004-04-05 2018-08-28 Bluesky Medical Group Incorporated Reduced pressure treatment system
US8062272B2 (en) 2004-05-21 2011-11-22 Bluesky Medical Group Incorporated Flexible reduced pressure treatment appliance
US7909805B2 (en) 2004-04-05 2011-03-22 Bluesky Medical Group Incorporated Flexible reduced pressure treatment appliance
US7753894B2 (en) 2004-04-27 2010-07-13 Smith & Nephew Plc Wound cleansing apparatus with stress
GB0508528D0 (en) * 2005-04-27 2005-06-01 Smith & Nephew SAI with macrostress
US10413644B2 (en) 2004-04-27 2019-09-17 Smith & Nephew Plc Wound treatment apparatus and method
US8529548B2 (en) 2004-04-27 2013-09-10 Smith & Nephew Plc Wound treatment apparatus and method
GB0409446D0 (en) 2004-04-28 2004-06-02 Smith & Nephew Apparatus
GB0508529D0 (en) * 2005-04-27 2005-06-01 Smith & Nephew Sai with microstress
CA2619929A1 (en) 2005-09-06 2007-03-15 Tyco Healthcare Group Lp Self contained wound dressing with micropump
MX2008002882A (es) 2005-09-07 2008-03-27 Tyco Healthcare Aposito de herida con deposito de vacio.
JP2009509570A (ja) 2005-09-07 2009-03-12 タイコ ヘルスケア グループ リミテッド パートナーシップ 自蔵創傷手当て装置
BRPI0620533A2 (pt) * 2005-12-06 2011-11-16 Kci Licensing Inc aparelho de tratamento de ferida, aparelho de estase e isolamento de ferida e método de provisão de estase e isolamento a uma ferida
AU2007225050B2 (en) * 2006-03-14 2011-08-18 Solventum Intellectual Properties Company System and method for purging a reduced pressure apparatus during the administration of reduced pressure treatment
US7779625B2 (en) 2006-05-11 2010-08-24 Kalypto Medical, Inc. Device and method for wound therapy
US7758555B2 (en) 2006-09-19 2010-07-20 Kci Licensing, Inc. Reduced pressure treatment system having blockage clearing and dual-zone pressure protection capabilities
US7876546B2 (en) 2006-09-19 2011-01-25 Kci Licensing Inc. Component module for a reduced pressure treatment system
AU2013206572B2 (en) * 2006-09-19 2016-04-21 Solventum Intellectual Properties Company Component module for a reduced pressure treatment system
US8366690B2 (en) * 2006-09-19 2013-02-05 Kci Licensing, Inc. System and method for determining a fill status of a canister of fluid in a reduced pressure treatment system
DE602007004546D1 (de) 2006-09-28 2010-03-18 Tyco Healthcare Tragbares Wundtherapiesystem
EP2081618B1 (en) 2006-10-13 2016-01-06 Bluesky Medical Group Inc. Improved control circuit and apparatus for negative pressure wound treatment
US7931651B2 (en) 2006-11-17 2011-04-26 Wake Lake University Health Sciences External fixation assembly and method of use
US8377016B2 (en) 2007-01-10 2013-02-19 Wake Forest University Health Sciences Apparatus and method for wound treatment employing periodic sub-atmospheric pressure
WO2008103406A1 (en) * 2007-02-20 2008-08-28 Kci Licensing Inc. System and method for distingushing leaks from a disengaged canister condition in a redued pressure treatment system
GB0712763D0 (en) 2007-07-02 2007-08-08 Smith & Nephew Apparatus
GB0712760D0 (en) 2007-07-02 2007-08-08 Smith & Nephew Status indication
GB0715211D0 (en) 2007-08-06 2007-09-12 Smith & Nephew Apparatus
US9408954B2 (en) 2007-07-02 2016-08-09 Smith & Nephew Plc Systems and methods for controlling operation of negative pressure wound therapy apparatus
GB0715259D0 (en) 2007-08-06 2007-09-12 Smith & Nephew Canister status determination
GB0712739D0 (en) 2007-07-02 2007-08-08 Smith & Nephew Apparatus
US7790946B2 (en) 2007-07-06 2010-09-07 Tyco Healthcare Group Lp Subatmospheric pressure wound therapy dressing
US12121648B2 (en) 2007-08-06 2024-10-22 Smith & Nephew Plc Canister status determination
GB0715212D0 (en) 2007-08-06 2007-09-12 Smith & Nephew Apparatus
ES2661762T3 (es) * 2007-10-10 2018-04-03 Wake Forest University Health Sciences Dispositivos para tratar el tejido de la médula espinal
GB0723855D0 (en) 2007-12-06 2008-01-16 Smith & Nephew Apparatus and method for wound volume measurement
US11253399B2 (en) 2007-12-06 2022-02-22 Smith & Nephew Plc Wound filling apparatuses and methods
GB0723872D0 (en) 2007-12-06 2008-01-16 Smith & Nephew Apparatus for topical negative pressure therapy
US20130096518A1 (en) 2007-12-06 2013-04-18 Smith & Nephew Plc Wound filling apparatuses and methods
GB0803564D0 (en) 2008-02-27 2008-04-02 Smith & Nephew Fluid collection
US9033942B2 (en) 2008-03-07 2015-05-19 Smith & Nephew, Inc. Wound dressing port and associated wound dressing
US8298200B2 (en) 2009-06-01 2012-10-30 Tyco Healthcare Group Lp System for providing continual drainage in negative pressure wound therapy
US8021347B2 (en) 2008-07-21 2011-09-20 Tyco Healthcare Group Lp Thin film wound dressing
US8152785B2 (en) 2008-03-13 2012-04-10 Tyco Healthcare Group Lp Vacuum port for vacuum wound therapy
US20090240218A1 (en) * 2008-03-20 2009-09-24 Tyco Healthcare Group Lp Wound Therapy System
US8241260B2 (en) 2008-04-21 2012-08-14 Enzysurge Ltd. Liquid streaming devices for treating wounds, method of making such devices, and method of using such devices for treating wounds
US8414519B2 (en) 2008-05-21 2013-04-09 Covidien Lp Wound therapy system with portable container apparatus
US8177763B2 (en) 2008-09-05 2012-05-15 Tyco Healthcare Group Lp Canister membrane for wound therapy system
US10912869B2 (en) 2008-05-21 2021-02-09 Smith & Nephew, Inc. Wound therapy system with related methods therefor
US8007481B2 (en) 2008-07-17 2011-08-30 Tyco Healthcare Group Lp Subatmospheric pressure mechanism for wound therapy system
EP2300069B1 (en) * 2008-07-08 2017-12-13 Smith & Nephew, Inc Portable negative pressure wound therapy device
JP2011528577A (ja) 2008-07-18 2011-11-24 ウェイク フォーレスト ユニバーシティ ヘルス サイエンシーズ 細胞死及び細胞損傷を最小限に抑えるための真空の局所的適用による心臓組織調整のための装置及び方法
AU2015200161B2 (en) * 2008-08-08 2016-12-15 Solventum Intellectual Properties Company Reduced-pressure treatment systems with reservoir control
HUE037556T2 (hu) 2008-08-08 2018-09-28 Smith & Nephew Inc Sebkötözõ folytonos szálakból
AU2009279487B2 (en) 2008-08-08 2014-10-16 Solventum Intellectual Properties Company Reduced-pressure treatment systems with reservoir control
US8251979B2 (en) 2009-05-11 2012-08-28 Tyco Healthcare Group Lp Orientation independent canister for a negative pressure wound therapy device
US8827983B2 (en) 2008-08-21 2014-09-09 Smith & Nephew, Inc. Sensor with electrical contact protection for use in fluid collection canister and negative pressure wound therapy systems including same
US9414968B2 (en) 2008-09-05 2016-08-16 Smith & Nephew, Inc. Three-dimensional porous film contact layer with improved wound healing
US8162907B2 (en) 2009-01-20 2012-04-24 Tyco Healthcare Group Lp Method and apparatus for bridging from a dressing in negative pressure wound therapy
CA2759518C (en) * 2009-04-23 2018-05-08 Fresenius Medical Care Deutschland Gmbh Device and external functional means and treatment apparatus for the treatment of medical fluids
US20110196321A1 (en) 2009-06-10 2011-08-11 Tyco Healthcare Group Lp Fluid Collection Canister Including Canister Top with Filter Membrane and Negative Pressure Wound Therapy Systems Including Same
US20100318071A1 (en) * 2009-06-10 2010-12-16 Tyco Healthcare Group Lp Fluid Collection Canister Including Canister Top with Filter Membrane and Negative Pressure Wound Therapy Systems Including Same
US20100324516A1 (en) 2009-06-18 2010-12-23 Tyco Healthcare Group Lp Apparatus for Vacuum Bridging and/or Exudate Collection
US8900217B2 (en) 2009-08-05 2014-12-02 Covidien Lp Surgical wound dressing incorporating connected hydrogel beads having an embedded electrode therein
DE102009038131A1 (de) * 2009-08-12 2011-02-17 ATMOS Medizin Technik GmbH & Co. KG Am Körper eines Benutzers tragbare Vorrichtung zur Bereitstellung von Unterdruck für medizinische Anwendungen
AU2010341491B2 (en) 2009-12-22 2015-05-14 Smith & Nephew, Inc. Apparatuses and methods for negative pressure wound therapy
US9061095B2 (en) 2010-04-27 2015-06-23 Smith & Nephew Plc Wound dressing and method of use
USRE48117E1 (en) 2010-05-07 2020-07-28 Smith & Nephew, Inc. Apparatuses and methods for negative pressure wound therapy
GB201015656D0 (en) 2010-09-20 2010-10-27 Smith & Nephew Pressure control apparatus
CA2814657A1 (en) 2010-10-12 2012-04-19 Kevin J. Tanis Medical device
USD714433S1 (en) 2010-12-22 2014-09-30 Smith & Nephew, Inc. Suction adapter
WO2012087376A1 (en) 2010-12-22 2012-06-28 Smith & Nephew, Inc. Apparatuses and methods for negative pressure wound therapy
US9302034B2 (en) 2011-04-04 2016-04-05 Smith & Nephew, Inc. Negative pressure wound therapy dressing
CN103889476B (zh) 2011-06-07 2017-04-26 史密夫及内修公开有限公司 伤口接触部件和方法
US9084845B2 (en) 2011-11-02 2015-07-21 Smith & Nephew Plc Reduced pressure therapy apparatuses and methods of using same
JP6208147B2 (ja) 2012-01-10 2017-10-04 ケーシーアイ ライセンシング インコーポレイテッド 創傷療法ドレッシングに流体を送達するためのシステムおよび方法
EP3708196A1 (en) 2012-03-12 2020-09-16 Smith & Nephew PLC Reduced pressure apparatus and methods
US9427505B2 (en) 2012-05-15 2016-08-30 Smith & Nephew Plc Negative pressure wound therapy apparatus
JP6382185B2 (ja) 2012-05-22 2018-08-29 スミス アンド ネフュー ピーエルシーSmith & Nephew Public Limited Company 創傷治療のための装置および方法
USD764654S1 (en) 2014-03-13 2016-08-23 Smith & Nephew, Inc. Canister for collecting wound exudate
CN105492035B (zh) 2013-03-14 2019-06-14 史密夫和内修有限公司 用于应用减压治疗的系统和方法
US9737649B2 (en) 2013-03-14 2017-08-22 Smith & Nephew, Inc. Systems and methods for applying reduced pressure therapy
RU2015152082A (ru) 2013-05-10 2017-06-16 СМИТ ЭНД НЕФЬЮ ПиЭлСи Соединитель для текучей среды для орошения и аспирации ран
JP6679483B2 (ja) * 2013-08-13 2020-04-15 スミス アンド ネフュー インコーポレイテッド 減圧治療を実施するためのシステムおよび方法
USD764048S1 (en) 2014-05-28 2016-08-16 Smith & Nephew, Inc. Device for applying negative pressure to a wound
USD764653S1 (en) 2014-05-28 2016-08-23 Smith & Nephew, Inc. Canister for collecting wound exudate
USD764047S1 (en) 2014-05-28 2016-08-16 Smith & Nephew, Inc. Therapy unit assembly
USD765830S1 (en) 2014-06-02 2016-09-06 Smith & Nephew, Inc. Therapy unit assembly
USD770173S1 (en) 2014-06-02 2016-11-01 Smith & Nephew, Inc. Bag
EP3174569B1 (en) 2014-07-31 2020-01-15 Smith & Nephew, Inc Systems and methods for applying reduced pressure therapy
US12133789B2 (en) 2014-07-31 2024-11-05 Smith & Nephew, Inc. Reduced pressure therapy apparatus construction and control
JP6725527B2 (ja) 2014-12-22 2020-07-22 スミス アンド ネフュー ピーエルシーSmith & Nephew Public Limited Company 陰圧閉鎖療法の装置および方法
CN107106743B (zh) 2014-12-30 2020-06-05 史密夫和内修有限公司 用于应用减压治疗的系统和方法
JP6813489B2 (ja) 2014-12-30 2021-01-13 スミス アンド ネフュー インコーポレイテッド 減圧療法を施すためのシステムおよび方法
DK3288508T3 (da) 2015-04-27 2020-03-09 Smith & Nephew Anordninger med reduceret tryk
EP3124060B1 (de) * 2015-07-28 2019-09-11 Paul Hartmann AG Schalldämpfer für eine unterdrucktherapieeinheit
EP3124059B1 (de) * 2015-07-28 2018-12-05 Paul Hartmann AG Schalldämpfer für eine unterdrucktherapieeinheit
GB2557143B (en) 2015-08-13 2021-01-06 Smith & Nephew Inc Systems and methods for applying reduced pressure therapy
GB2547012B (en) * 2016-02-04 2018-12-19 Aspirate N Go Ltd Pump assembly suitable for use in aspirators
US11357906B2 (en) 2016-02-12 2022-06-14 Smith & Nephew, Inc. Systems and methods for detecting operational conditions of reduced pressure therapy
CN109069301B (zh) 2016-03-07 2021-11-30 史密夫及内修公开有限公司 利用整合到伤口敷料中的负压源的伤口治疗设备和方法
JP7027332B2 (ja) 2016-04-26 2022-03-01 スミス アンド ネフュー ピーエルシー 流体浸入阻止構成要素を有する一体化された陰圧源を用いた創傷被覆材及び使用方法
WO2017191149A1 (en) 2016-05-03 2017-11-09 Smith & Nephew Plc Optimizing power transfer to negative pressure sources in negative pressure therapy systems
EP3452129B1 (en) 2016-05-03 2022-03-23 Smith & Nephew plc Negative pressure wound therapy device activation and control
CN109069711A (zh) 2016-05-03 2018-12-21 史密夫及内修公开有限公司 用于在负压力治疗系统中驱动负压源的系统和方法
CN109069713A (zh) 2016-05-13 2018-12-21 史密夫和内修有限公司 负压伤口治疗系统中的自动伤口联接检测
EP3503857B1 (en) 2016-08-25 2024-04-17 Smith & Nephew plc Absorbent negative pressure wound therapy dressing
EP3519001B1 (en) 2016-09-30 2025-05-21 Smith & Nephew plc Negative pressure wound treatment apparatuses and methods with integrated electronics
US12447260B2 (en) 2016-09-30 2025-10-21 Smith & Nephew Plc Negative pressure wound treatment apparatuses and methods with integrated electronics
USD835648S1 (en) 2016-10-27 2018-12-11 Smith & Nephew, Inc. Display screen or portion thereof with a graphical user interface for a therapy device
US12005181B2 (en) 2016-12-12 2024-06-11 Smith & Nephew Plc Pressure wound therapy status indication via external device
CA3053299A1 (en) * 2017-02-15 2018-08-23 Smith & Nephew Pte. Limited Negative pressure wound therapy apparatuses and methods for using the same
WO2018162613A1 (en) 2017-03-08 2018-09-13 Smith & Nephew Plc Negative pressure wound therapy device control in presence of fault condition
EP3621667B1 (en) 2017-05-09 2025-08-20 Smith & Nephew PLC Redundant controls for negative pressure wound therapy systems
CN111065424A (zh) 2017-09-13 2020-04-24 史密夫及内修公开有限公司 具有集成电子器件的负压伤口治疗设备及方法
GB201718070D0 (en) 2017-11-01 2017-12-13 Smith & Nephew Negative pressure wound treatment apparatuses and methods with integrated electronics
US11497653B2 (en) 2017-11-01 2022-11-15 Smith & Nephew Plc Negative pressure wound treatment apparatuses and methods with integrated electronics
GB201718072D0 (en) 2017-11-01 2017-12-13 Smith & Nephew Negative pressure wound treatment apparatuses and methods with integrated electronics
GB201718054D0 (en) 2017-11-01 2017-12-13 Smith & Nephew Sterilization of integrated negative pressure wound treatment apparatuses and sterilization methods
GB201813282D0 (en) 2018-08-15 2018-09-26 Smith & Nephew System for medical device activation and opertion
WO2020005532A1 (en) * 2018-06-25 2020-01-02 Kci Licensing, Inc. Method and system for reducing noise of a wearable medical device
GB201811449D0 (en) 2018-07-12 2018-08-29 Smith & Nephew Apparatuses and methods for negative pressure wound therapy
USD898925S1 (en) 2018-09-13 2020-10-13 Smith & Nephew Plc Medical dressing
RU2734442C2 (ru) * 2018-10-02 2020-10-16 Общество с ограниченной ответственностью "ВИТ МЕДИКАЛ" Устройство для лечения инфицированных и гнойных ран
GB201907716D0 (en) 2019-05-31 2019-07-17 Smith & Nephew Systems and methods for extending operational time of negative pressure wound treatment apparatuses
GB202000574D0 (en) 2020-01-15 2020-02-26 Smith & Nephew Fluidic connectors for negative pressure wound therapy
US20220355017A1 (en) * 2021-05-05 2022-11-10 SafeHeal SAS Systems and devices for monitoring negative pressure devices
USD1099288S1 (en) 2022-03-23 2025-10-21 T.J. Smith And Nephew, Limited Device for applying negative pressure to a wound
JP7276791B1 (ja) * 2023-01-12 2023-05-18 株式会社三幸製作所 電動式低圧吸引器
EP4655015A1 (en) * 2023-01-25 2025-12-03 Solventum Intellectual Properties Company Fluid control device for negative pressure wound therapy system
AU2024225575A1 (en) 2023-02-21 2025-08-07 Osteal Therapeutics, Inc. Systems and devices for treatment of localized infection in and around articulating joints and methods of use
DE102023117305A1 (de) * 2023-06-30 2025-01-02 Paul Hartmann Ag Array umfassend wenigstens zwei Aggregatteile und wenigstens zwei Behälterteile zur Bildung einer Vorrichtung zur Unterdruckbehandlung von Wunden

Citations (10)

* Cited by examiner, † Cited by third party
Publication number Priority date Publication date Assignee Title
JPH0614995A (ja) * 1992-07-02 1994-01-25 Nippon Medical Supply Corp 血液透析装置
JPH07136250A (ja) * 1993-06-24 1995-05-30 Althin Medical Inc 血液透析機械の操作法、時間変更パラメータのプログラミング法、透析機械の操作法、腎臓透析機械及び血液透析機械
JPH10504484A (ja) * 1994-08-22 1998-05-06 キネティック コンセプツ インコーポレイテッド 創傷部の排液技術
JPH11504833A (ja) * 1995-05-13 1999-05-11 フライシマン,ヴィム 創傷の真空密封装置
JP2000500992A (ja) * 1995-11-14 2000-02-02 ケーシーアイ メディカル リミテッド ポータブル傷治療装置
WO2001037922A2 (en) * 1999-11-29 2001-05-31 Hill-Rom Services, Inc. Wound treatment apparatus
JP2001283352A (ja) * 2000-03-29 2001-10-12 Yokogawa Electric Corp アラーム発生装置及びアラーム表示装置
JP2001524850A (ja) * 1997-03-14 2001-12-04 ネルコー・ピューリタン・ベネット・インコーポレイテッド 患者用ベンチレータの起動を制御するためのシステムおよび方法
JP2002049978A (ja) * 2000-07-31 2002-02-15 Yokogawa Electric Corp アラーム表示装置
JP2002527146A (ja) * 1998-10-13 2002-08-27 ケーシーアイ メディカル リミテッド 壁吸引部を使用する負圧治療

Family Cites Families (11)

* Cited by examiner, † Cited by third party
Publication number Priority date Publication date Assignee Title
US3831588A (en) 1972-10-16 1974-08-27 Device Res Inc Pressure sensing device
US4258717A (en) * 1977-09-06 1981-03-31 Institute Of Critical Care Medicine Vascular interface
US4342218A (en) 1980-01-16 1982-08-03 Forrest Fox Method and apparatus for zeroing and calibrating an invasive blood pressure monitoring system
US4655754A (en) * 1984-11-09 1987-04-07 Stryker Corporation Vacuum wound drainage system and lipids baffle therefor
US4886070A (en) 1988-05-11 1989-12-12 Thermometrics, Inc. Method of in vivo calibration of a pressure sensor
DE9105742U1 (de) 1991-05-08 1991-07-04 Keller AG für Druckmeßtechnik, Winterthur Meß- und Kalibriergerät zum Abgleich von mittels in Körpern von Lebewesen implantierbaren Drucksensoren ermittelten Meßsignalen
JPH06117956A (ja) * 1992-10-05 1994-04-28 Toshiba Corp 校正装置
JP3964037B2 (ja) * 1998-03-20 2007-08-22 株式会社キーエンス 圧力計の較正方法及び装置
ATE547136T1 (de) * 1999-04-09 2012-03-15 Kci Licensing Inc Therapievorrichtung für wunden
GB9926538D0 (en) * 1999-11-09 2000-01-12 Kci Medical Ltd Multi-lumen connector
JP2002014000A (ja) * 2000-06-30 2002-01-18 Toho Gas Co Ltd 自記圧力計

Patent Citations (10)

* Cited by examiner, † Cited by third party
Publication number Priority date Publication date Assignee Title
JPH0614995A (ja) * 1992-07-02 1994-01-25 Nippon Medical Supply Corp 血液透析装置
JPH07136250A (ja) * 1993-06-24 1995-05-30 Althin Medical Inc 血液透析機械の操作法、時間変更パラメータのプログラミング法、透析機械の操作法、腎臓透析機械及び血液透析機械
JPH10504484A (ja) * 1994-08-22 1998-05-06 キネティック コンセプツ インコーポレイテッド 創傷部の排液技術
JPH11504833A (ja) * 1995-05-13 1999-05-11 フライシマン,ヴィム 創傷の真空密封装置
JP2000500992A (ja) * 1995-11-14 2000-02-02 ケーシーアイ メディカル リミテッド ポータブル傷治療装置
JP2001524850A (ja) * 1997-03-14 2001-12-04 ネルコー・ピューリタン・ベネット・インコーポレイテッド 患者用ベンチレータの起動を制御するためのシステムおよび方法
JP2002527146A (ja) * 1998-10-13 2002-08-27 ケーシーアイ メディカル リミテッド 壁吸引部を使用する負圧治療
WO2001037922A2 (en) * 1999-11-29 2001-05-31 Hill-Rom Services, Inc. Wound treatment apparatus
JP2001283352A (ja) * 2000-03-29 2001-10-12 Yokogawa Electric Corp アラーム発生装置及びアラーム表示装置
JP2002049978A (ja) * 2000-07-31 2002-02-15 Yokogawa Electric Corp アラーム表示装置

Cited By (1)

* Cited by examiner, † Cited by third party
Publication number Priority date Publication date Assignee Title
JP2014500739A (ja) * 2010-10-27 2014-01-16 ケーシーアイ ライセンシング インコーポレイテッド 対話型無線減圧ドレッシング、方法、およびシステム

Also Published As

Publication number Publication date
EP1565219A2 (en) 2005-08-24
CA2487307A1 (en) 2003-12-11
EP2650027B1 (en) 2017-09-20
ES2642724T3 (es) 2017-11-17
EP2650028B1 (en) 2017-08-09
EP1565219B2 (en) 2021-11-03
JP5118113B2 (ja) 2013-01-16
WO2003101508A2 (en) 2003-12-11
EP2650028A2 (en) 2013-10-16
ES2644226T3 (es) 2017-11-28
AU2003238836A1 (en) 2003-12-19
EP2650028A3 (en) 2014-01-08
JP2005531340A (ja) 2005-10-20
JP4558481B2 (ja) 2010-10-06
WO2003101508A8 (en) 2005-06-30
EP2650027A3 (en) 2014-01-22
EP1565219B1 (en) 2014-02-26
EP2650027A2 (en) 2013-10-16

Similar Documents

Publication Publication Date Title
JP5118113B2 (ja) 創傷処置装置
US6764462B2 (en) Wound treatment apparatus
US8021348B2 (en) Wound treatment apparatus
JP4681185B2 (ja) 外傷治療装置
JP3687794B2 (ja) 創傷部の排液技術

Legal Events

Date Code Title Description
A131 Notification of reasons for refusal

Free format text: JAPANESE INTERMEDIATE CODE: A131

Effective date: 20110802

A521 Request for written amendment filed

Free format text: JAPANESE INTERMEDIATE CODE: A523

Effective date: 20111101

A131 Notification of reasons for refusal

Free format text: JAPANESE INTERMEDIATE CODE: A131

Effective date: 20120529

A521 Request for written amendment filed

Free format text: JAPANESE INTERMEDIATE CODE: A523

Effective date: 20120828

TRDD Decision of grant or rejection written
A01 Written decision to grant a patent or to grant a registration (utility model)

Free format text: JAPANESE INTERMEDIATE CODE: A01

Effective date: 20120925

A01 Written decision to grant a patent or to grant a registration (utility model)

Free format text: JAPANESE INTERMEDIATE CODE: A01

A61 First payment of annual fees (during grant procedure)

Free format text: JAPANESE INTERMEDIATE CODE: A61

Effective date: 20121018

R150 Certificate of patent or registration of utility model

Ref document number: 5118113

Country of ref document: JP

Free format text: JAPANESE INTERMEDIATE CODE: R150

Free format text: JAPANESE INTERMEDIATE CODE: R150

FPAY Renewal fee payment (event date is renewal date of database)

Free format text: PAYMENT UNTIL: 20151026

Year of fee payment: 3

R250 Receipt of annual fees

Free format text: JAPANESE INTERMEDIATE CODE: R250

R250 Receipt of annual fees

Free format text: JAPANESE INTERMEDIATE CODE: R250

R250 Receipt of annual fees

Free format text: JAPANESE INTERMEDIATE CODE: R250

R250 Receipt of annual fees

Free format text: JAPANESE INTERMEDIATE CODE: R250

R250 Receipt of annual fees

Free format text: JAPANESE INTERMEDIATE CODE: R250

LAPS Cancellation because of no payment of annual fees