JP2010041789A - 引出形開閉器用シャッタ装置 - Google Patents

引出形開閉器用シャッタ装置 Download PDF

Info

Publication number
JP2010041789A
JP2010041789A JP2008200231A JP2008200231A JP2010041789A JP 2010041789 A JP2010041789 A JP 2010041789A JP 2008200231 A JP2008200231 A JP 2008200231A JP 2008200231 A JP2008200231 A JP 2008200231A JP 2010041789 A JP2010041789 A JP 2010041789A
Authority
JP
Japan
Prior art keywords
switch
fixed terminal
arm member
switchgear
terminal
Prior art date
Legal status (The legal status is an assumption and is not a legal conclusion. Google has not performed a legal analysis and makes no representation as to the accuracy of the status listed.)
Granted
Application number
JP2008200231A
Other languages
English (en)
Other versions
JP5137733B2 (ja
Inventor
Hiroyuki Koyanagi
広幸 小柳
Current Assignee (The listed assignees may be inaccurate. Google has not performed a legal analysis and makes no representation or warranty as to the accuracy of the list.)
Chugoku Electric Power Co Inc
Original Assignee
Chugoku Electric Power Co Inc
Priority date (The priority date is an assumption and is not a legal conclusion. Google has not performed a legal analysis and makes no representation as to the accuracy of the date listed.)
Filing date
Publication date
Application filed by Chugoku Electric Power Co Inc filed Critical Chugoku Electric Power Co Inc
Priority to JP2008200231A priority Critical patent/JP5137733B2/ja
Publication of JP2010041789A publication Critical patent/JP2010041789A/ja
Application granted granted Critical
Publication of JP5137733B2 publication Critical patent/JP5137733B2/ja
Expired - Fee Related legal-status Critical Current
Anticipated expiration legal-status Critical

Links

Images

Landscapes

  • Trip Switchboards (AREA)

Abstract

【課題】開閉器室における開閉器の出し入れに連動して固定された端子の露出・遮蔽を行うことができると共に、開閉器室内の保守・点検作業中における感電事故の発生を確実に防止することができる引出形開閉器用シャッタ装置を提供する。
【解決手段】
開閉器の固定端子4に対する接近・離反方向にスライド可能且つ一端側を中心に開閉器室10の上下方向に回動可能に構成されたアーム部材30と、アーム部材30の他端側に連結され固定端子4に対応して配されて開閉器室10の上下方向にスライド可能に支持されたシャッタ板31と、固定端子4がシャッタ板31で遮蔽された状態でアーム部材30のスライド移動だけを案内する回動規制部41を有するガイド部材32とを有する。
【選択図】図2

Description

本発明は、電路の開閉を行う開閉器が収容される開閉器室内に固定された固定端子に対し、開閉器を挿入したり引き出したりすることで電路の断路を行う引出形開閉器に用いられる引出形開閉器用シャッタ装置に関する。
一般に、電路の開閉を行う引出形開閉器を有する機械としてスイッチギヤが知られている。スイッチギヤには固定端子が固定され、断路部端子を具備し移動可能に構成された開閉器(遮断器)が収容される開閉器室が設けられている。そしてスイッチギヤは、開閉器を固定端子に接近させて固定端子に断路部端子を接続することで押込状態とされる。また、スイッチギヤは、開閉器を開閉器室から引き出し、断路部端子を固定端子から切り離すことで引出状態とされる。すなわち、これら固定端子と開閉器とで引出形開閉器が構成されており、スイッチギヤはこの引出形開閉器で断路部接続および切り離しを行っている。そして、スイッチギヤの開閉器室内の保守・点検作業は、開閉器を開閉器室から引き出した後、作業員が開閉器室内に入って保守・点検作業を行っているのが現状である。
ところで開閉器を開閉器室内から引き出すと、開閉器室内では固定端子が露出された状態となり、このままの状態で保守・点検作業を行うと、作業者が固定端子に接触して感電する等の事故が発生してしまう虞がある。
こうした感電事故を防ぐために、開閉器室の上下方向に回動するアーム部材の回動に伴って固定端子に対応して設けられたシャッタが昇降し、固定端子を遮蔽又は露出させるように構成された開閉器のシャッタ機構が提案されている(例えば、特許文献1参照)。特許文献1に記載の開閉器のシャッタ機構では、開閉器室から開閉器を引き出すとシャッタが下降して固定端子が遮蔽されるので、保守・点検作業中に、作業員が固定端子へ接触してしまうことによる感電事故の発生を防止することができる。
特開2002−335610号公報
しかしながら、特許文献1に記載の開閉器のシャッタ機構は、開閉器を開閉器室から引き出して作業員が開閉器室に入って保守・点検作業を行う際に、意図せずに作業員の体等が接触してアーム部材が持ち上がってシャッタが開き、固定端子が露出してしまう可能性がある。すなわち、特許文献1に記載の開閉器のシャッタ機構は、開閉器室内で作業員が保守・点検作業を行う際に、不意に固定端子が露出されて感電事故が発生してしまう虞がある。
なお、上述したような問題は、スイッチギヤに限定される話ではなく、固定端子と開閉器とで構成された引出形開閉器を有する機械であれば同様に存在する。
本発明はこのような事情に鑑み、開閉器室における開閉器の出し入れに連動して固定された端子の露出・遮蔽を行うことができると共に、開閉器室内の保守・点検作業中における感電事故の発生を確実に防止することができる引出形開閉器用シャッタ装置を提供することを目的とする。
上記課題を解決する本発明の第1の態様は、開閉器室内に固定された固定端子と、前記固定端子に接続される断路部端子を備え移動自在に構成された開閉器とを備え、前記開閉器を前記固定端子に接近させて前記断路部端子を前記固定端子に接続することで押込状態とする一方、前記断路部端子と前記固定端子とを切り離すことで引出状態とする引出形開閉器に用いられるシャッタ装置であって、前記開閉器の前記固定端子に対する接近・離反方向にスライド可能で且つ一端側を中心に前記開閉器室の上下方向に回動可能に構成されたアーム部材と、前記アーム部材の他端側に連結され前記固定端子に対応して配されて前記開閉器室の上下方向にスライド可能に支持されたシャッタ板と、前記アーム部材に設けられた嵌合部に嵌合され前記アーム部材の移動を案内するガイド部材とを具備し、前記開閉器が前記固定端子に接近すると前記開閉器が前記アーム部材に接触して前記アーム部材が回動することで前記シャッタ板がスライドして前記固定端子が露出されるように構成されており、且つ前記ガイド部材は、前記開閉器の接近方向に沿って延設され、前記固定端子が前記シャッタ板で遮蔽された状態で前記アーム部材のスライド移動だけを案内する回動規制部を有することを特徴とする引出形開閉器用シャッタ装置にある。
かかる第1の態様では、アーム部材の嵌合部とガイド部材の回動規制部とにより、嵌合部を回動規制部に位置させることで、アーム部材はスライド移動だけを案内され回動は規制される。したがって、嵌合部を回動規制部に位置させることで、アーム部材の回動を規制し、シャッタ板が上昇してしまうことを防止することができる。
本発明の第2の態様は、第1の態様の引出形開閉器用シャッタ装置において、前記アーム部材を前記開閉器が前記固定端子に対して離反する方向へ付勢する付勢手段をさらに具備することを特徴とする引出形開閉器用シャッタ装置にある。
かかる第2の態様では、付勢手段により、開閉器室から開閉器を引き出すと、アームは固定端子に対して離反する方向へスライドし、簡単且つ確実に嵌合部が回動規制部に至る。したがって、本態様によれば、確実にアーム部材の回動とシャッタ板の上昇を規制することができる。
かかる本発明の引出形開閉器用シャッタ装置によれば、アーム部材の嵌合部とガイド部材の回動規制部とにより、嵌合部を回動規制部に位置させることで、アーム部材はスライド移動だけを案内され回動は規制される。したがって、嵌合部を回動規制部に位置させることで、アーム部材の回動を規制し、シャッタ板が上昇してしまうことを防止することができる。これにより、開閉器を開閉器室内から引き出した時に、回動規制部に嵌合部が位置するようにアーム部材を移動させることで、保守・点検作業中、作業員が意図せずに固定端子が露出されてしまうことが確実に防止され、感電事故の発生を確実に防止することができる。
以下、本発明の実施の形態を図面に基づき詳細に説明する。以下では引出形開閉器を有する機械の代表例としてスイッチギヤを例示して説明する。
(実施形態1)
まず本発明の引出形開閉器用シャッタ装置29を説明する前に、引出形開閉器用シャッタ装置29を適用するスイッチギヤについて説明する。
図1はスイッチギヤの全体の構成を示す側面図である。
スイッチギヤ1の筐体2内には、変電所から引き込まれた電力を供給する電力ケーブル3、固定端子4、計器用変圧器5、開閉器(遮断器)6、断路器7等が収容されている。また筐体2は、隔壁8により、電力ケーブル3を収容するケーブル室9、開閉器6を収容する開閉器室10、断路器7を収容する断路器室11等に区画されており、開閉器6が挿脱される筐体2部分に扉体(図示は省略する)が形成されている。
ケーブル室9には、電力ケーブル3及び計器用変圧器5が収容されている。ケーブル室9内に収容された電力ケーブル3には、終端接続部12により、接続導体14及びケーブル15を介して下部固定端子16に接続されている。なお、図示しないが、電力ケーブル3は紙面と直交する方向に三相分配設されている。
また、ケーブル室9には、固定端子4の一部が収容されている。固定端子4は下部固定端子16と上部固定端子17とを備えており、それぞれ前部が隔壁8に形成された開口18,19を通して開閉器室10に臨むように設けられている。なお、図示はしないが、本実施形態では紙面と直交する方向に三相分の固定端子4が備えられている。また上部固定端子17は、母線20を介して断路器室11内の断路器7に接続されている。
開閉器室10には開閉器6が収容される。開閉器6は、側面下部に車輪21が設けられた台車ユニット22と、台車ユニット22に搭載された開閉器本体23とからなる。開閉器室10下部にはレール(図示せず)が設けられており、開閉器6は台車ユニット22の車輪21をそれぞれレールに嵌合することで、開閉器室10に対して容易に挿脱可能となっている。また、開閉器6は、固定端子4に向かって略水平方向に突出する断路部端子24,25を有しており、開閉器6を固定端子4に接近させて開閉器室10内に挿入することで、固定端子4に断路部端子24,25が接続されて、スイッチギヤ1の断路部は押込状態となる。また、開閉器6を固定端子4から離反させて開閉器室10から引き出すことで、断路部端子24,25との接続が切り離されてスイッチギヤ1の断路部は引出状態となる。すなわち、スイッチギヤ1は、開閉器室10内に固定端子4と開閉器6とからなる引出形開閉器を有する。また、開閉器6の台車ユニット22には、後述する切り欠き部36に係合する押圧コロ26が台車ユニット22の両側面に設けられている。なお、開閉器室10内には、後述するシャッタ装置29が収容されるが、図1では省略している。
断路器室11には断路器7が収容されている。断路器7は、駆動機構により開閉可能に構成されており、母線27を介して出力端子28に接続されている。
このようなスイッチギヤ1では、固定端子4、開閉器6、断路器7及び出力端子28等で内部回路が構成され、電力ケーブル3がこの内部回路に接続され、電力ケーブル3から下部固定端子16、開閉器6、上部固定端子17、断路器7を介して出力端子28に繋がる電路が形成されている。
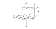
そして、上述のように構成されたスイッチギヤ1の開閉器室10内には、固定端子4を遮蔽又は露出させる引出形開閉器用シャッタ装置29が設けられている。図2は、引出形開閉器用シャッタ装置の概略構成を示す側面図である。図3(a)は、引出形開閉器用シャッタ装置におけるアーム部材の基端片の拡大図であり、図3(b)は、図3(a)のA−A’断面図である。図4(a)は、引出形開閉器用シャッタ装置におけるアーム部材の嵌合部の要部拡大図であり、図4(b)は図4(a)のB−B’断面図である。図5は、開閉器を開閉器室から引き出した状態における引出形開閉器用シャッタ装置を示しており、(a)はその側面図、(b)はその正面図である。また、図6は、開閉器を開閉器室内に収容した状態における引出形開閉器用シャッタ装置を示しており、(a)はその側面図、(b)はその正面図である。また、以下で説明する引出形開閉器用シャッタ装置29は、シャッタ板31以外の部材は、開閉器室10の左右両側に2つ対称に設けられている。
図2に示すように、本発明の実施形態1にかかる引出形開閉器用シャッタ装置29は、アーム部材30と、シャッタ板31と、アーム部材30の移動を案内するガイド部材32とを具備する。
アーム部材30は、基端片が開閉器室10の前面側に、先端片が開閉器室10の奥側に位置される状態で設けられている。
図3(a)及び図3(b)に示すように、アーム部材30の基端片には、基端片の長さ方向に沿った長孔33が設けられている。そしてアーム部材30は、筐体2の内壁面に固定された第1の支持部材34と第2の支持部材35とにより支持されている。第1の支持部材34は、略円柱状の部材でありその高さ方向の中央部に大径部34aが設けられている。そして、一方側の小径部34bが筐体2の内壁面に固定されている。そしてアーム部材30の基端片の長孔33に、他方側の小径部34cが嵌装されている。そして、第1の支持部材34の小径部34cに、略楕円形状の第2の支持部材35が固定されており、アーム部材30は第1の支持部材34の大径部34aと第2の支持部材35とで挟持されている。これにより、アーム部材30は、長孔33の分だけ開閉器6の固定端子4に対する接近・離反方向にスライド可能で、一端側である第1の支持部材34の小径部34cに支持された部分を中心に、上下方向に回動可能に構成されている。
また、図2に戻って、アーム部材30の中間片には、一部が切り欠かれることで形成された切り欠き部36が設けられている。切り欠き部36は、開閉器6が開閉器室10から引き出された状態において、台車ユニット22の押圧コロ26と同じ高さに設けられている(図5(a)参照)。
また、アーム部材30の先端片には、先端片の長さ方向に沿った長孔37が設けられている。そして、アーム部材30の先端片には、ガイド部材32に嵌合される嵌合部となる嵌合コロ38が設けられている。
シャッタ板31は、固定端子4に対応して配されて開閉器室10の上下方向にスライド可能に支持されている。具体的には、シャッタ板31の上下方向のスライド移動は、昇降ロッド39と、保持部材40とによって実現される。
昇降ロッド39は、開閉器室10の上下方向に設けられた棒状の部材であり、下端が屈曲されて設けられている。そして昇降ロッド39は、下端の屈曲部がアーム部材30の先端片の長孔37に遊挿されて、アーム部材30に連結されている。これにより、昇降ロッド39は、アーム部材30の上下方向の回動に伴って移動する。そしてシャッタ板31は、昇降ロッド39の途中と上端部に、固定端子4に対応し、開閉器室10から開閉器6が引き出された状態において固定端子4に対向する位置に設けられている。
また、保持部材40は、シャッタ板31の位置を保持する機能を果たす部材であり、開口18,19の近傍の隔壁8に開閉器室10の上下方向に回動自在に支持されている。そして保持部材40の回動端にシャッタ板31が取り付けられている。これにより、シャッタ板31は、固定端子4の前方で昇降するように保持される。
このように接続された昇降ロッド39及び保持部材40により、シャッタ板31は、アーム部材30の回動に伴って昇降する。そして固定端子4は、シャッタ板31が上昇すると露出され、シャッタ板31が下降すると遮蔽される。
ガイド部材32は、アーム部材30に設けられた嵌合部である嵌合コロ38が嵌合され、アーム部材30の移動を案内する部材であり、図4(a)及び図4(b)に示すように、筐体2の内壁面に固定されている。なお、本実施形態のガイド部材32は、断面が略コの字型の部材で形成されており、開口部が筐体2の内側に向いた状態で筐体2の内壁面に固定されている。
ガイド部材32は、開閉器6の固定端子4に対する接近方向に沿って延設され、固定端子4がシャッタ板31で遮蔽された状態でアーム部材30のスライド移動だけを案内する回動規制部41を有する。また、ガイド部材32は、シャッタ板31が固定端子4を遮蔽している状態において、回動規制部41がアーム部材30の嵌合コロ38と同じ高さになるように固定されている。回動規制部41にアーム部材30の嵌合コロ38が位置していると、固定端子4がシャッタ板31で遮蔽された状態において、アーム部材30は、スライド移動は可能であるが、嵌合コロ38が回動規制部41の天井部分の壁面に接触するので回動は規制される。ここでいう回動とは、アーム部材30の回動端が、開閉器室10の上方向へ上昇することを指す。すなわち、本実施形態の引出形開閉器用シャッタ装置29の場合、アーム部材30が、基端片の長孔33が開閉器室10の奥に向かう方向に対して若干傾斜して設けられている。したがって、回動規制部41に嵌合コロ38が位置している場合、アーム部材30を開閉器室10の奥に向かう方向に移動させると、アーム部材30はスライド移動しながら、先端片の長孔33が移動方向に平行になるように若干回動する。しかしながら、開閉器室10の奥方向に移動するときに生じるアーム部材30の回動は、回動端を開閉器室10の上方向へ上昇させるものではなく、上述した回動規制部41に規制される回動に該当するものではない。
また、本実施形態のガイド部材32には、回動規制部41の開閉器室10の奥側の端部から開閉器室10の上方向に延設された回動許容部42を有する。なお、回動許容部42は、回動規制部41との境界部分が直角ではなく緩やかにR状になっている。嵌合コロ38が回動許容部42内に位置する場合、嵌合コロ38は、回動許容部42の壁面に接触することはないので、アーム部材30は回動することができる。また、アーム部材30が回動し、回動許容部42から回動規制部41に向かって嵌合コロ38が移動する場合、回動許容部42は回動規制部41に連続して設けられているので、嵌合コロ38はスムーズに回動規制部41に至る。
このように構成された引出形開閉器用シャッタ装置29は、図5及び図6に示すように開閉器室10内に配設されて挙動する。
図5(a)及び図5(b)に示すように、開閉器6を開閉器室10から引き出した状態から、開閉器6を固定端子4に接近させると、開閉器6の押圧コロ26が、引出形開閉器用シャッタ装置29のアーム部材30の中間片の切り欠き部36に当接し、嵌合コロ38がガイド部材32の回動規制部41に沿って移動することに伴い、アーム部材30も開閉器6の進行方向にスライド移動する。そして、開閉器6をさらに固定端子4に接近させると、嵌合コロ38がガイド部材32の回動規制部41から回動許容部42に至り、押圧コロ26がアーム部材30の先端片の下方に潜り込み、アーム部材30が開閉器室10の上方向へ回動する。そして、図6(a)及び図6(b)に示すように、アーム部材30の回動により昇降ロッド39が上昇するのに伴い、シャッタ板31が上昇して固定端子4が露出される。なお、さらに開閉器6を固定端子4に接近させることで、露出された固定端子4に開閉器6の断路部端子24,25が挿入されることになる。また、図6(a)及び図6(b)の状態から開閉器6を開閉器室10から引き出すと、アーム部材30は自重により開閉器室10の下方向に回動しシャッタ板31が下降し、固定端子4が遮蔽される。なお、図5(b)及び図6(b)では、嵌合コロ38及びガイド部材32は省略している。
上述したように構成されて挙動する本実施形態の引出形開閉器用シャッタ装置29では、開閉器6を開閉器室10内に収容することにより、アーム部材30が、開閉器6の固定端子4に対する接近方向へ所定距離スライド移動した後、開閉器室10の上方向へ回動する。そしてアーム部材30の開閉器室10の上方向への回動に伴い、シャッタ板31が上昇し、固定端子4が露出される。また、開閉器6を開閉器室10内から引き出すと、アーム部材30は自重により開閉器室10の下方向へ回動する。そしてアーム部材30の開閉器室10の下方向への回動に伴い、シャッタ板31が下降し、固定端子4が遮蔽される。すなわち、本実施形態の引出形開閉器用シャッタ装置29によれば、開閉器室10における開閉器6の出し入れに連動して固定端子4の露出・遮蔽を行うことができる。
また、本実施形態の引出形開閉器用シャッタ装置29では、ガイド部材32にアーム部材30の嵌合コロ38が嵌合されているので、アーム部材30はガイド部材32に沿って移動する。そして、アーム部材30の回動端側に設けられた嵌合コロ38が回動規制部41内に位置する場合には、アーム部材30はスライド可能であるが、嵌合コロ38が回動規制部41の天井に接触するので、アーム部材30の回動は規制される。したがって、本実施形態の引出形開閉器用シャッタ装置29によれば、開閉器6を開閉器室10から引き出して開閉器室10内の保守・点検作業を行う際に、感電事故が発生してしまうことを確実に防止することができる。
(実施形態2)
図7(a)は本発明の実施形態2の引出形開閉器用シャッタ装置におけるアーム部材の基端片の拡大図であり、図7(b)は図7(a)のC−C’断面図である。図8は本発明の実施形態2の引出形開閉器用シャッタ装置におけるアーム部材の基端片の拡大図である。また、図9は本発明の実施形態2の引出形開閉器用シャッタ装置のアーム部材の軌道を示す概略図である。なお、実施形態1と同一の部材には同一符号を付し、重複する説明は省略する。図7(a)は、嵌合コロが回動規制部に位置している状態でのアーム部材の基端片を示しており、図8は、嵌合コロが回動許容部に位置している状態でのアーム部材の基端片を示している。
図7(a)及び図7(b)に示すように、本実施形態の引出形開閉器用シャッタ装置29Aは、アーム部材30Aの基端片の部分に、アーム部材30Aを開閉器6が固定端子4に対して離反する方向へ付勢する付勢手段であるバネ43が取り付けられている。具体的には、バネ43は基端片の長さ方向に沿って設けられており、バネ43の一方の端部がアーム部材30Aの中間片側に設けられた第1のピン部44に固定されている。一方、バネ43の他方側の端部は第2の支持部材35Aに設けられた第2のピン部45に固定されている。このように固定されたバネ43が設けられているので、図8に示すように、アーム部材30Aが回動するとバネ43が伸展してアーム部材30Aに対して開閉器6が固定端子4から離反する方向に向かう力が加わる。
このように構成された本実施形態の引出形開閉器用シャッタ装置29Aでは、付勢手段であるバネ43により、開閉器室10に収容された状態から開閉器6を引き出すと、図9に示すように、アーム部材30Aが自重により嵌合コロ38が回動許容部42と回動規制部41との境界部分に至るまで回動した後、バネ43の縮まる力を受けて自動的に嵌合コロ38が回動規制部41の領域に至るまで回動規制部41に沿って開閉器6が固定端子4に対して離反する方向(図9における紙面左方向)へスライド移動する。したがって、本実施形態の引出形開閉器用シャッタ装置29Aによれば、開閉器6を開閉器室10から引き出すことで、開閉器室10内での保守・点検作業中における、アーム部材の回動を確実に規制し、感電事故を防止することができる。
また、図7(a)及び図7(b)に示すように、本実施形態の引出形開閉器用シャッタ装置29Aには、回動前の状態において、アーム部材30Aの基端片と第2の支持部材35Aとに亘って所定径の貫通孔46が設けられている。この貫通孔46に南京錠等の鍵を通してアーム部材30Aを固定することにより、アーム部材30Aは回動しないことは勿論、ガイド部材32の回動規制部41に沿うスライド移動もできない。したがって、開閉器室10内での保守・点検作業中における感電事故を確実に防止できる。
なお、本実施形態の付勢手段は引っ張りバネであったが、付勢手段は圧縮バネで構成されていてもよい。また付勢手段はバネに限定されるものではなく、弾性ゴムであってもよい。
(他の実施形態)
以上、本発明の実施形態について説明したが、本発明は上述した実施形態に限定されるものではない。
例えば、上述した実施形態では、ガイド部材32は断面が略コの字型の形状をしている部材で構成されていたが、嵌合コロ38が接触してアーム部材30,30Aの回動を規制するのであれば、ガイド部材32の形状は特にこれに限定されるものではなく、例えば板状の部材で構成されていてもよい。
また、上述した実施形態では、回動許容部42を有していたが、アーム部材30,30Aが回動する際に、嵌合コロ38が確実に回動規制部41内に導かれるように構成されているのであれば、回動許容部42は設けられていなくても構わない。
また、上述した実施形態ではスイッチギヤへ適用した例で説明したが、本発明はスイッチギヤに限定されるものではなく、断路部端子を備える開閉器と固定端子とからなる引出形開閉器を備える機械であれば、好適に適用することができる。
スイッチギヤの側面図である。 本発明の実施形態1に係る引出形開閉器用シャッタ装置の側面図である。 本発明の実施形態1に係る引出形開閉器用シャッタ装置におけるアーム部材の基端片の拡大図である。 本発明の実施形態1に係る引出形開閉器用シャッタ装置におけるアーム部材の嵌合部の要部拡大図である。 本発明の実施形態1に係る引出形開閉器用シャッタ装置の側面図及び正面図である。 本発明の実施形態1に係る引出形開閉器用シャッタ装置の側面図及び正面図である。 本発明の実施形態2に係る引出形開閉器用シャッタ装置におけるアーム部材の基端片の拡大図である。 本発明の実施形態2に係る引出形開閉器用シャッタ装置におけるアーム部材の嵌合部の拡大図である。 本発明の実施形態2に係る引出形開閉器用シャッタ装置のアーム部材の軌道を示す概略図である。
符号の説明
1 スイッチギヤ
2 筐体
3 電力ケーブル
4 固定端子
5 計器用変圧器
6 開閉器
7 断路器
8 隔壁
9 ケーブル室
10 開閉器室
11 断路器室
12 終端接続部
14 接続導体
15 ケーブル
16 下部固定端子
17 上部固定端子
18,19 開口
20,27 母線
21 車輪
22 台車ユニット
23 開閉器本体
24,25 断路部端子
26 押圧コロ
28 出力端子
29,29A 引出形開閉器用シャッタ装置
30,30A アーム部材
31 シャッタ板
32 ガイド部材
33,37 長孔
34 第1の支持部材
34a 大径部
34b,34c 小径部
35,35A 第2の支持部材
36 切り欠き部
38 嵌合コロ
39 昇降ロッド
40 保持部材
41 回動規制部
42 回動許容部
43 バネ
44 第1のピン部
45 第2のピン部
46 貫通孔

Claims (2)

  1. 開閉器室内に固定された固定端子と、前記固定端子に接続される断路部端子を備え移動自在に構成された開閉器とを備え、前記開閉器を前記固定端子に接近させて前記断路部端子を前記固定端子に接続することで押込状態とする一方、前記断路部端子と前記固定端子とを切り離すことで引出状態とする引出形開閉器に用いられるシャッタ装置であって、
    前記開閉器の前記固定端子に対する接近・離反方向にスライド可能で且つ一端側を中心に前記開閉器室の上下方向に回動可能に構成されたアーム部材と、前記アーム部材の他端側に連結され前記固定端子に対応して配されて前記開閉器室の上下方向にスライド可能に支持されたシャッタ板と、前記アーム部材に設けられた嵌合部に嵌合され前記アーム部材の移動を案内するガイド部材とを具備し、前記開閉器が前記固定端子に接近すると前記開閉器が前記アーム部材に接触して前記アーム部材が回動することで前記シャッタ板がスライドして前記固定端子が露出されるように構成されており、
    且つ前記ガイド部材は、前記開閉器の接近方向に沿って延設され、前記固定端子が前記シャッタ板で遮蔽された状態で前記アーム部材のスライド移動だけを案内する回動規制部を有することを特徴とする引出形開閉器用シャッタ装置。
  2. 請求項1に記載の引出形開閉器用シャッタ装置において、
    前記アーム部材を前記開閉器が前記固定端子に対して離反する方向へ付勢する付勢手段をさらに具備することを特徴とする引出形開閉器用シャッタ装置。
JP2008200231A 2008-08-01 2008-08-01 引出形開閉器用シャッタ装置 Expired - Fee Related JP5137733B2 (ja)

Priority Applications (1)

Application Number Priority Date Filing Date Title
JP2008200231A JP5137733B2 (ja) 2008-08-01 2008-08-01 引出形開閉器用シャッタ装置

Applications Claiming Priority (1)

Application Number Priority Date Filing Date Title
JP2008200231A JP5137733B2 (ja) 2008-08-01 2008-08-01 引出形開閉器用シャッタ装置

Publications (2)

Publication Number Publication Date
JP2010041789A true JP2010041789A (ja) 2010-02-18
JP5137733B2 JP5137733B2 (ja) 2013-02-06

Family

ID=42013752

Family Applications (1)

Application Number Title Priority Date Filing Date
JP2008200231A Expired - Fee Related JP5137733B2 (ja) 2008-08-01 2008-08-01 引出形開閉器用シャッタ装置

Country Status (1)

Country Link
JP (1) JP5137733B2 (ja)

Cited By (4)

* Cited by examiner, † Cited by third party
Publication number Priority date Publication date Assignee Title
JP2011200065A (ja) * 2010-03-23 2011-10-06 Mitsubishi Electric Corp 配電盤
JP2014093891A (ja) * 2012-11-06 2014-05-19 Mitsubishi Electric Corp 配電盤のシャッタ装置
CN106654961A (zh) * 2017-02-10 2017-05-10 平高集团有限公司 开关柜、活门机构自锁装置及该自锁装置的动作部分
CN107732677A (zh) * 2017-10-14 2018-02-23 佛山海格利德机器人智能设备有限公司 一种节能环保开关柜

Citations (3)

* Cited by examiner, † Cited by third party
Publication number Priority date Publication date Assignee Title
JPS63124005U (ja) * 1987-02-06 1988-08-12
JPH0182608U (ja) * 1987-11-24 1989-06-01
JPH0539112U (ja) * 1991-10-23 1993-05-25 日新電機株式会社 遮断器のインターロツク装置

Patent Citations (3)

* Cited by examiner, † Cited by third party
Publication number Priority date Publication date Assignee Title
JPS63124005U (ja) * 1987-02-06 1988-08-12
JPH0182608U (ja) * 1987-11-24 1989-06-01
JPH0539112U (ja) * 1991-10-23 1993-05-25 日新電機株式会社 遮断器のインターロツク装置

Cited By (4)

* Cited by examiner, † Cited by third party
Publication number Priority date Publication date Assignee Title
JP2011200065A (ja) * 2010-03-23 2011-10-06 Mitsubishi Electric Corp 配電盤
JP2014093891A (ja) * 2012-11-06 2014-05-19 Mitsubishi Electric Corp 配電盤のシャッタ装置
CN106654961A (zh) * 2017-02-10 2017-05-10 平高集团有限公司 开关柜、活门机构自锁装置及该自锁装置的动作部分
CN107732677A (zh) * 2017-10-14 2018-02-23 佛山海格利德机器人智能设备有限公司 一种节能环保开关柜

Also Published As

Publication number Publication date
JP5137733B2 (ja) 2013-02-06

Similar Documents

Publication Publication Date Title
JP4965676B2 (ja) 回路遮断器の台車引込及び引出防止装置
EP2887473B1 (en) Safety shutter of vacuum circuit breaker
JP5237343B2 (ja) 回路遮断器
JP5237407B2 (ja) 回路遮断器のプラグインターロック装置
KR101068757B1 (ko) 회로차단기의 플러그 인터록 장치
JP5137733B2 (ja) 引出形開閉器用シャッタ装置
AU2011224131B2 (en) Electrical switching apparatus and levering assembly therefor
JP2009171774A (ja) スイッチギヤの遮蔽装置
JP2009017628A (ja) 配電盤のシャッタ装置
KR101809822B1 (ko) 아크 제거기
JP4870649B2 (ja) 配電盤
JP5538651B2 (ja) 配電盤のシャッタ装置
KR101106854B1 (ko) 인출형 회로차단기의 안전셔터장치
KR102208664B1 (ko) 포지션 잠금 장치를 갖는 배전반
JP2011097768A (ja) スイッチギヤ
CN113169676B (zh) 电力转换装置
CN223363074U (zh) 一种防接通误插入卡扣装置及断路器
KR20170033488A (ko) 차단기의 셔터장치
KR890000638Y1 (ko) 밀폐형 전기 제어 패널
JP5188527B2 (ja) スイッチギヤのシャッタ開閉制御装置
JP4964316B2 (ja) スイッチギヤのシャッタ開閉制御装置
JP2017139847A (ja) スイッチギヤ
JP5338122B2 (ja) 配電盤
CN121123769A (zh) 一种便于排线的电气控制柜壳体
JP2013201841A (ja) スイッチギア保護装置

Legal Events

Date Code Title Description
A621 Written request for application examination

Free format text: JAPANESE INTERMEDIATE CODE: A621

Effective date: 20110705

A977 Report on retrieval

Free format text: JAPANESE INTERMEDIATE CODE: A971007

Effective date: 20121022

TRDD Decision of grant or rejection written
A01 Written decision to grant a patent or to grant a registration (utility model)

Free format text: JAPANESE INTERMEDIATE CODE: A01

Effective date: 20121107

A01 Written decision to grant a patent or to grant a registration (utility model)

Free format text: JAPANESE INTERMEDIATE CODE: A01

A61 First payment of annual fees (during grant procedure)

Free format text: JAPANESE INTERMEDIATE CODE: A61

Effective date: 20121113

R150 Certificate of patent or registration of utility model

Ref document number: 5137733

Country of ref document: JP

Free format text: JAPANESE INTERMEDIATE CODE: R150

Free format text: JAPANESE INTERMEDIATE CODE: R150

FPAY Renewal fee payment (event date is renewal date of database)

Free format text: PAYMENT UNTIL: 20151122

Year of fee payment: 3

FPAY Renewal fee payment (event date is renewal date of database)

Free format text: PAYMENT UNTIL: 20151122

Year of fee payment: 3

R250 Receipt of annual fees

Free format text: JAPANESE INTERMEDIATE CODE: R250

R250 Receipt of annual fees

Free format text: JAPANESE INTERMEDIATE CODE: R250

R250 Receipt of annual fees

Free format text: JAPANESE INTERMEDIATE CODE: R250

LAPS Cancellation because of no payment of annual fees