JP2010039969A - クロストークノイズの判定方法およびプログラム - Google Patents

クロストークノイズの判定方法およびプログラム Download PDF

Info

Publication number
JP2010039969A
JP2010039969A JP2008205029A JP2008205029A JP2010039969A JP 2010039969 A JP2010039969 A JP 2010039969A JP 2008205029 A JP2008205029 A JP 2008205029A JP 2008205029 A JP2008205029 A JP 2008205029A JP 2010039969 A JP2010039969 A JP 2010039969A
Authority
JP
Japan
Prior art keywords
aggressor
noise
error
crosstalk
error threshold
Prior art date
Legal status (The legal status is an assumption and is not a legal conclusion. Google has not performed a legal analysis and makes no representation as to the accuracy of the status listed.)
Granted
Application number
JP2008205029A
Other languages
English (en)
Other versions
JP5103321B2 (ja
Inventor
Koichi Nakashiro
晃一 中城
Current Assignee (The listed assignees may be inaccurate. Google has not performed a legal analysis and makes no representation or warranty as to the accuracy of the list.)
Renesas Technology Corp
Original Assignee
Renesas Technology Corp
Priority date (The priority date is an assumption and is not a legal conclusion. Google has not performed a legal analysis and makes no representation as to the accuracy of the date listed.)
Filing date
Publication date
Application filed by Renesas Technology Corp filed Critical Renesas Technology Corp
Priority to JP2008205029A priority Critical patent/JP5103321B2/ja
Publication of JP2010039969A publication Critical patent/JP2010039969A/ja
Application granted granted Critical
Publication of JP5103321B2 publication Critical patent/JP5103321B2/ja
Expired - Fee Related legal-status Critical Current
Anticipated expiration legal-status Critical

Links

Images

Landscapes

  • Design And Manufacture Of Integrated Circuits (AREA)

Abstract

【課題】クロストーク解析において、クロストークエラーの発生確率を考慮し、発生確率がゼロ、または極めて低いクロストークエラーをクロストーク対策の対象外とする。
【解決手段】データベースからレイアウトデータを読み込み、各配線の対接地容量と配線間カップリング容量と計算する。また、レイアウトデータのネットからクロストーク解析対象となるビクティム配線を抽出し、抽出した各ビクティム配線に対してアグレッサ配線の本数を求める。その後、クロストークノイズ値を計算した後、アグレッサ本数別エラーしきい値テーブルを読み込み、該アグレッサ本数に応じたエラーしきい値を抽出し、該エラーしきい値と算出したクロストークノイズ値との比較を行い、エラー判定を行う。このように、アグレッサ本数に応じたエラーしきい値を設定することにより、真のエラーを摘出することが可能となる。
【選択図】図2

Description

本発明は、クロストーク解析技術に関し、特に、高精度なクロストークノイズのエラー判定に有効な技術に関する。
半導体集積回路装置設計において、配線間クロストークによる雑音解析を行なう静的クロストーク検証ツールは、ビクティム配線とアグレッサ配線との間のカップリング容量値、ドライバのホールディング抵抗値、スルー値などの回路定数より発生の可能性がある最大のグリッチノイズ、およびクロストークディレイ値を計算する。
ここで、1つのビクティム配線に対するアグレッサが複数本ある場合、各々のアグレッサから発生するノイズの合計値がビクティム配線に対するノイズ量となる。グリッチノイズを例にとるとアグレッサが3本で、各アグレッサより、たとえば、40mV、30mV、20mVのノイズが発生した場合、ビクティム配線に発生するグリッチノイズ値は合計値である90mVと計算される。
解析の悲観性を削減するための技術は主に、(1)各アグレッサの信号変化が起こる可能性のある時刻をSTA(静的タイミング解析)より求めて、信号が変化する可能性の無いアグレッサを除外して解析する手法、および(2)各アグレッサの中で微小なノイズ(主に電源電圧の5%以下)を削除して解析する手法がある。
この解析技術では、上記した(1)、および(2)を考慮した上でノイズ値が大きい順にクロストークエラーを指摘していた。この技術は、クロストーク発生の最悪条件となった場合に影響の大きい順にエラーを指摘する手法である。また、エラーしきい値を設定して、そのしきい値を超えたクロストークについては全て修正する設計フローもある。
この種のクロストーク検証技術については、複数のアグレッサが存在する場合のクロストーク解析において、着目配線での信号到達時刻を基に遅延時間劣化特性を加算して解析を行うものがある(たとえば、特許文献1参照)
特表2001−082145号公報
ところが、上記のような配線間クロストークによる雑音解析技術では、次のような問題点があることが本発明者により見い出された。
すなわち、上記した解析では、エラー指摘された中に発生確率がゼロ、または極めて発生確率の低いエラーが含まれてしまう。このため、エラー指摘の上位から順に対策する設計手法では上位に入っている発生確率の低いエラー対策に時間が取られてしまい、エラー指摘の上位ではないが発生確率の高いエラーを対策することができない場合が発生してしまう恐れがある。
また、エラーしきい値以上の全てのエラーを修正する手法では、エラー発生件数が多数となり対策のための工数が大幅に増大してしまうことになり、場合によっては、対策そのものができない恐れが生じてしまうことになる。
本発明の目的は、クロストークエラーの発生確率を考慮し、発生確率がゼロ、または極めて低いクロストークエラーをクロストーク対策の対象外とするクロストーク解析技術を提供することにある。
本発明の前記ならびにそのほかの目的と新規な特徴については、本明細書の記述および添付図面から明らかになるであろう。
本願において開示される発明のうち、代表的なものの概要を簡単に説明すれば、次のとおりである。
本発明のクロストークノイズの判定方法は、レイアウトデータから、クロストーク解析の対象となるノイズを受ける側の配線であるビクティム配線を選択するステップと、レイアウトデータから、選択したビクティム配線に対してノイズを与える側の配線であるアグレッサ配線の本数を算出するステップと、該アグレッサ配線の本数毎に任意に設定された複数のエラーしきい値を有するアグレッサ本数別エラーしきい値テーブルを準備するステップと、レイアウトデータから、クロストークノイズを算出するステップと、算出したアグレッサ配線の本数に応じたエラーしきい値をアグレッサ本数別エラーしきい値テーブルから選択するステップと、選択したエラーしきい値と算出したクロストークノイズの値とを比較し、エラーしきい値よりもクロストークノイズの値が大きい際にエラーと判定し、クロストークノイズの値がエラーしきい値よりも小さい場合にノーエラーとするクロストークエラー判定を行うステップとを有するものである。
また、本発明のクロストークノイズの判定方法は、アグレッサ本数別エラーしきい値テーブルにおけるアグレッサ配線の本数毎のエラーしきい値の設定をモンテカルロシミュレーションにより算出するものである。
さらに、本発明のクロストークノイズの判定方法は、レイアウトデータから、クロストーク解析の対象となるノイズを受ける側の配線であるビクティム配線を選択するステップと、レイアウトデータから、選択したビクティム配線に対してノイズを与える側の配線であるアグレッサ配線の本数を算出するステップと、アグレッサ配線の本数毎に任意に設定された複数のエラーしきい値を有するアグレッサ本数別エラーしきい値テーブルを準備するステップと、レイアウトデータから、クロストークノイズを算出するステップと、算出したアグレッサ配線の本数、および各々のアグレッサ配線が、ビクティム配線に与えるノイズの大きさから、アグレッサ配線の本数を補正した実効アグレッサ本数を算出するステップと、算出した実効アグレッサ配線の本数に応じたエラーしきい値をアグレッサ本数別エラーしきい値テーブルから選択するステップと、選択したエラーしきい値と算出したクロストークノイズの値とを比較し、エラーしきい値よりもクロストークノイズの値が大きい際にエラーと判定し、クロストークノイズの値がエラーしきい値よりも小さい場合にノーエラーとするクロストークエラー判定を行うステップとを有するものである。
また、本発明のクロストークノイズの判定方法は、前記実効アグレッサ本数を、算出した各々のアグレッサ配線のノイズ値の全体ノイズ値に対する比率を算出し、各々のアグレッサ配線が全体ノイズ値に対する割合から計算するものである。
さらに、本願のその他の発明の概要を簡単に示す。
本発明は、半導体集積回路装置の配線パターン設計におけるクロストークノイズの判定をコンピュータシステムに実行させるプログラムであって、レイアウトデータから、クロストーク解析の対象となるノイズを受ける側の配線であるビクティム配線を選択するステップと、レイアウトデータから、選択したビクティム配線に対してノイズを与える側の配線であるアグレッサ配線の本数を算出するステップと、アグレッサ配線の本数毎に任意に設定された複数のエラーしきい値を有するアグレッサ本数別エラーしきい値テーブルを準備するステップと、レイアウトデータから、クロストークノイズを算出するステップと、算出したアグレッサ配線の本数に応じたエラーしきい値をアグレッサ本数別エラーしきい値テーブルから選択するステップと、選択したエラーしきい値と算出したクロストークノイズの値とを比較し、エラーしきい値よりもクロストークノイズの値が大きい際にエラーと判定し、クロストークノイズの値がエラーしきい値よりも小さい場合にノーエラーとするクロストークエラー判定を行うステップとを有するものである。
また、本発明は、前記アグレッサ本数別エラーしきい値テーブルにおけるアグレッサ配線の本数毎のエラーしきい値の設定をモンテカルロシミュレーションにより算出するものである。
さらに、本発明は、半導体集積回路装置の配線パターン設計におけるクロストークノイズの判定をコンピュータシステムに実行させるプログラムであって、レイアウトデータから、クロストーク解析の対象となるノイズを受ける側の配線であるビクティム配線を選択するステップと、レイアウトデータから、選択したビクティム配線に対してノイズを与える側の配線であるアグレッサ配線の本数を算出するステップと、アグレッサ配線の本数毎に任意に設定された複数のエラーしきい値を有するアグレッサ本数別エラーしきい値テーブルを準備するステップと、レイアウトデータから、クロストークノイズを算出するステップと、算出したアグレッサ配線の本数、および各々のアグレッサ配線が、ビクティム配線に与えるノイズの大きさから、アグレッサ配線の本数を補正した実効アグレッサ本数を算出するステップと、算出した実効アグレッサ配線の本数に応じたエラーしきい値をアグレッサ本数別エラーしきい値テーブルから選択するステップと、選択したエラーしきい値と算出したクロストークノイズの値とを比較し、エラーしきい値よりもクロストークノイズの値が大きい際にエラーと判定し、クロストークノイズの値がエラーしきい値よりも小さい場合にノーエラーとするクロストークエラー判定を行うステップとを有するものである。
また、本発明は、前記実効アグレッサ本数を、算出した各々のアグレッサ配線のノイズ値の全体ノイズ値に対する比率を算出し、各々のアグレッサ配線が全体ノイズ値に対する割合から計算するものである。
本願において開示される発明のうち、代表的なものによって得られる効果を簡単に説明すれば以下のとおりである。
(1)対策が必要な真のクロストークノイズエラーのみを高精度に指摘することができるので、半導体集積回路装置におけるクロストークノイズに起因する設計不良を大幅に防止することができる。
(2)また、上記(1)により、クロストークノイズの対策工数を大幅に削減することができ、半導体集積回路装置の設計期間を短縮し、設計コストを削減することが可能になる。
以下、本発明の実施の形態を図面に基づいて詳細に説明する。なお、実施の形態を説明するための全図において、同一の部材には原則として同一の符号を付し、その繰り返しの説明は省略する。
(実施の形態1)
図1は、本発明の実施の形態1による電子システムの一例を示すブロック図、図2は、図1の電子システムによるクロストーク解析処理の一例を示すフローチャート、図3は、クロストークノイズ判定に用いられるアグレッサ本数別エラーしきい値テーブルの一例を示す説明図、図4は、ビクティム配線とアグレッサとの配線パターンの一例を示す説明図、図5は、ビクティム配線とアグレッサとの配線パターンの他の例を示す説明図、図6は、図4、および図5の配線パターンにおけるノイズ波形の一例を示す説明図、図7は、図5の配線パターンにおけるノイズ波形の一例を示す説明図、図8は、図5の配線パターンにおけるノイズ波形の他の例を示す説明図、図9は、アグレッサ本数と実効ノイズ最大値との関係を示す説明図である。
本実施の形態1において、半導体集積回路装置におけるクロストーク検証方法は、発生確率を考慮したクロストーク解析を行うものであり、これらは、パーソナルコンピュータやワークステーションなどに例示されるコンピュータシステムからなる電子システム1によって処理される。
電子システム1は、図1に示すように、入力部2、中央制御装置3、出力部4、ならびにデータベース5から構成されている。入力部2は、種々のデータを入力することができるキーボードなどであり、該入力部2には、中央制御装置3が接続されている。
出力部4は、ディスプレイやプリンタなどからなり、入力部2から入力したデータや中央制御装置3が演算した結果などを表示したり、プリント出力などを行う。データベース5は、レイアウト設計における配線情報やセル配置情報などを含む各種のレイアウト情報からなるレイアウトデータが格納されている。
中央制御装置3には、制御部、格納部、プログラム格納部、および演算部などが備えられている。制御部は、中央制御装置3におけるすべての制御を司る。格納部は、たとえば、RAM(Random Access Memory)などのメモリからなり、入力部2から入力されたデータ、および演算部による演算結果のデータなどを格納する。
プログラム格納部は、ROM(Read Only Memory)、あるいはハードディスク装置などの記憶装置からなり、電子システムによって内部処理されるクロストーク検証を行うプログラムが格納されている。演算部は、プログラム格納部に格納されたプログラムに基づいて、クロストークの大きさとクロストークの発生確率とを求め、対策すべきクロストークエラーを検証する。
次に、電子システム1によるクロストーク解析処理について、図2のフローチャートを用いて説明する。
まず、中央制御装置3は、データベース5からレイアウトデータを読み込み(ステップS101)、各配線の対接地容量と配線間カップリング容量とを配線形状、およびプロセス情報から計算する(ステップS102)。
そして、レイアウトデータから半導体集積回路装置に含まれる各ネットの情報を抽出し、該ネットからクロストーク解析対象となるノイズを受ける側のネットであるビクティム配線を選択して抽出する(ステップS103)。
続いて、抽出した各ビクティム配線に対してノイズを与える側のネットであるアグレッサの本数をレイアウトデータの配線形状から求める(ステップS104)。
その後、ステップS102の処理で算出した接地容量、カップリング容量、およびレイアウトデータに含まれる回路情報などに基づいてクロストークノイズ値を計算する(ステップS105)。
ここでは、ステップS104の処理の後にステップS105の処理を行うよう記載したが、ステップS105の処理の後にステップS104の処理を行うようにしてもよい。
クロストークノイズ値を計算した後、アグレッサ本数別エラーしきい値テーブルを読み込む(ステップS106)。
このアグレッサ本数別エラーしきい値テーブルは、図3に示すように、アグレッサ本数とクロストークエラーと判定するノイズ値(ノイズの高さ)のエラーしきい値の関係を表したテーブルであり、たとえば、中央制御装置3の格納部やプログラム格納部などに格納されている。
たとえば、図3において、アグレッサ本数が1本の場合には、エラーしきい値はαmV、アグレッサ本数が5本の場合には、エラーしきい値はβmVであり、アグレッサ本数が10本の場合には、エラーしきい値はγmVであることを示している(α<β<γとする)。
このように、アグレッサ本数が多くなるに従ってエラーしきい値が高く設定されることになる。
ここで、アグレッサ本数別エラーしきい値テーブルにおけるエラーしきい値の設定技術について説明する。
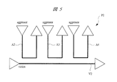
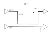
静的解析ツールが求めたノイズ値が同じでもアグレッサ本数により、そのノイズ値が出現する確率は異なる。たとえば、図4に示すレイアウトパターンP1と図5に示すレイアウトパターンP2は、共に最大ノイズ高さが、図6に示すノイズ波形N1となるパターンと仮定する。
図4のレイアウトパターンP1は、1つのビクティム配線に対してアグレッサが1本であり、図5のレイアウトパターンP2は、1つのビクティム配線に対してアグレッサが3本となっている。
レイアウトパターンP1は、アグレッサ同士の時間的な相対関係を持たないため、図6のノイズ波形N1になる確率は100%である。一方、レイアウトパターンP2は、アグレッサ同士の時間的な相対関係により、図6のノイズ波形N1よりもノイズ値が低い、図7に示すノイズ波形N2になることも、あるいは図8に示すノイズ波形N3になる確率も存在することになる。
一般的に、アグレッサが複数存在する場合、実際のノイズ波形が最大のノイズ波形になる確率は、t(n-1) となり、アグレッサの本数が増えれば増えるほど最大ノイズ波形になる確率が低くなる(ここでtは、動作可能なタイミング範囲の中から他アグレッサの動作範囲と重なる確率、nはアグレッサ本数)。
また、アグレッサ本数が複数本ある場合は、図9に示すような分布になる。統計的解析の見地から見ると管理範囲(たとえば、3σ)を外れる範囲のノイズは無視しても構わない。
この管理範囲にあたるノイズ値(図9中:gn3)が実効的なノイズ値となり、このgn3の値をエラーしきい値として設定する。このgn3の値は、モンテカルロシミュレーションによって求めることができる。以上に示した手法でアグレッサ本数に応じたエラーしきい値の設定が可能となる。
続いて、図2において、中央制御装置3は、ステップS104の処理で算出したアグレッサ本数に応じたエラーしきい値をアグレッサ本数別エラーしきい値テーブルから抽出し(ステップS107)、該エラーしきい値とステップS105の処理で算出したクロストークノイズ値との比較を行い、エラー判定を行う(ステップS108)。
ここでは、クロストークノイズ値がエラーしきい値よりも大きい場合、エラーと判定し、クロストークノイズ値がエラーしきい値よりも小さい場合には、ノーエラーと判定する処理を行う。
このように、アグレッサ本数に応じたエラーしきい値を設定することにより、真のエラーを摘出することが可能となる。実設計においては殆どのビクティムネットが複数のアグレッサ本数を持つため、一般的な静的解析ツールが摘出したエラー件数よりも大幅なエラー数の削減を可能にすることができる。
実設計におけるクロストーク修正は、ステップS108においてエラー判定されたエラーを全て修正すればよいことになる。また、図9に示したとおり、各アグレッサ本数に応じた発生確率を求めることができるので、該発生確率とノイズの大きさの2項目を考慮することにより、ノイズ対策の優先度を決定することもできる。
即ち、発生確率を考えると、発生確率は高ければ高いほどノイズ対策が必要である。ノイズの高さを考えると、ノイズ高が高ければ高いほどノイズ対策が必要となる。従って、この2つの項目に着目すると、真のエラーの中でも対策の優先度を設定することが可能となる。
次に、図4と図5のアグレッサとビクティムとの関係を示す配線図を用いて、具体的なエラー判定技術について説明する。
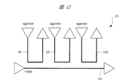
図4は、1本のアグレッサ配線A1に対して、1本のビクティム配線V1が配線されており、図5は、1本のビクティム配線V2に対して、3本のアグレッサ配線A2〜A4が配線されている。
ここで、アグレッサ配線A1のノイズ値は130mVとすると、ビクティム配線V1が受ける合計ノイズ値は、130mVとなる。また、アグレッサ配線A2〜A4は、ノイズ値をそれぞれ50mVとすると、ビクティム配線V2が受ける合計ノイズ値は、150mVとなる。
一般的な静的解析ツールでは、ビクティム配線V2の方がノイズ値が大きいため優先的にエラーレポートされることになり、ビクティム配線V1をエラー、ビクティム配線V2をノーエラーとすることができない。
しかし、ビクティム配線V2は、3本のアグレッサ配線A2〜A4が配線されているために発生確率が低く、ビクティム配線V1がクロストークエラーを発生させる確率が高い場合が多い。
この場合、前述したようにアグレッサ本数に応じてエラーしきい値の設定が可能であるので、たとえば、1本のアグレッサ配線では、エラーしきい値を、たとえば、120mVとし、3本のアグレッサ配線の場合には、エラーしきい値を、たとえば、200mVと設定することが可能となる。
それにより、本実施の形態1によれば、クロストークノイズの解析において、真のエラーのみを確実に指定することが可能となり、クロストークが起因となるエラーを大幅に低減することが可能となる。
(実施の形態2)
図10は、本発明の実施の形態2によるクロストーク解析処理の一例を示すフローチャート、図11は、ビクティム配線とアグレッサとの配線パターンの一例を示す説明図、図12は、ビクティム配線とアグレッサとの配線パターンの他の例を示す説明図、図13は、図11の配線パターンにおけるノイズ波形の一例を示す説明図、図14は、図12の配線パターンにおけるノイズ波形の一例を示す説明図である。
本実施の形態2においては、アグレッサ本数を補正する処理を新たに追加することによって、より正確にクロストークエラーを指摘する技術について述べる。
図10は、アグレッサ本数を補正する処理が追加された電子システム1によるクロストーク解析処理のフローチャートである。
まず、中央制御装置3は、レイアウトデータの読み込み(ステップS201)、対接地容量と配線間カップリング容量の抽出(ステップS202)、ビクティムの抽出(ステップS203)、ならびに各ビクティムに対するアグレッサ本数の抽出(ステップS204)をそれぞれ行う。これらステップS201〜S204の処理は、前記実施の形態1のステップS101〜S104(図2)の処理と同様であるので説明は省略する。
その後、実効アグレッサ本数の抽出を行う(ステップS205)。
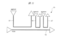
ここで、ステップS205の処理における実効アグレッサ本数の計算技術について、図11、および図12を用いて説明する。
アグレッサ本数が同じでかつ、最大ノイズ値が同じあっても、ノイズ発生確率が異なる場合が存在する。図11のビクティム配線V3と図12ビクティム配線V4とでは、ビクティム配線V3の方がクロストーク不良を発生させる確率が高い。
このようなケースは、上述した実効アグレッサ本数を計算することによりクロストークノイズの発生確率の高い順にエラー指摘することが可能となる。簡易な計算方法としてグリッチノイズに占める各々のアグレッサの割合の平均二乗和を求め、その逆数を実効アグレッサ本数とする方法である。
前記実施の形態1においてアグレッサ本数別のエラーしきい値の設定について説明したが、各々のアグレッサの大きさを考慮すると、より正確な実効的なエラーしきい値を求めることが可能となる。
図11に示すレイアウトパターンP3の場合、1本のビクティム配線V3に対して、3本のアグレッサ配線A5〜A7が配線されており、アグレッサ配線A5は、アグレッサ配線A6,A7よりもビクティム配線V3と平行に配線される距離が長くなっている。
ここで、アグレッサ配線A5〜A7のノイズ値を、それぞれ100mV、10mV、10mVとした場合、ビクティム配線V3が受ける合計ノイズ値は、120mVとなる。
また、図12に示す例では、1本のビクティム配線V4に対して、3本のアグレッサ配線A8〜A10が配線されており、アグレッサ配線A8〜A10は、ビクティム配線V4と平行に配線される距離がそれぞれ等しくなっている。
この場合、アグレッサ配線A8〜A10のノイズ値をそれぞれ等しく40mV、40mV、40mVとすると、ビクティム配線V4が受ける合計ノイズ値は、同じく120mVとなる。
ここで、エラーしきい値を、たとえば、90mVとした場合を考える。図11のレイアウトパターンP3では、ノイズが最も高くなる場合は、図13(a)に示すノイズ波形N5であり、ノイズ値は120mVである。
最もノイズが低くなる場合は、図13(b)に示すノイズ波形N6であり、ノイズ値は100mVである。
したがって、エラーしきい値90mVを超える確率は100%となる。一方、図12のレイアウトパターンP4では、ノイズが最も高くなる場合は、図14(a)に示すノイズ波形N7であり、ノイズ値は120mVである。
ノイズが最も低くなる場合は、図14(b)に示すノイズ波形N8であり、ノイズ値は40mVである。エラーしきい値90mVを超える場合は、3本のアグレッサによるノイズが同一時刻である場合に限定され、その確率は実施の形態1で説明した通り、おおよそt(n-1) となる。このことよりアグレッサの大きさの分布により、実効ノイズ最大値が変化することになる。
以上に説明した各々のアグレッサから受けるノイズの大きさの分布による実効ノイズ値の補正は、以下に説明する実効アグレッサ本数の計算を行うことにより可能となる。
まず、各アグレッサからのノイズ値の全体ノイズ値に対する比率を求める。図11では、各々のノイズは100mV、10mV、10mVであるため、全体ノイズに対する比率は各々83%、8%、8%となる。図12では、各々のノイズは40mV、40mV、40mVであるため、全体ノイズに対する比率は各々33%、33%、33%となる。
次に、これら各アグレッサが全体ノイズに占める割合から実効アグレッサ本数を計算する。簡易な方法は、二乗平均和の逆数を求めることで、おおよその実効アグレッサ本数を求めることができる。
すなわち、α(1/√(a2 +b2 +c2 ・・・))nとなる。ここで、αは補正係数、a,b,cは各々のアグレッサが全体ノイズに占める割合、nはアグレッサ本数である。
図11のレイアウトを例にとると、α(1/√(0.832 +0.082 +0.082 ))3=3.85αとなる。また、図12のレイアウトでは、α(1/√(0.332 +0.332 +0.332 ))3=5.25αとなる。
図11と図12のレイアウトパターンを比較すると、図11のレイアウトパターンが図12のレイアウトパターンよりもエラー発生確率が高いことになる。
また、エラーはアグレッサ本数が少ないほど発生確率が高いことを考えると本計算方法が正しいことが分かる。また、さらに正確を期すのであればモンテカルロシミュレーションによって実効アグレッサ本数を求めることも可能である。
図11、図12において、ビクティム配線V3はエラー判定、ビクティム配線V4はノーエラー判定の場合は、たとえば、以下に示すエラーしきい値を設定すればよい。
実効アグレッサ本数が4本の場合にエラーしきい値が120mV、実効アグレッサ本数が5本の場合にエラーしきい値が150mVである。これにより、実効アグレッサ本数が、3.85本のビクティム配線V3に対するエラーしきい値は120mV以下であるためにエラーとなり、実効アグレッサ本数が、5.24本のビクティム配線V4に対するエラーしきい値は150mV以下であるためにノーエラーである。
なお、エラーしきい値は、実効アグレッサ本数に対して単調増加になるため、小数を含む実効アグレッサ本数のエラーしきい値は線形補完で充分である。また、実効アグレッサ本数の算出は、モンテカルロシミュレーションなど、別の手段も考えられるが、どんな手段を用いるにしても、今回提案した実効アグレッサ本数に応じたエラーしきい値の設定は可能となる。
そして、実効アグレッサ本数を抽出すると、図10において、クロストークノイズ値を計算(ステップS206)する。ここでも、ステップS206の処理は、ステップS204の処理を行う前に行うようにしてもよい。
続いて、アグレッサ本数別エラーしきい値テーブルを読み込み(ステップS207)、ステップS205の処理で算出した実効アグレッサ本数に応じたエラーしきい値をアグレッサエラー本数別しきい値テーブルから抽出し(ステップS208)、該エラーしきい値とステップS206の処理で算出したクロストークノイズ値との比較を行い、エラー判定を行う(ステップS209)。
図10におけるステップS206,S207,S209の処理は、前記実施の形態1のステップS105,S106,S108(図2)の処理と同様であるので説明は省略する。
それにより、本実施の形態2においては、実効アグレッサ本数に応じてエラーしきい値を設定することにより、より高精度にクロストークエラー判定を行うことができる。
以上、本発明者によってなされた発明を実施の形態に基づき具体的に説明したが、本発明は前記実施の形態に限定されるものではなく、その要旨を逸脱しない範囲で種々変更可能であることはいうまでもない。
本発明は、半導体集積回路装置の設計におけるクロストークエラーの検証技術に適している。
本発明の実施の形態1による電子システムの一例を示すブロック図である。 図1の電子システムによるクロストーク解析処理の一例を示すフローチャートである。 クロストークノイズ判定に用いられるアグレッサ本数別エラーしきい値テーブルの一例を示す説明図である。 ビクティム配線とアグレッサとの配線パターンの一例を示す説明図である。 ビクティム配線とアグレッサとの配線パターンの他の例を示す説明図である。 図4、および図5の配線パターンにおけるノイズ波形の一例を示す説明図である。 図5の配線パターンにおけるノイズ波形の一例を示す説明図である。 図5の配線パターンにおけるノイズ波形の他の例を示す説明図である。 アグレッサ本数と実効ノイズ最大値との関係を示す説明図である。 本発明の実施の形態2によるクロストーク解析処理の一例を示すフローチャートである。 ビクティム配線とアグレッサとの配線パターンの一例を示す説明図である。 ビクティム配線とアグレッサとの配線パターンの他の例を示す説明図である。 図11の配線パターンにおけるノイズ波形の一例を示す説明図である。 図12の配線パターンにおけるノイズ波形の一例を示す説明図である。
符号の説明
1 電子システム
2 入力部
3 中央制御装置
4 出力部
5 データベース
P1〜P4 レイアウトパターン
N1〜N8 ノイズ波形
V1〜V4 ビクティム配線
A1〜A10 アグレッサ配線

Claims (8)

  1. レイアウトデータから、クロストーク解析の対象となるノイズを受ける側の配線であるビクティム配線を選択するステップと、
    レイアウトデータから、選択した前記ビクティム配線に対してノイズを与える側の配線であるアグレッサ配線の本数を算出するステップと、
    前記アグレッサ配線の本数毎に任意に設定された複数のエラーしきい値を有するアグレッサ本数別エラーしきい値テーブルを準備するステップと、
    レイアウトデータから、クロストークノイズを算出するステップと、
    算出した前記アグレッサ配線の本数に応じたエラーしきい値を前記アグレッサ本数別エラーしきい値テーブルから選択するステップと、
    選択した前記エラーしきい値と算出した前記クロストークノイズの値とを比較し、前記エラーしきい値よりも前記クロストークノイズの値が大きい際にエラーと判定し、前記クロストークノイズの値が前記エラーしきい値よりも小さい場合にノーエラーとするクロストークエラー判定を行うステップとを有することを特徴とするクロストークノイズの判定方法。
  2. 請求項1記載のクロストークノイズの判定方法において、
    前記アグレッサ本数別エラーしきい値テーブルにおける前記アグレッサ配線の本数毎のエラーしきい値の設定は、モンテカルロシミュレーションにより算出することを特徴とするクロストークノイズの判定方法。
  3. レイアウトデータから、クロストーク解析の対象となるノイズを受ける側の配線であるビクティム配線を選択するステップと、
    レイアウトデータから、選択した前記ビクティム配線に対してノイズを与える側の配線であるアグレッサ配線の本数を算出するステップと、
    前記アグレッサ配線の本数毎に任意に設定された複数のエラーしきい値を有するアグレッサ本数別エラーしきい値テーブルを準備するステップと、
    レイアウトデータから、クロストークノイズを算出するステップと、
    算出したアグレッサ配線の本数、および各々の前記アグレッサ配線が、前記ビクティム配線に与えるノイズの大きさから、前記アグレッサ配線の本数を補正した実効アグレッサ配線の本数を算出するステップと、
    算出した前記実効アグレッサ配線の本数に応じたエラーしきい値を前記アグレッサ本数別エラーしきい値テーブルから選択するステップと、
    選択した前記エラーしきい値と算出した前記クロストークノイズの値とを比較し、前記エラーしきい値よりも前記クロストークノイズの値が大きい際にエラーと判定し、前記クロストークノイズの値が前記エラーしきい値よりも小さい場合にノーエラーとするクロストークエラー判定を行うステップとを有することを特徴とするクロストークノイズの判定方法。
  4. 請求項3記載のクロストークノイズの判定方法において、
    前記実効アグレッサ本数の算出は、
    算出した各々の前記アグレッサ配線のノイズ値の全体ノイズ値に対する比率を算出し、各々の前記アグレッサ配線が全体ノイズ値に対する割合から実効アグレッサ配線の本数を計算することを特徴とするクロストークノイズの判定方法。
  5. 半導体集積回路装置の配線パターン設計におけるクロストークノイズの判定をコンピュータシステムに実行させるプログラムであって、
    レイアウトデータから、クロストーク解析の対象となるノイズを受ける側の配線であるビクティム配線を選択するステップと、
    レイアウトデータから、選択した前記ビクティム配線に対してノイズを与える側の配線であるアグレッサ配線の本数を算出するステップと、
    前記アグレッサ配線の本数毎に任意に設定された複数のエラーしきい値を有するアグレッサ本数別エラーしきい値テーブルを準備するステップと、
    レイアウトデータから、クロストークノイズを算出するステップと、
    算出した前記アグレッサ配線の本数に応じたエラーしきい値を前記アグレッサ本数別エラーしきい値テーブルから選択するステップと、
    選択した前記エラーしきい値と算出した前記クロストークノイズの値とを比較し、前記エラーしきい値よりも前記クロストークノイズの値が大きい際にエラーと判定し、前記クロストークノイズの値が前記エラーしきい値よりも小さい場合にノーエラーとするクロストークエラー判定を行うステップとを有することを特徴とするプログラム。
  6. 請求項5記載のプログラムにおいて、
    前記アグレッサ本数別エラーしきい値テーブルにおける前記アグレッサ配線の本数毎のエラーしきい値の設定は、モンテカルロシミュレーションにより算出することを特徴とするプログラム。
  7. 半導体集積回路装置の配線パターン設計におけるクロストークノイズの判定をコンピュータシステムに実行させるプログラムであって、
    レイアウトデータから、クロストーク解析の対象となるノイズを受ける側の配線であるビクティム配線を選択するステップと、
    レイアウトデータから、選択した前記ビクティム配線に対してノイズを与える側の配線であるアグレッサ配線の本数を算出するステップと、
    前記アグレッサ配線の本数毎に任意に設定された複数のエラーしきい値を有するアグレッサ本数別エラーしきい値テーブルを準備するステップと、
    レイアウトデータから、クロストークノイズを算出するステップと、
    算出した前記アグレッサ配線の本数、および各々の前記アグレッサ配線が、前記ビクティム配線に与えるノイズの大きさから、前記アグレッサ配線の本数を補正した実効アグレッサ配線の本数を算出するステップと、
    算出した前記実効アグレッサ配線の本数に応じたエラーしきい値を前記アグレッサ本数別エラーしきい値テーブルから選択するステップと、
    選択した前記エラーしきい値と算出した前記クロストークノイズの値とを比較し、前記エラーしきい値よりも前記クロストークノイズの値が大きい際にエラーと判定し、前記クロストークノイズの値が前記エラーしきい値よりも小さい場合にノーエラーとするクロストークエラー判定を行うステップとを有することを特徴とするプログラム。
  8. 請求項7記載のプログラムにおいて、
    前記実効アグレッサ本数の算出は、
    算出した各々の前記アグレッサ配線のノイズ値の全体ノイズ値に対する比率を算出し、各々の前記アグレッサ配線が全体ノイズ値に対する割合から実効アグレッサ本数を計算することを特徴とするプログラム。
JP2008205029A 2008-08-08 2008-08-08 クロストークノイズの判定方法およびプログラム Expired - Fee Related JP5103321B2 (ja)

Priority Applications (1)

Application Number Priority Date Filing Date Title
JP2008205029A JP5103321B2 (ja) 2008-08-08 2008-08-08 クロストークノイズの判定方法およびプログラム

Applications Claiming Priority (1)

Application Number Priority Date Filing Date Title
JP2008205029A JP5103321B2 (ja) 2008-08-08 2008-08-08 クロストークノイズの判定方法およびプログラム

Publications (2)

Publication Number Publication Date
JP2010039969A true JP2010039969A (ja) 2010-02-18
JP5103321B2 JP5103321B2 (ja) 2012-12-19

Family

ID=42012406

Family Applications (1)

Application Number Title Priority Date Filing Date
JP2008205029A Expired - Fee Related JP5103321B2 (ja) 2008-08-08 2008-08-08 クロストークノイズの判定方法およびプログラム

Country Status (1)

Country Link
JP (1) JP5103321B2 (ja)

Cited By (3)

* Cited by examiner, † Cited by third party
Publication number Priority date Publication date Assignee Title
JP2013120585A (ja) * 2011-12-09 2013-06-17 Renesas Electronics Corp 閾値テーブルの作成方法、クロストーク解析の悲観性削減方法、クロストーク解析方法、及びクロストーク解析プログラム
CN103338007A (zh) * 2013-06-04 2013-10-02 上海华力创通半导体有限公司 一种噪声处理方法及噪声处理后的电路
CN113836071A (zh) * 2021-11-26 2021-12-24 苏州浪潮智能科技有限公司 自纠正电路以及信号自纠正方法

Citations (5)

* Cited by examiner, † Cited by third party
Publication number Priority date Publication date Assignee Title
JPH09147009A (ja) * 1995-11-24 1997-06-06 Hitachi Ltd クロストークディレイ決定方法及び平行配線長制限方法
JP2002259486A (ja) * 2001-02-28 2002-09-13 Fujitsu Ltd クロストークノイズ解析方法およびその方法をコンピュータに実行させるプログラム
JP2003288381A (ja) * 2002-03-28 2003-10-10 Nec Corp クロストークノイズ量検証方法及び装置
JP2006171818A (ja) * 2004-12-13 2006-06-29 Matsushita Electric Ind Co Ltd クロストーク検証装置およびクロストーク検証方法
JP2008020986A (ja) * 2006-07-11 2008-01-31 Renesas Technology Corp クロストーク解析方法

Patent Citations (5)

* Cited by examiner, † Cited by third party
Publication number Priority date Publication date Assignee Title
JPH09147009A (ja) * 1995-11-24 1997-06-06 Hitachi Ltd クロストークディレイ決定方法及び平行配線長制限方法
JP2002259486A (ja) * 2001-02-28 2002-09-13 Fujitsu Ltd クロストークノイズ解析方法およびその方法をコンピュータに実行させるプログラム
JP2003288381A (ja) * 2002-03-28 2003-10-10 Nec Corp クロストークノイズ量検証方法及び装置
JP2006171818A (ja) * 2004-12-13 2006-06-29 Matsushita Electric Ind Co Ltd クロストーク検証装置およびクロストーク検証方法
JP2008020986A (ja) * 2006-07-11 2008-01-31 Renesas Technology Corp クロストーク解析方法

Cited By (5)

* Cited by examiner, † Cited by third party
Publication number Priority date Publication date Assignee Title
JP2013120585A (ja) * 2011-12-09 2013-06-17 Renesas Electronics Corp 閾値テーブルの作成方法、クロストーク解析の悲観性削減方法、クロストーク解析方法、及びクロストーク解析プログラム
CN103338007A (zh) * 2013-06-04 2013-10-02 上海华力创通半导体有限公司 一种噪声处理方法及噪声处理后的电路
CN113836071A (zh) * 2021-11-26 2021-12-24 苏州浪潮智能科技有限公司 自纠正电路以及信号自纠正方法
CN113836071B (zh) * 2021-11-26 2022-02-22 苏州浪潮智能科技有限公司 自纠正电路以及信号自纠正方法
US12536063B2 (en) 2021-11-26 2026-01-27 Suzhou Metabrain Intelligent Technology Co., Ltd. Self-correcting circuit and signal self-correcting method

Also Published As

Publication number Publication date
JP5103321B2 (ja) 2012-12-19

Similar Documents

Publication Publication Date Title
US20080034338A1 (en) Timing analysis method and device
JP4435685B2 (ja) 集積回路においてフィルターされたインターコネクションに関する配線寄生を抽出する方法
US9443041B2 (en) Simulation system and method for testing a simulation of a device against one or more violation rules
Mondal et al. Expression of Concern: Reducing pessimism in RLC delay estimation using an accurate analytical frequency dependent model for inductance
CN112149370B (zh) 芯片老化的静态时序分析方法、装置和电子设备
CN105488287A (zh) 时序修正方法和电子装置
JP2005352787A (ja) タイミング解析方法およびタイミング解析装置
JP5103321B2 (ja) クロストークノイズの判定方法およびプログラム
US20040054974A1 (en) Method and system for power node current waveform modeling
JP5561274B2 (ja) 電源設計システム、電源設計方法、及び電源設計用プログラム
US7185298B2 (en) Method of parasitic extraction from a previously calculated capacitance solution
JP4969416B2 (ja) 動作タイミング検証装置及びプログラム
JP5071081B2 (ja) 半導体装置に対する同時動作信号ノイズ見積り方法における同時動作信号ノイズ基礎特性取得方法、及びプログラム
JP5304088B2 (ja) 遅延時間分布を解析する解析方法および解析装置
US9703906B2 (en) Circuit simulation device, circuit simulation method, and circuit simulation program
US7809542B2 (en) System and method for glitch analysis in circuits
JP2005141434A (ja) 集積回路のタイミング検証システム、タイミング検証プログラム
US20120054706A1 (en) Timing analysis method, program and system
US20060036423A1 (en) Electronic circuit analyzing apparatus, electronic circuit analyzing method, and electronic circuit analyzing program
Qi et al. Fast decap allocation algorithm for robust on-chip power delivery
US8448125B2 (en) Method and apparatus for checking current density limitation
JP5872273B2 (ja) 閾値テーブルの作成方法、クロストーク解析の悲観性削減方法、クロストーク解析方法、及びクロストーク解析プログラム
US20060047492A1 (en) Circuit simulation methods and systems
US9805157B1 (en) Decoupling capacitor analysis techniques
JP4124671B2 (ja) 半導体集積回路設計装置

Legal Events

Date Code Title Description
A711 Notification of change in applicant

Free format text: JAPANESE INTERMEDIATE CODE: A712

Effective date: 20100528

A621 Written request for application examination

Free format text: JAPANESE INTERMEDIATE CODE: A621

Effective date: 20110317

A977 Report on retrieval

Free format text: JAPANESE INTERMEDIATE CODE: A971007

Effective date: 20120607

A131 Notification of reasons for refusal

Free format text: JAPANESE INTERMEDIATE CODE: A131

Effective date: 20120619

A521 Written amendment

Free format text: JAPANESE INTERMEDIATE CODE: A523

Effective date: 20120815

TRDD Decision of grant or rejection written
A01 Written decision to grant a patent or to grant a registration (utility model)

Free format text: JAPANESE INTERMEDIATE CODE: A01

Effective date: 20120904

A01 Written decision to grant a patent or to grant a registration (utility model)

Free format text: JAPANESE INTERMEDIATE CODE: A01

A61 First payment of annual fees (during grant procedure)

Free format text: JAPANESE INTERMEDIATE CODE: A61

Effective date: 20121001

FPAY Renewal fee payment (event date is renewal date of database)

Free format text: PAYMENT UNTIL: 20151005

Year of fee payment: 3

R150 Certificate of patent or registration of utility model

Free format text: JAPANESE INTERMEDIATE CODE: R150

S531 Written request for registration of change of domicile

Free format text: JAPANESE INTERMEDIATE CODE: R313531

R350 Written notification of registration of transfer

Free format text: JAPANESE INTERMEDIATE CODE: R350

LAPS Cancellation because of no payment of annual fees