JP2010038534A - 密閉式回転焼却炉 - Google Patents

密閉式回転焼却炉 Download PDF

Info

Publication number
JP2010038534A
JP2010038534A JP2009111723A JP2009111723A JP2010038534A JP 2010038534 A JP2010038534 A JP 2010038534A JP 2009111723 A JP2009111723 A JP 2009111723A JP 2009111723 A JP2009111723 A JP 2009111723A JP 2010038534 A JP2010038534 A JP 2010038534A
Authority
JP
Japan
Prior art keywords
rotating drum
radioactive waste
outer shell
exhaust gas
gas outlet
Prior art date
Legal status (The legal status is an assumption and is not a legal conclusion. Google has not performed a legal analysis and makes no representation as to the accuracy of the status listed.)
Granted
Application number
JP2009111723A
Other languages
English (en)
Other versions
JP5498052B2 (ja
Inventor
Katsutoshi Heta
勝敏 部田
Current Assignee (The listed assignees may be inaccurate. Google has not performed a legal analysis and makes no representation or warranty as to the accuracy of the list.)
NGK Insulators Ltd
Original Assignee
NGK Insulators Ltd
Priority date (The priority date is an assumption and is not a legal conclusion. Google has not performed a legal analysis and makes no representation as to the accuracy of the date listed.)
Filing date
Publication date
Application filed by NGK Insulators Ltd filed Critical NGK Insulators Ltd
Priority to JP2009111723A priority Critical patent/JP5498052B2/ja
Publication of JP2010038534A publication Critical patent/JP2010038534A/ja
Application granted granted Critical
Publication of JP5498052B2 publication Critical patent/JP5498052B2/ja
Active legal-status Critical Current
Anticipated expiration legal-status Critical

Links

Images

Landscapes

  • Gasification And Melting Of Waste (AREA)
  • Incineration Of Waste (AREA)

Abstract

【課題】炉外に放射性物質の漏洩が生じない密閉式回転焼却炉であって、金属性廃棄物やガラス製廃棄物を分別せず、そのまま焼却炉に投入できることができ、また、これらの金属性廃棄物やガラス製廃棄物が混在した焼却灰の排出性にも優れた密閉式回転焼却炉を提供すること。
【解決手段】中心軸が水平となるように回転可能に支持された回転ドラム3と、その外周を覆う密閉構造の外殻4と、外殻を貫通して回転ドラムの一端に達する放射性廃棄物投入部1と、回転ドラムの他端に接続された排ガス出口部2とを備え、これらの放射性廃棄物投入部1及び排ガス出口部2はそれぞれ外殻4に気密にフランジ接続されており、排ガス出口部2の下部には回転ドラム3内に火炎を吹き込む放射性廃棄物燃焼用バーナー11を設け、排ガス出口部2の底部には焼却残渣排出口17を設けた。
【選択図】図1

Description

本発明は密閉式回転焼却炉に関するものである。
現在、科学研究の分野において放射性同位元素(以下、RI)を使用することは必須の手段となっている。RIの取り扱いについては「放射性同位元素等による放射性障害の防止に関する法律」が適用される。従って、RI実験に使用した器具等の放射性廃棄物を廃棄する際には、放射線障害の防止のために必要な措置を講じなければならない。
従来、RI実験に使用した器具等の放射性廃棄物はそのまま貯蔵されてきたが、貯蔵スペースの観点から、可燃部分を焼却処理する技術への需要があった。放射性廃棄物焼却炉が備えるべき特性としての大前提は、全工程において、炉外に放射性物質の漏洩が生じないことである。
また、RI実験に使用した器具には注射針やガラス製容器等も含まれているが、被爆量低減の観点から、これらの金属性廃棄物やガラス製廃棄物を分別せず、そのまま焼却炉に投入できることが好ましい。また、金属性廃棄物やガラス性廃棄物は当該焼却炉内で溶融することなく焼却灰とともに排出されることが好ましく、更に、これらの金属性廃棄物やガラス製廃棄物が混在した焼却灰が容易に排出できることが好ましい。
通常の都市ゴミ等の焼却炉に関して、燃焼効率にすぐれ、かつ、焼却灰が容易に排出できる回転式焼却炉の技術が開示されている(特許文献1)。当該回転式焼却炉は、円錐筒状の炉体の中心線が水平となる状態で回転させつつ、当該炉内の一端に設けた焼却対象物投入口から投入された焼却対象物を加熱乾燥させながら他端に向かって移動させ、乾燥工程を経由しながらバーナーの火元に近づくまでに焼却対象物を充分乾燥させることができるものである。また、当該回転式焼却炉において、焼却対象物投入口の他端開口部は煙道部に回転可能に嵌合されており、該煙道部の底部に灰出し口が設けられた構造を有するため、焼却対象物が燃焼して灰となった灰分を連続的に排出でき、焼却灰の排出性にも優れている。
回転式焼却炉では、円錐筒状の炉体の両端部の開口部から燃焼ガスが漏洩することを防止する手段として、開口部を耐熱性の布シール等で覆い、さらに、運転時には排気ファンにより炉内を負圧に保つ方法が一般的に採用されている。しかし、この方法はシール部の密閉性が完全ではないため、例えば、急激に燃焼するアルコールや油等が多量に混入した場合、炉内の負圧を維持することが困難となる場合がある。このため、前記のように、炉外に放射性物質の漏洩が生じないことが大前提として求められる放射性廃棄物焼却炉として従来の回転式焼却炉を採用することは困難であった。
特開平5−52314号公報
本発明の目的は炉外に放射性物質の漏洩が生じない密閉式回転焼却炉であって、金属性廃棄物やガラス製廃棄物を分別せず、そのまま焼却炉に投入できることができ、また、これらの金属性廃棄物やガラス製廃棄物が混在した焼却灰の排出性にも優れた密閉式回転焼却炉を提供することである。
上記課題を解決するためになされた本発明に係る密閉式回転焼却炉は、中心軸が水平となるように回転可能に支持された回転ドラムと、その外周を覆う密閉構造の外殻と、外殻を貫通して回転ドラムの一端に達する放射性廃棄物投入部と、回転ドラムの他端に接続された排ガス出口部とを備え、これらの放射性廃棄物投入部及び排ガス出口部はそれぞれ外殻に気密にフランジ接続されており、排ガス出口部の下部には回転ドラム内に火炎を吹き込む放射性廃棄物燃焼用バーナーを設け、排ガス出口部の底部には焼却残渣排出口を設けたことを特徴とするものである。
請求項2記載の発明は、請求項1記載の密閉式回転焼却炉において、外殻は燃焼空気導入口を備え、該燃焼空気導入口から外殻内に導入されて、回転ドラム表面からの熱吸収により昇温した空気を、回転ドラム内に導入する燃焼空気流動手段を備えることを特徴とするものである。
請求項3記載の発明は、請求項1記載の密閉式回転焼却炉において、外殻内圧力検出手段と外殻内圧力調節手段とを備えることを特徴とするものである。
請求項4記載の発明は、請求項1〜3の何れかに記載の密閉式回転焼却炉において、回転ドラム電動駆動手段を外殻外部に備えることを特徴とするものである。
請求項5記載の発明は、請求項1〜4の何れかに記載の密閉式回転焼却炉において、放射性廃棄物投入部が二重ダンパ構造であることを特徴とするものである。
請求項6記載の発明は、請求項5記載の密閉式回転焼却炉において、放射性廃棄物投入部に、更に回転ドラムからの輻射熱を遮熱するための遮熱用ダンパを備えることを特徴とするものである。
請求項7記載の発明は、請求項1〜6の何れかに記載の密閉式回転焼却炉において、放射性廃棄物投入部には、回転ドラム内へ噴霧水を供給するための水噴霧ノズルを備え、排ガス出口部には、温度測定用ノズルと回転ドラム方向に開口した水噴霧ノズルとを備えたことを特徴とするものである。
本発明に係る密閉式回転焼却炉は、回転ドラムを内装する外殻を放射性廃棄物投入部と排ガス出口部とに、各々フランジ接続して外殻内を密閉構造としているため、回転ドラム内に急激に燃焼するアルコールや油等が多量に混入し、回転ドラム内の負圧を維持することが困難となり、回転ドラムの外部に燃焼ガスが漏れた場合であっても、外殻の外部には放射性物質が漏洩する心配はない。
また、本発明に係る密閉式回転焼却炉は、放射性廃棄物投入部から投入された放射性廃棄物を、回転ドラム内で回転させつつ、排ガス出口部の下部に設けた放射性廃棄物燃焼用バーナーの火元に近づくまでに充分加熱乾燥させることができるため、外部からの攪拌による粉塵飛散の問題を生じることなく、かつ、燃焼効率よく放射性廃棄物を燃焼させることができる。更に、本発明に係る密閉式回転焼却炉は、排ガス出口部の底部焼却残渣排出口を設けてあり、焼却灰の排出性に優れるため、金属性廃棄物やガラス製廃棄物が混在した焼却灰を容易に排出することができる。したがって、放射性の金属性廃棄物やガラス製廃棄物を分別せず、そのまま焼却炉に投入でき、焼却炉工程における作業者の被爆量低減を図ることができる。
請求項2記載の発明によれば、外殻に備えた燃焼空気導入口から外殻内に導入された空気が回転ドラム表面からの熱吸収を行うため、回転ドラムの表面温度上昇抑制を目的として回転ドラム内部にライニングされる耐火材厚を薄肉化することができ、回転ドラムの小型化が可能となる。また、回転ドラム表面からの熱吸収により昇温した空気を、燃焼用空気として回転ドラム内に導入することができるため、熱効率に優れ、二酸化炭素排出量削減に資する。
請求項3記載の発明によれば、外殻内圧力検出手段と外殻内圧力調節手段とにより、密閉式回転焼却炉の負圧管理が可能となり、密閉式回転焼却炉外への放射性物質漏洩をより確実に防止することができる。
請求項4記載の発明によれば、回転ドラム電動駆動手段を外殻外部に備えることにより、保守性が向上し、メンテナンス時に作業者の被爆量低減を図ることができる。
請求項5記載の発明によれば、放射性廃棄物投入部を二重ダンパ構造とすることにより、廃棄物投入時にも外殻内を負圧に維持することが可能となり、密閉式回転焼却炉外への放射性物質漏洩をより確実に防止することができる。
請求項6記載の発明によれば、放射性廃棄物投入部の下部先端側に、遮熱用ダンパを設けることにより、回転ドラム内からの輻射熱によって、放射性廃棄物投入部内の温度が上昇し、放射性廃棄物投入部内で、溶剤等の易燃性物質が発火する等の危険を回避することができる。
請求項7記載の発明によれば、放射性廃棄物投入部には、回転ドラム内へ噴霧水を供給するための水噴霧ノズルを備え、排ガス出口部には、温度測定用ノズルと回転ドラム方向に開口した水噴霧ノズルとを備えたことにより、回転ドラム内の入口部と出口部とでそれぞれ好ましい温度となるように、温度分布を制御することができる。また、回転ドラム内温度の過熱を防止して、廃棄物に含まれるガラス製廃棄物の溶融を防止し、耐火物の寿命を延ばすことができる。
本発明に係る密閉式回転焼却炉の一実施形態における側面断面図 図1におけるA−A断面図 他の実施形態における密閉式回転焼却炉の側面断面図 回転ドラムと放射性廃棄物投入部とのシール構造を示す断面図 回転ドラムと排ガス出口部とのシール構造を示す断面図
図1は本発明に係る密閉式回転焼却炉の一実施形態における側面断面図を表わし、図2は図1におけるA−A断面図を表わしている。図3は他の実施形態における密閉式回転焼却炉の側面断面図を表わしている。
以下、図面に基づいて本発明の構成を説明する。
本発明の密閉式回転焼却炉は、図1に示すように、放射性廃棄物投入部1と排ガス出口部2と回転ドラム3と外殻4から構成されている。
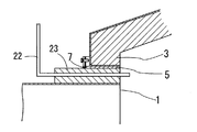
回転ドラム3は、SUSまたは炭素鋼の内面に耐火材をライニングした構造を有し、放射性廃棄物投入部1と排ガス出口部2との間で、中心線が水平となるように回転可能に支持されている。回転ドラム3と放射性廃棄物投入部1との間隙5は、図4に示すようにシール部材7で覆われ、回転ドラム3と排ガス出口部2との間隙6は、図5に示すようにシール部材7覆われている。
該シール部材7は、耐熱性の布シール等であって、回転ドラム3が摺動可能に接している。なお、電動駆動手段14は保守性の観点から、外殻4の外部に設けられ、回転ドラム電動駆動手段14が外殻4を貫通する部分はオイルシールにより、外殻4の密閉性を確保している。
外殻4は、炭素鋼からなり、図2に示すように、回転ドラム3を回転式支持手段20により回転可能に内装する構造を有する。外殻4両端に設けられた開口部8のうち、一端には放射性廃棄物投入部1がフランジ接続され、他端には排ガス出口部2がフランジ接続され、外殻4内を密閉構造としている。外殻4は燃焼空気導入口12と燃焼空気流動手段13とを備え、更に、外殻内圧力検出手段15と外殻内圧力調節手段と、逃し弁取付ノズル16を備えている。
放射性廃棄物投入部1は、投入口に放射性廃棄物投入用ダンパ9a、9bを二重に重ねて備え、下部にはプッシャー10を備えている。
放射性廃棄物投入部1は、更に、下部先端側に、回転ドラム3内からの輻射熱を遮熱するための遮熱用ダンパ21を備えている。該遮熱用ダンパ21は、放射性廃棄物投入部1内で可能な限り回転ドラム3側に設け、放射性廃棄物投入部1内の温度上昇を阻止することが好ましい。また、該遮熱用ダンパ21には、開閉機構を備え、通常は閉状態として放射性廃棄物を回転ドラム3に投入する際にのみ開状態として、放射性廃棄物投入部1内の温度上昇を阻止している。
また、放射性廃棄物投入部1の下部先端の外周には、回転ドラム3内へ噴霧水を供給するための水噴霧ノズル22を備えている。該水噴霧ノズル22は、放射性廃棄物投入部1の下部先端の外周側に固定形成された水噴霧ノズル収納用ボックス部23に収納されている。
排ガス出口部2の下部には回転ドラム3方向に開口したノズルを備えた放射性廃棄物燃焼用バーナー11、底部には焼却残渣排出口17が設けられている。更に、排ガス出口部は温度測定用ノズル18と回転ドラム方向に開口した水噴霧ノズル19とを備えるものである。
以下、上記構成における作用を説明する。
本発明に係る密閉式回転焼却炉は、RI実験に使用した器具等の放射性廃棄物を焼却処理するための焼却炉である。RI実験に使用した器具には注射針やガラス製容器等も含まれるが、被爆量低減の観点から、これらの金属性廃棄物やガラス製廃棄物を分別せず、そのまま焼却炉に投入することが好ましい。一般に放射性廃棄物はRI施設等で袋詰めや容器詰めされて保管されており、本発明に係る密閉式回転焼却炉は、これらをそのまま(分別せず袋や容器ごと)放射性廃棄物投入部1に投入可能としたものである。
放射性廃棄物投入部1の投入口には放射性廃棄物投入用ダンパ9a、9bが2段に設けられているため、廃棄物投入時には、まず放射性廃棄物投入用ダンパ9aを開き、放射性廃棄物投入用ダンパ9bは閉じて放射性廃棄物を投入し、次に放射性廃棄物投入用ダンパ9aを閉じた後、放射性廃棄物投入用ダンパ9bを開いて放射性廃棄物を放射性廃棄物投入部1の下部に投入する。
放射性廃棄物投入用ダンパ9bを開いて放射性廃棄物投入部1の下部に投入された放射性廃棄物が所定量となった段階で、遮熱用ダンパ21を開き、プッシャー10により回転ドラム3内に押し出し投入する。
このように、放射性廃棄物投入部1に放射性廃棄物投入用ダンパ9a、9bを2段に設けることにより、放射性廃棄物投入時にも外殻4及び回転ドラム3内部を負圧に保つことが可能となり、放射性物質の漏洩が有効に防止でき、作業者の被爆量低減が図られる。
また、更に、放射性廃棄物投入部1の下部先端側に、遮熱用ダンパ21を設けることにより、回転ドラム3内からの輻射熱によって、放射性廃棄物投入部1内の温度が上昇し、放射性廃棄物投入部1内で、溶剤等の易燃性物質が発火する等の危険を回避することができる。
回転ドラム3は放射性廃棄物投入部1と排ガス出口部2との間で、中心線が水平となるように回転可能に支持されており、間隙5、6はシール部材7覆われているが、シール部材7は、耐熱性の布シール等であって、回転ドラム3が摺動可能に接する構造を有する。当該部分のシール性は完全ではないが、通常運転時には、排ガス出口部2に繋がる排ガスファンにより、回転ドラム3内の空気は負圧に保たれており、当該シール部材7の隙間から放射性物質の漏洩が生じることはない。しかし、例えば、回転ドラム3内にアルコールや油等の揮発性成分が多量に混入し燃焼条件変動に伴う暴走が生じた場合には、回転ドラム3内の空気を負圧に保つことが困難となり、当該シール部材7の隙間から放射性物質の漏洩が生じる可能性がある。そこで、本発明では、回転ドラム3全体を覆うように外殻4を設け、外殻4内を密閉構造とすることにより、前記のような燃焼条件変動にも対応可能な構造としている。
回転ドラム3内に導入された放射性廃棄物は、回転ドラム3の回転に伴って、回転ドラム3の他端に向かって移動しながら加熱乾燥され、排ガス出口部2の下部に設けられた放射性廃棄物燃焼用バーナー11の火元付近で燃焼する。
燃焼用空気は主にバーナー11の下端から供給される。また、その他に、外殻4に設けた燃焼空気導入口12から導入した燃焼用空気が、放射性廃棄物投入部1に接続した配管13aを通じて回転ドラム3内に供給される。なお、放射性廃棄物投入部1の下部先端側には、遮熱用ダンパ21を設けているが、該遮熱用ダンパ21は、仕切り空間の密閉性確保を目的とするものではなく、遮熱効果を奏するものであれば良く、該配管13aから回転ドラム3内への燃焼空気の流動を確保するための隙間を有している。
更に、図3に示すように、外殻4に設けた燃焼空気導入口12から導入した燃焼用空気を、バーナー11の火元付近から回転ドラム3内に挿入された、噴出ノズル付配管13bを通じて回転ドラム3内に送り込む方法を採用することもできる。
該外殻4に設けた燃焼空気導入口12から導入した燃焼用空気は、回転ドラム3表面及び外殻4表面からの熱吸収を行う作用も有する。回転ドラム3表面温度は、許容応力の観点から350〜400℃以下とし、外殻4表面温度は、外傷防止の観点から、80℃以下とすることが望ましい。このような表面温度とする手段として、外殻4内面に保温材を施工したり、回転ドラム3の内面にライニングする耐火材を厚くしたり、断熱性にすぐれた素材を用いる方法もあるが、いずれも、焼却炉の大型化や、高コスト化に繋がり望ましくない。この点、本発明のように、燃焼空気を利用した熱交換方法によれば、前記デメリットを回避して、焼却炉の小型化や、低コスト化が可能となる。なお、熱吸収後の燃焼用空気の一部はシール部材7の隙間から回転ドラム3内に入り、残りは、前記配管13a、13bを通じて回転ドラム3内に供給される。
本発明に係る密閉式回転焼却炉は、RI実験に使用した器具等の放射性廃棄物を焼却処理するための焼却炉であり、廃棄物に溶剤等の易燃性物質が多く含まれることもある。このような場合、回転ドラム3の入口側3aを300〜400℃、出口側3bを700〜800℃の温度分布となるように制御して、易燃性物質の急激な燃焼を防止することが好ましい。本発明では、当該温度分布を実現する手段として、放射性廃棄物投入部1の下部先端の外周には、回転ドラム3内へ噴霧水を供給するための水噴霧ノズル22を備えている。該水噴霧ノズル22から噴霧する液体によって、回転ドラム3の入口側3aの耐火物温度を低下させることができる。なお、該水噴霧ノズル22から噴霧する液体として、RI実験に使用した廃水の希釈液を用いることにより、RI実験廃液の処理も同時に行うこともできる。但し、該温度分布を得る手段は、水噴霧に限定されるものではなく、圧縮空気の供給等の手段を採用することも可能である。
回転ドラム3の出口側3bは、排ガス出口部2の下部に設けられた放射性廃棄物燃焼用バーナー11の熱源からのエネルギーと、放射性廃棄物の燃焼エネルギーとで回転ドラム3内温度は800℃程度に維持されている。回転ドラム3内温度が約900℃を超えると放射性廃棄物に混入しているガラスの粘性が増してくるが、耐火物寿命の観点から、当該ガラス溶融は防止することが好ましい。当該ガラス溶融防止手段として、排ガス出口部2に温度測定用ノズル18と水噴霧ノズル19とを備え、回転ドラム3内温度がバーナ11を停止しても約900℃を超える過熱状態となった場合、回転ドラム3の出口側3b温度が800℃程度となるように水を噴霧できるようにしている。
回転ドラム3内での廃棄物焼却後に残った焼却残渣は排ガス出口部2の底部に設けられた焼却残渣排出口17から排出される。当該焼却残渣排出口17には密閉構造の振動コンベアー又はスクリュードライバーコンベア−が接続され、密閉状態を保ったまま次工程に送られるため、本発明の焼却残渣排出工程においても放射性物質が外部に漏洩することなく、安全に処理可能な構造となっている。
外殻4に備えられた外殻内圧力検出手段15では、外殻4内の圧力を検出し、外殻4内の圧力が−0.5〜−5kPa、望ましくは−1〜−2kPaとなるように外郭内圧力調節手段で調節している。外殻内圧力調節手段としては、例えば、排ガスブロワ及び圧力調整弁を採用することができる。なお、外殻4には、逃し弁取付ノズル15を設け、逃し弁、HFPAフィルタに接続することにより、廃棄物中に多量の揮発性物質が混入して急激に燃焼し、回転ドラム3内及び外殻4内の圧力が正圧となった場合でも、放射性物質が外殻4外に漏洩することなく、安全に処理することができる。
外殻4には燃焼空気導入口12を備え、燃焼用空気の一部を当該燃焼空気導入口12から外殻4内に導入して、回転ドラム3表面及び外殻4表面から熱吸収を行わせている。これにより、回転ドラム3表面及び外殻4表面を冷却することができる。回転ドラム3表面温度は、許容応力の観点から350〜400℃以下とし、外殻4表面温度は、外傷防止の観点から、80℃以下とすることが望ましい。このような表面温度とする手段として、外殻4内面に保温材を施工したり、回転ドラム3の内面にライニングする耐火材を厚くしたり、断熱性にすぐれた素材を用いる方法もあるが、いずれも、焼却炉の大型化や、高コスト化に繋がり望ましくない。この点、本発明のように、燃焼空気を利用した熱交換方法によれば、前記デメリットを回避して、焼却炉の小型化や、低コスト化が可能となる。なお、熱吸収後の燃焼用空気の一部はシール部材7の隙間から回転ドラム3内に入り、残りは、燃焼空気流動手段により回転ドラム3内に送り込まれる。
1 放射性廃棄物投入部
2 排ガス出口部
3 回転ドラム
3a 入口側
3b 出口側
4 外殻
5 回転ドラムと放射性廃棄物投入部との間隙
6 回転ドラムと排ガス出口部との間隙
7 シール部材
8 開口部
9a、9b 放射性廃棄物投入用ダンパ
10 プッシャー
11 放射性廃棄物燃焼用バーナー
12 燃焼空気導入口
13 燃焼空気流動手段
13a、13b 配管
14 回転ドラム電動駆動手段
15 外殻内圧力検出手段
16 逃し弁取付ノズル
17 焼却残渣排出口
18 温度測定用ノズル
19 水噴霧ノズル
20 回転式支持手段
21 遮熱用ダンパ
22 水噴霧ノズル
23 水噴霧ノズル収納用ボックス部

Claims (7)

  1. 中心軸が水平となるように回転可能に支持された回転ドラムと、その外周を覆う密閉構造の外殻と、外殻を貫通して回転ドラムの一端に達する放射性廃棄物投入部と、回転ドラムの他端に接続された排ガス出口部とを備え、
    これらの放射性廃棄物投入部及び排ガス出口部はそれぞれ外殻に気密にフランジ接続されており、
    排ガス出口部の下部には回転ドラム内に火炎を吹き込む放射性廃棄物燃焼用バーナーを設け、
    排ガス出口部の底部には焼却残渣排出口を設けたことを特徴とする密閉式回転焼却炉。
  2. 外殻は燃焼空気導入口を備え、
    該燃焼空気導入口から外殻内に導入されて、回転ドラム表面からの熱吸収により昇温した空気を、回転ドラム内に導入する燃焼空気流動手段を備えることを特徴とする請求項1記載の密閉式回転焼却炉。
  3. 外殻部内圧力検出手段と外殻内圧力調節手段とを備えることを特徴とする請求項1記載の密閉式回転焼却炉。
  4. 回転ドラム電動駆動手段を外殻外部に備えることを特徴とする請求項1〜3の何れかに記載の密閉式回転焼却炉。
  5. 放射性廃棄物投入部が二重ダンパ構造であることを特徴とする請求項1〜4の何れかに記載の密閉式回転焼却炉。
  6. 放射性廃棄物投入部に、更に回転ドラムからの輻射熱を遮熱するための遮熱用ダンパを備えることを特徴とする請求項5記載の密閉式回転焼却炉。
  7. 放射性廃棄物投入部には、回転ドラム内へ噴霧水を供給するための水噴霧ノズルを備え、排ガス出口部には、温度測定用ノズルと回転ドラム方向に開口した水噴霧ノズルとを備えたことを特徴とする請求項1〜6の何れかに記載の密閉式回転焼却炉。
JP2009111723A 2008-07-08 2009-05-01 密閉式回転焼却炉 Active JP5498052B2 (ja)

Priority Applications (1)

Application Number Priority Date Filing Date Title
JP2009111723A JP5498052B2 (ja) 2008-07-08 2009-05-01 密閉式回転焼却炉

Applications Claiming Priority (3)

Application Number Priority Date Filing Date Title
JP2008177491 2008-07-08
JP2008177491 2008-07-08
JP2009111723A JP5498052B2 (ja) 2008-07-08 2009-05-01 密閉式回転焼却炉

Publications (2)

Publication Number Publication Date
JP2010038534A true JP2010038534A (ja) 2010-02-18
JP5498052B2 JP5498052B2 (ja) 2014-05-21

Family

ID=42011271

Family Applications (1)

Application Number Title Priority Date Filing Date
JP2009111723A Active JP5498052B2 (ja) 2008-07-08 2009-05-01 密閉式回転焼却炉

Country Status (1)

Country Link
JP (1) JP5498052B2 (ja)

Cited By (6)

* Cited by examiner, † Cited by third party
Publication number Priority date Publication date Assignee Title
CN102141250A (zh) * 2011-04-14 2011-08-03 任荣 一种使用煤粉燃烧器焚烧废物的焚烧炉
JP2011174628A (ja) * 2010-02-23 2011-09-08 Ngk Insulators Ltd 廃イオン交換樹脂の焼却処理方法
JP2011174776A (ja) * 2010-02-24 2011-09-08 Ngk Insulators Ltd 粒状放射性廃棄物の焼却処理方法およびその焼却処理装置
JP2013101088A (ja) * 2011-11-10 2013-05-23 Ngk Insulators Ltd 放射性廃棄物焼却炉および放射性廃棄物焼却処理方法
JP2015224807A (ja) * 2014-05-26 2015-12-14 オオノ開發株式会社 Pcb廃棄物のバッチ式焼却装置
CN119957910A (zh) * 2024-12-30 2025-05-09 中国辐射防护研究院 一种基于放射性废物桶的热解炉加料装置及加料方法

Citations (7)

* Cited by examiner, † Cited by third party
Publication number Priority date Publication date Assignee Title
JPH05223227A (ja) * 1992-02-13 1993-08-31 Masanori Nakayama 廃棄物燃料燃焼装置
JPH05322147A (ja) * 1992-05-21 1993-12-07 Hitachi Zosen Corp 回転炉
JPH08128611A (ja) * 1994-10-31 1996-05-21 Hosobuchii Eng:Kk 焼却炉
JPH09310830A (ja) * 1996-05-22 1997-12-02 Komahide:Kk 回転炉式乾燥燃焼装置
JPH102535A (ja) * 1996-06-13 1998-01-06 Kuchiku Kogyo Kk 含水流動物の焼却装置及び方法
JP2002060754A (ja) * 2000-08-11 2002-02-26 Shin Caterpillar Mitsubishi Ltd 連続炭化装置および連続炭化方法
JP2003320359A (ja) * 2002-04-30 2003-11-11 Advanced:Kk 有機性廃棄物の熱分解方法及び装置

Patent Citations (7)

* Cited by examiner, † Cited by third party
Publication number Priority date Publication date Assignee Title
JPH05223227A (ja) * 1992-02-13 1993-08-31 Masanori Nakayama 廃棄物燃料燃焼装置
JPH05322147A (ja) * 1992-05-21 1993-12-07 Hitachi Zosen Corp 回転炉
JPH08128611A (ja) * 1994-10-31 1996-05-21 Hosobuchii Eng:Kk 焼却炉
JPH09310830A (ja) * 1996-05-22 1997-12-02 Komahide:Kk 回転炉式乾燥燃焼装置
JPH102535A (ja) * 1996-06-13 1998-01-06 Kuchiku Kogyo Kk 含水流動物の焼却装置及び方法
JP2002060754A (ja) * 2000-08-11 2002-02-26 Shin Caterpillar Mitsubishi Ltd 連続炭化装置および連続炭化方法
JP2003320359A (ja) * 2002-04-30 2003-11-11 Advanced:Kk 有機性廃棄物の熱分解方法及び装置

Cited By (6)

* Cited by examiner, † Cited by third party
Publication number Priority date Publication date Assignee Title
JP2011174628A (ja) * 2010-02-23 2011-09-08 Ngk Insulators Ltd 廃イオン交換樹脂の焼却処理方法
JP2011174776A (ja) * 2010-02-24 2011-09-08 Ngk Insulators Ltd 粒状放射性廃棄物の焼却処理方法およびその焼却処理装置
CN102141250A (zh) * 2011-04-14 2011-08-03 任荣 一种使用煤粉燃烧器焚烧废物的焚烧炉
JP2013101088A (ja) * 2011-11-10 2013-05-23 Ngk Insulators Ltd 放射性廃棄物焼却炉および放射性廃棄物焼却処理方法
JP2015224807A (ja) * 2014-05-26 2015-12-14 オオノ開發株式会社 Pcb廃棄物のバッチ式焼却装置
CN119957910A (zh) * 2024-12-30 2025-05-09 中国辐射防护研究院 一种基于放射性废物桶的热解炉加料装置及加料方法

Also Published As

Publication number Publication date
JP5498052B2 (ja) 2014-05-21

Similar Documents

Publication Publication Date Title
JP2013101088A (ja) 放射性廃棄物焼却炉および放射性廃棄物焼却処理方法
JP5498052B2 (ja) 密閉式回転焼却炉
CA2891630C (en) Device for centrifugal combustion by area using flow of combustion air
KR20040086074A (ko) 폐기물 소각용 수직형 쓰레기 소각로 및 그 제어 방법
CN109237490B (zh) 一种气化等离子废物处理系统
CN103939916A (zh) 带水冷和消防功能的垃圾焚烧炉进料装置
JP3426562B2 (ja) 産業廃棄物焼却用竪型ごみ焼却炉
US20130000531A1 (en) Method for supplying combustion air in vertical incinerator and vertical incinerator
CN111396882A (zh) 一种熔融炉
CN108758639B (zh) 一种垃圾热解气化及二燃室一体式装置
JP2001090922A (ja) ロータリキルン
ES2711424T3 (es) Aparato de combustión para la combustión de material reciclable o de desecho
KR101073661B1 (ko) 방사성폐기물용 소각장치
CN111911935A (zh) 一种降低危废焚烧回转窑炉的焚烧残渣的热灼减率的装置
JPH1019220A (ja) ロータリキルン
JP2016121253A (ja) 炭化炉、水性ガス生成システム、および炭化炉の制御方法
JP6326212B2 (ja) 放射性廃棄物焼却装置
EA014625B1 (ru) Нейтрализатор твердых бытовых отходов огневой
JP5385819B2 (ja) 廃イオン交換樹脂の焼却処理方法
RU2507448C1 (ru) Нейтрализатор биологических отходов
RU2791278C1 (ru) Печь для сжигания радиоактивных отходов
KR102046329B1 (ko) 온수 및 열풍용 소각 장치
JP6276956B2 (ja) 放射性廃棄物焼却装置
CN215001608U (zh) 一种用于放射性废物热解炉的炉排装置
JP2016121252A (ja) 炭化炉、水性ガス生成システム、および炭化炉の制御方法

Legal Events

Date Code Title Description
A621 Written request for application examination

Free format text: JAPANESE INTERMEDIATE CODE: A621

Effective date: 20120215

A977 Report on retrieval

Free format text: JAPANESE INTERMEDIATE CODE: A971007

Effective date: 20130712

A131 Notification of reasons for refusal

Free format text: JAPANESE INTERMEDIATE CODE: A131

Effective date: 20130726

A521 Written amendment

Free format text: JAPANESE INTERMEDIATE CODE: A523

Effective date: 20130911

A131 Notification of reasons for refusal

Free format text: JAPANESE INTERMEDIATE CODE: A131

Effective date: 20131203

A521 Written amendment

Free format text: JAPANESE INTERMEDIATE CODE: A523

Effective date: 20131225

TRDD Decision of grant or rejection written
A01 Written decision to grant a patent or to grant a registration (utility model)

Free format text: JAPANESE INTERMEDIATE CODE: A01

Effective date: 20140304

A61 First payment of annual fees (during grant procedure)

Free format text: JAPANESE INTERMEDIATE CODE: A61

Effective date: 20140307

R150 Certificate of patent or registration of utility model

Ref document number: 5498052

Country of ref document: JP

Free format text: JAPANESE INTERMEDIATE CODE: R150