JP2010035600A - 角パイプ - Google Patents

角パイプ Download PDF

Info

Publication number
JP2010035600A
JP2010035600A JP2008198474A JP2008198474A JP2010035600A JP 2010035600 A JP2010035600 A JP 2010035600A JP 2008198474 A JP2008198474 A JP 2008198474A JP 2008198474 A JP2008198474 A JP 2008198474A JP 2010035600 A JP2010035600 A JP 2010035600A
Authority
JP
Japan
Prior art keywords
shaft
corner
square pipe
reinforcing fibers
fiber
Prior art date
Legal status (The legal status is an assumption and is not a legal conclusion. Google has not performed a legal analysis and makes no representation as to the accuracy of the status listed.)
Granted
Application number
JP2008198474A
Other languages
English (en)
Other versions
JP5361040B2 (ja
Inventor
Eiji Sugaya
英二 菅谷
Current Assignee (The listed assignees may be inaccurate. Google has not performed a legal analysis and makes no representation or warranty as to the accuracy of the list.)
Globeride Inc
Original Assignee
Globeride Inc
Priority date (The priority date is an assumption and is not a legal conclusion. Google has not performed a legal analysis and makes no representation as to the accuracy of the date listed.)
Filing date
Publication date
Application filed by Globeride Inc filed Critical Globeride Inc
Priority to JP2008198474A priority Critical patent/JP5361040B2/ja
Priority to US12/461,065 priority patent/US8047935B2/en
Priority to CA2674409A priority patent/CA2674409C/en
Publication of JP2010035600A publication Critical patent/JP2010035600A/ja
Application granted granted Critical
Publication of JP5361040B2 publication Critical patent/JP5361040B2/ja
Active legal-status Critical Current
Anticipated expiration legal-status Critical

Links

Images

Landscapes

  • Golf Clubs (AREA)

Abstract

【課題】中空矩形断面の角部の強度を向上させることができる潰れや捩れに対して強い角パイプを提供を目的とする。
【解決手段】本発明は、少なくとも周方向に沿って引き揃えられた周方向強化繊維から成る中空状の矩形断面の角パイプであって、四隅の角部2Aと、これらの角部2A間を繋ぐ4つの側面部2aとを有している。前記角部における周方向強化繊維は、外側に広がる円弧状を成して前記側面部における周方向強化繊維に繋がっている。
【選択図】図6

Description

本発明は、矩形断面を有する中空の角パイプであって、例えばアイスホッケーやフィールドホッケー、或いはクリケット等の競技に用いられる競技用スティックのシャフトに用いられる角パイプに関する。
従来から矩形断面を有する中空の角パイプは様々な形態のものが知られている(例えば特許文献1参照)。このような角パイプは、様々な産業分野で使用され、例えば競技に用いられる競技用スティックのシャフトなどにおいても幅広く利用される。
前記競技用スティックは、握持、保持されるシャフトと、シャフトの先端部に一体的、又は着脱可能に装着され、ボールやパックを叩くブレードとを備えている。通常、このような競技用スティックのシャフトは、例えば、繊維強化プラスチックのような複合材を用いて軽量化を図ることが知られている。
また、前記シャフトは、断面形状を矩形にすることが一般化されている。これは、ブレード部分でボールやパックを打つ(以下、打球と称する)際、軸に対して加わる回転トルクを抑え易くするためである。すなわち、シャフトの断面が円形状や楕円形状であると、シャフトを強く握持、保持していても、回転トルクが作用すると掌の内部で回転し易くなってしまい、結果として、ブレード部分で強く打球した際に回転トルクに負けてシャフトが回り、正確なシュート(方向性)を打てないか、或いは、ボールやパックに十分な力を伝えきれないからである。
特開平3−234614号
このように、シャフトが中空断面矩形状の角パイプを成している場合には、潰れや捩れが生じる虞があることから、一般に、繊維が周方向に引き揃えられた周方向繊維材を介在させることにより角パイプの潰れに対する補強を行なっている。無論、このような補強は、競技用スティックのシャフトに限らず、様々な用途における角パイプにおいて適用される。
しかしながら、周方向繊維による補強を行なった場合であっても、角パイプの四隅にある角部は、繊維が折れ曲がってしまっていることから、他の部位に比べて潰れや捩れに対する強度が不足している。そのため、そのような角パイプPは、図12の(a)に示されるように側方から力Fを受けると、図12の(b)に示されるように強度の弱い角部100を起点に斜行変形して潰れてしまったり、あるいは、角部100の内側の角度が外側に広がるように変形して潰れてしまう虞がある。
本発明は、上記した問題に着目してなされたものであり、中空矩形断面の角部の強度を向上させることができる潰れや捩れに対して強い角パイプを提供することを目的とする。
上記した目的を達成するため、本発明は、少なくとも周方向に沿って引き揃えられた周方向強化繊維から成る中空状の矩形断面の角パイプであって、四隅の角部と、これらの角部間を繋ぐ4つの側面部とを有し、前記角部における周方向強化繊維が外側に広がる円弧状を成して前記側面部における周方向強化繊維に繋がっていることを特徴とする。
上記した構成の角パイプでは、前記角部における周方向強化繊維が外側に広がる円弧状を成して前記側面部における周方向強化繊維に繋がっているため、すなわち、角部の繊維が折れ曲がっていないため、角部の剛性が高く、潰れや捩れに対して強い。特に上記構成では、積層構造において、角部における周方向強化繊維の円弧の曲率を外側の繊維層ほど大きくすればするほど、また、角部における繊維層の厚さを側面部における繊維層の厚さよりも大きくすればするほど、角部の剛性が更に高まり、角部を起点とする潰れや捩れを効果的に防止することができる。
なお、上記構成において、「外側」とは、シャフトの軸方向中心軸から離れる側のことであり、また、「周方向強化繊維」とは、シャフトの長軸方向に対して90°±45°の範囲の方向で引き揃えられる強化繊維のことである。このような周方向の繊維(または繊維層)が介在されることで潰れや座屈が防止されることは言うまでもない。また、上記構成において、「繊維」とは、繊維が周方向に引き揃えられて成る繊維基材の他、周方向強化繊維と軸長方向強化繊維(あるいは、傾斜方向強化繊維)とが織り込まれて成る織物を含む広義の概念である。また、上記構成において、「円弧」とは、一部に直線を含んでいたとしても全体として滑らかな(折れ曲がり部を有さない)曲線を描く輪郭のことである。
本発明によれば、中空矩形断面の角部の強度を向上させることができる潰れや捩れに対して強い角パイプを提供できる。
以下、本発明に係る角パイプの実施形態について添付図面に沿って具体的に説明する。
図1は、角パイプの一例としてのシャフト2を有する競技用スティック1の全体構成を示す図である。
本実施形態の競技用スティック1は、シャフト2と、シャフト2の先端に装着され、ボールやパック等を打球するブレード5とを備えた構成となっている。前記シャフト2は、強化繊維(例えば、炭素繊維、ガラス繊維、アラミド繊維)にエポキシ樹脂、ポリエステル樹脂、フェノール樹脂等のマトリックス樹脂を含浸して形成された、いわゆるプリプレグシートを巻装することで構成されている。特に、本実施形態のシャフト2は、少なくとも周方向に沿って引き揃えられた周方向強化繊維(より現実的には、例えば、周方向強化繊維と軸方向強化繊維(あるいは、傾斜方向強化繊維)とが織り込まれて成る織布状のもの)を積層して成る断面が矩形形状で中空状の角パイプとして構成されており、四隅の角部2Aと、これらの角部2A間を繋ぐ4つの側面部2aとを有している(図2および図3参照)。なお、シャフト2の内部には、振動を吸収できるように発泡体等が充填されていても良い。
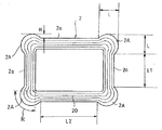
ここで、「角部」とは、図3に示されるように、角パイプ(シャフト2)の互いに隣り合う内面の延長部分(破線で示される部分)同士が外周面側で成す角度範囲R部分を少なくとも含む四隅の領域のことである。
前記シャフト2の基端部には、グリップテープ7が巻回されている。通常、シャフト2は、使用者の身長や競技における各人のポジション等に応じてカットされ、このカット部分が隠蔽されるように前記グリップテープ7が巻回されている。なお、グリップテープ7は、シャフト2の外周面に直接、巻回しても良いし、握り性を考慮して、シャフト2に別部材を取着した状態で巻回しても良い。
前記ブレード5は、用途によって形状や材料が選択され、前記シャフト2の先端に装着される。この場合、ブレード5については、シャフト2と一体化されていても良いし、交換可能に構成されていても良い。
図2から図7は、図1に示すシャフト2の構成を示す図であり、図2はシャフト2の断面形状を示す斜視図、図3は、断面図、図4は、シャフト2の製造方法の一例の概略を示す断面図、そして、図5は、シャフト2の製造方法の一例の概略を示す断面図であって、角部2Aを膨出部として形成した状態を示す図、図6は角部2Aの拡大断面図である。
前述したように、本実施形態において、シャフト2は、樹脂が含浸された少なくとも周方向強化繊維としてのプリプレグシート(周方向強化繊維と軸方向強化繊維(あるいは、傾斜方向強化繊維)とが織り込まれて成る織布状のものであっても良い)を積層して成る断面が中空矩形状の角パイプとして形成されているが、特に図6に明確に示されるように、シャフト2を構成する各繊維層S1,S2,S3,S4,S5(あるいは、これらの一部であっても良い)は、角部2Aにおける周方向繊維が外側に広がる円弧状を成して側面部2aにおける周方向繊維に繋がっている。その結果、本実施形態では、一例として、シャフト2の角部2Aが、軸長方向に延出し且つ外方に向けて膨出する膨出部として形成されている。ここで、角部2Aにおける周方向繊維の円弧の曲率は、外側の繊維層ほど大きくなっている。具体的には、最も内側の第1の繊維層S1の角部2Aにおける円弧の曲率R1よりも、その直ぐ外側の第2の繊維層S2の角部2Aにおける円弧の曲率R2の方が大きく、この関係は、更に外側の繊維層S3〜S5においても同様である。すなわち、第2の層S2の角部2Aの円弧の曲率R2<第3の層S3の角部2Aの円弧の曲率R3<第4の層S4の角部2Aの円弧の曲率R4<第5の層S5の角部2Aの円弧の曲率R5となっている。また、本実施形態では、角部2Aにおける繊維層S1〜S5の厚さTが側面部2aにおける繊維層S1〜S5の厚さtよりも大きくなっている。
なお、膨出部としての角部2Aは、シャフト2の側面部2aに対して外方に膨出するように形成されたものであれば良く、握り心地が良好となるように、その表面は円弧状に形成されていることが好ましい。また、角部2Aの側面部2aに対する高さHについては、高過ぎると握持した際に違和感が生じやすくなり、低過ぎると回転抑制の効果が十分に発揮できなくなることから、0.3〜1.2mm、好ましくは、0.4〜0.8mmの範囲に設定される。更に、上記した膨出部状の角部2Aの長さLは6〜7mm、側面部2aの短辺の長さL1は7〜8mm、側面部2aの長辺の長さL2は10〜16mmに設定しておくことが好ましい。このような大きさに設定しておくことにより、握り込んだ際の保持感の向上が図れると共に、指の腹部や掌が膨出部状の角部2Aに引っ掛かり易くなって、シャフト2の回転を抑制することが可能になる。
上記したように構成されるシャフト2は、例えば、断面が矩形に形成された芯金(マンドレル)Mに対して、先から元側まで通して巻回されるプリプレグシート20によって構成することが可能である。この場合、プリプレグシート20は、先にも述べたように、織布状にした強化繊維に合成樹脂を含浸させて構成されたものであり、芯金Mに対して、所定回数巻回される。
なお、プリプレグシートについては、それを構成する強化繊維が、周方向のみならず、軸長方向或いは傾斜方向に引き揃えられたもの(一方向プリプレグシート)を含んでいても良い。この場合、シャフトとして割れや折れが生じないように、強化繊維の引き揃え方向が交差するように、一方向プリプレグシートについては重ねて組み合わせることが望ましい。また、シャフトの軸長方向において、部分的に補強されるように、補強用のプリプレグシートを巻回しても良い。そして、このような補強用のプリプレグシートについては、前記プリプレグシート20に貼着されていても良い。
上記したように構成されるプリプレグシート20は、端縁が軸長方向に沿って芯金Mに対して当て付けられ、アイロン付け等される。そして、ローリングしながら芯金Mに巻回して行き、最終的に巻回し終わった段階で固定用のテープ(図示せず)を巻回してプリプレグシートを安定させる。
そして、上記したようにプリプレグシート20が巻回されてテーピングされた芯金Mは、図4に示すように、プリプレグシート20の頂部(角部)21が露出するように、所定形状の押圧型30,31によって押圧されながら加熱される。この際、押圧型30,31は、矩形の各表面部に対して、それぞれ直交方向で、中心に向かうように略均等の圧力で押圧される(図5の矢印参照)。
これにより、上記した加熱工程によって、プリプレグシート20の合成樹脂が熱硬化される際、図5に示すように、押圧型30,31による押圧力によりそれぞれの頂部21部分に樹脂が流入して外方に向けて略均等に膨出する(樹脂リッチになって外方に膨出する)ようになり、最終的に表面が円弧状になった膨出部状の角部2Aがシャフトと共に一体形成される。そして、その後、固定用のテープの剥離工程、脱芯工程を経て、図1に示すようなシャフト2が形成される。なお、形成されたシャフト2の表面に、例えば、塗装を施したり、装飾用フィルム等を取着することで、外観を向上させても良い。
上記した構成の競技用スティック1のシャフト(角パイプ)2では、角部2Aにおける周方向繊維が外側に広がる円弧状を成して側面部2aにおける周方向繊維に繋がっているため、すなわち、角部の繊維が折れ曲がっていないため、角部の剛性が高く、潰れや捩れに対して強くなるだけでなく、図7及び図8に示すように、シャフト2を握持、保持して打球した際、シャフト2が回転しようとしても、それぞれの膨出部状の角部2Aに指の腹部、及び掌が引っ掛り易くなって、シャフト2の回転が効果的に抑制されるようになる。この結果、ボールやパックを強く打球しても、シャフト2がぶれないことから、スピードが速く方向性の良い打球をすることが可能となる。特に、上記した実施形態では、断面矩形部分の頂部を膨出させているため、握持、保持性の向上が図れると共に、シャフト2の回転をより効果的に抑制することが可能となる。
また、上記した実施形態では、膨出部状の角部2Aを、プリプレグシート20によって、シャフト2と共に一体形成しているため、シャフト本体との密着性が良く、製造が容易で低コスト化を図ることが可能となる。
以上、本発明の実施形態について説明したが、本発明は、上記した実施の形態に限定されることはなく、種々変形することが可能である。
上記した角部2Aは、シャフト2の表面部から外方に向けて突出しているが、例えば、図9に示すように、全体が円弧形状ではなく、部分的に直線状部分2bを備えていても良い。このように、角部2Aの形状については、加熱工程時に用いられる押圧型の形状に応じて適宜変形することが可能である。
また、シャフト2の断面形状については、五角形以上の多角形状にしても良いし、図10及び図11に示すように、断面円形状にしたり、楕円形状にしても良い。さらに、表面部に設けられる膨出部状の角部2Aについては、効果的にシャフトの回転が防止でき、かつ握り心地が低下しないように、少なくともシャフト2の表面部に2つ以上あれば良い。また、膨出部は、多角形の頂部以外の部分に設けても良いし、シャフトの長手方向において主に握持、保持される領域部分のみに設けても良い。
さらに、上記した実施形態において、シャフト2を構成するプリプレグシートは、例えば、強化繊維の引き揃え方向、合成樹脂の含浸量、肉厚、巻回数等について、適宜変形して用いることが可能である。また、上記した実施形態では、繊維が積層構造を成しているが、シャフトが単一の層から成っていても良い。
本発明に係る角パイプを有する競技用スティックの全体構成を示す図。 図1に示すシャフトの断面形状を示す斜視図。 シャフトの断面図。 シャフトの製造方法の概略を示す断面図。 シャフトの製造方法の概略を示す断面図であり、膨出部が形成された状態を示す図。 シャフトの角部の拡大断面図である。 シャフトを握持、保持した状態をグリップエンド側から見た図。 シャフトを握持、保持した状態を示す斜視図。 シャフトの第1の変形例を示す断面図。 シャフトの第2の変形例を示す断面図。 第2の変形例のシャフトを握持、保持した状態を示す斜視図。 従来の角パイプの潰れ態様の一例を示す概念図である。
符号の説明
1 競技用スティック
2 シャフト
2A 角部
2a 側面部
5 ブレード
20 プリプレグシート
30,31 押圧型
S1〜S5 繊維層

Claims (5)

  1. 少なくとも周方向に沿って引き揃えられた周方向強化繊維から成る中空状の矩形断面の角パイプであって、四隅の角部と、これらの角部間を繋ぐ4つの側面部とを有し、前記角部における周方向強化繊維が外側に広がる円弧状を成して前記側面部における周方向強化繊維に繋がっていることを特徴とする角パイプ。
  2. 前記周方向強化繊維を積層して角パイプが構成され、前記角部における周方向強化繊維の円弧の曲率が外側の繊維層ほど大きくなっていることを特徴とする請求項1に記載の角パイプ。
  3. 前記角部における繊維層の厚さは、前記側面部における繊維層の厚さよりも大きいことを特徴とする請求項2に記載の角パイプ。
  4. 前記角部は、軸長方向に延出し外方に向けて膨出する膨出部として形成されることを特徴とする請求項1ないし請求項3のいずれか1項に記載の角パイプ。
  5. 前記膨出部は、強化繊維に樹脂を含浸させてなるプリプレグシートによって一体形成されていることを特徴とする請求項4に記載の角パイプ。
JP2008198474A 2008-07-31 2008-07-31 競技用スティックのシャフト Active JP5361040B2 (ja)

Priority Applications (3)

Application Number Priority Date Filing Date Title
JP2008198474A JP5361040B2 (ja) 2008-07-31 2008-07-31 競技用スティックのシャフト
US12/461,065 US8047935B2 (en) 2008-07-31 2009-07-30 Sporting pipe
CA2674409A CA2674409C (en) 2008-07-31 2009-07-30 Sporting pipe

Applications Claiming Priority (1)

Application Number Priority Date Filing Date Title
JP2008198474A JP5361040B2 (ja) 2008-07-31 2008-07-31 競技用スティックのシャフト

Publications (2)

Publication Number Publication Date
JP2010035600A true JP2010035600A (ja) 2010-02-18
JP5361040B2 JP5361040B2 (ja) 2013-12-04

Family

ID=42008768

Family Applications (1)

Application Number Title Priority Date Filing Date
JP2008198474A Active JP5361040B2 (ja) 2008-07-31 2008-07-31 競技用スティックのシャフト

Country Status (1)

Country Link
JP (1) JP5361040B2 (ja)

Citations (7)

* Cited by examiner, † Cited by third party
Publication number Priority date Publication date Assignee Title
JPH04151232A (ja) * 1990-10-15 1992-05-25 Mitsubishi Electric Corp 繊維強化プラスチック製角パイプの製造方法
US5863269A (en) * 1996-08-22 1999-01-26 Jas. D. Easton, Inc. Joint system for two-piece hockey stick
US20020094891A1 (en) * 2001-01-12 2002-07-18 Graeme Horwood Multilayer impact resistant hockey stick
US20050187045A1 (en) * 2004-02-24 2005-08-25 Shield Mfg. Inc. Hockey stick shaft
US6939257B2 (en) * 2001-06-28 2005-09-06 Montreal Sports Oy Method for manufacturing shaft of stick, and shaft
JP2007090794A (ja) * 2005-09-30 2007-04-12 Mizuno Technics Kk 繊維強化樹脂製の管状部材およびその製造方法
US20070155548A1 (en) * 2005-11-16 2007-07-05 Easton Sports, Inc. Hockey stick

Patent Citations (7)

* Cited by examiner, † Cited by third party
Publication number Priority date Publication date Assignee Title
JPH04151232A (ja) * 1990-10-15 1992-05-25 Mitsubishi Electric Corp 繊維強化プラスチック製角パイプの製造方法
US5863269A (en) * 1996-08-22 1999-01-26 Jas. D. Easton, Inc. Joint system for two-piece hockey stick
US20020094891A1 (en) * 2001-01-12 2002-07-18 Graeme Horwood Multilayer impact resistant hockey stick
US6939257B2 (en) * 2001-06-28 2005-09-06 Montreal Sports Oy Method for manufacturing shaft of stick, and shaft
US20050187045A1 (en) * 2004-02-24 2005-08-25 Shield Mfg. Inc. Hockey stick shaft
JP2007090794A (ja) * 2005-09-30 2007-04-12 Mizuno Technics Kk 繊維強化樹脂製の管状部材およびその製造方法
US20070155548A1 (en) * 2005-11-16 2007-07-05 Easton Sports, Inc. Hockey stick

Also Published As

Publication number Publication date
JP5361040B2 (ja) 2013-12-04

Similar Documents

Publication Publication Date Title
JP5855861B2 (ja) 分離した近位部材及び遠位部材を有するバレル部を含むボールバット
JP3235964B2 (ja) 管状体
JP5080886B2 (ja) ゴルフクラブシャフト
US20150157908A1 (en) Double wall bat and process for manufacturing same
JP5798949B2 (ja) 角パイプ
JP2025186517A (ja) 繊維が巻かれたスポーツ用具
WO2007080912A1 (ja) 運動用具
US9463362B2 (en) Golf club and shaft
JP5230835B1 (ja) バドミントンラケットに用いられるシャフトを製造する方法
CA2674409C (en) Sporting pipe
JP5361040B2 (ja) 競技用スティックのシャフト
JP2003000780A (ja) 繊維強化樹脂製ゴルフクラブシャフトの製造方法及び繊維強化樹脂製ゴルフクラブシャフト
JP2010035599A (ja) 角パイプ
JP2004275324A (ja) ゴルフクラブシャフト
JP5048608B2 (ja) 競技用スティック
JPH0534672Y2 (ja)
JP2013220285A (ja) ゴルフクラブシャフト及びその製造方法
JP2004057673A (ja) ゴルフクラブシャフト
JP5426909B2 (ja) 管状体
KR20110023014A (ko) 골프채
JP3913292B2 (ja) ゴルフクラブ用シャフト
JP2005176960A (ja) ゴルフクラブシャフト
JP4112722B2 (ja) ゴルフクラブ
JP6719510B2 (ja) シャフト
JP2008093944A (ja) 繊維強化樹脂製管状体の製造方法

Legal Events

Date Code Title Description
A621 Written request for application examination

Free format text: JAPANESE INTERMEDIATE CODE: A621

Effective date: 20101012

A977 Report on retrieval

Free format text: JAPANESE INTERMEDIATE CODE: A971007

Effective date: 20120221

A131 Notification of reasons for refusal

Free format text: JAPANESE INTERMEDIATE CODE: A131

Effective date: 20120524

A521 Request for written amendment filed

Free format text: JAPANESE INTERMEDIATE CODE: A523

Effective date: 20120720

A131 Notification of reasons for refusal

Free format text: JAPANESE INTERMEDIATE CODE: A131

Effective date: 20120830

A521 Request for written amendment filed

Free format text: JAPANESE INTERMEDIATE CODE: A523

Effective date: 20121026

A131 Notification of reasons for refusal

Free format text: JAPANESE INTERMEDIATE CODE: A131

Effective date: 20130530

A521 Request for written amendment filed

Free format text: JAPANESE INTERMEDIATE CODE: A523

Effective date: 20130726

TRDD Decision of grant or rejection written
A01 Written decision to grant a patent or to grant a registration (utility model)

Free format text: JAPANESE INTERMEDIATE CODE: A01

Effective date: 20130829

A61 First payment of annual fees (during grant procedure)

Free format text: JAPANESE INTERMEDIATE CODE: A61

Effective date: 20130902

R150 Certificate of patent or registration of utility model

Free format text: JAPANESE INTERMEDIATE CODE: R150

Ref document number: 5361040

Country of ref document: JP

Free format text: JAPANESE INTERMEDIATE CODE: R150

R250 Receipt of annual fees

Free format text: JAPANESE INTERMEDIATE CODE: R250

R250 Receipt of annual fees

Free format text: JAPANESE INTERMEDIATE CODE: R250

R250 Receipt of annual fees

Free format text: JAPANESE INTERMEDIATE CODE: R250

R250 Receipt of annual fees

Free format text: JAPANESE INTERMEDIATE CODE: R250

R250 Receipt of annual fees

Free format text: JAPANESE INTERMEDIATE CODE: R250

R250 Receipt of annual fees

Free format text: JAPANESE INTERMEDIATE CODE: R250

R250 Receipt of annual fees

Free format text: JAPANESE INTERMEDIATE CODE: R250

R250 Receipt of annual fees

Free format text: JAPANESE INTERMEDIATE CODE: R250

R250 Receipt of annual fees

Free format text: JAPANESE INTERMEDIATE CODE: R250