JP2010034425A - 局所加圧分子線エピタキシー装置と分子線エピタキシー装置の運転方法 - Google Patents

局所加圧分子線エピタキシー装置と分子線エピタキシー装置の運転方法 Download PDF

Info

Publication number
JP2010034425A
JP2010034425A JP2008197106A JP2008197106A JP2010034425A JP 2010034425 A JP2010034425 A JP 2010034425A JP 2008197106 A JP2008197106 A JP 2008197106A JP 2008197106 A JP2008197106 A JP 2008197106A JP 2010034425 A JP2010034425 A JP 2010034425A
Authority
JP
Japan
Prior art keywords
gas
substrate
gas supply
molecular beam
crystal
Prior art date
Legal status (The legal status is an assumption and is not a legal conclusion. Google has not performed a legal analysis and makes no representation as to the accuracy of the status listed.)
Granted
Application number
JP2008197106A
Other languages
English (en)
Other versions
JP4895228B2 (ja
Inventor
Tomohiro Yamaguchi
智広 山口
Yasuyuki Nanishi
▲やす▼之 名西
Tsutomu Araki
努 荒木
Takatoshi Yamamoto
高稔 山本
Current Assignee (The listed assignees may be inaccurate. Google has not performed a legal analysis and makes no representation or warranty as to the accuracy of the list.)
EPIQUEST KK
Ritsumeikan Trust
Original Assignee
EPIQUEST KK
Ritsumeikan Trust
Priority date (The priority date is an assumption and is not a legal conclusion. Google has not performed a legal analysis and makes no representation as to the accuracy of the date listed.)
Filing date
Publication date
Application filed by EPIQUEST KK, Ritsumeikan Trust filed Critical EPIQUEST KK
Priority to JP2008197106A priority Critical patent/JP4895228B2/ja
Publication of JP2010034425A publication Critical patent/JP2010034425A/ja
Application granted granted Critical
Publication of JP4895228B2 publication Critical patent/JP4895228B2/ja
Expired - Fee Related legal-status Critical Current
Anticipated expiration legal-status Critical

Links

Images

Landscapes

  • Physical Vapour Deposition (AREA)
  • Physical Deposition Of Substances That Are Components Of Semiconductor Devices (AREA)

Abstract

【課題】 InN結晶を分子線エピタキシャル成長法で成長させようとする場合、基板温度が低いと結晶品質が悪く基板温度が高いと窒素が解離してしまう。窒素解離を抑制して基板温度をより高くして成長させるようにする。
【解決手段】基板面にガスを吹き付けることにより窒素解離を防ぎ基板温度を高めて成長させる。ガスは分子線の経路を遮らないようなガスノズルから吹き出させる。ガスを真空チャンバの外側或いは内側において加熱して基板に吹き付けるようにすると、部品表面での組成原子の脱離の防止やマイグレーション距離を制御することもできる。
【選択図】 図2

Description

この発明はInN、ZnOなど解離温度が低い材料の結晶成長のための分子線エピタキシー装置とその運転方法に関する。窒素を一成分として含む窒化物半導体(GaN、AlN、InN、それらの混晶)は有害な材料(As、P等)を使わないので、環境汚染の可能性が少なく環境に優しい半導体材料である。しかし3族元素と5族の窒素を含む窒化物半導体材料は高温になると窒素が解離し易くなるために成長させた結晶組成が化学量論的な比率からずれてくるという問題がある。
窒化物半導体の内ではGaN系が青色発光素子(LD、LED)の材料として既に実用化されている。GaNはバンドギャップが3.4eVで極めて広いので青色発光素子として最適である。GaN系発光素子はサファイヤ基板の上にMOCVD法でAlGaN、GaN、InGaNなどp型、n型薄膜が作られる。MOCVD法は窒素原料としてアンモニアガスを用いる。アンモニアが分解するためにかなりの高温(1000℃以上)を必要とする。だから基板は高温に加熱される。しかしGaNの場合、そのような高温でも窒素が簡単には解離しないのでGaN結晶作製にはMOCVD法の適用が可能である。
GaNの次に注目を集めているのはAlNである。GaNよりもバンドギャップが更に広くて6.2eVである。これは紫外領域(200nm)に対応する。AlNは紫外発光素子作製の可能性を秘めている。AlNの電子移動度が高いので高速電子デバイスを作ることができるかも知れない。しかしAlNの厚い基板結晶は自然に存在せず未だ作製されていない。サファイヤ基板の上にAlN薄膜をMOCVD法で形成するという試みがなされている。しかし現在でも品質の良いAlN膜を作ることは難しい。p型、n型にするためのドーピングが難しく特にp型が得られない。AlNには克服しなければならない問題がなお多い。
その次に期待される新しい窒化物半導体材料はInNである。InNは良い結晶を作ることが難しいために半導体材料として殆ど研究が進んでいないと言ってよい。様々の試みにも拘らず高品質の結晶ができない。良い結晶が存在しないのでバンドギャップを正確に測ることができない。長い間バンドギャップは2eV程度と言われてきた。バンドギャップが2eVという前提で書かれた文献も数多い。しかし最近になってInNのバンドギャップは0.7〜0.8eVの程度らしいということが分かってきた。InN大型基板結晶はもちろんのこと、高品質のInN薄膜結晶を作ることすらできない、p型InNもできない、という段階である。良い結晶を作るのは至っていないが、InNの用途については今日様々のことが言われている。何れもまだ夢想に近い段階であろう。
0.7〜0.8eVというのは近赤外領域に当たるのでInNは1.5μm帯のレーザ材料として利用できる可能性がある。1.5μm帯〜1.3μm帯は現在光通信の波長帯として利用されている。InP基板の上に成長させたInGaAsP4元混晶による発光素子が既に広く用いられている。これらInGaAsP系発光素子は実績もあり安価である。しかし温度変動による波長変化がなお大きいという問題がある。もしもInN系の発光素子ができると温度変化による波長変動の小さい発光素子を作る可能性がある、と言われている。
次にInNは太陽電池としての用途が見込まれている。InNのバンドギャップは狭く近赤外に当たる。同じ窒化物半導体でInGa1−xNの組成を持つ半導体素子を幾つも作り組み合わせると、太陽発光スペクトルに含まれるほぼ全ての光を吸収できるような複合太陽電池ができる。太陽表面は平均6000K温度の低温で、プランク分布をするとして最大のパワ−密度を持つのは1μm程度である。太陽光は1μmより長い波長域にも多大のパワーを持っている。
現在主流をなしているSi太陽電池は可視光の一部しか受光できない。一部しか太陽光を有効利用できないため、Si太陽電池は変換効率に低い限界がある。InGa1−xN、InNを並べた複合太陽電池であれば、太陽光スペクトルの殆ど全部を覆うことができる。そのような複合太陽電池は太陽光を高効率で吸収し電気エネルギーに高い効率で変換することが可能であろう、と予想されている。
更にInNは高周波デバイスとしての利用が考えられている。SiやGaAsよりもGaNの電子移動度は高いとされている。InNはGaNよりも更に電子移動度が高いだろうと期待されている。もしもInNを用いてHEMT(High Electron Mobility Transistor 高電子移動度トランジスタ)を作ることができれば超高速のデバイスを得ることができよう、と予想されている。
更にInNには、環境モニタの材料としての用途も考えられている。InN量子井戸のサブバンド間遷移を用いる赤外長波長素子によって、排ガス監視装置などの大気汚染監視装置に応用できるかも知れない、と言われている。
そのように多様な用途が想定されているがしかし、良いInN結晶が未だにできないので上記のような様々なデバイスも空想されているだけで実際に作られた訳ではない。
従って今日InN単結晶基板が強く望まれている。InN原料は加熱しても融液にならないので液相から単結晶インゴットを成長させることはできない。InN単結晶基板は存在しない。
InN単結晶基板が存在しないので、サファイヤ基板やSi等の単結晶基板の上にInN薄膜を気相合成によって形成するということが試みられる。
薄膜を気相から合成するのだからMOCVD法かMBE法(分子線エピタキシ−法)という事になる。MOCVD法はアンモニアを5族原料として利用する。アンモニアは1000℃以上の高温にならないと分解しない為、基板を1000℃以上の高温に加熱する必要がある。しかしそのように高温であると一旦InNとなっても表面から窒素が抜けてしまう。InNはGaNより窒素解離温度がずっと低い。1000℃以上の高温では窒素抜けが甚だしくInN結晶にならない。ということはMOCVD法でInN薄膜を作る事は困難である。
そうなるとInN薄膜を作る方法はMBE法(分子線エピタキシー法)が望ましいということになる。分子線エピタキシャル成長法というのは10−8Pa〜10−9Paの超高真空の真空チャンバにおいて加熱された基板に原料の分子線を当てて基板上に分子線材料からなる薄膜結晶を生成させる方法である。
図1によって従来例に係る分子線エピタキシー(MBE)装置の概略を説明する。真空チャンバ1は超高真空に引く事のできる容器である。2段階或いは3段階の真空排気装置を備える。真空チャンバ1の上フランジから垂下されて保持されるマニピュレータ2の下面には薄膜を成長させるべき基板3が固定される。マニピュレータ2の内部には抵抗加熱ヒータが設けられ、基板3を背面(上面)から加熱する。マニピュレータ2は基板3を中心軸周りに回転させることができる。
真空チャンバ1の内壁にはガスを吸着するための液体窒素シュラウドが設けられる(図示せず)。真空チャンバ1の下側の壁には円筒形で放射状に外部斜め下方に向かって伸びる複数のポートが形成されている。ポートの中心軸の延長線上に基板3が存在するようにしている。いくつかのポートには固体材料を分子線にして飛ばすための分子線セル4が設けられる。ここでは1つしか図示していないが、実際にはもっと多くの分子線セルが設けられる。固体用の分子線セル4は常温で固体の材料をヒータで加熱し融液にして蒸発させる。Ga、Inなど常温で固体で加熱して融液となるものはこのような分子線セル4を用いる。Znのように昇華で蒸発させる材料もこのような分子線セル4を用いる。
これはKセル(クヌーセンセル)と言われる。詳細は図示しないが、Kセルは次のような構成を持っている。鍔付き有底筒体のPBNるつぼをリボン状、コイル状ヒータで囲み更にタンタル薄板の反射板で囲んである。PBNるつぼの下底には熱電対が設けられ、るつぼ温度を監視する。反射板はヒータの外周とるつぼの底部直下にあって、熱をるつぼ側へ反射しるつぼ温度が下がるのを防ぐ。反射板はリフレクターとも呼ぶ。反射板、るつぼなどは支柱によってフランジに固定される。るつぼの上部開口を開閉できる分子線セルシャッター5が設けられる。分子線セルシャッター5の開閉によって分子線を通過させ或いは遮断することができる。分子線セルシャッター5の開閉によって任意の厚みの薄膜を自在に作ることができるのがMBE法の有利な点である。
分子線セル4のるつぼに固体原料を始めに入れておき、真空に引いてからヒータに通電して固体原料を加熱溶融する。(昇華する材料は固体のままである。)融液は蒸発するが超高真空であるから分子、原子単位のビームとなる。それを分子線と言う。だから10−8Pa〜10−9Paという超高真空はMBEに取って不可欠である。真空排気装置は粗引き、本引きの2段階或いは3段階になっており、ターボ分子ポンプ、クライオポンプ、チタンサブリメーションポンプなどが2、3段階目のポンプとして利用される。
常温で気体である原料の場合は、外部のガスボンベからガスを真空チャンバ内へ導き入れる。ガスを原料とするからガスソースセルと言う。原料が常温で分子状態の気体である場合はそのままでは不活性である。活性にするために一工夫が必要である。InN薄膜を成膜しようとする場合は気体原料として窒素を使う。窒素ガスは窒素分子の集まりであるからそのままでは不活性である。活性にするには窒素分子を励起して中性窒素原子ラジカル、窒素原子イオン、窒素分子イオン等を含む活性に富む窒素分子線としなければならない。それをするのがラジカルセル6である。
高周波(RF)やマイクロ波によって窒素ガスを励起して窒素ラジカルを含む分子線とする。中性窒素原子ラジカルが分子線として飛んで基板に当たり基板の上をマイグレーション(移動)して、In分子線セルから飛んできたInと結合してInN結晶を構成するようになる。だからラジカルセル6にはるつぼはなくヒータもない。ガスボンベと繋がるパイプの周囲に設けられるRFコイルやマイクロ波導入アンテナ等がある。ラジカルセル6の開口部にはラジカルセル用のシャッター7が開閉自在に設けられる。このラジカルセル6から窒素ラジカルが分子線として基板へ飛び、先程のKセルからInの分子線が基板へ飛ぶ。基板は加熱されており、原子は適当な距離マイグレーション(表面移動)できる。そしてポテンシャルの低い適当な部位に落ち着き結合を形成する。
分子線エピタキシー法(MBE法)でInN薄膜をサファイヤ基板の上に合成するという試みがなされる。MBE法でInN薄膜を作ろうとする場合、常温で固体で加熱すると融液になるInは、Kセル(クヌーセンセル)を分子線セルとして利用できる。窒素(N)源としては窒素ガスを用いる。窒素分子のままでは不活性なので窒素原子の状態に励起しなければならない。それが先程述べたラジカルセルである。高周波電力(RF)またはマイクロ波によって窒素ガスを励起して窒素ラジカルとする。窒素ラジカルは中性窒素原子、窒素原子のイオン、窒素分子のイオン、基底状態の窒素分子等の混合物である。窒素ガスからラジカルセルによって窒素原子のラジカルを作り、それを分子線として加熱された基板に向かって飛ばすようにする。
ところが窒化物化合物の場合、常に窒素解離の問題がある。基板を高温にすると、窒素の解離圧が高くなって窒素が窒化物結晶表面から抜けて行ってしまう。それはGaNよりもInNでより著しい。基板温度が高いとInNから窒素はどんどん抜けて行く。InNの場合は、窒素抜けを防ぐためには400℃〜600℃程度の低い基板温度で成長させる必要がある。しかし低温だと基板結晶表面に到達してから原子が表面を移動(マイグレーション)する距離が短くて、最適位置にまで至らないで停止してしまう。だから基板を400℃〜600℃の低温に保ってMBE成長させた薄膜結晶の膜質は悪い。
薄膜の結晶性を向上させるには温度を上げた方が良い。GaNの場合はかなり温度を上げても(900℃〜1000℃)、窒素が解離しないので良質の薄膜をMBE法で作ることができる。しかしInNの場合はより低温で窒素抜けが起こる。窒素解離を抑えるため基板温度を600℃以上にすることは難しい。例えば450℃〜600℃でMBE成長させなければならない。しかし450℃〜600℃の低い温度で成長したInNの結晶性は悪い。そのように温度に関し窒素抜け防止と結晶性高揚の相反する要求が拮抗している。相克する要求を両立させることは難しい。これがInNのMBE法による成長における大きな問題である。
特許文献1は、基板の温度を一時的に800℃〜900℃の高温にして分子線を瞬間的に当てInN結晶を作り、分子線を切って瞬時に500℃〜600℃の低温にして窒素抜けを防ぎ、更に800℃〜900℃にして分子線を当てInN結晶を作り、分子線セルを切って500℃〜600℃に下げて窒素抜けを防ぐという繰り返しを行い、良質のInN薄膜を形成するようにした急速温度変調した分子線エピタキシャル成長法を提案している。基板を抵抗加熱したのではそれ程急速に温度を上昇下降変動させることができない。基板加熱放冷機構に特別な工夫がなされる。
特許文献2は、InN結晶からの窒素抜けを防ぐために窒素ラジカルセルを2つ或いは3つ、4つ用いる分子線エピタキシー装置を提案している。窒素ラジカルの供給を2倍、3倍、4倍に増強している。窒素ラジカルセルが1つだけだと基板へ与えられる窒素ラジカルが弱い。2つのラジカルセルを使うと窒素ラジカルの量を2倍に高めることができる。3つのラジカルセルを用いると3倍の窒素ラジカルを基板に与えることができる。圧倒的に大量の窒素ラジカルをInN結晶に左右から或いは左右前後から吹き付けることによって、高温であっても窒素が表面から抜けるのを防ぐことができる。だから基板温度を700℃にして大面積の基板表面に均一にInN薄膜を成長させることができる、と主張している。当然真空排気装置もより強力なものを使わなければならない。
分子線エピタキシャル成長法は一様な表面を持つ薄膜の成長以外にも新しい結晶形態を創造することができる、ということが分かってきた。1つはナノコラムという新規な結晶形態である。直径が10nm〜150nm、高さが数100nm〜数μm程度の細い管状の無数の単結晶が基板から高密度で縦に生え揃った結晶である。円筒形で直立した結晶の束であるからナノコラムと名付けられた。サファイヤ基板やSi基板の上にGaNナノコラムを分子線エピタキシャル成長法で製造することができる。薄膜結晶に比べてナノコラムは貫通転位が少なく高品質なので、薄膜よりも高性能の発光素子を作製できる見込みがある。但し、ナノコラムのサイズ、密度が成長温度により大きく左右されてしまう。しかし本願発明の方法を用いれば、結晶品質を保ったままサイズ、密度の制御が可能となる。
特開2006−351564(特願2005−171852)
特開2006−140397(特願2004−330562)
InNのMBEの場合、より低温で窒素解離が甚だしく起こるのでGaNの場合よりも一層困難である。窒素解離を抑制できる方法を見つけないと高品質のInN結晶を作ることができない。
またInNとGaNの混晶であるInGa1−xN薄膜をMBE法で成長させる場合、混晶比により最適の基板温度が相違するので困難がある。基板温度を上げ過ぎると窒素解離が甚だしく組成分離が著しくなり良い結晶を得ることができない。組成分離を避けるためには基板を低温にしなければならない。しかし基板を低温にすると欠陥の多い結晶になってしまう。また不純物の取り込みという問題もある。
特許文献1のように急速に基板温度を上げ下げして高温で成長させ、すぐ低温にして窒素分離を抑え込むという装置は極めて洗練された巧妙なものである。瞬時に放熱加熱しなければならないので、基板の加熱放熱機構が通常の抵抗加熱ではなく精妙な構造の光加熱となっている。優れたものであるが構造が複雑であって高額の装置とならざるを得ない。
特許文献2のように窒素ラジカルセルを2つ、3つ或いは4つ使って2方、3方、4方から窒素ラジカル分子線を基板へ向けて一斉放出するというのは効果があるかも知れない。しかし問題もある。ラジカルセルは1つでもかなり高額である。高価なラジカルセルを二重三重に装備するとなると極めて高価格高コストのMBE装置となってしまう。真空排気装置も特別強力なものにしなければならないし、余分のマイクロ波、RF電力が必要にもなる。運転経費も2倍、3倍に増加する。
より低コスト、より安価で窒素抜けを防ぎ、高品質のInN薄膜を成膜できる分子線エピタキシー装置が望まれる。本発明はその希望に応えようとするものである。本発明の更なる目的は、InGaN混晶の成長にも有用な手法を与えることである。InN、InGaNナノコラムの成長に一歩の手がかりを与えるのも本発明の目的である。
本発明の分子線エピタキシー装置は、基板の直近位置まで加圧用ガスを送給するガス供給装置を設け、分子状ガス(ラジカルでなく)を基板に吹き付けることによって基板付近の圧力を局所的に増大させ、基板が高温であっても窒素抜けを防ぐようにした。基板に吹き付ける局所加圧用ガスというのは窒素ガス、ヘリウム、アルゴンガスなど分子線と化学反応を起こさない不活性のガスである。窒素ガスは解離エネルギーが大きいため窒素ラジカルと違ってInと反応して結晶に取り込まれるということはない。基板近傍の圧力を局所的に高めるだけのことである。圧力を高めると結晶表面からの窒素の解離を防ぐ効果がある。
基板吹き付けガスとして不活性のガスだけでなく活性のガスを用いることもできる。活性のガスは、ガス構成要素として成長原子種を含む(例えば窒化物におけるアンモニアガス)。活性ガスを用いることにより、結晶表面を活性ガスによる反応種>脱離種の条件を保つことが可能となり、解離を抑えることができる。
ガスを吹き付けるノズル先端は基板の極近くに開口する。基板近傍でガスを吹き出し、基板の近くだけガスが滞留するようにし、局所的に圧力を高めることができる。特許文献2のように真空チャンバ壁のポートに設けた遠くの分子線セルから飛来させるというのではない。
どれほど局所圧力を高めるのかというと、ガス吹き付けのない場合に比較して3倍〜10倍程度の圧力にするということである。吹き付けガスによって局所的に基板を囲み局所圧力を掛けることによって、基板上にできた結晶表面からの窒素原子の解離を防ぐ。
ガス供給が増えるので真空排気装置の負担が増える。より排気能力の大きい真空排気装置を設ける必要がある。これは装置コストを引き上げることになるがやむを得ないことである。
しかし、本願発明の方法は基板近傍でガスを基板に吹き付けるため効率が良く特許文献2に比べると供給ガス量は抑えられ必要最小限となる。
分子線エピタキシー(MBE)装置では分子線セルから原料の分子線を発生させそれを基板面に当てるようになっており、そのために始めに真空チャンバを超高真空に引く。分子線を発生している間も真空チャンバは高真空に引かれている。MBEにとって高真空は必須である。それは気体原子の平均自由行程を長くして分子線セルから出た分子線が、浮遊するガス分子に衝突することなく基板へ到達できるためである。余分なガスを真空チャンバ内に導入することは、分子線の平均自由行程を縮めるから分子線エピタキシー装置に取っては禁忌であった。だから本発明のように基板近くへ非原料ガスを送り込むというようなMBE装置はかつて無かった。
しかしよく考えれば、基板の極近傍のガス量を少し増やしても近傍以外は超高真空なので、分子線セルから邪魔されることなく分子線は基板の近くまで飛翔して来ている。圧力の高い領域は極薄い局所的なものなので、分子線の大部分はそのまま飛行を続け基板に到る筈である。基板近くの局所加圧領域は分子線の飛翔を強く妨げない。
局所加圧ガスが分子線の飛行の妨げにならないとすれば、それは同時に結晶表面から抜け出す窒素に衝突し追い返す作用も乏しいように思われよう。しかしながらそうではない。分子線は分子線セルで加熱され蒸発し身軽な原子になり熱エネルギーを得て超高真空を飛行するので高速である。局所加圧領域のガス分子より高速で飛んでいるので、ガス分子に衝突する確率は低い。結晶表面から熱振動のために抜け出た窒素原子は、運動エネルギーをあまり持たないから飛行速度は遅い。むしろ局所加圧ガス分子の運動の方が盛んで加圧分子の走行速度の方が速い。解離直後の窒素原子は遅いのであまり飛行しない前に、局所加圧ガス分子によって弾き飛ばされ押し返される。玉突のように遅い窒素ガスが結晶の方へ押し戻される。そのため窒素抜けを有効に防ぐことができる。窒素抜けを防止できるので基板の温度を上げる余裕が発生する。基板温度を上げると基板表面で原料原子が移動(マイグレーション)する範囲が広がり、よりエネルギーの低い点を探して落ち着くことになる。その結果結晶品質に優れた薄膜ができる。
つまり分子線と離脱窒素では速度が大きく違うので、局所加圧ガスの分子の衝突の確率が大きく相違しその及ぼす作用が異なるのである。従来MBEは超高真空が前提だったので、基板近くへガスを吹き込むというようなことは非常識で考えられないことであった。しかしながらよく考えてみればそうではない。
成長させるべき目的物によって加圧用ガスは異なる。InNのように窒化物の場合は、局所加圧ガスは窒素、アンモニア、ヘリウム、アルゴンなどである。水素や酸素は不純物として取り込まれると結晶の性質、電気的性質などが変わるので望ましくない。ZnOのように酸化物の場合は酸素抜けが問題になる。この場合は、局所加圧ガスは窒素、酸素、ヘリウム、アルゴンなどである。水素は酸素を還元する恐れがあるので不適である。
局所加圧ガスはマスフローコントローラによって流量を制御しながら真空チャンバ内へ導入される。
局所加圧ガスは常温で供給することもできる。常温で与えても基板ヒータの熱で自然に加熱される。基板ヒータの能力が低い場合は、真空チャンバ外部でガスを加熱してから真空チャンバ内へ導入するようにしても良い。或いは真空チャンバへ導入した後内部で加熱し、基板へ局所加圧ガスを吹き付けるようにする。外部或いは内部で加熱した局所加圧ガスを吹き付けると、基板が冷却されないのでヒータパワーが強くなくても基板温度が安定する。
局所加圧ガスの引き出しノズルは一本であっても良い。分子線の飛行の妨げにならないよう斜め下方から基板にガスを吹き付けるようにノズルの位置、姿勢を調整する。
複数の斜め向き開口部を設けたリングパイプを基板と同心で斜め下方に設け、開口部から吹き出す複数のガス流が均一に基板面に当たるようにしても良い。リング状中空パイプガスノズルと言うことができる。そのようにすると基板表面の全体で加圧ガスの分布が一様に近くなる。その場合もリングパイプが分子線を妨げないような位置、配位に設ける必要がある。
加圧ガスを加熱して基板へ吹き付けるということは窒素原子の解離を防ぐという作用の他に、結晶構成原子のマイグレーション距離Lmを制御するという作用もある。分子線として基板表面に衝突した結晶を構成すべき原子は表面を暫く移動してから静止固定される。結晶表面に衝突してから静止するまで移動することをここではマイグレーションと呼ぶ。本発明では加圧した結晶を構成しない(非構成)分子のガスを結晶表面に送り込むから、結晶構成原子(InやN原子)はマイグレーションの過程でその分子と衝突し、マイグレーション距離Lmが縮む。
結晶にガスを吹き付けるとマイグレーション距離Lmを減らし、ガスを止めるとマイグレーション距離Lmを伸長させることができる。加圧ガス流量を加減するとマイグレーション距離Lmをかなりの範囲で制御することができる。加圧ガス流量はマスフローコントローラによって正確に制御することができる。また流量を急速に変化させるようにすれば構成原子のマイグレーション距離Lmを変調することもできる。
非構成分子ガスの温度が高いと構成原子のマイグレーション距離Lmがより長くなる。ガス温度を変化させることによってマイグレーション距離Lmを制御することも可能である。局所加圧用ガスを加熱するには真空チャンバの外側に抵抗加熱ヒータを設ける、或いは内部にヒータを設けることによってなされる。ヒータ電力を急速に変化させガス温度を急速変調させることもできる。それによってマイグレーション距離Lmを温度によって変調することも可能である。
加圧ガス供給は薄膜結晶成長中だけでなく、成長終了後も有用である。成長を終了した後も依然として高温である内は窒素解離が起こる。それを抑制するために窒素解離の起こらないような温度(450℃程度)まで降温する間、加圧ガスを基板へ向けて供給し続けるようにするのは有効である。成長終了後に加圧ガスを吹き付ける場合は、分子線セルから見て供給パイプの影に基板が入らないようにするという配慮は不要になる。だから成長終了後は基板に対向するシャワーガスノズルからガスを基板に向けて吹き付けるようにすることもできる。
また成長終了後のガスによる加圧の場合は、昇降可能で基板を囲むような枡型出力端を持つパイプからガスを吹き出すようにしても良い。
本発明は、MBE装置において、結晶を構成しないガスを基板近くから基板に吹き付け局所的に圧力を増大させるようにしているので、窒化物結晶の薄膜形成において窒素の抜けを防ぐことができる。だからMBEでの成長温度を上げることができる。MBEでInNを成長させる場合、基板温度を450℃〜600℃程度にしなければ組成分離が著しかったが、本発明の加圧ガスの供給によって基板温度を600℃〜700℃程度まで上げることができる。成長温度を高くすることによってより結晶性の良い薄膜を成長させることができる。基板近くへ吹き込むガスは窒素、アンモニア、ヘリウム、アルゴンなどの分子であるから余分のラジカルセルを必要としない。特許文献2のように複数の高価なラジカルセルを要しないのでより安価な装置となる。特許文献1のように特別な加熱放冷機構を要しない。MBE装置の空いてるポートから長いパイプを基板の直近まで差し入れてそこからガスを吹き出すようにすれば良い。特別な装置は要らないので安価な工夫改良となる。
成長終了後も基板温度が十分に下がる(450℃以下)まで局所加圧のためガスを基板へ吹き付けることは有効である。窒素ラジカルセルからの窒素ラジカルの供給も持続しガス加圧を併用するとより確実に窒素抜けを防ぐことができる。
窒素ラジカルの供給も断ち、局所加圧ガスだけで窒素解離を抑制しようとする場合は、基板の全面に加圧ガスを供給するようシャワー型のガスノズルを用いることもできる。基板を箱型ケーシングで囲んでガスをケーシング内に導き、局所的に加圧して低温になるまで組成解離を抑制することができる。
ガスを加熱して基板近くへ吹き付けると構成原子の表面でのマイグレーション距離Lmを延ばすことができる。供給ガスを予め加熱しておけばマイグレーションへの熱の効果を調べることもできる。特許文献2のように余分のラジカルセルから窒素ラジカルを供給すると、熱とラジカルがマイグレーションのエネルギーを与えるため熱の効果だけを分離できない。本発明はマイグレーションに与える熱の効果だけを調べることができる。供給ガス量を正確に規定するにはマスフローコントローラで流量を精密に制御する。ガスの温度や流量を変化させるとマイグレーション距離Lmを自在に変調することもできる。マスフローコントローラを利用して流量を急速変調すればマイグレーションの抑制促進を交互に行うことができる。よりバラエティに富んだマイグレーション制御が可能になる。
結晶表面で構成原子のマイグレーションを制御するのは、InGa1−xN混晶系の成長やナノコラム成長において特に有用である。局所ガス加圧によるマイグレーションの制御によって次のような効果を挙げることができる。
(1)InGa1−xNなどの混晶系において高温化による組成分離を抑制できる。混晶比xの値が少しずつ異なる複数の混晶結晶を積み重ねる場合、混晶比xによって最適の成長温度が相違する。そのため成長温度を高める必要があるがその場合でも局所加圧のため既成部分からの窒素抜けを有効に防止できる。
(2)InGa1−xNなどの混晶系において圧力をパラメータにすることによって、ヘテロ接合時に同一温度での成長を可能にする。混晶比xの値の異なる複数の混晶を積層する場合、xによって最適成長温度が相違するがそれは圧力によっても変わる。温度の代わりに圧力を変えることによって混晶比xの異なる混晶を最適成長条件で成長させることが可能になる。
(3)ナノコラム成長においてガス圧を上げることにより表面マイグレーションを抑えることができる。成長温度を高くしても、ナノコラム形状を保持しながら不純物の取り込みを減少させ、欠陥を減らすことが可能になる。
これまで主にInN薄膜の成長について述べてきたが、本発明は、ZnO薄膜等のMBE法による成長に適用することができる。
局所加圧に用いるガスは、解離圧の高い組成成分を含むガス(ラジカルでない)や、不活性なガス或いは希ガスが適する。InN、AlNの成長の場合は、窒素、アンモニア、ヘリウム、アルゴンガスなどを用いる。ZnOの成長の場合は、酸素、ヘリウム、アルゴン、窒素などを用いることができる。
[実施例1(基板斜め下に1本のガス供給ノズル)]
図2によって本発明の実施例に係る局所加圧装置を備えた分子線エピタキシー装置を説明する。真空チャンバ1の内部にマニピュレータ2がありその下面に基板3が固定される。マニピュレータ2は基板3を回転昇降可能に保持する。基板3はマニピュレータ2に内蔵された抵抗加熱ヒータ(図示しない)によって加熱される。真空チャンバ1の壁面に円筒形で外側へ突き出た複数のポートがあり、ポートに固体材料を分子線にする分子線セル4が幾つか設けられる。分子線セル4の開口部には分子線セルシャッター5が開閉可能に設けられる。更にガス原料を励起してラジカル状態にするラジカルセル6が適当数設けられる。ラジカルセル6の開口部にもラジカルセルシャッター7が開閉可能に設置される。真空チャンバ1の内壁に沿ってガスを吸着する液体窒素シュラウド(図示しない)が設けられる。更に2段階或いは3段階の真空排気装置(図示しない)が設けられる。基板3をマニピュレータ2へ送り込み或いはマニピュレータ2から取り出すための真空に引かれた基板準備室(図示しない)が隣接して存在し、分子線成長室との間はゲートバルブ(図示しない)で仕切られている。
マニピュレータ2に固定された基板3の近傍に開口するようにガス供給ノズル8が設けられる。ガス供給ノズル8はバルブ9、9、マスフローコントローラ10を備えた外部ガス供給管20と、ポート22で繋がっている。新たにポート22を作る必要はなく適当な空きポートを利用すれば良いのである。
外部ガス供給管20はガスボンベ(図示しない)と繋がっている。ガスボンベから出た導入ガス11は、バルブ9、マスフローコントローラ10、バルブ9を経て真空チャンバ内部へ入り、ガス供給ノズル8から吹き出される。供給ガス12は斜め下方から、下向きに保持された基板3に当たる。分子線セル4、ラジカルセル6から直進してくる分子線に対し基板3がガス供給ノズル8の影にならないようにしなければならない。だから斜め下方からガスを吹き付けるようにしている。ガス流量はマスフローコントローラ10によって正確に制御することができる。真空チャンバ1を超高真空に引き基板3を加熱してから分子線セル4、ラジカルセル6から薄膜原料の分子線を発生させ基板3に向けて照射する。更に外部からガスを導入しガス供給ノズル8から基板3へ向けて吹き出し、基板3の近傍だけガス圧力を局所的に高める。局所加圧の程度は供給ガス12がない場合に比較して3〜10倍程度の圧力にする。局所加圧ガスの供給のタイミングは分子線の供給と同時である場合もある。始めに局所加圧ガスを導入しておき温度圧力が安定してから分子線を発生させ成膜し、分子線を切った後も局所加圧ガスを供給し続けるということも可能である。成膜終了後基板の温度が例えば450℃以下になるまで局所加圧ガスを基板近傍へ与える。そうすると成長終了後の窒素抜けを防ぐことになる。
InN結晶の成膜の場合は、分子線セル(Kセル)4でIn分子線を、ラジカルセルで窒素ラジカルを発生する。加熱された基板3でIn、N原子がマイグレーションして適当な部位で停止して化学結合し格子を形成していく。局所加圧ガスは窒素分子ガス、アンモニアガス、希ガスなどであるが、何れにしても局所加圧の効果がある。圧力がガスのない場合に比べて3倍〜10倍高いので窒素の解離を有効に防ぐことができる。そのため基板温度を600℃〜700℃程度まで高めることができる。基板温度を高くすることによって高品質の結晶を成長させることができる。局所加圧ガスがない場合基板温度は450℃〜600℃であったが、本発明のように供給ガス12によって局所加圧するとより高温で成膜できるのである。
AlN膜の場合はAl分子線を分子線セル4から発生させ、ラジカルセル6で窒素ラジカルを発生させる。局所加圧のための導入ガス11、供給ガス12は窒素ガス、アンモニア、希ガスなどである。
ZnO薄膜結晶を成長させる場合は、分子線セルでZn分子線を、ラジカルセルで酸素ラジカルを発生させる。局所加圧ガスは、窒素、酸素、希ガスなどである。
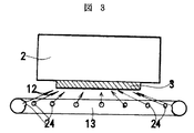
[実施例2(基板斜め下にリング状中空パイプガスノズルを設ける。)]
図3によって本発明の第2の実施例に係る局所加圧装置を備えた分子線エピタキシー装置の基板の近傍を示す。
マニピュレータ2によって下向きに支持される基板3の斜め下にリング状中空パイプガスノズル13が設置される。外径が5mm〜10mm程度の中空パイプを円形に彎曲させたリング状中空パイプの内側斜め方向に1mmφ〜4mmφ程度の穴24を複数個穿っておき、ガスが吹き出す穴24を円周状均等に設ける。だからガスノズルとなる。斜め下からの分子線の流れを遮断しないようにパイプリングの内径が基板3の外径より広くなっている。リング状中空パイプガスノズル13の一部が外部に繋がるガス供給管(図示しない)に連通している。ガス供給管は図2の実施例1と同じように、適当なポートでバルブ、マスフローコントローラが付いた外部ガス供給管に接続される。リング状中空パイプガスノズル13は斜め下方四方八方からガスを基板3へ向かって吹き付けるのでガス流の勢いが基板で打ち消される。ガスの滞留時間が長くなり、より少ないガス量でも基板3が均一に且つ有効に加圧される。
[実施例3(基板下にシャワーガスノズルを設ける。)]
図4によって本発明の第3の実施例に係る局所加圧装置を備えた分子線エピタキシー装置の基板の近傍を示す。これは基板3の直下にシャワーガスノズル14を設けたものである。ガス供給管25の上に漏斗26が付いており漏斗26の上部開口に上板27が固定される。上板27には全面均一に多数の細孔28が穿たれている。外部から導入された加圧ガスはガス供給管25、漏斗26、細孔28を通って上向きに噴出して基板3の下面に吹き付ける。多数の細孔から噴射されるのでシャワーのような感じになる。実施例3の場合も漏斗26が分子線の邪魔になってはいけない。分子線の行路を避けるように基板より狭い直径の漏斗26を基板中心直下に設ける。分子線は斜め下方から飛翔してくるので漏斗26と基板3の中心線が合致し、漏斗26の周上の一点と基板の反対側の対応点を結ぶことによってできる円錐面より上に分子線セルが存在するようにしなければならない。これはシャワーのように濃密均一に加圧ガスを基板3に向かって吹き出すことができるから基板3の全面において圧力がほぼ一定になる。膜質の整った薄膜を成長させることができる。
[実施例4(基板下に移動可能な枡型ガスノズルを設ける。)]
図5によって本発明の第4の実施例に係る局所加圧装置を備えた分子線エピタキシー装置の基板の近傍を示す。これは基板3の直下に移動可能な枡型ガスノズル15を設けたものである。ガス供給管29の上に枡型30が付いており、枡型30の上部開口が基板3をすっぽり覆う事ができるようになっている。枡型30とガス供給管29は移動できる。薄膜成長時に枡型30は基板より遠く下方へ或いは側方へ退けられている。成長終了後に枡型30を上げてきて基板3を下から囲むようにしてガス供給管29を通じて加圧ガスを基板に向かって流す。枡型30とマニピュレータ2によって密封に近い空間を作り出すことができる。より少ないガス量で基板を局所加圧することができる。だから実施例4では成長中に加圧することはできない。そうではなくて終了後、窒素解離の起こらない温度に基板温度が下がるまで加圧状態を維持して終了後の窒素抜けを防ぐ。
また、成長後に実施例4を用いて、基板を局所加圧しながら温度を上げれば、窒素解離を防ぎながら成長した結晶膜のアニールも可能となる。
[実施例5(ガスを真空チャンバ外で加熱してから基板下に供給する。)]
図6によって本発明の第5の実施例に係る局所加圧装置を備えた分子線エピタキシー装置の概略を示す。これはガスを真空チャンバ1の外部で加熱してから基板3へ向けて供給しようとするものである。これは概略の平面図であるから図に基板3が現れない。外部ガス供給管20の途中に加熱ヒータ16がある。抵抗線をコイル状に巻いた抵抗加熱ヒータである。これがガスを適当な温度に加熱する。外部加熱だと常温から200℃程度まで加熱することができる。加熱されたガスが真空チャンバ内部へ入りガス供給ノズル8から基板近傍へ与えられる。ガス温度が高いので分子線として飛翔した原料原子が基板の上で移動し易くなる。つまりマイグレーション距離Lmが長くなる。ガス温度によって平均のマイグレーション距離Lmを制御することができる。
[実施例6(ガスを真空チャンバ内で加熱してから基板下に供給する。)]
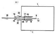
図7によって本発明の第6の実施例に係る局所加圧装置を備えた分子線エピタキシー装置の概略を示す。これはガスを真空チャンバ1の内部で加熱してから基板3へ向けて供給しようとするものである。図7は概略の平面図であるから基板3が図に現れない。電流導入端子19、外部ガス供給管20がポート22のフランジ32を突き抜けて真空チャンバ1の内部に続いている。外部ガス供給管20に続く内部のガス供給ノズル8の途中にフランジ32から支柱33で支持された反射板17、17で仕切られた空間がある。反射板17はタンタルの薄板を重ねて円筒状にしたものと円盤状にしたものを組み合わせてありコップのような空間を形成している。反射板17の内部には抵抗加熱ヒータ18が設けられる。これは抵抗線をコイル状に巻いたものであっても良いし、リボン状に上下蛇行するものであっても良い。真空中でガス供給ノズル8を加熱する。ガス供給ノズル8が加熱されるから内部を通るガスが加熱される。反射板17は熱をコップ型空間に閉じ込めるように働く。これは分子線セルのるつぼ加熱機構からるつぼを除いたものを用いることができる。内部に設けた抵抗加熱ヒータ18、反射板17が内部流路を通過するガスを適当な温度に加熱する。内部加熱なのでガスを常温から500℃程度まで加熱することができる。ガス供給ノズルを耐熱性のあるもの(例えばTa、Mo、W)にすれば1000℃以上の加熱も可能である。加熱されたガスがガス供給ノズル8から基板近傍へ与えられる。ガス温度が高いので基板を冷却しない。基板温度が高いので分子線として飛翔した原料原子が基板の上で移動し易くなる。つまりマイグレーション距離Lmが長くなる。ガス温度によって平均のマイグレーション距離Lmを制御することができる。
真空チャンバとマニピュレータと分子線セルとラジカルセルを備えた従来例に係る分子線エピタキシー装置の概略構成図。
外部からガスを真空チャンバ内に導入し斜め下方から基板へ向けてガスを吹き付けることによって基板の近傍を局所的に加圧することができるようにした機構を備えた実施例1に係る分子線エピタキシー装置の概略構成図。
外部からガスを真空チャンバ内に導入しリング状のガスノズルによって斜め下方の四方八方から基板へ向けてガスを吹き付けることによって基板の近傍を局所的に加圧することができるようにした機構を備えた実施例2に係る分子線エピタキシー装置の概略構成図。
外部からガスを真空チャンバ内に導入し多数の細孔を穿った上板を持つシャワーガスノズルによって基板下面全面に均一にガスを吹き付けることによって基板の近傍を局所的に加圧することができるようにした機構を備えた実施例3に係る分子線エピタキシー装置の概略構成図。
外部からガスを真空チャンバ内に導入し上部に開口を持つ移動可能な枡型からガスを基板に向けて吹き付けるようにし基板の近傍を局所的に加圧することができるようにした機構を備えた実施例4に係る分子線エピタキシー装置の概略構成図。
真空チャンバ外部のガス流路にヒータを設け外部でガスを加熱してから真空チャンバへガスを導入し基板下面にガスを吹き付け基板の近傍を局所加圧するようにした実施例5に係る分子線エピタキシー装置の概略構成図。
真空チャンバ内部のガス流路にヒータを設け導入したガスを内部で加熱してから基板下面にガスを吹き付け基板の近傍を局所加圧するようにした実施例6に係る分子線エピタキシー装置の概略構成図。
符号の説明
1真空チャンバ
2マニピュレータ
3基板
4分子線セル
5分子線セルシャッター
6ラジカルセル
7ラジカルセルシャッター
8ガス供給ノズル
9バルブ
10マスフローコントローラ
11導入ガス
12供給ガス
13リング状中空パイプガスノズル
14シャワーガスノズル
15枡型ガスノズル
16加熱ヒータ
17反射板
18抵抗加熱ヒータ
19電流導入端子
20外部ガス供給管
22ポート
24穴
25ガス供給管
26漏斗
27上板
28細孔
29ガス供給管
30枡型
32フランジ
33支柱

Claims (10)

  1. 真空チャンバと、結晶構成材料を供給するセル(分子線セル、ラジカルセル、ガスソースセル)と、基板を保持するマニピュレータと、マニピュレータに設けられたヒータと、マニピュレータによって下向きに保持された基板の近傍に開口するガス供給ノズルと、ガス供給ノズルに繋がり外部のガス源からガスをガス供給ノズルへ供給するガス供給管と、ガス供給管の途中に設けられたバルブと、ガス供給管途中に設けられたマスフローコントローラとを含み、ガス供給ノズルから基板に供給ガスを吹き付けることにより結晶成長中または成長後における結晶を構成する原子の脱離の防止や構成する原子のマイグレーション距離を制御することによって結晶構成原子の混晶組成制御と、構造制御を行なうことを特徴とする局所加圧分子線エピタキシー装置。
  2. ガス供給ノズルが、内周に複数の斜め上向き穴を穿孔したリング状中空パイプガスノズルであって、リング状中空パイプガスノズルは基板周囲斜め下方に設けられ、パイプ内周に穿孔した複数の穴から供給ガスを基板に吹き付けることを特徴とする請求項1に記載の局所加圧分子線エピタキシー装置。
  3. ガス供給ノズルが、ガス供給管の先端に設けた漏斗と、漏斗の上に固定された複数の細孔を有する上板とよりなり、ガス供給管からガスを導入し漏斗の上板の細孔を通して微細流れとしてガスを基板へ吹き付けるようにしたことを特徴とする請求項1に記載の局所加圧分子線エピタキシー装置。
  4. ガス供給ノズルが、ガス供給管の先端に設けた基板より大きい開口部を持ち昇降可能な枡型であって、結晶成長の後に枡型を基板の近傍まで上昇させ、基板下方を枡型で包囲し、ガス供給管からガスを導入し結晶成長後の基板へ吹き付けるようにしたことを特徴とする請求項1に記載の局所加圧分子線エピタキシー装置。
  5. ガス供給管の真空チャンバ外部の一部分にガスを加熱するヒータを設け加熱したガスを基板へ吹き付けるようにしたことを特徴とする請求項1〜4の何れかに記載の局所加圧分子線エピタキシー装置。
  6. ガス供給管の真空チャンバ内部の一部分にガスを加熱するヒータを設け加熱したガスを基板へ吹き付けるようにしたことを特徴とする請求項1〜4の何れかに記載の局所加圧分子線エピタキシー装置。
  7. 基板の近傍に開口するガス供給ノズルと、ガス供給ノズルに繋がり外部のガス源からガスをガス供給ノズルへ供給するガス供給管と、ガス供給管の途中に設けられたバルブと、ガス供給管途中に設けられたマスフローコントローラとを設け、加熱した基板に分子線を当てて結晶を成長させている時に基板面に供給ガスを吹き付けることにより結晶構成原子の解離を防ぐようにしたことを特徴とする分子線エピタキシー装置の運転方法。
  8. 基板の近傍に開口するガス供給ノズルと、ガス供給ノズルに繋がり外部のガス源からガスをガス供給ノズルへ供給するガス供給管と、ガス供給管の途中に設けられたバルブと、ガス供給管途中に設けられたマスフローコントローラとを設け、加熱した基板に分子線を当てて結晶を成長させている時に基板面に供給ガスを吹き付けることにより成長中の結晶表面での構成原子のマイグレーション距離を制御するようにしたことを特徴とする分子線エピタキシー装置の運転方法。
  9. 供給ガスを加熱してから基板面へ吹き付けるようにしたことを特徴とする請求項7、8の何れかに記載の分子線エピタキシー装置の運転方法。
  10. マスフローコントローラによって供給ガスの流量を変化させ基板近傍での加圧ガスの圧力を変調させるようにしたことを特徴とする請求項7、8の何れかに記載の分子線エピタキシー装置の運転方法。
JP2008197106A 2008-07-31 2008-07-31 局所加圧分子線エピタキシー装置と分子線エピタキシー装置の運転方法 Expired - Fee Related JP4895228B2 (ja)

Priority Applications (1)

Application Number Priority Date Filing Date Title
JP2008197106A JP4895228B2 (ja) 2008-07-31 2008-07-31 局所加圧分子線エピタキシー装置と分子線エピタキシー装置の運転方法

Applications Claiming Priority (1)

Application Number Priority Date Filing Date Title
JP2008197106A JP4895228B2 (ja) 2008-07-31 2008-07-31 局所加圧分子線エピタキシー装置と分子線エピタキシー装置の運転方法

Publications (2)

Publication Number Publication Date
JP2010034425A true JP2010034425A (ja) 2010-02-12
JP4895228B2 JP4895228B2 (ja) 2012-03-14

Family

ID=41738532

Family Applications (1)

Application Number Title Priority Date Filing Date
JP2008197106A Expired - Fee Related JP4895228B2 (ja) 2008-07-31 2008-07-31 局所加圧分子線エピタキシー装置と分子線エピタキシー装置の運転方法

Country Status (1)

Country Link
JP (1) JP4895228B2 (ja)

Cited By (4)

* Cited by examiner, † Cited by third party
Publication number Priority date Publication date Assignee Title
JP2011168656A (ja) * 2010-02-16 2011-09-01 Nippon Hoso Kyokai <Nhk> 薄膜蛍光体、ディスプレイ、および成膜装置
JP2012216734A (ja) * 2011-04-01 2012-11-08 Showa Denko Kk 半導体素子の製造方法
JP2012216736A (ja) * 2011-04-01 2012-11-08 Showa Denko Kk 半導体素子の製造方法
WO2013058319A1 (ja) * 2011-10-18 2013-04-25 東京エレクトロン株式会社 成膜装置及び成膜方法

Citations (8)

* Cited by examiner, † Cited by third party
Publication number Priority date Publication date Assignee Title
JPH07335576A (ja) * 1994-06-15 1995-12-22 Anelva Corp 薄膜作製方法および薄膜作製装置
JPH09162201A (ja) * 1995-12-11 1997-06-20 Matsushita Electric Ind Co Ltd 半導体装置の製造方法および製造装置
JP2000286201A (ja) * 1999-03-31 2000-10-13 Fuji Xerox Co Ltd 半導体結晶成長装置
JP2001168392A (ja) * 1999-12-10 2001-06-22 Stanley Electric Co Ltd 半導体素子及びその製造方法
JP2001523633A (ja) * 1997-11-15 2001-11-27 シャープ株式会社 分子線エピタキシを利用したバッファ層の成長方法
JP2003086516A (ja) * 2001-09-10 2003-03-20 Sanyo Electric Co Ltd サセプタ、cvd装置、成膜方法、および半導体装置
JP2005354048A (ja) * 2004-05-12 2005-12-22 Boc Group Inc:The アルゴン希釈剤と一緒に高圧f2プラズマを用いる高速エッチング
JP2007081365A (ja) * 2005-08-17 2007-03-29 Tokyo Electron Ltd 熱処理装置及び熱処理方法

Patent Citations (8)

* Cited by examiner, † Cited by third party
Publication number Priority date Publication date Assignee Title
JPH07335576A (ja) * 1994-06-15 1995-12-22 Anelva Corp 薄膜作製方法および薄膜作製装置
JPH09162201A (ja) * 1995-12-11 1997-06-20 Matsushita Electric Ind Co Ltd 半導体装置の製造方法および製造装置
JP2001523633A (ja) * 1997-11-15 2001-11-27 シャープ株式会社 分子線エピタキシを利用したバッファ層の成長方法
JP2000286201A (ja) * 1999-03-31 2000-10-13 Fuji Xerox Co Ltd 半導体結晶成長装置
JP2001168392A (ja) * 1999-12-10 2001-06-22 Stanley Electric Co Ltd 半導体素子及びその製造方法
JP2003086516A (ja) * 2001-09-10 2003-03-20 Sanyo Electric Co Ltd サセプタ、cvd装置、成膜方法、および半導体装置
JP2005354048A (ja) * 2004-05-12 2005-12-22 Boc Group Inc:The アルゴン希釈剤と一緒に高圧f2プラズマを用いる高速エッチング
JP2007081365A (ja) * 2005-08-17 2007-03-29 Tokyo Electron Ltd 熱処理装置及び熱処理方法

Cited By (4)

* Cited by examiner, † Cited by third party
Publication number Priority date Publication date Assignee Title
JP2011168656A (ja) * 2010-02-16 2011-09-01 Nippon Hoso Kyokai <Nhk> 薄膜蛍光体、ディスプレイ、および成膜装置
JP2012216734A (ja) * 2011-04-01 2012-11-08 Showa Denko Kk 半導体素子の製造方法
JP2012216736A (ja) * 2011-04-01 2012-11-08 Showa Denko Kk 半導体素子の製造方法
WO2013058319A1 (ja) * 2011-10-18 2013-04-25 東京エレクトロン株式会社 成膜装置及び成膜方法

Also Published As

Publication number Publication date
JP4895228B2 (ja) 2012-03-14

Similar Documents

Publication Publication Date Title
US8747553B2 (en) β-Ga2O3 single crystal growing method including crystal growth method
US8222650B2 (en) Nitride semiconductor heterostructures and related methods
CN100370065C (zh) β-Ga2O3单晶生长方法、薄膜单晶生长方法、Ga2O3发光器件及其制造方法
CA2120610C (en) Nitride based semiconductor device and manufacture thereof
US6429465B1 (en) Nitride semiconductor device and method of manufacturing the same
RU2462786C2 (ru) Способ и установка для эпитаксиального выращивания полупроводников типа iii-v, устройство генерации низкотемпературной плазмы высокой плотности, эпитаксиальный слой нитрида металла, эпитаксиальная гетероструктура нитрида металла и полупроводник
Somaschini et al. Coupled quantum dot–ring structures by droplet epitaxy
US7842588B2 (en) Group-III metal nitride and preparation thereof
JP4895228B2 (ja) 局所加圧分子線エピタキシー装置と分子線エピタキシー装置の運転方法
CN103305903A (zh) 一种高氮压助熔剂-坩埚下降法制备GaN晶体的方法
CN1258005C (zh) 一种适合分子束外延制备氧化物薄膜的方法
CN109888069A (zh) InGaN/GaN量子阱结构及LED外延片制备方法
CN115101639B (zh) InGaN基光电子器件的复合衬底及其制备方法和应用
JPH03211888A (ja) 半導体発光素子及びその製造方法
CN115101633B (zh) InGaN基光电子器件及其制备方法
JP4268405B2 (ja) ZnO結晶の成長方法、ZnO結晶構造及びそれを用いた半導体装置
JP2009249202A (ja) 窒化アルミニウム単結晶の製造方法
CN114284377B (zh) 双面Si基AlGaN探测器及其制备方法
CN107541708B (zh) 具有一维纳米阵列结构的碲镉汞薄膜的制备方法
CN115125617B (zh) 一种通过设置温度梯度制备自支撑氮化镓体块单晶的方法
JP2000031060A (ja) Iii−v族化合物半導体気相エピタキシャル成長方法及び成長装置
CN118880464A (zh) 用于碳化硅单晶扩径的方法
CN119300562A (zh) 一种高密度AlN贯穿位错紫外发光器件及其制备方法
JP2007056328A (ja) 酸化ガリウム単結晶複合体の製造方法及びこの複合体を用いたiii−v族窒化物半導体の製造方法
Cao et al. Radial and axial nanowire heterostructures grown with ZnO nanowires as templates

Legal Events

Date Code Title Description
A977 Report on retrieval

Free format text: JAPANESE INTERMEDIATE CODE: A971007

Effective date: 20101018

A131 Notification of reasons for refusal

Free format text: JAPANESE INTERMEDIATE CODE: A131

Effective date: 20110126

TRDD Decision of grant or rejection written
A01 Written decision to grant a patent or to grant a registration (utility model)

Free format text: JAPANESE INTERMEDIATE CODE: A01

Effective date: 20111215

A01 Written decision to grant a patent or to grant a registration (utility model)

Free format text: JAPANESE INTERMEDIATE CODE: A01

A61 First payment of annual fees (during grant procedure)

Free format text: JAPANESE INTERMEDIATE CODE: A61

Effective date: 20111215

R150 Certificate of patent or registration of utility model

Ref document number: 4895228

Country of ref document: JP

Free format text: JAPANESE INTERMEDIATE CODE: R150

Free format text: JAPANESE INTERMEDIATE CODE: R150

FPAY Renewal fee payment (event date is renewal date of database)

Free format text: PAYMENT UNTIL: 20150106

Year of fee payment: 3

RD03 Notification of appointment of power of attorney

Free format text: JAPANESE INTERMEDIATE CODE: R3D03

R250 Receipt of annual fees

Free format text: JAPANESE INTERMEDIATE CODE: R250

R250 Receipt of annual fees

Free format text: JAPANESE INTERMEDIATE CODE: R250

LAPS Cancellation because of no payment of annual fees