JP2010034022A - ドナー基板および表示装置の製造方法 - Google Patents
ドナー基板および表示装置の製造方法 Download PDFInfo
- Publication number
- JP2010034022A JP2010034022A JP2008313105A JP2008313105A JP2010034022A JP 2010034022 A JP2010034022 A JP 2010034022A JP 2008313105 A JP2008313105 A JP 2008313105A JP 2008313105 A JP2008313105 A JP 2008313105A JP 2010034022 A JP2010034022 A JP 2010034022A
- Authority
- JP
- Japan
- Prior art keywords
- layer
- substrate
- light emitting
- transfer
- donor substrate
- Prior art date
- Legal status (The legal status is an assumption and is not a legal conclusion. Google has not performed a legal analysis and makes no representation as to the accuracy of the status listed.)
- Granted
Links
Images
Classifications
-
- C—CHEMISTRY; METALLURGY
- C23—COATING METALLIC MATERIAL; COATING MATERIAL WITH METALLIC MATERIAL; CHEMICAL SURFACE TREATMENT; DIFFUSION TREATMENT OF METALLIC MATERIAL; COATING BY VACUUM EVAPORATION, BY SPUTTERING, BY ION IMPLANTATION OR BY CHEMICAL VAPOUR DEPOSITION, IN GENERAL; INHIBITING CORROSION OF METALLIC MATERIAL OR INCRUSTATION IN GENERAL
- C23C—COATING METALLIC MATERIAL; COATING MATERIAL WITH METALLIC MATERIAL; SURFACE TREATMENT OF METALLIC MATERIAL BY DIFFUSION INTO THE SURFACE, BY CHEMICAL CONVERSION OR SUBSTITUTION; COATING BY VACUUM EVAPORATION, BY SPUTTERING, BY ION IMPLANTATION OR BY CHEMICAL VAPOUR DEPOSITION, IN GENERAL
- C23C14/00—Coating by vacuum evaporation, by sputtering or by ion implantation of the coating forming material
- C23C14/04—Coating on selected surface areas, e.g. using masks
- C23C14/048—Coating on selected surface areas, e.g. using masks using irradiation by energy or particles
-
- H—ELECTRICITY
- H10—SEMICONDUCTOR DEVICES; ELECTRIC SOLID-STATE DEVICES NOT OTHERWISE PROVIDED FOR
- H10K—ORGANIC ELECTRIC SOLID-STATE DEVICES
- H10K71/00—Manufacture or treatment specially adapted for the organic devices covered by this subclass
- H10K71/10—Deposition of organic active material
- H10K71/16—Deposition of organic active material using physical vapour deposition [PVD], e.g. vacuum deposition or sputtering
- H10K71/164—Deposition of organic active material using physical vapour deposition [PVD], e.g. vacuum deposition or sputtering using vacuum deposition
-
- H—ELECTRICITY
- H10—SEMICONDUCTOR DEVICES; ELECTRIC SOLID-STATE DEVICES NOT OTHERWISE PROVIDED FOR
- H10K—ORGANIC ELECTRIC SOLID-STATE DEVICES
- H10K71/00—Manufacture or treatment specially adapted for the organic devices covered by this subclass
- H10K71/10—Deposition of organic active material
- H10K71/18—Deposition of organic active material using non-liquid printing techniques, e.g. thermal transfer printing from a donor sheet
-
- H—ELECTRICITY
- H10—SEMICONDUCTOR DEVICES; ELECTRIC SOLID-STATE DEVICES NOT OTHERWISE PROVIDED FOR
- H10K—ORGANIC ELECTRIC SOLID-STATE DEVICES
- H10K59/00—Integrated devices, or assemblies of multiple devices, comprising at least one organic light-emitting element covered by group H10K50/00
- H10K59/30—Devices specially adapted for multicolour light emission
- H10K59/35—Devices specially adapted for multicolour light emission comprising red-green-blue [RGB] subpixels
-
- H—ELECTRICITY
- H10—SEMICONDUCTOR DEVICES; ELECTRIC SOLID-STATE DEVICES NOT OTHERWISE PROVIDED FOR
- H10K—ORGANIC ELECTRIC SOLID-STATE DEVICES
- H10K71/00—Manufacture or treatment specially adapted for the organic devices covered by this subclass
-
- H—ELECTRICITY
- H10—SEMICONDUCTOR DEVICES; ELECTRIC SOLID-STATE DEVICES NOT OTHERWISE PROVIDED FOR
- H10K—ORGANIC ELECTRIC SOLID-STATE DEVICES
- H10K71/00—Manufacture or treatment specially adapted for the organic devices covered by this subclass
- H10K71/40—Thermal treatment, e.g. annealing in the presence of a solvent vapour
- H10K71/421—Thermal treatment, e.g. annealing in the presence of a solvent vapour using coherent electromagnetic radiation, e.g. laser annealing
-
- Y—GENERAL TAGGING OF NEW TECHNOLOGICAL DEVELOPMENTS; GENERAL TAGGING OF CROSS-SECTIONAL TECHNOLOGIES SPANNING OVER SEVERAL SECTIONS OF THE IPC; TECHNICAL SUBJECTS COVERED BY FORMER USPC CROSS-REFERENCE ART COLLECTIONS [XRACs] AND DIGESTS
- Y10—TECHNICAL SUBJECTS COVERED BY FORMER USPC
- Y10S—TECHNICAL SUBJECTS COVERED BY FORMER USPC CROSS-REFERENCE ART COLLECTIONS [XRACs] AND DIGESTS
- Y10S430/00—Radiation imagery chemistry: process, composition, or product thereof
- Y10S430/146—Laser beam
Landscapes
- Chemical & Material Sciences (AREA)
- Engineering & Computer Science (AREA)
- Manufacturing & Machinery (AREA)
- Health & Medical Sciences (AREA)
- Toxicology (AREA)
- Chemical Kinetics & Catalysis (AREA)
- Materials Engineering (AREA)
- Mechanical Engineering (AREA)
- Metallurgy (AREA)
- Organic Chemistry (AREA)
- Electroluminescent Light Sources (AREA)
Abstract
【解決手段】ドナー基板40の基体41と光吸収層42との間に、屈折率の異なる2以上の層を有する熱干渉層46を設ける。熱干渉層46は、例えば基体41側から順に、SiO2 ,SiN,SiONまたはAl2 O3 により構成され、厚みが50nm以上200nm以下の第1干渉層46Aと、a−Siにより構成され、厚みが15nm以上80nm以下の第2干渉層46Bとの積層構造とする。第1干渉層46Aおよび第2干渉層46Bの屈折率および厚みは、輻射線Rの発光帯のうち連続した100nm以上の波長領域において反射率が0.1以下になるように調整される。
【選択図】図19
Description
(A)基体
(B)基体上に設けられた光熱変換層
(C)基体および光熱変換層の間に設けられると共に屈折率の異なる2以上の層を有する熱干渉層
(A)基体
(B)基体上に、被転写基板上の発光層を形成したい領域に対応して設けられた光熱変換層
(C)光熱変換層上および基体上に形成された断熱層
(D)断熱層上に、光熱変換層の間の領域に設けられた凸構造
(E)凸構造の上面に形成された第1部分および断熱層の上面に形成された第2部分を有し、第1部分および第2部分が分断されている汚染防止層
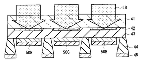
1.第1の実施の形態(輻射線としてレーザ光を用い、ドナー基板に凸構造を設けた例)
2.変形例1(凸構造で分割された領域ごとに異なる色の転写層を設ける例)
3.第2の実施の形態(基体と光熱変換層との間に、単層構造の熱干渉層を設けた例)
4.第3の実施の形態(波長の広い輻射線源を用い、熱干渉層を積層構造とした例)
(表示装置)
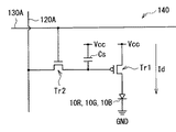
図1は、本発明の第1の実施の形態に係る表示装置の構成を表すものである。この表示装置は、極薄型の有機発光カラーディスプレイ装置などとして用いられるものであり、例えば、ガラスよりなる駆動用基板11の上に、後述する複数の有機発光素子10R,10G,10Bがマトリクス状に配置されてなる表示領域110が形成されると共に、この表示領域110の周辺に、映像表示用のドライバである信号線駆動回路120および走査線駆動回路130が形成されたものである。
次に、この表示装置の製造方法に用いられるドナー基板について説明する。
この表示装置は、例えば次のようにして製造することができる。
図11は、本発明の変形例1に係るドナー基板40の構成を表したものである。本変形例のドナー基板40Aは、凸構造44で分割された領域ごとに光熱変換層42を設けたものであり、これにより、各領域に異なる色の発光材料を含む転写層を形成し、転写回数を削減することができるようになっている。このことを除いては、上記実施の形態と同様の構成を有している。
図14は、本発明の第2の実施の形態に係るドナー基板40Bの構成を表したものである。このドナー基板40Bは、基体41および光熱変換層42の間に熱干渉層46を設けたことを除いては、上記第1の実施の形態と同様の構成を有している。よって、対応する構成要素には同一の符号を付し、その説明を省略する。
図15は、本発明の第3の実施の形態に係るドナー基板40Cの構成を表したものである。このドナー基板40Cは、熱干渉層46を屈折率の異なる2以上の層の積層構造としたこと、および、凸構造44を設けないことを除いては、上記第1および第2の実施の形態と同様の構成を有している。よって、対応する構成要素には同一の符号を付して説明する。
上記第1の実施の形態と同様にして表示装置を作製した。まず、ガラスよりなる駆動用基板11に、ITOよりなる第1電極13、ポリイミドよりなる厚み1μmの絶縁層14、ポリイミドよりなる高さ5μmのリブ14A、並びに正孔注入層および正孔輸送層15ABを形成し、被転写基板11Aを形成した。正孔注入層および正孔輸送層15ABは、蒸着法により形成し、正孔注入層は厚み25nmのm−MTDATA、正孔輸送層は厚み30nmのα−NPDとした。
上記第3の実施の形態と同様にして表示装置を作製した。その際、実施例2では、輻射線Rとしてキセノンフラッシュランプを使用し、図20に示したような面描写により転写工程を行った。ドナー基板40Cの構成は、以下のようにした。
基体41:ガラス
熱干渉層46:SiO2 よりなる厚み100nmの第1干渉層46Aと、a−Siよりなる厚みが15nmの第2干渉層46Bとの積層構造
光熱変換層42:チタン(Ti)、厚み200nm
断熱層43:SiO2 、厚み300nm
汚染防止層45:アルミニウム(Al)、厚み50nm
基体41:ガラス
熱干渉層46:SiO2 よりなる厚み200nmの第1干渉層46Aと、a−Siよりなる厚みが35nmの第2干渉層46Bとの積層構造
光熱変換層42:チタン(Ti)、厚み200nm
断熱層43:SiO2 、厚み300nm
汚染防止層45:アルミニウム(Al)、厚み50nm
以下、上述した各実施の形態で説明した表示装置の適用例について説明する。上記各実施の形態の表示装置は、テレビジョン装置,デジタルカメラ,ノート型パーソナルコンピュータ、携帯電話等の携帯端末装置あるいはビデオカメラなど、外部から入力された映像信号あるいは内部で生成した映像信号を、画像あるいは映像として表示するあらゆる分野の電子機器の表示装置に適用することが可能である。
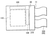
上記各実施の形態の表示装置は、例えば、図24に示したようなモジュールとして、後述する適用例1〜5などの種々の電子機器に組み込まれる。このモジュールは、例えば、被転写基板11の一辺に、封止用基板30および接着層20から露出した領域210を設け、この露出した領域210に、信号線駆動回路120および走査線駆動回路130の配線を延長して外部接続端子(図示せず)を形成したものである。外部接続端子には、信号の入出力のためのフレキシブルプリント配線基板(FPC;Flexible Printed Circuit)220が設けられていてもよい。
図25は、上記各実施の形態の表示装置が適用されるテレビジョン装置の外観を表したものである。このテレビジョン装置は、例えば、フロントパネル310およびフィルターガラス320を含む映像表示画面部300を有しており、この映像表示画面部300は、上記各実施の形態に係る表示装置により構成されている。
図26は、上記各実施の形態の表示装置が適用されるデジタルカメラの外観を表したものである。このデジタルカメラは、例えば、フラッシュ用の発光部410、表示部420、メニュースイッチ430およびシャッターボタン440を有しており、その表示部420は、上記各実施の形態に係る表示装置により構成されている。
図27は、上記各実施の形態の表示装置が適用されるノート型パーソナルコンピュータの外観を表したものである。このノート型パーソナルコンピュータは、例えば、本体510,文字等の入力操作のためのキーボード520および画像を表示する表示部530を有しており、その表示部530は、上記各実施の形態に係る表示装置により構成されている。
図28は、上記各実施の形態の表示装置が適用されるビデオカメラの外観を表したものである。このビデオカメラは、例えば、本体部610,この本体部610の前方側面に設けられた被写体撮影用のレンズ620,撮影時のスタート/ストップスイッチ630および表示部640を有しており、その表示部640は、上記各実施の形態に係る表示装置により構成されている。
図29は、上記各実施の形態の表示装置が適用される携帯電話機の外観を表したものである。この携帯電話機は、例えば、上側筐体710と下側筐体720とを連結部(ヒンジ部)730で連結したものであり、ディスプレイ740,サブディスプレイ750,ピクチャーライト760およびカメラ770を有している。そのディスプレイ740またはサブディスプレイ750は、上記各実施の形態に係る表示装置により構成されている。
Claims (20)
- 発光材料を含む転写層を形成し、前記転写層を被転写基板に対向配置して輻射線を照射し、前記転写層を昇華または気化させて被転写基板に転写することにより発光層を形成するためのドナー基板であって、
基体と、
前記基体上に設けられた光熱変換層と、
前記基体および前記光熱変換層の間に設けられると共に屈折率の異なる2以上の層を有する熱干渉層と
を備えたドナー基板。 - 前記2以上の層の屈折率および厚みが、前記輻射線の発光帯のうち連続した100nm以上の波長領域において反射率が0.1以下になるように調整されている
請求項1記載のドナー基板。 - 前記熱干渉層は、前記基体側から順に、
SiO2 ,SiN,SiONまたはAl2 O3 により構成され、厚みが50nm以上250nm以下の第1干渉層と、
a−Siにより構成され、厚みが15nm以上80nm以下の第2干渉層と
を有する請求項2記載のドナー基板。 - 前記光熱変換層および前記熱干渉層は、前記被転写基板上の前記発光層を形成したい領域に対応して設けられている
請求項1記載のドナー基板。 - 前記光熱変換層上および前記基体上に形成された断熱層と、
前記断熱層上に形成された汚染防止層と
を備えた請求項4記載のドナー基板。 - 前記断熱層上の前記光熱変換層および前記熱干渉層が設けられていない領域に、凸構造が形成されており、
前記汚染防止層は、前記凸構造の上面に形成された第1部分および前記断熱層の上面に形成された第2部分を有し、前記第1部分および前記第2部分が分断されている
請求項5記載のドナー基板。 - 発光材料を含む転写層を形成し、前記転写層を被転写基板に対向配置して輻射線を照射し、前記転写層を昇華または気化させて被転写基板に転写することにより発光層を形成するためのドナー基板であって、
基体と、
前記基体上に、前記被転写基板上の前記発光層を形成したい領域に対応して設けられた光熱変換層と、
前記光熱変換層上および前記基体上に形成された断熱層と、
前記断熱層上に、前記光熱変換層の間の領域に設けられた凸構造と、
前記凸構造の上面に形成された第1部分および前記断熱層の上面に形成された第2部分を有し、前記第1部分および前記第2部分が分断されている汚染防止層と
を備えたドナー基板。 - 前記凸構造は、上面の幅よりも下面の幅が狭い逆テーパの断面形状を有する
請求項7記載のドナー基板。 - 前記凸構造は、0.3μm以上10μm以下の高さを有する
請求項7または8記載のドナー基板。 - 前記汚染防止層の厚みが25nm以上500nm以下である
請求項7または8記載のドナー基板。 - 前記基体および前記光熱変換層の間に熱干渉層を有する
請求項7記載のドナー基板。 - 駆動用基板に、第1電極、前記第1電極の発光領域に対応して開口部を有する絶縁層、発光層を含む複数の有機層、および第2電極を順に有する有機発光素子を形成する表示装置の製造方法であって、
前記駆動用基板に、前記第1電極、前記絶縁層、および前記複数の有機層の一部を形成し、被転写基板を形成する工程と、
ドナー基板に発光材料を含む転写層を形成し、前記転写層を前記被転写基板に対向配置して輻射線を照射し、前記転写層を昇華または気化させて被転写基板に転写することにより発光層を形成する工程と、
前記複数の有機層の残部および第2電極を形成する工程と
を含み、
前記ドナー基板として、
基体と、
前記基体上に設けられた光熱変換層と、
前記基体および前記光熱変換層の間に設けられると共に屈折率の異なる2以上の層を有する熱干渉層と
を備えたものを用いる表示装置の製造方法。 - 前記2以上の層の屈折率および厚みが、前記輻射線の発光帯のうち連続した100nm以上の波長領域において反射率が0.1以下になるように調整されている
請求項12記載の表示装置の製造方法。 - 前記熱干渉層は、前記基体側から順に、
SiO2 ,SiN,SiONまたはAl2 O3 により構成され、厚みが50nm以上250nm以下の第1干渉層と、
a−Siにより構成され、厚みが15nm以上80nm以下の第2干渉層と
を有する請求項13記載の表示装置の製造方法。 - 駆動用基板に、第1電極、前記第1電極の発光領域に対応して開口部を有する絶縁層、発光層を含む複数の有機層、および第2電極を順に有する有機発光素子を形成する表示装置の製造方法であって、
前記駆動用基板に、前記第1電極、前記絶縁層、および前記複数の有機層の一部を形成し、被転写基板を形成する工程と、
ドナー基板に発光材料を含む転写層を形成し、前記転写層を前記被転写基板に対向配置して輻射線を照射し、前記転写層を昇華または気化させて被転写基板に転写することにより発光層を形成する工程と、
前記複数の有機層の残部および第2電極を形成する工程と
を含み、
前記ドナー基板として、
基体と、
前記基体上に、前記被転写基板上の前記発光層を形成したい領域に対応して設けられた光熱変換層と、
前記光熱変換層上および前記基体上に形成された断熱層と、
前記断熱層上に、前記光熱変換層の間の領域に設けられた凸構造と、
前記凸構造の上面に形成された第1部分および前記断熱層の上面に形成された第2部分を有し、前記第1部分および前記第2部分が分断されている汚染防止層と
を備えたものを用いる表示装置の製造方法。 - 前記凸構造は、上面の幅よりも下面の幅が狭い逆テーパの断面形状を有する
請求項15記載の表示装置の製造方法。 - 前記凸構造は、0.3μm以上10μm以下の高さを有する
請求項15または16記載の表示装置の製造方法。 - 前記汚染防止層の厚みが25nm以上500nm以下である
請求項15または16記載の表示装置の製造方法。 - 前記基体および前記光熱変換層の間に熱干渉層を有する
請求項15記載の表示装置の製造方法。 - 前記基体上の前記凸構造により分割された領域ごとに異なる色の発光材料を含む転写層を形成し、一回の転写で前記被転写基板に2色以上の前記発光層を形成する
請求項15または16記載の表示装置の製造方法。
Priority Applications (6)
| Application Number | Priority Date | Filing Date | Title |
|---|---|---|---|
| JP2008313105A JP4600569B2 (ja) | 2008-06-25 | 2008-12-09 | ドナー基板および表示装置の製造方法 |
| US12/489,640 US7956008B2 (en) | 2008-06-25 | 2009-06-23 | Donor substrate and method of manufacturing display |
| CN2010105025952A CN102034938A (zh) | 2008-06-25 | 2009-06-25 | 供体基板和显示器制造方法 |
| CN2009101486355A CN101615658B (zh) | 2008-06-25 | 2009-06-25 | 供体基板和显示器制造方法 |
| US13/100,612 US8377848B2 (en) | 2008-06-25 | 2011-05-04 | Donor substrate and method of manufacturing display |
| US13/758,759 US20130202812A1 (en) | 2008-06-25 | 2013-02-04 | Donor substrate and method of manufacturing display |
Applications Claiming Priority (2)
| Application Number | Priority Date | Filing Date | Title |
|---|---|---|---|
| JP2008165971 | 2008-06-25 | ||
| JP2008313105A JP4600569B2 (ja) | 2008-06-25 | 2008-12-09 | ドナー基板および表示装置の製造方法 |
Related Child Applications (1)
| Application Number | Title | Priority Date | Filing Date |
|---|---|---|---|
| JP2010136184A Division JP4957929B2 (ja) | 2008-06-25 | 2010-06-15 | ドナー基板および表示装置の製造方法 |
Publications (2)
| Publication Number | Publication Date |
|---|---|
| JP2010034022A true JP2010034022A (ja) | 2010-02-12 |
| JP4600569B2 JP4600569B2 (ja) | 2010-12-15 |
Family
ID=41448008
Family Applications (1)
| Application Number | Title | Priority Date | Filing Date |
|---|---|---|---|
| JP2008313105A Expired - Fee Related JP4600569B2 (ja) | 2008-06-25 | 2008-12-09 | ドナー基板および表示装置の製造方法 |
Country Status (3)
| Country | Link |
|---|---|
| US (3) | US7956008B2 (ja) |
| JP (1) | JP4600569B2 (ja) |
| CN (1) | CN102034938A (ja) |
Cited By (7)
| Publication number | Priority date | Publication date | Assignee | Title |
|---|---|---|---|---|
| JP2010050087A (ja) * | 2008-07-21 | 2010-03-04 | Semiconductor Energy Lab Co Ltd | 成膜用基板及び発光装置の作製方法 |
| WO2010122937A1 (en) * | 2009-04-22 | 2010-10-28 | Semiconductor Energy Laboratory Co., Ltd. | Method for manufacturing light-emitting device and film formation substrate |
| JP2011040186A (ja) * | 2009-08-07 | 2011-02-24 | Semiconductor Energy Lab Co Ltd | 成膜用基板、成膜方法及び発光素子の作製方法 |
| CN102456851A (zh) * | 2010-10-22 | 2012-05-16 | 三星移动显示器株式会社 | 制造有机发光器件的方法及制造有机发光显示装置的方法 |
| US9099687B2 (en) | 2013-03-29 | 2015-08-04 | Samsung Display Co., Ltd. | Donor substrate and method of forming transfer pattern using the same |
| KR20150145835A (ko) * | 2014-06-19 | 2015-12-31 | 삼성디스플레이 주식회사 | 디스플레이 장치의 열처리 장치 및 이를 이용한 열처리 방법 |
| US9448472B2 (en) | 2014-09-19 | 2016-09-20 | Samsung Display Co., Ltd. | Optical pattern transfer mask and method of fabricating the same |
Families Citing this family (17)
| Publication number | Priority date | Publication date | Assignee | Title |
|---|---|---|---|---|
| JP5013020B2 (ja) * | 2010-03-31 | 2012-08-29 | 東レ株式会社 | 転写用ドナー基板、デバイスの製造方法および有機el素子 |
| US10413506B2 (en) | 2010-04-03 | 2019-09-17 | Praful Doshi | Medical devices including medicaments and methods of making and using same including enhancing comfort, enhancing drug penetration, and treatment of myopia |
| KR20130010628A (ko) * | 2011-07-19 | 2013-01-29 | 삼성디스플레이 주식회사 | 도너 기판, 도너 기판의 제조 방법 및 도너 기판을 이용한 유기 발광 표시 장치의 제조 방법 |
| CN102662549B (zh) * | 2012-04-13 | 2016-03-23 | 广东欧珀移动通信有限公司 | 盖板玻璃及盖板玻璃表面转印方法 |
| JPWO2014049902A1 (ja) * | 2012-09-25 | 2016-08-22 | 株式会社Joled | El表示装置の製造方法、el表示装置の製造に用いられる転写基板、el表示装置の製造に用いられる転写基板の製造方法 |
| WO2014049904A1 (ja) * | 2012-09-25 | 2014-04-03 | パナソニック株式会社 | El表示装置の製造方法、el表示装置の製造に用いられる転写基板 |
| JP2014110143A (ja) * | 2012-11-30 | 2014-06-12 | Samsung Display Co Ltd | 有機el素子 |
| CN104752632B (zh) * | 2013-12-31 | 2017-03-08 | 昆山工研院新型平板显示技术中心有限公司 | 一种有机发光显示器的像素的制造方法 |
| KR102129266B1 (ko) * | 2014-04-30 | 2020-07-03 | 삼성디스플레이 주식회사 | 유기 발광 표시 장치 |
| KR102162798B1 (ko) * | 2014-08-12 | 2020-10-08 | 삼성디스플레이 주식회사 | 증착장치 및 이를 이용한 유기발광 디스플레이 장치 제조방법 |
| WO2018061987A1 (ja) * | 2016-09-28 | 2018-04-05 | シャープ株式会社 | 表示装置およびその製造方法 |
| CN106926559B (zh) * | 2017-03-24 | 2020-05-26 | 京东方科技集团股份有限公司 | 转印基板及其制作方法、oled器件制作方法 |
| KR102180071B1 (ko) * | 2017-10-31 | 2020-11-17 | 엘지디스플레이 주식회사 | 초미세 패턴 증착장치, 이를 이용한 초미세 패턴 증착방법 그리고 초미세 패턴 증착방법에 의해 제작된 전계발광표시장치 |
| KR102180070B1 (ko) | 2017-10-31 | 2020-11-17 | 엘지디스플레이 주식회사 | 초미세 패턴 증착장치, 이를 이용한 초미세 패턴 증착방법 그리고 초미세 패턴 증착방법에 의해 제작된 전계발광표시장치 |
| KR102212422B1 (ko) * | 2019-03-11 | 2021-02-04 | 한국기계연구원 | 희생층을 이용한 광 유도 전사 방법 |
| CN110703464A (zh) * | 2019-10-30 | 2020-01-17 | 张富山 | 彩色局部擦黑板 |
| CN116133465A (zh) * | 2023-01-31 | 2023-05-16 | 京东方科技集团股份有限公司 | 显示面板的制备方法、显示面板和显示装置 |
Citations (5)
| Publication number | Priority date | Publication date | Assignee | Title |
|---|---|---|---|---|
| JP2001242318A (ja) * | 1999-12-21 | 2001-09-07 | Stanley Electric Co Ltd | 多層膜フィルタ及び多層膜フィルタ付ハロゲンランプ |
| JP2005101553A (ja) * | 2003-08-27 | 2005-04-14 | Semiconductor Energy Lab Co Ltd | 半導体装置の作製方法 |
| JP2007141702A (ja) * | 2005-11-21 | 2007-06-07 | Sony Corp | 転写用基板および転写方法ならびに表示装置の製造方法 |
| JP2007173145A (ja) * | 2005-12-26 | 2007-07-05 | Sony Corp | 転写用基板、転写方法、および有機電界発光素子の製造方法 |
| JP2008066147A (ja) * | 2006-09-07 | 2008-03-21 | Fuji Electric Holdings Co Ltd | 蒸着によるパターン形成方法、該方法を含む色変換フィルタ基板およびカラー有機el素子の製造方法 |
Family Cites Families (2)
| Publication number | Priority date | Publication date | Assignee | Title |
|---|---|---|---|---|
| US5688551A (en) | 1995-11-13 | 1997-11-18 | Eastman Kodak Company | Method of forming an organic electroluminescent display panel |
| US20050123850A1 (en) | 2003-12-09 | 2005-06-09 | 3M Innovative Properties Company | Thermal transfer of light-emitting dendrimers |
-
2008
- 2008-12-09 JP JP2008313105A patent/JP4600569B2/ja not_active Expired - Fee Related
-
2009
- 2009-06-23 US US12/489,640 patent/US7956008B2/en not_active Expired - Fee Related
- 2009-06-25 CN CN2010105025952A patent/CN102034938A/zh active Pending
-
2011
- 2011-05-04 US US13/100,612 patent/US8377848B2/en not_active Expired - Fee Related
-
2013
- 2013-02-04 US US13/758,759 patent/US20130202812A1/en not_active Abandoned
Patent Citations (5)
| Publication number | Priority date | Publication date | Assignee | Title |
|---|---|---|---|---|
| JP2001242318A (ja) * | 1999-12-21 | 2001-09-07 | Stanley Electric Co Ltd | 多層膜フィルタ及び多層膜フィルタ付ハロゲンランプ |
| JP2005101553A (ja) * | 2003-08-27 | 2005-04-14 | Semiconductor Energy Lab Co Ltd | 半導体装置の作製方法 |
| JP2007141702A (ja) * | 2005-11-21 | 2007-06-07 | Sony Corp | 転写用基板および転写方法ならびに表示装置の製造方法 |
| JP2007173145A (ja) * | 2005-12-26 | 2007-07-05 | Sony Corp | 転写用基板、転写方法、および有機電界発光素子の製造方法 |
| JP2008066147A (ja) * | 2006-09-07 | 2008-03-21 | Fuji Electric Holdings Co Ltd | 蒸着によるパターン形成方法、該方法を含む色変換フィルタ基板およびカラー有機el素子の製造方法 |
Cited By (13)
| Publication number | Priority date | Publication date | Assignee | Title |
|---|---|---|---|---|
| JP2014044966A (ja) * | 2008-07-21 | 2014-03-13 | Semiconductor Energy Lab Co Ltd | 成膜用基板及び発光装置の作製方法 |
| JP2010050087A (ja) * | 2008-07-21 | 2010-03-04 | Semiconductor Energy Lab Co Ltd | 成膜用基板及び発光装置の作製方法 |
| US9543548B2 (en) | 2008-07-21 | 2017-01-10 | Semiconductor Energy Laboratory Co., Ltd. | Deposition donor substrate and method for manufacturing light-emitting device |
| US8574709B2 (en) | 2008-07-21 | 2013-11-05 | Semiconductor Energy Laboratory Co., Ltd. | Deposition donor substrate and method for manufacturing light-emitting device |
| WO2010122937A1 (en) * | 2009-04-22 | 2010-10-28 | Semiconductor Energy Laboratory Co., Ltd. | Method for manufacturing light-emitting device and film formation substrate |
| JP2010257630A (ja) * | 2009-04-22 | 2010-11-11 | Semiconductor Energy Lab Co Ltd | 発光装置の作製方法および成膜用基板 |
| US8618568B2 (en) | 2009-04-22 | 2013-12-31 | Semiconductor Energy Laboratory Co., Ltd. | Method for manufacturing light-emitting device and film formation substrate |
| JP2011040186A (ja) * | 2009-08-07 | 2011-02-24 | Semiconductor Energy Lab Co Ltd | 成膜用基板、成膜方法及び発光素子の作製方法 |
| CN102456851A (zh) * | 2010-10-22 | 2012-05-16 | 三星移动显示器株式会社 | 制造有机发光器件的方法及制造有机发光显示装置的方法 |
| US9099687B2 (en) | 2013-03-29 | 2015-08-04 | Samsung Display Co., Ltd. | Donor substrate and method of forming transfer pattern using the same |
| KR20150145835A (ko) * | 2014-06-19 | 2015-12-31 | 삼성디스플레이 주식회사 | 디스플레이 장치의 열처리 장치 및 이를 이용한 열처리 방법 |
| KR102191997B1 (ko) * | 2014-06-19 | 2020-12-17 | 삼성디스플레이 주식회사 | 디스플레이 장치의 열처리 장치 및 이를 이용한 열처리 방법 |
| US9448472B2 (en) | 2014-09-19 | 2016-09-20 | Samsung Display Co., Ltd. | Optical pattern transfer mask and method of fabricating the same |
Also Published As
| Publication number | Publication date |
|---|---|
| US20110206868A1 (en) | 2011-08-25 |
| JP4600569B2 (ja) | 2010-12-15 |
| US20130202812A1 (en) | 2013-08-08 |
| CN102034938A (zh) | 2011-04-27 |
| US7956008B2 (en) | 2011-06-07 |
| US20090325451A1 (en) | 2009-12-31 |
| US8377848B2 (en) | 2013-02-19 |
Similar Documents
| Publication | Publication Date | Title |
|---|---|---|
| JP4600569B2 (ja) | ドナー基板および表示装置の製造方法 | |
| JP4957929B2 (ja) | ドナー基板および表示装置の製造方法 | |
| CN101916824B (zh) | 转印基板和制造显示设备的方法 | |
| US9324962B2 (en) | Organic luminescence display and method of manufacturing the same | |
| JP4396864B2 (ja) | 表示装置およびその製造方法 | |
| US20080233827A1 (en) | Method for manufacturing display device | |
| JP5759760B2 (ja) | 表示装置および電子機器 | |
| JP2010096882A (ja) | 反射板、発光装置およびその製造方法 | |
| CN1972540A (zh) | 转移衬底、转移方法和制造显示器件的方法 | |
| JP2008288075A (ja) | 表示装置の製造方法および表示装置 | |
| JP2010123450A (ja) | 反射板、表示装置およびその製造方法 | |
| JP4450006B2 (ja) | 転写用基板および有機電界発光素子の製造方法 | |
| JP2009146715A (ja) | ドナー基板および表示装置の製造方法 | |
| JP2009146716A (ja) | 表示装置およびドナー基板 | |
| JP2008311103A (ja) | 表示装置の製造方法および表示装置 | |
| JP2009266451A (ja) | 表示装置の製造方法および転写基板 | |
| JP2011034852A (ja) | ドナー基板の製造方法およびドナー基板、並びに表示装置の製造方法 | |
| JP2010192826A (ja) | ドナー基板および表示装置の製造方法 | |
| JP2006309955A (ja) | 有機電界発光素子の製造方法および有機電界発光素子 | |
| JP2011108421A (ja) | 表示装置の製造方法 |
Legal Events
| Date | Code | Title | Description |
|---|---|---|---|
| A977 | Report on retrieval |
Free format text: JAPANESE INTERMEDIATE CODE: A971007 Effective date: 20100409 |
|
| A131 | Notification of reasons for refusal |
Free format text: JAPANESE INTERMEDIATE CODE: A131 Effective date: 20100518 |
|
| A521 | Request for written amendment filed |
Free format text: JAPANESE INTERMEDIATE CODE: A523 Effective date: 20100615 |
|
| TRDD | Decision of grant or rejection written | ||
| A01 | Written decision to grant a patent or to grant a registration (utility model) |
Free format text: JAPANESE INTERMEDIATE CODE: A01 Effective date: 20100831 |
|
| A01 | Written decision to grant a patent or to grant a registration (utility model) |
Free format text: JAPANESE INTERMEDIATE CODE: A01 |
|
| A61 | First payment of annual fees (during grant procedure) |
Free format text: JAPANESE INTERMEDIATE CODE: A61 Effective date: 20100913 |
|
| FPAY | Renewal fee payment (event date is renewal date of database) |
Free format text: PAYMENT UNTIL: 20131008 Year of fee payment: 3 |
|
| FPAY | Renewal fee payment (event date is renewal date of database) |
Free format text: PAYMENT UNTIL: 20131008 Year of fee payment: 3 |
|
| LAPS | Cancellation because of no payment of annual fees |
