JP2010033730A - 配線モジュールおよび電子機器 - Google Patents

配線モジュールおよび電子機器 Download PDF

Info

Publication number
JP2010033730A
JP2010033730A JP2008191680A JP2008191680A JP2010033730A JP 2010033730 A JP2010033730 A JP 2010033730A JP 2008191680 A JP2008191680 A JP 2008191680A JP 2008191680 A JP2008191680 A JP 2008191680A JP 2010033730 A JP2010033730 A JP 2010033730A
Authority
JP
Japan
Prior art keywords
light
pattern
layer
wiring module
guide sheet
Prior art date
Legal status (The legal status is an assumption and is not a legal conclusion. Google has not performed a legal analysis and makes no representation as to the accuracy of the status listed.)
Granted
Application number
JP2008191680A
Other languages
English (en)
Other versions
JP4904599B2 (ja
Inventor
Kazuhiro Ito
和博 伊藤
Akira Kato
彬 加藤
Current Assignee (The listed assignees may be inaccurate. Google has not performed a legal analysis and makes no representation or warranty as to the accuracy of the list.)
Sumitomo Electric Printed Circuits Inc
Original Assignee
Sumitomo Electric Printed Circuits Inc
Priority date (The priority date is an assumption and is not a legal conclusion. Google has not performed a legal analysis and makes no representation as to the accuracy of the date listed.)
Filing date
Publication date
Application filed by Sumitomo Electric Printed Circuits Inc filed Critical Sumitomo Electric Printed Circuits Inc
Priority to JP2008191680A priority Critical patent/JP4904599B2/ja
Publication of JP2010033730A publication Critical patent/JP2010033730A/ja
Application granted granted Critical
Publication of JP4904599B2 publication Critical patent/JP4904599B2/ja
Active legal-status Critical Current
Anticipated expiration legal-status Critical

Links

Images

Landscapes

  • Push-Button Switches (AREA)
  • Telephone Set Structure (AREA)

Abstract

【課題】 キーの照明を確実に行いながら、厚み利用効率を高めた配線モジュール、および当該配線モジュールを用いた電子機器を提供する。
【解決手段】 光源の配置部およびスイッチ部を有するFPC1と、FPC1上に積層された白色印刷層3bと、光源からの光を内部へ導光して、白色印刷層3bと反対側のシート面から光を出射するために、白色印刷層3bに接するように配置された導光シート5とを備え、白色印刷層3bの、導光シート側の面に、複数の突起3dが設けられていることを特徴とする。
【選択図】 図2

Description

本発明は、配線モジュールおよび電子機器に関し、より具体的には、携帯電話等の電子機器に組み込まれる配線モジュールおよび当該電子機器に関するものである。
携帯電話機などの携帯情報端末の急速な普及につれて、薄型化、高機能化、使い易さの追求などの動きが急ピッチで進んでいる。携帯情報端末の入力キーは数が多いので、夜間や暗い場所で数字や文字などのキーを識別するために、照明部品を内蔵させている。キーの照明方式は、消費電力、光源部品コスト等の理由から、キーの後面に導光シートを配置して、LEDからの光を導光シートの端面から取り込み、導光シート面から出射させ、キーを照明する間接照明方式が用いられている(特許文献1)。これによって、LEDの配置数を減らして、消費電力の低減、LEDの配置数の低減を実現することができる。さらに、LEDからの光の利用効率の向上をはかった導光シートの構成の提案もなされている(特許文献2)。
特開2004−69751号公報 特開2008−152951号公報
上述の薄型化は、デザイン性またはファッション性を高めるため、非常に強く求められ、上記の導光シートを含めて、スイッチ類にも、高い厚み利用効率が求められている。この薄型化と、キー部の適切な照明(少ない光源で十分明るい照明)とを共に満たすという点から見ると、上記の特許文献1および2に開示された導光シートおよびスイッチを含む配線モジュールでは、十分とはいえない。たとえば、上記の特許文献1および2の配線モジュールには、漏れた光を戻して有効活用するなどの配慮はされておらず、導光シート周辺部分において薄型化は十分ではない。本発明は、キー部の照明を適切に行いながら、薄型化を推進することができる配線モジュール、および当該配線モジュールを用いた電子機器を提供することを目的とする。
本発明の配線モジュールは、光源の配置部およびスイッチ部を有するプリント配線板と、プリント配線板上に積層された光反射層と、光源からの光を内部に導光して、光反射層と反対側のシート面から光を出射するために、光反射層に接するように配置された導光シートとを備える。そして、光反射層の、導光シート側の面に、複数の、突起または窪みが設けられていることを特徴とする。
上記の構成によれば、(1)プリント配線板/光反射層/導光シートの積層体は、相互に接しながら形成されている。このため、薄型化を実現することができる。
一方で、上記の薄型化の追求の結果、光反射層と導光シートとの間に密着箇所が生じるおそれがあり、密着箇所では、導光シートから光が漏れてしまい、明るく輝いてしまう。このため、キー位置と関係ない位置で光が漏れてしまい、キー位置への照明が不十分になる。光反射層の、導光シート側の面に、複数の、突起または窪みを設けることにより、光反射層と導光シートとの密着の発生を防止し、これにより光の漏れを防止することができる。
よって、上記の構成により、光を効率よく用いて適正な照明を行いながら、配線モジュールの薄型化を実現することができる。
なお、光反射層は、導光シートから密着以外の原因で漏れた光を、導光シートに戻すために挿入される層である。
上記の光反射層を印刷された層とすることができる。光反射層は、シート材であってもよいが、スクリーン印刷などによる印刷層とすることによって、シート材の場合の貼り付け工数、および接着剤、シート材自体の材料コスト等と比較して、全体的に費用節減を得ることができる。また、薄型化にも有利である。
上記のプリント配線板をフレキシブルプリント配線板(FPC:Flexible Print Circuit)とすることができる。プリント配線板は、硬質プリント配線板でもよいが、使用可能な状況下でFPCを用いることによって、薄型化をさらに推進することができる。
上記のスイッチ部を、容量変化による、電圧変化または電荷量を検知するための、相対向する電極を配置して構成することができる。スイッチ部は、ドームスイッチとしてもよいが、ドームスイッチの場合、動接点やドームシートを、光反射層とスイッチ部を含むプリント配線板との間に介在させる必要があり、厚みが増大する。上記の容量変化による電圧変化を検知するための電極は、ドームに比べて厚みを非常に薄くすることができる。このため、薄型化の推進に有益である。
上記の導光シートには、光反射層と反対側の面から光を出射させるために、光反射層と反対側の面または前記光反射層側の面に、複数の、凹部もしくは凸部の配置パターンまたは光散乱剤を含む印刷パターンを設け、かつ、光源からの距離によらず出射される光の量を揃えるために、パターンの密度が距離が遠い位置ほど大きくなるように、パターンの大きさを距離が遠い位置ほど大きくする、または、パターンのパターン間の間隔を距離が遠い位置ほど小さくする構造をとることができる。これによって、薄型化を実現しながら、照明の均一性を向上させることができる。すなわち、光源からの距離が遠い位置ほど、(出射される光量)/(当該位置での導光シート内の光量)の比を大きくすることができ、導光シート内の光量が減った位置でも、その低い光量から多くの比率を出射させることができ、上記照明の均一性を向上することができる。
上記の印刷パターン内の光散乱剤の密度を上記距離が遠い位置ほど大きくするか、または印刷パターン内の光散乱剤の種類を上記距離が遠い位置ほど光反射性能の高いものとすることができる。これによって、印刷パターンによって、照明を均一にすることができる。
上記のスイッチ部に対応する位置に、上記の配置パターンおよび/または印刷パターンを、文字の形態に形成することができる。これによって、キーごとに識別性を向上させることができる。また、文字の形状や色(印刷インクの色などによる)によっては、デザイン性やファッション性を向上させることができる。
本発明の電子機器は、上記のいずれかの配線モジュールを備えることを特徴とする。これによって、薄型化およびキー部の確実な照明ができる、携帯電話、携帯情報端末等を得ることができる。
本発明の配線モジュールおよび電子機器によれば、薄型化を実現しながら、光の無駄なくキー部を確実に照明することができる。
(実施の形態1)
図1は、本発明の実施の形態1における携帯電話機を示す斜視図である。この携帯電話機50は、手のひらサイズの範囲内で表示画面31を大きくとるために、表示画面31に広く占められた上層筐体21から下層筐体22をスライドして引き出す2層スライド方式を採用している。下層筐体22には図示しない文字キーなどが配置されている。厚み方向には2つの筐体が積層されるので、各筐体内に配置される部品は、厚み方向の高い利用効率が求められる。上層筐体の表示画面31の縁に、キー11,12,13が配置されている。図示はしないが、キー11,12,13が上層筐体21と一体化されているものもある。すなわち、上層筐体21そのものに、位置を表すために、キー11,12,13と表示されているものもある。
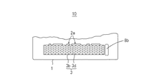
図2は、キー12を含む配線モジュール10の断面図である。図2において、フレキシブルプリント配線板内に、スイッチ部が設けられている。スイッチ部は、相対向する電極部2aを主構成要素とする。電極部2aおよびその周囲は、接着層および樹脂層(カバー層)2bで被覆されている。相対向する電極部2aは、コンデンサ(容量)の電極部を構成する。2つの電極部2aの中間位置の上方には、図1に示すキー12が位置している。ヒトの指がキー12にさわると、2つの電極部間の誘電物質に変化が生じ、コンデンサの容量が変化する。このため、コンデンサの蓄電量(電荷)一定下で電圧変化、また電圧一定下で電荷量変化もしくは電流が生じる。この電圧変化または電荷量変化(電流)を検知して、スイッチのオンオフを知ることができる。このスイッチ部を構成する電極部2aの厚みは、ドームスイッチのドーム高さに比べると非常に小さい。
カバー層(接着層および樹脂層)2bの上に、白色印刷層3bが印刷され、さらにその白色印刷層3bの上に、突起パターン3dが、やはり印刷されている。光反射層3は、白色印刷層3bと、突起パターン3dとを有する。この突起3dに接して、導光シート5が積層されている。導光シート5は、カバー層2bまたは白色印刷層3bに、両面接着テープなどの接着材料で接着されている。導光シート5には、光源のLEDから光が導入され、導光シート5内を全反射しながらガイドされる。導光シート5には、光をキー部12の側に出射する出射増強部5cが設けられている。図2に示す出射増強部5cは、光反射層と反対側の面に設けられた、凹部配置パターンであり、凹部配置パターンによって表面での全反射条件を壊して、ガイドされた光を表面からキー部12へと出射させている。出射増強部5cは、複数の凹部に限定されず、表面における全反射条件を壊すことができれば、複数の凸部でもよいし、光散乱剤を含むインクで印刷された印刷部としてもよい。上層筐体21と導光シート5とは、図2に示すように接触していてもよいし、隙間をあけていてもよい。
上述のように、光反射層は、漏れた光を、導光シートに戻すために挿入される層である。この光反射層3における白色印刷層3bがないと、キー部12の照明は暗くなり、良好な照明を得ることができない。光源のLEDの数をできるだけ減らして、キー部に対する明るい良好な照明を得るには、白色印刷層3bは必須である。しかし、導光シート5と、白色印刷層3bとは密着が生じやすく、両者が密着すると、その密着箇所で不要な照明がなされて光が失われる。換言すれば、密着箇所で、意図しない出射増強作用が生じ、無駄な照明がなされる。図2に示す配線モジュール10では、導光シート5と、光反射層3を形成する、白色印刷層3b/突起3dとは、突起3dがあるために密着することはない。この複数の突起は、複数の窪みであってもよく、複数の窪みも密着を防止することができる。
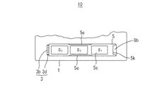
図3は、配線モジュール10を示す平面図である。FPC1の上に白色印刷層3bが、スクリーン印刷によって形成され、その白色印刷層3bの上に複数の突起3dが、やはりスクリーン印刷によって形成されている。図3では、スイッチ部を形成する相対向する電極2aの端部が認められる。また、FPC1に、光源であるLEDが配置されるLED配置部8bが設けられている。
図4は、図3に引き続いて、白色印刷層3bを被覆するように、導光シート5を配置した状態を示す図である。導光シート5の固定は、側縁の接着部5eに両面接着テープを粘着して、他方の粘着面をカバー層2または白色印刷層3bに粘着して行う。導光シート5の一端側には、LEDを3方から囲むように、LED周縁部5kが形成されている。このLED周縁部5kから、LEDの光を取り込み、全反射により内側にガイドする。導光シート5には、図2に示したように出射増強部の凹部配置パターン5cが設けられる。複数の凹部5cの密度は、光源であるLEDからの距離に応じて、S,S,Sの領域に分かれる。
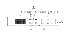
図5は、導光シート5を示す平面図である。この導光シート5には、図2に示すように凹部配置パターン5cが、領域S,S,Sについて異なる密度で設けられている。LED周縁部5kに最も近い領域Sでは、凹部5cの密度が最も低く、上記距離が大きくなるにつれて、凹部5cの密度は大きくされている。凹部配置パターン5cは、ホットスタンピング、射出成形、マイクロブラスト、レーザなどの加工方法によって得ることができる。凸部配置パターンについても同様である。
ホットスタンピングでは、任意の配置パターンが形成されたスタンパ金型を加熱して、所定の圧力のもとで導光シートに押し付けることによって、スタンパ金型に形成されたは配置パターンを導光シートに反転して転写して凹部または凸部の配置パターンを得る。また、射出成形では、製作された配置パターン金型または枠を使用することで、導光シートに凹部または凸部の配置パターンを形成する。また、マイクロブラストでは、スプレーで砂粒、ガラス粒などのような微小物質を導光シートに向けて噴射することによって、凹部または凸部のパターンを形成する。
上記のような配列密度の配分によって、出射光の光量と、各領域または各位置の導光シート5における光量との比((出射光の光量)/(各位置の導光シート内の光量))は、上記距離の増大につれて大きくなる。この結果、LED周縁部5kからの距離が大きくなり、導光シート5内の光量が少なくなった位置においても、出射する光量の割合を増やすことで、出射する光量を他の位置と同じにすることができる。領域S,S,Sは、キー部11,12,13に対応しており、上記の密度をもつ凹部配置パターン5cによって、キー部11,12,13に対して均一な照明をすることができる。
1.白色印刷層3bおよび突起3d
図6に、光反射層3、すなわち白色印刷層3bおよび突起配置パターン3dを作製する方法を示す。白色印刷層3bは、型を用いたスクリーン印刷法で印刷し、硬化処理するのがよい。白色印刷剤には、白色顔料、バインダーの樹脂、有機溶剤等を含んだ、市販のインクを用いるのがよい。バインダーの樹脂には、加熱硬化型エポキシ樹脂、加熱硬化型アクリル樹脂、加熱硬化型ポリエステル樹脂、紫外線硬化型アクリレート樹脂などを用いたものがよい。このうち特に、加熱硬化型ポリエステル樹脂は、FPCへのスクリーン印刷に適している。市販の加熱硬化型ポリエステル樹脂系インクを用いる場合、スクリーン印刷後に、通常、120℃〜150℃程度に5分間〜20分間程度保持する加熱処理または硬化処理を行う。白色印刷層3bの厚みは、5μm〜50μm程度とするのがよい。なお、白色印刷層3bは、照明にプラスに作用するのであれば、白色でなくてもよく、意匠性等を考慮した任意の色、銀色、金色などの金属光沢を有していてもよい。この場合、当然、顔料を当該色彩または金属光沢を発色するものとする。
上記のスクリーン印刷および硬化処理によって形成された白色印刷層3bの上に、突起配置パターン3dを形成する。突起3dは、やはりスクリーン印刷法によって、白色印刷層3b(または反射シート)上に形成することができる。材料は、白色印刷層3bと同じ白色の熱硬化型ポリエステル樹脂系インクを用いてもよいし、異なってもよい。ただし、光を反射する材料とするのがよい。突起配置パターンを、加熱硬化型ポリエステル樹脂系インクを用いてスクリーン印刷した場合、やはり白色印刷層と同様の加熱処理を行うのがよい。突起の高さは、2μm〜40μm程度とするのがよく、また根元での直径は、0.1mm〜1mmとするのがよい。なお、突起3dは横(水平)断面が円状のものとしたが、細長い矩形状や三角形などどのようなものでもよい。窪みの横断面の形状についても同様である。
白色印刷層3bは、印刷層ではなく、上記印刷層と同程度の厚みの反射シートであってもよい。この反射シートの色彩についても、上記印刷層と同様に、どのような色、光沢であってもよい。また、突起配置パターン3dについても、上記のスクリーン印刷法によるほか、突起を貼り付けてもよい。
また、白色印刷層3bと突起配置パターン3dとが一体になった反射シートであってもよい。そのような突起配置パターン付き白色シートは、常用されている異形シート作製方法によって得ることができる。
2.導光シート5
導光シート5の材料には、屈折率が空気の屈折率(ほぼ1)より高く、たとえば屈折率が1.3以上で、透光性があれば任意の材料を用いることができる。たとえばポリカーボネート樹脂、アクリル系樹脂、シクロオレフィン系樹脂、ポリウレタン、シリコンなどを用いることができる。導光シート5の厚みは、キーによる押圧力を伝えやすく、導光が可能な20μm〜500μmm程度とするのがよい。
3.導光シート5における出射増強部
キー全体にわたって出射される光の明るさが揃うように、LED周縁部5kからの距離に応じて、凹部や凸部の配置パターン内の配置密度、配置パターンの大きさや、配置パターン間の間隔を調整することができる。以下に説明する導光シートの出射増強部は、どれも照明を均一にするためのものである。
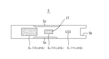
図7は、光散乱剤を含むインクによる印刷パターン17の大きさを、LED周縁部5kからの距離が大きくなるにつれて、大きくする構造を示す。上記の印刷パターンは、導光シートの後面に、光散乱剤を含むインクを所定のサイズに印刷することで、形成される。照明の明るさを各キー位置で同じにするには、図示はしないが、印刷パターンの間隔を対応領域ごとに変えることでも実現できる。また、印刷パターンのサイズは同じにして、配合する光散乱剤の密度を、LED周縁部5kからの距離が大きくなるにつれて、大きくしてもよい。
図8は、図1のキー部11,12,13のそれぞれに文字形状の照明をするための導光シート5を示す図である。この導光シート5の出射増強部は、複数の凹部の配置5cで構成されており、その複数の凹部5cが文字K、E、Yの形状に分布している。そして、均一な照明になるように、LED周縁部5kからの距離につれて、凹部の密度を大きくしてある。これによって、キー部13にK状、キー部12にE状,キー部11にY状の照明を、均一な照度で行うことができる。上記の凹部または凸部は、横(水平)断面が円でも、細長い矩形でも、三角形でもよい。
(実施の形態2)
図9は、本発明の実施の形態2における携帯電話機の部分断面図である。本実施の形態では、FPC1のスイッチ部は、固定接点2cと絶縁層2eとを含む。そのFPC1の上に動接点2dとドームシート2fとが配置される。換言すれば、動接点2dおよびドームシート2fが、FPC(固定接点2cおよび絶縁層2eを含む)1と、白色印刷層3bとの間に、挿入される。配線モジュール10におけるスイッチにドームスイッチを用い、スイッチが、固定接点2cと、絶縁層2eと、動接点2dと、ドームシート2fとで構成される点が、実施の形態1と相違する。
白色印刷層3bは、ドームシート2f上に、ドームに沿って積層され、その白色印刷層3b上に、複数の突起3dが印刷されている。導光シート5は、突起3dに接しながら白色印刷層3b上に位置するが、突起3dが全面にあるために、白色印刷層3bと密着する箇所を生じない。この結果、容量変化による電圧変化検知型のスイッチに比べれば、薄型化は徹底しないが、ドームスイッチの使用が不可避の場合、光の有効利用を図りながら、薄型化を推進することができる。
(他の実施の形態)
実施の形態1および2以外の変形例について、言及する。
1.プリント配線基板は、フレキシブルプリント配線板に限定されず、硬質のプリント配線基板であってもよい。
2.光反射層は、印刷層に限定されず、反射シートであってもよい。色彩、光沢は任意である。
3.導光シートに設けられる出射増強部は、凹部配置パターンに限定されず、凸部配置パターン、光散乱剤を含むインクによる印刷パターンなど、表面での全反射条件を壊す構造であれば、何でもよい。
また、照明を均一にするために、光源からの距離の増大につれて、調整するものは、出射増強部の領域の大きさでもよいし、出射増強の強度を増やすための構成要素の密度(凹部または凸部の密度、光散乱剤の密度、凹部または凸部配置パターンの間隔、印刷層パターンの間隔など)を大きくしてもよい。
4.光源は、LEDについて言及したが、LEDに限定されず、どのような種類の光源であってもよい。たとえば半導体レーザまたはレーザダイオード(LD)であってもよい。
上記において、本発明の実施の形態および実施例について説明を行ったが、上記に開示された本発明の実施の形態および実施例は、あくまで例示であって、本発明の範囲はこれら発明の実施の形態に限定されない。本発明の範囲は、特許請求の範囲の記載によって示され、さらに特許請求の範囲の記載と均等の意味および範囲内でのすべての変更を含むものである。
本発明により、携帯電話機等において、簡単な機構によって、確実で適切なキー部の照明を得ながら、薄型化を推進することができる。
本発明の実施の形態1における携帯電話機を示す斜視図である。 図1の携帯電話機のキー部の断面図である。 図1の携帯電話機に用いる配線モジュールにおいて、光反射層を形成した状態を示す平面図である。 図3の光反射層の上に導光シートを配置した状態を示す平面図である。 図4の導光シートを示す平面図である。 図2に示す配線モジュールの白色印刷層および突起配置パターンを形成する方法のフローチャートである。 図5とは別の本発明の導光シートを示す平面図である。 上記とは異なる本発明の導光シートを示す平面図である。 本発明の実施の形態1における携帯電話機のキー部の断面図である。
符号の説明
1 フレキシブルプリント配線板(FPC)、2a 電極、2b カバー層、2c 固定接点、2d 動接点、2e 絶縁層、2f ドームシート、3 光反射層、3b 白色印刷層、3d 突起(配置パターン)、5 導光シート、5c 凹部(配置パターン)、5e 接着部、5k LED周縁部、8b LED固定部、10 配線モジュール、11,12,13 キー部、17 光散乱剤を含む印刷層、21 上層筐体、22 下層筐体、31 表示画面、50 携帯電話機。

Claims (8)

  1. 光源の配置部およびスイッチ部を有するプリント配線板と、
    前記プリント配線板上に積層された光反射層と、
    前記光源からの光を内部に導光して、前記光反射層と反対側のシート面から光を出射するために、前記光反射層に接するように配置された導光シートとを備え、
    前記光反射層の、前記導光シート側の面に、複数の、突起または窪みが設けられていることを特徴とする、配線モジュール。
  2. 前記光反射層が印刷された層であることを特徴とする、請求項1に記載の配線モジュール。
  3. 前記プリント配線板がフレキシブルプリント配線板であることを特徴とする、請求項1または2に記載の配線モジュール。
  4. 前記スイッチ部が、容量変化による、電圧変化または電荷量変化を検知するための、相対向する電極を有することを特徴とする、請求項1〜3のいずれか1項に記載の配線モジュール。
  5. 前記導光シートには、前記光反射層と反対側の面から光を出射させるために、前記光反射層と反対側の面または前記光反射層側の面に、複数の、凹部もしくは凸部の配置パターンまたは光散乱剤を含む印刷パターンを設け、かつ、前記光源からの距離によらず前記出射される光の量を揃えるために、前記パターンの密度が前記距離が遠い位置ほど大きくなるように、前記パターンの大きさを前記距離が遠い位置ほど大きくする、または、前記パターンのパターン間の間隔を前記距離が遠い位置ほど小さくすることを特徴とする、請求項1〜4のいずれか1項に記載の配線モジュール。
  6. 前記印刷パターン内の光散乱剤の密度を前記距離が遠い位置ほど大きくするか、または前記印刷パターン内の光散乱剤の種類を前記距離が遠い位置ほど光反射性能の高いものとすることを特徴とする、請求項5に記載の配線モジュール。
  7. 前記スイッチ部に対応する位置に、前記配置パターンおよび/または印刷パターンが文字の形態に形成されていることを特徴とする、請求項5または6に記載の配線モジュール。
  8. 請求項1〜7のいずれか1項に記載の配線モジュールを備えることを特徴とする、電子機器。
JP2008191680A 2008-07-25 2008-07-25 配線モジュールおよび電子機器 Active JP4904599B2 (ja)

Priority Applications (1)

Application Number Priority Date Filing Date Title
JP2008191680A JP4904599B2 (ja) 2008-07-25 2008-07-25 配線モジュールおよび電子機器

Applications Claiming Priority (1)

Application Number Priority Date Filing Date Title
JP2008191680A JP4904599B2 (ja) 2008-07-25 2008-07-25 配線モジュールおよび電子機器

Publications (2)

Publication Number Publication Date
JP2010033730A true JP2010033730A (ja) 2010-02-12
JP4904599B2 JP4904599B2 (ja) 2012-03-28

Family

ID=41737979

Family Applications (1)

Application Number Title Priority Date Filing Date
JP2008191680A Active JP4904599B2 (ja) 2008-07-25 2008-07-25 配線モジュールおよび電子機器

Country Status (1)

Country Link
JP (1) JP4904599B2 (ja)

Cited By (1)

* Cited by examiner, † Cited by third party
Publication number Priority date Publication date Assignee Title
CN102737879A (zh) * 2011-03-30 2012-10-17 阿尔卑斯电气株式会社 导光片、使用它的带触点弹簧的片以及使用它的开关装置

Citations (13)

* Cited by examiner, † Cited by third party
Publication number Priority date Publication date Assignee Title
JPS62147613A (ja) * 1985-12-20 1987-07-01 松下電器産業株式会社 入力装置
JPH01245220A (ja) * 1988-03-28 1989-09-29 Tosoh Corp 液晶表示装置
JPH06317797A (ja) * 1993-05-07 1994-11-15 Mitsubishi Petrochem Co Ltd 面光源装置
JPH08110411A (ja) * 1994-10-07 1996-04-30 Noritake Co Ltd 発光パネル装置
JPH08273474A (ja) * 1995-03-29 1996-10-18 Shin Etsu Polymer Co Ltd 照光式押釦スイッチ装置、照光式押釦スイッチ装置用カバー部材およびその製造方法
JP2000165223A (ja) * 1998-11-27 2000-06-16 Matsushita Electric Ind Co Ltd 入力装置およびこれを用いた電子機器
JP2001266629A (ja) * 2000-03-24 2001-09-28 Kimoto & Co Ltd 反射フィルム
JP2004006315A (ja) * 2002-04-16 2004-01-08 Faurecia Industries 容量型制御部材
JP2004009591A (ja) * 2002-06-07 2004-01-15 Mitsui Chemicals Inc 反射体
JP2004012921A (ja) * 2002-06-07 2004-01-15 Mitsui Chemicals Inc 反射体及びそれを用いたサイドライト型バックライト装置および液晶表示装置
JP2005032703A (ja) * 2003-06-20 2005-02-03 Matsushita Electric Ind Co Ltd 照光装置および照光入力装置
JP2005063887A (ja) * 2003-08-19 2005-03-10 Fujitsu Ltd キー照明構造
JP2006171585A (ja) * 2004-12-17 2006-06-29 Enplas Corp 反射部材、面光源装置及び表示装置

Patent Citations (13)

* Cited by examiner, † Cited by third party
Publication number Priority date Publication date Assignee Title
JPS62147613A (ja) * 1985-12-20 1987-07-01 松下電器産業株式会社 入力装置
JPH01245220A (ja) * 1988-03-28 1989-09-29 Tosoh Corp 液晶表示装置
JPH06317797A (ja) * 1993-05-07 1994-11-15 Mitsubishi Petrochem Co Ltd 面光源装置
JPH08110411A (ja) * 1994-10-07 1996-04-30 Noritake Co Ltd 発光パネル装置
JPH08273474A (ja) * 1995-03-29 1996-10-18 Shin Etsu Polymer Co Ltd 照光式押釦スイッチ装置、照光式押釦スイッチ装置用カバー部材およびその製造方法
JP2000165223A (ja) * 1998-11-27 2000-06-16 Matsushita Electric Ind Co Ltd 入力装置およびこれを用いた電子機器
JP2001266629A (ja) * 2000-03-24 2001-09-28 Kimoto & Co Ltd 反射フィルム
JP2004006315A (ja) * 2002-04-16 2004-01-08 Faurecia Industries 容量型制御部材
JP2004009591A (ja) * 2002-06-07 2004-01-15 Mitsui Chemicals Inc 反射体
JP2004012921A (ja) * 2002-06-07 2004-01-15 Mitsui Chemicals Inc 反射体及びそれを用いたサイドライト型バックライト装置および液晶表示装置
JP2005032703A (ja) * 2003-06-20 2005-02-03 Matsushita Electric Ind Co Ltd 照光装置および照光入力装置
JP2005063887A (ja) * 2003-08-19 2005-03-10 Fujitsu Ltd キー照明構造
JP2006171585A (ja) * 2004-12-17 2006-06-29 Enplas Corp 反射部材、面光源装置及び表示装置

Cited By (1)

* Cited by examiner, † Cited by third party
Publication number Priority date Publication date Assignee Title
CN102737879A (zh) * 2011-03-30 2012-10-17 阿尔卑斯电气株式会社 导光片、使用它的带触点弹簧的片以及使用它的开关装置

Also Published As

Publication number Publication date
JP4904599B2 (ja) 2012-03-28

Similar Documents

Publication Publication Date Title
KR100695020B1 (ko) 도광필름을 구비한 발광 키패드 및 도광필름
JP4358204B2 (ja) キーパッド装置および携帯型端末機
CN202190307U (zh) 便携式通信装置的键盘装置及便携式通信装置
JP4732230B2 (ja) キーパッド、キーパッドアセンブリ及び携帯端末
CN100557746C (zh) 用于便携式终端的键盘组件和便携式终端
JP2010092738A (ja) 導光シート、配線モジュールおよび電子機器
JP5029572B2 (ja) 導光板、配線モジュールおよび電子機器
JP5083692B2 (ja) 配線モジュール、その製造方法、および電子機器
US20080100580A1 (en) Keypad assembly
TW201025384A (en) Light diffuser actuator film (LDAF) keypad module
CN101252049A (zh) 导光片以及使用其的可动接点体和开关
US8586887B2 (en) Membrane circuit board and luminous keyboard using same
TWM534889U (zh) 具薄膜開關功能之背光模組
CN202585212U (zh) 发光键盘
JP4398711B2 (ja) 照光式キーパッドおよび照光構造
JP4904599B2 (ja) 配線モジュールおよび電子機器
CN201146131Y (zh) 具有反射结构的薄型按键模块
KR100749124B1 (ko) 도광 키판 및 이를 구비한 발광 키패드
KR100649484B1 (ko) 도광필름을 구비한 발광 키패드
CN102253720A (zh) 发光键盘
KR200438047Y1 (ko) 광원 일체형 도파로 시트
CN103003906A (zh) 导光板及使用了该导光板的可动接点体
KR100695520B1 (ko) 금속재질감을 갖는 휴대폰용 이엘 키패드 및 그 제조방법
KR100928725B1 (ko) 이동통신 단말기용 키패드 및 그 제조방법
JP2010153042A (ja) キーモジュール、導光板および電子機器

Legal Events

Date Code Title Description
A977 Report on retrieval

Free format text: JAPANESE INTERMEDIATE CODE: A971007

Effective date: 20110301

A131 Notification of reasons for refusal

Free format text: JAPANESE INTERMEDIATE CODE: A131

Effective date: 20110413

A521 Request for written amendment filed

Free format text: JAPANESE INTERMEDIATE CODE: A523

Effective date: 20110608

TRDD Decision of grant or rejection written
A01 Written decision to grant a patent or to grant a registration (utility model)

Free format text: JAPANESE INTERMEDIATE CODE: A01

Effective date: 20111215

A01 Written decision to grant a patent or to grant a registration (utility model)

Free format text: JAPANESE INTERMEDIATE CODE: A01

A61 First payment of annual fees (during grant procedure)

Free format text: JAPANESE INTERMEDIATE CODE: A61

Effective date: 20111222

FPAY Renewal fee payment (event date is renewal date of database)

Free format text: PAYMENT UNTIL: 20150120

Year of fee payment: 3

R150 Certificate of patent or registration of utility model

Free format text: JAPANESE INTERMEDIATE CODE: R150

Ref document number: 4904599

Country of ref document: JP

Free format text: JAPANESE INTERMEDIATE CODE: R150

R250 Receipt of annual fees

Free format text: JAPANESE INTERMEDIATE CODE: R250

R250 Receipt of annual fees

Free format text: JAPANESE INTERMEDIATE CODE: R250

R250 Receipt of annual fees

Free format text: JAPANESE INTERMEDIATE CODE: R250

R250 Receipt of annual fees

Free format text: JAPANESE INTERMEDIATE CODE: R250

R250 Receipt of annual fees

Free format text: JAPANESE INTERMEDIATE CODE: R250

R250 Receipt of annual fees

Free format text: JAPANESE INTERMEDIATE CODE: R250

R250 Receipt of annual fees

Free format text: JAPANESE INTERMEDIATE CODE: R250

R250 Receipt of annual fees

Free format text: JAPANESE INTERMEDIATE CODE: R250

R250 Receipt of annual fees

Free format text: JAPANESE INTERMEDIATE CODE: R250

R250 Receipt of annual fees

Free format text: JAPANESE INTERMEDIATE CODE: R250

R250 Receipt of annual fees

Free format text: JAPANESE INTERMEDIATE CODE: R250