JP2010033593A - 半導体集積回路装置の製造方法 - Google Patents

半導体集積回路装置の製造方法 Download PDF

Info

Publication number
JP2010033593A
JP2010033593A JP2009250101A JP2009250101A JP2010033593A JP 2010033593 A JP2010033593 A JP 2010033593A JP 2009250101 A JP2009250101 A JP 2009250101A JP 2009250101 A JP2009250101 A JP 2009250101A JP 2010033593 A JP2010033593 A JP 2010033593A
Authority
JP
Japan
Prior art keywords
inspection
substrate
height
solder
pad
Prior art date
Legal status (The legal status is an assumption and is not a legal conclusion. Google has not performed a legal analysis and makes no representation as to the accuracy of the status listed.)
Granted
Application number
JP2009250101A
Other languages
English (en)
Other versions
JP4892602B2 (ja
Inventor
Norio Watabe
典生 渡部
Current Assignee (The listed assignees may be inaccurate. Google has not performed a legal analysis and makes no representation or warranty as to the accuracy of the list.)
Renesas Technology Corp
Original Assignee
Renesas Technology Corp
Priority date (The priority date is an assumption and is not a legal conclusion. Google has not performed a legal analysis and makes no representation as to the accuracy of the date listed.)
Filing date
Publication date
Application filed by Renesas Technology Corp filed Critical Renesas Technology Corp
Priority to JP2009250101A priority Critical patent/JP4892602B2/ja
Publication of JP2010033593A publication Critical patent/JP2010033593A/ja
Application granted granted Critical
Publication of JP4892602B2 publication Critical patent/JP4892602B2/ja
Anticipated expiration legal-status Critical
Expired - Fee Related legal-status Critical Current

Links

Images

Landscapes

  • Length Measuring Devices By Optical Means (AREA)
  • Image Processing (AREA)
  • Image Analysis (AREA)

Abstract

【課題】半導体集積回路装置の製造技術において、データ作成が簡単で不良部の目視確認が容易な、基板上に印刷された半田の2D・3D検査技術を提供する。
【解決手段】2D・3D半田印刷検査装置による基板の検査工程において、検査装置に2D検査機能と3D検査機能を実装し、最初に3D検査を実行し、続いて2D検査を実行することで、検査終了と同時に不良判定パッド(印刷半田)の部分の2D撮像画像を拡大表示することを可能とし、それにより作業者に効率的な目視確認環境を提供する。また、検査データ作成時に生基板を測定することにより、検査装置が自動で生成した独自の高さ測定基準とパッド上面高さとの関係を調べ、これにより、検査においてパッド上面基準による印刷半田の高さ・体積の測定を可能とする。
【選択図】図22

Description

本発明は、半導体集積回路装置の製造技術に関し、特に、基板上に印刷された半田を3次元(以下、3Dと称する)および2次元(以下、2Dと称する)で検査する工程に適用して有効な技術に関する。
たとえば、半導体集積回路装置の製造技術において、半田などを検査する技術に関しては、日本特開2000−193432号公報(特許文献1)、日本特開2000−22326号公報(特許文献2)に記載される技術などが挙げられる。
特許文献1には、シリコンウエハ上のバンプの計測技術において、半田の高さや面積などの2D・3D計測を可能とし、3D計測の一連の処理の前もしくは後に2D計測を行う段階を付加することができる技術が記載されている。
特許文献2には、半田検査技術において、基板のパッド面を2Dで測定し、この測定結果と、パッド面に半田を搭載した半田搭載後の状態とから半田の搭載状態の良否を検出し、ここでエラーとならなかったものに関しては第2段階として3Dで検査することができる技術が記載されている。
特開2000−193432号公報 特開2000−22326号公報
ところで、半導体集積回路装置の製造技術において、特に、基板上に印刷された半田を検査する技術に関しては、本発明者が検討した結果、以下のようなことが明らかとなった。
以下において、(1)印刷半田の高さ・体積測定における高さ測定基準の確実な検出方法、(2)完全自動設定でパッド上面基準による印刷半田の高さ・体積を測定する方法、(3)目視判定に適した3D半田印刷検査装置、の各観点から順に説明する。
(1)印刷半田の高さ・体積測定における高さ測定基準の確実な検出方法
3D検査を半田印刷検査に適用するにあたって、実際の検査対象には基板の反りがあるということと、印刷半田上面と基板面(レジスト面)とでは、スリット光が当った部分のエリア画像上での明度値で最大で100対1位の大きな差があるという難しい問題がある。
この問題に対して、これまでの技術では、たとえば、基板の反りに追随するようにレーザとPSD(Position Sensitive Detector)を上下に駆動するZ軸機構を付加するものがある。印刷半田と基板面の明度の違い(反射率の違い)については、印刷半田からの反射光検出用のPSDと、基板面からの反射光を検出するPSDの2つを実装することで対応している。しかし、この技術では、PSDを2つ実装するなど、コスト的な課題が発生する。
(2)完全自動設定でパッド上面基準による印刷半田の高さ・体積を測定する方法
たとえば、これまでの技術では、3D検査用データを作成するにあたって、作業者による高さ測定基準点の設定という作業が不可欠であった。すなわち、クリーム半田印刷後の基板上面は、クリーム半田、金あるいは銅あるいは半田コートパッド(印刷半田に隠れてほとんど露出していないパッド)、基材の上を直接覆うレジスト、配線パターン上を覆うレジストなどから構成されている。
この場合に、メタルマスクのガーバデータ(開口部の形状、面積、位置を記述した設計データ)を読取ることで、基板上のどの位置にどのくらいのクリーム半田が転写されるかを知ることができる。検査装置は、クリーム半田が転写されるべき領域を測定することで、印刷半田上面の高さを、検査装置の測定基準からの値として測定することができる。しかし、印刷半田の高さは、パッド上面から測定しなければならない。
また、基板が完全に剛体で全く反りがなければ、検査装置の測定基準と基板パッド上面を予め一致させることができる。しかし、実際の基板では、最大で±1.5mm程度の反りが見込まれるので、検査装置の測定基準と基板パッド上面を予め一致させることは不可能である。
そこで、検査時に、印刷半田上面の測定とは別に、測定基準となるべきパッド上面の測定が必要となってくる。しかも、基板の反りの存在を考えると、測定対象である印刷半田ごとに、その近傍に高さ測定基準を設ける必要がある。
しかし、印刷後の基板ではパッド上面の露出はわずかである。もう1つの基準面として、レジストに覆われた配線パターン(内層パターン)が考えられるが、基板上での存在場所が限定される。しかも、半田印刷検査装置は、通常、内層パターンの存在場所の判るデータを持ち合わせていない。そこで、これまでの技術では、作業者による高さ測定基準点の設定が不可欠作業になっているという課題がある。
(3)目視判定に適した3D半田印刷検査装置
3D検査装置は、通常、検査対象を2D撮像する手段を持たないので、作業者に対して目視確認に必要な対象物の拡大画像を提供することができない。これに対して、2D検査と3D検査の共用機では、3D検査で不良と判定した部分の2D拡大画像を、作業者に対して提供することができる。ただし、2D・3D共用機でも、最初に2D検査を実施し、次に3D検査を実施するというシーケンスでは実現が大変難しくなる。
たとえば、生産工程に組み込まれた検査装置では、通常、撮像画像の保存は行わない。画像データは容量が大きいので、保存するとなると記憶装置に書き込むのに無視できない時間が発生し、しかも記憶装置のかなりの部分を占有するので現実的でないからである。
そこで通常、検査装置が不良と判定した部分に限って、必要に応じて撮像画像を保存するというのが一般的である。すると、2D検査を最初に実行し、その後3D検査を実行するシーケンスであると、3D検査では不良であるが2D検査では良品判定となる検査対象の場合、その2D画像は保存されないことになる。よって、検査が終了した時点では、作業者の目視確認に必要な2D撮像画像を提供できないことになる。
もし、目視確認用2D画像を提供するためには、3D検査では不良で2D検査で良品判定となったパッドについて、もう一度、2Dカメラでの撮像動作を行わなければならない。その撮像動作の間は、作業者は目視確認を行うことができないという課題が発生する。
本発明の目的は、半導体集積回路装置の製造技術において、データ作成が簡単で不良部の目視確認が容易な、基板上に印刷された半田の2D・3D検査技術を提供することにある。
本発明の前記ならびにその他の目的と新規な特徴は、本明細書の記述および添付図面から明らかになるであろう。
本願において開示される発明のうち、代表的なものの概要を簡単に説明すれば、次のとおりである。
本発明は、基板上に半田を印刷する工程、基板上に印刷された半田を検査する工程、基板上に印刷された半田上に回路部品を搭載する工程、を含む半導体集積回路装置の製造方法に適用され、検査する工程は、基板上に印刷された半田を3Dで検査する工程、この後に基板上に印刷された半田を2Dで検査する工程、3Dの検査での不良部を2Dで拡大表示する工程、を含むものである。すなわち、2D検査機能と3D検査機能を実装し、最初に3D検査を実行し、続いて2D検査を実行することで、検査終了と同時に不良判定パッド(印刷半田)の部分の2D撮像画像を拡大表示することを可能とし、それにより作業者に効率的な目視確認環境を提供することを可能としたものである。
また、本発明は、基板上に半田を印刷する工程、半田を印刷する前の生基板を3次元で測定してパッド上面からの高さ方向の基準面を求める工程、基板上に印刷された半田を基準面を基準に検査する工程、基板上に印刷された半田上に回路部品を搭載する工程、を含む半導体集積回路装置の製造方法に適用されるものである(半田を印刷する前のパッド上面が露出した基板のパッド上面及び少なくとも他の一つの基板上面の半田がのらない部分の高さ方向の位置関係を測定しておき、実際の半田が印刷された基板で、そのデータに基づいて、パッドからの高さを算出することを含む)。すなわち、検査データ作成時に、半田を印刷する前の生基板を測定することにより、検査装置が自動で生成した独自の高さ測定基準とパッド上面高さとの関係を調べ、これにより、検査においてパッド上面基準による印刷半田の高さ・体積の測定を可能としたものである。
本願において開示される発明のうち、代表的なものによって得られる効果を簡単に説明すれば以下のとおりである。
検査データ作成時の手動作成作業を省略してデータ作成に関わるコストを低減することができ、不良判定パッドの目視確認を容易にしてマン・マシンシステムとしての総合的な効率を向上させて運用コストを低減することができる、基板上に印刷された半田の2D・3D検査技術を提供することが可能となる。
本発明の一実施の形態の2D・3D半田印刷検査装置(カメラ1眼タイプ)の全体を示した構成図である。 本発明の一実施の形態において、3D測定を行う光学系の基本構成と撮像視野の関係を示した図である。 本発明の一実施の形態において、半田にスリット光が当る位置と半田の高さの関係について示した図である。 (a)〜(c)は本発明の一実施の形態において、基板上の3D測定検査を行いたい領域と撮像視野の位置関係を示した図である。 本発明の一実施の形態において、基板に対する3D撮像領域と撮像視野の位置関係を示した図である。 本発明の一実施の形態において、カメラの撮像素子上における3D撮像領域を示した図である。 本発明の一実施の形態において、3D撮像領域におけるスリット光の典型的な写り方を示した図である。 (a)〜(c)は本発明の一実施の形態において、3D撮像領域におけるスリット光の実際の写り方を示した図である。 本発明の一実施の形態において、スリット光位置から測定対象物の高さを測定し、その結果を格納するための記録部分の構造を示した図である。 本発明の一実施の形態において、測定対象物の高さ記録データから測定対象の3DイメージをCGにて再現した図である。 (a),(b)は本発明の一実施の形態において、一般的な基板の構造とA−A’断面を示した図である。 本発明の一実施の形態において、高さ測定基準線、高さ測定基準面とパッド表面高さの位置関係を示した図である。 本発明の一実施の形態において、半田印刷検査装置の検査データ(パッドデータ)の基本的な構造を示した図である。 本発明の一実施の形態において、半田印刷検査装置の視野割付データの基本的な構造を示した図である。 本発明の一実施の形態において、基板検査データの作成手順を示したフローチャートである。 本発明の一実施の形態において、基板の基材と配線パターンを示した図である。 本発明の一実施の形態において、基材、配線パターン、レジストから構成された一般的な基板の構造・外観を示した図である。 (a)〜(c)は本発明の一実施の形態において、図17のA−A’、B−B’、C−C’断面を示した図である。 本発明の一実施の形態において、基板上にクリーム半田が転写された状態を示した図である。 (a)〜(c)は本発明の一実施の形態において、図19のA−A’、B−B’、C−C’断面を示した図である。 本発明の一実施の形態において、3D検査処理手順を示したフローチャートである。 本発明の一実施の形態において、基板の検査手順を示したフローチャートである。 本発明の一実施の形態において、検査装置の表示装置の表示画面上における不良部の拡大画像の表示位置を示した図である。 (a)〜(c)は本発明の一実施の形態において、搭載部品としてのQFPの外観図・外形寸法図である。 本発明の一実施の形態において、クリーム半田印刷済み基板にQFPが搭載された様子を模式的に表した図である。 本発明の一実施の形態において、図25のB−B’断面を示した図である。 本発明の一実施の形態において、実際の携帯電話用の基板の印刷パターンを示した図である。 (a)〜(c)は本発明の一実施の形態において、搭載部品としてのBGA(CSP)の外観図・外形寸法図である。 (a)〜(c)は本発明の一実施の形態において、搭載部品としてのコネクタの外観図・外形寸法図である。 本発明の一実施の形態において、2D・3D半田印刷検査装置(カメラ2眼タイプ)の全体を示した構成図である。 (a),(b)は本発明の一実施の形態において、2D・3D半田印刷検査装置(スリット照明装置2本タイプ)の全体を示した構成図である。 本発明の一実施の形態において、高さ測定不能面の存在を説明するための図である。 本発明の一実施の形態において、1つの回路部品となるべき基板が複数個連結した多面取り基板を示した図である。 本発明の一実施の形態において、MCM構造の半導体集積回路装置を示した図である。 本発明の一実施の形態において、半導体集積回路装置を製造する半導体製造装置を示した構成図である。
以下の実施の形態では、特に必要なとき以外は同一または同様な部品の説明を原則として繰り返さない。
さらに、以下の実施の形態では、便宜上その必要があるときは、複数のセクションまたは実施の形態に分割して説明するが、特に明示した場合を除き、それらは互いに無関係なものではなく、一方は他方の一部または全部の変形例、詳細、補足説明などの関係にある。
また、以下の実施の形態において、要素の数など(個数、数値、量、範囲などを含む)に言及する場合、特に明示した場合および原理的に明らかに特定の数に限定される場合などを除き、その特定の数に限定されるものではなく、特定の数以上でも以下でもよい。
さらに、以下の実施の形態において、その構成要素(要素ステップなどを含む)は、特に明示した場合および原理的に明らかに必須であると考えられる場合などを除き、必ずしも必須のものではないことはいうまでもない。
同様に、以下の実施の形態において、構成要素などの形状、位置関係などに言及するときは、特に明示した場合および原理的に明らかにそうでないと考えられる場合などを除き、実質的にその形状などに近似または類似するものなどを含むものとする。このことは、上記数値および範囲についても同様である。
なお、本願で半導体集積回路装置と言うときは、一般の半導体集積回路チップの外、配線基板に単数または複数の半導体集積回路チップまたは電子部品(電子素子)を搭載した電子装置を含むものとする。
以下において、本発明の実施の形態の概要である、(1)印刷半田の高さ・体積の測定原理、(2)印刷半田の高さ・体積測定における高さ測定基準の確実な検出方法、(3)完全自動設定でパッド面基準による印刷半田の高さ・体積を測定する方法、(4)目視判定に適した3D半田印刷検査方法、を順に説明する。
(1)印刷半田の高さ・体積の測定原理
本発明による検査装置は、測定対象物に対して斜め上方からスリット光を照射し、その状況を測定対象物真上に設置したエリアカメラ(CMOSトランジスタ、MOSトランジスタ、CCDなどの撮像素子がアレイ状に配置され、このアレイ状に配置された撮像素子でエリア状に測定対象物を撮すカメラ。言うまでもないことであるが、結果的に2次元画像を取得可能なカメラであれば、エリアカメラに限らず、その他のカメラであってもかまわない)で撮像することにより、測定対象物の高さおよび体積を測定する方式である。
スリット光は、エリアカメラの視野幅以上の長さがあり、そのスリット幅はカメラ画素での5画素程度であることが望ましい。1024画素×1024画素のカメラを分解能20μm/画素で使用する場合、スリット光サイズは、最低長さ20.48mm×幅0.1mmとなる。
スリット光を基板面から45°傾けて設置したとすると、エリアカメラ上に撮像される印刷半田上面のスリット光と基板上のスリット光の位置は、丁度、半田の高さ分だけずれることになる。よって、このずれ量を測定することで、スリット光の当った部分の基板からの高さを測定することが可能となる。
これだけでは、スリット光の当った線分部分だけの高さ情報しか得られない。そこで、エリアカメラとスリット光のユニットを測定対象に対して相対的に動作させ、スリット光の当る位置を少しずつ変えた画像を多数枚撮像する。画像の撮像間隔は、光学系の分解能に相当する距離を移動するごとに1枚の画像を撮像するように設定する。この多数枚の画像から、測定対象表面のあらゆる点の高さを計測することができる。また、この高さ情報を積分すれは体積値が得られる。
一般的なクリーム半田印刷厚さは100〜160μmである。最も厚い場合でも200μmを越えることはないと考えられる。よって、高さに伴うスリット光のずれも、通常200μmを越えることはない。これは、分解能20μm/画素で撮像する条件では、エリアカメラ上で10画素に相当する。
よって、エリアカメラで撮像する範囲は、スリット光の形状に合わせた横長の領域でよい。一例として分解能20μm/画素では、横1024画素×縦32〜256画素という範囲を撮像すれば、基板上の印刷半田の高さ・体積を測定することができる。印刷半田高さに合わせてエリアカメラの高さ方向の撮像範囲をぎりぎりまで小さくすることで、検査装置の処理時間を短くすることができる。
(2)印刷半田の高さ・体積測定における高さ測定基準の確実な検出方法
分解能20μm/画素で20.48mm×20.48mmの領域の高さ・体積測定を行う場合、1024画素×32〜256画素の長方形画像を1024枚撮像することになる。
最初の1枚を撮像するときには、高さ方向の測定範囲を広げた撮像範囲を設定し、かつ、基板上面が検出できるように露光時間を長くして撮像する。1枚目の画像から基板上面高さを検出する。その検出結果に基づき、2枚目以降の撮像範囲をシフトさせる。
2枚目から1023枚目までは、高さ方向の撮像範囲を印刷半田高さに合わせたギリギリ小さな範囲とし、かつ、半田上面が検出できるように露光時間を短くして撮像する。最後の1024枚目では、再び基板上面が検出できるように露光時間を長くして撮像する。
最初の1枚目と最後の1024枚目で、20.48mm×20.48mm領域の上端と下端における基板上面の高さを計測することができる。これらから、高さ測定基準面(基板上面基準)を定義することができる。
2枚目から1023枚目までの画像からは、印刷半田上面の高さを計測することができる。この測定結果に、先の高さ測定基準面(基板上面基準)の結果を反映させれば、印刷半田の高さ測定値は、基板の上面から測定した場合の値と同一となり、基板の反りの影響を受けない。
以上のような、印刷半田の高さ・体積測定における高さ測定基準の確実な検出方法によれば、以下のような効果を得ることができる。
これまでの技術では、3D検査を半田印刷検査に適用するにあたって、実際の検査対象には基板の反りがあるということと、印刷半田上面と基板面(レジスト面)とでは、スリット光が当った部分のエリア画像上での明度値で最大で100対1位の大きな差があるという難しい問題があるが、本発明の技術は、これらの問題を最小限の追加コストで解決可能とするものである。
すなわち、3D検査技術では、高さ測定基準面(基板上面基準)検出時は、エリアカメラ内における撮像範囲を広く設定することで、基板の反りに追随することができる。使用するセンサが1024×1024画素、分解能が20μm/画素であれば、撮像範囲を最大にした時、理論上20.48mmもの基板高さの変動に対応することができる。
また、本発明の技術では、1枚の3D画像を作り出すのにスリット光撮像画像を1024枚撮像する。1枚1枚は、それぞれ独立に撮像することができるので、それぞれで露光条件などを簡単に変更できるという構造上の利点がある。それを活用することで、基板上面検出に使用するスリット画像撮像の時は、基板上面の反射率に合わせた露光時間を設定し、印刷半田上面検出に使用するスリット画像撮像の時は、印刷半田の反射率に合わせた露光時間を設定するということが簡単にできる。
以上のように、基本構成ユニットだけで、基板の反りへの対応と、基板上面と印刷半田という反射率の著しく異なる対象の検出が可能となる。
(3)完全自動設定でパッド面基準による印刷半田の高さ・体積を測定する方法
半田印刷検査装置において、2D測定系と3D測定系の2種類の測定系を実装する。この測定系は全く独立した構成でも構わないが、検査装置全体のコストを考えた場合、可能な限り共有できる構造が望ましい。3D検査用データも、2D検査用データと同様、メタルマスクのガーバデータから生成することができる。
メタルマスクのガーバデータから、マスクの開口情報(形状、面積、位置)を得る。開口情報が、基板のパッド上に転写される印刷半田の基準面積、基準位置情報に他ならないので、このデータが2D検査用のデータそのものになる。この2D検査用のデータから、3D検査すべきパッド部を作業者に指定してもらう。さらに、メタルマスクの厚さ情報も入力してもらう。
メタルマスクの厚さは、印刷半田の基準高さそのものに他ならない。さらに、基準面積値にこの基準高さを掛けることで基準体積を算出することができる。これで、印刷半田高さと体積値を含んだ3D検査用のデータとなる。基板の検査データ作成の最終段階で、生基板(クリーム半田が印刷される前の基板で、その表面はパッドの上面が露出され、その他の部分はレジストで覆われている基板)を検査装置に投入してもらう。
2D検査では、エリアカメラで画像を入力する関係から検査は視野(エリアカメラで撮すエリア状の範囲で、後述する2D検査用撮像範囲40)単位で実行される。3D検査には原理的には視野という概念はないが、3D検査は指定部位検査であるということから、同じような視野(後述する3D検査用撮像範囲41が、検査対象基板に対して相対的に操作することで、高さ測定を行う高さ測定領域11)という概念を導入する。すでに生成された検査データを、視野単位に並べ替える「視野割付(1つの高さ測定領域11の中に検査対象物が効率良く納まるように視野の位置を決める処理)」を実行する。
視野割付された検査データに基づき、3D検査を実行する。まず、3D測定視野の上端と下端の基板上面の高さを測定し、その結果から検査装置独自の高さ測定基準面を作り出す。検査データに基づき、3D検査対象パッド部の高さを測定する。測定対象は印刷前の生基板なので、測定エリアには印刷半田は存在せず、よって測定しているのはパッド高さとなる。
これにより、検査装置独自の高さ測定基準面(基板上面基準)に対する各パッドの高さを定義することができる。この情報を、検査データ内にパッド単位で記録していく。この作業を、3D検査が指定された全パッドに対して繰り返していく。全パッド完了した時点で、検査データの作成完了となる。
検査においては、検査装置独自の高さ測定基準(基板上面基準)に対する印刷半田の高さ・体積を測定する。検査データの中には、検査装置独自の高さ測定基準に対する各パッドの高さ情報が入っているので、印刷半田の高さ・体積測定結果を、顧客の望むパッド面基準での高さと体積とに変換することができる。
以上のような、完全自動設定でパッド面基準による印刷半田の高さ・体積を測定する方法によれば、以下のような効果を得ることができる。
これまでの技術では、3D検査用データを作成するにあたって、作業者による高さ測定基準点の設定という作業が不可欠であったが、本発明の技術では、高さ測定基準として、検査装置独自の基準を自動的に生成する。その上で、印刷前の生基板を測定することで、検査装置独自の高さ測定基準に対する各パッド上面の高さを事前に関連付けておく。これにより、半田印刷検査では、検査装置独自の高さ測定基準から印刷半田高さの測定を行うが、その測定結果をパッド上面基準に変換して出力することが可能となる。
このように、3D検査データ作成時に生基板を認識させるだけで、パッド上面基準の検査データを完全自動で作り出すことができる。これまでの技術の検査装置に対して、検査データ作成時間を大幅に低減することができる。
(4)目視判定に適した3D半田印刷検査方法
先に指定パッド部の3D検査を実行し、その結果を検査結果格納エリアに記録する。その後、全パッドの2D検査を実行する。2D検査で不良と判定したパッドについては、各種測定結果とともに2Dカメラで撮像した画像も記録する。さらには、2D撮像画像を表示装置の指定場所に表示する。
3D検査で不良と判定されたパッドについては、2D検査の検査結果に関係なく、各種測定結果とともに2Dカメラで撮像した画像も記録する。さらには、2D撮像画像を表示装置の指定場所に表示する。
すべてのパッドの検査が完了した時点で、印刷不良があると判定された基板については、目視確認モードに移行する。その時点ですでに、不良と判定されたパッドの2D画像が表示装置に拡大表示されているので、作業者は、これらの拡大画像を顕微鏡画像を確認する要領で、目視確認に役立てることができる。
以上のような、目視判定に適した3D半田印刷検査方法によれば、以下のような効果を得ることができる。
これまでの技術では、2D検査を最初に実行し、その後3D検査を実行するシーケンスであると、3D検査では不良であるが2D検査では良品判定となる検査対象の場合、その2D画像は保存されず、よって、検査が終了した時点では、作業者の目視確認に必要な2D撮像画像を提供できないことになるが、本発明の技術(3D検査を最初に実行し、その後2D検査)では、検査が完了した段階で、すべての不良判定パッド部の2D拡大画像が表示装置に表示されている。
よって、作業者は、検査終了と同時に目視確認に移行できる。最初に3D検査を実行して、その後2D検査を行うという順番だけの問題であるが、これによって、そうでない場合に対して、目視確認時間も含めた検査装置の総合タクトを向上させることができる。
以下、本発明の実施の形態を図面に基づいて詳細に説明する。なお、実施の形態を説明するための全図において、同一の機能を有する部材には原則として同一の符号を付し、その繰り返しの説明は省略する。
まず、図1および図2に基づいて、本発明の実施の形態の2D・3D半田印刷検査装置の構成および機能の一例を説明する。それぞれ、図1は2D・3D半田印刷検査装置(カメラ1眼タイプ)の全体を示した構成図、図2は3D測定を行う光学系の基本構成と撮像視野の関係を示した図、である。
本発明の実施の形態の2D・3D半田印刷検査装置には、図1に示すように、照明装置20がある。この照明装置20には、パッドを抽出するための赤緑色LED照明装置21と、クリーム半田を検出するための青LED照明装置22が実装されている。また、照明装置20には、スリット照明装置23が組み込まれている。なお、スリット照明装置23からはスリット光24が照射される。スリット光24の長さは約30mmで、幅は約0.1mmである。図には示していないが、照明装置21,22,23は、全体制御部80によってその点灯・消灯が制御される。
その照明装置20の上方には、画像を撮像素子に結像するためのレンズ32と、その結像画像を電子信号に変換するためのカメラ31が設置されている。カメラ31は、エリアカメラであれば種類を問わないが、2D検査と3D検査の両方を効率よく実施するためにCMOSエリアカメラ(CMOSトランジスタを撮像素子に用いたエリアカメラ)を採用している。このCMOSエリアカメラで、図2に示すように、2D検査の時は撮像素子いっぱいの撮像範囲40を撮像する。この例では、20.48×20.48mmの範囲を撮像するように設定してある。3D検査の時は、スリット光24が照射されている部分を含む撮像範囲41に限定して撮像する。この例では、20.48×0.64mmから20.48×5.12mmの間で必要な領域だけを撮像している。どの範囲を撮像するかは、画像入力記憶部50を経由して全体制御部80から指示される。
カメラ31からの出力画像は、画像入力記憶部50に入力されるように接続されている。画像入力記憶部50は、2D検査用半田撮像画像データ51、2D検査用パッド撮像画像データ52と、3D検査用撮像画像データ53のエリアにより構成されている。3D検査では、スリット光24の当る位置を少しずつ変えた画像を多数枚撮像するので、3D検査用撮像画像データ53は、最低でも1024枚に及ぶ画像データで構成されている。
2D検査の場合、青LED照明装置22のみを点灯して撮像した画像は、2D検査用半田撮像画像データ51のエリアに格納される。赤緑色LED照明装置21のみを点灯して撮像した画像は、2D検査用パッド撮像画像データ52のエリアに格納される。
3D検査の場合、スリット照明装置23のみを点灯し、かつ撮像範囲を3D検査用撮像範囲41に限定した画像を撮像する。その画像データは、3D検査用撮像画像データ53のエリアに格納される。さらに、スリット光24の当る位置を少しずつ変えた撮像画像が、3D検査用撮像画像データ53の2枚目、3枚目と次々に格納されていく。
画像入力記憶部50からの出力は、画像処理部60に入力されるように接続されている。画像処理部60には、画像入力記憶部50からの3D検査用撮像画像データ53を処理して得られた高さ測定データを記憶する3D測定データ61のエリアがある。さらに、その3D測定データ61から、立体表示したデータを格納する3D測定データ立体表示62のエリアがある。
検査対象基板10には、印刷半田10a,10b,10cが印刷されている。この検査対象基板10が、X軸ロボット71上に固定されている。さらに、X軸ロボット71はY軸ロボット72上に固定されている。X軸ロボット71とY軸ロボット72が動作することにより、検査対象基板10は、カメラ31、レンズ32と照明装置20に対して相対的に移動することができる。これによって、カメラ31は、検査対象基板10の任意の位置を撮像することができる。
X軸ロボット71とY軸ロボット72はロボット制御部73と接続され、そのロボット制御部73は全体制御部80に接続されている。これによって、全体制御部80からの指示により、検査対象基板10はXY平面上を移動することができる。全体制御部80は、検査装置を構成する各ユニットを制御するためのものである。ロボット制御部73、画像処理部60、画像入力記憶部50、照明装置20は、そのすべてが全体制御部80からの指示で動作するように構成されている。
全体制御部80内には、パッドデータ81、視野割付データ82、撮像データ記憶領域83、検査データ作成プログラム84、検査実行プログラム85が存在する。これらの機能については、以降で詳しく説明していく。
表示装置74は、作業者が検査装置を操作する上で必要不可欠な情報を表示する装置である。この表示装置74に、撮像画像なども表示される。
次に、図3〜図10に基づいて、本実施の形態の2D・3D半田印刷検査装置において、印刷半田の高さ・体積の測定原理の一例を説明する。それぞれ、図3は半田にスリット光が当る位置と半田の高さの関係について示した図、図4(a)〜(c)は基板上の3D測定検査を行いたい領域と撮像視野の位置関係を示した図、図5は基板に対する3D撮像領域と撮像視野の位置関係を示した図、図6はカメラの撮像素子上における3D撮像領域を示した図、図7は3D撮像領域におけるスリット光の典型的な写り方を示した図、図8(a)〜(c)は3D撮像領域におけるスリット光の実際の写り方を示した図、図9はスリット光位置から測定対象物の高さを測定し、その結果を格納するための記録部分の構造を示した図、図10は測定対象物の高さ記録データから測定対象の3DイメージをCGにて再現した図、である。
ここでは、本発明の本質を分かり易くするために、印刷半田の高さ・体積の3D測定を主に説明する。なお、印刷半田の3D測定、さらに2D測定については、本発明者が以前に出願した、日本特願2003−106990号に記載している技術を用いることができる。
印刷半田の高さ・体積の3D測定は、前述した図1に示す2D・3D半田印刷検査装置において、高さ・体積測定を行う測定対象部位にスリット光24が当るように、X軸ロボット71、Y軸ロボット72を制御する。
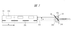
図3(左側は概略平面図、右側は概略断面図(断面表記省略))に示すように、検査対象基板10上の印刷半田10x(10a〜10c)にスリット光24が当ると、印刷半田10x上にはスリット光跡242が、検査対象基板10上にはスリット光跡241が発生する。カメラ31が撮像した3D検査用撮像画像データ53には、印刷半田10x上のスリット光跡242はスリット光跡532として、検査対象基板10上のスリット光跡241はスリット光跡531として、印刷半田10xの高さ分だけ位置がずれたように撮像される。
スリット光24の検査対象基板10の上面からの取り付け角度をθとすると、印刷半田10xの高さは、そのずれ量にtanθを掛けたものになる。この考え方に基づき、3D検査用撮像画像データ53からスリット光跡532とスリット光跡531の画像上におけるY方向の座標差を求め、その値にtanθを掛ければ、印刷半田10xの高さが計測できたことになる。
しかし、これだけでは、スリット光24が当った線分部分の高さしか計測できないので、印刷半田10xの検査に最も求められる体積の測定ができない。そこで、カメラ31とスリット光24を照射するスリット照明装置23のユニットに対し、検査対象基板10を相対的に動作させる。動作させる方向は、スリット光跡241,242の長さ方向に直交する方向、すなわち図3に示すy方向とする。
図4において、(a)のように、検査対象基板10上の3D測定したい範囲を高さ測定領域11とする。まず、(b)のように、2D検査用撮像範囲40の中の3D検査用撮像範囲41内に、高さ測定領域11の上端である高さ測定基準ライン11aが入るようにX軸ロボット71とY軸ロボット72を制御する。上記位置にて画像を撮像し、さらに、3D検査用撮像範囲41を検査対象基板10に対して相対的に20μm移動させて画像を撮像、さらに20μm移動させて撮像するという動作を繰返し行う。そして、(c)のように、高さ測定領域11の下端である高さ測定基準ライン11bが3D検査用撮像範囲41内に入り、その画像を撮像するまで繰返し行う。
すなわち、検査対象基板10に対して、高さ測定領域11の上端の高さ測定基準ライン11aが入る位置と、下端の高さ測定基準ライン11bが入る位置との関係は、図5のようになる。2D検査用撮像範囲40の中の3D検査用撮像範囲41は、図5において左方向に移動させる。
高さ測定領域11の範囲を20.48×20.48mmとすると、20μm単位で撮像を繰り返すので、3D検査用撮像画像データは、20.48/0.02=1024枚撮像することになる。実際に撮像した画像データの一部を図8に示す。図8において、(a)の実画像データ53cは検査対象基板10の基板面、(b)の実画像データ53dは印刷半田10xの高さが高い部分、(c)の実画像データ53eは印刷半田10xの高さが低い部分の写り方である。
3D検査用撮像画像データ53において、計測基準ライン533を定義する。この計測基準ライン533は、3D検査用撮像領域のどこに設定しても構わないが、この例では、詳細は後述するが、図3、図6および図7に示すように、基板上スリット光跡531にほぼ合わせて設定するものとする。実際の3D検査用撮像画像データ53は、サイズが1024画素(pe)×32〜256画素(pe)、撮像枚数は1024枚である。ここでは、以降の処理内容を判り易く説明するために、撮像画像データ53のサイズを、図9に示すように、3D測定データ61として、横方向(X方向)10画素(0〜9pe:0〜180μm)、撮像枚数10枚(Y方向;0〜9pe:0〜180μm)として説明する。
まず、図3に示すように、3D検査用撮像画像データ53の1枚目から処理する。画像上におけるx=0画素の時のスリット光跡531,532のy座標を求める。スリット光24には約0.1mmの幅があるので、画像上では最低でも5画素分の幅があることになる。この5画素は、同じ明度値を持っているわけではなく、中心が明るく外側に行くほど暗いという分布をしている。この5画素から2次あるいは4次曲線を求めることで、スリット光24の幅方向の明度分布を正確に近似することができる。この曲線のピーク位置をy座標とすることで、x=0におけるスリット光のy座標値を1画素以下の単位で正確に求めることができる。y座標は、計測基準ライン533を原点として測定する。
このy座標にtanθを掛けることにより、スリット光の当った部分の計測基準ライン533からの高さとなる。この処理をx=1からx=9まで繰り返す。さらに同様の処理を、2枚目から9枚目の3D検査用撮像画像データ53について繰返し行う。すべて終了した時点で、高さ測定領域11内のすべての点における高さが計測できたことになる。計測間隔は、この例ではxy方向ともに20μmになる。
測定した高さデータは、3D測定データ61のエリアに格納保存する。3D測定データ61は、図9に示すように、測定した全点の高さ情報が記録できるように(10,10)の2Dマトリクス構造を持っている。m枚目のx=n(n=0〜9)における高さデータがyn×tanθ(n=0〜9)の時、このデータは3D測定データ61の(10,10)のどのセルに書き込むかをこれから説明する。x=nなので、明らかにx座標はx=nとなる。m枚目なので、y座標はy=mが基本となる。しかしながら、図3から明らかなように、yn×tanθの高さを持った点は、計測基準ライン533よりもy方向に−ynだけずれた位置にある。そこで、結果を格納するセルのy座標は、m−ynとなる。
3D測定データ61は(10,10)の2Dマトリクスなので、セルのxy座標値は単位(この例では20μm)の整数倍となる。m―ynが単位の整数値と一致しない場合、最も近いy座標値のセルに書き込むことになる。まとめると、m枚目の3D検査用撮像画像データ53のx=nにおけるスリット光跡532のy座標がynのとき、その高さデータyn×tanθは、3D測定データ61のセル(n,<m―yn>)に書き込むことになる。ただし、<m―yn>は、m―ynと最も近い“単位の整数倍値”とする。
こうして高さ測定領域11の3D測定データ61を得る。計測基準ライン533は、基板上スリット光跡531に合わせてあるので、3D測定データ61は、基板上面から測定した凹凸が記録されていることになる。このデータを積分することで、体積データも得ることができる。また、3Dグラフィック処理を施すことで、図10のごとく立体表示62を得ることができる。この図10の立体表示62において、線の間隔が格子状で狭い表示部分は平坦な形状を表し、線の間隔が広い表示部分が凸形状になっており、この部分が印刷半田に相当する。
以上のように、前述した図1および図2の構成で3D測定が可能となる。しかしながら、実際の半田印刷基板では、印刷半田上面と基板上面の反射率が最大で100対1と大きく異なる。よって、印刷半田上面を適切な明度で検出しようとすると、基板上面が検出できないことになる。
前述の説明では、3D検査用撮像画像データ53内の計測基準ライン533を、基板上のスリット光跡241と一致させて測定している。基板に反りなどがなければ、計測基準ライン533と基板上面は常に一致するので、基板上面が検出できなくても、適正な印刷半田の高さ測定ができる。しかし、実際の検査対象基板10では、最大で±1.5mmほどの反りが発生する。反りがあれば、計測基準ライン533と基板上面は不一致となり、高さ測定の基準が失われることになる。その解決方法を以下において説明する。
次に、前述した図3〜図7に基づいて、本実施の形態の2D・3D半田印刷検査装置において、印刷半田の高さ・体積測定における高さ測定基準の確実な検出方法の一例を説明する。
前述した図5に示すような検査対象基板10の反りを許容するため、3D検査用撮像画像データ53の画像サイズを、図6に示すように、1024画素(pe)×256画素(pe)程度に設定し、基板高さ測定用撮像画像データ53aとする。分解能が20μmなので、3D検査用撮像範囲41は、20.48mm×5.12mmになる。
スリット光24は、検査対象基板10の基板面に対して45°の角度に設置されているので、撮像範囲20.48mm×5.12mmは、高さ方向に5.12mmの計測範囲があるのと同等である。印刷半田の高さが最大で0.2mm、スリット光の幅が0.1mmあることを考慮すると、高さ方向の測定範囲は約±2.56−0.3mm=±2.26mm、余裕をとっても±2.0mmを確保できることになる。よって、検査対象基板10の反りの±1.5mmを十分にカバーできる。
この基板高さ測定用撮像画像データ53aの撮像範囲で、高さ測定領域11の上端部の画像を撮像する。ここでは、図3〜図5に示すように、検査対象基板10の基板上面を検出するので、検査対象基板10上のスリット光跡241が検出できる十分に明るいスリット光跡531となるように、露光時間を5msとする。この条件で撮像すると、基板上スリット光跡531は適切な明度、および幅で撮像される。印刷半田10x上のスリット光跡532は、この撮像条件ではオーバ露光となるので、明度が飽和し、かつ幅は太くなった状態で撮像される。
このように、検査対象基板10の上面と印刷半田10xの上面という2つの高さ情報が混在するが、明らかに低い方が基板上面であるので、容易に高さ測定基準ライン11a上における基板上面高さ位置(基板上スリット光跡531)を特定することができる。
続いて、図6に示す、印刷半田高さ測定用撮像画像データ53bを定義する。画像サイズは、図7に示すように、1024画素(pe)×32画素(pe)に設定する。分解能は20μmなので、3D検査用撮像範囲41は、20.48mm×0.64mmとなる。撮像画像データ53bの下から12画素のところに計測基準ライン533を設定する。この計測基準ライン533が、高さ測定基準ライン11a上の基板上面高さ位置(531)に一致するように、印刷半田高さ測定用撮像画像データ53bを、カメラ撮像素子上に設定する。
印刷半田10xの通常の高さは0.16mmで、これは撮像画像データ53b上では8画素に相当する。よって、印刷半田高さ測定用撮像画像データ53bにおける、検査対象基板10上のスリット光跡531と、印刷半田10x上のスリット光跡532の位置関係は、図7のごとくとなる。
この撮像画像データ53bで、露光時間を0.05msとして印刷半田上面を検出するための画像を1022枚撮像する。短い露光時間によって、これらの撮像画像データには、印刷半田10x上のスリット光跡532のみ撮像され、検査対象基板10上のスリット光跡531は写り込まない。最後の1024枚目の撮像で、再び露光時間を5msと長くして撮像する。露光時間を長くしたので、高さ測定基準ライン11b上における基板上面高さ位置(基板上スリット光跡531)を特定することができる。
2枚目から1023枚目までの印刷半田高さ測定用撮像画像データ53bに対して、前述した印刷半田の高さ・体積の測定原理の処理を施すことにより、計測基準ライン533基準での印刷半田10xの高さ測定ができる。しかも、前述のように、計測基準ライン533が、高さ測定基準ライン11a上の基板上面高さ位置(531)に一致するように、印刷半田高さ測定用撮像画像データ53bをカメラ撮像素子上に設定する処理によって、検査対象基板10の反りを補正した測定結果となっている。
さらに、1枚目の撮像画像で高さ測定基準ライン11a上での基板上面高さと、高さ測定基準ライン11b上での基板上面高さを測定しているので、高さ測定領域11内における基板上面(基板反り、この限られた領域内では基板傾きと考えることができる)を検出できる。印刷半田10xの高さ測定結果を、検出した検査対象基板10の上面基準で評価し直せば、さらに厳密な基板上面基準による印刷半田10xの高さ測定結果となる。
以上のように、検査対象基板10の上面検出時の撮像範囲および露光時間と、印刷半田10xの検出時の撮像範囲および露光時間を、それぞれの最適値に制御することで、検査対象基板10の反りの影響を受けずに印刷半田10xの高さを基板上面基準で測定することができる。しかも、検査対象基板10の反りに追随するための測定時間の延長を最小限に抑えることができる。
以上の説明で、印刷半田10xの高さを検査対象基板10の上面基準で測定できることを示した。しかしながら、印刷半田10xの高さ測定は、より厳密には、パッド上面基準で求める必要がある。その方法を以下において説明する。
次に、図11〜図20に基づいて、本実施の形態の2D・3D半田印刷検査装置において、完全自動設定でパッド上面基準による印刷半田の高さ・体積を測定する検査データ作成方法の一例を説明する。それぞれ、図11(a),(b)は一般的な基板の構造とA−A’断面を示した図、図12は高さ測定基準線、高さ測定基準面とパッド表面高さの位置関係を示した図、図13は半田印刷検査装置の検査データ(パッドデータ)の基本的な構造を示した図、図14は半田印刷検査装置の視野割付データの基本的な構造を示した図、図15は基板検査データの作成手順を示したフローチャート、図16は基板の基材と配線パターンを示した図、図17は基材、配線パターン、レジストから構成された一般的な基板の構造・外観を示した図、図18(a)〜(c)は図17のA−A’(a)、B−B’(b)、C−C’(c)断面を示した図、図19は基板上にクリーム半田が転写された状態を示した図、図20(a)〜(c)は図19のA−A’(a)、B−B’(b)、C−C’(c)断面を示した図、である。
図11((a)は平面図、(b)は(a)のA−A’断面図)に示すように、一般的な基板の構造は、基板基材12の上に、銅による配線パターン13が形成されている。搭載される部品の端子と接続する部分は、パッド部15としてそのまま露出している。場合によっては、導電性を高めるために金メッキされる場合もある。パッド部15以外の領域は、レジスト14によって覆われて絶縁されている。レジスト14に覆われた銅パターンの部分は通常、内層パターン部16と呼ばれ、銅パターンのないレジスト部と比較すると配線パターン13の厚さ分だけ高くなっているのが普通である。このような基板の構造において、レジスト膜塗布前の基板上面は図16、この状態にレジスト14の絶縁膜を塗布すると図17,図18に示すような基板上面および断面状態となり、さらにクリーム半田印刷後は図19,図20に示すような状態となる。
たとえば、図16において、中心部には、詳細は図25,図26において後述するが、図24に示すQFP90が搭載される複数のパッド部15が形成されている。これらの各パッド部15から、配線パターン13を通じて、下層の配線パターンあるいは裏面の端子に導通するスルーホール13aが形成されている。また、周辺部には、チップ抵抗、チップコンデンサなどのチップ部品や各種パッケージの、パッド部15、配線パターン13、スルーホール13aが形成されている。
この図16の状態に、回路部品の端子と接続するパッド部15を除いてレジスト14の絶縁膜を塗布すると、図17,図18に示すように、パッド部15を露出した状態で基板の上面がレジスト14で覆われる。さらに、このような基板に対して、クリーム半田の印刷を行うと、図19,図20に示すように、パッド部15上に印刷半田10xが印刷された状態となる。図20において、(a)に示す高さ測定基準ライン11aと、(c)に示す高さ測定基準ライン11bから、後述する(b)に示す高さ測定基準面17を求めることができる。
前述した、印刷半田の高さ・体積の測定原理、印刷半田の高さ・体積測定における高さ測定基準の確実な検出方法の説明で、基板上の印刷半田の高さが測定できることを示した。測定は、高さ測定領域11単位に行われる。この高さ測定領域11は、検査データ作成時に自動生成される。よって、高さ測定基準ライン11aと高さ測定基準ライン11bも自動的に定義される。
図12に示すように、高さ測定基準ライン11a上と、高さ測定基準ライン11b上での基板上面高さを測定することにより、高さ測定基準面17を求めることができる。そして、基板基材12のパッド部15上に印刷される印刷半田高さは、この高さ測定基準面17を基準として測定したものである。この際に、同様の測定を生基板で行うことを考える。生基板は、クリーム半田が印刷されていない基板であるので、印刷半田の部分の高さを測定しようとして得られる高さは、高さ測定基準面17を測定基準としたパッド上面の高さ18a,18b,18cとなる。
このパッド上面高さ18a,18b,18cを、生基板を測定することで事前に測定してパッドごとに記憶しておく。前述した、印刷半田の高さ・体積の測定原理、印刷半田の高さ・体積測定における高さ測定基準の確実な検出方法で、パッドごとに印刷半田の高さ測定を行い、その結果に対してパッドごとに記憶されたパッド上面高さを減算する。これにより、印刷半田高さはパッド上面基準で測定した値となる。
たとえば、図12の例では、高さ測定基準ライン11aが基板基材12上に配線パターンのないレジスト13の上面、高さ測定基準ライン11bが基板基材12上に配線パターン13のあるレジスト13の上面となり、これらの上面を含む面が高さ測定基準面17に設定される。この高さ測定基準面17は、高さ測定基準ライン11bの方が配線パターン13の厚さ分だけ高くなっているので、パッド15aのパッド上面高さ18a→パッド15bのパッド上面高さ18b→パッド15cのパッド上面高さ18cの順に値が大きくなり、よってパッド上面基準での測定により減算される値は、パッド15a<パッド15b<パッド1パッド15cの関係となる。
このように、検査データ作成時の最終段階で生基板を測定し、自動で生成した高さ測定基準面17に対する各パッド15a,15b,15cの高さデータを測定・記憶しておくことで、検査対象基板10の上面基準とした測定よりさらに正確な、パッド上面基準による印刷半田の高さ測定を行うことができる。以下において、このパッド上面基準による印刷半田の高さ測定において、検査データ作成プログラム84による検査データ作成の具体的な流れを図15によって説明する。
S8401において、作業者に、印刷に使用するメタルマスクのガーバデータを検査装置に入力してもらう。半田印刷は、メタルマスクの開口を通して基板にクリーム半田を転写するという作業なので、メタルマスクの設計データであるガーバデータを読取ることで、転写されるクリーム半田の形状、面積とその位置を知ることができるからである。
S8402において、作業者にメタルマスクの厚さを指定してもらう。メタルマスクのガーバデータから判るのは、転写されるクリーム半田の形状、面積、位置だけである。印刷高さや印刷半田体積に関する情報は含まれていない。基板に転写されるクリーム半田高さはメタルマスクの厚さにより決まるので、これにより基準印刷高さの情報を入手することができる。さらに、ガーバデータから得られた基準面積値にマスク厚さを掛けることで、基準体積も得ることができる。
S8403において、作業者に合否判定のための判定値(パラメータ、上下限値)を入力してもらう。本装置は検査装置なので、測定した上で、その値が良品範囲か否かという判定を行わなければならないからである。判定には、測定値の合否を判定するための上限値と下限値が必要なので、これらの値は基準値のパーセンテージという形で作業者に指定させる。また、このようなパーセンテージ指定の上限・下限値は、測定対象によって変更するというケースは少ないので、入力された値は記憶しておき、次回以降のデータ作成作業において作業者の負荷低減を図る。
S8404において、以上の条件が揃った時点でデータ変換を行い、半田印刷検査に必要なパッドデータ81を生成する。このパッドデータ81の基本的な構造は図13の通りである。この変換作業で、パッドXY座標8102、パッドXY幅8103、基準面積8104、基準体積8105、判定値8106で構成される検査データ(パッドデータ)をパッド数分(開口数分)得ることができる。パッドNo.8101は、検査装置が内部でパッドを識別するための便宜上の番号で、1番から始まり連番で付与される。
検査項目8107は、このパッドの検査として2D検査を行うのか、2D検査と3D検査の両方を行うかの識別フラグである。データ変換直後においては、指定情報がないので空欄のままとなる。印刷半田の高さをパッド上面基準で測定するために必要な、基準面からの高さ8108(高さ測定基準面17からの各パッド上面高さ18a,18b,18c,・・・)は、以上の作業からは入手できないので空欄のままとなる。
S8405において、作業者にパッドごとの検査項目を指定してもらう。データ変換(S8404)により、すべての開口情報を得ることができるので、その開口情報を表示装置74にグラフィック表示することができる。作業者に、そのグラフィック画像上で、マウスによるドラッグにより3D検査を実施するパッドを指定してもらう。3D検査の指定が行われたパッドについては、検査項目8107に3D検査も実施要であることを示すフラグを付加する。
S8406において、視野割付を実行する。3D検査にも高さ測定領域11という視野と同等の概念があり、検査実行にあたっては、視野単位に実行しなければならない。そこで、ランダムに並んだパッドを、視野単位で纏める作業が必要となる。それが視野割付である。まず、3D検査も実行要となっているパッドについて、高さ測定領域11を視野とした視野割付を実施する。その後、すべてのパッドについて、2D検査用撮像範囲40を視野とした視野割付を実施する。その結果として視野割付データ82が生成される。この視野割付データ82の基本的な構造は図14の通りである。3D検査要パッドデータのすべてが、2D検査パッドデータの前に配置される。
視野割付データ82は、視野No.821、検査項目822、中心XY座標823、開始XY座標824、終了XY座標825、視野Xサイズ826、視野Yサイズ827、パッドNo.828から構成される。検査項目822はパッドデータ81の検査項目8107の情報で、3D検査を実行するのか2D検査のみなのかを判断できる。中心XY座標823は視野中心の座標を示している。2D検査では、この座標値に基づきカメラ視野の中心が当該座標と一致するようにロボットを制御する。開始XY座標824と終了XY座標825は、3D検査における高さ測定領域11の視野走査開始座標と終了座標を表している。視野Xサイズ826と視野Yサイズ827は、視野のサイズを表している。パッドNo.828に記録されたパッドNo.により、図13に示すパッドデータ81の情報との関連付けが可能となる。
S8407において、検査装置に生基板をセットする。視野割付データ82とパッドデータ81に基づき、3D検査の最初の視野(高さ測定領域11)を撮像する位置に基板を移動させる。そして、前述したように、まず1024枚の3D検査用撮像画像データ53を採取する。
S8408において、その1枚目と1024枚目の画像から、高さ測定基準ライン11aと高さ測定基準ライン11bにおける基板高さを測定する。
S8409において、高さ測定基準ライン11aと高さ測定基準ライン11bの測定基準ライン上における基板高さから、図12に示した高さ測定基準面17を生成する。
S8410において、高さ測定基準面17を基準として、視野(高さ測定領域11)内のパッド上面高さを測定する。測定すべきパッドは、図14に示した視野割付データ82と図13に示したパッドデータ81を参照することで知ることができる。
S8411において、こうして測定した高さ測定基準面17を基準とした各パッド上面の高さ18a,18b,18c,・・・のデータを、図13のパッドデータ81の基準面からの高さ8108の領域に、パッドごとに格納していく。
以上の、S8406からS8411までの処理を、全視野分終了するまで繰り返して実行する。以上の処理が完了した段階で、検査装置が自動で生成した独自の高さ測定基準面17に対する、各パッドの上面高さが定義されたことになる。以上のように、パッド上面基準測定に必要なデータを、ほぼ自動で生成することができる。
次に、前述した図3〜図7に加え、図21に基づいて、本実施の形態の2D・3D半田印刷検査装置において、基板反り対応およびパッド上面基準による印刷半田の高さ・体積の検査方法の一例を説明する。図21は3D検査処理手順を示したフローチャートである。
前述した、パッド上面基準による印刷半田の高さ・体積を測定する検査データ作成方法により生成した検査データで、基板の反りを吸収しながら、パッド上面基準による印刷半田の高さ・体積測定ができることを図21を使って説明する。図21は、後述する図22の基板の検査手順の「3D検査」の処理を詳細に説明したものである。
S8502−01において、視野割付データ82の先頭にデータを指し示すポインタを移動(初期化)させる。
S8502−02において、視野割付データ82の視野中心XY座標823、視野Xサイズ826、視野Yサイズ827が同じデータを抽出することで、同一視野内の全パッドデータを抽出することができる。
S8502−03において、次の視野のパッドデータ群の先頭を示すように、ポインタ位置を処理パッド数分更新する。
S8502−04において、視野割付データ82の視野開始XY座標824に基づきX軸ロボット71、Y軸ロボット72を動作させることで、カメラ31の中央に、高さ測定領域11の高さ測定基準ライン11aが撮像される位置関係となる。
S8502−05において、まず、検査対象基板10の反りを許容するため、前述した図6に示すように、3D検査用撮像画像データ53の画像サイズを、1024画素×256画素程度に設定し、基板高さ測定用撮像画像データ53aとする。分解能が20μmなので、3D検査用撮像範囲41は、20.48mm×5.12mmになる。
この基板高さ測定用撮像画像データ53aの撮像範囲で、高さ測定領域11の上端部の画像を撮像する。ここでは、基板上面を検出するので、前述した図3に示すように、基板上のスリット光跡241が検出できる十分に明るいスリット光跡531となるように、露光時間を5msとする。この条件で撮像すると、基板上スリット光跡531は適切な明度、および幅で撮像される。印刷半田上スリット光跡532は、この撮像条件ではオーバ露光となるので、明度が飽和し、かつ幅は太くなった状態で撮像される。
このように、基板面と印刷半田上面という2つの高さ情報が混在するが、明らかに低い方が基板上面であるので、容易に高さ測定基準ライン11a上における基板上面高さ位置(基板上スリット光跡531)を特定することができる。
S8502−06において、まず、印刷半田高さ測定用撮像画像データ53bを定義する。画像サイズは、前述した図7に示すように、1024画素×32画素に設定する。分解能は20μmなので、3D検査用撮像範囲41は、20.48mm×0.64mmとなる。前述した図7に示すように、撮像画像データ53bの下から12画素のところに計測基準ライン533を設定する。
この計測基準ライン533が、高さ測定基準ライン11a上の基板上面高さ位置(531)に一致するように、印刷半田高さ測定用撮像画像データ53bを、カメラ撮像素子上に設定する。印刷半田の通常の高さは0.16mmで、これは撮像画像データ53b上では8画素に相当する。よって、印刷半田高さ測定用撮像画像データ53bにおける、基板上スリット光跡531と、印刷半田上スリット光跡532の位置関係は、前述した図7のごとくとなる。
この撮像画像データ53bで、露光時間を0.05msとして印刷半田上面を検出するための画像を1022枚撮像する。短い露光時間によって、これらの撮像画像データには、印刷半田上スリット光跡532のみ撮像され、基板上スリット光跡531は写り込まない。
S8502−07において、最後の1024枚目の撮像で、再び露光時間を5msと長くして撮像する。露光時間を長くしたので、高さ測定基準ライン11b上における基板上面高さ位置(基板上スリット光跡531)を特定することができる。
S8502−08において、2枚目から1023枚目までの印刷半田高さ測定用撮像画像データ53bに対して、前述した、印刷半田の高さ・体積の測定原理の処理を施すことにより、計測基準ライン533基準での印刷半田の高さ測定ができる。
S8502−09において、1枚目の撮像画像で高さ測定基準ライン11a上での基板上面高さと、高さ測定基準ライン11b上での基板上面高さを測定しているので、高さ測定領域11内における基板上面(基板反り、この限られた領域内では基板傾きと考えることができる)を検出できる。
S8502−10において、印刷半田の高さ測定結果を、検出した基板上面基準で評価し直すことで、基板の反りに影響されない基板上面基準の印刷半田高さ測定結果となる。
S8502−11において、さらにパッドデータ81の基準面からのパッド上面までの高さ8108のデータを参照し、そのデータを印刷半田測定結果に加味することで、測定結果をパッド上面基準に変更することができる。
以上の、視野割付データ82のすべてのパッドデータが終了するまで、上記処理を繰り返す。
次に、前述した図1、図2、図13、図14に加え、図22、図23に基づいて、本実施の形態の2D・3D半田印刷検査装置において、目視判定に適した3D半田印刷検査方法の一例を説明する。それぞれ、図22は基板の検査手順を示したフローチャート、図23は検査装置の表示装置の表示画面上における不良部の拡大画像の表示位置を示した図、である。
この目視判定に適した3D半田印刷検査方法による検査装置の構成は、前述した図1に示す通りである。2D検査用に使用する赤緑色LED照明装置21と青LED照明装置22、3D検査用に使用するスリット照明装置23の両方を実装し、これらは全体制御部80からの指令で自由に点灯、消灯できる構造となっている。基板上を撮像するカメラ31が実装されている。このカメラ31はCMOSエリアカメラで、全体制御部80からの指令により、前述した図2に示すように、撮像範囲を2D検査用撮像範囲40に、あるいは3D検査用撮像範囲41にすることができる。
以上のように、実装しているカメラはカメラ31の1台だけだが、これまでの説明から明らかなように、1台のカメラで2D検査と3D検査の両方を実行することができる。
以下、図22の検査実行プログラム85のフローチャートを使い、2D検査機能を併せ持った3D検査装置ならではの機能の実現について説明していく。
S8501において、検査装置には、基板の検査データが多数記録されている。作業者の指示に基づき、そのデータの中から、これから検査する基板に該当する品種設定、検査データを呼び出し、実行領域であるパッドデータ81と視野割付データ82にローディングする。
S8502において、視野割付データ82に基づき、まず、3D検査を実行する。前述した図14に示す視野割付データ82の開始XY座標824、終了XY座標座825から、高さ測定領域11内の走査を行い、3D検査用撮像画像データ53を採取する。それら画像データから3D計測を行い、視野割付データ82の視野No.821とパッドNo.828に記載された情報から、同一視野内のパッドを特定して、パッドごとの3D測定を行う。その測定結果にパッドデータ81の基準面からの高さ8108を加味することにより、パッド上面基準の測定結果となる。測定値および判定結果を、前述した図13に示すパッドデータ81の測定値8109、3D判定結果8111に記録する。
S8503において、すべての3D検査が終了したら、視野割付データ82とパッドデータ81に基づき2D検査を実施する。パッドごとの測定値および判定結果を、パッドデータ81の測定値8109、2D判定結果8110に記録する。測定値8109は、図に明示はしていないが、3D測定値と2D測定値をそれぞれ個別に記録できる領域を有するものとする。
S8504において、2D検査あるいは3D検査で不良となったパッドについては、該当する2D撮像画像を撮像データ記憶領域83にファイル名を付与して記録する。
S8505において、記録保存した2D撮像画像データのファイル名を、パッドデータ81の不良画像8112に記録する。
S8506において、2D検査あるいは3D検査で不良となったパッドについては、図23に示すように、2D撮像画像を表示装置74の不良パッド拡大表示領域741に不良パッドを拡大表示する。以上の、S8502からS8506までの処理を全パッド終了まで繰り返す。
S8507において、すべての3D検査、2D検査が終了した時点で、1つでも不良があった場合にはオペレータコールを出力し停止する。作業者はオペレータコールに促される形で、検査装置が不良と判定したパッド(印刷半田)の目視確認を行う。確認にあたっては、図23に示す、表示装置74の不良パッド拡大表示領域741に拡大表示されている2D撮像画像を見て行う。この画像は、レンズ32を通して白黒エリア方式のカメラ31で撮像されたもので、作業者は顕微鏡による拡大画像を確認する要領で適切な合否判断を下すことができる。
図23の表示装置74における不良パッド拡大表示領域741には、不良画像が8箇所同時に表示できるフォーマットになっている。不良が8個以上発生した場合には、不良パッド拡大表示領域741の右側にある図示しないスクロールバーを操作することで、9個目以降の不良画像を表示させることができる。
ここでは、1つでも不良があった場合にオペレータコールとなっているが、軽微な不良が指定個数以下の場合にはオペレータコールを出力しないなどの柔軟な設定も可能である。なお、図23において、742はカメラ撮像画像領域、743は基板全体イメージ図および不良パッド表示領域、744は検査カウンタおよび各種情報表示領域を示す。
次に、前述した図16〜図20に加え、図24〜図29に基づいて、本実施の形態の2D・3D半田印刷検査装置において、部分3D検査の必要性、有効性について説明する。それぞれ、図24(a)〜(c)は搭載部品としてのQFPの外観図・外形寸法図、図25はクリーム半田印刷済み基板にQFPが搭載された様子を模式的に表した図、図26は図25のB−B’断面を示した図、図27は実際の携帯電話用の基板の印刷パターンを示した図、図28(a)〜(c)は搭載部品としてのBGA(CSP)の外観図・外形寸法図、図29(a)〜(c)は搭載部品としてのコネクタの外観図・外形寸法図、である。
基板の構造は、前述した図16〜図20に示した通りである。一般的な基板の構造として、図16に示すように、ガラス・エポキシなどの基板基材12の上には銅などにより配線パターン13が形成されている。そのままでは、配線パターン13上に導電性異物等が付着するとショート等のトラブルが発生するので、基板上に絶縁膜であるレジスト14を塗布する。ただし、回路部品の端子と接続する部分には塗布しない。
このようにして形成された基板において、図17,図18に示すように、回路部品の端子と接続する部分にはレジスト14がなく、銅配線の一部が露出したような形となっている。この部分がパッド部15である。さらに、このような基板に対して、図19,図20に示すように、クリーム半田の印刷が行われ、パッド部15上に印刷半田10xが、ある一定の厚み・形状で転写される。
印刷半田10xが転写された基板に、基板のパッド部15と回路部品の端子が一致するように位置決めした上で回路部品を搭載する。ここでは、回路部品として代表的なQFP(Quad Flat Package)を例として説明している。このQFP90は図24((a)は平面図、(b)は側面図、(c)は正面図)に示すような外観・外形寸法であり、このQFP90が印刷半田10xの印刷済みの基板に搭載された状態は図25,図26のようになる。
図25,図26においては、基板上にQFP90のみを搭載し、このQFP90の端子90aがパッド部15に印刷半田10xを介して接続されている状態を示しているが、実際にはこの周辺のエリア93a,93b,93c,93d,93eにも複数の端子を有する各種のSOP(Small Outline Package)が搭載され、またエリア93fにはチップ抵抗、チップコンデンサなどのチップ部品が回路部品として搭載される。
この後、リフロー炉を通ることにより印刷半田10xが溶融し、基板のパッド部15と回路部品の端子が電気的に接続した状態となる。その後、冷却過程を経ることで、常温における半田の形状は固定したものとなり、基板組立ては完了する。このようなプロセスで基板組立ては行われるので、クリーム半田の印刷における印刷半田10xの印刷品質は、リフロー後の半田接続性に大きな影響を与える。
リフロー炉を通ることにより、印刷半田10xは液体となり表面張力を保有する。従って、印刷の形状がある程度乱れていても、あるいはある程度位置ズレしていても、いわゆるセルフアライメントが効いて液体上の印刷半田10xは適正な位置に収束する。よって、前述したように、より重要なのは印刷半田10xの量(体積)である。量が少ないと、回路部品の端子と基板のパッド部15が十分な強度で接合しなくなるからであり、また多すぎると、隣のパッド・端子とショートする危険があるからである。
通常の半田印刷では、半田量とその2D形状には相関がある。しかし、近年の高密度実装基板では、その相関性が保証されないのではないかと思われる印刷パターンが見受けれるようになった。印刷半田10xの印刷は、メタルマスクの開口を通してクリーム半田を転写するというプロセスなので、開口径が小さくなれば、クリーム半田の抜け性が悪くなるであろうことは容易に想像できる。
現に、高密度実装の先端製品の1つである、図27に示すような携帯電話用基板では、図28((a)は底面図、(b)は平面図、(c)は正面図)に示すようなBGA(Ball Grid Array:CSP(Chip Size Package)92や、外部機器との接続や充電に使用するための、図29((a)は平面図、(b)は正面図、(c)は側面図)に示すようなコネクタ91が搭載される。その他の主な搭載部品としては、前述したような複数の端子を持つQFPが搭載部94a,94b,94cに搭載され、また複数の端子を持つSOPが搭載部94d,94eに搭載され、さらにチップ部品などを含めて各種の回路部品が搭載される。
図27に示す携帯電話用基板は、右側と左側で同じ基板が2枚とれる割基板構成(1枚の基板を分割して複数枚の基板がとれる構成)の例であり、それぞれに、図28に示すBGA(CSP)92の端子(バンプ)92aがBGA(CSP)搭載部92b(パッド部:黒塗り部分)に搭載され、また図29に示すコネクタ91の端子91aがコネクタ搭載部91bに搭載されている。どちらの回路部品も搭載後は、半田接続部が部品と基板に挟まれて目視確認ができないので、印刷半田10xの印刷直後の品質保証が重要となってくる。さらに、これらの部品のパッド部は、他部品と比較してパターンサイズが小さいので、半田の抜け性が良好とは言えない。よって、こられの部分の半田印刷検査はより重要である。
BGA(CSP)92のパッド部は開口径が円形なので、サイズが小さい割には比較的良好な抜け性を確保できる。しかし、コネクタ91のパッド部は、かなりアスペクト比の大きな長方形形状なので、開口部のサイズが小さくなるに従い、均一な厚みでの印刷が困難になりつつある。
よって、印刷半田10xの印刷検査としては、印刷機の設定ミスを防ぐ目的で基板の4隅と中央の3D検査に加え、印刷抜け性の悪い狭ピッチのBGA(CSP)搭載部92b、そして携帯電話などのコネクタ搭載部91bなどを3D検査し、その他の部分は2D検査で品質保証をするというのが品質と効率のバランスから適していると考えられる。
次に、本実施の形態の2D・3D半田印刷検査装置における変形例・応用例を説明する。以上の例では、2D検査と3D検査のカメラを共用としているが、後述するように2D検査用のカメラと3D検査用のカメラをそれぞれ個別に実装しても本発明の本質は全く変わらない。また、2D検査用の白黒エリアカメラの画像を目視確認用に使用しているが、カラーカメラを採用することで目視確認性はさらに向上する。さらに、2D検査用のカメラの撮像画像を使用するのではなく、目視確認専用のカラーカメラと照明を搭載して、さらに目視確認性を上げることも考えられる。
具体的に、図30〜図32に基づいて、2D検査用カメラと3D検査用カメラの分離構成、測定不能領域の発生しない検査装置構成、について説明する。それぞれ、図30は2D・3D半田印刷検査装置(カメラ2眼タイプ)の全体を示した構成図、図31(a),(b)は2D・3D半田印刷検査装置(スリット照明装置2本タイプ)の全体を示した構成図、図32は高さ測定不能面の存在を説明するための図、である。
2D検査用カメラと3D検査用カメラの分離構成については、以下の通りである。原理的には1台のカメラで2D検査と3D検査を実行できる。しかし、2D検査の撮像画像と3D検査の撮像画像は大きく異なるので、カメラに求められる性能も自ずと異なったものになる。したがって、共用するためにはカメラにより高い性能が求められる。
現状では、2D検査と3D検査をそれぞれ十分な性能で実現できるカメラは見当たらない。従って、より現実的な解としては、それぞれで専用のカメラを設けるのが現実的と思われる。それを示したのが図30である。この2D・3D半田印刷検査装置(カメラ2眼タイプ)の例では、2D検査用として感度で有利なCCDカメラ(CCDを撮像素子に用いたカメラ)31aを使い、3D検査用として部分読出しが可能でフレームレートが高いという特長を持ったCMOSカメラ(CMOSトランジスタを撮像素子に用いたカメラ)31bを使っている。明白であるが、2D検査用のカメラと3D検査用のカメラをそれぞれ個別に実装しても本発明の本質は全く変わらず、各構成要素の機能も図1と同様である。
測定不能領域の発生しない検査装置構成については、以下の通りである。前述においては、印刷半田10xが塗布された検査対象基板10にスリット光24を斜方から照射することで高さを測定できることを示した。しかし、図32に示すように、スリット照明装置23の反対側の印刷半田10xの側面10x1はスリット光24の影となり、高さを測定することができない。
このように、印刷半田10xの側面の傾斜面を測定できないというのは、半田印刷高さに対して上面面積の大きな印刷半田の場合はさほど問題にならないが、微小な印刷半田の場合には測定体積に大きな影響を与えるので無視できない。近年の高密度実装基板においては、微小な印刷半田が益々増える傾向にあるので、この点を解決する必要がある。それを解決するためには、図31((a)は正面図、(b)は側面図)に示すように、スリット照明装置23aの反対側に同様のスリット照明装置23bを配置する。
この2D・3D半田印刷検査装置(スリット照明装置2本タイプ)の例では、まず、スリット照明装置23aのみを点灯して、前述した方法で検査対象基板10上に印刷された印刷半田10x(10a,10b,10c)の高さを測定する。これにより、スリット照明装置23aの反対側の斜面以外の高さ情報を得ることができる。次に、スリット照明装置23aを消灯してスリット照明装置23bを点灯し、前述の方法で印刷半田10xの高さを測定する。これにより、スリット照明装置23bの反対側の斜面以外の高さ情報を得ることができる。
この2つの測定結果を比較照合すると、高さを測定できた点については2つの結果はほぼ等しくなる。一方、スリット照明装置23aおよび23bのいずれかの影になる印刷半田10xの側面においては、2つの測定結果のうち、一方は測定値があり、もう一方は測定不能という異なった結果になる。
そこで、印刷半田10xの表面を形成する任意の点ごとにこの2つの測定結果を比較して、両方ともに測定値がある点については2つの測定値の平均値をその点の高さ測定値とする。一方に測定値があり、もう一方には測定値がない点については、一方の測定値そのものをその点の測定値とする。このような処理を施すことで、死角のない3D測定を実現することができる。
次に、図33〜図35に基づいて、本実施の形態の2D・3D半田印刷検査装置を半導体製造装置に適用した例を説明する。それぞれ、図33は1つの回路部品となるべき基板が複数個連結した多面取り基板を示した図、図34はMCM構造の半導体集積回路装置を示した図、図35は半導体集積回路装置を製造する半導体製造装置を示した構成図、である。
ここでは、2D・3D半田印刷検査装置を半導体製造に適用する例として、MCM(Multi Chip Module)の半導体集積回路装置について説明する。MCMは、図34に示すように、前述した検査対象基板と同種の有機多層基板あるいはセラミック多層基板などの基板100に、前述したBGA(CSP)などのウエハチップ101と、前述したチップ抵抗、チップコンデンサのチップ部品102などの回路部品を搭載して1つの機能部品にしたものであり、基板100の裏面に搭載された半田ボール103が外部接続用の端子となる。このMCMでは、ウエハチップ101の半田バンプ104と基板100との接続部分にはアンダーフィル105が充填されている。
この製造には、基板組立と同じプロセスを活用することができる。つまり、まず基板100の上にクリーム半田を印刷し、その印刷状態を検査し、印刷状態が適切であればウエハチップ101とチップ部品102を搭載し、そしてリフローにて加熱することでクリーム半田を溶融させ、それが凝固することでウエハチップ101とチップ部品102を基板100と電気的に接続させるというプロセスである。
通常、回路部品は小さいので、その1個1個を処理していたのでは効率が悪い。そこで、図33に示すように、1つの回路部品となるべき基板100が縦横に複数個連結した多面取り基板(1枚の基板を分割して複数枚の基板がとれる構成)100aを使用するのが一般的である。
以下、図35に基づいて、MCM構造の半導体集積回路装置の製造プロセスをもう少し詳しく説明していく。まず、多面取り基板100aが複数枚セットされたマガジンを基板ローダ110にセットする。基板ローダ110は、マガジン内の基板100aを1枚ずつ次工程に送り出す。さらに、半田印刷機111で基板100a上にクリーム半田を印刷する。
そして、前述した、印刷半田の高さ・体積の測定原理、印刷半田の高さ・体積測定における高さ測定基準の確実な検出方法、パッド上面基準による印刷半田の高さ・体積を測定する検査データ作成方法、基板反り対応およびパッド上面基準による印刷半田の高さ・体積の検査方法、目視判定に適した3D半田印刷検査方法を適用して、半田印刷検査機112で多面取り基板100aの各基板100上の印刷半田の印刷状態が適正かどうかを検査する。
この検査にあたっては、基板100の一部分、たとえば複数の箇所の狭い部分、4隅と中央の部分、パターンが近接した部分、回路部品やコネクタの端子が接続される部分などや、クリーム半田の抜け難い部分を3D検査し、その後、基板100の全面を2D検査する。これにより、検査効率を可能な限り高めながら印刷不良を適切に排除することができ、よって印刷半田の品質が確保され、半導体製造工程の品質を大幅に高めることができる。
続いて、マウンタ113で多面取り基板100aの各基板100上にウエハチップ101とチップ部品102を搭載する。図35ではマウンタ113という1つの表記になっているが、ウエハチップ101の搭載はフリップチップボンダ、チップ部品102の搭載は高速チップマウンタと分かれるのが一般的である。
さらに、リフロー114で加熱することによりクリーム半田を溶融させ、その後の冷却過程を経ることで溶融半田が凝固し、ウエハチップ101とチップ部品102が多面取り基板100aの各基板100と電気的に接合する。そして、アンダーフィル注入機115にて、ウエハチップ101と基板100の間にアンダーフィル105を注入する。
続いて、切断機116で、多面取り基板100aを各基板100毎に1個1個の半導体集積回路装置に切断する。そして、トレイ収納機117により、切断した半導体集積回路装置を1つ1つトレイに収納する。このようにして、図34に示すようなMCM構造の半導体集積回路装置は完成する。
以上のプロセスのリフローにおいて、印刷半田の量が少ないと回路部品と基板100が接合不良を起こし、印刷半田の量が多すぎると、隣の電極(パッド)との短絡を起こすという不良が発生する。しかし、本実施の形態では、半田印刷検査機112によって基板100上に印刷されたクリーム半田が適正かどうかを予め検査し、その結果、適正なものだけが以降の工程に流れるので、半田印刷起因で発生する製造不良を防止することができる。
以上、本発明者によってなされた発明を実施の形態に基づき具体的に説明したが、本発明は前記実施の形態に限定されるものではなく、その要旨を逸脱しない範囲で種々変更可能であることはいうまでもない。
本発明の半導体集積回路装置の製造方法は、特に、基板上に印刷された半田を3Dおよび2Dで検査する半田印刷検査装置による検査工程に適用可能であり、さらに各種装置などの基板上に半田を印刷する検査機能付き半田印刷機などにも広く応用可能である。
10 検査対象基板
10a,10b,10c,10x 印刷半田
11 高さ測定領域
11a,11b 高さ測定基準ライン
12 基板基材
13 配線パターン
13a スルーホール
14 レジスト
15 パッド部
15a,15b,15c パッド
16 内層パターン部
17 高さ測定基準面
18a,18b,18c パッド上面高さ
20 照明装置
21 赤緑色LED照明装置(2D検査用)
22 青LED照明装置(2D検査用)
23,23a,23b スリット照明装置(3D検査用)
24 スリット光(3D検査用)
241 スリット光跡(基板上)
242 スリット光跡(印刷半田上)
31 カメラ
31a CCDカメラ(2D検査用)
31b CMOSカメラ(3D検査用)
32,32a,32b レンズ
40 撮像範囲(2D検査用)
41 撮像範囲(3D検査用)
50 画像入力記憶部
51 半田撮像画像データ(2D検査用)
52 パッド撮像画像データ(2D検査用)
53 撮像画像データ(3D検査用)
53a 撮像画像データ(基板高さ測定用)
53b 撮像画像データ(印刷半田高さ測定用)
53c,53d,53e 実画像データ(印刷半田高さ測定用)
531 スリット光跡(基板上)
532 スリット光跡(印刷半田上)
533 計測基準ライン
60 画像処理部
61 3D測定データ
62 立体表示(3D測定データ)
71 X軸ロボット
72 Y軸ロボット
73 ロボット制御部
74 表示装置
741 不良パッド拡大表示領域
742 カメラ撮像画像領域
743 基板全体イメージ図および不良パッド表示領域
744 検査カウンタおよび各種情報表示領域
80 全体制御部
81 パッドデータ
82 視野割付データ
83 撮像データ記憶領域
84 検査データ作成プログラム
85 検査実行プログラム
90 QFP
90a 端子
91 コネクタ
91a 端子
91b コネクタ搭載部
92 BGA(CSP)
92a 端子
92b BGA(CSP)搭載部
93a,93b,93c,93d,93e,93f エリア
94a,94b,94c,94d,94e 搭載部
100 基板
100a 多面取り基板
101 ウエハチップ
102 チップ部品
103 半田ボール
104 半田バンプ
105 アンダーフィル
110 基板ローダ
111 半田印刷機
112 半田印刷検査機
113 マウンタ
114 リフロー
115 アンダーフィル注入機
116 切断機
117 トレイ収納機

Claims (4)

  1. 以下の工程を含む半導体集積回路装置の製造方法:
    (a)配線基板上に半田を印刷する工程;
    (b)前記配線基板上に印刷された半田を検査する工程;
    (c)前記配線基板上に印刷された半田上に回路部品を搭載する工程、
    前記(b)工程は、3次元検査と2次元検査を含み、前記3次元検査と前記2次元検査とは、光源の切り替えが可能な共通のカメラを用いて実行され、前記3次元検査と前記2次元検査との間で異なる光の照射を可能とすることにより、前記共通のカメラによって撮像された画像を用いて前記半田の検査を行う。
  2. 請求項1に記載の半導体集積回路装置の製造方法において、
    前記2次元検査は、前記3次元検査の後に実行される。
  3. 請求項2に記載の半導体集積回路装置の製造方法において、
    前記共通のカメラは、CMOSエリアカメラである。
  4. 請求項2に記載の半導体集積回路装置の製造方法において、
    前記光源はLED照明ランプである。
JP2009250101A 2009-10-30 2009-10-30 半導体集積回路装置の製造方法 Expired - Fee Related JP4892602B2 (ja)

Priority Applications (1)

Application Number Priority Date Filing Date Title
JP2009250101A JP4892602B2 (ja) 2009-10-30 2009-10-30 半導体集積回路装置の製造方法

Applications Claiming Priority (1)

Application Number Priority Date Filing Date Title
JP2009250101A JP4892602B2 (ja) 2009-10-30 2009-10-30 半導体集積回路装置の製造方法

Related Parent Applications (1)

Application Number Title Priority Date Filing Date
JP2004015718A Division JP4746841B2 (ja) 2004-01-23 2004-01-23 半導体集積回路装置の製造方法

Publications (2)

Publication Number Publication Date
JP2010033593A true JP2010033593A (ja) 2010-02-12
JP4892602B2 JP4892602B2 (ja) 2012-03-07

Family

ID=41737897

Family Applications (1)

Application Number Title Priority Date Filing Date
JP2009250101A Expired - Fee Related JP4892602B2 (ja) 2009-10-30 2009-10-30 半導体集積回路装置の製造方法

Country Status (1)

Country Link
JP (1) JP4892602B2 (ja)

Cited By (3)

* Cited by examiner, † Cited by third party
Publication number Priority date Publication date Assignee Title
JP2012177611A (ja) * 2011-02-25 2012-09-13 Omron Corp 三次元形状計測装置、および三次元形状計測方法
WO2014093730A1 (en) * 2012-12-14 2014-06-19 Kla-Tencor Corporation Apparatus and method for optical inspection, magnetic field and height mapping
CN113614205A (zh) * 2019-03-26 2021-11-05 杰富意钢铁株式会社 炼焦炉砌炉时的检查装置、检查方法以及炼焦炉砌炉方法

Families Citing this family (1)

* Cited by examiner, † Cited by third party
Publication number Priority date Publication date Assignee Title
TWI784629B (zh) * 2021-07-21 2022-11-21 閎康科技股份有限公司 焊接品質檢測方法及焊接品質檢測設備

Citations (22)

* Cited by examiner, † Cited by third party
Publication number Priority date Publication date Assignee Title
JPH05296745A (ja) * 1992-04-22 1993-11-09 Toshiba Corp 形状測定装置
JPH07307599A (ja) * 1994-05-10 1995-11-21 Shigeki Kobayashi 検査装置及び製品製造方法
JPH07311025A (ja) * 1994-05-17 1995-11-28 Komatsu Ltd 3次元形状検査装置
JPH08327332A (ja) * 1995-05-30 1996-12-13 Ando Electric Co Ltd クリームはんだ膜厚測定装置
JPH11198343A (ja) * 1998-01-16 1999-07-27 Furukawa Electric Co Ltd:The クリーム半田印刷検査方法
JPH11241916A (ja) * 1998-02-25 1999-09-07 Juki Corp 高さ測定方法、高さデータ処理方法及び高さ測定装置
WO1999056075A1 (en) * 1998-04-28 1999-11-04 Semiconductor Technologies & Instruments, Inc. Inspection system and method for leads of semiconductor devices
JP2000022326A (ja) * 1998-07-07 2000-01-21 Sankyo Seiki Mfg Co Ltd はんだ検査装置及び方法
JP2000131037A (ja) * 1998-10-26 2000-05-12 Hitachi Denshi Ltd 物体形状検査装置
JP2000193432A (ja) * 1998-12-25 2000-07-14 Tani Denki Kogyo Kk 画像認識による計測方法および装置
US6118540A (en) * 1997-07-11 2000-09-12 Semiconductor Technologies & Instruments, Inc. Method and apparatus for inspecting a workpiece
JP2000337823A (ja) * 1999-05-27 2000-12-08 Mitsubishi Heavy Ind Ltd 表面検査装置及び表面検査方法
JP2001130728A (ja) * 1999-11-04 2001-05-15 Anritsu Corp プリント基板の搬送装置及び方法並びにプリント基板検査装置
JP2001153629A (ja) * 1999-11-29 2001-06-08 Anritsu Corp 印刷半田測定装置
JP3203397B2 (ja) * 1992-08-25 2001-08-27 松下電器産業株式会社 はんだ付け状態検査装置とはんだ付け状態検査方法
JP2003121115A (ja) * 2001-10-16 2003-04-23 Nikke Kikai Seisakusho:Kk 外観検査装置および外観検査方法
JP2003279334A (ja) * 2002-02-01 2003-10-02 Ckd Corp 三次元計測装置、フィルタ格子縞板及び照明手段
US20040184653A1 (en) * 2003-03-20 2004-09-23 Baer Richard L. Optical inspection system, illumination apparatus and method for use in imaging specular objects based on illumination gradients
JP2004317291A (ja) * 2003-04-16 2004-11-11 Ckd Corp 半田外観検査装置
JP2004317126A (ja) * 2003-04-10 2004-11-11 Renesas Technology Corp はんだ印刷装置
JP2005207918A (ja) * 2004-01-23 2005-08-04 Renesas Technology Corp 半導体集積回路装置の製造方法
JP2006527372A (ja) * 2003-06-11 2006-11-30 ソルヴィジョン 感度及びダイナミックレンジを増大させた3d及び2d測定システム及びその方法

Patent Citations (24)

* Cited by examiner, † Cited by third party
Publication number Priority date Publication date Assignee Title
JPH05296745A (ja) * 1992-04-22 1993-11-09 Toshiba Corp 形状測定装置
JP3203397B2 (ja) * 1992-08-25 2001-08-27 松下電器産業株式会社 はんだ付け状態検査装置とはんだ付け状態検査方法
JPH07307599A (ja) * 1994-05-10 1995-11-21 Shigeki Kobayashi 検査装置及び製品製造方法
JPH07311025A (ja) * 1994-05-17 1995-11-28 Komatsu Ltd 3次元形状検査装置
JPH08327332A (ja) * 1995-05-30 1996-12-13 Ando Electric Co Ltd クリームはんだ膜厚測定装置
US6118540A (en) * 1997-07-11 2000-09-12 Semiconductor Technologies & Instruments, Inc. Method and apparatus for inspecting a workpiece
JPH11198343A (ja) * 1998-01-16 1999-07-27 Furukawa Electric Co Ltd:The クリーム半田印刷検査方法
JPH11241916A (ja) * 1998-02-25 1999-09-07 Juki Corp 高さ測定方法、高さデータ処理方法及び高さ測定装置
WO1999056075A1 (en) * 1998-04-28 1999-11-04 Semiconductor Technologies & Instruments, Inc. Inspection system and method for leads of semiconductor devices
JP2002513137A (ja) * 1998-04-28 2002-05-08 セミコンダクター テクノロジーズ アンド インスツルメンツ, インコーポレイテッド 半導体デバイスのリードの検査装置及び方法
JP2000022326A (ja) * 1998-07-07 2000-01-21 Sankyo Seiki Mfg Co Ltd はんだ検査装置及び方法
JP2000131037A (ja) * 1998-10-26 2000-05-12 Hitachi Denshi Ltd 物体形状検査装置
JP2000193432A (ja) * 1998-12-25 2000-07-14 Tani Denki Kogyo Kk 画像認識による計測方法および装置
JP2000337823A (ja) * 1999-05-27 2000-12-08 Mitsubishi Heavy Ind Ltd 表面検査装置及び表面検査方法
JP2001130728A (ja) * 1999-11-04 2001-05-15 Anritsu Corp プリント基板の搬送装置及び方法並びにプリント基板検査装置
JP2001153629A (ja) * 1999-11-29 2001-06-08 Anritsu Corp 印刷半田測定装置
JP2003121115A (ja) * 2001-10-16 2003-04-23 Nikke Kikai Seisakusho:Kk 外観検査装置および外観検査方法
JP2003279334A (ja) * 2002-02-01 2003-10-02 Ckd Corp 三次元計測装置、フィルタ格子縞板及び照明手段
US20040184653A1 (en) * 2003-03-20 2004-09-23 Baer Richard L. Optical inspection system, illumination apparatus and method for use in imaging specular objects based on illumination gradients
WO2004086015A2 (en) * 2003-03-20 2004-10-07 Agilent Technologies, Inc. Optical inspection system, illumination apparatus and method for imaging specular objects based on illumination gradients
JP2004317126A (ja) * 2003-04-10 2004-11-11 Renesas Technology Corp はんだ印刷装置
JP2004317291A (ja) * 2003-04-16 2004-11-11 Ckd Corp 半田外観検査装置
JP2006527372A (ja) * 2003-06-11 2006-11-30 ソルヴィジョン 感度及びダイナミックレンジを増大させた3d及び2d測定システム及びその方法
JP2005207918A (ja) * 2004-01-23 2005-08-04 Renesas Technology Corp 半導体集積回路装置の製造方法

Cited By (4)

* Cited by examiner, † Cited by third party
Publication number Priority date Publication date Assignee Title
JP2012177611A (ja) * 2011-02-25 2012-09-13 Omron Corp 三次元形状計測装置、および三次元形状計測方法
WO2014093730A1 (en) * 2012-12-14 2014-06-19 Kla-Tencor Corporation Apparatus and method for optical inspection, magnetic field and height mapping
US9513230B2 (en) 2012-12-14 2016-12-06 Kla-Tencor Corporation Apparatus and method for optical inspection, magnetic field and height mapping
CN113614205A (zh) * 2019-03-26 2021-11-05 杰富意钢铁株式会社 炼焦炉砌炉时的检查装置、检查方法以及炼焦炉砌炉方法

Also Published As

Publication number Publication date
JP4892602B2 (ja) 2012-03-07

Similar Documents

Publication Publication Date Title
JP4746841B2 (ja) 半導体集積回路装置の製造方法
JP5421763B2 (ja) 検査装置および検査方法
JP4493421B2 (ja) プリント回路基板検査装置とプリント回路基板組み立て検査ラインシステムおよびプログラム
KR100915128B1 (ko) 부품장착 관리방법, 장착검사장치 및 장착시스템
US9250198B2 (en) Board inspection apparatus
TWI858453B (zh) 半導體製造裝置、檢查裝置及半導體裝置的製造方法
JP4892602B2 (ja) 半導体集積回路装置の製造方法
TWI452284B (zh) The method of detecting the mark of the multi-board, the method of detecting the device and the multi-board
JP3722608B2 (ja) 外観検査装置
CN105845594A (zh) 检查半导体封装的印刷电路板的方法
JP6387620B2 (ja) 品質管理システム
JP4734650B2 (ja) クリームはんだ印刷の不良検出方法および装置
JP3868917B2 (ja) 三次元計測装置及び検査装置
JP2006286744A (ja) 半導体実装基板、半導体実装用基板、その外観検査方法及び外観検査装置
TWI784051B (zh) 半導體材料附接方法
JPH0315707A (ja) リード検査方法およびそれに使用されるリード測定装置並びにリード検査装置
JP2008041758A (ja) フラックスの転写状態検査方法及び装置
CN109616427B (zh) 半导体材料附接方法
JP2025073834A (ja) フラックス塗布状態検査装置及びフラックス塗布状態検査方法
CN105580122A (zh) 用于定位具有电子元器件的承载件的方法和以此类方法生产的电子元器件
JPH09330954A (ja) パッケージ搭載位置確認装置
JPH0213838A (ja) リード検査方法およびそれに使用されるリード測定装置並びにリード検査装置
KR20100052361A (ko) 표면실장모듈 검사 시스템

Legal Events

Date Code Title Description
A711 Notification of change in applicant

Free format text: JAPANESE INTERMEDIATE CODE: A712

Effective date: 20100528

A131 Notification of reasons for refusal

Free format text: JAPANESE INTERMEDIATE CODE: A131

Effective date: 20110222

A521 Written amendment

Free format text: JAPANESE INTERMEDIATE CODE: A523

Effective date: 20110420

A131 Notification of reasons for refusal

Free format text: JAPANESE INTERMEDIATE CODE: A131

Effective date: 20110517

A521 Written amendment

Free format text: JAPANESE INTERMEDIATE CODE: A523

Effective date: 20110714

A131 Notification of reasons for refusal

Free format text: JAPANESE INTERMEDIATE CODE: A131

Effective date: 20110802

A521 Written amendment

Free format text: JAPANESE INTERMEDIATE CODE: A523

Effective date: 20110930

TRDD Decision of grant or rejection written
A01 Written decision to grant a patent or to grant a registration (utility model)

Free format text: JAPANESE INTERMEDIATE CODE: A01

Effective date: 20111122

A01 Written decision to grant a patent or to grant a registration (utility model)

Free format text: JAPANESE INTERMEDIATE CODE: A01

A61 First payment of annual fees (during grant procedure)

Free format text: JAPANESE INTERMEDIATE CODE: A61

Effective date: 20111219

R150 Certificate of patent or registration of utility model

Ref document number: 4892602

Country of ref document: JP

Free format text: JAPANESE INTERMEDIATE CODE: R150

Free format text: JAPANESE INTERMEDIATE CODE: R150

FPAY Renewal fee payment (event date is renewal date of database)

Free format text: PAYMENT UNTIL: 20141222

Year of fee payment: 3

S531 Written request for registration of change of domicile

Free format text: JAPANESE INTERMEDIATE CODE: R313531

R350 Written notification of registration of transfer

Free format text: JAPANESE INTERMEDIATE CODE: R350

LAPS Cancellation because of no payment of annual fees