JP2010033520A - 自動販売機 - Google Patents

自動販売機 Download PDF

Info

Publication number
JP2010033520A
JP2010033520A JP2008197820A JP2008197820A JP2010033520A JP 2010033520 A JP2010033520 A JP 2010033520A JP 2008197820 A JP2008197820 A JP 2008197820A JP 2008197820 A JP2008197820 A JP 2008197820A JP 2010033520 A JP2010033520 A JP 2010033520A
Authority
JP
Japan
Prior art keywords
heat exchanger
chamber
compressor
refrigerant
heat
Prior art date
Legal status (The legal status is an assumption and is not a legal conclusion. Google has not performed a legal analysis and makes no representation as to the accuracy of the status listed.)
Granted
Application number
JP2008197820A
Other languages
English (en)
Other versions
JP5176759B2 (ja
Inventor
Kentetsu Yasujima
賢哲 安嶋
Toshiaki Tsuchiya
敏章 土屋
Takahiro Mitsumoto
孝博 三本
Takeshi Matsushita
毅 松下
Koji Takiguchi
浩司 滝口
Yuhei Yamagami
雄平 山上
Makoto Ishida
真 石田
Hisanori Ishita
尚紀 井下
Current Assignee (The listed assignees may be inaccurate. Google has not performed a legal analysis and makes no representation or warranty as to the accuracy of the list.)
Fuji Electric Retail Systems Co Ltd
Original Assignee
Fuji Electric Retail Systems Co Ltd
Priority date (The priority date is an assumption and is not a legal conclusion. Google has not performed a legal analysis and makes no representation as to the accuracy of the date listed.)
Filing date
Publication date
Application filed by Fuji Electric Retail Systems Co Ltd filed Critical Fuji Electric Retail Systems Co Ltd
Priority to JP2008197820A priority Critical patent/JP5176759B2/ja
Publication of JP2010033520A publication Critical patent/JP2010033520A/ja
Application granted granted Critical
Publication of JP5176759B2 publication Critical patent/JP5176759B2/ja
Expired - Fee Related legal-status Critical Current
Anticipated expiration legal-status Critical

Links

Images

Landscapes

  • Control Of Vending Devices And Auxiliary Devices For Vending Devices (AREA)
  • Devices That Are Associated With Refrigeration Equipment (AREA)

Abstract

【課題】特別の加熱手段を設置することなく、圧縮機に戻る直前の冷媒を加熱することができる自動販売機を提供する。
【解決手段】自動販売機1000が有する冷凍回路1000sは、圧縮機1と、ガスクーラ2と、全室冷却用膨張手段3Cと、左室熱交換器5L、中室熱交換器5Mおよび右室熱交換器5Rと、ガスクーラ2と熱交換自在な庫外熱交換器8と、を有す。2室加熱運転モード(HHC運転モード)の際、左室熱交換器5Lおよび中室熱交換器5Mにおいて凝縮した中温高圧冷媒は庫外熱交換器8に流入した後、加熱用膨張手段3Hにおいて膨張し、右室熱交換器5Rにおいて蒸発して中温低圧冷媒になり、ガスクーラ2を経由して圧縮機1に戻る。このとき、中温高圧冷媒の保有する温熱が中温低圧冷媒に受け渡される。
【選択図】図3

Description

本発明は自動販売機、特に、缶、ビン、パック、ペットボトル等の容器に入れた飲料等の商品を冷却または加熱して販売に供する自動販売機に関する。
従来、自動販売機は、冷媒を圧縮する圧縮機と、圧縮された冷媒(高温高圧)を凝縮させる庫外凝縮器と、凝縮された冷媒(中温高圧)を膨張させる膨張手段と、膨張した冷媒(低温低圧)を蒸発させる庫内熱交換器(蒸発器に同じ)と、これらを順次連結して蒸発した冷媒(中温低圧)を圧縮機に戻す冷凍サイクルを有し、商品を収納する各商品収納庫内に庫内蒸発器を設置して、商品を冷却していた。
また、庫内熱交換器に高圧高温冷媒(ホットガスに同じ)を流して、温熱を放出させて(凝縮器と機能させて)商品収納庫内を加熱する「ヒートポンプ運転」を実行する発明が開示されている(例えば、特許文献1参照)。
特開2002−298210号公報(第3−4頁、図1)
しかしながら、前記特許文献1に開示された発明は、加熱しようとする商品収納庫(庫内熱交換器)に高温高圧冷媒を供給し、これを通過した冷媒を膨張して、冷却しようとする商品収納庫(庫内熱交換器)に低温低圧冷媒を供給するものであるため、以下のような問題があった。
すなわち、加熱しようとする商品収納庫の数(庫内熱交換器の負荷に同じ)が、冷却しようとする商品収納庫の数(庫内熱交換器の負担に同じ)よりも大きい場合、冷却しようとする商品収納庫に十分に冷熱が放出されない(低温低圧冷媒が十分な温熱を吸収しないに同じ)ため、液状態の冷媒が圧縮機に戻ることがあった。そうすると、圧縮機の吐出冷媒温度が低下し、加熱能力が低下することになる。さらに、加熱能力の低下を補おうとすると、圧縮機の運転時間が延長され、消費電力が増加していた。
本発明は上記問題を解決するものであって、特別の加熱手段を設置することなく、圧縮機に戻る直前の冷媒を加熱することができる自動販売機を提供することを目的とする。
(1)本発明に係る自動販売機(請求項1)は、断熱材によって囲まれ一面に開口部を具備する筐体と、
前記開口部を開閉する断熱扉と、
前記筐体内に配置された仕切板によって仕切られた、左室、中室および右室と、
該左室、中室および右室にそれぞれ配置され、その内部の空気と熱交換をする左室熱交換器、中室熱交換器および右室熱交換器と、
冷媒を圧縮する圧縮機と、
供給された冷媒と外気との間で熱交換可能、且つ、相互に熱交換可能なガスクーラおよび庫外熱交換器と、
を有し、
前記圧縮機において圧縮された冷媒が、まず前記ガスクーラを通過して前記膨張手段を通過した後、前記左室熱交換器、中室熱交換器および右室熱交換器を通過した後、前記圧縮機に戻る全室冷却運転モードと、
前記圧縮機において圧縮された冷媒が、まず前記左室熱交換器および前記中室熱交換器の両方を通過し、前記庫外熱交換器、前記膨張手段、および前記右室熱交換器を順次通過した後、前記ガスクーラを経由して前記圧縮機に戻る2室加熱運転モードと、
または、前記圧縮機において圧縮された冷媒が、まず前記左室熱交換器を通過し、前記庫外熱交換器、前記膨張手段、前記中室熱交換器および前記右室熱交換器を順次通過した後、前記ガスクーラを経由して前記圧縮機に戻る1室加熱運転モードと、
または、前記圧縮機において圧縮された冷媒が、まず前記中室熱交換器を通過し、前記庫外熱交換器、前記膨張手段、前記左室熱交換器および前記右室熱交換器を順次通過した後、前記ガスクーラを経由して前記圧縮機に戻る1室加熱運転モードと、
を実行することを特徴とする。
(2)本発明に係る自動販売機(請求項2)は、前記(1)において、前記ガスクーラが、複数枚のガスクーラ放熱板と、該ガスクーラ放熱板を千鳥状に貫通するガスクーラ伝熱管と、を具備し、
前記庫外熱交換器が、複数枚の庫外放熱板と、該庫外放熱板を千鳥状に貫通する庫外伝熱管と、を具備し、
前記ガスクーラ放熱板と前記庫外放熱板とが、接合または一体的に形成されてなることを特徴とする。
(3)本発明に係る自動販売機(請求項3)は、断熱材によって囲まれ一面に開口部を具備する筐体と、
前記開口部を開閉する断熱扉と、
前記筐体内に配置された仕切板によって仕切られた、左室、中室および右室と、
該左室、中室および右室にそれぞれ配置され、その内部の空気と熱交換をする左室熱交換器、中室熱交換器および右室熱交換器と、
冷媒を圧縮する圧縮機と、
供給された冷媒と外気との間で熱交換可能、且つ、相互に熱交換可能なガスクーラ、庫外熱交換器および戻り熱交換器と、
供給された冷媒を膨張させる膨張手段と、
を有し、
前記圧縮機において圧縮された冷媒が、まず前記ガスクーラを通過して前記膨張手段を通過した後、前記左室熱交換器、中室熱交換器および右室熱交換器を通過した後、前記戻り熱交換器を経由して前記圧縮機に戻る全室冷却運転モードと、
前記圧縮機において圧縮された冷媒が、まず前記左室熱交換器および前記中室熱交換器の両方を通過し、前記庫外熱交換器、前記膨張手段、および前記右室熱交換器を順次通過した後、前記戻り熱交換器を経由して前記圧縮機に戻る2室加熱運転モードと、
または、前記圧縮機において圧縮された冷媒が、まず前記左室熱交換器を通過し、前記庫外熱交換器、前記膨張手段、前記中室熱交換器および前記右室熱交換器を順次通過した後、前記戻り熱交換器を経由して前記圧縮機に戻る1室加熱運転モードと、
または、前記圧縮機において圧縮された冷媒が、まず前記中室熱交換器を通過し、前記庫外熱交換器、前記膨張手段、前記左室熱交換器および前記右室熱交換器を順次通過した後、前記戻り熱交換器を経由して前記圧縮機に戻る1室加熱運転モードと、
を実行することを特徴とする。
(4)本発明に係る自動販売機(請求項4)は、前記(3)において、前記ガスクーラが、複数枚のガスクーラ放熱板と、該ガスクーラ放熱板を千鳥状に貫通するガスクーラ伝熱管と、を具備し、
前記庫外熱交換器が、複数枚の庫外放熱板と、該庫外放熱板を千鳥状に貫通する庫外伝熱管と、を具備し、
前記戻り熱交換器が、複数枚の戻り放熱板と、該戻り放熱板を千鳥状に貫通する戻り伝熱管と、を具備し、
前記ガスクーラ放熱板と前記庫外放熱板と前記戻り放熱板とが、接合または一体的に形成されてなることを特徴とする。
(5)本発明に係る自動販売機(請求項5)は、断熱材によって囲まれ一面に開口部を具備する筐体と、
前記開口部を開閉する断熱扉と、
前記筐体内に配置された仕切板によって仕切られた、左室、中室および右室と、
該左室、中室および右室にそれぞれ配置され、その内部の空気と熱交換をする左室熱交換器、中室熱交換器および右室熱交換器と、
冷媒を圧縮する圧縮機と、
供給された冷媒と外気との間で熱交換可能、且つ、相互に熱交換可能なガスクーラ、庫外熱交換器および戻り熱交換器と、
供給された冷媒を膨張させる膨張手段と、
前記庫外熱交換器を通過した直後の冷媒が供給される内部高圧側配管と、前記圧縮機に戻る直前の冷媒が供給される内部低圧側配管とを具備する内部熱交換器と、
を有し、
前記圧縮機において圧縮された冷媒が、まず前記ガスクーラを通過して前記膨張手段を通過した後、前記左室熱交換器、中室熱交換器および右室熱交換器を通過した後、前記戻り熱交換器を経由して前記圧縮機に戻る全室冷却運転モードと、
前記圧縮機において圧縮された冷媒が、まず前記左室熱交換器および前記中室熱交換器の両方を通過し、前記庫外熱交換器、前記内部高圧側配管、前記膨張手段、および前記右室熱交換器を順次通過した後、前記内部低圧側配管を経由して前記圧縮機に戻る2室加熱運転モードと、
または、前記圧縮機において圧縮された冷媒が、まず前記左室熱交換器を通過し、前記庫外熱交換器、前記内部高圧側配管、前記膨張手段、前記中室熱交換器および前記右室熱交換器を順次通過した後、前記内部低圧側配管を経由して前記圧縮機に戻る1室加熱運転モードと、
または、前記圧縮機において圧縮された冷媒が、まず前記中室熱交換器を通過し、前記庫外熱交換器、前記内部高圧側配管、前記膨張手段、前記左室熱交換器および前記右室熱交換器を順次通過した後、前記内部低圧側配管を経由して前記圧縮機に戻る1室加熱運転モードと、
を実行することを特徴とする。
(i)本発明の請求項1および請求項2に係る自動販売機は、相互に熱交換可能なガスクーラおよび庫外熱交換器を有するから、2室加熱運転モードおよび1室加熱運転モードにおいて、圧縮機に戻る直前の冷媒は、ガスクーラに供給され、庫外熱交換器を通過する冷媒の保有する温熱が受け渡されるから、圧縮機に戻る冷媒の温度が上昇する。したがって、液状態の冷媒が圧縮機に吸い込まれることが防止され、加熱能力が維持される。このとき、膨張手段において膨張する前の冷媒が保有する温熱が、圧縮機において圧縮される前の冷媒に受け渡されるだけであるから、特別の加熱手段を設置して、冷媒加熱のための特別のエネルギを供給する必要がないため、製造コストの上昇や消費電力の増加が抑えられる。
(ii)本発明の請求項3および請求項4に係る自動販売機は、相互に熱交換可能なガスクーラ、庫外熱交換器および戻り熱交換器を有するから、2室加熱運転モードおよび1室加熱運転モードにおいて、圧縮機に戻る直前の冷媒は、戻り熱交換器に供給され、庫外熱交換器を通過する冷媒の保有する温熱が受け渡されるから、圧縮機に戻る冷媒の温度が上昇する。また、全室冷却循環回路において、圧縮機に戻る直前の冷媒は、戻り熱交換器に供給され、ガスクーラを通過する冷媒の保有する温熱が受け渡されるから、圧縮機に戻る冷媒の温度が上昇する。したがって、液状態の冷媒が圧縮機に吸い込まれることが防止され、加熱能力が維持される。このとき、膨張手段において膨張する前の冷媒が保有する温熱が、圧縮機において圧縮される前の冷媒に受け渡されるだけであるから、特別の加熱手段を設置して、冷媒加熱のための特別のエネルギを供給する必要がないため、製造コストの上昇や消費電力の増加が抑えられる。
(iii)本発明の請求項5に係る自動販売機は、内部高圧側配管と内部低圧側配管とを具備する内部熱交換器を有するから、2室加熱運転モードおよび1室加熱運転モードにおいて、圧縮機に戻る直前の冷媒は内部低圧側配管に供給され、内部高圧側配管を通過する冷媒の保有する温熱が受け渡されるから、圧縮機に戻る冷媒の温度が上昇する。したがって、液状態の冷媒が圧縮機に吸い込まれることが防止され、加熱能力が維持される。このとき、膨張手段において膨張する前の冷媒が保有する温熱が、圧縮機において圧縮される前の冷媒に受け渡されるだけであるから、特別の加熱手段を設置して、冷媒加熱のための特別のエネルギを供給する必要がないため、製造コストの上昇や消費電力の増加が抑えられる。
[実施の形態1]
(自動販売機)
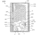
図1〜図5は本発明の実施の形態1に係る自動販売機を説明するものであって、図1は模式的に示す正面視の断面図、図2は模式的に示す側面視の断面図、図3はこれに設置された冷凍回路の構成図、図4は冷媒の流れ方を示す冷凍回路構成図、図5は一部(ガスクーラおよび庫外熱交換器)を模式的に示す側面図である。図4において、冷媒の流れ方向矢印で、冷媒が流れる配管を実線で、冷媒が流れない配管を破線で、それぞれ示している。
図1および図2において、自動販売機1000は、自動販売機1000の本体のキャビネット200と、キャビネット200の内部で断熱材300に包囲された商品収納庫400と、商品Sを補充する時に商品収納庫400を開閉する商品補充用扉404と、商品収納庫400と外気を遮断するための内扉405と、自動販売機1000の前扉406と、を有している。
商品収納庫400は仕切り板403LM、403MRによって商品室(以下、「左室」と称す)40L、商品室(以下、「中室」と称す)40M、商品室(以下、「右室」と称す)40Rに仕切られている。
なお、以下の説明において、左室40L、中室40Mおよび右室40Rのそれぞれに配置される部材において、共通する内容を説明する場合には、それぞれをまとめてまたはそれぞれを個別に、部材名称を形容する「左室、中室、右室」や、符号の添え字「L、M、R」を省略する場合がある。
各商品収納庫400には、商品Sを収納するための商品収納ラック407と、商品収納ラック407から自然落下した商品Sを取出すための商品取出し口409と、商品Sを商品取出し口409まで誘導する商品誘導板408とが設置され、商品誘導板408の下方が庫内部品収納室410となっている。また、庫内空気を商品収納ラック407を経由して庫内部品収納室410に循環させるための循環ダクト420が設置されている。
そして、庫内部品収納室410には、庫内空気を商品誘導板408(通気孔が設けられている)を通過して商品Sに衝突させる送風手段430と、送風手段430の下流側(循環ダクト420から遠い側)に庫内熱交換器440と、送風手段430および庫内熱交換器440を収納する送風ダクト450と、送風ダクト450に連通して空気を通す風胴460と、が設置されている。
さらに、商品収納庫400の下方には、コンデンシングユニット470および庫外ファン481を収納するための機械室480と、電装品および制御手段を収納するための電装品収納室490とが配置されている。
(冷却用配管系)
図3において、自動販売機1000が有する冷凍回路1000sは、冷媒を圧縮する圧縮機1と、圧縮機1によって圧縮された冷媒(以下、「高温高圧冷媒」と称す)が選択的に供給され、これを冷却するガスクーラ2と、ガスクーラ2を通過した冷媒(以下、「中温高圧冷媒」と称す)が供給され、これに膨張する全室冷却用膨張手段(キャピラリに同じ)3と、全室冷却用膨張手段3Cにおいて膨張された冷媒(以下、「低温低圧冷媒」と称す)が分岐点4において分岐され、選択的に供給される、左室40Lに配置された左室熱交換器5L、中室40Mに配置された中室熱交換器5M、および右室40Rに配置された右室熱交換器5Rと、左室熱交換器5L、中室熱交換器5Mまたは右室熱交換器5Rの何れかを通過した冷媒(以下、「中温低温冷媒」と称す)が供給されるアキュムレータ7とを有している。
そして、圧縮機1と、ガスクーラ2と、全室冷却用膨張手段3Cと、左室熱交換器5L、中室熱交換器5Mおよび右室熱交換器5Rと、アキュムレータ7と、圧縮機1と、が配管(以下、「冷却用配管系」と称す場合がある)によって順次連結されている。
なお、符号jの部材と符号kの部材とを連結する配管を符号jkにて示し、配管jkに設置された電磁弁(開閉弁に同じ)を符号jkvと、配管jkに設置された逆止弁(逆流防止弁に同じ)を符号jknと、配管jkに設置されたストレーナを符号jksとしている。例えば、ガスクーラ2と全室冷却用膨張手段3Cとは配管23Cによって連結され、配管23Cには、電磁弁23Cvと、逆止弁23Cnと、ストレーナ23Csとが設置されている。
(加熱用配管系)
また、供給された冷媒(中温高圧冷媒に同じ)と外気との間で熱交換可能であって、ガスクーラ2との間で熱交換可能な庫外熱交換器8と、庫外熱交換器8を通過した冷媒を膨張させる加熱用膨張手段(キャピラリに同じ)3Hが設置されている。
そして、圧縮機1と左室熱交換器5Lとが、電磁弁15Lvが設置された配管15Lによって連結され、左室熱交換器5Lと庫外熱交換器8とが逆止弁58Lnが設置された配管58Lによって連結されている。同様に、圧縮機1と中室熱交換器5Mとが、電磁弁15Mvが設置された配管15Mによって連結され、中室熱交換器5Mと庫外熱交換器8とが逆止弁58Mnが設置された配管58Mによって連結されている。なお、配管58Lと配管58Mとは共通の配管58に統合されている。
さらに、庫外熱交換器8と加熱用膨張手段3Hとは、ストレーナ83Hsが設置された配管83Hによって連結され、加熱用膨張手段3Hの下流側と全室冷却用膨張手段3Cの下流側とは分岐点4の上流側において統合されている。
(戻りバイパス配管系)
左室熱交換器5Lとアキュムレータ7とを連結する配管57Lと、中室熱交換器5Mとアキュムレータ7とを連結する配管57Mと、右室熱交換器5Rとアキュムレータ7とを連結する配管57Rと、は共通の配管57に統合されている。そして、配管57は分岐点6において、ガスクーラ2の下流側(配管23cに同じ)に連通し、電磁弁62vが設置された分岐管62に分岐され、分岐点6の下流側に電磁弁67vが設置されている。
さらに、電磁弁67vとアキュムレータ7との間と、ガスクーラ2の上流側(配管12に同じ)とが、電磁弁27vが設置されて合流管27によって連結されている。
(全室冷却運転モード)
図4の(a)において、自動販売機1000が全室冷却運転モード(CCC運転モード)を実行する際の冷媒の流れは、圧縮機1によって圧縮された高温高圧冷媒が、配管12(電磁弁12vが開き、電磁弁15Lv、15Mvが閉じている)を経由してガスクーラ2に流入し、全室冷却用膨張手段3Cにおいて膨張して低温低圧冷媒となって、左室熱交換器5L、中室熱交換器5Mおよび右室熱交換器5Rに流入する(電磁弁45Lv、45Mv、45Rvが開いている)。よって、左室40L、中室40Mおよび右室40Rが、冷却される。
そして、中温低圧冷媒は配管56に流れ込み、開いている電磁弁67vを通過してアキュムレータ7に流入する。
このとき、電磁弁15Lv、15Mvが閉じ、逆止弁58Ln、58Mnが設置されているから、高温高圧冷媒や中温高圧冷媒が庫外熱交換器8や加熱用膨張手段3Hに流入することがない。また、電磁弁27v、62vが閉じているから、高温高圧冷媒や中温高圧冷媒がアキュムレータ7に流入することがない。
(2室加熱運転モード)
図4の(b)において、自動販売機1000が2室加熱運転モード(HHC運転モード)を実行する際の冷媒の流れは、圧縮機1によって圧縮された高温高圧冷媒が、配管15L、15M(電磁弁12vが閉じ、電磁弁15Lv、15Mvが開いて)を経由して、左室熱交換器5Lおよび中室熱交換器5Mに流入する。
その後、庫外熱交換器8および加熱用膨張手段3Hを経由して分岐点4に到達し、分岐点4において分岐されて配管45R(電磁弁45Rvが開き、電磁弁45Lv、45Mvが閉じている)を経由して右室熱交換器5Rに流入する。そして、配管57Cに流入した冷媒(中温低圧冷媒)は、分岐点6において分岐され分岐管62に流入し、ガスクーラ2を経由した後、アキュムレータ7に供給される。
そうすると、庫外熱交換器8とガスクーラ2との間で熱交換可能であるため、ガスクーラ2に流入した中温低圧冷媒は、庫外熱交換器8を通過する中温高圧冷媒が保有する温熱を受け取って温度が上昇し、さらに、アキュムレータ7において気液が分離され、気相状態で圧縮機1に吸引される。よって、圧縮機1の吐出温度が上昇し、左室40Lおよび中室40Mの加熱が確実になる。
このとき、電磁弁67vが閉じて電磁弁62vおよび電磁弁27vが開いているから、中温低圧冷媒がアキュムレータ7に直接流入することがない。また、電磁弁12vが閉じているから、高温高圧冷媒がガスクーラ2やアキュムレータ7に流入することがなく、電磁弁23Cvが閉じているから、低温低圧冷媒がガスクーラ2やアキュムレータ7に流入することがない。
(ガスクーラおよび庫外熱交換器)
図5において、ガスクーラ2は複数枚のガスクーラ放熱板2aとガスクーラ放熱板2aを千鳥状に貫通するガスクーラ伝熱管2bとを具備し、庫外熱交換器8は複数枚の庫外放熱板8aと、庫外放熱板8aを千鳥状に貫通する庫外伝熱管8bとを具備している。このとき、ガスクーラ放熱板2aと庫外放熱板8aとは一体的に形成されて共通のフィンを呈し、かかる共通のフィンは、庫外ファン481が形成する吸込空気の風路内に配置されている。
また、ガスクーラ伝熱管2bの上側の端部には配管12が、下側の端部には配管23C(配管62に同じ)が、それぞれ接続されている。また、庫外伝熱管8bの上側の端部には配管58が、下側の端部には配管83Hが、それぞれ接続されている。したがって、前記HHC運転モードにおいて、庫外熱交換器8に流入した中温高圧冷媒の保有する温熱は、大気中に放出されると共に、共通のフィンを伝わってガスクーラ伝熱管2bに伝達され、これを通過する中温低圧冷媒に受け渡される。
なお、以上は、ガスクーラ2を通過した中温高圧冷媒が供給される全室冷却用膨張手段3Cと、左室熱交換器5Lまたは中室熱交換器5Mの一方または両方を通過した中温高圧冷媒が供給される加熱用膨張手段3Hと、が配置されているが、共通の膨張手段(例えば、電子膨張弁)にして、かかる膨張手段の直前において配管23Cと配管83Hとを統合してもよい。
(1室加熱運転モード)
自動販売機1000が1室加熱運転モード(HCC運転モードまたはCHC運転モード)を実行する際の冷媒の流れは、前記2室加熱運転モード(HHC運転モード)における左室熱交換器5Lまたは中室熱交換器5Mの一方のみに高温高圧冷媒を供給し、左室熱交換器5Lまたは中室熱交換器5Mの他方のみに低温低圧冷媒を供給するものであるから、前記2室加熱運転モードにおける電磁弁の開閉操作によって実行されるから、説明を省略する。
そして、庫外熱交換器8とガスクーラ2との間で熱交換可能であるため、ガスクーラ2に流入した中温低圧冷媒は、庫外熱交換器8を通過する中温高圧冷媒が保有する温熱を受け取って温度が上昇し、さらに、アキュムレータ7において気液が分離され、気相状態で圧縮機1に吸引される。よって、圧縮機1の吐出温度が上昇し、左室40Lまたは中室40Mの一方の加熱が確実になる。
[実施の形態2]
(自動販売機)
図6〜図8は本発明の実施の形態2に係る自動販売機を説明するものであって、図6はこれに設置された冷凍回路の構成図、図7は冷媒の流れ方を示す冷凍回路構成図、図8は一部(ガスクーラ、庫外熱交換器および戻り熱交換器)を模式的に示す側面図である。なお、実施の形態1と同じ部分にはこれと同じ符号を付し、図8において、冷媒の流れ方向矢印で、冷媒が流れる配管を実線で、冷媒が流れない配管を破線で、それぞれ示している。
図6において、自動販売機2000(図示しない)の有する冷凍回路2000sは、中温低圧冷媒が流れる配管56に戻り熱交換器9を設置したものである。
すなわち、配管57は分岐点(正確には分岐していない)6において、戻り熱交換器9の入側に連通する分岐管69に接続され、戻り熱交換器9の出側とアキュムレータ7とが合流管97によって連結されている。
すなわち、実施の形態1における冷凍回路1000sでは、戻りバイパス配管系において中温低圧冷媒がガスクーラ2に選択的に供給されたのに対し、実施の形態2における冷凍回路2000sでは、中温低圧冷媒が戻り熱交換器9を経由した後、圧縮機1に吸引される。なお、ガスクーラ2と庫外熱交換器8と戻り熱交換器9とは、互いに熱交換可能になっている。
(全室冷却運転モード)
図7の(a)において、自動販売機2000が全室冷却運転モード(CCC運転モード)を実行する際の冷媒の流れは、圧縮機1によって圧縮された高温高圧冷媒が、配管12(電磁弁12vが開き、電磁弁15Lv、15Mvが閉じている)を経由してガスクーラ2に流入し、全室冷却用膨張手段3Cにおいて膨張して低温低圧冷媒となって、左室熱交換器5L、中室熱交換器5Mおよび右室熱交換器5Rに流入する(電磁弁45Lv、45Mv、45Rvが開いている)。よって、左室40L、中室40Mおよび右室40Rが、冷却される。
そして、中温低圧冷媒は配管57に流れ込み、分岐管69を経由して戻り熱交換器9に流入し、さらに、アキュムレータ7を経由して圧縮機1に吸引される。
したがって、ガスクーラ2と戻り熱交換器9とは互いに熱交換可能になっているから、ガスクーラ2に流入した高温高圧冷媒と、戻り熱交換器9に流入した中温低圧冷媒との間で熱交換される。すなわち、前者の温度は低下し、後者の温度は上昇するから、より過冷却状態(サブクール)において冷媒を膨張したり、より過熱状態(スーパーヒート)において冷媒を圧縮したりすることになるため、圧縮機1の負荷を増すことなく、低温低圧冷媒の最低温度をより低くしたり、高温高圧冷媒の最高温度をより高くしたりすることができる。
(2室加熱運転モード)
図7の(b)において、自動販売機2000が2室加熱運転モード(HHC運転モード)を実行する際の冷媒の流れは、圧縮機1によって圧縮された高温高圧冷媒が、配管15L、15M(電磁弁12vが閉じ、電磁弁15Lv、15Mvが開いて)を経由して、左室熱交換器5Lおよび中室熱交換器5Mに流入する。
その後、庫外熱交換器8および加熱用膨張手段3Hを経由して分岐点4に到達し、分岐点4において分岐されて配管45R(電磁弁45Rvが開き、電磁弁45Lv、45Mvが閉じている)を経由して右室熱交換器5Rに流入する。そして、配管57Cに流入した冷媒(中温低圧冷媒)は、分岐管69に流入して戻り熱交換器9を経由した後、アキュムレータ7に供給される。
そうすると、庫外熱交換器8と戻り熱交換器9との間で熱交換可能であるため、戻り熱交換器9に流入した中温低圧冷媒は、庫外熱交換器8を通過する中温高圧冷媒が保有する温熱を受け取って温度が上昇し、さらに、アキュムレータ7において気液が分離され、気相状態で圧縮機1に吸引される。したがって、前者の温度は低下し、後者の温度は上昇するから、より過冷却状態(サブクール)において冷媒を膨張したり、より過熱状態(スーパーヒート)において冷媒を圧縮したりすることになるため、圧縮機1の負荷を増すことなく、低温低圧冷媒の最低温度をより低くしたり、高温高圧冷媒の最高温度をより高くしたりすることができる。よって、圧縮機1の吐出温度が上昇し、左室40Lおよび中室40Mの加熱が確実になる。
このとき、電磁弁12vが閉じているから、高温高圧冷媒がガスクーラ2やアキュムレータ7に流入することがなく、電磁弁23Cvが閉じているから、低温低圧冷媒がガスクーラ2やアキュムレータ7に流入することがない。
(ガスクーラ、庫外熱交換器および戻り熱交換器)
図8の(a)において、ガスクーラ2は複数枚のガスクーラ放熱板2aとガスクーラ放熱板2aを千鳥状に貫通するガスクーラ伝熱管2bとを具備し、庫外熱交換器8は複数枚の庫外放熱板8aと庫外放熱板8aを千鳥状に貫通する庫外伝熱管8bとを具備し、戻し熱交換器9は複数枚の戻し放熱板9aと戻し放熱板9aを千鳥状に貫通する戻し伝熱管9bとを具備している。このとき、ガスクーラ放熱板2aと庫外放熱板8aと戻し放熱板9aとは一体的に形成されて共通のフィンを呈し、かかる共通のフィンは、庫外ファン481が形成する吸込空気の風路内に配置されている。
また、ガスクーラ伝熱管2bの上側の端部には配管12が、下側の端部には配管23C(配管62に同じ)が、それぞれ接続されている。同様に、庫外伝熱管8bの上側の端部には配管58が、下側の端部には配管83Hが、それぞれ接続されている。戻し伝熱管9bの上側の端部には分岐管69が、下側の端部には合流管97が、それぞれ接続されている。
図8の(b)においても同様であって、ガスクーラ放熱板2aと庫外放熱板8aと戻し放熱板9aとは一体的に形成されて共通のフィンを呈している。なお、本発明は、ガスクーラ伝熱管2b、庫外伝熱管8bおよび戻し伝熱管9bの配置を図示する形態に限定するものではない。
(1室加熱運転モード)
自動販売機2000が1室加熱運転モード(HCC運転モードまたはCHC運転モード)を実行する際の冷媒の流れは、前記2室加熱運転モード(HHC運転モード)に準じるから、説明を省略する(実施の形態1参照)。
[実施の形態3]
(自動販売機)
図9〜図10は本発明の実施の形態3に係る自動販売機を説明するものであって、図9はこれに設置された冷凍回路の構成図、図10は冷媒の流れ方を示す冷凍回路構成図である。なお、実施の形態1と同じ部分にはこれと同じ符号を付し、図10において、冷媒の流れ方向矢印で、冷媒が流れる配管を実線で、冷媒が流れない配管を破線で、それぞれ示している。
図9において、自動販売機3000(図示しない)の有する冷凍回路3000sは、中温低圧冷媒が流れる配管56に内部熱交換器10を設置したものである。
すなわち、配管57の分岐点(正確には分岐していない)6よりもアキュムレータ7側の範囲である配管67は、その一部が、内部熱交換器10を形成する内部低圧側伝熱管10bになっている。また、庫外熱交換器8と加熱用膨張手段3Hとを連結する配管83Hの一部が、内部熱交換器10を形成する内部高圧側伝熱管10aになっている。
そして、内部高圧側伝熱管10aと内部低圧側伝熱管10bとは伝熱可能に、直接または伝熱体を介して配置されている。
(全室冷却運転モード)
図10の(a)において、自動販売機2000が全室冷却運転モード(CCC運転モード)を実行する際の冷媒の流れは、圧縮機1によって圧縮された高温高圧冷媒が、配管12(電磁弁12vが開き、電磁弁15Lv、15Mvが閉じている)を経由してガスクーラ2に流入し、全室冷却用膨張手段3Cにおいて膨張して低温低圧冷媒となって、左室熱交換器5L、中室熱交換器5Mおよび右室熱交換器5Rに流入する(電磁弁45Lv、45Mv、45Rvが開いている)。よって、左室40L、中室40Mおよび右室40Rが、冷却される。
そして、中温低圧冷媒は配管57に流れ込み、分岐管69を経由して戻り熱交換器9に流入し、さらに、アキュムレータ7を経由して圧縮機1に吸引される(実施の形態1に同じ)。
(2室加熱運転モード)
図10の(b)において、自動販売機2000が2室加熱運転モード(HHC運転モード)を実行する際の冷媒の流れは、圧縮機1によって圧縮された高温高圧冷媒が、配管15L、15M(電磁弁12vが閉じ、電磁弁15Lv、15Mvが開いて)を経由して、左室熱交換器5Lおよび中室熱交換器5Mに流入する。
その後、庫外熱交換器8および内部熱交換器10(正確には、内部高圧側伝熱管10a)を通過して加熱用膨張手段3Hに到達し、加熱用膨張手段3Hにおいて膨張した冷媒は分岐点4において分岐されて配管45R(電磁弁45Rvが開き、電磁弁45Lv、45Mvが閉じている)を経由して右室熱交換器5Rに流入する。そして、配管57Cに流入した冷媒(中温低圧冷媒)は、分岐管69に流入して内部熱交換器10(正確には、内部低圧側伝熱管10b)を経由した後、アキュムレータ7に供給される。
そうすると、内部熱交換器10の内部高圧側伝熱管10aと内部低圧側伝熱管10bとの間で熱交換可能であるため、内部低圧側伝熱管10bに流入した中温低圧冷媒は、内部高圧側伝熱管10aを通過する中温高圧冷媒が保有する温熱を受け取って温度が上昇し、さらに、アキュムレータ7において気液が分離され、気相状態で圧縮機1に吸引される。
したがって、前者の温度は低下し、後者の温度は上昇するから、より過冷却状態(サブクール)において冷媒を膨張したり、より過熱状態(スーパーヒート)において冷媒を圧縮したりすることになるため、圧縮機1の負荷を増すことなく、低温低圧冷媒の最低温度をより低くしたり、高温高圧冷媒の最高温度をより高くしたりすることができる。よって、圧縮機1の吐出温度が上昇し、左室40Lおよび中室40Mの加熱が確実になる。
このとき、電磁弁12vが閉じているから、高温高圧冷媒がガスクーラ2やアキュムレータ7に流入することがなく、電磁弁23Cvが閉じているから、低温低圧冷媒がガスクーラ2やアキュムレータ7に流入することがない。
(1室加熱運転モード)
自動販売機3000が1室加熱運転モード(HCC運転モードまたはCHC運転モード)を実行する際の冷媒の流れは、前記2室加熱運転モード(HHC運転モード)に準じるから、説明を省略する(実施の形態1参照)。
本発明によれば、圧縮機に戻る冷媒の温度が上昇して圧縮機の吐出温度を高めることができる冷凍回路を有するから、ヒートポンプ運転可能な各種自動販売機として広く利用することができる。
本発明の実施の形態1に係る自動販売機を模式的に示す正面視の断面図。 図1に示す自動販売機を模式的に示す側面視の断面図。 図1に示す自動販売機に設置された冷凍回路の構成図。 図3に示す構成図における冷媒の流れ方を示す冷凍回路構成図。 図3に示す冷凍回路を形成する一部部材を模式的に示す側面図。 本発明の実施の形態1に係る自動販売機に設置された冷凍回路の構成図。 図6に示す構成図における冷媒の流れ方を示す冷凍回路構成図。 図6に示す冷凍回路を形成する一部部材を模式的に示す側面図。 本発明の実施の形態1に係る自動販売機に設置された冷凍回路の構成図。 図6に示す構成図における冷媒の流れ方を示す冷凍回路構成図。
符号の説明
1 圧縮機
2 ガスクーラ
2a ガスクーラ放熱板
2b ガスクーラ伝熱管
3C 全室冷却用膨張手段
3H 加熱用膨張手段
4 分岐点
5L 左室熱交換器
5M 中室熱交換器
5R 右室熱交換器
6 分岐点
7 アキュムレータ
8 庫外熱交換器
8a 庫外放熱板
8b 庫外伝熱管
9 戻り熱交換器
9a 戻り放熱板
9b 戻り伝熱管
10 内部熱交換器
10a 内部高圧側伝熱管
10b 内部低圧側伝熱管
27 合流管
40L 左室
40M 中室
40R 右室
62 分岐管
69 分岐管
97 合流管
200 キャビネット
300 断熱材
400 商品収納庫
403LM 仕切り板
403MR 仕切り板
404 商品補充用扉
405 内扉
406 前扉
407 商品収納ラック
408 商品誘導板
409 商品取出し口
410 庫内部品収納室
420 循環ダクト
430 送風手段
440 庫内熱交換器
450 送風ダクト
460 風胴
470 コンデンシングユニット
480 機械室
481 庫外ファン
490 電装品収納室
1000 自動販売機(実施の形態1)
1000s 冷凍回路(実施の形態1)
2000 自動販売機(実施の形態2)
2000s 冷凍回路(実施の形態2)
3000 自動販売機(実施の形態3)
3000s 冷凍回路(実施の形態3)
S 商品

Claims (5)

  1. 断熱材によって囲まれ一面に開口部を具備する筐体と、
    前記開口部を開閉する断熱扉と、
    前記筐体内に配置された仕切板によって仕切られた、左室、中室および右室と、
    該左室、中室および右室にそれぞれ配置され、その内部の空気と熱交換をする左室熱交換器、中室熱交換器および右室熱交換器と、
    冷媒を圧縮する圧縮機と、
    供給された冷媒と外気との間で熱交換可能、且つ、相互に熱交換可能なガスクーラおよび庫外熱交換器と、
    供給された冷媒を膨張させる膨張手段と、
    を有し、
    前記圧縮機において圧縮された冷媒が、まず前記ガスクーラを通過して前記膨張手段を通過した後、前記左室熱交換器、中室熱交換器および右室熱交換器を通過した後、前記圧縮機に戻る全室冷却運転モードと、
    前記圧縮機において圧縮された冷媒が、まず前記左室熱交換器および前記中室熱交換器の両方を通過し、前記庫外熱交換器、前記膨張手段、および前記右室熱交換器を順次通過した後、前記ガスクーラを経由して前記圧縮機に戻る2室加熱運転モードと、
    または、前記圧縮機において圧縮された冷媒が、まず前記左室熱交換器を通過し、前記庫外熱交換器、前記膨張手段、前記中室熱交換器および前記右室熱交換器を順次通過した後、前記ガスクーラを経由して前記圧縮機に戻る1室加熱運転モードと、
    または、前記圧縮機において圧縮された冷媒が、まず前記中室熱交換器を通過し、前記庫外熱交換器、前記膨張手段、前記左室熱交換器および前記右室熱交換器を順次通過した後、前記ガスクーラを経由して前記圧縮機に戻る1室加熱運転モードと、
    を実行することを特徴とする自動販売機。
  2. 前記ガスクーラが、複数枚のガスクーラ放熱板と、該ガスクーラ放熱板を千鳥状に貫通するガスクーラ伝熱管と、を具備し、
    前記庫外熱交換器が、複数枚の庫外放熱板と、該庫外放熱板を千鳥状に貫通する庫外伝熱管と、を具備し、
    前記ガスクーラ放熱板と前記庫外放熱板とが、接合または一体的に形成されてなることを特徴とする請求項1記載の自動販売機。
  3. 断熱材によって囲まれ一面に開口部を具備する筐体と、
    前記開口部を開閉する断熱扉と、
    前記筐体内に配置された仕切板によって仕切られた、左室、中室および右室と、
    該左室、中室および右室にそれぞれ配置され、その内部の空気と熱交換をする左室熱交換器、中室熱交換器および右室熱交換器と、
    冷媒を圧縮する圧縮機と、
    供給された冷媒と外気との間で熱交換可能、且つ、相互に熱交換可能なガスクーラ、庫外熱交換器および戻り熱交換器と、
    供給された冷媒を膨張させる膨張手段と、
    を有し、
    前記圧縮機において圧縮された冷媒が、まず前記ガスクーラを通過して前記膨張手段を通過した後、前記左室熱交換器、中室熱交換器および右室熱交換器を通過した後、前記戻り熱交換器を経由して前記圧縮機に戻る全室冷却運転モードと、
    前記圧縮機において圧縮された冷媒が、まず前記左室熱交換器および前記中室熱交換器の両方を通過し、前記庫外熱交換器、前記膨張手段、および前記右室熱交換器を順次通過した後、前記戻り熱交換器を経由して前記圧縮機に戻る2室加熱運転モードと、
    または、前記圧縮機において圧縮された冷媒が、まず前記左室熱交換器を通過し、前記庫外熱交換器、前記膨張手段、前記中室熱交換器および前記右室熱交換器を順次通過した後、前記戻り熱交換器を経由して前記圧縮機に戻る1室加熱運転モードと、
    または、前記圧縮機において圧縮された冷媒が、まず前記中室熱交換器を通過し、前記庫外熱交換器、前記膨張手段、前記左室熱交換器および前記右室熱交換器を順次通過した後、前記戻り熱交換器を経由して前記圧縮機に戻る1室加熱運転モードと、
    を実行することを特徴とする自動販売機。
  4. 前記ガスクーラが、複数枚のガスクーラ放熱板と、該ガスクーラ放熱板を千鳥状に貫通するガスクーラ伝熱管と、を具備し、
    前記庫外熱交換器が、複数枚の庫外放熱板と、該庫外放熱板を千鳥状に貫通する庫外伝熱管と、を具備し、
    前記戻り熱交換器が、複数枚の戻り放熱板と、該戻り放熱板を千鳥状に貫通する戻り伝熱管と、を具備し、
    前記ガスクーラ放熱板と前記庫外放熱板と前記戻り放熱板とが、接合または一体的に形成されてなることを特徴とする請求項3記載の自動販売機。
  5. 断熱材によって囲まれ一面に開口部を具備する筐体と、
    前記開口部を開閉する断熱扉と、
    前記筐体内に配置された仕切板によって仕切られた、左室、中室および右室と、
    該左室、中室および右室にそれぞれ配置され、その内部の空気と熱交換をする左室熱交換器、中室熱交換器および右室熱交換器と、
    冷媒を圧縮する圧縮機と、
    供給された冷媒と外気との間で熱交換可能、且つ、相互に熱交換可能なガスクーラ、庫外熱交換器および戻り熱交換器と、
    供給された冷媒を膨張させる膨張手段と、
    前記庫外熱交換器を通過した直後の冷媒が供給される内部高圧側配管と、前記圧縮機に戻る直前の冷媒が供給される内部低圧側配管とを具備する内部熱交換器と、
    を有し、
    前記圧縮機において圧縮された冷媒が、まず前記ガスクーラを通過して前記膨張手段を通過した後、前記左室熱交換器、中室熱交換器および右室熱交換器を通過した後、前記戻り熱交換器を経由して前記圧縮機に戻る全室冷却運転モードと、
    前記圧縮機において圧縮された冷媒が、まず前記左室熱交換器および前記中室熱交換器の両方を通過し、前記庫外熱交換器、前記内部高圧側配管、前記膨張手段、および前記右室熱交換器を順次通過した後、前記内部低圧側配管を経由して前記圧縮機に戻る2室加熱運転モードと、
    または、前記圧縮機において圧縮された冷媒が、まず前記左室熱交換器を通過し、前記庫外熱交換器、前記内部高圧側配管、前記膨張手段、前記中室熱交換器および前記右室熱交換器を順次通過した後、前記内部低圧側配管を経由して前記圧縮機に戻る1室加熱運転モードと、
    または、前記圧縮機において圧縮された冷媒が、まず前記中室熱交換器を通過し、前記庫外熱交換器、前記内部高圧側配管、前記膨張手段、前記左室熱交換器および前記右室熱交換器を順次通過した後、前記内部低圧側配管を経由して前記圧縮機に戻る1室加熱運転モードと、
    を実行することを特徴とする自動販売機。
JP2008197820A 2008-07-31 2008-07-31 自動販売機 Expired - Fee Related JP5176759B2 (ja)

Priority Applications (1)

Application Number Priority Date Filing Date Title
JP2008197820A JP5176759B2 (ja) 2008-07-31 2008-07-31 自動販売機

Applications Claiming Priority (1)

Application Number Priority Date Filing Date Title
JP2008197820A JP5176759B2 (ja) 2008-07-31 2008-07-31 自動販売機

Publications (2)

Publication Number Publication Date
JP2010033520A true JP2010033520A (ja) 2010-02-12
JP5176759B2 JP5176759B2 (ja) 2013-04-03

Family

ID=41737866

Family Applications (1)

Application Number Title Priority Date Filing Date
JP2008197820A Expired - Fee Related JP5176759B2 (ja) 2008-07-31 2008-07-31 自動販売機

Country Status (1)

Country Link
JP (1) JP5176759B2 (ja)

Cited By (2)

* Cited by examiner, † Cited by third party
Publication number Priority date Publication date Assignee Title
JP2012003495A (ja) * 2010-06-16 2012-01-05 Fuji Electric Co Ltd 冷媒回路装置
JP2012032110A (ja) * 2010-08-02 2012-02-16 Fuji Electric Co Ltd 冷媒回路装置

Citations (4)

* Cited by examiner, † Cited by third party
Publication number Priority date Publication date Assignee Title
JPS51154747U (ja) * 1975-05-30 1976-12-09
JP2005351528A (ja) * 2004-06-09 2005-12-22 Sanden Corp 冷凍装置
JP2007108915A (ja) * 2005-10-12 2007-04-26 Fuji Electric Retail Systems Co Ltd 冷却装置および自動販売機
JP2007183044A (ja) * 2006-01-06 2007-07-19 Fuji Electric Retail Systems Co Ltd 冷却装置および自動販売機

Patent Citations (4)

* Cited by examiner, † Cited by third party
Publication number Priority date Publication date Assignee Title
JPS51154747U (ja) * 1975-05-30 1976-12-09
JP2005351528A (ja) * 2004-06-09 2005-12-22 Sanden Corp 冷凍装置
JP2007108915A (ja) * 2005-10-12 2007-04-26 Fuji Electric Retail Systems Co Ltd 冷却装置および自動販売機
JP2007183044A (ja) * 2006-01-06 2007-07-19 Fuji Electric Retail Systems Co Ltd 冷却装置および自動販売機

Cited By (2)

* Cited by examiner, † Cited by third party
Publication number Priority date Publication date Assignee Title
JP2012003495A (ja) * 2010-06-16 2012-01-05 Fuji Electric Co Ltd 冷媒回路装置
JP2012032110A (ja) * 2010-08-02 2012-02-16 Fuji Electric Co Ltd 冷媒回路装置

Also Published As

Publication number Publication date
JP5176759B2 (ja) 2013-04-03

Similar Documents

Publication Publication Date Title
CN105283719B (zh) 冷冻装置的除霜系统以及冷却单元
KR101697882B1 (ko) 스위치 캐비닛의 실내에 배치된 부품들을 위한 냉각 장치
JP2010079351A (ja) 自動販売機
JP4935077B2 (ja) 冷却装置および自動販売機
KR102033933B1 (ko) 냉장고
JP5176759B2 (ja) 自動販売機
JP4992477B2 (ja) 自動販売機
JP5034435B2 (ja) 自動販売機
JP5181933B2 (ja) 自動販売機
JP5056026B2 (ja) 自動販売機
JP5071083B2 (ja) 自動販売機
JP5223550B2 (ja) 自動販売機
JP5407621B2 (ja) 冷却加熱装置
JP2010033508A (ja) 自動販売機
JP5228965B2 (ja) 自動販売機
JP5458588B2 (ja) 自動販売機
JP5125823B2 (ja) 自動販売機
JP5434423B2 (ja) 自動販売機
JP5150922B2 (ja) 自動販売機
JP4548540B2 (ja) 自動販売機
JP2010007986A (ja) 冷却装置
JP5168041B2 (ja) 自動販売機
JP2007187370A (ja) 冷媒サイクル装置
JP5516150B2 (ja) 自動販売機
JP2010020711A (ja) 自動販売機

Legal Events

Date Code Title Description
A625 Written request for application examination (by other person)

Free format text: JAPANESE INTERMEDIATE CODE: A625

Effective date: 20100812

A977 Report on retrieval

Free format text: JAPANESE INTERMEDIATE CODE: A971007

Effective date: 20120907

A131 Notification of reasons for refusal

Free format text: JAPANESE INTERMEDIATE CODE: A131

Effective date: 20120918

A711 Notification of change in applicant

Free format text: JAPANESE INTERMEDIATE CODE: A712

Effective date: 20121025

RD03 Notification of appointment of power of attorney

Free format text: JAPANESE INTERMEDIATE CODE: A7423

Effective date: 20121116

TRDD Decision of grant or rejection written
A01 Written decision to grant a patent or to grant a registration (utility model)

Free format text: JAPANESE INTERMEDIATE CODE: A01

Effective date: 20121211

A61 First payment of annual fees (during grant procedure)

Free format text: JAPANESE INTERMEDIATE CODE: A61

Effective date: 20121224

R150 Certificate of patent or registration of utility model

Ref document number: 5176759

Country of ref document: JP

Free format text: JAPANESE INTERMEDIATE CODE: R150

R250 Receipt of annual fees

Free format text: JAPANESE INTERMEDIATE CODE: R250

R250 Receipt of annual fees

Free format text: JAPANESE INTERMEDIATE CODE: R250

R250 Receipt of annual fees

Free format text: JAPANESE INTERMEDIATE CODE: R250

R250 Receipt of annual fees

Free format text: JAPANESE INTERMEDIATE CODE: R250

R250 Receipt of annual fees

Free format text: JAPANESE INTERMEDIATE CODE: R250

R250 Receipt of annual fees

Free format text: JAPANESE INTERMEDIATE CODE: R250

LAPS Cancellation because of no payment of annual fees