JP2010032780A - 画像形成装置 - Google Patents

画像形成装置 Download PDF

Info

Publication number
JP2010032780A
JP2010032780A JP2008194916A JP2008194916A JP2010032780A JP 2010032780 A JP2010032780 A JP 2010032780A JP 2008194916 A JP2008194916 A JP 2008194916A JP 2008194916 A JP2008194916 A JP 2008194916A JP 2010032780 A JP2010032780 A JP 2010032780A
Authority
JP
Japan
Prior art keywords
image forming
recording material
forming apparatus
cover member
feeding cassette
Prior art date
Legal status (The legal status is an assumption and is not a legal conclusion. Google has not performed a legal analysis and makes no representation as to the accuracy of the status listed.)
Granted
Application number
JP2008194916A
Other languages
English (en)
Other versions
JP5264347B2 (ja
Inventor
Yoshiyuki Miyazaki
宮▲崎▼  芳行
Current Assignee (The listed assignees may be inaccurate. Google has not performed a legal analysis and makes no representation or warranty as to the accuracy of the list.)
Canon Inc
Original Assignee
Canon Inc
Priority date (The priority date is an assumption and is not a legal conclusion. Google has not performed a legal analysis and makes no representation as to the accuracy of the date listed.)
Filing date
Publication date
Application filed by Canon Inc filed Critical Canon Inc
Priority to JP2008194916A priority Critical patent/JP5264347B2/ja
Publication of JP2010032780A publication Critical patent/JP2010032780A/ja
Application granted granted Critical
Publication of JP5264347B2 publication Critical patent/JP5264347B2/ja
Active legal-status Critical Current
Anticipated expiration legal-status Critical

Links

Images

Landscapes

  • Control Or Security For Electrophotography (AREA)

Abstract

【課題】筺体に収容されている画像形成手段を効率よく冷却しつつ、かつ省スペース化を達成した上で、装置本体の外観を損なうことがない画像形成装置を提供する。
【解決手段】給送カセット3aと、複数の画像形成手段と、記録材Sの搬送方向に略直交し搬送面と略平行な方向から気流を生じさせるファン22、23、24と、画像形成手段とファンとを有する筺体54と、筺体54の正面側を覆うカバー部材46と、カバー部材46に設けられた通気孔46aと、ダクト部材42、43、44と、を備える画像形成装置において、装置本体の正面側から給送カセット3aを把持可能とする隙間45aが給送カセット3aとカバー部材46との間に形成されており、通気孔46aは、カバー部材46における隙間45aに対向する面に設けられている。
【選択図】図2

Description

本発明は、複写機、レーザービームプリンタ、ファクシミリ等の画像形成装置に関する。
従来、画像形成装置には、筺体内に収容されている画像形成プロセスに関与する部材を冷却するためのファンが設けられている。図5に、ファンを備えた従来の画像形成装置を装置本体の正面側から見た時の概略構成図を示す。
図5に示す従来の画像形成装置は、記録材が積載される給送カセット520から装置本体上面に設けられた排出トレイ600に至る記録材の搬送面に沿って、様々な画像形成手段が設けられている。例えばこのような画像形成手段として、レーザスキャナユニット100、記録材上に現像剤像を転写するプロセスカートリッジ530、現像剤像を記録材上に定着させる定着部500、画像形成プロセスを駆動制御する電装部200などが挙げられる。
そしてこれらの画像形成手段を冷却するために、画像形成装置にはファンが3つ(ファン210、220、230)設けられている。ファン210は、両面搬送部180の近傍に設けられており、ファン220は、定着部500と両面送通路180と電装部200の近傍に設けられており、ファン230は、レーザスキャナユニット100とプロセスカートリッジ530の近傍に設けられている。
これらのファンは、外気を冷却対象としての部材に送り込む、または冷却対象としての部材の周囲の空気を外部へ吐き捨てるために設けられたものであり、これらのファンを駆動させることで、各部材を適温に保って良好な動作環境を実現することが可能になる。
また、上記の画像形成手段、ファンを収容する筺体540の外装カバー部材460には、外気を取り入れる、または装置本体内の空気を排気するための通気孔が設けられている。そして、通気孔と上記のファンがダクト部材によって連通されている。
図6に、図5に示す画像形成装置における通気孔340、350、ダクト部材320、330、ファン220、230の配置を示す(ダクト部材とファンは点線部で示している)。このようにファン220、230を回転させることで、通気孔340、350から気流B1、B2を生じさせ、外気を装置本体内部に取り込むことが可能になる。
特開2003−076253号公報
従来より、記録材が積載される給送カセット520は、記録材の補給、メンテナンス処理を簡易に行えるように画像形成装置本体に対して着脱可能に構成されている。また、ユーザの操作性を考慮して、給送カセット520の着脱を画像形成装置本体の正面側から行えるようにした画像形成装置が多く見られる。
例えば図5に示す従来の画像形成装置では、画像形成装置の正面側(図5の手前側)から、画像形成装置の手前(奥)方向に給送カセット520を着脱する構成である。つまりこの給送カセット520の着脱方向は、給送カセット520に積載されている記録材の搬送方向に略直交し、かつ記録材の搬送面と略平行な方向といえる。
一方、画像形成装置に設けられているファン(ファン210、220、230)は、冷却効率の高効率化、かつ省スペース化を考慮してその位置決めがなされている。
例えば、より効率よく冷却対象を冷却するために、ファン220、ファン230は、給送カセット520の着脱方向と同様に、記録材の搬送方向に略直交し、かつ記録材の搬送面と略平行な方向に空気を送るように構成されている。
冷却対象としての画像形成手段は、記録材の搬送面に沿って、記録材の搬送方向に略直交し、かつ記録材の搬送面と略平行な方向に配設されている場合が一般的である。例えば感光ドラム700、定着部のローラ部材などは、その回転軸方向(長手方向)が記録材の搬送方向に略直交し、かつ記録材の搬送面と略平行な方向になるように配設されている。
よって、これらの部材を効率よく冷却するために、ファンを記録材の搬送方向に略直交し、かつ記録材の搬送面と略平行な方向に空気を送るように配設することで、冷却対象の部材の全域にわたって空気を送り込み、効率のよい冷却を行うことが可能になる。そしてそのためには、ファンを筺体540の正面近傍に配置することで、記録材の搬送方向に略直交し、かつ記録材の搬送面と略平行な方向に気流を送ることが可能になる。
また、省スペース化を考慮すると、通気孔からダクト部材を経てファンに至る距離は短い方が望ましい。
例えば、特許文献1に開示される画像形成装置では、通気孔どうしを略直線状に配設したり、図6に示す画像形成装置では、通気孔350を筺体540の正面側、及び通気孔340を正面付近の側面に設けることで、省スペース化が図られている。
このように、高効率に、かつ省スペース化を達成して冷却対象を冷却するためには、筺体の正面近傍にファンを配置しつつ、通気孔をファンの近傍、すなわち装置本体の正面側、及びその近傍の側面に設ける必要がある。
特に近年では画像形成プロセスのさらなる高速化が求められており、そのためには、より効率よく装置本体内部を冷却する必要がある。すなわち、給送カセットを記録材の搬送方向に略直交し、かつ記録材の搬送面と略平行な方向に着脱するタイプの画像形成装置では、ファンを装置本体の正面近傍に配置する必要性がさらに高まっている。
しかし、上記従来の画像形成装置では、省スペース化を考慮すると、通気孔が画像形成装置の筺体の正面側、及びその近傍の側面に設けられることになるので、通気孔がユーザの視界に入ってしまい、装置本体の外観を損なうことになる。また、通気孔を設けることで、デザイン上の制約も生じてしまう。
つまり従来の画像形成装置においては、筺体に収容されている画像形成手段を効率よく冷却しつつ、かつ省スペース化を達成した上で、装置本体の外観を損なうことがない画像形成装置については開示されていない。
そこで本発明の目的は、筺体に収容されている画像形成手段を効率よく冷却しつつ、かつ省スペース化を達成した上で、装置本体の外観を損なうことがない画像形成装置を提供することである。
上記目的を達成するために本発明にあっては、
記録材を積載する給送カセットと、
前記給送カセットから搬送される記録材に画像を形成する複数の画像形成手段と、
記録材の搬送方向に略直交し記録材の搬送面と略平行な方向から前記画像形成手段に向けて気流を生じさせる、または前記画像形成手段の周囲の空気を外部へ吐き出す方向へ気流を生じさせるための少なくとも1つのファンと、
前記画像形成手段と前記ファンとを有する筺体と、
前記筺体における装置本体の正面側を覆うカバー部材と、
前記カバー部材に設けられた通気孔と、
前記筺体と前記カバー部材との間に設けられ、前記通気孔と前記ファンとを連通して気流を通過させるダクト部材と、
を備え、
前記給送カセットは、
装置本体の正面側から記録材の搬送方向に略直交し記録材の搬送面と略平行な方向に着脱可能に構成されている画像形成装置において、
装置本体の正面側から前記給送カセットを把持可能とする隙間が前記給送カセットと前記カバー部材との間に形成されており、
前記通気孔は、
前記カバー部材における前記隙間に対向する面に設けられていることを特徴とする。
上記発明によれば、筺体に収容されている画像形成手段を効率よく冷却しつつ、かつ省スペース化を達成した上で、装置本体の外観を損なうことがない画像形成装置を提供することが可能になる。
以下に図面を参照して、この発明を実施するための最良の形態を、実施の形態に基づいて例示的に詳しく説明する。ただし、この実施の形態に記載されている構成部品の寸法、材質、形状、その相対配置などは、特に特定的な記載がない限りは、この発明の範囲をそれらのみに限定する趣旨のものではない。
[第1の実施の形態]
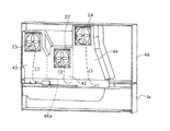
図1、図2を参照して、本発明の第1の実施の形態に係る画像形成装置について説明する。図1は、本実施の形態に係る画像形成装置を正面側からみた概略構成図である。図2は、本実施の形態に係る画像形成装置の概略斜視図である。
(画像形成装置の全体構成)
図1を参照して、本実施の形態に係る画像形成装置の全体構成について説明する。本実施の形態に係る画像形成装置は、電子写真方式によって記録材に画像を形成するレーザービームプリンタである。
記録材Sに画像を形成する複数の画像形成手段は、画像形成装置50の筺体54に収容されている。なお、ここでいう画像形成手段とは、記録材Sが給送部52から排出トレイ6に排出されるまでに記録材Sに対する画像形成プロセスに関わる部材、ユニットを指す。一例としては、露光手段としてのレーザスキャナユニット1、プロセスカートリッジ53、定着器5、電装部20、記録材が搬送される搬送路等が画像形成手段として挙げられる。
記録材Sを複数積載可能な給送部52には、記録材Sを複数積載する給送カセット3a、ピックアップローラ3b、フィードローラ3c1、リタードローラ3c2が設けられている。
なお、給送カセット3aは、筺体54の下方において装置本体に対して着脱可能に構成されており、その着脱方向は、記録材Sの搬送方向に略直交し、かつ記録材Sの搬送面と略平行な方向(図1の手前/奥側)である。なお、記録材Sの搬送面とは、給送部52から排出トレイ6に至る記録材Sの搬送経路において、搬送される記録材Sと平行でかつ搬送方向に連続した面のことを指す。
ユーザの操作性を考慮すると、給送カセット3aは画像形成装置の正面側から着脱可能とすることが望ましい。本実施の形態に係る画像形成装置は、このような装置本体の正面側から給送カセット3aを着脱可能としたタイプの画像形成装置である。そこで、図1の手前側の面を装置本体の正面として以下説明を行う。
外部の入力手段(PC等)から画像形成装置の制御部(不図示)に対して画像形成開始の信号が入力されると、給送カセット3aに積載されている記録材Sがピックアップローラ3bによって順次送り出される。
送り出された記録材Sは、フィードローラ3c1とリタードローラ3c2によって1枚ずつに分離され、更に搬送ローラ対3d、3eによって下流側へ搬送され、現像剤像が転写される転写部へタイミングを計って搬送される。なお転写部とは、感光ドラム7と転写ローラ4とのニップ部のことを指す。
一方、画像形成装置には、転写部に搬送されてきた記録材Sに画像を形成するための画像形成部51が設けられている。画像形成部51は、プロセスカートリッジ53、転写ローラ4等を備えている。
プロセスカートリッジ53は、像担持体としての感光ドラム7と、その周囲に設けられた帯電ローラ8、現像ローラ9を有しており、装置本体に対して着脱可能に構成されている。なお、帯電ローラ8、現像ローラ9は、不図示のバイアス印加手段に接続され、所望の電圧が印加されるように構成されている。
また、プロセスカートリッジ53の上方には、画像情報に基づいてレーザ光を射出し、感光ドラム7の表面を走査露光するレーザスキャナユニット1が設けられている。
不図示の制御部に画像情報が送られると、制御部において画像情報が画像形成処理され、制御部からプリント信号が発せられる。そして感光ドラム7が図1中矢印方向へ回転駆動し始め、不図示のバイアス印加手段に接続されている帯電ローラ8が感光ドラム7の表面を所定の電位に一様に帯電させる。
感光ドラム7の表面が所定の電位に一様に帯電すると、該表面に対してレーザスキャナユニット1からレーザ光が射出され、感光ドラム7の表面には静電潜像が形成される。形成された静電潜像には、現像ローラ9から現像剤が供給され、現像剤像として可視化される。
感光ドラム7の表面に形成された現像剤像は、感光ドラム7の回転に伴い感光ドラム7と転写ローラ4とのニップ部に搬送され、そこで記録材Sに現像剤像が感光ドラム7の表面から記録材S上に転写される。
なお、転写ローラ4は不図示のバイアス印加手段に接続されており、少なくとも転写が行われる際は、バイアス印加手段から所定のバイアスが印加されることで静電気的に現像剤像を記録材Sに転写することができる。
現像剤像が転写された記録材Sは、その後、搬送ベルト3fによって搬送され、定着ユニット(定着手段)5に送り込まれ、定着ユニット5において加熱加圧されることにより現像剤像が記録材S上に半永久的に定着される。
画像が定着した記録材Sは、その後、画像形成装置本体の上部に設けられた排出トレイ6に排出され、画像形成プロセスが終了される。
なお、片面印刷モードの場合は、定着ユニット5を通過した記録材Sは搬送ローラ3gと第1コロ3mとのニップ部へ搬送され、搬送ローラ3gの正転と、正逆回転可能な排出ローラ対3hの正転によって排出トレイ6へ排出される構成である。
一方、両面印刷モードの場合は、記録材Sの一方の面に画像が形成され、定着された後に再度、記録材の他方の面に画像を形成することになる。
具体的には、一方の面に画像が形成され、その記録材Sが定着ユニット5を通過すると、排出ローラ対3hの正転により記録材Sを排出トレイ6の方向へ一旦搬送する。この際、記録材Sの後端が搬送ローラ3gを抜けると、記録材Sの後端が、記録材Sのコシによって第2コロ3n側に向かう。
そしてこの状態で排出ローラ3hが逆転すると、記録材Sの後端が搬送ローラ3gと第2コロ3nとのニップ部に進入し、搬送ローラ3gと第2コロ3nによって記録材Sが挟持された状態になる。
このように搬送ローラ3gと第2コロ3nとによって記録材Sを挟持した状態では、搬送ローラ3gは逆転しており、これにより記録材Sは両面搬送路10の再搬送通路18を搬送されることになる。
そして搬送ローラ11aと、搬送ローラ11aに圧接する斜送従動コロ11bとによって記録材Sが再搬送通路18内を搬送され、中間ローラ3dのニップ部を経て、再度画像形成部51へ搬送される。
その後、記録材Sの他方の面に画像が形成され、形成された画像が定着ユニット5において定着された後に、両面印字がなされた記録材Sは排出トレイ6上へ排出される。
(ファンの配置)
上記で説明した画像形成手段としての複数の部材、ユニットによって記録材Sに画像を形成すると、これらの部材、ユニットからの発熱により装置本体内部の温度が上昇し、トナーの熱溶解等に起因した画像品質の低下を招いてしまう。
この解決策として、本実施の形態に係る画像形成装置には、不図示の駆動手段によって回転駆動されるファン21、22、23、24の計4つのファンが設けられている。これらのファンによって、画像形成手段が収容されている筺体54内に気流を生じさせ、筺体54内の温度を許容範囲内に維持し、良好な環境の下で画像形成プロセスが行われるようにしている。
そしてこれらのファンは、効率的に冷却対象を冷却するために、かつ装置本体の省スペース化を考慮して配置されている。
効率よく冷却対象を冷却するためには、冷却対象としての部材、ユニットの全域に気流
を行き渡らせることが好ましい。通常、画像形成手段として設けられる各部材、ユニットは、その長手方向が記録材の搬送方向に略直交し、かつ記録材の搬送面と略平行な方向となるように配設される場合が多い。
例えば感光ドラム7、定着器5のローラ部材(不図示)は、軸方向(長手方向)が記録材Sの搬送方向に略直交し、かつ記録材Sの搬送面と略平行な方向となるように配設されている。
よって、これらの冷却対象を効率よく冷却するためには、搬送方向に略直交し、かつ記録材Sの搬送面と略平行な方向に気流を生じさせることが好ましい。これに対して本実施の形態に係る画像形成装置は、記録材Sの搬送方向に略直交し、かつ記録材Sの搬送面と略平行な方向に給送カセット3aを着脱するタイプであるので、気流の方向と給送カセット3aの着脱を行う方向が略同一といえる。
すなわち、少なくとも1つのファンは、給送カセット3aの着脱が行われる側である装置本体の正面側から気流を生じさせるように配置するとよく、本実施の形態では、筺体における装置本体の正面側の近傍にファン22、23、24を配置した。
さらに付言すると、ファン22は、定着部5、電装部20、再搬送路18の近傍に設けられており、ファン23は、レーザスキャナユニット1、プロセスカートリッジ53の近傍に設けられている。またファン24は、レーザスキャナユニット1の近傍であって定着部5の上部近傍に設けられている。
なお、ファン21は、装置本体の側面から気流Aを生じさせるものであり、この気流Aによって両面搬送路10を搬送される定着直後の記録材Sを冷却可能であり、また、筺体内全体に冷却に有利な空気対流を起こすものである。
このようにファン21、22、23、24を配置することで、装置本体内部を効果的に冷却することができる。
(ダクト部材の構成)
図2に示すように、本実施の形態に係る画像形成装置には、筺体54における装置本体の正面側を覆うカバー部材46が設けられており、カバー部材46の下端には、後に説明する通気孔46aが設けられている。また、カバー部材46と筺体54との間には、通気孔46aから略鉛直方向に伸び、ファン22、23、24に連通するダクト部材42、43、44が設けられている。
この構成によると、ファン22、23、24を駆動させることにより、ダクト部材42、43、44の中を気流C2、C3、C1が流れることになる。また、カバー部材46を設けることでファンの駆動音の漏れを減少させることが可能になる。
また、筺体54の正面側の表面とカバー部材46との間の略鉛直方向にダクト部材42、43、44を配設することで、ダクト部材を配設するために必要なスペースをできる限り小さくすることができ、装置本体の省スペース化に貢献することができる。
なお、本実施の形態におけるダクト部材42、43、44は、これらのダクト部材をモールド部材等で一体成形する構成であっても、それぞれ別体に成形する構成であってもよい。また、ダクト部材42、43、44は、カバー部材46に対してビス等で取り付けられる構成であっても、筺体54の表面に取り付けられる構成であってもよい。
(通気孔の配置)
上記で説明したように、本実施の形態における給送カセット3aは、装置本体の正面側から着脱可能に構成されている。
そして、給送カセット3aを容易に着脱できるようにするために、給送カセット3aとカバー部材46の下端との間に、給送カセット3aを把持可能とする隙間45aを形成した(図2)。具体的には、給送カセット3aの上端の一部に、装置本体の下方に凹む凹み部を形成することで、カバー部材46の下端と給送カセット3aとの間に隙間45aを形成した。
ユーザが記録材の補給、メンテナンス等の時に給送カセット3aを着脱する際は、この隙間45aを利用して給送カセット3aを把持することで、容易に給送カセット3aの着脱を行うことが可能になる。
そして、本実施の形態における通気孔46aを、カバー部材46の外面のうち、この隙間45aに対向する面(カバー部材46の下端面)に設けたことが本願発明の特徴である。
すなわち、通気孔46aが設けられたカバー部材46の下端面は、装置本体を正面側から見た場合であっても、ユーザの視界にほとんど入ることがないので、通気孔46aがユーザの視界に入る場合はほとんどない。よって、装置本体の正面側に通気孔46aを配置しつつも、装置本体の外観を損なうことがない。
以上より、本実施の形態によると、効率的に冷却対象の部材、ユニットを冷却可能な位置に複数のファンを配置したので、筺体に収容されている画像形成手段を効率よく冷却することができる。
また、本実施の形態では、カバー部材46と給送カセット3aとの間に隙間を形成し、その隙間に対向する面に通気孔46aを設けたので、装置本体の正面側から通気孔が視界に入る可能性は低い。よって、省スペース化と外観の向上を両立させることが可能になる。
また、ユーザの視界に入りにくい位置に通気孔46aを設けているので、装置本体の外観のデザイン上の自由度が向上する。
また、ユーザが画像形成装置を使用する際に、通気孔46aがユーザと直接対面することがないので、通気孔46aから排出された空気がユーザに当たることでユーザの不快感を招くといった問題も解消することが可能になる。
したがって、本実施の形態によると、筺体に収容されている画像形成手段を効率よく冷却しつつ、かつ省スペース化を達成した上で、装置本体の外観を損なうことがない画像形成装置を提供することができる。
[第2の実施の形態]
図3を参照して、本発明の第2の実施の形態に係る画像形成装置について説明する。第1の実施の形態と同一の構成に関しては説明を省略し、ここでは、ダクト部材42、43、44の取り付けについてのみ説明を行う。
画像形成手段を収容する筺体54の表面には、画像形成手段を構成する各々の部材、ユニットの取り付け孔(20a〜20g)、及び板金の曲げの切り起こし(20x、20y
)形状等により形成された孔など、製造過程で複数の孔が形成されている。
そしてファン22〜24を設けることによって筺体内に気流を形成した場合、筺体54の表面にこのような孔が形成されていると、孔から装置本体内部の気流が装置本体外部へ漏れ出してしまう。なお、図3中に示す点線は、筺体内から漏れ出した気流を示すものである。
この場合、漏れ出した気流がユーザに当たることでユーザの不快感を招くといった問題や、漏れ出した空気が再び通気孔46aから吸い込まれることで、冷却効率を低下させるといった問題を生じる。
そこで実施の形態では、装置本体の製造過程で形成された筺体54の表面の孔をダクト部材42、43、44のを構成する面部によって塞ぐ構成とした。具体的には、ダクト部材42、43、44の表面のうち、筺体54の正面側の表面に対向する面部を、筺体54の正面側の表面に密着させた。
これにより、筺体54の表面に形成された孔を塞ぐことが可能になるので、孔から漏れ出した空気がユーザに当たることや、孔から漏れ出した空気が再度装置本体内部へ吸い込まれるといった可能性を低下させることができる。
なお、本実施の形態におけるダクト部材42、43、44は、これらのダクト部材をモールド部材等で一体成形する構成であっても、それぞれ別体に成形する構成であってもよい。また、ダクト部材42、43、44は、カバー部材46に対してビス等で取り付けられる構成であっても、筺体の表面に取り付けられる構成であってもよい。
したがって、本実施の形態によると、筺体に収容されている画像形成手段を効率よく冷却しつつ、かつ省スペース化を達成した上で、装置本体の外観を損なうことがない画像形成装置を提供することができる。
[第3の実施の形態]
図4を参照して、本発明の第3の実施の形態に係る画像形成装置について説明する。図3は、本実施の形態におけるカバー部材46及びダクト部材42、43、44を、装置本体の内側から見た場合を示す概略構成図である。なお、上記第1、第2の実施の形態と同一の構成に関してはここでは説明を省略する。
本実施の形態では、ダクト部材42、43、44の断面形状(ダクト部材を通過する気流が流れる方向と略直交する方向の断面形状)を略コの字形状とした。
そして、ダクト部材42、43、44をビス等によってカバー部材46に取り付け、ダクト部材42、43、44とカバー部材46とによって囲まれた空間を気流が流れるように構成した。この際、ダクト部材42、43、44の断面のコの字形状の開口側がカバー部材46によって塞がれるようにダクト部材42、43、44を取り付けた。
また、本実施の形態におけるダクト部材42、43、44は、モールド等の材料で一体に成形されており、各ダクト部材42、43、44の間、ダクト部材とカバー部材46の間は密着されているものとする。
この構成によると、ダクト部材42、43、44の断面形状を3つの面のみで構成し、開口側をカバー部材46で塞ぐことで気流の流れを形成出来るので、ダクト部材42、43、44の面部の厚み分、画像形成装置を小型化することが可能になる。つまり、画像形
成装置の正面方向の寸法を小さくすることが可能になる。
従って、本実施の形態によると、筺体に収容されている画像形成手段を効率よく冷却しつつ、かつ省スペース化を達成した上で、装置本体の外観を損なうことがない画像形成装置を提供することができる。
第1の実施の形態に係る画像形成装置の概略構成図。 第1の実施の形態に係る画像形成装置の概略斜視図。 第2の実施の形態に係る画像形成装置の概略構成図。 第3の実施の形態に係る画像形成装置の概略構成図。 従来例に係る画像形成装置の概略構成図。 従来例に係る画像形成装置の概略斜視図。
符号の説明
1 レーザスキャナユニット
3a 給送カセット
7 感光ドラム
20 電装部
21 ファン
22 ファン
23 ファン
24 ファン
42 ダクト部材
43 ダクト部材
44 ダクト部材
45a隙間
46 カバー部材
46a通気孔
54 筺体
S 記録材

Claims (3)

  1. 記録材を積載する給送カセットと、
    前記給送カセットから搬送される記録材に画像を形成する複数の画像形成手段と、
    記録材の搬送方向に略直交し記録材の搬送面と略平行な方向から前記画像形成手段に向けて気流を生じさせる、または前記画像形成手段の周囲の空気を外部へ吐き出す方向へ気流を生じさせるための少なくとも1つのファンと、
    前記画像形成手段と前記ファンとを有する筺体と、
    前記筺体における装置本体の正面側を覆うカバー部材と、
    前記カバー部材に設けられた通気孔と、
    前記筺体と前記カバー部材との間に設けられ、前記通気孔と前記ファンとを連通して気流を通過させるダクト部材と、
    を備え、
    前記給送カセットは、
    装置本体の正面側から記録材の搬送方向に略直交し記録材の搬送面と略平行な方向に着脱可能に構成されている画像形成装置において、
    装置本体の正面側から前記給送カセットを把持可能とする隙間が前記給送カセットと前記カバー部材との間に形成されており、
    前記通気孔は、
    前記カバー部材における前記隙間に対向する面に設けられていることを特徴とする画像形成装置。
  2. 前記ダクト部材は、
    前記ダクト部材を構成する面部が前記筺体の正面側の表面に密着した状態で設けられていることを特徴とする請求項1に記載の画像形成装置。
  3. 前記ダクト部材は、
    前記ダクト部材を通過する気流が流れる方向と略直交する方向の断面形状が略コの字形状であって、
    前記カバー部材が前記ダクト部材の略コの字形状の開口側を塞ぐようにして、前記ダクト部材が前記カバー部材に取り付けられ、前記ダクト部材と前記カバー部材とによって囲まれた空間を気流が流れることを特徴とする請求項1または2に記載の画像形成装置。
JP2008194916A 2008-07-29 2008-07-29 画像形成装置 Active JP5264347B2 (ja)

Priority Applications (1)

Application Number Priority Date Filing Date Title
JP2008194916A JP5264347B2 (ja) 2008-07-29 2008-07-29 画像形成装置

Applications Claiming Priority (1)

Application Number Priority Date Filing Date Title
JP2008194916A JP5264347B2 (ja) 2008-07-29 2008-07-29 画像形成装置

Publications (2)

Publication Number Publication Date
JP2010032780A true JP2010032780A (ja) 2010-02-12
JP5264347B2 JP5264347B2 (ja) 2013-08-14

Family

ID=41737326

Family Applications (1)

Application Number Title Priority Date Filing Date
JP2008194916A Active JP5264347B2 (ja) 2008-07-29 2008-07-29 画像形成装置

Country Status (1)

Country Link
JP (1) JP5264347B2 (ja)

Cited By (5)

* Cited by examiner, † Cited by third party
Publication number Priority date Publication date Assignee Title
JP2012012157A (ja) * 2010-06-30 2012-01-19 Canon Inc 画像形成装置
JP2012083434A (ja) * 2010-10-07 2012-04-26 Ricoh Co Ltd 冷却構造、冷却構造を備えた画像形成装置、冷却構造を備えた電子装置
EP2490080A1 (en) * 2011-02-17 2012-08-22 Kyocera Document Solutions Inc. Image forming apparatus
US8643862B2 (en) 2011-04-27 2014-02-04 Kyocera Document Solutions Inc. Determining between a handwriting and a soft key input mode for an image forming apparatus
US11822284B2 (en) 2021-06-16 2023-11-21 Canon Kabushiki Kaisha Image forming apparatus with branched ducts for cooling of image forming units

Citations (4)

* Cited by examiner, † Cited by third party
Publication number Priority date Publication date Assignee Title
JPH08234519A (ja) * 1995-02-24 1996-09-13 Canon Inc 画像形成装置
JPH09281876A (ja) * 1996-04-15 1997-10-31 Fuji Xerox Co Ltd 画像形成装置の排気装置
JPH10149081A (ja) * 1996-11-20 1998-06-02 Ricoh Co Ltd 複写機
JP2008077077A (ja) * 2006-08-25 2008-04-03 Kyocera Mita Corp 画像形成装置

Patent Citations (4)

* Cited by examiner, † Cited by third party
Publication number Priority date Publication date Assignee Title
JPH08234519A (ja) * 1995-02-24 1996-09-13 Canon Inc 画像形成装置
JPH09281876A (ja) * 1996-04-15 1997-10-31 Fuji Xerox Co Ltd 画像形成装置の排気装置
JPH10149081A (ja) * 1996-11-20 1998-06-02 Ricoh Co Ltd 複写機
JP2008077077A (ja) * 2006-08-25 2008-04-03 Kyocera Mita Corp 画像形成装置

Cited By (5)

* Cited by examiner, † Cited by third party
Publication number Priority date Publication date Assignee Title
JP2012012157A (ja) * 2010-06-30 2012-01-19 Canon Inc 画像形成装置
JP2012083434A (ja) * 2010-10-07 2012-04-26 Ricoh Co Ltd 冷却構造、冷却構造を備えた画像形成装置、冷却構造を備えた電子装置
EP2490080A1 (en) * 2011-02-17 2012-08-22 Kyocera Document Solutions Inc. Image forming apparatus
US8643862B2 (en) 2011-04-27 2014-02-04 Kyocera Document Solutions Inc. Determining between a handwriting and a soft key input mode for an image forming apparatus
US11822284B2 (en) 2021-06-16 2023-11-21 Canon Kabushiki Kaisha Image forming apparatus with branched ducts for cooling of image forming units

Also Published As

Publication number Publication date
JP5264347B2 (ja) 2013-08-14

Similar Documents

Publication Publication Date Title
CN100533295C (zh) 成像装置
US10503118B2 (en) Image forming apparatus having air cooling system
EP1429197B1 (en) Sheet transport apparatus and image forming apparatus
JP2005077478A (ja) 画像形成装置
US9092009B2 (en) Image forming apparatus with natural ventilator
JP5264347B2 (ja) 画像形成装置
US20230176521A1 (en) Image forming apparatus
US11693360B2 (en) Image forming apparatus having fan to suck air through a gap between exterior covers
CN102597885A (zh) 图像形成装置
JP5128886B2 (ja) 熱源保有装置の冷却構造および画像形成装置
US20130236207A1 (en) Image forming apparatus including fan
US20220365481A1 (en) Image forming apparatus
JP2008262082A (ja) 画像形成装置
JP5677994B2 (ja) 画像形成装置
JP2013064842A (ja) 画像形成装置
JP6697424B2 (ja) 画像形成装置
JP2007286196A (ja) 画像形成装置及びプロセスカートリッジ
JP5546375B2 (ja) 画像形成装置
JP2004020801A (ja) 画像形成装置
JP2010066429A (ja) 画像形成装置
JP2002287602A (ja) 画像形成装置
JP5144184B2 (ja) 画像形成装置
JP2006145727A (ja) 冷却装置及びこれを搭載した画像形成装置
JP2016033622A (ja) 画像形成装置
JP2010085540A (ja) 画像形成装置

Legal Events

Date Code Title Description
A621 Written request for application examination

Free format text: JAPANESE INTERMEDIATE CODE: A621

Effective date: 20110729

A131 Notification of reasons for refusal

Free format text: JAPANESE INTERMEDIATE CODE: A131

Effective date: 20121204

A977 Report on retrieval

Free format text: JAPANESE INTERMEDIATE CODE: A971007

Effective date: 20121205

A521 Written amendment

Free format text: JAPANESE INTERMEDIATE CODE: A523

Effective date: 20130204

TRDD Decision of grant or rejection written
A01 Written decision to grant a patent or to grant a registration (utility model)

Free format text: JAPANESE INTERMEDIATE CODE: A01

Effective date: 20130402

A61 First payment of annual fees (during grant procedure)

Free format text: JAPANESE INTERMEDIATE CODE: A61

Effective date: 20130430

R151 Written notification of patent or utility model registration

Ref document number: 5264347

Country of ref document: JP

Free format text: JAPANESE INTERMEDIATE CODE: R151