JP2010031454A - 導水樋装置 - Google Patents

導水樋装置 Download PDF

Info

Publication number
JP2010031454A
JP2010031454A JP2008191524A JP2008191524A JP2010031454A JP 2010031454 A JP2010031454 A JP 2010031454A JP 2008191524 A JP2008191524 A JP 2008191524A JP 2008191524 A JP2008191524 A JP 2008191524A JP 2010031454 A JP2010031454 A JP 2010031454A
Authority
JP
Japan
Prior art keywords
wall surface
width direction
holder
water
fixed
Prior art date
Legal status (The legal status is an assumption and is not a legal conclusion. Google has not performed a legal analysis and makes no representation as to the accuracy of the status listed.)
Granted
Application number
JP2008191524A
Other languages
English (en)
Other versions
JP4980313B2 (ja
Inventor
Norie Naito
法栄 内藤
Shinpei Naito
伸平 内藤
Masanori Ito
正憲 伊藤
Satoshi Maehara
聡 前原
Tatsuya Murakami
達也 村上
Shinichi Ide
進一 井出
Akihisa Okano
晃久 岡野
Shozo Suzuki
祥三 鈴木
Current Assignee (The listed assignees may be inaccurate. Google has not performed a legal analysis and makes no representation or warranty as to the accuracy of the list.)
NIPPON DOREN KOGYO KK
Tokyu Construction Co Ltd
Original Assignee
NIPPON DOREN KOGYO KK
Tokyu Construction Co Ltd
Priority date (The priority date is an assumption and is not a legal conclusion. Google has not performed a legal analysis and makes no representation as to the accuracy of the date listed.)
Filing date
Publication date
Application filed by NIPPON DOREN KOGYO KK, Tokyu Construction Co Ltd filed Critical NIPPON DOREN KOGYO KK
Priority to JP2008191524A priority Critical patent/JP4980313B2/ja
Publication of JP2010031454A publication Critical patent/JP2010031454A/ja
Application granted granted Critical
Publication of JP4980313B2 publication Critical patent/JP4980313B2/ja
Active legal-status Critical Current
Anticipated expiration legal-status Critical

Links

Images

Landscapes

  • Lining And Supports For Tunnels (AREA)

Abstract


【課題】 簡単な構造で、取付け作業および取外し作業の容易化を図ることができる導水樋装置を提供する。
【解決手段】 長手方向に垂直な幅方向両側に略L字状の取付け部38が形成される保持具40と、保持具40の一表面に固着される壁面側シール部材45a,45bと、導水受板42と取付け部38とを挟持する挟持部材43と、第1ねじ部材63が固着される取付け補助具57と、取付け補助具57を壁面33に固定するアンカー体41と、幅方向に隣接する取付け部38間にわたって配置され、挟持部材43によって幅方向の各一側部が各取付け部38にそれぞれ挟持され、壁面33との間の導水空間66を形成する導水受板42と、取付け補助具57の第1ねじ部材63に第2ねじ部材64によって着脱自在に固定される押えカバー部材55とによって、導水樋装置を構成する。
【選択図】 図2

Description

本発明は、道路トンネル、地下構造物、橋台および土留め擁壁などのコンクリート構造物の壁面のクラック箇所および施工目地などからの漏水を、排水溝などの排水設備へ導くために用いられる導水樋装置に関する。
図11は従来技術の導水樋装置を示す断面図であり、この従来技術は、たとえば特許文献1に開示されている。道路トンネル、地下構造物、橋台および土留め擁壁などのコンクリート構造物1の壁面2に生じたクラックおよび施工目地などからの漏水を、排水溝などの排水設備へ導くために、従来から導水樋装置が用いられている。この導水樋装置は、構造物1の壁面2に、図11の左右方向である道路軸線に沿って所要間隔をあけて平行に固定される保持具3と、保持具3の幅方向両側部に形成される挿入溝4に、幅方向両側部5が挿入される導水受板6とを具える。
前記保持具3は、その幅方向中央部において、前記壁面2に打ち込まれたアンカーボルト7と、これに螺着されたナット8とを用いて壁面2に固定される。前記保持具3の一表面側の幅方向両側部には、発泡合成樹脂から成るシール部材9が固着され、前記ナット8の締め付けによってシール部材9を壁面2に弾発的に押し付けた状態とし、液密に保持具3が壁面2に取り付け、各保持具3間でかつ壁面2と導水受板6との間に導水路10を形成するように構成されている。
このような導水樋構造においては、前記壁面2の亀裂の発生状態や剥落状態を点検したり、遊離石灰および壁面の剥落片等による導水路10の状態を点検して、さらに広い範囲を点検する必要が生じたときは、導水受板6を広範囲で取り外すとともに、コンクリートなどである構造物に打ち込まれたアンカーボルト7からナット8を外して、保持具3をもはずして所要の補修を行った後、再び、一旦外した保持具3および導水受板6を取り付けて復旧工事が行われ、多くの手間と労力とを要するという問題がある。
このような問題を解決する他の従来技術では、構造物のコンクリート壁部の漏水部からの漏水を受ける導水受板と、コンクリート壁面に固定されるベース部材と、ベース部材に固定されかつベース部材と協働して前記導水受板の側縁部分を保持するカバー部材とを備える導水樋装置が提案されている。
この従来技術の導水樋装置は、前記ベース部材の表面側の左右両側に保持部が設けられるとともに、各保持部間の固定片部に、壁面から突出する各アンカーボルトが挿通する複数の挿通孔が所定の間隔をあけて形成され、カバー部材の左右の保持片には、導水受板の幅方向両側部が嵌入する保持溝が形成され、各保持部間には、前記アンカーボルトが挿通する挿通孔が形成されている(たとえば、特許文献2参照)。
実開昭61−121300号公報(第2−3頁、第2図) 特開2003−232200号公報(請求項1、第4,5図)
しかしながら、特許文献2の従来技術では、構造が複雑であり、部品点数が多く、導水樋装置を取り付け、あるいは導水受板を取り外すに際して、長尺のカバー部材を外すために多くの手間および労力を要するという問題がある。
本発明の目的は、簡単な構造で、取付け作業および取外し作業の容易化を図ることができる導水樋装置を提供することである。
本発明の導水樋装置は、構造物の壁面に沿って長手方向に垂直な幅方向に間隔をあけて複数設けられ、幅方向両側に、前記長手方向に垂直な断面が略L字状の取付け部が形成される長尺の保持具と、
前記保持具の壁面に臨む一表面の前記幅方向両側に固着される一対のシール部材と、
各保持具間にわたって設けられ、壁面との間に導水路を形成する導水受板と、
前記導水受板の幅方向の各一側部と保持具の前記取付け部とを挟持する挟持部材と、
前記保持具の他表面の幅方向中間部に前記長手方向に間隔をあけて配置され、第1ねじ部材が固定される取付け補助具と、
各取付け補助具を前記構造物の壁面に固定するアンカー体と、
各導水受板の幅方向に隣接する各一側部間にわたって設けられ、幅方向中間部が前記取付け補助具に着脱自在に固定される押えカバー部材と、
前記第1ねじ部材に螺着されることによって、前記押えカバー部材を前記取付け補助具に着脱自在に連結する第2ねじ部材とを含むことを特徴とする導水樋装置である。
また本発明の押えカバー部材は、保持具の取付け部上に、導水受板の幅方向の各一側部を押圧する一対の押え部と、各押え部に連なり、壁面側に凸の断面凹状の固定部とを有することを特徴とする
本発明によれば、アンカー体に取付け補助具が固定され、保持具の幅方向両側の各取付け部に、挟持部材に前記幅方向に隣接する導水受板の各一側部が挟持される。取付け補助具には、第1ねじ部材が固定され、前記導水受板の各一側部が挟持部材によって挟持された状態で押えカバー部材を装着して、第2ねじ部材を第1ねじ部材に螺着し、この第1ねじ部材を締付けることによって、押えカバー部材が挟持部材によって保持具の各取付け部に挟持された導水受板の各一側部を押圧して抜け止めするとともに、保持具を壁面に押し付け、これによって各シール部材が壁面に押し付けられて、壁面と導水受板との間に水密な導水空間が形成され、壁面からの漏水を排水設備へ導くことができる。
このように挟持部材によって各一側部が挟持された保持具を押えカバー部材によって壁面に押し付けた状態で着脱自在に固定することができるので、長尺の押さえカバー部材を用いる従来の構成に比べて、部品点数が少なくて済み、導水値装置の取付け作業および取外し作業を簡素化し、構造物の壁面への導水樋装置の設置およびメンテナンス時の導水受板の着脱作業を容易に行うことができる。
また、押えカバー部材は、取付け補助具の第1ねじ部材に第2ねじ部材によって取り付けられるので、第2ねじ部材を緩めて押えカバー部材を外すことによって保持具の壁面への固定状態が解除され、外部に露出した各挟持部材を外すことによって、導水受板の各一側部を保持具の取付け部から離脱させ、またメンテナンス後には、導水受板の各一側部を各挟持部材によって保持具の各取付け部に挟持し、押えカバー部材を装着して第2ねじ部材を第1ねじ部材に螺着することによって、各導水受板の各一側部を保持具とともに壁面に固定することができる。このように、第2ねじ部材の第1ねじ部材への着脱作業によって導水受板と保持具との固定およびその固定状態の解除を行うことができ、導水受板および保持具の分解作業および組立て作業の作業性を向上することができる。
また本発明によれば、押えカバー部材は一対の押え部間に固定部が形成されるので、固定部を挿通して第1ねじ部材に螺着された第2ねじ部材の押さえカバー部材からの突出量を少なくし、またはなくすことができ、外見上不所望な凹凸が少なくして、意匠上の美観を向上することができる。
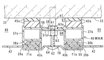
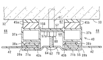
図1は、本発明の実施の一形態に係る導水樋装置31を示すアンカー体41の打設位置で切断した水平断面図であり、図2は図1に示す導水樋装置31の押さえカバー部材55の固定位置で切断した水平断面図である。導水樋装置31は、トンネルなどのコンクリート構造物32の壁面33に沿って長手方向(図1および図2の紙面に垂直方向)に垂直な幅方向(図1および図2の左右方向)に間隔をあけて複数設けられ、前記長手方向に垂直な幅方向両側には、前記長手方向に垂直な断面が略L字状の取付け部38a,38bが形成される長尺の保持具40と、前記保持具40の壁面33に臨む一表面の前記幅方向両側に固着される一対のシール部材45a,45bと、導水受板42の幅方向の各一側部と保持具40の前記取付け部38a,38bとを挟持する一対の挟持部材43a,43bと、各保持具40を前記構造物32の壁面33に固定するアンカー体41と、前記幅方向に隣接する各保持具40間にわたって配置され、幅方向両側部が前記挟持部材43a,43bによって各保持具の取付け部38a,38bに挟持される板状の導水受板42と、前記アンカー体41によって構造物32に固定される取付け補助具57と、各導水受板42の幅方向に隣接する各一側部間にわたって設けられ、幅方向中間部が前記保持具40に着脱自在に固定される押えカバー部材55とを含んで構成される。
保持具40は、長手方向に垂直な断面が四角形状の一対の側壁部37a,37bと、各側壁部37a,37bに連なって形成される前述の取付け部36a,36bと、各側壁部37a,37bに連なって形成され、各側壁部37a,37bを連結する連結部56とを含んで構成される。連結部56には、長手方向に間隔をあけて、アンカー体41を挿通するための挿通孔59とナット63が嵌まり込む透孔58とが形成される。
図3は、取付け補助具57の分解斜視図であり、図4は導水樋装置31の一部の簡素化した正面図である。前記取付け補助具57は、長方形状の板状の構造用鋼板から成る基板57aと、基板57aに固定される第1ねじ部材であるナット63と、ナット63を基板57aに固定するロックボルト63aと、ナット63に螺着される第2ねじ部材であるボルト63とを有する。基板57aには、アンカー体41の軸部が挿通するアンカー挿通孔60と、ロックボルト63aの軸部が挿通するボルト挿通孔61とが形成される。
保持具40は、長手方向に延びる長尺材であり、たとえば硬質ポリ塩化ビニルなどの熱可塑性合成樹脂から成る押出し型材またはアルミニウム合金の押出し形材によって実現される。
各シール部材45a,45bは、長手方向に垂直な断面が略長方形状の部材であり、本実施形態では、独立気泡の発泡合成樹脂と合成ゴムとの2層構造から成る長尺材によって実現される。各シール部材45a,45bは、接着剤による接着または両面粘着テープによる粘着などによって保持具40の壁面33に臨む一表面側の幅方向両端部に固着される。
アンカー体41は、その軸線方向他端部に外ねじが刻設される中空のアンカースリーブ51と、前記軸線方向一端部に一体的に設けられ、周方向に分断されて複数形成される拡開片50と拡開片50に挿入される円錐台状のテーパ部52とが形成されるアンカーロッド53と、アンカースリーブ51の前記外ねじに螺着されるナット54とを含んで構成される。
アンカー体41は、構造物32にコンクリートドリルなどの穿孔工具によって予め穿孔して下穴を形成し、この下穴にアンカーロッド53が挿入されたアンカースリーブ51を打ち込み、テーパ部52をアンカースリーブ51内に押し込むことによって拡開片53を拡開させて抜け止めし、構造物32に固定する。そしてアンカー体41は、アンカースリーブ51を、保持具40の挿通孔59に挿通し、アンカースリーブ51の外ねじが刻設された軸部を基板57aのアンカー挿通孔60に挿通してナット54を螺着し、締め付けることによって、基板57aを、前記保持具40を介在させた状態で構造物32に固定する。このようなアンカー体41としては、芯棒打込型を使用するのが好ましい。
各挟持部材43a,43bは、長手方向に延びる一対の長尺材であり、挟持部材43a,43bの長手方向に垂直な断面は略コの字状に形成される。各挟持部材43a,43bは、たとえば硬質ポリ塩化ビニルなどの熱可塑性合成樹脂から成る押出し形材によって実現される。
導水受板42は、板状の部材であり、たとえばアクリル樹脂と硬質ポリ塩化ビニルとが混合された耐候性および耐薬品性を有する熱可塑性合成樹脂製の押出し形材によって実現される。幅方向に隣接する各導水受板42の各一側部は、挟持部材43a,43bによって保持具40の各取付け部38a,38bに挟持される。
押えカバー部材55は、幅方向中間部の固定部70と、固定部70の両側に長手方向に沿って段違い状に一体に形成される一対の押え部71a,71bとを有する長尺部材であり、たとえばアルミニウム合金または合成樹脂の押出し形材によって実現される。押えカバー部材55の固定部70には、長手方向に間隔をあけて、ボルト64の軸部を挿通するためのボルト挿通孔62が形成される。このように押えカバー部材55は、一対の押え部71a,71b間に固定部70が形成されるので、固定部70を挿通してナット63に螺着されたボルト64の押さえカバー部材55の突出量を少なくし、またはなくすことができ、外見上、不所望な凹凸が少なくなり、意匠上の美観が向上される。
このように構成される導水樋装置31は、壁面33と導水受板42との間でかつ隣り合う保持具40の間に、壁面33の施工目地および亀裂などから発生した水を導くための導水空間66が形成される。また、壁面33と保持具40との間でかつシール部材45aとシール部材45bとの間には、第1内部空間67が形成される。また、保持具40と押えカバー部材55との間でかつ挟持部材35aと挟持部材35bとの間には、第2内部空間68が形成される。
図5は、導水樋装置31が構造物32の壁面33に取付けられた状態を示す断面図である。前記導水樋装置31は、構造物32の壁面33に、図5の紙面に垂直な方向である道路軸線方向に、複数設けられる。導水樋装置31は、たとえば道路トンネルなどのコンクリート構造物32の内側の壁面33の施工目地および亀裂などから発生した水を、導水受板42と壁面33との間に形成される導水空間66内に回収し、道路の路側帯に設けられる開渠排水溝48a,48bに導く。導水樋装置31によって導かれた水は、各開渠排水溝48a,48bから暗渠排水溝49a,49bに落とし込まれて排水処理される。導水樋装置31、開渠排水溝48a,48bおよび暗渠排水溝49a,49bによって、排水設備を構成することができる。
構造物32には、複数のアンカー体41が壁面33に沿って周方向および道路軸線方向(図5の紙面に垂直な方向)に間隔をあけて埋設される。前記周方向の間隔は、たとえば500mmに選ばれ、前記道路軸線方向の間隔は、たとえば300〜1000mmに選ばれる。
図6は、導水樋装置31の設置方法を説明する図である。以下、図6(1)〜図6(5)を参照して、導水樋装置31の設置方法について、説明する。
図6(1)に示すように、工場において、幅方向中間部の連結部56にアンカー体41を挿通するための挿通孔59を長手方向に等間隔に形成し、図6(2)に示すように、導水受板42の各取付け部38a,38bに、シール材39を接着剤で固着する。また、図6(3)に示すように、保持具40の壁面33に臨む一表面の幅方向両側部に、シール部材45a,45bを固着する。こうして各シール材39および各シール部材39a,39bが固着された保持具40を現場に搬入する。
次に、各保持具40を構造物32の壁面33に位置決めして配置し、各保持具40に設けられる挿通孔59の壁面33上の投影位置にコンクリートドリルを用いて削孔し、アンカー体41を打ち込む。そして、図6(4)に示すように、各アンカー体41のアンカースリーブ51を、保持具40の孔59,60に挿通し、アンカースリーブ51の軸部に、ナット54を螺着して締め付けて、保持具40を壁面33に固定する。前記図6(1)〜図6(4)に示される各工程を繰り返して、構造物32の壁面33に、複数の保持具40を道路軸線に沿う幅方向に等間隔に設置し、各取付け部38a,38bにシール材39を介して導水受板42の各一側部を配置して挟持部材43a,43bを装着して挟持する。
次に、図6(5)に示すように、押えカバー部材55の挿通孔62と、ナット63のねじ孔とを重なるように前記押えカバー部材55を位置決めしボルト64をナット63に螺着して締め付けることによって、各取付け部38a,38b上に各導水受板42の各一側部を押え付けた状態で保持具40とともに壁面33に固定する。
このようにして、複数の保持具40によって複数の導水受板42を保持することによって、壁面33と各導水受板42と間でかつ隣接する各保持具40間に導水空間66が形成され導水樋装置31の設置作業が完了する。
また、前述のように形成された各導水樋装置31の導水空間66内に堆積した、たとえばコンクリートから湧出した漏水に含有される遊離石灰などの固形物などを除去するためにメンテナンスを実施する場合には、前記第2ねじ部材であるボルト64を緩めて押えカバー部材55を外すことによって、保持具40の固定状態を解除することができるとともに、各挟持部材43a,43bが外部に露出するので、作業者は手作業によって各挟持部材43a,43bを各取付け部38a,38bから離脱させて、各導水受板42を保持具40から取り外し、導水空間66を開放して、前記固形物などの堆積物を除去した後、再び導水受板42を挟持部材43a,43bによって挟持して、押えカバー部材55をボルト64によって保持具40とともに壁面33に固定し、復旧することができる。このように導水樋装置31の分解および組立てを容易に行うことができるので、導水樋装置31の設置時およびメンテナンス時の作業性を格段に向上することができる。
図7は、本発明の他の実施形態の導水樋装置31aを示す水平断面図であり、図8は図7の導水樋装置31aに用いられる取付け補助具157を示す斜視図である。なお、前述の実施形態と対応する部分には、同一の参照符を付す。本実施形態の導水樋装置31は、前記取付け補助具57に代えて、第1ねじ部材であるナット80が溶接によって基板57aに固着された取付け補助具157が用いられる。このような構成を採用することによって、ナット80を基板57aに固定するために前述のロックボルト62が不要であるので、部品点数を削減することができる。また、基板57aには前記ロックボルト62の軸部を挿通するための挿通孔62を形成する必要がないので、加工上の手間を削減することができる。
図9は、本発明の他の実施形態の導水樋装置31bを示す水平断面図であり、図10は図9の導水樋装置31bに用いられる取付け補助具257を示す斜視図である。なお、前述の各実施形態と対応する部分には、同一の参照符を付す。本実施形態の導水樋装置31は、前記取付け補助具57に代えて、第1ねじ部材であるナット80が溶接によって基板57aに固着された取付け補助具157が用いられる。このような構成を採用することによって、ナット80を基板57aに固定するために前述のロックボルト62が不要であるので、部品点数を削減することができる。また、基板57aには前記ロックボルト62の軸部を挿通するための挿通孔62を形成する必要がないので、加工上の手間を削減することができる。
本発明の実施の一形態に係る導水樋装置31を示すアンカー体41の打設位置で切断した水平断面図である。 図1に示す導水樋装置31の押さえカバー部材55の固定位置で切断した水平断面図である。 取付け補助具57の分解斜視図である。 導水樋装置31の一部の簡素化した正面図である。 導水樋装置31が構造物32の壁面33に取付けられた状態を示す断面図である。 導水樋装置31の設置方法を説明する図である。 本発明の他の実施形態の導水樋装置31aを示す水平断面図である。 図7の導水樋装置31aに用いられる取付け補助具157を示す斜視図である。 本発明の他の実施形態の導水樋装置31bを示す水平断面図である。 図9の導水樋装置31bに用いられる取付け補助具257を示す斜視図である。 従来技術の導水樋装置を示す断面図である。
符号の説明
31 導水樋装置
32 構造物
33 壁面
37a,37b
38a,38b 取付け部
39a,39b シール材
40 保持具
41 アンカー体
42 導水受板
43,43a,43b 挟持部材
45,45a,45b シール部材
47 幅方向中間部
48a,48b 排水溝
49a,49b 暗渠排水溝
50 拡開片
51 アンカースリーブ
52 テーパ部
53 アンカーロッド
54 ナット
55 押えカバー部材
57,157,257 取付け補助具
59,60,61,62 挿通孔
63 ねじ部材
64 ねじ部材
66 導水路
70 固定部
71a,71b 押え部

Claims (2)

  1. 構造物の壁面に沿って長手方向に垂直な幅方向に間隔をあけて複数設けられ、幅方向両側に、前記長手方向に垂直な断面が略L字状の取付け部が形成される長尺の保持具と、
    前記保持具の壁面に臨む一表面の前記幅方向両側に固着される一対のシール部材と、
    各保持具間にわたって設けられ、壁面との間に導水路を形成する導水受板と、
    前記導水受板の幅方向の各一側部と保持具の前記取付け部とを挟持する挟持部材と、
    前記保持具の他表面の幅方向中間部に前記長手方向に間隔をあけて配置され、第1ねじ部材が固定される取付け補助具と、
    各取付け補助具を前記構造物の壁面に固定するアンカー体と、
    各導水受板の幅方向に隣接する各一側部間にわたって設けられ、幅方向中間部が前記取付け補助具に着脱自在に固定される押えカバー部材と、
    前記第1ねじ部材に螺着されることによって、前記押えカバー部材を前記取付け補助具に着脱自在に連結する第2ねじ部材とを含むことを特徴とする導水樋装置。
  2. 前記押えカバー部材は、前記保持具の各取付け部上に、導水受板の幅方向の各一側部を押圧する一対の押え部と、各押え部に連なり、壁面側に凸の断面凹状の固定部とを有することを特徴とする請求項1記載の導水樋装置。
JP2008191524A 2008-07-24 2008-07-24 導水樋装置 Active JP4980313B2 (ja)

Priority Applications (1)

Application Number Priority Date Filing Date Title
JP2008191524A JP4980313B2 (ja) 2008-07-24 2008-07-24 導水樋装置

Applications Claiming Priority (1)

Application Number Priority Date Filing Date Title
JP2008191524A JP4980313B2 (ja) 2008-07-24 2008-07-24 導水樋装置

Publications (2)

Publication Number Publication Date
JP2010031454A true JP2010031454A (ja) 2010-02-12
JP4980313B2 JP4980313B2 (ja) 2012-07-18

Family

ID=41736248

Family Applications (1)

Application Number Title Priority Date Filing Date
JP2008191524A Active JP4980313B2 (ja) 2008-07-24 2008-07-24 導水樋装置

Country Status (1)

Country Link
JP (1) JP4980313B2 (ja)

Cited By (1)

* Cited by examiner, † Cited by third party
Publication number Priority date Publication date Assignee Title
JP2017075461A (ja) * 2015-10-13 2017-04-20 ニホン・ドレン株式会社 導水装置

Citations (2)

* Cited by examiner, † Cited by third party
Publication number Priority date Publication date Assignee Title
JP2002047900A (ja) * 2000-05-26 2002-02-15 Nippon Doren Kogyo Kk 導水受板の保持具および導水樋装置
JP2004150128A (ja) * 2002-10-30 2004-05-27 Nippon Doren Kogyo Kk 導水装置

Patent Citations (2)

* Cited by examiner, † Cited by third party
Publication number Priority date Publication date Assignee Title
JP2002047900A (ja) * 2000-05-26 2002-02-15 Nippon Doren Kogyo Kk 導水受板の保持具および導水樋装置
JP2004150128A (ja) * 2002-10-30 2004-05-27 Nippon Doren Kogyo Kk 導水装置

Cited By (1)

* Cited by examiner, † Cited by third party
Publication number Priority date Publication date Assignee Title
JP2017075461A (ja) * 2015-10-13 2017-04-20 ニホン・ドレン株式会社 導水装置

Also Published As

Publication number Publication date
JP4980313B2 (ja) 2012-07-18

Similar Documents

Publication Publication Date Title
JP2009534559A (ja) 取り外しが容易にできる水平または垂直のタイル張りを実現するモジュール装置
CN111962690A (zh) 一种装配式建筑墙体连接结构及其施工方法
JP4980313B2 (ja) 導水樋装置
JP3668473B2 (ja) 導水装置
KR101879277B1 (ko) 지하구조물의 보수 보강공법
JP4730912B2 (ja) 透明部を有する漏水受板
JP3384998B2 (ja) 導水受板の保持具および導水樋装置
KR20030062875A (ko) 앵커 볼트에 의한 강판 취부시 에폭시 누출이 방지되게 한실링공법과 그 장치
JP3820211B2 (ja) 構造物の漏水部に取り付けられる漏水受樋装置
JP3318545B2 (ja) セグメントのローリング修正方法
JP6450954B2 (ja) 遮水壁の継手部止水方法
JP5076704B2 (ja) 土留壁の止水構造及び止水構造の構築方法
JP4573788B2 (ja) コンクリート構造物に於ける繊維強化樹脂(frp)板による導水樋工法
JP3651976B2 (ja) 防水壁形成方法
JP6959674B2 (ja) 導水装置
JP3522999B2 (ja) トンネル状構造物のパネルによる導水構造
CN222437376U (zh) 管道接口修复装置
JP3186256U (ja) トンネル内装板取付け部の補修部材
CN223868016U (zh) 一种顶管施工用管节接头止水结构
CN215212365U (zh) 一种新型楼板套管预埋结构
JP4231463B2 (ja) 開水路更生体及び開水路更生工法
KR101568982B1 (ko) 시트파일에 형성되는 케이블 통과홀의 차수보강공법
KR100867170B1 (ko) 충전 모르타르와 합성수지 시트를 이용한 콘크리트 구조물보호재 및 이의 시공방법
KR100617958B1 (ko) 지하 구조물의 수밀재 및 이를 이용한 차수공법
KR20000019840A (ko) 내부버팀링 지지 관로 보수 공법 및 보수재

Legal Events

Date Code Title Description
A621 Written request for application examination

Free format text: JAPANESE INTERMEDIATE CODE: A621

Effective date: 20110606

TRDD Decision of grant or rejection written
A01 Written decision to grant a patent or to grant a registration (utility model)

Free format text: JAPANESE INTERMEDIATE CODE: A01

Effective date: 20120410

A01 Written decision to grant a patent or to grant a registration (utility model)

Free format text: JAPANESE INTERMEDIATE CODE: A01

A977 Report on retrieval

Free format text: JAPANESE INTERMEDIATE CODE: A971007

Effective date: 20120411

A61 First payment of annual fees (during grant procedure)

Free format text: JAPANESE INTERMEDIATE CODE: A61

Effective date: 20120418

FPAY Renewal fee payment (event date is renewal date of database)

Free format text: PAYMENT UNTIL: 20150427

Year of fee payment: 3

R150 Certificate of patent or registration of utility model

Ref document number: 4980313

Country of ref document: JP

Free format text: JAPANESE INTERMEDIATE CODE: R150

Free format text: JAPANESE INTERMEDIATE CODE: R150

S533 Written request for registration of change of name

Free format text: JAPANESE INTERMEDIATE CODE: R313533

R350 Written notification of registration of transfer

Free format text: JAPANESE INTERMEDIATE CODE: R350

R250 Receipt of annual fees

Free format text: JAPANESE INTERMEDIATE CODE: R250

R250 Receipt of annual fees

Free format text: JAPANESE INTERMEDIATE CODE: R250

R250 Receipt of annual fees

Free format text: JAPANESE INTERMEDIATE CODE: R250

R250 Receipt of annual fees

Free format text: JAPANESE INTERMEDIATE CODE: R250

R250 Receipt of annual fees

Free format text: JAPANESE INTERMEDIATE CODE: R250

R250 Receipt of annual fees

Free format text: JAPANESE INTERMEDIATE CODE: R250

R250 Receipt of annual fees

Free format text: JAPANESE INTERMEDIATE CODE: R250

R250 Receipt of annual fees

Free format text: JAPANESE INTERMEDIATE CODE: R250

S531 Written request for registration of change of domicile

Free format text: JAPANESE INTERMEDIATE CODE: R313531

R350 Written notification of registration of transfer

Free format text: JAPANESE INTERMEDIATE CODE: R350