JP2010030447A - コンテナ積載用トレーラ - Google Patents

コンテナ積載用トレーラ Download PDF

Info

Publication number
JP2010030447A
JP2010030447A JP2008194902A JP2008194902A JP2010030447A JP 2010030447 A JP2010030447 A JP 2010030447A JP 2008194902 A JP2008194902 A JP 2008194902A JP 2008194902 A JP2008194902 A JP 2008194902A JP 2010030447 A JP2010030447 A JP 2010030447A
Authority
JP
Japan
Prior art keywords
container
trailer
trailer body
fastening
unit
Prior art date
Legal status (The legal status is an assumption and is not a legal conclusion. Google has not performed a legal analysis and makes no representation as to the accuracy of the status listed.)
Granted
Application number
JP2008194902A
Other languages
English (en)
Other versions
JP5184243B2 (ja
Inventor
Atsushi Igarashi
敦 五十嵐
Current Assignee (The listed assignees may be inaccurate. Google has not performed a legal analysis and makes no representation or warranty as to the accuracy of the list.)
Nippon Trex Co Ltd
Original Assignee
Nippon Trex Co Ltd
Priority date (The priority date is an assumption and is not a legal conclusion. Google has not performed a legal analysis and makes no representation as to the accuracy of the date listed.)
Filing date
Publication date
Application filed by Nippon Trex Co Ltd filed Critical Nippon Trex Co Ltd
Priority to JP2008194902A priority Critical patent/JP5184243B2/ja
Publication of JP2010030447A publication Critical patent/JP2010030447A/ja
Application granted granted Critical
Publication of JP5184243B2 publication Critical patent/JP5184243B2/ja
Active legal-status Critical Current
Anticipated expiration legal-status Critical

Links

Images

Landscapes

  • Body Structure For Vehicles (AREA)
  • Loading Or Unloading Of Vehicles (AREA)

Abstract

【課題】トレーラをコンテナ埠頭のみならず公道をも走行し得るようにする。レーラの利用効率を高める。
【解決手段】トレーラ本体10にはガイドユニット21が設けられ、ガイドユニット21はガイドプレート30がコンテナ16a,16bを案内する使用位置とガイドプレート30がトレーラ本体10内に入り込む収納位置との間で回動自在となっている。トレーラ本体10には締結ユニット22が設けられ、締結ユニット22はその嵌合駒をコンテナ16a,16bに嵌合させてコンテナを締結する位置とトレーラ本体10内に入り込む収容位置との間で回動自在となっている。コンテナを積載して公道を走行する時には、ガイドユニット21は収納位置に退避され、締結位置の締結ユニット22によりコンテナは締結される。
【選択図】図1

Description

本発明は、海上コンテナをコンテナ埠頭で搬送するとともに公道を経て目的地に搬送するようにしたコンテナ積載用トレーラに関する。
コンテナ船により海上輸送されたコンテナは、港のコンテナ埠頭内の構内走行用のトレーラに対してクレーンにより荷降ろしされ、構内走行用のトレーラによりコンテナ埠頭内のコンテナターミナルまで搬送される。コンテナターミナルから目的地までは公道走行用のトレーラにより搬送される。コンテナ船にコンテナを積み込む場合には、構内走行用のトレーラによりコンテナターミナルからコンテナ船近くまで搬送されることになる。
公道走行用のトレーラには、特許文献1に記載されるように、コンテナを車体フレームに締結するための締結具が設けられている。締結具はコンテナ底壁に形成された角穴からなる嵌合孔に嵌合する嵌合駒と、嵌合駒に回転自在に取り付けられコンテナを締結する締結頭部が設けられたロックシャフトとを有している。コンテナを締結具によりトレーラに締結するには、コンテナをトレーラの荷台に降ろしながら、コンテナ底壁に形成された角穴内に嵌合駒を挿入させた後に、レバー操作により締結頭部を回転させることになる。締結具は、コンテナをその底壁の部分でロックするので、車体フレームの側面よりも内側に配置されている。
特開2000−142205号公報
公道を走行することができるのは、車幅が2500mmを超えない車両に規制されており、公道走行用のトレーラは、その車幅が例えば2490mmに設定されている。締結具は車体フレームの側面よりも内側に配置されているので、トレーラに締結具が設けられていても、締結具は車体フレームの側方に突出することはない。
これに対し、従来の構内走行用のトレーラは、車幅が2500mmを超えてしまうために、公道を走行することができず、コンテナ埠頭内のみしか走行できなかった。その理由は、構内走行用のトレーラは舗装された平坦なコンテナ埠頭内のみを短距離走行するので、公道走行用のトレーラのように締結具は不要であるのに対し、コンテナ船からクレーンにより短時間にトレーラにコンテナを積載し得るように、ガイドフリッパと言われる固定式のガイドプレートが構内走行用のトレーラには設けられているためである。
ガイドプレートは車体フレームから上方に突出するとともに上端部が車体フレームの側面から突出するように上方に向けて傾斜する案内面を有している。構内走行用のトレーラには、このようにガイドプレートが設けられているので、コンテナをトレーラの荷台に対して正確に位置決めをすることなく、クレーンによりコンテナをトレーラに迅速に効率良く積載することができるという利点があるが、構内走行用のトレーラは、固定式のガイドプレートが設けられているので、左右のガイドプレート相互間の車幅寸法は2500mmを超えることになり、公道を走行することはできない。
このように、構内走行用のトレーラは、ガイドプレートを含めた車幅が公道走行用車両の規制値を超えることになり公道を走行することができないため、コンテナ船に対するコンテナの荷積みとコンテナ船からの荷降ろしの際に使用されるのみであり、公道を走行することによるコンテナ輸送を行うことができずに車両の使用効率が悪いという問題点がある。しかも、公道を走行することができないので、他の港等に向けて車両を回送したり、修理や点検のためにコンテナ埠頭から離れた修理工場に車両を移動させたりすることができないという問題点がある。
本発明の他の目的は、コンテナ積載用トレーラをコンテナ埠頭のみならず公道をも走行し得るようにすることにある。
本発明の目的は、コンテナ積載用レーラの利用効率を高めることにある。
本発明のコンテナ積載用トレーラは、縦方向に伸びる縦梁材および当該縦梁材に対して横方向に伸びて前記縦梁材に固定される横梁材を備えコンテナが積載されるトレーラ本体と、当該トレーラ本体に設けられた走行車輪とを有するコンテナ積載用トレーラであって、前記横梁材の端部に装着される支持ピンに回動自在に装着される台座と、前記台座に取り付けられ、前記コンテナが前記トレーラ本体に搭載されるときに前記トレーラ本体の側面よりも迫り出すとともに前記トレーラ本体の上面よりも迫り出した状態で前記コンテナを案内し、前記台座とともにガイドユニットを形成するガイドプレートとを備え、前記ガイドユニットは前記ガイドプレートが前記コンテナを案内する使用位置と前記ガイドプレートが前記トレーラ本体内に入り込む収納位置との間で回動自在であり、公道走行時には前記ガイドユニットを前記収納位置に退避させることを特徴とする。
本発明のコンテナ積載用トレーラは、前記ガイドユニットが使用位置となったときに前記台座を支持する荷重受けストッパを前記トレーラ本体に設け、前記コンテナの荷重を前記台座を介して前記荷重受けストッパにより支持することを特徴とする。また、本発明のコンテナ積載用トレーラは、前記支持ピンを前記トレーラ本体に着脱自在に装着し、前記ガイドユニットを前記トレーラ本体から取り外し得ることを特徴とする。さらに、本発明のコンテナ積載用トレーラは、前記ガイドユニットを前記横梁材の両端部に対をなして設けるとともに前記トレーラ本体に前記ガイドユニットを複数対設けることを特徴とする。
本発明のコンテナ積載用トレーラは、縦方向に伸びる縦梁材および当該縦梁材に対して横方向に伸びて前記縦梁材に固定される横梁材を備えコンテナが積載されるトレーラ本体と、当該トレーラ本体に設けられた走行車輪とを有するコンテナ積載用トレーラであって、前記横梁材の端部に装着される第1の支持ピンに回動自在に装着される台座、および前記台座に取り付けられ前記コンテナが前記トレーラ本体に搭載されるときに前記トレーラ本体の側面よりも迫り出すとともに前記トレーラ本体の上面よりも迫り出した状態で前記コンテナを案内するガイドプレートを備え、前記ガイドプレートが前記コンテナを案内する使用位置と前記ガイドプレートが前記トレーラ本体内に入り込む収納位置との間で回動自在のガイドユニットと、前記横梁材の端部に装着される第2の支持ピンに回動自在に装着される筐体、当該筐体に固定され前記コンテナの底面に形成された嵌合孔に嵌合する嵌合駒、および当該嵌合駒に回転自在に装着され前記コンテナを締結する締結頭部が設けられたロックシャフトを備え、前記嵌合駒を前記コンテナに嵌合させて前記コンテナを締結する締結位置と前記トレーラ本体内に入り込む収納位置との間で回動自在の締結ユニットとを有し、前記コンテナを積載した公道走行時には、前記ガイドユニットを前記収納位置に退避させる一方、前記締結位置の前記締結ユニットにより前記コンテナを締結することを特徴とする。
本発明のコンテナ積載用トレーラは、前記ガイドユニットが使用位置となったときに前記台座を支持する第1の荷重受けストッパと、前記締結ユニットが前記締結位置となったときに前記筐体を支持する第2の荷重受けストッパとを前記トレーラ本体に設け、前記コンテナの荷重を前記台座を介して前記第1の荷重受けストッパにより支持し、前記コンテナの荷重を前記筐体を介して前記第2の荷重受けストッパにより支持することを特徴とする。
本発明のコンテナ積載用トレーラは、前記第1の支持ピンと前記第2の支持ピンを前記トレーラ本体に着脱自在に装着し、前記ガイドユニットと前記締結ユニットとをそれぞれ前記トレーラ本体から取り外し得るとともに、前記ガイドユニットと前記締結ユニットの位置を交換し得ることを特徴とする。本発明のコンテナ積載用トレーラは、前記ガイドユニットを前記横梁材の両端部に対をなして設けるとともに前記トレーラ本体に前記ガイドユニットを複数対設け、前記締結ユニットを前記横梁材の両端部に対をなして設けるとともに前記トレーラ本体に前記締結ユニットを複数対設けることを特徴とする。
本発明によれば、ガイドユニットがコンテナを案内する使用位置とトレーラ本体内に入り込む収納位置との間で回動自在であり、公道走行時にはガイドユニットを前記収納位置に退避させるようにしたので、トレーラはコンテナ埠頭内でコンテナの搬送を行うだけでなく、一般道路を通行して他の港等に移動することができる。
本発明によれば、ガイドユニットに加えて、コンテナを締結する締結位置とトレーラ本体内に入り込む収納位置との間で回動自在の締結ユニットとを有し、コンテナを積載して公道を走行する時には、ガイドユニットを収納位置に退避させる一方、締結位置の締結ユニットによりコンテナを締結することができ、トレーラはコンテナ埠頭内でコンテナの搬送を行うだけでなく、コンテナを一般道路を経由して目的地まで輸送することができる。これにより、同一のトレーラをコンテナ埠頭のみならず、公道走行用としても利用することができるので、トレーラの利用効率を高めることができる。
ガイドユニットの台座は荷重受けストッパにより支持されるので、台座にはコンテナの荷重が加わることが防止され、台座の耐久性を高めることができる。同様に、締結ユニットの筐体にはコンテナの荷重が加わることが防止される。
支持ピンを外すことにより、ガイドユニッはトレーラ本体に対して取り外し自在となっているので、トレーラ本体の任意の位置にガイドユニットを装着することができるとともに、ガイドユニットを外した状態でもトレーラ本体を走行させることができる。同様に、締結ユニットはトレーラ本体に対して取り外し自在となっているので、トレーラ本体の任意の位置に締結ユニットを装着することができるとともに、締結ユニットを外した状態でもトレーラ本体を走行させることができる。
以下、本発明の実施の形態を図面に基づいて詳細に説明する。図1は本発明の一実施の形態であるコンテナ積載用トレーラを示す側面図であり、図1(A)はトレーラがコンテナ埠頭を走行可能な状態を示し、図1(B)はトレーラが公道を走行可能な状態を示す。図2(A)は図1(A)の平面図であり、図2(B)は図1(B)の平面図であり、図3(A)は図1(A)の背面図であり、図3(B)は図1(B)の背面図である。
図示するトレーラはコンテナが搭載されるトレーラ本体10を有しており、トレーラ本体10は走行方向に伸びる2本の縦梁材11と、縦梁材11に対して横方向に伸びて縦梁材11に固定される複数本の横梁材12とを備えている。トレーラ本体10には走行車輪13が設けられており、それぞれの走行車輪13は図示しない走行車軸に取り付けられている。このトレーラは図示しないトラクタつまり牽引車により牽引されて追従走行するセミトレーラであり、トレーラ本体10の前端部下面には、図1に示されるように、トラクタを連結するためのキングピン14が設けられている。トレーラ本体10には、図1に示されるように、ランディングギヤつまり支持脚15が設けられており、トレーラがトラクタに連結されていないときには、トレーラ本体10は走行車輪13と支持脚15により走行地盤に支持される。支持脚15は上下方向に伸縮自在となっており、図1に示されるように支持脚15によりトレーラ本体10を支持する際には支持脚15は下方に延伸し、トラクタに牽引されるときには支持脚15は上方に移動することになる。
このトレーラには、図1に示されるように、長さ寸法が40フィートの大型のコンテナ16aと、長さ寸法が20フィートの小型のコンテナ16bのいずれも搭載できるようになっている。図1にはトレーラ本体10の走行方向中央部に1つの小型のコンテナ16bが搭載された状態が示されているが、トレーラ本体10は2つの小型のコンテナ16bを搭載することができる長さとなっている。
図2に示されるように、横梁材12は2本で一対となっており、図示するトレーラ本体10は8対の横梁材12を有している。
トレーラ本体10の左右両側には、図2に示されるように、コンテナ船により輸送されたコンテナが港のコンテナ埠頭内でクレーンにより荷降ろしされるときに、コンテナをトレーラ本体10の荷台に案内するためのガイドユニット21が4つずつ装着されている。それぞれのガイドユニット21は、一対の横梁材12の両端部に対をなして設けられており、図1(A)および図2(A)に示す使用位置と、図1(B)および図2(B)に示す収納位置との間で回動自在となっている。図1および図2においては、それぞれのガイドユニット21には、トレーラ本体10の前端部側から後端部側に向けてカッコを付して符号aからdが付されている。
トレーラ本体10の左右両側には、図2に示されるように、コンテナが公道を経由して輸送される際に、コンテナをトレーラ本体10に締結するための締結ユニット22が4つずつ装着されている。それぞれの締結ユニット22は、一対の横梁材12の両端部に対をなして、ガイドユニット21が装着されていない他の横梁材12に設けられており、図1(B)および図2(B)に示す締結位置と、図1(A)および図2(A)に示す収納位置との間で回動自在となっている。図1および図2においては、それぞれの締結ユニット22には、トレーラ本体10の前端部側から後端部側に向けてカッコを付して符号aからdが付されている。
図1(A)および図2(A)は、トレーラ本体10の左右に4つずつ装着されたガイドユニット21が全て使用位置となった状態が示されており、この状態のもとでコンテナ埠頭内においてクレーンによりトレーラに大型のコンテナ16aが搭載されるときには、左右4つずつのガイドユニット21(a)〜21(d)により案内されて大型のコンテナ16aはトレーラ本体10の上に位置決めされる。ただし、このときには、左右2つずつのガイドユニット21(a),21(d)により案内するようにしても良い。一方、コンテナ埠頭内においてクレーンによりトレーラに小型のコンテナ16bが搭載されるときには、左右2つずつのガイドユニット21(b),21(c)により案内されて小型のコンテナ16bはトレーラ本体10の上に位置決めされる。このように、コンテナがクレーンによりトレーラに搭載されるときには、左右それぞれ複数のガイドユニット21によりコンテナの下降移動を案内することが好ましいが、左右一方を2つのガイドユニット21により位置決めし、左右他方を1つのガイドユニット21により位置決めすることも可能である。
図1(B)および図2(B)には、トレーラ本体10の左右に4つずつ装着された締結ユニット22を説明の便宜のために全て締結位置とした状態で示しているが、大型のコンテナ16aが公道を経由して輸送される際には、前後両端部の締結ユニット22(a),22(d)のみが締結位置に設定され、他の締結ユニット22(b),22(c)は収納位置に設定される。一方、小型のコンテナ16bが公道を経由して輸送される際には、締結ユニット22(b),22(c)が締結位置に切り換えられることになる。
図4は図2(A)において符号4で示すガイドユニット21の拡大平面図であり、図5は図4における5−5線断面図であり、図6は図4における矢印6から見たガイドユニットの一部切欠き側面図である。
ガイドユニット21は、前後2つの側板23とこれに固定される天板24とにより形成される台座25を有し、図5に示されるように側板23には横断面円形のスリーブ26が固定されている。スリーブ26には支持ピン27が取り外し自在に挿入され、支持ピン27は型鋼により形成されて対をなす横梁材12に形成された貫通孔28に挿入されるようになっており、台座25は支持ピン27を中心に回動自在となっている。支持ピン27の基端部には操作ハンドル27aが設けられ、先端部には抜け止めクリップ27bが取り外し自在に組み付けられるようになっており、支持ピン27は抜け止めクリップ27bを外すことによりトレーラ本体10の横梁材12に取り外し自在となっている。
台座25にはガイドフリッパとも言われるガイドプレート30が取り付けられており、このガイドプレート30は台座25の側面側に固定される基部30aと、この基部30aに対して傾斜したガイド部30bとを有しており、ガイドプレート30には補強板31が固定されている。コンテナがトレーラ本体10に搭載されるときには、図5および図6に示されるように、ガイドユニット21は、ガイド部30bがトレーラ本体10の側面よりも迫り出すとともにトレーラ本体10の上面よりも迫り出して使用状態となる。この使用状態のもとでは、天板24の上面がコンテナ支持面となる。
ガイドユニット21がコンテナを案内する使用位置となった状態のもとでガイドユニット21をトレーラ本体10に固定するために、側板23に形成された貫通孔32に挿入される固定ピン33が横梁材12に形成された位置決め孔34に挿入されるようになっている。固定ピン33の基端部には操作ハンドル33aが設けられ、先端部には抜け止めクリップ33bが取り外し自在に組み付けられるようになっており、固定ピン33は抜け止めクリップ33bを外すことによりトレーラ本体10の横梁材12に取り外し自在となっている。
ガイドユニット21が使用位置となったときに台座25を支持する荷重受けストッパ35が横梁材12に固定されている。これにより、コンテナが天板24に支持されてコンテナの荷重が台座25に加わると、コンテナの荷重は台座25を介して荷重受けストッパ35により支持され、支持ピン27と固定ピン33にはコンテナの荷重が加わることが防止される。
ガイドユニット21は、図5において実線で示されるように台座25が荷重受けストッパ35に支持される使用位置と、図5において二点鎖線で示されるようにガイドプレート30がトレーラ本体10内に入り込んでコンテナ支持面よりも下方となる収納位置との間において矢印Aで示すように回動自在となっている。ガイドユニット21が図5において二点鎖線で示すように収納位置となったときに、ガイドユニット21を収納位置に位置決めするために、横梁材12には位置決めストッパ36が取り付けられている。この収納位置となったときの貫通孔32に対応させて横梁材12には位置決め孔37が形成されており、ガイドユニット21を収納位置に回動させた状態のもとで、固定ピン33を位置決め孔37に挿入するとともに貫通孔32に挿入することによって固定ピン33によりガイドユニット21は位置決めストッパ36に支持された状態で固定される。
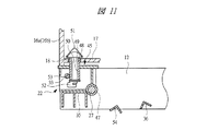
図7は図2(B)において符号7で示す締結ユニット22の拡大平面図であり、図8は図7における8−8線断面図であり、図9は図7における矢印9から見た締結ユニットの一部切欠き側面図であり、図10は締結ユニットにコンテナが嵌合された状態を示す断面図であり、図11は締結ユニットによりコンテナが締結された状態を示す断面図である。
締結ユニット22は、前後2つの側板41とこれの上下の天板42および底板43を備えるとともに後壁44が設けられた筐体45を有しており、図9に示されるようにトレーラ本体10の側面側には開口部46が形成されている。筐体45にはスリーブ47が固定されており、スリーブ47には図4〜図6に示したものと同一構造の支持ピン27が取り外し自在に挿入されている。支持ピン27は型鋼により形成されて対をなす横梁材12に形成された貫通孔28に挿入されるようになっており、筐体45は支持ピン27を中心に回動自在となっている。支持ピン27の基端部には操作ハンドル27aが設けられ、先端部には抜け止めクリップ27bが取り外し自在に組み付けられるようになっており、支持ピン27は抜け止めクリップ27bを外すことによりトレーラ本体10の横梁材12に取り外し自在となっている。
筐体45には、図7に示されるように、両端面が円弧面となったほぼ四角形の嵌合駒48が固定されており、縦方向の寸法Lは幅寸法Dよりも大きくなっている。この嵌合駒48の先端は、図10に示されるように、天板42から外部に突出し、嵌合駒48の基端部は筐体45の内部に入り込んでいる。嵌合駒48は、コンテナ16a,16bがトレーラ本体10の上に搭載されると、コンテナ16a,16bの底壁17に形成されたほぼ四角形の嵌合孔18内に入り込むようになっている。
嵌合駒48には横断面円形の貫通孔49が形成され、図10に示されるように、貫通孔49内にはロックシャフト50が回転自在に装着されている。ロックシャフト50の先端にはコーナーコーンとも言われるほぼ角錐形状の係合頭部51が設けられており、ロックシャフト50の基端部にはロックシャフト50を回動操作するための操作ハンドル52が取り付けられている。したがって、図7および図10に示されるように、係合頭部51が嵌合駒48に重なった状態のもとで、コンテナ16a,16bがトレーラ本体10の上に搭載されると、底壁17の嵌合孔18内に係合頭部51と嵌合駒48の先端部が入り込むことになる。この状態のもとで、作業者が開口部46から手を筐体45内に挿入し操作ハンドル52を操作してロックシャフト50を90度回転させると、図11に示されるように係合頭部51の両端部が底壁17と重なり、コンテナは締結ユニット22によりトレーラ本体10に締結される。この締結位置のときには、天板42の上面がコンテナ支持面となる。
締結ユニット22がコンテナを締結する締結位置となった状態のもとで締結ユニット22をトレーラ本体10に固定するために、固定ピン33が挿入される貫通孔53が筐体45の側板41に形成されており、固定ピン33は上述のように横梁材12に形成された位置決め孔34に装着されるようになっている。固定ピン33は、上述のように、基端部に操作ハンドル33aが設けられ、先端部に抜け止めクリップ33bが取り外し自在に組み付けられるようになっており、固定ピン33は抜け止めクリップ33bを外すことによりトレーラ本体10の横梁材12に取り外し自在となっている。
ガイドユニット21の台座25と締結ユニット22の筐体45は、相互にほぼ同一サイズとなっており、スリーブ26とスリーブ47の内径は相互にほぼ同一であり、貫通孔32と貫通孔53は相互に対応する位置に設けられている。したがって、それぞれの横梁材12の端部には、ガイドユニット21と締結ユニット22のいずれをも装着することができる。
締結ユニット22が締結位置となったときには、横梁材12に固定された荷重受けストッパ35により締結ユニット22は支持されることになる。これにより、コンテナが天板42に支持されてコンテナの荷重が筐体45に加わると、コンテナの荷重は筐体45を介して荷重受けストッパ35により支持され、支持ピン27と固定ピン33にはコンテナの荷重が加わることが防止される。
締結ユニット22は、図8において実線で示されるように筐体45が荷重受けストッパ35に支持される使用位置と、図8において二点鎖線で示されるように締結ユニット22がトレーラ本体10内に入り込んでコンテナ支持面よりも下方となる収納位置との間において矢印Bで示すように回動自在となっている。締結ユニット22が図8において二点鎖線で示すように収納位置となったときに、締結ユニット22を収納位置に位置決めするために、横梁材12には位置決めストッパ54が取り付けられている。この収納位置となったときの貫通孔53は、横梁材12に形成された位置決め孔37に一致し、締結ユニット22を収納位置に回動させた状態のもとで、固定ピン33を位置決め孔37に挿入するとともに貫通孔53に挿入することによって固定ピン33によりガイドユニット21は位置決めストッパ54に支持された状態で固定される。
図示するように、ガイドユニット21と締結ユニット22とが装着されたトレーラに対し、港のコンテナ埠頭においてクレーンによってコンテナを積載するときには、図1(A)および図2(A)に示されるように、ガイドユニット21を使用位置に位置決めし、締結ユニット22を収納位置に退避させる。この状態のもとでクレーンによりトレーラ本体10の荷台にコンテナを下降させながら積載すると、コンテナはガイドプレート30により案内されて荷台に接近することになり、コンテナは荷台の所定の位置に位置決めされることになる。トレーラ本体10に対するコンテナの積載作業は、コンテナ船からクレーンによりコンテナを荷降ろしするときに行われるとともに、コンテナ船にコンテナを荷積みするためにコンテナ埠頭のコンテナターミナルにおいてトレーラにコンテナを積載するときにも行われる。いずれの場合にも、コンテナをクレーンで下降移動させることによって、ガイドプレート30によりコンテナは案内されるので、短時間で迅速にコンテナをトレーラに積載することができる。
図3(A)に示されるように、ガイドユニット21が使用位置に設定されていると、左右のガイドユニット21相互間の車幅W1が2500mmを超えることになり、トレーラ本体10はそのままの状態で公道を走行することはできない。
このトレーラによりコンテナ埠頭から公道を経て目的地までコンテナを運搬する際には、コンテナをトレーラ本体から荷降ろしした後に、図1(B)および図2(B)に示されるように、ガイドユニット21を収容位置に位置決めし、締結ユニット22を締結位置に位置決めする。締結ユニット22の係合頭部51を、図7および図10に示すように、嵌合駒48に一致させた非締結位置に設定した状態のもとで、クレーンを用いてコンテナを下降移動させながら、底壁17の嵌合孔18内に嵌合駒48を挿入させる。次いで、操作ハンドル52を操作してロックシャフト50を約90度回転させると、図11に示すように、係合頭部51が底壁17の内面に重なった締結状態つまりロック状態となる。
このようにトレーラ本体10にコンテナが締結された状態のもとでは、悪路を走行してもコンテナがトレーラ本体10の荷台の上でずれることなく、トレーラにより運搬することができる。しかも、図3(B)に示されるように、ガイドユニット21が収容位置に設定されていると、車幅W2は2500mm以下に設定されているトレーラ本体10の幅となるので、トレーラ本体10はそのままの状態で公道を走行することができる。したがって、1台のトレーラ本体10をコンテナ埠頭内専用に使用するだけでなく、一般道路をも走行するトレーラとしても使用することができ、トレーラ本体の利用効率を高めることができる。
上述のように、対をなすそれぞれの横梁材12の両端部には、それぞれ支持ピン27が取り外し自在に装着される貫通孔28が形成されており、ガイドユニット21用の位置決めストッパ36と、締結ユニット22用の位置決めストッパ54と、台座25と筐体45のいずれをも支持する荷重受けストッパ35とが設けられているので、それぞれの横梁材12の両端部にはガイドユニット21の台座25と、締結ユニット22の筐体45のいずれも選択的に装着されるようになっている。台座25を回動自在に支持する支持ピン27は第1の支持ピンとなり、筐体45を回動自在に支持する支持ピン27は第2の支持ピンとなる。同様に荷重受けストッパ35は台座25を支持するときには第1の荷重受けストッパとなり、筐体45を支持するときには第2の荷重受けストッパとなる。このようにして、ガイドユニット21と締結ユニット22の位置を任意に選択したり、交換したりすることができる。
トレーラ本体10の変形例としては、トレーラ本体10にガイドユニット21と締結ユニット22の一方を装着するようにしたタイプがある。このタイプのトレーラを用いて、コンテナ埠頭内におけるコンテナ船とコンテナターミナルとの間でのコンテナの輸送を行う場合には、トレーラ本体10にガイドユニット21のみを装着することになる。このタイプのトレーラ本体10を用いると、トレーラ本体10に対するコンテナの搭載作業を迅速に行うことができる。一方、コンテナ埠頭から公道を経由して目的地にコンテナを輸送する際には、ガイドユニット21をトレーラ本体10から取り外して締結ユニット22がトレーラ本体10に装着される。締結ユニット22はガイドユニット21と相違してトレーラ本体10の側面から外方に突出することがなく、締結ユニット22が装着されたトレーラ本体10は公道を走行することができ、コンテナを締結ユニット22の係合頭部51によりロックしてトレーラによりコンテナを輸送することができる。したがって、1台のトレーラ本体10をコンテナ埠頭内専用に使用するだけでなく、一般道路をも走行するトレーラとしても使用することができ、トレーラ本体の利用効率を高めることができる。
トレーラ本体10の変形例としては、トレーラ本体10にガイドユニット21のみを装着するようにしたタイプがある。このタイプのトレーラ本体10においては、ガイドユニット21を取り外すか、ガイドユニット21を収納位置に退避させれば、トレーラ本体10の車幅は規定寸法内となっているので、締結ユニット22を使用することなくコンテナが積載されていない状態のもとで、トレーラ本体10を他の港などに向けて回送したり、修理工場等に車両を移動させたりすることができる。
本発明は前記実施の形態に限定されることなく、その要旨を逸脱しない範囲で種々変更可能である。例えば、トレーラ本体10に対をなして設けられる横梁材の数は任意に設定することができるので、トレーラ本体10に装着されるガイドユニット21や締結ユニット22の合計数は任意に設定することができる。図示するトレーラは、荷台が被牽引車であるトレーラ本体10のみに設けられたセミトレーラを示すが、牽引車と被牽引車に荷台が設けられたフルトレーラに対しても本発明を適用することができる。
本発明の一実施の形態であるコンテナ積載用トレーラを示す側面図であり、(A)はトレーラがコンテナ埠頭を走行可能な状態を示し、(B)はトレーラが公道を走行可能な状態を示す。 (A)は図1(A)の平面図であり、(B)は図1(B)の平面図である。 (A)は図1(A)の背面図であり、(B)は図1(B)の背面図である。 図2(A)において符号4で示すガイドユニットの拡大平面図である。 図4における5−5線断面図である。 図4における矢印6から見たガイドユニットの一部切欠き側面図である。 図2(B)において符号7で示す締結ユニットの拡大平面図である。 図7における8−8線断面図である。 図7における矢印9から見た締結ユニットの一部切欠き側面図である。 締結ユニットにコンテナが嵌合された状態を示す断面図である。 締結ユニットによりコンテナが締結された状態を示す断面図である。
符号の説明
10 トレーラ本体
11 縦梁材
12 横梁材
16a 大型のコンテナ
16b 小型のコンテナ
17 底壁
18 嵌合孔
21 ガイドユニット
22 締結ユニット
25 台座
27 支持ピン
28 貫通孔
30 ガイドプレート
33 固定ピン
35 荷重受けストッパ
36 位置決めストッパ
45 筐体
48 嵌合駒
50 ロックシャフト
51 係合頭部
52 操作ハンドル
54 位置決めストッパ

Claims (8)

  1. 縦方向に伸びる縦梁材および当該縦梁材に対して横方向に伸びて前記縦梁材に固定される横梁材を備えコンテナが積載されるトレーラ本体と、当該トレーラ本体に設けられた走行車輪とを有するコンテナ積載用トレーラであって、
    前記横梁材の端部に装着される支持ピンに回動自在に装着される台座と、
    前記台座に取り付けられ、前記コンテナが前記トレーラ本体に搭載されるときに前記トレーラ本体の側面よりも迫り出すとともに前記トレーラ本体の上面よりも迫り出した状態で前記コンテナを案内し、前記台座とともにガイドユニットを形成するガイドプレートとを備え、
    前記ガイドユニットは前記ガイドプレートが前記コンテナを案内する使用位置と前記ガイドプレートが前記トレーラ本体内に入り込む収納位置との間で回動自在であり、
    公道走行時には前記ガイドユニットを前記収納位置に退避させることを特徴とするコンテナ積載用トレーラ。
  2. 請求項1記載のコンテナ積載用トレーラにおいて、前記ガイドユニットが使用位置となったときに前記台座を支持する荷重受けストッパを前記トレーラ本体に設け、前記コンテナの荷重を前記台座を介して前記荷重受けストッパにより支持することを特徴とするコンテナ積載用トレーラ。
  3. 請求項1または2記載のコンテナ積載用トレーラにおいて、前記支持ピンを前記トレーラ本体に着脱自在に装着し、前記ガイドユニットを前記トレーラ本体から取り外し得ることを特徴とするコンテナ積載用トレーラ。
  4. 請求項1〜3のいずれか1項に記載のコンテナ積載用トレーラにおいて、前記ガイドユニットを前記横梁材の両端部に対をなして設けるとともに前記トレーラ本体に前記ガイドユニットを複数対設けることを特徴とするコンテナ積載用トレーラ。
  5. 縦方向に伸びる縦梁材および当該縦梁材に対して横方向に伸びて前記縦梁材に固定される横梁材を備えコンテナが積載されるトレーラ本体と、当該トレーラ本体に設けられた走行車輪とを有するコンテナ積載用トレーラであって、
    前記横梁材の端部に装着される第1の支持ピンに回動自在に装着される台座、および前記台座に取り付けられ前記コンテナが前記トレーラ本体に搭載されるときに前記トレーラ本体の側面よりも迫り出すとともに前記トレーラ本体の上面よりも迫り出した状態で前記コンテナを案内するガイドプレートを備え、前記ガイドプレートが前記コンテナを案内する使用位置と前記ガイドプレートが前記トレーラ本体内に入り込む収納位置との間で回動自在のガイドユニットと、
    前記横梁材の端部に装着される第2の支持ピンに回動自在に装着される筐体、当該筐体に固定され前記コンテナの底面に形成された嵌合孔に嵌合する嵌合駒、および当該嵌合駒に回転自在に装着され前記コンテナを締結する締結頭部が設けられたロックシャフトを備え、前記嵌合駒を前記コンテナに嵌合させて前記コンテナを締結する締結位置と前記トレーラ本体内に入り込む収納位置との間で回動自在の締結ユニットとを有し、
    前記コンテナを積載した公道走行時には、前記ガイドユニットを前記収納位置に退避させる一方、前記締結位置の前記締結ユニットにより前記コンテナを締結することを特徴とするコンテナ積載用トレーラ。
  6. 請求項5記載のコンテナ積載用トレーラにおいて、前記ガイドユニットが使用位置となったときに前記台座を支持する第1の荷重受けストッパと、前記締結ユニットが前記締結位置となったときに前記筐体を支持する第2の荷重受けストッパとを前記トレーラ本体に設け、前記コンテナの荷重を前記台座を介して前記第1の荷重受けストッパにより支持し、前記コンテナの荷重を前記筐体を介して前記第2の荷重受けストッパにより支持することを特徴とするコンテナ積載用トレーラ。
  7. 請求項5または6記載のコンテナ積載用トレーラにおいて、前記第1の支持ピンと前記第2の支持ピンを前記トレーラ本体に着脱自在に装着し、前記ガイドユニットと前記締結ユニットとをそれぞれ前記トレーラ本体から取り外し得るとともに、前記ガイドユニットと前記締結ユニットの位置を交換し得ることを特徴とするコンテナ積載用トレーラ。
  8. 請求項5〜7のいずれか1項に記載のコンテナ積載用トレーラにおいて、前記ガイドユニットを前記横梁材の両端部に対をなして設けるとともに前記トレーラ本体に前記ガイドユニットを複数対設け、前記締結ユニットを前記横梁材の両端部に対をなして設けるとともに前記トレーラ本体に前記締結ユニットを複数対設けることを特徴とするコンテナ積載用トレーラ。
JP2008194902A 2008-07-29 2008-07-29 コンテナ積載用トレーラ Active JP5184243B2 (ja)

Priority Applications (1)

Application Number Priority Date Filing Date Title
JP2008194902A JP5184243B2 (ja) 2008-07-29 2008-07-29 コンテナ積載用トレーラ

Applications Claiming Priority (1)

Application Number Priority Date Filing Date Title
JP2008194902A JP5184243B2 (ja) 2008-07-29 2008-07-29 コンテナ積載用トレーラ

Publications (2)

Publication Number Publication Date
JP2010030447A true JP2010030447A (ja) 2010-02-12
JP5184243B2 JP5184243B2 (ja) 2013-04-17

Family

ID=41735477

Family Applications (1)

Application Number Title Priority Date Filing Date
JP2008194902A Active JP5184243B2 (ja) 2008-07-29 2008-07-29 コンテナ積載用トレーラ

Country Status (1)

Country Link
JP (1) JP5184243B2 (ja)

Cited By (6)

* Cited by examiner, † Cited by third party
Publication number Priority date Publication date Assignee Title
JP2010536642A (ja) * 2007-08-23 2010-12-02 ゴットヴァルト ポート テクノロジー ゲーエムベーハー 運搬車両の基台上にコンテナを固定する装置
JP2012176743A (ja) * 2012-01-20 2012-09-13 Hanamidai Jidosha:Kk コンテナ積載用セミトレーラ
JP2013032078A (ja) * 2011-08-01 2013-02-14 Nippon Fruehauf Co Ltd セミトレーラの車体前部構造
JP2013032079A (ja) * 2011-08-01 2013-02-14 Nippon Fruehauf Co Ltd セミトレーラの車体前部構造
JP2017088064A (ja) * 2015-11-13 2017-05-25 東邦車輛株式会社 セミトレーラ
JP2025006586A (ja) * 2023-06-29 2025-01-17 新明和工業株式会社 トレーラ

Citations (4)

* Cited by examiner, † Cited by third party
Publication number Priority date Publication date Assignee Title
JPS626296U (ja) * 1985-06-28 1987-01-14
JPS63137041U (ja) * 1987-02-27 1988-09-08
JPH0343904Y2 (ja) * 1986-10-11 1991-09-13
JPH1134729A (ja) * 1997-07-17 1999-02-09 Nkk Corp コンテナ搬送台車およびその制御方法

Patent Citations (4)

* Cited by examiner, † Cited by third party
Publication number Priority date Publication date Assignee Title
JPS626296U (ja) * 1985-06-28 1987-01-14
JPH0343904Y2 (ja) * 1986-10-11 1991-09-13
JPS63137041U (ja) * 1987-02-27 1988-09-08
JPH1134729A (ja) * 1997-07-17 1999-02-09 Nkk Corp コンテナ搬送台車およびその制御方法

Cited By (7)

* Cited by examiner, † Cited by third party
Publication number Priority date Publication date Assignee Title
JP2010536642A (ja) * 2007-08-23 2010-12-02 ゴットヴァルト ポート テクノロジー ゲーエムベーハー 運搬車両の基台上にコンテナを固定する装置
JP2013032078A (ja) * 2011-08-01 2013-02-14 Nippon Fruehauf Co Ltd セミトレーラの車体前部構造
JP2013032079A (ja) * 2011-08-01 2013-02-14 Nippon Fruehauf Co Ltd セミトレーラの車体前部構造
JP2012176743A (ja) * 2012-01-20 2012-09-13 Hanamidai Jidosha:Kk コンテナ積載用セミトレーラ
JP2017088064A (ja) * 2015-11-13 2017-05-25 東邦車輛株式会社 セミトレーラ
JP2025006586A (ja) * 2023-06-29 2025-01-17 新明和工業株式会社 トレーラ
JP7811565B2 (ja) 2023-06-29 2026-02-05 新明和工業株式会社 トレーラおよび貨物車両

Also Published As

Publication number Publication date
JP5184243B2 (ja) 2013-04-17

Similar Documents

Publication Publication Date Title
JP5184243B2 (ja) コンテナ積載用トレーラ
US4786222A (en) Folding automobile storage deck assembly
JP4919924B2 (ja) 反転式のコンテナ締結装置
JP4658537B2 (ja) 車輌積付け方法
JP5085989B2 (ja) コンテナ積載用セミトレーラ
KR100476029B1 (ko) 수평으로 실린 화물 유닛을 선박에 체결하기 위한 방법 및장치
JP2007083970A (ja) 二輪車固定装置を備えたコンテナ荷役車両および荷箱における二輪車固定装置
JP4990090B2 (ja) コンテナ積載用セミトレーラ
WO2024053604A1 (ja) トレーラー固定装置及びトレーラー固縛方法
JP4919930B2 (ja) 傾斜荷台付き車両
KR200460354Y1 (ko) 길이가 가변되는 틸팅 트레일러
JPS5921067Y2 (ja) 車載運搬車
JPS64242B2 (ja)
JP6591871B2 (ja) セミトレーラ
JP7417315B1 (ja) 貨物自動車の荷台機構
US2649211A (en) Horizontal boom swivel device for locomotive cranes
JP6575245B2 (ja) 軌陸作業車
CN223200169U (zh) 一种牵引式四轮沙地拖车
JPH027100Y2 (ja)
KR200347906Y1 (ko) 코일 운반용 트레일러
JP5559071B2 (ja) コンテナ積載用セミトレーラ
JP6666784B2 (ja) ユニット式軌道運搬車
JP3018244B2 (ja) 関節連結荷台付き車両キャリア
JP2005178619A (ja) コンテナ積載用セミトレーラおよびそのセミトレーラへのコンテナの積載方法
JPH06316268A (ja) 小型艇用船台

Legal Events

Date Code Title Description
A621 Written request for application examination

Free format text: JAPANESE INTERMEDIATE CODE: A621

Effective date: 20101025

A977 Report on retrieval

Free format text: JAPANESE INTERMEDIATE CODE: A971007

Effective date: 20120524

A131 Notification of reasons for refusal

Free format text: JAPANESE INTERMEDIATE CODE: A131

Effective date: 20120529

A521 Request for written amendment filed

Free format text: JAPANESE INTERMEDIATE CODE: A523

Effective date: 20120719

TRDD Decision of grant or rejection written
A01 Written decision to grant a patent or to grant a registration (utility model)

Free format text: JAPANESE INTERMEDIATE CODE: A01

Effective date: 20130108

A61 First payment of annual fees (during grant procedure)

Free format text: JAPANESE INTERMEDIATE CODE: A61

Effective date: 20130116

R150 Certificate of patent or registration of utility model

Free format text: JAPANESE INTERMEDIATE CODE: R150

Ref document number: 5184243

Country of ref document: JP

Free format text: JAPANESE INTERMEDIATE CODE: R150

FPAY Renewal fee payment (event date is renewal date of database)

Free format text: PAYMENT UNTIL: 20160125

Year of fee payment: 3

R250 Receipt of annual fees

Free format text: JAPANESE INTERMEDIATE CODE: R250

R250 Receipt of annual fees

Free format text: JAPANESE INTERMEDIATE CODE: R250

R250 Receipt of annual fees

Free format text: JAPANESE INTERMEDIATE CODE: R250

R250 Receipt of annual fees

Free format text: JAPANESE INTERMEDIATE CODE: R250

R250 Receipt of annual fees

Free format text: JAPANESE INTERMEDIATE CODE: R250

R250 Receipt of annual fees

Free format text: JAPANESE INTERMEDIATE CODE: R250

R250 Receipt of annual fees

Free format text: JAPANESE INTERMEDIATE CODE: R250

R250 Receipt of annual fees

Free format text: JAPANESE INTERMEDIATE CODE: R250

R250 Receipt of annual fees

Free format text: JAPANESE INTERMEDIATE CODE: R250

R250 Receipt of annual fees

Free format text: JAPANESE INTERMEDIATE CODE: R250

R250 Receipt of annual fees

Free format text: JAPANESE INTERMEDIATE CODE: R250