JP2010030110A - インクジェットヘッド - Google Patents

インクジェットヘッド Download PDF

Info

Publication number
JP2010030110A
JP2010030110A JP2008193659A JP2008193659A JP2010030110A JP 2010030110 A JP2010030110 A JP 2010030110A JP 2008193659 A JP2008193659 A JP 2008193659A JP 2008193659 A JP2008193659 A JP 2008193659A JP 2010030110 A JP2010030110 A JP 2010030110A
Authority
JP
Japan
Prior art keywords
ink
region
adhesive
contact surface
head chip
Prior art date
Legal status (The legal status is an assumption and is not a legal conclusion. Google has not performed a legal analysis and makes no representation as to the accuracy of the status listed.)
Granted
Application number
JP2008193659A
Other languages
English (en)
Other versions
JP5298685B2 (ja
Inventor
Hideo Watanabe
英生 渡辺
Current Assignee (The listed assignees may be inaccurate. Google has not performed a legal analysis and makes no representation or warranty as to the accuracy of the list.)
Konica Minolta IJ Technologies Inc
Original Assignee
Konica Minolta IJ Technologies Inc
Priority date (The priority date is an assumption and is not a legal conclusion. Google has not performed a legal analysis and makes no representation as to the accuracy of the date listed.)
Filing date
Publication date
Application filed by Konica Minolta IJ Technologies Inc filed Critical Konica Minolta IJ Technologies Inc
Priority to JP2008193659A priority Critical patent/JP5298685B2/ja
Publication of JP2010030110A publication Critical patent/JP2010030110A/ja
Application granted granted Critical
Publication of JP5298685B2 publication Critical patent/JP5298685B2/ja
Active legal-status Critical Current
Anticipated expiration legal-status Critical

Links

Images

Classifications

    • BPERFORMING OPERATIONS; TRANSPORTING
    • B41PRINTING; LINING MACHINES; TYPEWRITERS; STAMPS
    • B41JTYPEWRITERS; SELECTIVE PRINTING MECHANISMS, i.e. MECHANISMS PRINTING OTHERWISE THAN FROM A FORME; CORRECTION OF TYPOGRAPHICAL ERRORS
    • B41J2202/00Embodiments of or processes related to ink-jet or thermal heads
    • B41J2202/01Embodiments of or processes related to ink-jet heads
    • B41J2202/10Finger type piezoelectric elements

Landscapes

  • Particle Formation And Scattering Control In Inkjet Printers (AREA)

Abstract

【課題】ヘッドチップと配線基板との間の接着剤層がインクと接触した場合に生じる剥離や電気的接続状態の喪失を防止し、長期に亘って接着状態及び電気的接続状態を維持する。
【解決手段】ハーモニカ型のヘッドチップ1と、駆動電極13の各々に対応する配線電極32が形成された配線基板3とが接着剤によって接着され、駆動電極13と配線電極32とが電気的に接続されたインクジェットヘッドであって、ヘッドチップ1と配線基板3との間の接着剤によって形成される接着領域が、接着剤が存在しない遮断領域A3を間に挟んで、ヘッドチップ1に供給されるインクとの接触面を含む領域A1と該インクとの接触面を含まない領域A2との少なくとも2つの領域に分かれており、且つ、駆動電極13と配線電極32との電気的接続部位は、遮断領域A3及びインクとの接触面を含む領域A1内には位置していないことを特徴とする。
【選択図】 図1

Description

本発明はインクジェットヘッドに関し、詳しくは、ヘッドチップと配線基板との間の接着剤層がインクと接触することによって生じる剥離や電気的接続状態の喪失を防止し、長期に亘って接着状態及び電気的接続状態を維持することのできるインクジェットヘッドに関する。
従来、圧電素子からなる基板にチャネルを研削し、該チャネルを区画する駆動壁に駆動電極を形成し、この駆動電極に所定の電圧を印加することにより駆動壁をせん断変形させてチャネル内のインクをノズルから吐出させるようにしたせん断モード型のインクジェットヘッドが知られている。その中でも、インクを吐出させるアクチュエータを、圧電素子からなる駆動壁とチャネルとが交互に並設されると共に前面及び後面にそれぞれチャネルの出口と入口とが配置された所謂ハーモニカ型のヘッドチップにより構成したインクジェットヘッドは、1枚のウェハからのヘッドチップの取り数を多くでき、極めて生産性を向上させることができる等の数々の利点を有している。
このようなヘッドチップを有するインクジェットヘッドは、チャネルの形状がヘッドチップ後面の入口からヘッドチップ前面の出口に亘る長さ方向で大きさと形状がほぼ変わらないストレートタイプとなり、駆動壁に形成される駆動電極はチャネルの内部に位置することになるため、この駆動電極に対して駆動回路からの電圧を印加するためには工夫を要する。
例えば、特許文献1は、駆動電極をチャネル内からヘッドチップの後面まで引き出すように形成し、このヘッドチップの後面に、配線電極が形成された配線基板を接着剤を用いて接着している。配線基板の端部は、ヘッドチップのチャネル列方向と直交するヘッドチップ側方にはみ出すように設けられており、これをヘッドチップの後面に接着することで、駆動電極と配線基板上の配線電極の一端部とを電気的に接続させると共に、駆動回路との間を繋ぐFPC等を配線電極の他端部に接続することによって、駆動回路からの電圧をFPC等と配線電極を介して各駆動電極に印加するようにしている(以下、これをT型タイプのインクジェットヘッドという場合がある。)。
この場合、各チャネル内へのインク供給は、配線基板のヘッドチップのチャネル領域に対応する部位に全チャネルを含むことができる程度の大きさの凹部を形成したり、開口を形成して更にその背面側にインクマニホールドを接着したりすることによって共通インク室を形成し、この共通インク室内のインクを各チャネルに供給する構成としている。
また、特許文献2は、駆動電極をチャネル内からヘッドチップの上壁及び/又は下壁を貫通して上面及び/又は下面まで引き出すように形成し、配線電極が形成された配線基板を、ヘッドチップの上面及び/又は下面に接着剤を用いて接合している。配線基板は、ヘッドチップの後方に延ばすように設けることで、ヘッドチップの上面及び/又は下面において駆動電極と配線基板上の配線電極の一端部とを電気的に接続させ、駆動回路との間を繋ぐFPC等を配線電極の他端部に接続することにより、駆動回路からの電圧をFPC等と配線電極を介して各駆動電極に印加するようにしている(以下、これをサンドイッチタイプのインクジェットヘッドという場合がある。)。
この場合、各チャネル内へのインク供給は、ヘッドチップの後面と配線基板に挟まれた空間によって共通インク室を形成し、この共通インク室内のインクを各チャネルに供給する構成としている。
特開2006−82396号公報 特開2004−209796号公報
特許文献1、2のいずれのインクジェットヘッドも、ヘッドチップと配線基板との間に形成される接着剤層の端面は、各チャネルに供給されるインクの流路に面しているため、常にインクにさらされる構造となっている。
例えば図14はT型タイプのインクジェットヘッドを、説明の便宜のため駆動電極及び配線電極を省略して示した断面図である。ヘッドチップaは多数のチャネルa1を有しており、その前面にはノズルプレートbが貼着されており、チャネルa1に対応する位置にノズルb1が開口形成されている。ヘッドチップaの後面に配線基板cが接着されており、ヘッドチップaと配線基板cとの間の接着剤層dは、配線基板cに凹設された共通インク室c1に面している。従って、その接着剤層dの共通インク室c1に臨む端面d1は、共通インク室c1内のインクに常にさらされることになる。
このため、ヘッドチップと配線基板とを接着するために使用される接着剤には、耐インク性を有する接着剤が必要とされる。しかし、近年、インクジェットヘッドは、使用されるインクの幅が広がり、酸性、アルカリ性、溶剤(NMP:N−メチル−2−ピロリドン等)のように、接着剤にとって過酷な条件のインクを射出する要求が増えてきており、接着剤の選定は困難を極めている。
従来、接着剤としては接着の信頼性の高いエポキシ系接着剤が主として用いられてきたが、ヘッドチップと配線基板との間の接着剤層がインクと直に接すると、溶解、膨潤が生じて接着力が失われてしまうことにより剥離が生じたり、剥離まで至らなくても、接着剤層の膨潤によってヘッドチップと配線基板との間隔が広がり、駆動電極と配線電極との間の電気的接続状態が喪失してしまったりする問題があった。
また、ヘッドの大型化に伴い、接着剤を加熱硬化させるときの熱膨張の影響を抑えるために硬化温度を下げる要求があるが、これは接着剤の耐溶剤性を上げるのには逆行する方向である。
そこで、本発明は、ヘッドチップと配線基板との間の接着剤層がインクと接触することによって生じる剥離や電気的接続状態の喪失を防止し、長期に亘って接着状態及び電気的接続状態を維持することのできるインクジェットヘッドを提供することを課題とする。
本発明の他の課題は、以下の記載により明らかとなる。
上記課題は、以下の各発明によって解決される。
請求項1記載の発明は、圧電素子からなる駆動壁とチャネルとが交互に並設されると共に前面及び後面にそれぞれ前記チャネルの出口と入口とが配置され、前記チャネル内に駆動電極が形成されてなるヘッドチップと、前記駆動電極の各々に対応する配線電極が形成された配線基板とを有し、前記ヘッドチップと前記配線基板とが接着剤によって接着されると共に前記駆動電極と前記配線電極とが電気的に接続され、前記配線電極を介して前記駆動電極に電圧を印加することにより前記駆動壁をせん断変形させ、前記チャネル内のインクをノズルから吐出させるインクジェットヘッドであって、前記ヘッドチップと前記配線基板との間の接着剤によって形成される接着領域が、前記接着剤が存在しない遮断領域を間に挟んで、前記ヘッドチップに供給されるインクとの接触面を含む領域と該インクとの接触面を含まない領域との少なくとも2つの領域に分かれており、且つ、前記駆動電極と前記配線電極との電気的接続部位は、前記遮断領域及び前記インクとの接触面を含む領域内には位置していないことを特徴とするインクジェットヘッドである。
請求項2記載の発明は、前記遮断領域は、前記配線基板表面及び前記ヘッドチップ表面の少なくとも一方に設けられた溝によって形成されていることを特徴とする請求項1記載のインクジェットヘッドである。
請求項3記載の発明は、前記溝は、前記接着領域における前記インクとの接触面を含む領域から前記インクとの接触面を含まない領域に亘って複数条形成されていることを特徴とする請求項2記載のインクジェットヘッドである。
請求項4記載の発明は、前記溝内には、前記インクと相溶性がない液体が充填されていることを特徴とする請求項2又は3記載のインクジェットヘッドである。
請求項5記載の発明は、前記溝内は、外気と連通していることを特徴とする請求項2又は3記載のインクジェットヘッドである。
請求項6記載の発明は、前記溝内に空気を導入して流すための空気導入手段を有することを特徴とする請求項2又は3記載のインクジェットヘッドである。
請求項7記載の発明は、前記インクとの接触面を含む領域に塗布される接着剤と前記インクとの接触面を含まない領域に塗布される接着剤とは種類の異なる接着剤であり、前記インクとの接触面を含む領域に塗布される接着剤は、前記インクとの接触面を含まない領域に塗布される接着剤よりも耐インク性が高いことを特徴とする請求項1〜6のいずれかに記載のインクジェットヘッドである。
請求項8記載の発明は、前記インクとの接触面を含む領域に塗布される接着剤はフッ素系接着剤であり、前記インクとの接触面を含まない領域に塗布される接着剤はエポキシ系接着剤であることを特徴とする請求項7記載のインクジェットヘッドである。
本発明によれば、ヘッドチップと配線基板との間の接着剤層がインクと接触することによって生じる剥離や電気的接続状態の喪失を防止し、長期に亘って接着状態及び電気的接続状態を維持することのできるインクジェットヘッドを提供することができる。
以下、本発明の実施の形態について図面を用いて説明する。
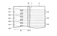
図1は本発明に係るT型タイプのインクジェットヘッドの一例を示す断面図、図2は図1のヘッドチップ部分を後面側から見た斜視図、図3は図1の(i)-(i)線に沿う断面図である。
図中、1はヘッドチップ、2はヘッドチップ1の前面に接合されたノズルプレート、21はノズルプレート2に形成されたノズル、3はヘッドチップ1の後面に接合された配線基板、4は配線基板3に接合されたFPC(フレキシブルプリント基板)、5は配線基板3の背面側に接合されたインクマニホールドであり、内部に共通インク室51を有している。
なお、本明細書においては、ヘッドチップ1からインクが吐出される側の面を「前面」といい、その反対側の面を「後面」又は「背面」という。また、ヘッドチップ1において並設されるチャネルを挟んで図示上下に位置する外側面をそれぞれ「上面」及び「下面」という。
ヘッドチップ1は、例えばPZT等の圧電素子からなる駆動壁11とチャネル12とが交互に並設されている。多数のチャネル12は、図1における紙面と垂直方向に沿って配列されてチャネル列を構成している。
チャネル12の形状は、両側壁が上面及び下面に対してほぼ垂直方向に立ち上がっており、そして互いに平行である。図1に示すように、ヘッドチップ1の前面及び後面にそれぞれチャネル12の出口122と入口121とが配設されると共に、各チャネル12は、入口121から出口122に亘る長さ方向で大きさと形状がほぼ変わらないストレートタイプである。
駆動壁11には駆動電極13が密着形成されている。駆動電極13は、チャネル12内に臨む駆動壁11の壁面からチャネル12の入口121を経てヘッドチップ1の後面において上面側に向けて引き出されている。131はヘッドチップ1の後面に引き出された駆動電極13の引き出し電極部である。ここで、この態様では、チャネル12内に設けられる電極部と引き出し電極部131とを含む全体を指して駆動電極13という。
駆動電極13は、Ni、Co、Cu、Al、Au等の金属を用いて、蒸着法、スパッタリング法、めっき法、CVD(化学気相反応法)等の真空装置を用いた方法等によって金属被膜を形成することにより得ることができる。中でもめっき法によるものが好ましく、特に無電解めっきにより形成することが好ましい。無電解めっきによれば、均一且つピンホールフリーの金属被膜によって駆動電極13を形成することができる。駆動電極13の厚みは0.5〜5μmの範囲が好ましい。
配線基板3は、非分極のPZTやAlN−BN、AlN等のセラミックス材料からなる板状の基板によって形成されている。また、低熱膨張のプラスチックやガラス等を用いることもできる。更には、ヘッドチップ1に使用されている圧電素子の基板材料と同一の基板材料を脱分極して用いると好ましい。また、熱膨張率の差に起因するヘッドチップ1の歪み等の発生を抑えるため、ヘッドチップ1との熱膨張係数の差が±1ppm以内となるように材料を選定することが更に好ましい。配線基板3を構成する材料は1枚板に限らず、薄板状の基板材料を複数枚積層して所望の厚みとなるように形成してもよい。
配線基板3は、ヘッドチップ1の幅方向(チャネル列方向)よりも大きく、且つ、ヘッドチップ1のチャネル列方向と直交する方向(図1における上下方向)よりも大きく形成されている。このため、配線基板3は、ヘッドチップ1の後面に接着されることにより、ヘッドチップ1の上下左右に大きく張り出すようになっている。
配線基板3の略中央部には、ヘッドチップ1に形成される全チャネル12の入口121をその内部に含むことができる程度の大きさの開口31が形成されている。これによって、配線基板3の背面側に接合されるインクマニホールド5内のインクを全チャネル12に対して供給可能としている。
配線基板3の表面(ヘッドチップ1との接着面)には、ヘッドチップ1の後面に形成された駆動電極13の引き出し電極部131と同数及び同ピッチで、配線電極32が形成されている。この配線電極32は、配線基板3の端部まで形成されており、この端部においてFPC4が接続されることにより、図示しない駆動回路からの信号を、FPC4の配線41及び配線基板3の配線電極32を介して、各駆動電極13に印加可能としている。
配線電極32の形成は、配線基板3の表面にスピンコート法によりポジレジストをコーティングし、その後、このポジレジストをストライプ状のマスクを用いて露光し、現像することにより、ストライプ状のポジレジストの間に、駆動電極13の引き出し電極部131と同数及び同ピッチで配線基板3の表面を露出させ、その表面に、蒸着法やスパッタリング法等によって電極形成用の金属を用いて金属被膜を形成した後、ポジレジストを除去することにより行うことができる。電極形成用の金属としては、駆動電極13と同一のものを使用することができる。
かかる配線基板3は、配線電極32が駆動電極13の引き出し電極部131とそれぞれ電気的に接続するように位置合わせされた後、接着剤を用いてヘッドチップ1の後面に接着される。ここで、ヘッドチップ1の後面と配線基板3の表面との間には、接着剤によって接着される接着領域が形成されるが、本発明においてこの接着領域は、接着剤が存在しない遮断領域A3を間に挟んで、ヘッドチップ1に供給されるインクとの接触面を含む接着剤層によって形成される領域A1と該インクとの接触面を含まない接着剤層によって形成される領域A2との少なくとも2つの領域に分かれている。
すなわち、図1に示すように、ヘッドチップ1と配線基板3との間には、塗布された接着剤によって、所定の厚みで接着剤層6が形成されている。駆動電極13の引き出し電極部131と配線電極32とが電気的に接続している領域では、図3に示すように、接着剤層6は、駆動電極13の引き出し電極部131と配線電極32との接続部位の間に形成される。この接着剤層6のうち、配線基板3の開口31の内周に沿って露出する端面は、この開口31を通って各チャネル12に対して供給されるインクと直に接触する接触面61となる。従って、このインクとの接触面61を含む領域A1は、配線基板3の開口31の周囲に存在する。
接着剤が存在しない遮断領域A3は、インクとの接触面61を含む領域A1からインクとの接触面61を含まない領域A2を離隔させるため、少なくともインクとの接触面61を含む領域A1を取り囲むように形成されている。この遮断領域A3の形成方法としては、例えば接着剤の塗布工程の際に、少なくとも配線基板3の開口61を取り囲むことができる大きさで、所定幅で接着剤を塗布しない領域を設けることによって形成することができる。
配線基板3において、配線電極32の形成領域は、配線基板3の外端部から遮断領域A3の外周までとされており、遮断領域A3及びその内側のインクとの接触面61を含む領域A1には及んでいない。従って、駆動電極13の引き出し電極部131と配線電極32との電気的接続は、全てインクとの接触面61を含まない領域A2内のみで行われ、遮断領域A3及びインクとの接触面61を含む領域A1内には位置していない。
このため、インクジェットヘッドの組立て後に、ヘッドチップ1と配線基板3との間の接着剤層6がインクと接触することにより、一部に溶解や膨潤が生じても、それによる影響を遮断領域A3によって断ち切ることができ、インクとの接触面61を含む領域A1内にとどめ、駆動電極13と配線電極32との電気的接続部位を有するインクとの接触面61を含まない領域A2まで及びにくくすることができる。これにより、ヘッドチップ1と配線基板3との接着状態は、インクとの接触面61を含まない領域A2の接着剤層6によって維持されるため、ヘッドチップ1と配線基板3との剥離が生じたり、駆動電極13と配線電極32との間の電気的接続状態が喪失してしまったりすることを防止できる。
インクとの接触面61を含む領域A1の幅(開口31から遮断領域A3までの距離)は、インクジェットヘッドを小型化するためには狭い方が好ましいが、接着力とインクに対するシール性を確保する点で、50〜1000μmとすることが好ましく、100〜500μmとすることがより好ましい。
また、同様にして、遮断領域A3の幅(インクとの接触面61を含む領域A1からインクとの接触面61を含まない領域A2までの距離)は、接着剤層6の溶解や膨潤の影響を断ち切る効果を発揮させる上で、50〜1000μmとすることが好ましく、100〜500μmとすることがより好ましい。
ヘッドチップ1と配線基板3とを接着するための接着剤としては、一般には、駆動電極13の引き出し電極部131と配線電極32との間の電気的接続を確実にし、接着力に優れ、加熱硬化後に収縮応力の発生するエポキシ系接着剤を用いることができ、例えばエポキシテクノロジー社製のエポテック353NDを好ましく使用することができる。従来では、このエポキシ系接着剤がインクと直に接触すると、インクによっては接着剤層6の溶解、膨潤を生じることにより、配線基板3の剥離や電気的接続状態の喪失等の問題があったが、本発明によれば、インクとの接触面61を含む領域A1及びインクとの接触面61を含まない領域A2の両方にこのエポキシ系接着剤を用いたとしても、接着剤層6がインクと接触することによる影響は、遮断領域A3の存在によって、インクとの接触面61を含まない領域A2まで及びにくくすることができ、ヘッドチップ1と配線基板3との接着状態及び駆動電極13と配線電極32との電気的接続状態を、インクとの接触面61を含まない領域A2の接着剤層6によって長期に亘り維持することができる。
しかし、本発明は、インクとの接触面61を含む領域A1とインクとの接触面61を含まない領域A2の各接着剤層6をそれぞれ種類の異なる接着剤を用いて形成することもできる。この場合、インクとの接触面61を含む領域A1に塗布される接着剤に、インクとの接触面61を含まない領域A2に塗布される接着剤よりも耐インク性が高いものを選択し、インクとの接触面61を含まない領域A2に塗布される接着剤に、接着力の高いものを選択することで、それぞれの領域に適した接着剤を使用することが好ましい。これにより、ヘッドチップ1と配線基板3との強固な接着状態を確保しつつ、インクとの接触面61を含む領域A1の接着剤層6が直にインクと接触しても、溶解、膨潤といった現象を発生しにくくすることができる。
具体的には、インクとの接触面61を含む領域A1に塗布される接着剤にフッ素系接着剤を用い、インクとの接触面61を含まない領域A2に塗布される接着剤に、従来同様、信頼性の高いエポキシ系接着剤を用いるようにすることができる。
フッ素系接着剤は耐薬品性に優れ、使用されるインクの種類にかかわらずに、エポキシ系接着剤に比べて高い耐インク性能を示す。このようなフッ素系接着剤としては、例えばスリーボンド社製の二液性フッ素系液状接着剤である液状ガスケット1119の他、スリーボンド1194、1152B、1153B等を用いることができる。これらフッ素系接着剤は、接着力の点ではエポキシ系接着剤にやや劣るものの、インクが浸透して膨潤しても柔軟であるため、電気的接続部位に過大な応力をかけたり、接続を破壊したりすることがない。
一方、エポキシ系接着剤の中でも、上記エポテック353NDは多くのインクに対しては十分な耐久性を持つが、一部のインク、例えばNMPを主成分とするインクでは膨潤が大きく、長期の使用では電気的接続部位が破壊される可能性がある。このような場合は、インクとの接触面61を含む領域A1にフッ素系接着剤、特に上記のスリーボンド社製の接着剤を用いる方が耐久性の高いインクジェットヘッドとすることができるために好ましい。
本発明において、遮断領域A3は、図1に示すように、溝33によって形成することも好ましい。溝33の幅は、上記した遮断領域A3の幅と同等とすることができ、深さは、本発明の効果を顕著に得る観点から、50〜1000μmとすることが好ましく、100〜500μmとすることがより好ましい。
遮断領域A3をこのような溝33によって形成することで、インクとの接触面61を含む領域A1の接着剤層6がインクと直に接触して溶解、膨潤することでインク蒸気が発生し、それが遮断領域A3側に侵入しても、溝33が緩衝領域となり、この溝33内にとどめることができ、インクとの接触面61を含まない領域A2へ与える影響を低減できる。
この溝33による効果を更に高め、仮に接着部位にクラックや膨潤等によるインクの染み出しが発生してもそれをシールできるようにして、インクとの接触面61を含まない領域A2に与える影響を低減できるようにする観点から、溝33内にインクと相溶性がない液体を充填することが好ましい。ここで、インクと相溶性がないとは、使用するインクが上記液体へ分離や凝集を起こさずに均一に溶ける重量が1%以下であると定義する。例として、3M社製のフッ素系不活性液体フロリナート(型番FC−72、FC−84、FC−3283、FC−40、FC−43)への水分溶解量は7〜11ppmである。従って、インクとして水を考えた場合、水とフロリナートは本発明における定義において相溶性がない。
インクと相溶性がない液体はインクによって変わるが、一般にはフッ素系の液体が好適である。例えば上記3M社製のフロリナートがある。これはほとんどの溶剤に溶解せず、また不活性でプラスチック、ゴム、金属等の材料を侵さず、溝33に隣接する接着剤層6、駆動電極13及び配線電極32に影響を与えることがない。また、パーフルオロポリエーテル(PFPE)あるいはその誘導体との混合物、具体的には例えばモンテカチーニ社の商品名フォンブリン(FONBLIN)等も好適に用いられる。
溝33内にこのような液体を充填するには、例えば溝33の一部をヘッドチップ1との接着領域よりも外側まで引き出すように形成しておき、ヘッドチップ1と配線基板3とを接着した後に、この溝33の引き出し部分から適宜の注入手段を用いて液体を注入すればよい。この後、引き出し部分を閉塞することによって、液体は溝33内に封入される。
図1は、遮断領域A3内に1条の溝33のみを形成した場合を示しているが、インクとの接触面61を含む領域A1からインクとの接触面62を含まない領域A2に亘る遮断領域A3内に、複数条の溝33を形成することも好ましい。溝33を複数条とすれば、遮断領域A3による効果を更に高めることができる。この場合、隣接する溝33間に形成される接着剤層は、インクとの接触面61を含む領域A1に塗布される接着剤と同一の接着剤を用いて形成することが好ましい。
溝33の形成方法は特に限定されないが、例えばダイシングソーを用いて配線基板3の表面を研削加工したり、サンドブラストによって配線基板3の表面を削り取ったりすること等によって形成することができる。
図4は、ダイシングソーによって開口31を取り囲む1条の溝33を形成した配線基板3の表面を示している。ダイシングソーは、回転するブレードと配線基板3とを相対的に移動させることによって溝33を研削していくため直線の溝しか形成できない。このため、開口31を取り囲む1条の溝33は、縦2本、横2本の合計4本の溝によって構成される。
図5は、サンドブラストによって開口31を取り囲む1条の溝33を形成した配線基板3の表面を示している。サンドブラストは、非加工部位をマスキングし、研磨剤を吹き付けてマスキングのされていない露出した部分を削り取る技術である。マスキングは感光性ドライフィルムを用いることにより、高精度で自由なマスキングパターンを容易に得ることができる。
図6は、ダイシングソーによって開口31を取り囲む2条の溝33を形成した配線基板3の表面を示している。サンドブラストの場合も同様に複数条の溝33を形成することができる。
溝33は、内部にインクと相溶性がある液体を充填しない態様とすることもでき、この場合は溝33内を外気と連通させることが好ましい。溝33内を外気と連通させることにより、インクとの接触面61を含む領域A1の接着剤層6にインクが浸透してゆき、インク蒸気が溝33内に浸入しても、溝33内を通して外部に逃がすことができ、領域A2の接着剤層6や駆動電極13と配線電極32との電気的接続部位に与える影響をより低減することができる。溝33内を外気と連通させるには、図4〜図6に示したように、配線基板3の表面に形成される溝33の少なくとも一部を、ヘッドチップ1との接着領域よりも外側に延長させることによって簡単に得ることができる。
このような効果を更に高めるため、外気と連通させた溝33内に空気を積極的に導入して流すようにするための空気導入手段を設けることも好ましい。
図7〜図9は、それぞれ空気導入手段を設けたインクジェットヘッドの例を、図5に示す(ii)-(ii)線に沿う断面で示している。なお、各図においてインクマニホールドは図示省略している。
図7は、溝33におけるヘッドチップ1と配線基板3との間の接着領域よりも外部に露出する部位の一部に、接合部71によって溝33内と連通する配管72を接続し、その配管72の端部にロート状の空気取り入れ口73を設けた態様である。この態様は、主走査方向に沿って移動しながら印画を行うシャトルタイプのインクジェットヘッドに特に好適である。すなわち、空気取り入れ口73をインクジェットヘッドが主走査方向に移動する際の進行方向に向けて開口させることで、主走査移動時に溝33内に空気を取り入れることができる。
空気取り入れ口73は、主走査移動時の往路及び復路の両方で空気を取り入れることができるように2つ設けるようにしてもよく、この場合は、進行方向と反対側となる空気取り入れ口73を、溝33内を流れた空気の排出口として機能させることができ、溝33内の空気の流れをより円滑にすることができる。
図8は、配管72の端部に、空気取り入れ用のファン74を設けた態様である。この態様では、ファン74の回転によって溝33内に強制的に空気を取り入れることができるので、位置不動に設けられるラインヘッドの場合に特に好適である。ファン74は溝33内から空気を排出させるように回転させる態様とすることもでき、また、空気取り入れ用のファンと排出用のファンの両方を設ける態様とすることで、溝33内の空気の流れをより円滑にすることもできる。
図9は、配管72の端部を上方に向け、その端部周囲にヒータ等の加熱手段75を設けた態様である。この態様では、配管72の端部を加熱手段75で暖めることによって配管72の端部側の空気に上昇流を生じさせ、この配管72と連通する溝33内の空気を配管72の端部に向けて移動させて自然に排出させることで、溝33における外気と連通する他の部位から空気を導入することができる。
このように溝33内に空気を積極的に導入するための空気導入手段7を設けることで、溝33内に侵入したインク蒸気を積極的に溝33の外部に排出させることができるので、インク蒸気が接着剤層6や電気的接続部位に与える影響を低減する効果を高めることができる。また、空気導入手段7の採用によって溝33内に空気の流れが形成されるので、駆動によって発熱するヘッドチップ1の放熱効果も得られるようになり、インクジェットヘッドの放熱対策としても好ましい。
なお、以上説明した溝33は、配線基板3の表面に形成したものであるが、溝は、ヘッドチップ1と配線基板3との間の接着剤によって形成される接着領域に形成すればよく、駆動電極13や配線電極32の形成に影響を与えない限りにおいて、ヘッドチップ1の後面側に形成することもできる。例えば、図1中のチャネル12よりも下側のヘッドチップ1の後面に溝を形成しても同様の効果を得ることができる。また、ヘッドチップ1の後面と配線基板3の表面の両方に溝を形成することもでき、この場合は、各溝の位置を合致させることで、より大きな内容積を持つ溝を形成することもできる。
図10は、図1と同じく1列のチャネル列を有するインクジェットヘッドの他の態様を示している。図1と同一符号の部位は同一構成の部位であるため、ここでの詳細な説明は省略する。
この態様では、配線基板3がヘッドチップ1の後面に形成された駆動電極13の引き出し電極部131の領域にのみ接着されるようになっている。従って、この配線基板3は、図1に示される開口31を有しておらず、インクマニホールド5が、配線基板3とヘッドチップ1の後面とに亘って接着されるようになっている。
ところで、図1、図10に示すように、配線基板3の背面側にインクマニホールド5を接着することによって共通インク室51を形成する場合、インクマニホールド5とヘッドチップ1及び/又は配線基板3との接着領域にも接着剤層6が形成され、そのうち共通インク室51に臨む面はインクとの接触面61となるため、この部位がインクと接触することによる破壊等の問題が懸念される。従って、インクマニホールド5とヘッドチップ1及び/又は配線基板3との間の接着剤によって形成される接着領域も、例えば図10に示したように、接着剤が存在しない遮断領域A6を間に挟んで、インクとの接触面61を含む領域A4と該インクとの接触面61を含まない領域A5との少なくとも2つの領域に分けるようすることが好ましい。これらインクとの接触面61を含む領域A4、インクとの接触面61を含まない領域A5及び遮断領域A6は、上述したインクとの接触面61を含む領域A1、インクとの接触面61を含まない領域A2及び遮断領域A3にそれぞれ対応し、同様の構成を採ることができる。
遮断領域A6には、上記遮断領域A3と同様に溝を形成することが好ましい。図10に示す態様では、インクマニホールド5の接着面に溝52を形成しているが、配線基板3側及びヘッドチップ1の後面側に形成したり、インクマニホールド5と配線基板3及びヘッドチップ1の後面の双方に形成したりしてもよい。溝52は、内部にインクと相溶性のない液体を充填したり、少なくとも一部を外部に連通させたり、更に、図7〜図9と同様に、溝52内に空気を導入して流すための空気導入手段7を設けたりすることも好ましい。
以上の各態様はT型タイプのインクジェットヘッドの場合であるが、本発明はサンドイッチタイプのインクジェットヘッドにも同様に適用可能であり、その一例を図11、図12に示す。図11は、サンドイッチタイプのインクジェットヘッドの断面図、図12は、その配線基板3をヘッドチップ1との接着面側から見た平面図である。図1と同一符号の部位は同一構成の部位であるため、ここでの詳細な説明は省略する。
サンドイッチタイプのインクジェットヘッドでは、ヘッドチップ1の上面と下面にそれぞれ配線基板3と下部基板8を接着することで、これら配線基板3と下部基板8によってヘッドチップ1を挟み込んでいる。9は配線基板3と下部基板8の間に接着した後部基板であり、この後部基板9とヘッドチップ1の後面との間の空間を利用して共通インク室91を形成している。
配線基板3はヘッドチップ1の上面に接着されるため、チャネル12内の駆動電極13と配線基板3の配線電極32との電気的接続を図るため、駆動電極13は、チャネル12内からヘッドチップ1の上部まで貫通する貫通電極部132によってヘッドチップ1の上面まで引き出されている。133は貫通電極部132がヘッドチップ1の上面に露出する部位に形成される接点部である。ここで、この態様では、チャネル12内に設けられる電極部と貫通電極部132及び接点部133を含む全体を指して駆動電極13という。
また、配線電極32は、配線基板3におけるヘッドチップ1との接着面と反対面に形成されているため、ヘッドチップ1の上面に露出する上記駆動電極13の接点部133との電気的接続を図るため、配線基板3を貫通する貫通電極部321によってヘッドチップ1との接着面まで引き出されている。322は貫通電極部321が配線基板3のヘッドチップ1との接着面に露出する部位に形成される接点部である。ここで、この態様では、配線基板3のヘッドチップ1との接着面と反対面に形成される電極部と貫通電極部321及び接点部322を含む全体を指して配線電極32という。
ヘッドチップ1と配線基板3との間の接着剤層6は、共通インク室91に臨む端面がインクとの接触面61となっており、ヘッドチップ1と配線基板3との間の接着剤によって形成される接着領域は、図12に示すように、接着剤が存在しない遮断領域A3を間に挟んで、インクとの接触面61を含む領域A1とインクとの接触面61を含まない領域A2との2つの領域に分かれている。各接点部133、322との電気的接続部位は、このうちのインクとの接触面61を含まない領域A2内に位置している。
この態様でも、遮断領域A3に対応する配線基板3には溝を形成することが好ましい。ここでは配線基板3に溝33を形成したが、ヘッドチップ1の上面側に形成することもでき、また、両方に形成してもよい。この溝33内には、上述したように、インクと相溶性のない液体を充填したり、溝33の一部を外気と連通させたり、更に図7〜図9と同様に溝33内に空気を導入して流すための空気導入手段7を設けるようにしてもよい。
なお、ヘッドチップ1と下部基板8との間にも、配線基板3と同様に接着剤層6が形成されるため、配線基板3と同様に各領域A1〜A3を画定し、更に溝を形成することも好ましい。ここでは下部基板8に溝81を形成しているが、ヘッドチップ1の下面側に形成してもよく、また、両方に形成してもよい。
本発明に係るインクジェットヘッドは、1列のチャネル列を有するものに限らず、複数列のチャネル列を有するものであってもよい。図13は、4列のチャネル列を有するT型タイプのインクジェットヘッドの一例を示す断面図である。図1と同一符号の部位は同一構成の部位であるため、詳細な説明は省略する。
4列のチャネル列を有するヘッドチップ1は、外側の2列のチャネル列は、駆動電極13の引き出し電極部131がヘッドチップ1の上面側及び下面側に向けて引き出されるが、内側の2列のチャネル列は、駆動電極13の引き出し電極部131が互いに内側に向けて引き出される。
配線基板3は両面に配線電極32が形成されており、ヘッドチップ1の外側の2列のチャネル列に対する駆動電極13と配線電極32との電気的接続は、図1と同様の構成となるが、内側の2列のチャネル列に対する駆動電極13と配線電極32との電気的接続は、配線基板3の背面側の配線電極32を、図11、図12と同様の貫通電極部321及び接点部322によってヘッドチップ1との接着面まで引き出すことによって行われる。
ヘッドチップ1の隣接する2列ずつの各チャネル12に対応する配線基板3の表面には、それぞれ2列のチャネル列の全チャネル12を含むことができる大きさの凹部34、34が形成されおり、この凹部34、34によって共通インク室が形成されている。このため、ヘッドチップ1と配線基板3との間の接着剤層6は、この凹部34、34内に臨む端面がインクとの接触面61となる。
これにより、ヘッドチップ1と配線基板3との間の接着剤によって形成される接着領域は、接着剤が存在しない遮断領域A3を間に挟んで、インクとの接触面61を含む領域A1とインクとの接触面61を含まない領域A2とに分かれており、駆動電極13と配線電極32又は接点部322との電気的接続部位は、いずれもこのうちのインクとの接触面61を含まない領域A2内に位置している。
ここでも、遮断領域A3には、配線基板3に溝33を形成することが好ましく、この溝33内にはインクと相溶性のない液体を充填したり、溝33の一部を外気と連通させたり、更に図7〜図9と同様に溝33内に空気を導入して流すための空気導入手段7を設けるようにしてもよい。
T型タイプのインクジェットヘッドの一例を示す断面図 図1のヘッドチップ部分を後面側から見た斜視図 図1の(i)-(i)線に沿う断面図 ダイシングソーによって1条の溝を形成した配線基板の表面を示す図 サンドブラストによって1条の溝を形成した配線基板の表面を示す図 ダイシングソーによって2条の溝を形成した配線基板の表面を示す図 空気導入手段を設けたインクジェットヘッドの一例を示す部分断面図 空気導入手段を設けたインクジェットヘッドの他の一例を示す部分断面図 空気導入手段を設けたインクジェットヘッドの更に他の一例を示す部分断面図 1列のチャネル列を有するインクジェットヘッドの他の態様を示す断面図 サンドイッチタイプのインクジェットヘッドの一例を示す断面図 図11に示す配線基板をヘッドチップとの接着面側から見た平面図 4列のチャネル列を有するT型タイプのインクジェットヘッドの一例を示す断面図 従来のT型タイプのインクジェットヘッドを示す断面図
符号の説明
1:ヘッドチップ
11:駆動壁
12:チャネル
121:チャネルの入口
122:チャネルの出口
13:駆動電極
131:引き出し電極部
132:貫通電極部
133:接点部
2:ノズルプレート
21:ノズル
3:配線基板
31:開口
32:配線電極
321:貫通電極部
322:接点部
33:溝
4:FPC
41:配線
5:インクマニホールド
51:共通インク室
52:溝
6:接着剤層
61:インクとの接触面
7:空気導入手段
71:接合部
72:配管
73:空気取り入れ口
74:ファン
75:加熱手段
8:下部基板
81:溝
9:後部基板
A1、A4:インクとの接触面を含む領域
A2、A5:インクとの接触面を含まない領域
A3、A6:遮断領域

Claims (8)

  1. 圧電素子からなる駆動壁とチャネルとが交互に並設されると共に前面及び後面にそれぞれ前記チャネルの出口と入口とが配置され、前記チャネル内に駆動電極が形成されてなるヘッドチップと、前記駆動電極の各々に対応する配線電極が形成された配線基板とを有し、前記ヘッドチップと前記配線基板とが接着剤によって接着されると共に前記駆動電極と前記配線電極とが電気的に接続され、前記配線電極を介して前記駆動電極に電圧を印加することにより前記駆動壁をせん断変形させ、前記チャネル内のインクをノズルから吐出させるインクジェットヘッドであって、
    前記ヘッドチップと前記配線基板との間の接着剤によって形成される接着領域が、前記接着剤が存在しない遮断領域を間に挟んで、前記ヘッドチップに供給されるインクとの接触面を含む領域と該インクとの接触面を含まない領域との少なくとも2つの領域に分かれており、且つ、前記駆動電極と前記配線電極との電気的接続部位は、前記遮断領域及び前記インクとの接触面を含む領域内には位置していないことを特徴とするインクジェットヘッド。
  2. 前記遮断領域は、前記配線基板表面及び前記ヘッドチップ表面の少なくとも一方に設けられた溝によって形成されていることを特徴とする請求項1記載のインクジェットヘッド。
  3. 前記溝は、前記接着領域における前記インクとの接触面を含む領域から前記インクとの接触面を含まない領域に亘って複数条形成されていることを特徴とする請求項2記載のインクジェットヘッド。
  4. 前記溝内には、前記インクと相溶性がない液体が充填されていることを特徴とする請求項2又は3記載のインクジェットヘッド。
  5. 前記溝内は、外気と連通していることを特徴とする請求項2又は3記載のインクジェットヘッド。
  6. 前記溝内に空気を導入して流すための空気導入手段を有することを特徴とする請求項2又は3記載のインクジェットヘッド。
  7. 前記インクとの接触面を含む領域に塗布される接着剤と前記インクとの接触面を含まない領域に塗布される接着剤とは種類の異なる接着剤であり、前記インクとの接触面を含む領域に塗布される接着剤は、前記インクとの接触面を含まない領域に塗布される接着剤よりも耐インク性が高いことを特徴とする請求項1〜6のいずれかに記載のインクジェットヘッド。
  8. 前記インクとの接触面を含む領域に塗布される接着剤はフッ素系接着剤であり、前記インクとの接触面を含まない領域に塗布される接着剤はエポキシ系接着剤であることを特徴とする請求項7記載のインクジェットヘッド。
JP2008193659A 2008-07-28 2008-07-28 インクジェットヘッド Active JP5298685B2 (ja)

Priority Applications (1)

Application Number Priority Date Filing Date Title
JP2008193659A JP5298685B2 (ja) 2008-07-28 2008-07-28 インクジェットヘッド

Applications Claiming Priority (1)

Application Number Priority Date Filing Date Title
JP2008193659A JP5298685B2 (ja) 2008-07-28 2008-07-28 インクジェットヘッド

Publications (2)

Publication Number Publication Date
JP2010030110A true JP2010030110A (ja) 2010-02-12
JP5298685B2 JP5298685B2 (ja) 2013-09-25

Family

ID=41735205

Family Applications (1)

Application Number Title Priority Date Filing Date
JP2008193659A Active JP5298685B2 (ja) 2008-07-28 2008-07-28 インクジェットヘッド

Country Status (1)

Country Link
JP (1) JP5298685B2 (ja)

Cited By (8)

* Cited by examiner, † Cited by third party
Publication number Priority date Publication date Assignee Title
JP2011183574A (ja) * 2010-03-04 2011-09-22 Konica Minolta Ij Technologies Inc 液体噴出装置
JP2013111978A (ja) * 2011-11-30 2013-06-10 Xerox Corp 界面結合印字ヘッド構造のためのマルチフィルム接着剤の設計
JP2013202943A (ja) * 2012-03-28 2013-10-07 Toshiba Tec Corp インクジェットヘッドおよびその製造方法
US10029483B2 (en) 2012-04-25 2018-07-24 Seiko Epson Corporation Ink jet recording method, ultraviolet-ray curable ink, and ink jet recording apparatus
JP2019111716A (ja) * 2017-12-22 2019-07-11 東芝テック株式会社 液体吐出ヘッド及び液体吐出装置
US10569571B2 (en) 2012-03-28 2020-02-25 Seiko Epson Corporation Ink jet recording method, ultraviolet curable ink, and ink jet recording apparatus
US10583649B2 (en) 2012-04-27 2020-03-10 Seiko Epson Corporation Ink jet recording method and ink jet recording apparatus
JP2022028953A (ja) * 2017-12-22 2022-02-16 東芝テック株式会社 液体吐出ヘッド及び液体吐出装置

Citations (4)

* Cited by examiner, † Cited by third party
Publication number Priority date Publication date Assignee Title
JPH0621937U (ja) * 1992-08-20 1994-03-22 株式会社精工舎 インクジェットヘッド
JPH0852872A (ja) * 1994-08-15 1996-02-27 Citizen Watch Co Ltd インクジェットヘッドおよびその製造方法
JP2001519264A (ja) * 1997-10-10 2001-10-23 ザール テクノロジー リミテッド 小滴をデポジットする装置及びその製造方法
JP2008080741A (ja) * 2006-09-28 2008-04-10 Seiko Epson Corp 液体噴射ヘッド及び液体噴射装置

Patent Citations (4)

* Cited by examiner, † Cited by third party
Publication number Priority date Publication date Assignee Title
JPH0621937U (ja) * 1992-08-20 1994-03-22 株式会社精工舎 インクジェットヘッド
JPH0852872A (ja) * 1994-08-15 1996-02-27 Citizen Watch Co Ltd インクジェットヘッドおよびその製造方法
JP2001519264A (ja) * 1997-10-10 2001-10-23 ザール テクノロジー リミテッド 小滴をデポジットする装置及びその製造方法
JP2008080741A (ja) * 2006-09-28 2008-04-10 Seiko Epson Corp 液体噴射ヘッド及び液体噴射装置

Cited By (14)

* Cited by examiner, † Cited by third party
Publication number Priority date Publication date Assignee Title
JP2011183574A (ja) * 2010-03-04 2011-09-22 Konica Minolta Ij Technologies Inc 液体噴出装置
JP2013111978A (ja) * 2011-11-30 2013-06-10 Xerox Corp 界面結合印字ヘッド構造のためのマルチフィルム接着剤の設計
US10894430B2 (en) 2012-03-28 2021-01-19 Seiko Epson Corporation Ink jet recording method, ultraviolet curable ink, and ink jet recording apparatus
JP2013202943A (ja) * 2012-03-28 2013-10-07 Toshiba Tec Corp インクジェットヘッドおよびその製造方法
US11813843B2 (en) 2012-03-28 2023-11-14 Seiko Epson Corporation Ink jet recording method, ultraviolet curable ink, and ink jet recording apparatus
US10569571B2 (en) 2012-03-28 2020-02-25 Seiko Epson Corporation Ink jet recording method, ultraviolet curable ink, and ink jet recording apparatus
US11077677B2 (en) 2012-04-25 2021-08-03 Seiko Epson Corporation Ink jet recording method, ultraviolet-ray curable ink, and ink jet recording apparatus
US10625519B2 (en) 2012-04-25 2020-04-21 Seiko Epson Corporation Ink jet recording method, ultraviolet-ray curable ink, and ink jet recording apparatus
US10029483B2 (en) 2012-04-25 2018-07-24 Seiko Epson Corporation Ink jet recording method, ultraviolet-ray curable ink, and ink jet recording apparatus
US10583649B2 (en) 2012-04-27 2020-03-10 Seiko Epson Corporation Ink jet recording method and ink jet recording apparatus
JP2019111716A (ja) * 2017-12-22 2019-07-11 東芝テック株式会社 液体吐出ヘッド及び液体吐出装置
JP6993212B2 (ja) 2017-12-22 2022-02-15 東芝テック株式会社 液体吐出ヘッド及び液体吐出装置
JP2022028953A (ja) * 2017-12-22 2022-02-16 東芝テック株式会社 液体吐出ヘッド及び液体吐出装置
JP7189311B2 (ja) 2017-12-22 2022-12-13 東芝テック株式会社 液体吐出ヘッド及び液体吐出装置

Also Published As

Publication number Publication date
JP5298685B2 (ja) 2013-09-25

Similar Documents

Publication Publication Date Title
JP5298685B2 (ja) インクジェットヘッド
JP5056309B2 (ja) インクジェットヘッド
JP3728210B2 (ja) インクジェットヘッドおよびその製造方法、インクジェット記録装置
CN108349250A (zh) 液体喷出头、记录装置以及液体喷出头的制造方法
WO2017073668A1 (ja) 液体吐出ヘッド、および記録装置
JP2009274328A (ja) インクジェットヘッド
KR100567262B1 (ko) 잉크 인쇄 장치 및 그것의 제조 방법
US7934815B2 (en) External fluid manifold with polymer compliant wall
JP2008094036A (ja) インクジェットヘッドの製造方法及びインクジェットヘッド
US9421771B2 (en) Liquid ejection head and method of manufacturing the same
JP2013006296A (ja) インクジェットヘッド及びインクジェットヘッドの製造方法
JP5294657B2 (ja) インクジェット記録ヘッド
JP2007168185A (ja) インクジェットヘッド
JP4983582B2 (ja) インクジェットヘッド及びインクジェットヘッドの製造方法
JP7047587B2 (ja) インクジェットヘッドおよびインクジェット画像形成装置
JP4561332B2 (ja) インクジェットヘッド
JP3649285B2 (ja) プリンタヘッド
JP4905046B2 (ja) インクジェットヘッドの製造方法及びインクジェットヘッド
JP7652641B2 (ja) 液体吐出ヘッド
US8007077B2 (en) Inkjet head
JP5888341B2 (ja) インクジェットヘッド
JP7387454B2 (ja) 液体吐出ヘッド
JP2009096041A (ja) インクジェットヘッドおよびインクジェットヘッド装置
JP2026026671A (ja) 液体吐出ヘッドおよびその製造方法
JP6929029B2 (ja) 液体吐出ヘッドの製造方法、及び液体吐出ヘッド

Legal Events

Date Code Title Description
A621 Written request for application examination

Free format text: JAPANESE INTERMEDIATE CODE: A621

Effective date: 20110204

A977 Report on retrieval

Free format text: JAPANESE INTERMEDIATE CODE: A971007

Effective date: 20120801

A131 Notification of reasons for refusal

Free format text: JAPANESE INTERMEDIATE CODE: A131

Effective date: 20120807

A521 Written amendment

Free format text: JAPANESE INTERMEDIATE CODE: A523

Effective date: 20121005

A711 Notification of change in applicant

Free format text: JAPANESE INTERMEDIATE CODE: A712

Effective date: 20130417

TRDD Decision of grant or rejection written
A01 Written decision to grant a patent or to grant a registration (utility model)

Free format text: JAPANESE INTERMEDIATE CODE: A01

Effective date: 20130521

A61 First payment of annual fees (during grant procedure)

Free format text: JAPANESE INTERMEDIATE CODE: A61

Effective date: 20130603

R150 Certificate of patent or registration of utility model

Ref document number: 5298685

Country of ref document: JP

Free format text: JAPANESE INTERMEDIATE CODE: R150

Free format text: JAPANESE INTERMEDIATE CODE: R150