JP2010029474A - 遊技機の不正対策装置 - Google Patents

遊技機の不正対策装置 Download PDF

Info

Publication number
JP2010029474A
JP2010029474A JP2008195269A JP2008195269A JP2010029474A JP 2010029474 A JP2010029474 A JP 2010029474A JP 2008195269 A JP2008195269 A JP 2008195269A JP 2008195269 A JP2008195269 A JP 2008195269A JP 2010029474 A JP2010029474 A JP 2010029474A
Authority
JP
Japan
Prior art keywords
power
main board
flag
random number
jackpot
Prior art date
Legal status (The legal status is an assumption and is not a legal conclusion. Google has not performed a legal analysis and makes no representation as to the accuracy of the status listed.)
Granted
Application number
JP2008195269A
Other languages
English (en)
Other versions
JP5285346B2 (ja
Inventor
Takayuki Amano
貴之 天野
Current Assignee (The listed assignees may be inaccurate. Google has not performed a legal analysis and makes no representation or warranty as to the accuracy of the list.)
Kyoraku Sangyo Co Ltd
Original Assignee
Kyoraku Sangyo Co Ltd
Priority date (The priority date is an assumption and is not a legal conclusion. Google has not performed a legal analysis and makes no representation as to the accuracy of the date listed.)
Filing date
Publication date
Application filed by Kyoraku Sangyo Co Ltd filed Critical Kyoraku Sangyo Co Ltd
Priority to JP2008195269A priority Critical patent/JP5285346B2/ja
Publication of JP2010029474A publication Critical patent/JP2010029474A/ja
Application granted granted Critical
Publication of JP5285346B2 publication Critical patent/JP5285346B2/ja
Expired - Fee Related legal-status Critical Current
Anticipated expiration legal-status Critical

Links

Images

Landscapes

  • Pinball Game Machines (AREA)

Abstract

【課題】不正行為を報知することが可能な遊技機の不正対策装置を提供すること。
【解決手段】遊技機への最初の電源投入時に立てられる電源投入フラグであって、その後は、主基板1への電源供給が強制的に遮断されるまでオン状態に保持される電源投入フラグを主基板1に設ける。主基板1は、電源投入時に、電源投入フラグがオン状態か否かを判定し、電源投入フラグがオフ状態であると判断すると、不正を検出した旨の信号を出力する。
【選択図】図2

Description

本発明は、パチンコ遊技機等遊技機の不正対策装置に関する。
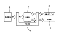
パチンコ遊技機は、図8に示すように、電源基板2と遊技制御基板である主基板1と演出制御基板など副基板5とを備え、主基板1は、遊技盤上の始動口(始動口)への遊技球の入賞つまり始動口スイッチ3のオンを契機として、所定の数値例えば0、1、2、…、315、316からなる大当たり判定用乱数であって順番に所定周期例えば4msecで更新されてゆく大当たり判定用乱数を取得し、この取得した大当たり判定用乱数が大当たり乱数値であった場合、大当たりコマンドを副基板5に対して送信し、この大当たりコマンドを受信した副基板5が図柄表示装置において図柄の変動開始、リーチ演出、大当たり図柄の表示停止などを行わせた後、主基板1が遊技盤上の大入賞口を所定回数開放する制御を行い、大入賞口への遊技球の入賞に基づき大量の遊技球を払出し可能にしている。
ところで、最近、不正基板を用いてパチンコ遊技機に対して不正行為を行い、大量の遊技球を不正に払出す事件が起きている。
この不正行為の概要を図9に基づいて順に説明する。
(1)まず、主基板1と電源基板2との間、及び主基板1と副基板5との間に、不正基板8を接続し、不正基板8により主基板1への電源供給を遮断する。主基板1では、この電源遮断によりCPUが停止し、CPUによるバックアップ処理は正常に行われない。
(2)その後、不正基板8が電源ラインを正常化する。電源ラインが正常化されると、主基板1のCPUはリセット処理を行い、主基板1のRAMは、バックアップ処理されていないためクリアされ、初期値乱数が「0」からスタートする。ここで、初期値乱数とは、大当たり判定用乱数が所定周期で順番に更新され、1サイクル分の更新が終了したとき、次の1サイクルで先頭になる大当たり判定用乱数つまり大当たり判定用乱数の初期値を決定するための乱数である。例えば、リセット後の最初の1サイクルは「0」から「316」まで順番に大当たり判定用乱数が更新されてゆき、次の1サイクルでは、初期値乱数が「1」である場合、「1」‥‥「316」、「0」という順番で大当たり判定用乱数が更新されてゆく。
(3)主基板1は、副基板5に対し、RAMがクリアされた旨のコマンドを送信する。しかし、不正基板8はこのコマンドを排除し、副基板5はこのコマンドを受信できず、このため、副基板5は、このコマンドに基づいて行われる報知つまり不正行為が発生した旨の報知を行うことはできない。
(4)不正基板8は、大当たり判定用乱数が「0」から更新されていることが分かっているから、主基板1に対し、取得する大当たり判定用乱数が大当たり乱数値となるタイミングに合わせて擬似の遊技球通過信号つまり始動口スイッチ3がオンしたときの信号に相当する偽の信号を送信する。主基板1は、この信号を受信すると大当たり判定用乱数を取得する。この取得した大当たり判定用乱数は大当たり乱数値であることから、主基板1は大当たりコマンドを副基板5に送信する。副基板5が大当たりコマンドを受信した後は上述した各種演出及び大入賞口の開放が行われ、不正行為者に対して大量の遊技球が不当に払出されるようになる。
本発明は、上述したような不正基板8を用いた不正行為にかんがみなされたものであり、不正行為者に対する遊技球の不当な払出を防止することができる遊技機の不正対策装置を提供することを目的とする。
本発明による遊技機の不正対策装置は、遊技機への最初の電源投入時に立てられる電源投入フラグであって、その後は、主基板への電源供給が強制的に遮断されるまでオン状態に保持される電源投入フラグを主基板に設け、前記主基板は、電源投入時に、前記電源投入フラグがオン状態か否かを判定し、前記電源投入フラグがオフ状態であると判断すると、不正を検出した旨の信号を出力することを特徴とする。
本発明において、不正行為者が主基板への電源供給を強制的に遮断した場合、この電源遮断により主基板の記憶データが消去され、この消去された記憶データのなかに電源投入フラグのデータが含まれているため、電源投入フラグはオフ状態になる。その後、不正行為者が主基板に対する電源供給を開始すると、主基板は、電源投入フラグがオフ状態であると判定するようになる。このため、本発明によると、電源投入フラグを設けたことにより、不正行為を的確に検出することができるようになる。
ここで、電源投入時に、前記電源投入フラグがオフ状態であると判断すると、前記電源投入フラグを立てるよう構成すると、その後、正当な行為者(ホール従業者)により電源投入が行われたときには、電源投入フラグが立っているつまりオン状態であると判定されるため、主基板は不正を検出した旨の信号を出力する処理を行うことはなく、通常の処理を開始可能になる。
以下、本発明の実施形態を図面に基づいて説明する。
図1は、本発明の一実施形態に係る不正対策装置が組み込まれたパチンコ遊技機の電気制御系統のブロック図、図2は、主基板が行う電源投入時処理のフローチャート、図3は、主基板が行う電源遮断時処理のフローチャート、図4は、主基板が行うタイマ割込処理のフローチャート、図5は、始動口SW処理のフローチャート、図6は、特別図柄処理のフローチャート、図7は、大当たり判定処理のフローチャートをそれぞれ示す。
図1において、パチンコ遊技機は、遊技状態を制御する上で中心的役割を果たす主基板(遊技制御基板ともいう。)1を備え、主基板1は、CPU11、ROM12、RAM13などにより構成される。
主基板1は、電源基板2から電源の供給を受けて処理を実行する。電源基板2から主基板1への電源供給は、パチンコ遊技機の電源スイッチがオフされてもバックアップ電源による電源供給が継続され、主基板1の記憶データは保持される。ただし、不正行為者により電源供給ラインが遮断された場合には、バックアップ電源が遮断されるため、記憶データは消去されることになる。
主基板1には、始動口スイッチ3、大入賞口ソレノイド4、副基板5、RAM消去ボタン6、ホールコンピュータ7などが接続される。
始動口スイッチ3は、遊技盤上の始動口(始動口)へ遊技球が入賞したときオンするスイッチである。始動口は1個又は複数個からなる。
大入賞口ソレノイド4は、大当たり発生時に遊技盤上の大入賞口を所定回数だけ開放駆動し、開放状態の大入賞口に対して所定個数の遊技球の入賞を可能にし、遊技者に大量の遊技球の払出しを可能にするものである。
RAM消去ボタン6は、電源投入時に正当行為者(ホール従業者)によって操作されるボタンであり、RAM消去ボタン6がオン操作されている状態で電源が投入されると、RAM13の記憶データがクリアされRAM13は初期設定される。
次に、図2〜図7に基づき、主基板1が実行する処理を、当該パチンコ遊技機の出荷時等における処理と、当該パチンコ遊技機に対して不正行為が行われていない通常時の処理と、当該パチンコ遊技機に対して不正行為が行われたときの処理とに場合分けし、順に説明する。
(1)当該パチンコ遊技機の出荷時等における処理
当該パチンコ遊技機の出荷時などにおいて、当該パチンコ遊技機に対し最初の電源投入が行われると、主基板1のCPU11は、図2に示すように、まず初期設定を行い(ステップS1)、次にRAM13へのアクセスを許可する(ステップS2)。
次に、電源投入フラグがオン状態であるか否かを判定する(ステップS3)。電源投入フラグはオフ状態に初期設定されたフラグであり、このため、最初の電源投入時には、電源投入フラグはオフ状態であるため、ステップS3の判定結果は「NO」となる。
次に、不正検出信号を出力する(ステップS4)。ここで、不正検出信号は、不正を検出した旨の信号であり、ホールコンピュータ7に送信することによってホールの管理室側において不正行為を検知し得るようになり、また、副基板にコマンドとして送信し副基板5がランプ、スピーカ、画像表示器などにランプ表示、音声表示、画面表示などを指示することによってホールの遊技機設置場所側で不正行為を検知し得るようになる。なお、ここでの不正検出信号は、当該パチンコ遊技機の出荷時など、正当行為者により最初の電源投入が行われた際に出力されるものであるため、不正検出信号に基づく上記のような報知は無視すればよいことになる。
次に、電源投入フラグを立てるつまりオン状態にし(ステップS5)、その後の処理は開始しない。
その後、正当行為者により当該パチンコ遊技機に対する電源供給を遮断する操作が行われると、主基板1のCPU11は、図3に示すように、まず、レジスタを退避する処理を行い(ステップS21)、スタックポインタを退避する処理を行い(ステップS22)、データを退避する処理を行い(ステップS23)、電源遮断フラグをオンする処理を行い(ステップS24)、当該電源遮断時の各種データの内容を保存する。
この退避された各種データには、オン状態の電源投入フラグ及びオン状態の電源遮断フラグが含まれ、オン状態の電源投入フラグ及びオン状態の電源遮断フラグは、電源基板2からバックアップ電源の供給を受け、継続的に保存される。
(2)当該パチンコ遊技機に対して不正行為が行われていない通常時の処理
当該パチンコ遊技機に対して電源が投入されるたびに、主基板1のCPU11は、図2に示すように、まず初期設定を行い(ステップS1)、次にRAM13へのアクセスを許可する(ステップS2)。
次に、電源投入フラグがオン状態であるか否かを判定する(ステップS3)。電源投入フラグは、上述したようにオン状態で保存されているため、ステップS3の判定結果は「YES」となり、次に、RAM消去ボタン6がオンされているか否かを判定する(ステップS6)。
RAM消去ボタン6がオンされていると判定した場合、RAMをクリアし(ステップS7)、RAMの初期設定を行い(ステップS8)、割込みを許可する(ステップS9)。
一方、RAM消去ボタン6がオンされていない場合、電源遮断フラグがオンされているか否かを判定する(ステップS10)。
当該パチンコ遊技機に対して不正行為が行われていない間においては、通常の電源遮断により上述した電源遮断時処理のステップS24で電源遮断フラグはオンされているため、ステップS10の判定結果は「YES」となり、スタックポインタを復帰させ(ステップS11)、レジスタを復帰させ(ステップS12)、RAMを復帰させ(ステップS13)、割込みを許可する(ステップS9)。
上述したような電源投入時処理を終了した後においては、主基板1のCPU11は、図4〜図7に示す処理を実行する。
図4に示すタイマ割込処理は、所定周期例えば4msec間隔で実行する。
タイマ割込処理は、乱数更新処理(ステップS31)と始動口SW処理(ステップS32)と特別図柄処理(ステップS33)と大入賞口処理(ステップS34)と賞球処理(ステップS35)と出力処理(ステップS36)と初期値乱数更新処理(ステップS37)とにより構成される。
1) 乱数更新処理(ステップS31)
乱数更新処理は、大当たり判定用乱数、初期値乱数、大当たり図柄判定用乱数など所定の乱数を更新することを内容とする。大当たり判定用乱数の更新について説明すると、大当たり判定用乱数が例えば「0」〜「316」の数値である場合、電源投入時にRAMクリア(図2図示ステップS7)が行われた場合、「0」を初期値乱数として、4msec周期で「0」、「1」、…、「315」、「316」と順に更新してゆき、「0」〜「316」の1サイクル分の更新が終了すると、この更新終了時点の初期値乱数を先頭にして次の1サイクル分の更新を開始する。ここで、上記更新終了時点の初期値乱数が例えば「5」であるとすると、「5」を先頭として、「6」、「7」、…、「315」、「316」、「0」、「1」、「2」、「3」、「4」と順に更新してゆく。一方、電源投入時にRAM復帰(図2図示ステップS13)が行われた場合、復帰したRAMデータ中の初期値乱数を先頭にして大当たり判定用乱数の更新が開始される。
2) 始動口SW(スイッチ)処理(ステップS32、図5)
始動口SW処理の内容を図5に示す。
図5において、主基板1のCPU11は、始動口スイッチ3の出力信号に基づいて始動口スイッチ3がオンしたか否か、つまり、始動口に遊技球が入賞したか否かを判定する(ステップS41)。
始動口スイッチ3がオンしていないと判定した場合は、始動口SW処理を終了する。
一方、始動口スイッチ3がオンしたと判定した場合は、始動口への入賞を契機に大当たり判定用乱数を取得することができた遊技球であって、取得した大当たり判定用乱数に応じた演出が行われていない遊技球の個数を示す保留球数Uが「4」未満であるか否かを判定する(ステップS42)。
保留球数Uが「4」である場合は、始動口SW処理を終了する。
一方、保留球数Uが「0」、「1」、「2」又は「3」である場合は、保留球数Uを「1」だけ加算し(ステップS43)、大当たり判定用乱数、大当たり図柄判定用乱数など所定の乱数を取得、格納し(ステップS44)、始動口SW処理を終了する。
3) 特別図柄処理(ステップS33、図6)
特別図柄処理の内容を図6に示す。
図6において、主基板1のCPU11は、大当たり中か否かを判定する(ステップS51)。
大当たりが発生していない遊技状態である場合、次に、特別図柄が変動表示中であるか否かを判定する(ステップS52)。ここで、特別図柄とは、遊技者が視認可能な位置に配設された特別図柄表示器に変動表示される図柄である。特別図柄は、例えば、「0」〜「9」の数字からなる大当たり図柄と、「−」からなるハズレ図柄とにより構成され、「0」〜「9」の大当たり図柄のうち、「0」、「2」、「4」、「6」、「8」が通常図柄つまり大当たり終了後の遊技状態を大当たり確率の低い通常遊技状態に設定する図柄として設定され、「1」、「3」、「5」、「7」、「9」が確変図柄つまり大当たり終了後の遊技状態を大当たり確率の高い確変遊技状態に設定する図柄として設定される。
特別図柄が変動表示中でない場合、保留球数Uが「1」以上であるか否かを判定する(ステップS53)。
保留球数Uが「0」である場合、特別図柄処理を終了する。
一方、保留球数Uが「1」、「2」、「3」又は「4」である場合、保留球数Uを「1」だけ減算し(ステップS54)、大当たり判定処理を行う(ステップS55)。
<大当たり判定処理>
大当たり判定処理の内容を図7に示す。
図7において、主基板1のCPU11は、大当たり乱数判定を行う(ステップS71)。大当たり乱数判定は、ステップS44(図5)で格納した乱数のうちから大当たり判定用乱数を読み出し、大当たり判定用乱数が大当たり乱数値であるか否かを判定することによって行う。
大当たり判定用乱数が大当たり乱数値でなくハズレ乱数値である場合、特別図柄としてハズレ図柄をセットする(ステップS72、S73)。
一方、大当たり判定用乱数が大当たり乱数値である場合、大当たり図柄乱数判定を行う(ステップS74)。大当たり図柄乱数判定は、ステップS44(図5)で格納した乱数のうちから大当たり図柄乱数を読み出し、大当たり図柄乱数が確変図柄であるか通常図柄であるかを判定することによって行う。大当たり図柄乱数が通常図柄である場合、特別図柄として通常図柄をセットし(ステップS75、S76)、大当たり図柄乱数が確変図柄である場合、特別図柄として確変図柄をセットし(ステップS75、S77)、大当たり判定処理を終了する。
主基板1は、上述した大当たり判定処理(ステップS55)を終了した後、変動パターン選択処理を行う(ステップS56)。変動パターン選択処理は、特別図柄表示器に変動表示される特別図柄の変動時間の決定を行う。
次に、副基板5に送信すべき変動開始コマンドであって、変動時間、特別図柄の種類(確変図柄、通常図柄又はハズレ図柄)、現在の遊技状態(確変遊技状態、通常遊技状態又は時短遊技状態)を示す変動開始コマンドをセットする(ステップS57)。
次に、特別図柄表示器に対して特別図柄の変動表示を開始させ(ステップS58)、変動時間の計測を開始し(ステップS59)、特別図柄処理を終了する。
一方、ステップS52において、特別図柄が変動表示中であると判定された場合、変動時間が終了するまでの間は特別図柄処理を終了し、変動時間が終了すると、副基板5に対する変動停止コマンドをセットし(ステップS61)、特別図柄表示器に対して特別図柄の変動表示を停止させ(ステップS62)、変動時間をリセットし(ステップS63)、停止中処理を行い(ステップS64)、特別図柄処理を終了する。ここで、停止中処理においては、確変遊技状態、通常遊技状態又は時短遊技状態のセット、副基板5に対する大当たり開始コマンドのセット、大当たり開始(大入賞口処理を開始させる大当たりフラグを立てる)などを行う。
4) 大入賞口処理(ステップS34)
大入賞口処理は、大当たり中に、大入賞口ソレノイド4への通電を制御して、大入賞口を所定ラウンド数だけ間欠的に開放し、大入賞口への多数の遊技球の入賞を可能にするための処理を行う。
5) 賞球処理(ステップS35)
賞球処理は、始動口、大入賞口、普通入賞口に遊技球が入賞した場合に、賞球払出装置を動作させ、所定個数の遊技球の払い出しを行うための処理を行う。
6) 出力処理(ステップS36)
出力処理は、副基板5への各種コマンド送信、大入賞口ソレノイド4への駆動制御信号出力、特別図柄表示器への変動表示制御信号出力などを行う。
7) 初期値乱数更新処理(ステップS37)
初期値乱数更新処理は、初期値乱数を繰り返し更新する処理を行う。
図4に示すタイマ割込処理は、4ms毎に発生し、ステップS31〜S36の処理に要した時間の残りの時間で初期値乱数は更新される。したがって、大当たり判定用乱数は、4ms毎に「1」ずつ更新されてゆくのに対し、初期値乱数は4ms毎に「1」ずつ更新されてゆくだけでなく、上記残り時間に対応する回数分更新されてゆくため、大当たり判定用乱数と初期値乱数とにズレが生じるようになり、取得される初期値乱数の値はランダムになる。
次に、正当行為者(ホール従業者)が電源スイッチをオフ操作したときなど通常の電源遮断が行われたとき(低下割合の小さな電圧低下時も含む。)には、主基板1のCPU11は、図3に示すように、まず、レジスタを退避する処理を行い(ステップS21)、スタックポインタを退避する処理を行い(ステップS22)、データを退避する処理を行い(ステップS23)、電源遮断フラグをオンする処理を行い(ステップS24)、当該電源遮断時の各種データの内容を保存する。
この退避された各種データには、オン状態の電源投入フラグ及びオン状態の電源遮断フラグが含まれ、オン状態の電源投入フラグ及びオン状態の電源遮断フラグは、電源基板2からバックアップ電源の供給を受け、継続的に保存される。
(3)当該パチンコ遊技機に対して不正行為が行われたときの処理
不正行為により、電源基板2から主基板1への電源供給が遮断されると、CPU11は、上記のようなバックアップ処理を行うことができず、記憶内容は消去されることになる。このため、上述したように当該パチンコ遊技機の出荷時などの最初の電源投入時に立てられ、その後、オン状態に保持され続けた電源投入フラグは、オフされることになる。
その後、不正行為者が主基板1に対する電源供給を開始すると、上述したように電源投入フラグはオフ状態になっているため、図2に示すステップS3の判定結果は「NO」となり、次に、不正検出信号を出力する(ステップS4)。上述したように、不正検出信号は、不正を検出した旨の信号であり、ホールコンピュータ7に送信することによってホールの管理室側において不正行為を検知し得るようになり、また、副基板5にコマンドとして送信し副基板5がランプ、スピーカ、画像表示器などにランプ表示、音声表示、画面表示などを指示することによってホールの遊技機設置場所側で不正行為を検知し得るようになる。
次に、電源投入フラグを立てるつまりオン状態にし(ステップS5)、その後の処理は開始しない。ここで、電源投入フラグを立てることにより、その後、正当行為者(ホール従業者)により電源投入が行われたとき、ステップS3の判定結果は「YES」となり、上述したような通常の電源投入が行われたときの処理と同様な処理を実行可能になる。
以上説明したように、本実施形態に係る遊技機の不正対策装置は、遊技機への最初の電源投入時に立てられる電源投入フラグであって、その後は、主基板1への電源供給が強制的に遮断されるまでオン状態に保持される電源投入フラグを主基板1に設け、主基板1は、電源投入時に、電源投入フラグがオン状態か否かを判定し、電源投入フラグがオフ状態であると判断すると、不正を検出した旨の信号を出力する。
本実施形態において、不正行為者が主基板1への電源供給を強制的に遮断した場合、この電源遮断により主基板1の記憶データが消去され、この消去された記憶データのなかに電源投入フラグのデータが含まれているため、電源投入フラグはオフ状態になる。その後、不正行為者が主基板1に対する電源供給を開始すると、主基板1は、電源投入フラグがオフ状態であると判定するようになる。このため、本実施形態によると、電源投入フラグを設けたことにより、不正行為を的確に検出することができるようになる。
また、電源投入時に、電源投入フラグがオフ状態であると判断すると、電源投入フラグを立てるよう構成したため、その後、正当な行為者(ホール従業者)により電源投入が行われたときには、電源投入フラグが立っているつまりオン状態であると判定されるため、主基板1は不正を検出した旨の信号を出力する処理を行うことはなく、通常の処理を開始可能になる。
本発明の一実施形態に係る不正対策装置が組み込まれたパチンコ遊技機の電気制御系統のブロック図である。 主基板が行う電源投入時処理のフローチャートである。 主基板が行う電源遮断時処理のフローチャートである。 主基板が行うタイマ割込処理のフローチャートである。 始動口SW処理のフローチャートである。 特別図柄処理のフローチャートである。 大当たり判定処理のフローチャートである。 パチンコ遊技機に対して不正行為が行われていないときの電気制御系統のブロック図である。 パチンコ遊技機に対して不正行為が行われているときの電気制御系統のブロック図である。
符号の説明
1 主基板

Claims (2)

  1. 遊技機への最初の電源投入時に立てられる電源投入フラグであって、その後は、主基板への電源供給が強制的に遮断されるまでオン状態に保持される電源投入フラグを主基板に設け、
    前記主基板は、電源投入時に、前記電源投入フラグがオン状態か否かを判定し、前記電源投入フラグがオフ状態であると判断すると、不正を検出した旨の信号を出力することを特徴とする遊技機の不正対策装置。
  2. 前記主基板は、電源投入時に、前記電源投入フラグがオフ状態であると判断すると、前記電源投入フラグを立てることを特徴とする請求項1に記載の遊技機の不正対策装置。
JP2008195269A 2008-07-29 2008-07-29 遊技機の不正対策装置 Expired - Fee Related JP5285346B2 (ja)

Priority Applications (1)

Application Number Priority Date Filing Date Title
JP2008195269A JP5285346B2 (ja) 2008-07-29 2008-07-29 遊技機の不正対策装置

Applications Claiming Priority (1)

Application Number Priority Date Filing Date Title
JP2008195269A JP5285346B2 (ja) 2008-07-29 2008-07-29 遊技機の不正対策装置

Publications (2)

Publication Number Publication Date
JP2010029474A true JP2010029474A (ja) 2010-02-12
JP5285346B2 JP5285346B2 (ja) 2013-09-11

Family

ID=41734675

Family Applications (1)

Application Number Title Priority Date Filing Date
JP2008195269A Expired - Fee Related JP5285346B2 (ja) 2008-07-29 2008-07-29 遊技機の不正対策装置

Country Status (1)

Country Link
JP (1) JP5285346B2 (ja)

Citations (2)

* Cited by examiner, † Cited by third party
Publication number Priority date Publication date Assignee Title
JP2007167149A (ja) * 2005-12-19 2007-07-05 Olympia:Kk 遊技機及び遊技機における不正行為の検知方法並びにプログラム
JP2007325816A (ja) * 2006-06-09 2007-12-20 Sanyo Product Co Ltd 遊技機

Patent Citations (2)

* Cited by examiner, † Cited by third party
Publication number Priority date Publication date Assignee Title
JP2007167149A (ja) * 2005-12-19 2007-07-05 Olympia:Kk 遊技機及び遊技機における不正行為の検知方法並びにプログラム
JP2007325816A (ja) * 2006-06-09 2007-12-20 Sanyo Product Co Ltd 遊技機

Also Published As

Publication number Publication date
JP5285346B2 (ja) 2013-09-11

Similar Documents

Publication Publication Date Title
JP7473982B2 (ja) 遊技機
JP6884407B2 (ja) 遊技機
JP7473981B2 (ja) 遊技機
JP2001259209A (ja) 遊技機
JP2001327726A (ja) 遊技機
JP6603952B2 (ja) 遊技機
JP5378086B2 (ja) 遊技機
JP5100542B2 (ja) 遊技機の不正対策装置
JP2012070859A (ja) 遊技機
JP4076979B2 (ja) 遊技機
JP6893642B2 (ja) 遊技機
JP5285346B2 (ja) 遊技機の不正対策装置
JP5124750B2 (ja) 遊技機
JP6893641B2 (ja) 遊技機
JP2009005971A (ja) 遊技機
JP2011250916A (ja) 遊技機
JP4667906B2 (ja) 遊技機
JP2010017301A (ja) 遊技機の不正対策装置
JP2012081334A (ja) 遊技機
JP6893640B2 (ja) 遊技機
JP2010099282A (ja) 遊技機
JP6884409B2 (ja) 遊技機
JP2018175774A (ja) 遊技機
JP5261659B2 (ja) 遊技機
JP2009005983A (ja) 遊技機

Legal Events

Date Code Title Description
A621 Written request for application examination

Free format text: JAPANESE INTERMEDIATE CODE: A621

Effective date: 20110221

A977 Report on retrieval

Free format text: JAPANESE INTERMEDIATE CODE: A971007

Effective date: 20121025

A131 Notification of reasons for refusal

Free format text: JAPANESE INTERMEDIATE CODE: A131

Effective date: 20121030

A521 Request for written amendment filed

Free format text: JAPANESE INTERMEDIATE CODE: A523

Effective date: 20121214

TRDD Decision of grant or rejection written
A01 Written decision to grant a patent or to grant a registration (utility model)

Free format text: JAPANESE INTERMEDIATE CODE: A01

Effective date: 20130514

A61 First payment of annual fees (during grant procedure)

Free format text: JAPANESE INTERMEDIATE CODE: A61

Effective date: 20130531

R150 Certificate of patent or registration of utility model

Ref document number: 5285346

Country of ref document: JP

Free format text: JAPANESE INTERMEDIATE CODE: R150

R250 Receipt of annual fees

Free format text: JAPANESE INTERMEDIATE CODE: R250

R250 Receipt of annual fees

Free format text: JAPANESE INTERMEDIATE CODE: R250

LAPS Cancellation because of no payment of annual fees