JP2010028039A - 印刷装置 - Google Patents

印刷装置 Download PDF

Info

Publication number
JP2010028039A
JP2010028039A JP2008191138A JP2008191138A JP2010028039A JP 2010028039 A JP2010028039 A JP 2010028039A JP 2008191138 A JP2008191138 A JP 2008191138A JP 2008191138 A JP2008191138 A JP 2008191138A JP 2010028039 A JP2010028039 A JP 2010028039A
Authority
JP
Japan
Prior art keywords
substrate sheet
roll
printing apparatus
pressure
base material
Prior art date
Legal status (The legal status is an assumption and is not a legal conclusion. Google has not performed a legal analysis and makes no representation as to the accuracy of the status listed.)
Granted
Application number
JP2008191138A
Other languages
English (en)
Other versions
JP5067666B2 (ja
Inventor
Tsutomu Uchiumi
海 勉 内
Masayuki Nagashima
島 正 幸 長
Hiroyuki Shirogane
金 弘 之 白
Current Assignee (The listed assignees may be inaccurate. Google has not performed a legal analysis and makes no representation or warranty as to the accuracy of the list.)
Dai Nippon Printing Co Ltd
Original Assignee
Dai Nippon Printing Co Ltd
Priority date (The priority date is an assumption and is not a legal conclusion. Google has not performed a legal analysis and makes no representation as to the accuracy of the date listed.)
Filing date
Publication date
Application filed by Dai Nippon Printing Co Ltd filed Critical Dai Nippon Printing Co Ltd
Priority to JP2008191138A priority Critical patent/JP5067666B2/ja
Publication of JP2010028039A publication Critical patent/JP2010028039A/ja
Application granted granted Critical
Publication of JP5067666B2 publication Critical patent/JP5067666B2/ja
Expired - Fee Related legal-status Critical Current
Anticipated expiration legal-status Critical

Links

Images

Landscapes

  • Screen Printers (AREA)
  • Printing Elements For Providing Electric Connections Between Printed Circuits (AREA)
  • Manufacturing Of Printed Wiring (AREA)

Abstract

【課題】基板シートの表面に導電性ペーストを塗工する工程の回数を減少させること。
【解決手段】印刷装置は、複数の凸部62aを有する平板状部材62と、基板シート61とを有する基材60を処理する。印刷装置は、基材60を保持する印刷定盤30と、所定のパターンからなる貫通穴27aが設けられたスクリーン版27とを有するスクリーン機構25と、スクリーン版27に載置された導電性ペースト70を貫通穴27aを介して基材60の基板シート61上に転移させるスキージ22と、を備えている。スクリーン機構25の上流側には、基板シート61に圧力を加えて、該基板シート61に平板状部材62の凸部62aに対応する凸部61aを形成する加圧体11を有する加圧機構10が配置されている。スキージ22によって転移される導電性ペースト70は、加圧機構10によって形成された基板シート61の凸部61a上に載置される。
【選択図】図1

Description

本発明は、基板シート上に複数の導電性バンプを形成するための印刷装置に関する。
従来から、銅箔等の基板シートの表面に複数の略円錐状の導電性バンプが形成された導電性バンプ付基板シートと、プリプレグ等の非導電性シート(絶縁シート)とを交互に重ね合わせることにより形成される多層プリント配線板が知られている。このような多層プリント配線板において、基板シートの表面に形成された導電性バンプが絶縁シートを貫通することによって、当該絶縁シートの両側にある基板シート同士が導電性バンプによって電気的に接続されるようになっている(例えば、特許文献1乃至3等参照)。
そして、スクリーン版の表面に圧接されるスキージと、スキージをスクリーン版の表面に接離する方向に移動させる空気圧シリンダと、スキージがスクリーン版の表面に圧接された状態でスキージとスクリーン版とを相対移動させてスキージをスクリーン版に対して摺動させる駆動モータとを備え、スキージがスクリーン版の表面上を摺動することにより、半田ペーストなどの導電性ペーストがスクリーン版の貫通穴から押し出されてプリント基板などの基材の表面に印刷が行われる技術が知られている(特許文献4参照)。
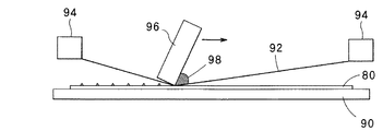
このような従来の技術を用いて、銀ペースト、半田ペーストなどの導電性ペーストを基板シートの表面に印刷する方法について、以下、図11および図12を用いて説明する。
まず、図11に示すような平板状の基板シート80を印刷定盤90上に載置し、この平板状の基板シート80の上方にわずかな距離を隔ててスクリーン版92を設置する。また、図12に示すようにスクリーン版92には、基板シート80に導電性バンプ82が形成されるべき位置に対応して複数の貫通穴92aが形成されている。そして、図11および図12に示すように、スキージ96により導電性ペースト98の塗工を行い、この際に図12に示すようにスキージ96がスクリーン版92を下方に押圧してこのスクリーン版92と基板シート80とを当接させることにより、導電性ペースト98がスクリーン版92の貫通穴92aを通過して平板状の基板シート80上に付着する。
その後、基板シート80の乾燥を行うことにより、図13に示すように基板シート80上の導電性ペースト98が硬化して略円錐状の導電性バンプ82が形成されることとなる。
ここで、基板シート80に形成される導電性バンプ82は、当該基板シート80の厚さ方向(図13の上下方向)において絶縁シート(図示せず)を貫通させるのに十分な高さが必要とされる。また、多層プリント配線板のファインピッチ化を行う場合には、略円錐状の導電性バンプ82について、同じ高さであっても底面積が小さくなるような形状、すなわちいわゆるアスペクト比の高い略円錐状とする必要がある。
特許第3167840号 特開2004−6577号公報 特開2002−305376号公報 特開平11−48446号公報
しかしながら、従来の導電性バンプ付基板シートの製造方法においては、平板状の基板シート80上に導電性バンプ82を形成するにあたり、スクリーン印刷工程1回あたりの基板シート80に付着する導電性ペースト98の量はスクリーン版92の貫通穴92aにより定められる。このため、導電性ペースト98の量が十分ではなく、1回のスクリーン印刷工程では導電性バンプ82の高さが絶縁シートを貫通させるのに十分な高さに達しない場合が多い。
より具体的には、導電性バンプ82により絶縁シートを貫通させる際には、図13(d)に示すような高さを有する略円錐状の導電性バンプ82が求められる。ここで、図13(a)−(d)は、従来の方法により基板シート80に導電性バンプ82が形成される過程を示す図であって、図13(a)(b)(c)(d)はそれぞれ、1回目、2回目、3回目および4回目のスクリーン印刷工程および乾燥工程後の導電性バンプ82の形状を示している。このため、この例では、図11に示すようなスクリーン印刷工程を4回繰り返して行うことが必要とされる。
しかしながら、スクリーン印刷工程を1回行うたびに基板シート80の乾燥工程およびCCDカメラ等によるスクリーン版92の位置合わせ工程が必要となり、十分な高さの導電性バンプ82が形成されるまでこれらの工程も何度も繰り返す必要があった。また、スクリーン印刷工程を繰り返し行うと、スクリーン印刷工程実行回数をa、1回のスクリーン印刷工程において不良が発生する割合をbとしたときに、歩留まり率は(1−b)≒1−a×bとなり、スクリーン印刷工程の実行回数が増えれば増えるほど導電性バンプ付基板シートの製造における歩留まり率が低下するという問題があった。
本発明は、このような点を考慮してなされたものであり、基板シートの表面に導電性ペーストを塗工する工程の回数を減少させることができ、ひいては、導電性バンプ付基板の製造時間を短縮することができるとともに、導電性ペーストの使用量を減少させることができ、しかも導電性バンプ付基板シートの製造における歩留まり率を高くすることができる印刷装置を提供することを目的とする。
本発明による印刷装置は、
複数の凸部を有する平板状部材と、該平板状部材上に載置された基板シートとを有する基材を保持する印刷定盤と、
所定のパターンからなる貫通穴が設けられたスクリーン版と、該スクリーン版を保持する保持部とを有するスクリーン機構と、
前記スクリーン版上で走査し、該スクリーン版に載置された導電性ペーストを前記貫通穴を介して前記基材の前記基板シート上に転移させるスキージと、
前記スクリーン機構の上流側に配置されるとともに、前記基板シートに圧力を加えて、該基板シートに前記平板状部材の凸部に対応する凸部を形成する加圧体を有する加圧機構と、を備え、
前記スキージによって転移される導電性ペーストが、前記加圧機構によって形成された前記基板シートの凸部上に載置される。
本発明による印刷装置において、
前記加圧体は、前記基材の前記基板シートに当接可能であり、回転軸を中心に回転自在なロールからなることが好ましい。
本発明による印刷装置において、
前記加圧体は、前記基材の前記基板シートに当接可能であり、回転軸を中心に回転自在な複数のロールからなり、
一のロールは、他のロールに対して、前記回転軸の延在する方向に直交する方向に配置されていることが好ましい。
本発明による印刷装置において、
前記加圧体は、前記基材の前記基板シートに当接可能であり、回転軸を中心に回転自在な複数のロールからなり、
一のロールは、他のロールに対して、前記回転軸の延在する方向に配置されていることが好ましい。
本発明による印刷装置において、
前記加圧機構は、前記加圧体と前記印刷定盤との間の距離を調整する位置調整機構を有することが好ましい。
本発明による印刷装置において、
前記加圧機構は、前記印刷定盤に保持された前記基材に加わる加圧力を調整する加圧力調整機構を有することが好ましい。
本発明による印刷装置において、
前記加圧機構は、前記加圧体の平行度を調整する平行度調整機構を有することが好ましい。
本発明による印刷装置において、
前記印刷定盤は、前記ロールが該印刷定盤に保持された基材に接触した状態で、移動することが好ましい。
本発明による印刷装置において、
前記ロールは、該ロールが前記印刷定盤に保持された基材に接触した状態で、移動して回転することが好ましい。
本発明によれば、基板シートの表面に導電性ペーストを塗工する工程の回数を減少させることができる。このため、導電性バンプ付基板の製造時間を短縮することができるとともに、導電性ペーストの使用量を減少させることができ、しかも導電性バンプ付基板シートの製造における歩留まり率を高くすることができる。
また、本発明によれば、スクリーン機構の上流側に、基板シートに圧力を加えて当該基板シートに平板状部材の凸部に対応する凸部を形成する加圧体を有する加圧機構が配置されている。このため、基板シートに平板状部材の複数の凸部に対応する凸部を形成する際に、エンボス装置やプレス装置のような専用装置を用いる必要がない。また、専用装置で基板シートに平板状部材の複数の凸部に対応する凸部を形成した後、この専用装置から基材を取り外す必要もない。
発明を実施するための形態
第1の実施の形態
以下、本発明に係る印刷装置の第1の実施の形態について、図面を参照して説明する。ここで、図1乃至図7(a)(b)は本発明の第1の実施の形態を示す図である。
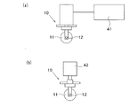
図1に示すように、印刷装置によって処理される基材60は、複数の凸部62aを有する平板状部材62と、この平板状部材62上に載置された基板シート(例えば、金属箔)61とを有している。
また、図1に示すように、印刷装置は、基材60を吸引孔(図示せず)からの吸引力によって保持する印刷定盤30と、所定のパターンからなる複数の貫通穴27aが設けられたメタルマスクなどのスクリーン版27と、このスクリーン版27を保持する保持部26とを有するスクリーン機構25と、スクリーン版27上で走査し、スクリーン版27に載置された銀ペーストや半田ペーストなどの導電性ペースト70を貫通穴27aを介して基材60の基板シート61上に転移させるスキージ22と、を備えている。なお、上述したスキージ22と、このスキージ22を案内するガイド部材21とからスキージ機構20が構成されている。
また、図1に示すように、スクリーン機構25の上流側には、基板シート61に圧力を加えて、基板シート61に平板状部材62の凸部62aに対応する凸部61aを形成するロール(加圧体)11を有する加圧機構10が配置されている。このロール11としては、シリコンゴム、ウレタンゴムなどのゴムロールや、鉄、SUSなどの金属ロールを使用することができる。なお、スキージ機構20によって転移される導電性ペースト70は、加圧機構10によって形成された基板シート61の凸部61a上に載置されるように構成されている。
このうち、ロール11は、回転軸12を中心に回転自在となっている。また、このロール11は、上下方向に移動可能となっており、下方位置に位置する際には、基材60の基板シート61に当接可能となっている(図2参照)。また、印刷定盤30の下方にはガイド部材31が配置されている。そして、この印刷定盤30は、このガイド部材31に沿って水平方向に移動可能となり、ロール11が印刷定盤30に保持された基材60に接触した状態で移動するようになっている。
次に、このような構成からなる本実施の形態の作用について述べる。
まず、印刷定盤30によって、複数の凸部62aを有する平板状部材62と、平板状部材62上に載置された基板シート61とを有する基材60が保持される。このとき、基材60の印刷定盤30に対する位置は、例えば基材60に設けられたアライメントマークをCCDカメラ(図示せず)によって確認することによって、決定される。なお、基材60は、平板状部材62が下方に位置し、基板シート61が上方に位置するようにして、印刷定盤30上に載置される(図1参照)。
次に、印刷定盤30が、ガイド部材31に沿って水平方向(図2の右側)に向かって移動される(図2参照)。なお、後述する工程は、このようにして印刷定盤30がガイド部材31に沿って移動されている間に行われる。
次に、ロール11は、下方に移動して下方位置に位置する。そして、印刷定盤30がガイド部材31に沿って水平方向(図2の矢印方向)に移動することによって、ロール11が印刷定盤30に保持された基材60に接触して当該基材60を押圧した状態で、印刷定盤30が移動することとなる(図2参照)。このとき、ロール11は回転軸12を中心として回転する(図2参照)。
そして、このロール11によって、基板シート61に圧力が加えられて、基板シート61に平板状部材62の複数の凸部62aに対応する凸部61aが形成される(図2および図3参照)。
このように、本実施の形態によれば、スクリーン機構25の上流側に、基板シート61に圧力を加えて、基板シート61に平板状部材62の凸部62aに対応する凸部61aを形成するロール11を有する加圧機構10が配置されているので(図2参照)、基板シート61に平板状部材62の複数の凸部62aに対応する凸部61aを形成する際に、エンボス装置やプレス装置のような専用装置を用いる必要がない。また、専用装置で基板シート61に平板状部材62の複数の凸部62aに対応する凸部61aを形成した後、この専用装置から基材60を取り外す必要もない。
上述のように、基板シート61に平板状部材62の複数の凸部62aに対応する凸部61aが形成されると、スキージ22がガイド部材21に沿ってスクリーン版27上で走査され、スクリーン版27に載置された導電性ペースト70が、貫通穴27aを介して基材60の基板シート61上に転移される(図3および図4参照)。ここで、スキージ機構20のスキージ22によって転移される導電性ペースト70は、ロール11によって形成された基板シート61の凸部61a上に載置される。このとき、ロール11は、上方に移動して上方位置に位置することとなる(図3参照)。
このように、スキージ機構20によって転移される導電性ペースト70が、ロール11によって形成された基板シート61の凸部61a上に載置されることとなるので、スキージ機構20のスキージ22によって導電性ペースト70を基板シート61上に一回転移させるだけで、導電性バンプの高さを十分なものにすることができる。
このため、基板シート62の表面に導電性ペースト70を塗工する工程の回数を減少させることができ、例えば、導電性ペースト70を塗工する工程の回数を一回にすることができる。このため、導電性バンプ付基板の製造時間を短縮することができる。また、導電性ペースト70の使用量を減少させることもできる。さらに、導電性バンプ付基板シートの製造における歩留まり率を高くすることもできる。
上述のように、導電性ペースト70が基板シート61の凸部61a上に載置されると、印刷定盤30は水平方向(図5の左側)に移動し、初期位置に戻ることとなる(図5参照)。このとき、スキージ機構20も初期位置に戻る(図5参照)。
次に、基板シート61は平板状部材62から剥離される。その後、基板シート61が乾燥され、基板シート61の各凸部61aに付着した導電性ペースト70が硬化される。この結果、基板シート61上に略円錐状の導電性バンプが形成されることとなる。なお、導電性ペースト70が紫外線硬化性の材料からなる場合には、乾燥させる代わりに紫外線を照射することによって硬化させてもよい。
上述のように、本実施の形態によれば、基板シート61に平板状部材62の複数の凸部62aに対応する凸部61aを形成する際に、エンボス装置やプレス装置のような専用装置を用いる必要がない。この結果、基板シート61に平板状部材62の複数の凸部62aに対応する凸部61aを形成し、当該基板シート61の凸部61a上に導電性ペースト70を転移させる工程までを、インラインで製造することができる(図1乃至図5参照)。
また、上述のように、専用装置で基板シート61に平板状部材62の複数の凸部62aに対応する凸部61aを形成した後、この専用装置から基材60を取り外す必要がなくなるので、連続して、当該基板シート61の凸部61a上に導電性ペースト70を転移させることができる(図1乃至図5参照)。このため、導電性バンプ付基板シートの生産効率を向上させることができる。
ところで、上記では、印刷定盤30が、ロール11が印刷定盤30に保持された基材60に接触した状態で、移動する態様を用いて説明した(図2および図3参照)。しかしながら、これに限ることなく、印刷定盤30ではなくロール11が、印刷定盤30に保持された基材60に接触した状態で、水平方向に移動するようにしてもよい(図6参照)。
また、本実施の形態において、加圧機構10は、図7(a)に示すように、ロール11と印刷定盤30との間の距離を調整するレギュレータ(位置調整機構)41を有していてもよい。加圧機構10がこのようなレギュレータ41を有することによって、ロール11と印刷定盤30との間の距離を調整することができ、ひいては、基材60に加わる圧力を調整することができる。なお、このようなレギュレータ41としては、エアシリンダ、サーボモータ、ステッピングモータなどを用いることができる。
また、本実施の形態において、加圧機構10は、図7(b)に示すように、印刷定盤30に保持された基材60に加わる加圧力を調整する加圧モータ(加圧力調整機構)42を有していてもよい。加圧機構10がこのような加圧モータ42を有することによって、基材60に加わる圧力を適宜調整することができ、例えば、加圧機構10のロール11によって基材60を押圧している際に、処理される基材60の箇所に応じて圧力を変化させることができる。このため、基板シート61に、平板状部材62の凸部62aに対応した凸部61aをより確実に形成することができる。
なお、ロール11は、その表面が平板状部材62の複数の凸部62aが嵌め込まれる凹部を有していてもよい。このような構成によって、基板シート61に、平板状部材62の凸部62aに対応した凸部61aをより確実に形成することができる。
また、上記では、加圧体としてロール11を有する加圧機構10を用いて説明したが、これに限られることなく、加圧機構10は平プレスのようなものからなってもよい。しかしながら、加圧体としてロール11を用いた方が、印刷装置の製造コストを低く抑えることができるし、また、加圧機構10が加圧モータ(加圧力調整機構)42(図7(b)参照)を有している場合などには、処理される基材60の箇所に応じて圧力を変化させることもできるので、好ましい。
第2の実施の形態
次に、図8および図9により、本発明の第2の実施の形態について説明する。図8および図9に示す第2の実施の形態は、基材60の基板シート61に当接可能であり、回転軸12を中心に回転自在な複数のロール11から加圧体が構成されているものであり、その他の構成は図1乃至図7(a)(b)に示す第1の実施の形態と略同一である。なお、図8は、本実施の形態による印刷装置の加圧機構10の一例を示す概略側方図であり、図9は、本実施の形態による印刷装置の加圧機構10の別の例を示す概略正面図である。
図8に示す態様では、一方のロール11aが、他方のロール11bに対して、回転軸12の延在する方向に直交する方向(図8の左右方向)に配置されている。このため、一方のロール11aをゴムロールとして他方のロール11bを金属ロールとしたり、一方のロール11aと他方のロール11bとを異なる種類のゴムロールとしたり、一方のロール11aと他方のロール11bとを異なるゴム硬度からなるゴムロールとしたりすることができる。この結果、処理される基材60に合わせて、基材60の基板シート61に加わる圧力を適宜調整することができる。この結果、基板シート61に、平板状部材62の凸部62aに対応した凸部61aをより確実に形成することができる。
また、図9に示す態様では、回転軸12を中心に回転自在なロール11が複数個設けられている。そして、一のロール11が、他のロール11に対して、回転軸(図示せず)の延在する方向(図9の矢印方向)に配置されている。このため、処理される基材60の箇所に合わせて、ロール11を、ゴムロールとしたり、金属ロールとしたり、ゴム硬度の高いゴムロールとしたり、ゴム硬度の低いゴムロールとしたりすることができる。この結果、基板シート61の処理される箇所に合わせて、加わる圧力を適宜調整することができる。
また、図9に示すように、各ロールはその高さ位置を調整するための高さ調整機構19に連結されている。このため、高さ調整機構19によって、処理される基材60の箇所に合わせて、ロール11の高さも調整することができる。この結果、やはり、基板シート61の処理される箇所に合わせて、加わる圧力を適宜調整することができる。
これらのことより、図9に示す態様でも、基板シート61に、平板状部材62の凸部62aに対応した凸部61aをより確実に形成することができる。
ところで、図8に示す態様と、図9に示す態様とを組み合わせてもよい。すなわち、一方のロールを、他方のロールに対して、回転軸の延在する方向に直交する方向に配置し(図8参照)、かつ、一のロールを、他のロールに対して、回転軸の延在する方向に配置してもよい(図9参照)。
このような構成によって、基板シート61に、平板状部材62の凸部62aに対応した凸部61aをさらに確実に形成することができる。
第3の実施の形態
次に、図10により、本発明の第3の実施の形態について説明する。図10に示す第3の実施の形態は、加圧機構10が、回転軸12’の軸方向に延在するロール11’と、このロール11’の平行度を調整する平行度調整機構15とを有するものであり、その他の構成は図1乃至図7(a)(b)に示す第1の実施の形態と略同一である。なお、図10は、本実施の形態による印刷装置の加圧機構を示す概略正面図である。
図10に示すように、ロール11’は回転軸12’に連結され、この回転軸12’は把持部45によって把持されている。また、この把持部45は連結棒46に固定されている。そして、この連結棒46に、エアシリンダやモータなどからなる平行度調整部16a,16bが連結されている。そして、一対の平行度調整部16a,16から、平行度調整機構15が構成されている。
ここで、平行度調整機構15によって連結棒46の上下位置を調整することによって、ロール11’の上下方向の平行度を調整することができ、ロール11’の水平状態を維持することができる。すなわち、ロール11’によって、基材60の基板シート61の押圧を何度か繰り返すとロール11’が水平な状態からずれることがあるが、本実施の形態のような平行度調整機構15を設けることによって、このような水平な状態からのずれを修正することができる。この結果、ロール11’の幅方向において均一に加圧することができる。
より具体的には、図10において、ロール11’の右側が左側よりも下方位置にずれてしまった場合には、一の平行度調整部16aによって連結棒46を下方に移動させるか、または、他の平行度調整部16bによって連結部46を上方に移動させればよい。なお、平行度を調整するために、隙間ゲージ(図示せず)や、圧力測定器(図示せず)などを用いてもよい。
ところで、上記では、第2の実施の形態および第3の実施の形態を別個に説明したが、これに限られることなく、これら第2の実施の形態および第3の実施の形態を組合せてもよい。
本発明の第1の実施の形態による印刷装置を側方から見た概略側方図。 図1に示した状態から進んだ状態にある印刷装置を示した概略側方図。 図2に示した状態から進んだ状態にある印刷装置を示した概略側方図。 図3に示した状態から進んだ状態にある印刷装置を示した概略側方図。 図4に示した状態から進んだ状態にある印刷装置を示した概略側方図。 本発明の第1の実施の形態の変形例による印刷装置を側方から見た概略側方図。 本発明の第1の実施の形態による印刷装置の加圧機構が、位置調整機構を有する態様と、加圧力調整機構を有する態様を示す概略側方図。 本発明の第2の実施の形態による印刷装置の加圧機構の一例を示す概略側方図。 本発明の第2の実施の形態による印刷装置の加圧機構の別の例を示す概略正面図。 本発明の第3の実施の形態による印刷装置の加圧機構を示す概略正面図。 基板シートに導電性バンプを形成する従来の方法を示す側面図。 図11の部分拡大側面図。 従来の方法により基板シートに導電性バンプが形成される過程を示す図。
符号の説明
10 加圧機構
11,11’ ロール(加圧体)
12,12’回転軸
15 平行度調整機構
20 スキージ機構
22 スキージ
25 スクリーン機構
26 保持部
27 スクリーン版
27a 貫通穴
30 印刷定盤
60 基材
41 位置調整機構
42 加圧力調整機構
61 基板シート
61a 凸部
62 平板状部材
62a 凸部

Claims (9)

  1. 複数の凸部を有する平板状部材と、該平板状部材上に載置された基板シートとを有する基材を保持する印刷定盤と、
    所定のパターンからなる貫通穴が設けられたスクリーン版と、該スクリーン版を保持する保持部とを有するスクリーン機構と、
    前記スクリーン版上で走査し、該スクリーン版に載置された導電性ペーストを前記貫通穴を介して前記基材の前記基板シート上に転移させるスキージと、
    前記スクリーン機構の上流側に配置されるとともに、前記基板シートに圧力を加えて、該基板シートに前記平板状部材の凸部に対応する凸部を形成する加圧体を有する加圧機構と、を備え、
    前記スキージによって転移される導電性ペーストは、前記加圧機構によって形成された前記基板シートの凸部上に載置されることを特徴とする印刷装置。
  2. 前記加圧体は、前記基材の前記基板シートに当接可能であり、回転軸を中心に回転自在なロールからなることを特徴とする請求項1に記載の印刷装置。
  3. 前記加圧体は、前記基材の前記基板シートに当接可能であり、回転軸を中心に回転自在な複数のロールからなり、
    一のロールは、他のロールに対して、前記回転軸の延在する方向に直交する方向に配置されていることを特徴とする請求項1に記載の印刷装置。
  4. 前記加圧体は、前記基材の前記基板シートに当接可能であり、回転軸を中心に回転自在な複数のロールからなり、
    一のロールは、他のロールに対して、前記回転軸の延在する方向に配置されていることを特徴とする請求項1に記載の印刷装置。
  5. 前記加圧機構は、前記加圧体と前記印刷定盤との間の距離を調整する位置調整機構を有することを特徴とする請求項1に記載の印刷装置。
  6. 前記加圧機構は、前記印刷定盤に保持された前記基材に加わる加圧力を調整する加圧力調整機構を有することを特徴とする請求項1に記載の印刷装置。
  7. 前記加圧機構は、前記加圧体の平行度を調整する平行度調整機構を有することを特徴とする請求項1に記載の印刷装置。
  8. 前記印刷定盤は、前記ロールが該印刷定盤に保持された基材に接触した状態で、移動することを特徴とする請求項2に記載の印刷装置。
  9. 前記ロールは、該ロールが前記印刷定盤に保持された基材に接触した状態で、移動して回転することを特徴とする請求項2に記載の印刷装置。
JP2008191138A 2008-07-24 2008-07-24 印刷装置 Expired - Fee Related JP5067666B2 (ja)

Priority Applications (1)

Application Number Priority Date Filing Date Title
JP2008191138A JP5067666B2 (ja) 2008-07-24 2008-07-24 印刷装置

Applications Claiming Priority (1)

Application Number Priority Date Filing Date Title
JP2008191138A JP5067666B2 (ja) 2008-07-24 2008-07-24 印刷装置

Publications (2)

Publication Number Publication Date
JP2010028039A true JP2010028039A (ja) 2010-02-04
JP5067666B2 JP5067666B2 (ja) 2012-11-07

Family

ID=41733548

Family Applications (1)

Application Number Title Priority Date Filing Date
JP2008191138A Expired - Fee Related JP5067666B2 (ja) 2008-07-24 2008-07-24 印刷装置

Country Status (1)

Country Link
JP (1) JP5067666B2 (ja)

Cited By (4)

* Cited by examiner, † Cited by third party
Publication number Priority date Publication date Assignee Title
JP2010023465A (ja) * 2008-07-24 2010-02-04 Dainippon Printing Co Ltd 印刷装置および印刷方法
JP2010052223A (ja) * 2008-08-27 2010-03-11 Dainippon Printing Co Ltd 導電性バンプ付き基板シート製造方法
EP2677550A4 (en) * 2012-02-29 2014-08-06 Npc Inc MECHANISM FOR APPLYING A PASTRY PASTE AND CELL WELDING DEVICE
WO2017038028A1 (en) * 2015-08-31 2017-03-09 Canon Kabushiki Kaisha Modeling device

Citations (7)

* Cited by examiner, † Cited by third party
Publication number Priority date Publication date Assignee Title
JPH03101485U (ja) * 1990-01-31 1991-10-23
JPH10163595A (ja) * 1996-12-03 1998-06-19 Toshiba Corp プリント配線板、これを備えた電子機器、およびプリント配線板の製造方法
JP2002111200A (ja) * 2000-09-26 2002-04-12 Ibiden Co Ltd プリント基板の製造方法
JP2003011218A (ja) * 2001-04-09 2003-01-15 Idemitsu Unitech Co Ltd マイクロエンボスシートの製造方法およびマイクロエンボスシート
JP2003086947A (ja) * 2001-09-13 2003-03-20 Kyocera Chemical Corp プリント配線基板、及び、その製造方法
JP2005285930A (ja) * 2004-03-29 2005-10-13 Victor Co Of Japan Ltd プリント配線板孔埋め装置及びそれを用いたプリント配線板の製造方法
JP2006187912A (ja) * 2005-01-05 2006-07-20 Denso Corp スクリーン印刷方法及びその装置

Patent Citations (7)

* Cited by examiner, † Cited by third party
Publication number Priority date Publication date Assignee Title
JPH03101485U (ja) * 1990-01-31 1991-10-23
JPH10163595A (ja) * 1996-12-03 1998-06-19 Toshiba Corp プリント配線板、これを備えた電子機器、およびプリント配線板の製造方法
JP2002111200A (ja) * 2000-09-26 2002-04-12 Ibiden Co Ltd プリント基板の製造方法
JP2003011218A (ja) * 2001-04-09 2003-01-15 Idemitsu Unitech Co Ltd マイクロエンボスシートの製造方法およびマイクロエンボスシート
JP2003086947A (ja) * 2001-09-13 2003-03-20 Kyocera Chemical Corp プリント配線基板、及び、その製造方法
JP2005285930A (ja) * 2004-03-29 2005-10-13 Victor Co Of Japan Ltd プリント配線板孔埋め装置及びそれを用いたプリント配線板の製造方法
JP2006187912A (ja) * 2005-01-05 2006-07-20 Denso Corp スクリーン印刷方法及びその装置

Cited By (4)

* Cited by examiner, † Cited by third party
Publication number Priority date Publication date Assignee Title
JP2010023465A (ja) * 2008-07-24 2010-02-04 Dainippon Printing Co Ltd 印刷装置および印刷方法
JP2010052223A (ja) * 2008-08-27 2010-03-11 Dainippon Printing Co Ltd 導電性バンプ付き基板シート製造方法
EP2677550A4 (en) * 2012-02-29 2014-08-06 Npc Inc MECHANISM FOR APPLYING A PASTRY PASTE AND CELL WELDING DEVICE
WO2017038028A1 (en) * 2015-08-31 2017-03-09 Canon Kabushiki Kaisha Modeling device

Also Published As

Publication number Publication date
JP5067666B2 (ja) 2012-11-07

Similar Documents

Publication Publication Date Title
JP5067666B2 (ja) 印刷装置
CN101163376B (zh) 用于支承印刷电路板基体的设备以及利用该设备形成印刷电路板的方法
JP5067667B2 (ja) 印刷方法
JP5077766B2 (ja) 印刷装置および印刷方法
JP2010129866A (ja) 導電性ボール搭載装置
JP5088630B2 (ja) 導電性バンプ付き基板シート製造方法
JP5332476B2 (ja) 導電性バンプ付き基板シート製造方法および多層プリント配線板製造方法
JP5176819B2 (ja) 多層プリント配線板の製造方法
JP2008155557A (ja) 印刷方法および印刷装置
JP2006103073A (ja) スクリーン印刷機
JP5109900B2 (ja) 導電性バンプ付き基板シート製造方法
JP5083132B2 (ja) 多層プリント配線板製造方法
JP5152663B2 (ja) 多層導電性バンプ付基板シート積層体製造方法および導電性バンプ付基板シート製造方法
JP2010067699A (ja) 導電性バンプ付き基板シート製造方法
JP5152659B2 (ja) 多層導電性バンプ付基板シート積層体製造方法および導電性バンプ付基板シート製造方法
JP5125915B2 (ja) 導電性バンプ付き基板シート製造方法
JP2013021111A (ja) 導電性バンプ付き基板シートの製造装置および製造方法
JP5262509B2 (ja) 印刷装置
JP5120713B2 (ja) 多層プリント配線板製造方法
JP5056697B2 (ja) 印刷装置
JP5152658B2 (ja) 多層導電性バンプ付基板シート積層体製造方法、導電性バンプ付基板シート製造方法、導電性バンプ付基板シート、および基板シート
JP5035668B2 (ja) 導電性バンプ付基板シート製造方法および多層プリント配線板製造方法
CN113524891B (zh) 软膜辊压机和纳米压印机
JP5034625B2 (ja) 多層プリント配線板製造方法
JP5152665B2 (ja) 印刷装置

Legal Events

Date Code Title Description
A621 Written request for application examination

Free format text: JAPANESE INTERMEDIATE CODE: A621

Effective date: 20110527

A131 Notification of reasons for refusal

Free format text: JAPANESE INTERMEDIATE CODE: A131

Effective date: 20120410

A977 Report on retrieval

Free format text: JAPANESE INTERMEDIATE CODE: A971007

Effective date: 20120412

A521 Written amendment

Free format text: JAPANESE INTERMEDIATE CODE: A523

Effective date: 20120611

TRDD Decision of grant or rejection written
A01 Written decision to grant a patent or to grant a registration (utility model)

Free format text: JAPANESE INTERMEDIATE CODE: A01

Effective date: 20120720

A01 Written decision to grant a patent or to grant a registration (utility model)

Free format text: JAPANESE INTERMEDIATE CODE: A01

A61 First payment of annual fees (during grant procedure)

Free format text: JAPANESE INTERMEDIATE CODE: A61

Effective date: 20120802

FPAY Renewal fee payment (event date is renewal date of database)

Free format text: PAYMENT UNTIL: 20150824

Year of fee payment: 3

R150 Certificate of patent or registration of utility model

Free format text: JAPANESE INTERMEDIATE CODE: R150

LAPS Cancellation because of no payment of annual fees