JP2010027897A - 表面実装方法及び装置 - Google Patents

表面実装方法及び装置 Download PDF

Info

Publication number
JP2010027897A
JP2010027897A JP2008188366A JP2008188366A JP2010027897A JP 2010027897 A JP2010027897 A JP 2010027897A JP 2008188366 A JP2008188366 A JP 2008188366A JP 2008188366 A JP2008188366 A JP 2008188366A JP 2010027897 A JP2010027897 A JP 2010027897A
Authority
JP
Japan
Prior art keywords
component
center
height
laser
electronic component
Prior art date
Legal status (The legal status is an assumption and is not a legal conclusion. Google has not performed a legal analysis and makes no representation as to the accuracy of the status listed.)
Granted
Application number
JP2008188366A
Other languages
English (en)
Other versions
JP5113657B2 (ja
Inventor
Yosuke Tsuchida
陽介 土田
Tsuneo Takaku
常雄 高久
Current Assignee (The listed assignees may be inaccurate. Google has not performed a legal analysis and makes no representation or warranty as to the accuracy of the list.)
Juki Corp
Original Assignee
Juki Corp
Priority date (The priority date is an assumption and is not a legal conclusion. Google has not performed a legal analysis and makes no representation as to the accuracy of the date listed.)
Filing date
Publication date
Application filed by Juki Corp filed Critical Juki Corp
Priority to JP2008188366A priority Critical patent/JP5113657B2/ja
Publication of JP2010027897A publication Critical patent/JP2010027897A/ja
Application granted granted Critical
Publication of JP5113657B2 publication Critical patent/JP5113657B2/ja
Expired - Fee Related legal-status Critical Current
Anticipated expiration legal-status Critical

Links

Images

Landscapes

  • Supply And Installment Of Electrical Components (AREA)

Abstract

【課題】電子部品に個体差がある場合でも、該部品を基板上に高精度に搭載可能にする。
【解決手段】吸着ノズル18により吸着された電子部品20を、搭載ヘッドに付設されているレーザ認識装置が有する光源と受光部の間に位置決めし、該電子部品にレーザ光を照射しながら回転させた際の受光部における遮光幅に基づいて吸着部品の中心の位置ずれ量を測定する部品認識を行なった後、測定された位置ずれ量に基づいて該電子部品を補正して基板上に搭載する際、前記レーザ認識装置による部品認識を、2以上の部品高さJ、Kでそれぞれレーザ光を照射して行い、各部品高さでの部品中心C、Dを算出し、各部品高さでの部品中心から、高さ方向の部品中心の傾斜角度αを算出し、傾斜角度に基づいて任意高さにおける部品中心を算出し、任意高さの部品中心を基に前記電子部品を基板上に搭載する。
【選択図】図7

Description

本発明は、表面実装方法及び装置、特に電子部品をプリント基板等の基板上に高精度に搭載する際に適用して好適な表面実装方法及び装置に関する。
一般に、表面実装装置では、XY駆動機構により搭載ヘッドを平面方向に移動させ、位置決めされている基板上の目標位置に吸着ノズルに吸着保持されている電子部品を正確に搭載(実装)している。
現在、このような表面実装装置による電子部品の搭載精度は向上していることから、その駆動機構はほぼ確立されており、又、搭載ヘッドが有する吸着ノズルによる電子部品の吸着位置や吸着角度を検出する装置の精度もほぼ飽和しているといってよい。ところが、電子部品の小型化と、それを搭載する基板の小型化が進み、それに伴って狭い間隔で隣接するパッドへの搭載の要求が増大し、更なる搭載精度の向上が求められている。
表面実装装置では、これまでも高い精度で搭載を行うために、電子部品を吸着してから搭載するまでの間に該部品の吸着位置や吸着姿勢等をレーザによる部品認識(以下、レーザ認識ともいう)やカメラにより測定し、その結果を基に吸着姿勢等を補正して搭載している。
これを、表面実装装置の要部を示す図1を参照して説明する。図1(A)に示されているように、表面実装装置には、搭載ヘッド10が、X軸駆動機構12及びY軸駆動機構14により、X方向及びY方向にそれぞれ移動可能に配設されている。
又、搭載ヘッド10の下端部には、同図(B)にその一部を抽出して拡大して示すように、レーザ認識装置16が備えられ、該レーザ認識装置16は図2にその要部を模式的に示すように光源16aとその対向位置に配置された受光部(素子)16bとを有している。
又、搭載ヘッド10にはZ方向に上下動可能な1又は2以上の吸着ノズル18が装着され、各吸着ノズル18により電子部品20を吸着保持すると共に、該ノズル18を軸中心にθ回転することにより、該電子部品20を任意角度に回転できるようになっている。
上記レーザ認識装置16により電子部品をレーザ認識する際の動作を、図3のフローチャートに従って説明する。
まず、図示しない部品供給部へ搭載ヘッド10を移動させ、吸着ノズル18で電子部品20を吸着した後、該ノズル18を上昇させて図1(B)に示す測定位置に移動させる(ステップ1)。その際、電子部品20を高さ方向の中心(1/2)位置にレーザ光が照射される位置に一致させ、その高さで図2のように部品側面にレーザ光を照射しながら、吸着ノズル18の軸中心を中心に回転させ、レーザ認識を行う(ステップ2)。
この回転に伴って受光部16bで検出される遮光範囲の変化から、電子部品20の外形(縦横のサイズ)を決定し、吸着ノズル18の回転中心から見た該部品外形の中心及び角度、幅が算出される。
レーザ認識装置16は、これらの算出した値からノズルの吸着中心と部品中心のずれである吸着位置ずれ量、吸着時の基準位置からの角度ずれ量等を算出する(ステップ3)。
次いで、これらずれ量と部品サイズとから補正量を算出し、表面実装装置の制御部にその値を返信する(ステップ4)。
表面実装装置では、部品ごとに受信したヘッド移動量に補正をかけて基板上に搭載する(ステップ5)。
又、特許文献1には同様の技術として、レーザ光が当たる位置まで部品を持ち上げ、最小限の角度で回転させた時に受光部で検出される影(遮光部)の幅が1度目及び2度目に最小なったときの影の幅を測定し、部品の吸着時の傾き、X軸方向の中心位置ずれ、Y軸方向の中心位置ずれを測定することにより、測定された位置ずれ量を補正して該部品を基板上に搭載する技術が開示されている。
特許第2746810号公報
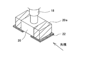
しかしながら、前述した従来のレーザ認識技術は、いずれも部品高さ方向の一箇所でしか行っていないため、図4に示すように吸着ノズル18により吸着した電子部品20を、その電極部20aが基板上のパッド22に一致するように搭載する場合を考えると、電子部品に形状のばらつきや変形などの個体差があると、横方向に傾斜した場合の例を図5に示すように電子部品20(電極部20a)がパッド22からずれてしまい、搭載精度が悪化してしまう可能性がある。
因みに、図5でAは基板24上のパッド22の中心、Bは部品高さWの1/2の位置でのレーザ認識による部品中心、Eは部品底面の中心、Fは部品の回転中心(ノズル中心)であり、いずれもX方向について示してある。
本発明は、前記従来の問題点を解決するためのもので、電子部品に形状のばらつきや変形等の個体差がある場合でも、該電子部品をその電極部を基板上のパッドに正確に位置決めして搭載することができる表面実装方法及び装置を提供することを課題とする。
本発明は、搭載ヘッドに上下動可能に装着されている吸着ノズルにより吸着された電子部品を、該搭載ヘッドに付設されているレーザ認識装置が有する光源と受光部の間に位置決めし、該電子部品にレーザ光を照射しながら回転させた際の受光部における遮光幅に基づいて吸着部品の部品中心と吸着中心との位置ずれ量を測定する部品認識を行なった後、該搭載ヘッドをXY移動させ、測定された位置ずれ量に基づいて該電子部品を補正して基板上に搭載する表面実装方法において、前記レーザ認識装置による部品認識を、2以上の部品高さでそれぞれレーザ光を照射して行うステップと、各部品高さでの部品中心を算出するステップと、各部品高さでの部品中心から、高さ方向の部品中心の傾斜角度を算出するステップと、算出された傾斜角度に基づいて任意高さにおける部品中心を算出するステップと、任意高さにおける部品中心を基に前記電子部品を基板上に搭載するステップとを有することにより、前記課題を解決したものである。
本発明は、又、搭載ヘッドに上下動可能に装着されている吸着ノズルにより吸着された電子部品を、該搭載ヘッドに付設されているレーザ認識装置が有する光源と受光部の間に位置決めし、該電子部品にレーザ光を照射しながら回転させた際の受光部における遮光幅に基づいて吸着部品の部品中心と吸着中心との位置ずれ量を測定する部品認識を行なった後、該搭載ヘッドをXY移動させ、測定された位置ずれ量に基づいて該電子部品を補正して基板上に搭載する表面実装装置において、前記レーザ認識装置による部品認識を、2以上の部品高さでそれぞれレーザ光を照射して行う手段と、各部品高さでの部品中心を算出する手段と、各部品高さでの部品中心から、高さ方向の部品中心の傾斜角度を算出する手段と、算出された傾斜角度に基づいて任意高さにおける部品中心を算出する手段と、任意高さにおける部品中心を基に前記電子部品を基板上に搭載する手段とを備えたことにより、同様に前記課題を解決したものである。
本発明によれば、吸着ノズルで吸着した電子部品を少なくとも2点の高さ位置でレーザ光を照射し、各高さ位置での部品中心を測定する部品認識を行ない、測定された各部品中心から部品中心の高さ方向の傾斜角度を求めることにより、任意高さでの部品の中心を算出可能としたので、例えば部品底面における部品中心を基板上のパッド中心に一致させて搭載することが可能となり、搭載制度の向上を実現することができる。
以下、図面を参照して、本発明の実施の形態について詳細に説明する。
本発明に係る一実施形態の表面実装装置は、前記図1及び図2に示したものと基本的な構成は同一である。
この表面実装装置は、図6に概要を示す制御系を有しており、制御部(CPUユニット)30からモータドライバ40に制御信号が出力されると、Xモータドライバ、Yモータドライバ、Zモータドライバ、θモータドライバを介して、X軸駆動機構12、Y軸駆動機構14のモータを駆動して搭載ヘッド10のXY移動動作が行なわれると共に、Z軸モータ、θ軸モータを駆動して吸着ノズル18の上下動と回転動作が行われているようになっている。
本実施形態の表面実装装置においては、搭載ヘッド10に上下動可能に装着されている吸着ノズル18により吸着された電子部品20を、該搭載ヘッド10に付設されているレーザ認識装置16が有する光源16aと受光部16bの間に位置決めし、該電子部品20にレーザ光を照射しながら回転させた際の受光部16bにおける遮光幅に基づいて吸着部品20の部品中心と吸着中心との位置ずれ量を測定する部品認識を行なった後、該搭載ヘッド10をXY移動させ、測定された位置ずれ量に基づいて該電子部品を補正して基板上に搭載するようになっている。
又、本実施形態においては、前記レーザ認識装置16による部品認識を、2以上の部品高さでそれぞれレーザ光を照射して行う手段と、各部品高さでの部品中心を算出する手段と、各部品高さでの部品中心から、高さ方向の部品中心の傾斜角度を算出する手段と、算出された傾斜角度に基づいて任意高さにおける部品中心を算出する手段と、任意高さにおける部品中心を基に前記電子部品を基板上に搭載する手段とが、前記制御部30においてソフトウェアにより実現されている。
以下、本実施形態の作用をレーザ認識する部品高さが1/3と2/3の2点とする場合を例に、図7を参照しながら、図8のフローチャートに従って説明する。なお、便宜上、図7には前記図5と同様に、Y方向から見たX方向のみの関係を示す。
まず、前記図3のステップ1と同様に電子部品を吸着し、Z軸モータにより吸着ノズル18を上昇させて第一の測定位置である部品の1/3高さJに移動させ、吸着ノズルの上昇動作停止する(ステップ11)。続けてθ軸モータにより吸着ノズルおよび電子部品を回転させ、その位置をレーザによって認識する(ステップ12)。そして、この部品高さでの部品中心Cを算出し(ステップ13)、さらに吸着ノズルの回転中心Fと部品中心Cとのずれ量を算出する(ステップ14)。
次いで、吸着ノズル18を下降させ、第二の測定位置である部品の2/3高さKに一致させ、かつ吸着ノズルの下降動作後(ステップ15)、θ軸モータにより回転させ、その位置でのレーザによる認識を実行する(ステップ16)。ステップ13と同様にこの部品高さでの部品中心Dを算出し(ステップ17)、続けてステップ14と同様に吸着ノズルの回転中心Fと部品中心Dとのずれ量を算出する(ステップ18)。なお、ステップ11〜ステップ17におけるZ方向への移動量、θ方向の回転量は、各モータドライバから入力されるエンコーダ信号から計算される。
その後、各部品高さでのずれ量より垂直線に対する部品高さ方向の傾きαを算出し(ステップ19)、高さ方向の傾きαより、部品底面における吸着ノズル回転中心Fから部品中心Eまでのずれ量を算出する(ステップ20)。
レーザ認識装置16は、算出されたずれ量を補正値として表面実装装置の制御部30へ送信する(ステップ21)。
表面実装装置では、制御部30が搭載ヘッド10の移動量にその補正値に基づいて補正をかけ基板に搭載する(ステップ22)。これにより、部品底面の中心Eとパッド中心Aとを正確に一致させて搭載することができるため、狭ピッチで隣接搭載を行う場合にも高精度搭載を実現することができる。
以上詳述した本実施形態によれば、以下の効果が得られる。
(1)部品中心の傾きと部品形状をレーザ認識することにより、基板と接する電子部品の底面の中心位置を算出することができる。
(2)従って、電子部品とパッドの接合部との位置あわせに精度を要する場合には、認識した電子部品においてその部品底面の中心位置と部品上面の吸着位置とを比較することにより補正量が求まり、基板のパッド上に精度良く電子部品を搭載することができる。
なお、本発明においては、任意の部品高さにおける部品の中心を求めることができるため、パッド中心Aに任意高さにおける部品中心が一致するように搭載することもできる。
又、部品中心の傾きαを算出できるため、傾きαが異常に大きい場合にはエラーであるとする指標として利用することもできる。
(A)は表面実装装置の要部を示す部分斜視図、(B)は吸着部分を拡大した部分斜視図 レーザ認識装置を模式的に示す説明図 従来の部品認識方法を示すフローチャート 吸着部品と基板上のパッドの関係を示す斜視図 図4の矢印方向から見た側面図と位置ずれの関係を示す模式図 本発明に係る一実施形態の表面実装装置が備えている制御系の概要を示すブロック図 本実施形態の作用の説明図に使用する前記図5に相当する模式図 本実施形態の作用を示すフローチャート
符号の説明
10…搭載ヘッド
12…X軸移動機構
14…Y軸移動機構
16…レーザ認識装置
18…吸着ノズル
20…電子部品
22…パッド
24…基板
30…制御部(CPUユニット)

Claims (2)

  1. 搭載ヘッドに上下動可能に装着されている吸着ノズルにより吸着された電子部品を、該搭載ヘッドに付設されているレーザ認識装置が有する光源と受光部の間に位置決めし、該電子部品にレーザ光を照射しながら回転させた際の受光部における遮光幅に基づいて吸着部品の部品中心と吸着中心との位置ずれ量を測定する部品認識を行なった後、該搭載ヘッドをXY移動させ、測定された位置ずれ量に基づいて該電子部品を補正して基板上に搭載する表面実装方法において、
    前記レーザ認識装置による部品認識を、2以上の部品高さでそれぞれレーザ光を照射して行うステップと、
    各部品高さでの部品中心を算出するステップと、
    各部品高さでの部品中心から、高さ方向の部品中心の傾斜角度を算出するステップと、
    算出された傾斜角度に基づいて任意高さにおける部品中心を算出するステップと、
    任意高さにおける部品中心を基に前記電子部品を基板上に搭載するステップとを有することを特徴とする表面実装方法。
  2. 搭載ヘッドに上下動可能に装着されている吸着ノズルにより吸着された電子部品を、該搭載ヘッドに付設されているレーザ認識装置が有する光源と受光部の間に位置決めし、該電子部品にレーザ光を照射しながら回転させた際の受光部における遮光幅に基づいて吸着部品の部品中心と吸着中心との位置ずれ量を測定する部品認識を行なった後、該搭載ヘッドをXY移動させ、測定された位置ずれ量に基づいて該電子部品を補正して基板上に搭載する表面実装装置において、
    前記レーザ認識装置による部品認識を、2以上の部品高さでそれぞれレーザ光を照射して行う手段と、
    各部品高さでの部品中心を算出する手段と、
    各部品高さでの部品中心から、高さ方向の部品中心の傾斜角度を算出する手段と、
    算出された傾斜角度に基づいて任意高さにおける部品中心を算出する手段と、
    任意高さにおける部品中心を基に前記電子部品を基板上に搭載する手段とを備えたことを特徴とする表面実装装置。
JP2008188366A 2008-07-22 2008-07-22 表面実装方法及び装置 Expired - Fee Related JP5113657B2 (ja)

Priority Applications (1)

Application Number Priority Date Filing Date Title
JP2008188366A JP5113657B2 (ja) 2008-07-22 2008-07-22 表面実装方法及び装置

Applications Claiming Priority (1)

Application Number Priority Date Filing Date Title
JP2008188366A JP5113657B2 (ja) 2008-07-22 2008-07-22 表面実装方法及び装置

Publications (2)

Publication Number Publication Date
JP2010027897A true JP2010027897A (ja) 2010-02-04
JP5113657B2 JP5113657B2 (ja) 2013-01-09

Family

ID=41733432

Family Applications (1)

Application Number Title Priority Date Filing Date
JP2008188366A Expired - Fee Related JP5113657B2 (ja) 2008-07-22 2008-07-22 表面実装方法及び装置

Country Status (1)

Country Link
JP (1) JP5113657B2 (ja)

Cited By (2)

* Cited by examiner, † Cited by third party
Publication number Priority date Publication date Assignee Title
WO2012063968A1 (en) * 2010-11-10 2012-05-18 Yazaki Corporation Component position measurement method
US20230197670A1 (en) * 2020-05-19 2023-06-22 Shinkawa Ltd. Bonding device and adjustment method for bonding head

Citations (3)

* Cited by examiner, † Cited by third party
Publication number Priority date Publication date Assignee Title
JPH07193396A (ja) * 1993-12-27 1995-07-28 Yamaha Motor Co Ltd 部品装着装置
JP2746810B2 (ja) * 1993-02-25 1998-05-06 ジューキ株式会社 吸着ノズルに吸着された部品の傾き及び位置測定方法
JP2002190698A (ja) * 2000-12-20 2002-07-05 Juki Corp 電子部品搭載装置

Patent Citations (3)

* Cited by examiner, † Cited by third party
Publication number Priority date Publication date Assignee Title
JP2746810B2 (ja) * 1993-02-25 1998-05-06 ジューキ株式会社 吸着ノズルに吸着された部品の傾き及び位置測定方法
JPH07193396A (ja) * 1993-12-27 1995-07-28 Yamaha Motor Co Ltd 部品装着装置
JP2002190698A (ja) * 2000-12-20 2002-07-05 Juki Corp 電子部品搭載装置

Cited By (6)

* Cited by examiner, † Cited by third party
Publication number Priority date Publication date Assignee Title
WO2012063968A1 (en) * 2010-11-10 2012-05-18 Yazaki Corporation Component position measurement method
JP2012103099A (ja) * 2010-11-10 2012-05-31 Yazaki Corp 部品位置計測方法
CN103221187A (zh) * 2010-11-10 2013-07-24 矢崎总业株式会社 部件位置测量方法
US8576411B2 (en) 2010-11-10 2013-11-05 Yazaki Corporation Component position measurement method
US20230197670A1 (en) * 2020-05-19 2023-06-22 Shinkawa Ltd. Bonding device and adjustment method for bonding head
US12431458B2 (en) * 2020-05-19 2025-09-30 Shinkawa Ltd. Bonding device and adjustment method for bonding head

Also Published As

Publication number Publication date
JP5113657B2 (ja) 2013-01-09

Similar Documents

Publication Publication Date Title
JP2691789B2 (ja) はんだ印刷検査装置
KR101404516B1 (ko) 전자부품 실장장치의 교정방법
JP5174583B2 (ja) 電子部品実装装置の制御方法
US20090252400A1 (en) Method for mounting electronic component
JP2005347555A (ja) 部品実装方法及び装置
JP5545737B2 (ja) 部品実装機及び画像処理方法
JP4921346B2 (ja) 部品実装装置における吸着位置補正方法
JP6889778B2 (ja) 部品実装装置
CN111096102B (zh) 元件安装装置
JP3644846B2 (ja) 描画装置の移動誤差検出装置及びその方法
JP2010099597A (ja) 塗布装置および塗布方法
JP5113657B2 (ja) 表面実装方法及び装置
JP3265143B2 (ja) 部品搭載方法および装置
JP3644848B2 (ja) アライメントスコープの位置校正装置及びその方法
JP2009117488A (ja) 部品実装装置ならびに部品吸着方法および部品搭載方法
US8576411B2 (en) Component position measurement method
JP2004146776A (ja) フリップチップ実装装置及びフリップチップ実装方法
JP5095164B2 (ja) 撮像装置の光軸ずれ検出方法、部品位置補正方法及び部品位置補正装置
JP5457069B2 (ja) 電子部品実装装置用カメラ間校正装置
JP3891825B2 (ja) 電子部品実装装置
JP2008072058A (ja) 補正量検出方法、補正量検出装置および基板処理機
JP2013239720A (ja) 画像歪補正方法
JP2011181675A (ja) 回路部品の実装装置
JP2009170586A (ja) 電子部品認識方法及び装置
JP4989199B2 (ja) 電子部品装着装置

Legal Events

Date Code Title Description
A621 Written request for application examination

Free format text: JAPANESE INTERMEDIATE CODE: A621

Effective date: 20110629

TRDD Decision of grant or rejection written
A01 Written decision to grant a patent or to grant a registration (utility model)

Free format text: JAPANESE INTERMEDIATE CODE: A01

Effective date: 20120925

A01 Written decision to grant a patent or to grant a registration (utility model)

Free format text: JAPANESE INTERMEDIATE CODE: A01

A977 Report on retrieval

Free format text: JAPANESE INTERMEDIATE CODE: A971007

Effective date: 20120928

A61 First payment of annual fees (during grant procedure)

Free format text: JAPANESE INTERMEDIATE CODE: A61

Effective date: 20121012

FPAY Renewal fee payment (event date is renewal date of database)

Free format text: PAYMENT UNTIL: 20151019

Year of fee payment: 3

R150 Certificate of patent or registration of utility model

Ref document number: 5113657

Country of ref document: JP

Free format text: JAPANESE INTERMEDIATE CODE: R150

Free format text: JAPANESE INTERMEDIATE CODE: R150

LAPS Cancellation because of no payment of annual fees