JP2010026597A - 圧力制御弁 - Google Patents

圧力制御弁 Download PDF

Info

Publication number
JP2010026597A
JP2010026597A JP2008184087A JP2008184087A JP2010026597A JP 2010026597 A JP2010026597 A JP 2010026597A JP 2008184087 A JP2008184087 A JP 2008184087A JP 2008184087 A JP2008184087 A JP 2008184087A JP 2010026597 A JP2010026597 A JP 2010026597A
Authority
JP
Japan
Prior art keywords
pressure
piston
valve
valve body
passage
Prior art date
Legal status (The legal status is an assumption and is not a legal conclusion. Google has not performed a legal analysis and makes no representation as to the accuracy of the status listed.)
Granted
Application number
JP2008184087A
Other languages
English (en)
Other versions
JP4809400B2 (ja
Inventor
Noriyuki Date
則行 伊達
Current Assignee (The listed assignees may be inaccurate. Google has not performed a legal analysis and makes no representation or warranty as to the accuracy of the list.)
Nippon Seiki Co Ltd
Original Assignee
Nippon Seiki Co Ltd
Priority date (The priority date is an assumption and is not a legal conclusion. Google has not performed a legal analysis and makes no representation as to the accuracy of the date listed.)
Filing date
Publication date
Application filed by Nippon Seiki Co Ltd filed Critical Nippon Seiki Co Ltd
Priority to JP2008184087A priority Critical patent/JP4809400B2/ja
Publication of JP2010026597A publication Critical patent/JP2010026597A/ja
Application granted granted Critical
Publication of JP4809400B2 publication Critical patent/JP4809400B2/ja
Active legal-status Critical Current
Anticipated expiration legal-status Critical

Links

Images

Landscapes

  • Control Of Fluid Pressure (AREA)

Abstract

【課題】圧力調整やリリーフ時の設定を軽いハンドル操作で行うことができるようにする。
【解決手段】ケーシング1の内部に形成されたシリンダ部4と、シリンダ部4に摺動可能に配設されたピストン5と、ピストン5から弁体3側に延設され、先端部を弁座61として内部にエア通路6を形成したピストン小径部51と、弁体3を保持するとともに、ピストン小径部51が摺動可能に挿入される弁室12と、弁座61が弁体3から離隔する方向にピストン5を付勢する圧力調整ばね7と、先端部が弁体3に当接するようにピストン小径部51に挿入された中空のロッド8と、ロッド8の先端部が弁体3から離隔したときにロッド8を介して2次側通路2bを大気に開放するリリーフ通路9とを有する圧力制御弁において、2次側圧力を調整する圧力調整ハンドル10をケーシング1に回転可能に配設し、圧力調整ハンドル10の回転によりロッド8を軸方向に移動可能に設ける。
【選択図】図1

Description

本発明は、空気圧工具等に使用される圧力制御弁に関し、特に、圧力調整ハンドルにかかる荷重を小さくすることにより、圧力調整やリリーフ時の設定を軽いハンドル操作で行うことができるようにした圧力制御弁に関するものである。
従来、エアコンプレッサと空気圧工具との間に介在させることにより、エアコンプレッサから空気圧工具に供給される空気圧を所望の空気圧に減圧調整するようにした圧力制御弁が知られている。
このような圧力制御弁として、例えば、図6に示すような圧力制御弁がある(特許文献1参照)。
この圧力制御弁は、ケーシング1の内部に形成された流体通路と、該流体通路に弁ばね31を備えて介装され、流体通路を1次側通路2aと2次側通路2bとに区画する弁体3と、ケーシング1の内部に形成されたシリンダ部4と、シリンダ部4に摺動可能に配設されたピストン5と、該ピストン5から弁体3側に延設され、先端部を弁座61として内部にエア通路6を形成したピストン小径部51と、弁体3を保持するとともに、該ピストン小径部51が摺動可能に挿入される弁室12と、弁座61が弁体3から離隔する方向にピストン5を付勢する圧力調整ばね7と、先端部が弁体3に当接するようにピストン小径部51に挿入された中空のロッド8’と、該ロッド8’の先端部が弁体3から離隔したときにロッド8’を介して2次側通路2bを大気に開放するリリーフ通路9’とを備えている。
ロッド8’はケーシング1と一体に形成されており、その先端部からケーシング1の外に通じるリリーフ通路9’を形成している。
この圧力制御弁は、図6(a)に示すように、ケーシング外周部に螺合した圧力調整ハンドル10’を締め込むことにより、圧力調整ばね7を圧縮し、ピストン5を後退させて弁座61を弁体3から離隔させることにより、1次側通路2aの圧縮空気を2次側通路2bに導入する。
そして、2次側通路2bが設定圧になると、図6(b)に示すように、2次側通路2bの空気圧を受けたピストン5が圧力調整ばね7に抗して弁体3側に移動し、弁座61を弁体3に圧接することにより1次側通路2aと2次側通路2bを遮断し、2次側通路2bの圧力上昇を阻止する。
次いで、空気圧工具等の使用により2次側通路2bの空気圧が低下すると、図6(a)に示すように、ピストン5が圧力調整ばね7により再び後退し、弁座61を弁体3から離隔させることにより、1次側通路2aの圧縮空気を2次側通路2bに導入する。
また、2次側圧力が設定圧を越えて上昇した場合や、圧力調整ハンドル10’を緩め、圧力調整ばね7の圧縮量を減少させて設定圧を下げた場合は、図6(c)に示すように、ばね力に対する2次側圧力の圧力比率の上昇により、ピストン5が前進して弁体3をさらに押し、1次側通路2aと2次側通路2bを遮断した状態で弁体3をケーシング1のロッド8’から離し、2次側通路2bの圧力空気をロッド8’のリリーフ通路9’を通じて大気へ排出する。
そして、2次側圧力の低下に伴ってピストン5が後退し、2次側圧力と設定圧とが平衡したときは、図6(b)に示す状態にもどる。
ところで、この従来の圧力制御弁は、設定圧の調整を、圧力調整ハンドル10’の回転により圧力調整ばね7の圧縮量を増減することによって行っているが、圧力調整ばね7はばね定数が大きいことから、圧力調整ハンドル10’には大きな荷重がかかり、ハンドル操作が重くなって圧力調整やリリーフ時の設定が行いにくいという問題があった。
特開平11−305843号公報
本発明は、上記従来の圧力制御弁が有する問題点に鑑み、圧力調整ハンドルにかかる荷重を小さくすることにより、圧力調整やリリーフ時の設定を軽いハンドル操作で行うことができるようにした圧力制御弁を提供することを目的とする。
上記目的を達成するため、本発明の圧力制御弁は、ケーシングの内部に形成された流体通路と、該流体通路に弁ばねを備えて介装され、流体通路を1次側通路と2次側通路とに区画する弁体と、ケーシングの内部に形成されたシリンダ部と、シリンダ部に摺動可能に配設されたピストンと、該ピストンから弁体側に延設され、先端部を弁座として内部にエア通路を形成したピストン小径部と、弁体を保持するとともに、該ピストン小径部が摺動可能に挿入される弁室と、弁座が弁体から離隔する方向にピストンを付勢する圧力調整ばねと、先端部が弁体に当接するようにピストン小径部に挿入された中空のロッドと、該ロッドの先端部が弁体から離隔したときにロッドを介して2次側通路を大気に開放するリリーフ通路とを有する圧力制御弁において、2次側圧力を調整する圧力調整ハンドルをケーシングに回転可能に配設し、該圧力調整ハンドルの回転により前記ロッドを軸方向に移動可能に設けたことを特徴とする。
この場合において、弁室に挿入されたピストン小径部の外径と、ピストン小径部の先端に設けられた弁座の径を、同径に近づけて形成することができる。
この場合において、圧力調整ハンドルが内側に螺旋溝を周設した筒体からなり、該圧力調整ハンドルをケーシングに回転可能に外嵌するとともに、螺旋溝に係合して圧力調整ハンドルの回転によりロッドを軸方向に移動させる連結部材を設けることができる。
また、圧力調整ハンドルに、該圧力調整ハンドルと一体的に回転しかつ軸方向にスライドするスライドリングを外嵌するとともに、ケーシング側に、スライドリングと係合することにより該スライドリングの回転をロックする係止部を設けることができる。
また、スライドリングに2次側圧力の目盛を設け、2次側最大圧力の目盛以上の回転を規制するストッパをスライドリングとケーシングとの間に設けることができる。
本発明の圧力制御弁によれば、ケーシングの内部に形成された流体通路と、該流体通路に弁ばねを備えて介装され、流体通路を1次側通路と2次側通路とに区画する弁体と、ケーシングの内部に形成されたシリンダ部と、シリンダ部に摺動可能に配設されたピストンと、該ピストンから弁体側に延設され、先端部を弁座として内部にエア通路を形成したピストン小径部と、弁体を保持するとともに、該ピストン小径部が摺動可能に挿入される弁室と、弁座が弁体から離隔する方向にピストンを付勢する圧力調整ばねと、先端部が弁体に当接するようにピストン小径部に挿入された中空のロッドと、該ロッドの先端部が弁体から離隔したときにロッドを介して2次側通路を大気に開放するリリーフ通路とを有する圧力制御弁において、2次側圧力を調整する圧力調整ハンドルをケーシングに回転可能に配設し、該圧力調整ハンドルの回転により前記ロッドを軸方向に移動可能に設けることから、ロッドの先端部で弁体を押し、弁体の位置を変位させることにより、圧力調整ばねの見かけ上の圧縮量を増減して設定圧の調整をするとともに、ロッドを後退させその先端部を弁体から離隔させることにより、2次側通路の圧力空気をロッドのリリーフ通路を通じて大気へ排出することができる。
この場合、弁体の位置変位は弁ばねの圧縮量を増減しながら行うが、弁ばねのばね定数は圧力調整ばねに比べて遙かに小さいことから、圧力調整ハンドルにかかる荷重は非常に小さく、圧力調整やリリーフ時の設定を軽いハンドル操作で行うことができる。
また、弁室に挿入されたピストン小径部の外径と、ピストン小径部の先端に設けられた弁座の径を、同径に近づけて形成することにより、弁室内の1次側に気密に挿入されたピストン小径部の軸方向に1次側圧力を受圧する面積は最小となることから、弁室内の1次側圧力がピストン小径部の軸方向に及ぼす力は最小となり、さらに、1次側圧力は弁体の位置変位にも影響しないことから、1次側圧力の変動による2次側圧力の変動を非常に小さくすることができる。
また、圧力調整ハンドルが内側に螺旋溝を周設した筒体からなり、該圧力調整ハンドルをケーシングに回転可能に外嵌するとともに、螺旋溝に係合して圧力調整ハンドルの回転によりロッドを軸方向に移動させる連結部材を設けることにより、螺旋溝と連結部材を介してロッドを圧力調整ハンドルの回転で軸方向に移動させることができる。
この場合、圧力調整ハンドルにかかる荷重は非常に小さいことから、螺旋溝のピッチを大きくすることができ、これにより、ハンドル操作の軽さを維持したまま1回転以内で必要な圧力範囲まで調整が可能となり、2次側圧力の変動が少ないことと組み合わせ、ハンドル1回転以内に設けた2次側圧力の目盛を実際の2次側圧力に合うように設けることにより、圧力計がなくても正確な圧力調整が可能となる。
また、圧力調整ハンドルに、該圧力調整ハンドルと一体的に回転しかつ軸方向にスライドするスライドリングを外嵌するとともに、ケーシング側に、スライドリングと係合することにより該スライドリングの回転をロックする係止部を設けることにより、スライドリングを回して目的の2次圧力に合わせた後、スライドリングをケーシング側にスライドさせることにより、圧力調整ハンドルの回転をロックすることができる。
また、スライドリングに2次側圧力の目盛を設け、2次側最大圧力の目盛以上の回転を規制するストッパをスライドリングとケーシングとの間に設けることにより、スライドリングに設けた2次側圧力の目盛が実際の2次側圧力に合うように位置合わせをして圧力調整ハンドルに外嵌することで、目盛と実際の2次側圧力を合わせる作業と2次側最大圧力以上に圧力調整ハンドルが回らないように規制するストッパの調整作業を同時に簡易に行うことが可能となり、従来別々に行っていた作業が簡素化され、作業性を大幅に向上することができる。
以下、本発明の圧力制御弁の実施の形態を、図面に基づいて説明する。
図1〜図5に、本発明の圧力制御弁の一実施例を示す。
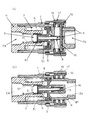
この圧力制御弁は、ケーシング1の内部に形成された流体通路と、該流体通路に弁ばね31を備えて介装され、流体通路を1次側通路2aと2次側通路2bとに区画する弁体3と、ケーシング1の内部に形成されたシリンダ部4と、シリンダ部4に摺動可能に配設されたピストン5と、該ピストン5から弁体3側に延設され、先端部を弁座61として内部にエア通路6を形成したピストン小径部51と、弁体3を保持するとともに、該ピストン小径部51が摺動可能に挿入される弁室12と、弁座61が弁体3から離隔する方向にピストン5を付勢する圧力調整ばね7と、先端部が弁体3に当接するようにピストン小径部51に挿入された中空のロッド8と、該ロッド8の先端部が弁体3から離隔したときにロッド8を介して2次側通路2bを大気に開放するリリーフ通路9とを備えている。
そして、この圧力制御弁は、2次側圧力を調整する圧力調整ハンドル10をケーシング1に回転可能に配設し、該圧力調整ハンドル10の回転により前記ロッド8を軸方向に移動可能に設けている。
ケーシング1は円筒状をなし、1次側から筒状のポート部材11が挿入され螺着されている。
ポート部材11には、先端が小径穴となる円筒状の弁室12が形成されており、該弁室12には、弁体3が弁ばね31により小径穴側に付勢された状態で挿入されている。
なお、弁体3の外周部には、軸方向の通気溝32が複数形成されており、開弁状態では、該通気溝32からエア通路6を通って1次側通路2aの圧縮空気が2次側通路2bに供給される。
なお、弁室12の小径穴には、ピストン小径部51が気密に摺動可能に挿入されている。
ピストン小径部51は、円板状のピストン本体の中心付近から弁体3側に一体に延設されており、内部に円筒状のエア通路6を形成している。
そして、このピストン小径部51は、先端部の弁座61を弁体3に圧接することにより、1次側通路2aと2次側通路2bを遮断し、また、弁体3と離隔した状態でエア通路6を介して1次側通路2aと2次側通路2bを連通させる。
ところで、本実施例においては、弁座61は、ピストン小径部51の外径に近づけて(特に限定されるものではないが、例えば、弁座61の径を、ピストン小径部51の外径の80〜100%、好ましくは、90〜100%となるように)形成するとともに、ピストン小径部51の外周面とポート部材11の小径穴をパッキンでシールするようにしている。
これにより、弁室12内の1次側に気密に挿入されたピストン小径部51の軸方向に1次側圧力を受圧する面積が最小となって、1次側圧力によりピストン5が受ける力を最小にし、さらに、1次側圧力は弁体3の位置変位にも影響しないことから、1次側圧力の変動による2次側圧力の変動を非常に小さくすることができる。
ピストン5は、ケーシング1のシリンダ部4に気密に摺動可能に配設されており、弁室12の外側に配設した圧力調整ばね7により、ピストン小径部51の弁座61が弁体3から離隔する方向に付勢されている。
また、ピストン小径部51には、先端部が弁体3に当接するように中空のロッド8が挿入されており、ケーシング1の一部には、該ロッド8の先端部が弁体3から離隔したときにロッド8を介して2次側通路2bを大気に開放するリリーフ通路9が設けられている。
このリリーフ通路9は、ロッド8と、該ロッド8の基部を気密に摺動可能に支持するケーシング1の小室13と、該小室13から外部に連通する連通路14とによって構成されている。
一方、ケーシング1には、圧力調整ハンドル10が回転可能に配設されており、該圧力調整ハンドル10の回転により、ロッド8が軸方向前後に移動するようになっている。
圧力調整ハンドル10は、内側に螺旋溝15が2周周設された筒体からなり、該圧力調整ハンドル10をケーシング1に回転可能に外嵌するとともに、螺旋溝15に係合して圧力調整ハンドル10の回転によりロッド8を軸方向に移動させる平行ピン16を連結部材として設けている。
平行ピン16は、ロッド8の基部を貫通するとともに、前記小室13の一部に支持されており、圧力調整ハンドル10と共回りすることなく螺旋溝15を相対移動することにより、ロッド8を前後に移動させることができる。
この場合、平行ピン16が貫通するロッド8の基部には、平行ピン16との間にエア通路81が形成されるようにする。
エア通路81は、図1(b)及び図2(b)に示すように、ロッド8の基部に形成する平行ピン16が貫通する貫通部に連ねて形成したり、図1(c)に示すように、ロッド8の基部に形成する平行ピン16が貫通する貫通部をロッド8より大径に形成することにより形成したり、ロッド8の基部に形成する平行ピン16が貫通する貫通部とは異なるロッド8の基部の任意の位置に形成することができる。
また、圧力調整ハンドル10には、該圧力調整ハンドル10と一体的に回転しかつ軸方向にスライドするスライドリング17が外嵌されるとともに、ケーシング1側には、スライドリング17と係合することにより該スライドリング17の回転をロックする凹凸18が設けられている。
本実施例では、スライドリング17は、図3に示すように、圧力調整ハンドル10と歯車状の細かい凹凸19によりスライド可能に嵌合しており、ケーシング1側にもスライドリング17の凹凸19と嵌合する歯車状の細かい凹凸18が係止部として設けられている。
スライドリング17には、2次側圧力の目盛20を設け、さらに2次側最大圧力の目盛以上の回転を規制するストッパ21、22をスライドリング17とケーシング1にそれぞれ設けるようにしている。
これにより、圧力制御弁の実際の2次側圧力がスライドリング17の目盛20と合うように、スライドリング17を圧力調整ハンドル10に取り付けることによって、2次側圧力と目盛20を合わせる作業と2次側最高圧力を規制するストッパ21、22の設定作業を同時かつ簡易に行うことができる。
なお、ケーシング1に設けたストッパ22は、圧力指針を兼ねるようにしている。
次に、本実施例の圧力制御弁の作用を説明する。
まず、図4(a)に示すように、ケーシング1に外嵌した圧力調整ハンドル10をスライドリング17を介して回転させることにより、ロッド8を前進させて弁体3を押し、弁体3の位置を変位させることにより、弁体3を弁座61から離隔させて1次側通路2aの圧縮空気を2次側通路2bに導入する。
そして、2次側通路2bが設定圧になると、図4(b)に示すように、2次側通路2bの空気圧を受けたピストン5が圧力調整ばね7に抗して弁体3側に移動し、弁座61を弁体3に圧接することにより1次側通路2aと2次側通路2bを遮断し、2次側通路2bの圧力上昇を阻止する。
次いで、空気圧工具等の使用により2次側通路2bの空気圧が低下すると、図4(a)に示すように、ピストン5が圧力調整ばね7により再び後退し、弁座61を弁体3から離隔させることにより、1次側通路2aの圧縮空気を2次側通路2bに導入する。
この場合、2次側圧力が設定圧を越えて上昇した場合は、図5(a)に示すように、ばね力に対する2次側圧力の圧力比率の上昇により、ピストン5が前進して弁体3をさらに押し、1次側通路2aと2次側通路2bを遮断した状態で弁体3をロッド8から離し、2次側通路2bの圧力空気をロッド8のリリーフ通路9を通じて大気へ排出する。
そして、2次側圧力の低下に伴ってピストン5が後退し、2次側圧力と設定圧とが平衡したときには、図4(b)に示す状態にもどる。
また、図5(b)に示すように、圧力調整ハンドル10を逆回転してロッド8を大きく後退させた場合は、1次側通路2aと2次側通路2bを遮断した状態でロッド8が弁体3から離れ、2次側通路2bの圧力空気はロッド8のリリーフ通路9を通じて大気へ排出される。
かくして、本実施例の圧力制御弁は、ケーシング1の内部に形成された流体通路と、該流体通路に弁ばね31を備えて介装され、流体通路を1次側通路2aと2次側通路2bとに区画する弁体3と、ケーシング1の内部に形成されたシリンダ部4と、シリンダ部4に摺動可能に配設されたピストン5と、該ピストン5から弁体3側に延設され、先端部を弁座61として内部にエア通路6を形成したピストン小径部51と、弁体3を保持するとともに、該ピストン小径部51が摺動可能に挿入される弁室12と、弁座61が弁体3から離隔する方向にピストン5を付勢する圧力調整ばね7と、先端部が弁体3に当接するようにピストン小径部51に挿入された中空のロッド8と、該ロッド8の先端部が弁体3から離隔したときにロッド8を介して2次側通路2bを大気に開放するリリーフ通路9とを有する圧力制御弁において、2次側圧力を調整する圧力調整ハンドル10をケーシング1に回転可能に配設し、該圧力調整ハンドル10の回転により前記ロッド8を軸方向に移動可能に設けることから、ロッド8の先端部で弁体3を押し、弁体3の位置を変位させることにより、圧力調整ばね7の見かけ上の圧縮量を増減して設定圧の調整をするとともに、ロッド8を後退させその先端部を弁体3から離隔させることにより、2次側通路2bの圧力空気をロッド8のリリーフ通路9を通じて大気へ排出することができる。
この場合、弁体3の位置変位は弁ばね31の圧縮量を増減しながら行うが、弁ばね31のばね定数は圧力調整ばね7に比べて遙かに小さいことから、圧力調整ハンドル10にかかる荷重は非常に小さく、圧力調整やリリーフ時の設定を軽いハンドル操作で行うことができる。
また、弁室12に挿入されたピストン小径部51の外径と、ピストン小径部51の先端に設けられた弁座61の径を、同径に近づけて形成することにより、弁室12内の1次側に気密に挿入されたピストン小径部51の軸方向に1次側圧力を受圧する面積は最小となることから、弁室12内の1次側圧力がピストン小径部51の軸方向に及ぼす力は最小となり、さらに、1次側圧力は弁体3の位置変位にも影響しないことから、1次側圧力の変動による2次側圧力の変動を非常に小さくすることができる。
また、圧力調整ハンドル10が内側に螺旋溝15を周設した筒体からなり、該圧力調整ハンドル10をケーシング1に回転可能に外嵌するとともに、螺旋溝15に係合して圧力調整ハンドル10の回転によりロッド8を軸方向に移動させる連結部材を設けることにより、螺旋溝15と連結部材を介してロッド8を圧力調整ハンドル10の回転で軸方向に移動させることができる。
この場合、圧力調整ハンドル10にかかる荷重は非常に小さいことから、螺旋溝15のピッチを大きくすることができ、これにより、ハンドル操作の軽さを維持したまま1回転以内で必要な圧力範囲まで調整が可能となり、2次側圧力の変動が少ないことと組み合わせ、ハンドル1回転以内に設けた2次側圧力の目盛を実際の2次側圧力に合うように設けることにより、圧力計がなくても正確な圧力調整が可能となる。
また、圧力調整ハンドル10に、該圧力調整ハンドル10と一体的に回転しかつ軸方向にスライドするスライドリング17を外嵌するとともに、ケーシング1側に、スライドリング17と係合することにより該スライドリング17の回転をロックする係止部を設けることにより、スライドリング17を回して目的の2次圧力に合わせた後、スライドリング17をケーシング1側にスライドさせることにより、圧力調整ハンドル10の回転をロックすることができる。
また、スライドリング17に2次側圧力の目盛20を設け、2次側最大圧力の目盛以上の回転を規制するストッパ21、22をスライドリング17とケーシング1との間に設けることにより、スライドリング17に設けた2次側圧力の目盛20が実際の2次側圧力に合うように位置合わせをして圧力調整ハンドル10に外嵌することで、目盛20と実際の2次側圧力を合わせる作業と2次側最大圧力以上に圧力調整ハンドル10が回らないように規制するストッパ21、22の調整作業を同時に簡易に行うことが可能となり、従来別々に行っていた作業が簡素化され、作業性を大幅に向上することができる。
以上、本発明の圧力制御弁について、その実施例に基づいて説明したが、本発明は上記実施例に記載した構成に限定されるものではなく、その趣旨を逸脱しない範囲において適宜その構成を変更することができる。
本発明の圧力制御弁は、圧力調整ハンドルにかかる荷重を小さくすることにより、圧力調整やリリーフ時の設定を軽いハンドル操作で行えることから、例えば、1回転以内のハンドル操作で必要な圧力範囲まで調整が可能となり、ハンドル1回転以内に設けた2次側圧力の目盛を実際の2次側圧力に合うように設けることにより、圧力計がなくても正確な圧力調整ができる圧力制御弁として広く好適に用いることができる。
本発明の圧力制御弁の一実施例を開弁状態を示し、(a)は縦断面図、(b)は横断面図、(c)は平行ピンが貫通するロッドの基部の変形実施例を示す部分横断面図である。 同圧力制御弁のリリーフ状態を示し、(a)は縦断面図、(b)は横断面図である。 同圧力制御弁を示し、(a)はスライドリングの目盛をケーシングのストッパに合わせる状態を示す側面図、(b)はスライドリングのストッパを示す側面図、(c)は圧力調整ハンドルとスライドリングの嵌合を示す背面図、(d)はスライドリングとケーシングのロックと解除及びストッパによる規制状態を示す側面図である。 同圧力制御弁を示し、(a)は開弁状態を示す断面図、(b)は閉弁状態を示す断面図である。 同圧力制御弁を示し、(a)は2次側通路の圧力上昇によるリリーフ状態を示す断面図、(b)は圧力調整ハンドルの操作によるリリーフ状態を示す断面図である。 従来の圧力制御弁を示し、(a)は開弁状態を示す断面図、(b)は閉弁状態を示す断面図、(c)はリリーフ状態を示す断面図である。
符号の説明
1 ケーシング
2a 1次側通路
2b 2次側通路
3 弁体
31 弁ばね
32 通気溝
4 シリンダ部
5 ピストン
51 ピストン小径部
6 エア通路
61 弁座
7 圧力調整ばね
8 ロッド
9 リリーフ通路
10 圧力調整ハンドル
11 ポート部材
12 弁室
13 小室
14 連通路
15 螺旋溝
16 平行ピン
17 スライドリング
18 凹凸
19 凹凸
20 目盛
21 ストッパ
22 ストッパ(圧力指針)

Claims (5)

  1. ケーシングの内部に形成された流体通路と、該流体通路に弁ばねを備えて介装され、流体通路を1次側通路と2次側通路とに区画する弁体と、ケーシングの内部に形成されたシリンダ部と、シリンダ部に摺動可能に配設されたピストンと、該ピストンから弁体側に延設され、先端部を弁座として内部にエア通路を形成したピストン小径部と、弁体を保持するとともに、該ピストン小径部が摺動可能に挿入される弁室と、弁座が弁体から離隔する方向にピストンを付勢する圧力調整ばねと、先端部が弁体に当接するようにピストン小径部に挿入された中空のロッドと、該ロッドの先端部が弁体から離隔したときにロッドを介して2次側通路を大気に開放するリリーフ通路とを有する圧力制御弁において、2次側圧力を調整する圧力調整ハンドルをケーシングに回転可能に配設し、該圧力調整ハンドルの回転により前記ロッドを軸方向に移動可能に設けたことを特徴とする圧力制御弁。
  2. 弁室に挿入されたピストン小径部の外径と、ピストン小径部の先端に設けられた弁座の径を、同径に近づけて形成したことを特徴とする請求項1記載の圧力制御弁。
  3. 圧力調整ハンドルが内側に螺旋溝を周設した筒体からなり、該圧力調整ハンドルをケーシングに回転可能に外嵌するとともに、螺旋溝に係合して圧力調整ハンドルの回転によりロッドを軸方向に移動させる連結部材を設けたことを特徴とする請求項1又は2記載の圧力制御弁。
  4. 圧力調整ハンドルに、該圧力調整ハンドルと一体的に回転しかつ軸方向にスライドするスライドリングを外嵌するとともに、ケーシング側に、スライドリングと係合することにより該スライドリングの回転をロックする係止部を設けたことを特徴とする請求項1、2又は3記載の圧力制御弁。
  5. スライドリングに2次側圧力の目盛を設け、2次側最大圧力の目盛以上の回転を規制するストッパをスライドリングとケーシングとの間に設けたことを特徴とする請求項4記載の圧力制御弁。
JP2008184087A 2008-07-15 2008-07-15 圧力制御弁 Active JP4809400B2 (ja)

Priority Applications (1)

Application Number Priority Date Filing Date Title
JP2008184087A JP4809400B2 (ja) 2008-07-15 2008-07-15 圧力制御弁

Applications Claiming Priority (1)

Application Number Priority Date Filing Date Title
JP2008184087A JP4809400B2 (ja) 2008-07-15 2008-07-15 圧力制御弁

Publications (2)

Publication Number Publication Date
JP2010026597A true JP2010026597A (ja) 2010-02-04
JP4809400B2 JP4809400B2 (ja) 2011-11-09

Family

ID=41732404

Family Applications (1)

Application Number Title Priority Date Filing Date
JP2008184087A Active JP4809400B2 (ja) 2008-07-15 2008-07-15 圧力制御弁

Country Status (1)

Country Link
JP (1) JP4809400B2 (ja)

Cited By (4)

* Cited by examiner, † Cited by third party
Publication number Priority date Publication date Assignee Title
JP5329703B1 (ja) * 2012-07-30 2013-10-30 株式会社丸岡製作所 自動圧力調整弁
CN109363509A (zh) * 2018-11-30 2019-02-22 浙江酷菲尔电器有限公司 一种气泵增压式胶囊咖啡机
JP2022153008A (ja) * 2021-03-29 2022-10-12 株式会社 タイコー レギュレータユニット
JP7493244B2 (ja) 2021-10-20 2024-05-31 日本精器株式会社 圧力制御弁

Citations (7)

* Cited by examiner, † Cited by third party
Publication number Priority date Publication date Assignee Title
JPS52111026A (en) * 1976-03-13 1977-09-17 Sanwa Seiki Mfg Co Ltd Pressure reducing valve
JPS57106012U (ja) * 1980-12-23 1982-06-30
JPS62112712U (ja) * 1986-01-06 1987-07-17
JPH09242929A (ja) * 1996-03-13 1997-09-16 Max Co Ltd 空気圧レギュレータ
JPH11305843A (ja) * 1998-04-21 1999-11-05 Max Co Ltd 空気圧レギュレータ
JP2003294002A (ja) * 2002-04-02 2003-10-15 Komatsu Ltd 制御弁および液圧制御装置
JP2005316988A (ja) * 2004-03-31 2005-11-10 Daisen Kk 圧力制御弁及び複数の出力口を備えた圧力制御弁ユニット

Patent Citations (7)

* Cited by examiner, † Cited by third party
Publication number Priority date Publication date Assignee Title
JPS52111026A (en) * 1976-03-13 1977-09-17 Sanwa Seiki Mfg Co Ltd Pressure reducing valve
JPS57106012U (ja) * 1980-12-23 1982-06-30
JPS62112712U (ja) * 1986-01-06 1987-07-17
JPH09242929A (ja) * 1996-03-13 1997-09-16 Max Co Ltd 空気圧レギュレータ
JPH11305843A (ja) * 1998-04-21 1999-11-05 Max Co Ltd 空気圧レギュレータ
JP2003294002A (ja) * 2002-04-02 2003-10-15 Komatsu Ltd 制御弁および液圧制御装置
JP2005316988A (ja) * 2004-03-31 2005-11-10 Daisen Kk 圧力制御弁及び複数の出力口を備えた圧力制御弁ユニット

Cited By (5)

* Cited by examiner, † Cited by third party
Publication number Priority date Publication date Assignee Title
JP5329703B1 (ja) * 2012-07-30 2013-10-30 株式会社丸岡製作所 自動圧力調整弁
CN109363509A (zh) * 2018-11-30 2019-02-22 浙江酷菲尔电器有限公司 一种气泵增压式胶囊咖啡机
JP2022153008A (ja) * 2021-03-29 2022-10-12 株式会社 タイコー レギュレータユニット
JP7329261B2 (ja) 2021-03-29 2023-08-18 株式会社 タイコー レギュレータユニット
JP7493244B2 (ja) 2021-10-20 2024-05-31 日本精器株式会社 圧力制御弁

Also Published As

Publication number Publication date
JP4809400B2 (ja) 2011-11-09

Similar Documents

Publication Publication Date Title
JP4809400B2 (ja) 圧力制御弁
US10940732B2 (en) Adjustable damping curve shock absorber
US10030677B2 (en) Fluid control valve
CN102147025A (zh) 减压切换阀
CN113167439A (zh) 有凸轮命令的截止阀的气体减压器
JP2023505214A (ja) 空気圧シリンダ
CN113056635A (zh) 具有集成的截止阀的气体减压器
CN104011441B (zh) 溢流阀
CN100543313C (zh) 带节流阀的流体压缸装置
TWI671613B (zh) 氣體調節裝置
US6568418B1 (en) Precision regulator
TWI616737B (zh) 氣壓調節器
JP2015132305A (ja) 減圧弁
US8360098B2 (en) Monodirectional intake pressure stabilization structure of pneumatic tool
EP2708970B1 (en) Pressure regulator
JP5925568B2 (ja) 減圧弁
JP7493244B2 (ja) 圧力制御弁
US12030164B2 (en) Pressure regulator and pneumatic tool
US11718276B2 (en) Double-use nozzle adapter
JPH11305844A (ja) 空気圧レギュレータ
JP4296494B2 (ja) レギュレータ
US11384857B1 (en) Bidirectional pressure relief valve
US20050011352A1 (en) Air regulator
JP2007128228A (ja) 圧力制御弁
JP4681695B2 (ja) 減圧弁

Legal Events

Date Code Title Description
A621 Written request for application examination

Free format text: JAPANESE INTERMEDIATE CODE: A621

Effective date: 20100310

A977 Report on retrieval

Free format text: JAPANESE INTERMEDIATE CODE: A971007

Effective date: 20110713

TRDD Decision of grant or rejection written
A01 Written decision to grant a patent or to grant a registration (utility model)

Free format text: JAPANESE INTERMEDIATE CODE: A01

Effective date: 20110721

A01 Written decision to grant a patent or to grant a registration (utility model)

Free format text: JAPANESE INTERMEDIATE CODE: A01

A61 First payment of annual fees (during grant procedure)

Free format text: JAPANESE INTERMEDIATE CODE: A61

Effective date: 20110818

FPAY Renewal fee payment (event date is renewal date of database)

Free format text: PAYMENT UNTIL: 20140826

Year of fee payment: 3

R150 Certificate of patent or registration of utility model

Ref document number: 4809400

Country of ref document: JP

Free format text: JAPANESE INTERMEDIATE CODE: R150

Free format text: JAPANESE INTERMEDIATE CODE: R150

R250 Receipt of annual fees

Free format text: JAPANESE INTERMEDIATE CODE: R250

R250 Receipt of annual fees

Free format text: JAPANESE INTERMEDIATE CODE: R250

R250 Receipt of annual fees

Free format text: JAPANESE INTERMEDIATE CODE: R250

R250 Receipt of annual fees

Free format text: JAPANESE INTERMEDIATE CODE: R250

R250 Receipt of annual fees

Free format text: JAPANESE INTERMEDIATE CODE: R250

R250 Receipt of annual fees

Free format text: JAPANESE INTERMEDIATE CODE: R250

R250 Receipt of annual fees

Free format text: JAPANESE INTERMEDIATE CODE: R250

R250 Receipt of annual fees

Free format text: JAPANESE INTERMEDIATE CODE: R250

R250 Receipt of annual fees

Free format text: JAPANESE INTERMEDIATE CODE: R250

R250 Receipt of annual fees

Free format text: JAPANESE INTERMEDIATE CODE: R250

R250 Receipt of annual fees

Free format text: JAPANESE INTERMEDIATE CODE: R250

R250 Receipt of annual fees

Free format text: JAPANESE INTERMEDIATE CODE: R250