JP2010026520A - 多色画像形成装置 - Google Patents

多色画像形成装置 Download PDF

Info

Publication number
JP2010026520A
JP2010026520A JP2009197984A JP2009197984A JP2010026520A JP 2010026520 A JP2010026520 A JP 2010026520A JP 2009197984 A JP2009197984 A JP 2009197984A JP 2009197984 A JP2009197984 A JP 2009197984A JP 2010026520 A JP2010026520 A JP 2010026520A
Authority
JP
Japan
Prior art keywords
scanning
color
laser beam
image
detection
Prior art date
Legal status (The legal status is an assumption and is not a legal conclusion. Google has not performed a legal analysis and makes no representation as to the accuracy of the status listed.)
Granted
Application number
JP2009197984A
Other languages
English (en)
Other versions
JP4575987B2 (ja
Inventor
Mitsuo Suzuki
光夫 鈴木
Kenichi Shimizu
研一 清水
Tomohiro Nakajima
智宏 中島
Shigeaki Imai
重明 今井
Current Assignee (The listed assignees may be inaccurate. Google has not performed a legal analysis and makes no representation or warranty as to the accuracy of the list.)
Ricoh Co Ltd
Original Assignee
Ricoh Co Ltd
Priority date (The priority date is an assumption and is not a legal conclusion. Google has not performed a legal analysis and makes no representation as to the accuracy of the date listed.)
Filing date
Publication date
Application filed by Ricoh Co Ltd filed Critical Ricoh Co Ltd
Priority to JP2009197984A priority Critical patent/JP4575987B2/ja
Publication of JP2010026520A publication Critical patent/JP2010026520A/ja
Application granted granted Critical
Publication of JP4575987B2 publication Critical patent/JP4575987B2/ja
Anticipated expiration legal-status Critical
Expired - Fee Related legal-status Critical Current

Links

Images

Landscapes

  • Fax Reproducing Arrangements (AREA)
  • Laser Beam Printer (AREA)
  • Mechanical Optical Scanning Systems (AREA)
  • Color Electrophotography (AREA)
  • Facsimile Scanning Arrangements (AREA)

Abstract

【課題】レジストずれ検出パターンによる補正の頻度を低減することで、無駄なトナー消費をなくすことができる多色画像形成装置、多色画像形成装置に用いる光走査装置および多色画像形成装置の色ずれ補正方法を得る。
【解決手段】色ずれ検出手段の検出結果に基づいて各色画像間の位置ずれを補正する色ずれ補正手段を有する。色ずれ補正手段は、少なくとも静電潜像の書出しタイミングを可変して書出し位置を補正するもので、光ビームの走査位置を検出する走査位置検出手段と、走査位置検出手段の検出結果に基づいて像担持体面上での照射位置を補正する照射位置可変手段を備え、色ずれ検出手段の検出結果に基づく書出し位置補正を少なくともジョブ間に行ない、書出し位置の基準値を設定するとともに、この基準値をジョブ中にわたって保持するように、走査位置検出手段の検出結果を基に照射位置を常時補正する。
【選択図】図1

Description

本発明は、複数色のトナー像を重ね合わせてカラー画像を形成する多色画像形成装置に関するもので、特に、多色画像形成装置の色ずれ補正に関するものである。
記録情報を色分解した画像光をデジタル信号に変換して感光体に投射し静電潜像を形成するレーザビーム露光手段と、感光体の静電潜像をトナーで現像する現像手段と、転写紙に感光体の顕像を転写する転写手段とを有する記録装置を、上記色分解した画像光に対応して複数個配置し、転写ベルトにより転写紙を各記録装置に順次搬送して各色のトナー像を重ね転写するタンデム型の画像形成装置がある。このように構成された画像形成装置において、搬送ベルト上に色毎に対応する測定用パターン像を形成するためのパターン用画像信号発生手段と、各色パターン像の通過を検知する検知手段と、検知タイミングカウント手段と、各色に対する検知信号から設定値とのずれを演算する演算手段と、演算手段からの値に応じて任意に変更可能な各色書き出しタイミングの信号発生手段とを備えてなる画像形成装置が提案されている(例えば、特許文献1参照)。このように構成する目的は、レーザビームによる感光体面への書き出しタイミングを調整し、各色の画像間のずれを低減して画質を高めることができる画像形成装置を提供することにある。
しかしながら、特許文献1に記載されているような画像形成装置においても、その使用中における経時的な温度上昇による色ずれの発生を補正することまでは考慮されていないため、使用中における経時的な温度変化に基づく、形成画像の劣化を防止することができない。この問題点をより詳細に説明する。
特許文献1に記載されている画像形成方式はカールソンプロセスを用いた画像形成装置であって、現在の複写機、プリンタなどの画像形成装置における画像形成方式の主流を成すものである。カールソンプロセスを用いた画像形成装置においては、感光体ドラムの回転に従って、感光体ドラム表面の均一な帯電、露光による潜像形成、トナーによる現像、トナー像の転写体への転写、の順に各プロセスが実行される。ここでは、感光体ドラムを中心として上記各プロセスを実行する各ユニットの組を画像形成ステーションということにする。複数の感光体ドラムを転写体の搬送方向に沿って配列し、各色の画像形成ステーションで形成したトナー像を重ねる多色画像形成装置においては、感光体ドラムの偏心や径のばらつきによる、潜像形成から転写までの時間差、各色に対応する感光体ドラム相互間隔の異なり、転写体、例えば、転写ベルトや記録紙を搬送する搬送ベルトの速度変動や蛇行によって、各トナー像の副走査方向のレジスト位置がずれ、これが色ずれや色変わりとなって、形成される画像品質を劣化させる。
同様に、感光体ドラム表面をレーザビームによって走査し感光体ドラム表面を露光することによって静電潜像を形成するための光走査装置においても、感光体ドラムに形成する静電潜像の主走査方向倍率および書込み位置を正確に合わせなければ、レジストずれを生じ、これが形成画像の色ずれや色変わりの要因となる。
従来、このレジストずれは、光走査装置によるものであるのか、または光走査装置以外によるものなのか区分けがなく、転写体に記録されたレジストずれ検出パターンを検出することにより、装置の立上げ時やジョブ間等で定期的に検出し、副走査方向については、ポリゴンミラー1面おきで書き出しのタイミングを合わせることにより先頭ラインの位置を補正し、主走査方向については、走査始端で発生される同期検知信号からのタイミングを調節することにより書出し位置を補正している(例えば、特許文献1、特許文献2、特許文献3参照)。また、主走査方向の走査始端から走査終端に至る走査時間を検出して画素クロックの周波数を合わせる等により、各色間の全幅倍率を合せるようにしたものもある(例えば、特許文献4参照)。さらには、実時間で走査位置を制御する方法が提案されており、その例として、可変屈折率プリズムを用いたもの(例えば、特許文献5参照)、のようにガルバノミラーを用いたもの(例えば、特許文献6参照)、液晶偏向素子を用いたもの(例えば、特許文献7参照)などがある。
カラーレーザプリンタ等の多色画像形成装置として、駆動機構により回転駆動される複数の感光体に対し、独立して複数の光走査装置により複数の異なった色の画像情報をそれぞれレーザビームの走査によって感光体表面に書き込み、静電潜像を形成し、これらの静電潜像をそれぞれの画像情報に対応した顕像化手段により異なった色のトナーでそれぞれ顕像化し、これらのトナー像を転写材上に重ね合わせて転写しカラー画像を得るタンデム型の多色画像形成装置がある。上記光走査装置の各々は、読み出される各色の画像情報信号に応じて駆動制御される半導体からなるレーザ光源からレーザビームを出射する。レーザビームは、ポリゴンミラーからなる光偏向器、レンズ等からなる走査結像光学系などの光学部品を介して、一様に帯電された感光体面に集光されるとともに主走査方向に走査される。そして、回転する感光体面には、副走査方向(主走査方向に直交する方向であって感光体の回転方向)に所定の間隔をおいた複数の走査ビームが照射されて走査され、各感光体表面に、それぞれの色に対応した画像信号が書き込まれ、静電潜像が形成される。
このような多色画像形成装置においては、感光体へと向かうレーザビームは各々異なる経路を通るよう構成部品が配置されるため、カラー画像形成装置が設置される環境温度等により走査位置は変動しやすい。このような走査位置のずれは転写体に記録されたレジスト位置ずれ検出パターンにより装置の立上げ時やジョブ間等で定期的に検出し補正を行うが、連続プリント動作に伴う定着器やポリゴンモータの発熱によって走査位置がさらに変動してしまうため、1ジョブのプリント枚数が多いと徐々に色ずれが増大するという問題もある。
一般に、光走査装置は、記録画像の画素データに基づいて所定の画素クロックで変調される半導体レーザを有する光源と、光源からの光ビームを放射状に偏向走査するポリゴンミラーと、走査された光ビームを感光体ドラム面上にスポット状に結像するとともに隣接する画素のスポット間隔が均等となるよう配列するfθ特性を有する走査光学系を有してなる。そして、多色画像形成装置に対応した光走査装置の一例として、各色に対応する光源からの光ビームを単一のポリゴンミラーで一括して走査するようにし、各光ビームを、対応する走査光学系や感光体ドラムに導くための複数の折返しミラーを共通のハウジングに一体的に支持した構成や、各感光体ドラムに対応させて個別に光走査装置を配備した構成が知られている(例えば、特許文献8参照)。かかる構成の多色画像形成装置によれば、感光体ドラムへと向かう複数の光ビームは各々異なる経路を通るように構成部品が配置されるため、多色画像形成装置が設置される環境温度等により、各光ビームの感光体上における照射位置は容易に変動してしまう。
上記したように、このような光ビームの照射位置のずれは、転写体に記録されたレジストずれ検出パターンを装置の立上げ時やジョブ間等で定期的に検出し、検出結果によって補正がなされるが、プリント動作に伴う定着器やポリゴンモータなどからの熱によって光学部品の温度が変動し照射位置がさらに変動してしまうため、1ジョブのプリント枚数が多いと徐々に色ずれや色変わりが発生してくるという問題がある。特に、特許文献1記載の発明のように、ポリゴンミラーを挟んで一方側と他方側に対向するように光学系を配備する場合、一方側と他方側で走査方向が相反するため、温度変動に伴う主走査倍率の変動によって書出し位置がずれる上、温度変動に伴うハウジングの歪みによって各色間の走査位置が増徴する方向にずれるため、色ずれや色変わりが生じ易い。
その対策として、常に温度を観測し、温度変化が所定量に達したら、あるいは、所定のプリント枚数を超えたら、プリント動作を途中で中止し、再度照射位置のずれを補正し直すことで対応しているが、レジストずれ検出パターン作成から補正までの一連の工程、再度の検出パターン作成から補正チェックまでの一連の工程を考慮すると、補正終了までには数分間を費やすため生産性が落ちるうえ、検出パターンを形成するのに無駄にトナーが消費されてしまう。したがって、補正の頻度は最小限に抑えたい。
さらに、主走査倍率については、これまで全幅のみを補正して各色画像端が一致するように補正していたが、走査光学系のfθ特性の誤差やポリゴンミラーから感光体ドラムに至る光路長差に非対称成分があると、部分的な倍率は一様に伸びる、あるいは縮むといった単純な変化ではなく、走査領域の各部分で伸び方が異なる。従って、全幅は揃っても、中間部において歪みが発生して画像の中央部で色ずれや色変わりが大きくなり、かえって画像劣化が目立ちやすいという問題があった。
特公平7−19084号公報 特開2001−253113号公報 特開2003−154703号公報 特開平9−58053号公報 特開平7−199110号公報 特開2001−253115号公報 特開2003−215484号公報 特開2002−148551号公報
本発明は、以上述べた従来技術の問題点にかんがみてなされたものであって、複数の画像形成ステーションによって形成された画像を重ね合わせるタンデム方式の多色画像形成装置において、レーザビーム走査位置検出手段と走査位置可変手段を設け、副走査ビーム位置を所定位置に補正することにより、ジョブ中の色ずれや色変わりを抑制し、1ジョブ中の高画質化および画像品質の安定化を図った多色画像形成装置を提供することを目的とする。
本発明はまた、レジストずれ検出パターンによる補正の頻度を低減することで、無駄なトナー消費をなくすことができる多色画像形成装置、多色画像形成装置に用いる光走査装置および多色画像形成装置の色ずれ補正方法を提供することを目的とする。
本発明は、請求項1に記載されているように、多色画像形成装置において、顕像化された各色に対応する画像間の位置ずれを検出する色ずれ検出手段と、レーザビームの走査位置を検出するレーザビーム検出器と、レーザビームの走査位置を副走査方向に可変する走査位置可変手段とを有し、上記レーザビーム検出器は、検出した色ずれ量に応じて、上記走査位置可変手段にレーザビームの走査位置を可変する可変信号を出力するとともに、画像形成前に各色に対応したレーザビーム走査位置を再度検出し、上記走査位置可変手段は、レーザビーム検出器による上記再度の検出結果が設定値以上のとき、画像形成処理を行うことなく走査位置を再度可変することを最も大きな特徴とする。
請求項2記載の発明のように、上記走査位置の可変信号は、可変する方向と可変量の2つの情報を有する信号からなるものであってもよい。
請求項3記載の発明のように、上記設定値は、副走査方向の1ラインピッチに相当する値であってもよい。
請求項4記載の発明のように、上記設定値は、走査位置可変信号の可変量に相当する値であってもよい。
請求項5記載の発明のように、上記走査位置可変手段の可変に要する時間は、連続プリントのページ間における非画像形成時間よりも短くするとよい。
請求項6記載の発明のように、上記走査位置可変手段は、光源と偏向走査手段との間に配置された非平行平板からなり、非平行平板を移動させることにより、入射したレーザビームの光軸を変更して走査位置を可変するようにするとよい。
請求項7記載の発明のように、上記レーザビーム検出器は、レーザビームを検出する2系統からなる受光素子を有し、2系統の受光素子の少なくとも1系統はレーザビームが通過する領域において互いに非平行に形成された2つの受光領域を有し、上記2系統の受光素子は隣接する端縁が互いに平行になるよう主走査方向に隣接して配置するとよい。
請求項8記載の発明のように、請求項7記載の発明におけるレーザビーム検出器は、走査領域内に少なくとも1箇所以上に配置され、レーザビームがレーザビーム検出器内の受光領域を走査する時間からレーザビームの副走査方向のレーザビーム位置を検出するとともに、予め設定された基準位置に対して離間した方向及び量を演算する演算手段を有するものであってもよい。
請求項9記載の発明のように、請求項7記載の発明において、レーザビーム検出器からの出力を処理する信号処理回路を有し、この信号処理回路は、レーザビーム検出器からの複数回の出力により、平均的処理を施すようにするとよい。
請求項10記載の発明のように、色ずれ検出手段は、予め設定された画像形成中の連続プリント枚数または光走査装置内の温度上昇検出値に応じて、色ずれ検出を行うようにするとよい。
請求項11記載の発明は、複数の色の画像信号に基づき各画像信号ごとに変調されたレーザビームを出射する複数の光源と、各光源からのレーザビームを偏向走査手段により各画像信号に対応する複数のレーザビームを全て同じ方向に走査する光走査手段を有する光走査装置において、上記レーザビームの走査位置を検出するレーザビーム検出器と、レーザビームの走査位置を副走査方向に可変する走査位置可変手段および可変信号出力回路と、走査位置を可変した前後の変化量を検出する回路を具備することを特徴とする。
請求項12記載の発明は、多色画像形成装置の色ずれ補正方法において、顕像化された各色に対応する画像間の位置ずれを検出する色ずれ検出手段と、レーザビームの走査位置を検出するレーザビーム検出器と、レーザビームの走査位置を副走査方向に可変する走査位置可変手段を用い、上記色ずれ検出手段により検出された色ずれ量に応じて走査位置可変手段がレーザビームの走査位置を可変する可変信号を出力した後、上記色ずれ検出手段が画像形成前に各色に対応したレーザビーム走査位置を再度検出し、可変した前後の変化量が設定値以上のとき画像形成処理を行うことなく上記走査位置可変手段により走査位置を再度可変することを特徴とする。
請求項13記載の発明は、色ずれ検出手段の検出結果に基づいて各色画像間の位置ずれを補正する色ずれ補正手段を有する多色画像形成装置において、上記色ずれ補正手段は、少なくとも上記静電潜像の書出しタイミングを可変して書出し位置を補正するものであって、光ビームの走査位置を検出する走査位置検出手段と、この走査位置検出手段の検出結果に基づいて像担持体面上での照射位置を補正する照射位置可変手段を備え、上記色ずれ検出手段の検出結果に基づく書出し位置補正を少なくともジョブ間に行ない、書出し位置の基準値を設定するとともに、この基準値をジョブ中にわたって保持するように、上記走査位置検出手段の検出結果を基に照射位置を常時補正することを特徴とする。
請求項14記載の発明は、色ずれ検出手段の検出結果に基づいて各色画像間の位置ずれを補正する色ずれ補正手段を有する多色画像形成装置において、色ずれ補正手段は、少なくとも静電潜像の書出しタイミングを可変して書出し位置を補正するものであって、光ビームの走査位置を検出する走査位置検出手段と、この走査位置検出手段の検出結果に基づいて像担持体面上での照射位置を補正する照射位置可変手段を備え、色ずれ検出手段の検出結果に基づく書出し位置補正を少なくともジョブ間に行ない、書出し位置の基準値を設定するとともに、上記走査位置検出手段の検出結果により求められるジョブ中での上記基準値からのずれに基づいて、上記照射位置を補正することを特徴とする。
請求項15記載の発明は、色ずれ検出手段の検出結果に基づいて各色画像間の位置ずれを補正する色ずれ補正手段を有する多色画像形成装置において、色ずれ補正手段は、少なくとも光源を変調する基準クロックを可変して全幅倍率を補正するものであって、光ビームの所定区間における走査時間を検出する走査時間検出手段と、この走査時間検出手段の検出結果に基づいて像担持体面上における走査領域を複数に分割した各区間での倍率を補正する部分倍率可変手段を備え、色ずれ検出手段の検出結果に基づく全幅倍率の補正を少なくともジョブ間に行ない、全幅倍率の基準値を設定するとともに、上記走査時間検出手段の検出結果により求められるジョブ中での上記基準値からのずれに基づいて、上記各区間での倍率を補正することを特徴とする。
請求項16記載の発明は、請求項14または15記載の発明において、照射位置可変手段、または部分倍率可変手段は、ページ間において照射位置、または各区間での倍率を補正することを特徴とする。
請求項17記載の発明は、請求項14または15記載の発明において、上記走査位置検出手段、または走査時間検出手段は、静電像の形成中の光ビームを検出することを特徴とする。
請求項18記載の発明は、請求項16または17記載の発明において、上記走査位置または走査時間の検出を、少なくとも複数回サンプリングすることによって行い、その平均値により照射位置または各区間での倍率を補正することを特徴とする。
請求項19記載の発明は、請求項13または14記載の発明において、上記走査位置検出手段は、走査方向に直行する第1の検知部とそれと非平行な第2の検知部からなる光検知手段を有し、一走査中の光ビームの検出時間差により走査位置を演算することを特徴とする。
請求項20記載の発明は、請求項13または14記載の発明において、上記照射位置可変手段は、上記光源からの光ビームの向きを可変する光軸変更手段を有することを特徴とする。
請求項21記載の発明は、請求項15記載の発明において、上記部分倍率可変手段は、上記走査時間検出手段の検出結果により求められた全幅倍率に基づいて、所定の重み付けにより区間毎の倍率の補正量を配分することを特徴とする。
請求項22記載の発明は、請求項15記載の発明において、上記部分倍率可変手段は、走査時間検出手段の検出結果により求められた全幅倍率に基づいて、あらかじめ全幅倍率に対応づけて記憶された区間毎の倍率変化を読み出し、補正することを特徴とする。
請求項23記載の発明は、請求項15記載の発明において、上記部分倍率可変手段は、上記光源手段を変調する基準クロックのパルス周期を、位相データにより指示する遷移タイミングで、区間毎に可変することにより倍率を補正することを特徴とする。
請求項1、2記載の発明によれば、副走査レジスト位置の補正を確実に行い、色ずれの少ない高画質の画像を得ることができる。
請求項3記載の発明によれば、レーザビーム走査位置の検出結果が副走査1ラインピッチ以上のときに画像形成処理は行わず走査位置可変手段により走査位置を再度可変するため、可変補正の異常による画像劣化を未然に防止し、色ずれの少ない高画質の画像を得ることができる。
請求項4記載の発明によれば、レーザビーム走査位置の検出結果が可変信号の可変量以上のときに画像形成処理は行わず、走査位置可変手段により走査位置を再度可変することにより、高精度な可変補正を可能にし、色ずれの少ない高画質の画像を得ることができる。
請求項5記載の発明によれば、走査位置可変手段の可変に要する時間を連続プリントのページ間における非画像形成時間よりも短くしているので、非画像形成時間に走査位置を可変することができ、ページ内の走査位置変化に伴う画像劣化を未然に防止して色ずれの少ない高画質の画像を得ることができる。
請求項6記載の発明によれば、非平行平板を移動させることにより、入射したレーザビームの光軸を変更して走査位置を可変するようにしたため、各色を個別にかつ簡単な構成で副走査レジスト位置の補正を実現することができ、色ずれの少ない高画質の画像を得ることができる。
請求項7〜9記載の発明によれば、レーザビーム走査位置の検出を色毎に高精度に行うことができ、かつ、レーザビームの光量の変化に対しても検出精度が劣化しないレーザビーム検出を可能にし、副走査レジスト位置の補正を確実に行うことができ、色ずれの少ない高画質の画像を得ることができる。
請求項13に記載の発明によれば、色ずれ検出手段の検出結果に基づいて静電潜像の書出し位置を補正する色ずれ補正手段を有する多色画像形成装置において、走査位置検出手段の検出結果に基づいて像担持体面上での照射位置を補正する照射位置可変手段を備え、色ずれ検出手段の検出結果に基づく書出し位置補正を少なくともジョブ間に行ない、書出し位置の基準値を設定するとともに、この基準値をジョブ中にわたって保持するように、上記走査位置検出手段の検出結果を基に照射位置を常時監視し、実時間での補正を繰り返し行なうようにしたため、ジョブ前に設定された初期値を安定的に維持することができ、1ジョブのプリント枚数が増えても途中で割り込みをかけられることもなく、生産性を落とすことがないうえ、最初から最後まで一様な画像品質を維持することができる。さらには、上記走査位置検出手段の基準値は、色ずれ検出手段の検出時に更新されるので、部品交換やメンテナンス等で経時的に走査位置検出手段の配置がずれたとしても、色ずれを発生することがない。
請求項14記載の発明によれば、色ずれ検出手段の検出結果に基づいて静電潜像の書出し位置を補正する色ずれ補正手段を有する多色画像形成装置において、走査位置検出手段と、照射位置可変手段とを備え、色ずれ検出手段の検出結果に基づく書出し位置補正を少なくともジョブ間に行ない、書出し位置の基準値を設定するとともに、走査位置検出手段の検出結果により求められるジョブ中での上記基準値からのずれに基づいて上記照射位置を補正するため、ジョブ中の走査位置のずれを検出し、例えばページ間等の短い繰り返し頻度で、ジョブ前に設定された初期値に修正することができ、ページ毎の副走査方向における走査位置ずれを小さく抑えることができ、生産性を落とすことなく一様な画像品質を維持することができる。さらには、走査位置検出手段の基準値は、色ずれ検出手段の検出時に更新されるので、部品交換やメンテナンス等で経時的に走査位置検出手段の配置がずれたとしても、色ずれを発生することがない。
請求項15記載の発明によれば、光走査手段と、現像手段と、転写手段と、色ずれ検出手段と、色ずれ検出手段の検出結果に基づいて光源手段を変調する基準クロックを可変する全幅倍率補正手段と、を有する多色画像形成装置において、光ビームの所定区間における走査時間を検出する走査時間検出手段と、走査時間検出手段の検出結果に基づき像担持体面上において複数に分割された走査領域の各区間での倍率を補正する部分倍率可変手段を備え、色ずれ検出手段の検出結果に基づく全幅倍率の補正を、少なくともジョブ間に行なって全幅倍率の基準値を設定し、上記走査時間検出手段の検出結果により求められるジョブ中での上記基準値からのずれに基づいて、上記各区間での倍率を補正するようにしたため、ジョブ中の全幅倍率のずれを、例えばページ間等の短い繰り返し頻度で、ジョブ前に設定された初期値に修正することができる。そのうえ全幅倍率のみならず中間像高の倍率まで揃えることができるので、ページ毎の主走査方向における走査位置のずれを小さく抑えることができ、生産性を落とすことなく一様な画像品質を維持することができる。さらには、上記走査時間検出手段の基準値は、色ずれ検出手段の検出時に更新されるので、部品交換やメンテナンス等で経時的に走査時間検出手段の配置がずれたとしても、色ずれを発生することがない。
請求項16記載の発明によれば、上記照射位置可変手段は、ページ間において照射位置を補正することにより、静電像形成中は走査線の間隔が変わることがないので、パルスモータ等で照射位置可変手段を段階的あるいは間欠的に動作させたとしても、画像上の濃度むらを発生させることがなく高品位な画像を形成することができる。また、走査位置検出に異常値があっても画像を劣化させることがない。
請求項17記載の発明によれば、上記走査位置検出手段は、静電潜像の形成と同時に光ビームの走査位置、または走査時間の検出を行なうことにより、走査位置検出、または走査時間の検出に余分な時間を取られることがなく、数百ライン以上の膨大な検出データから補正量を判別することができるので、走査位置、または走査時間検出の繰り返し精度が良くなくても、また、異常値が検出されたとしても、統計的処理により、走査位置、または走査時間のずれを正確に把握することができる。
請求項18記載の発明によれば、上記光ビームの走査位置の検出を少なくとも複数回サンプリングし、その平均値により照射位置、または各区間の倍率を補正するため、順次加算処理することによって、走査位置または走査時間の検出を行い、瞬時に補正量を設定でき、データを蓄積するための記憶手段が不要であり、ページ間等の短時間であっても、照射位置、または倍率のずれを正確に把握することができる。
請求項19記載の発明によれば、上記走査位置検出手段は、走査方向に直行する第1の検知部とそれと非平行な第2の検知部からなる光検知手段を有し、一走査中の光ビームの検出時間差により走査位置を演算することにより、走査領域の延長上に配備することができるので、静電潜像を形成する光ビームの走査位置ずれを確実に把握することができる。また、第1の検知部を書出しタイミング設定用の同期検知センサと共用することもでき、低コストで確実な検出を行うことができる。
請求項20記載の発明によれば、上記照射位置可変手段は、光源からの光ビームの向きを可変する光軸変更手段を有することにより、光源からポリゴンミラーに至る光路中に配備することで省スペース化を図ることができ、そのうえ、微小な可変量で走査領域の全域にわたって一様に走査位置を可変することができる。
請求項21記載の発明によれば、上記部分倍率可変手段は、上記走査時間検出手段の検出結果により求められた全幅倍率に基づいて、所定の重み付けにより各区間の倍率の補正量を配分することにより、全幅倍率のみの監視により各区間の倍率のずれを一義的に決定するので、各区間に、倍率のずれを計測するためのスペースを確保する必要はなく、計測するための時間がとられることもなく瞬時に補正量が決定されるので、ジョブ中であっても生産性を落とすことなく一様な画像品質を維持することができる。
請求項22記載の発明によれば、上記部分倍率可変手段は、上記走査時間検出手段の検出結果により求められた全幅倍率に基いて、あらかじめ全幅倍率に対応づけて記憶された各区間の倍率変化を読み出し、補正することにより、あらかじめユニット毎に特有の各区間の変動パターンを入力しておけば、全幅倍率のみの監視により各区間の倍率のずれを瞬時に判断でき、ジョブ中であっても生産性を落とすことなく一様な画像品質を維持することができる。
請求項23記載の発明によれば、上記部分倍率可変手段は、光源手段を変調する基準クロックのパルス周期を、位相データにより指示する遷移タイミングで、各区間で可変し倍率を補正することにより、全幅にわたって一様な基準クロックにて変調を行なっても、各区間の倍率を個別に可変することができ、基準クロックを全幅倍率が補正されるよう設定したうえで各区間の倍率を揃えることができる。
以下、本発明の実施例を、図面を参照しながら説明する。
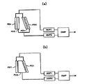
図1は、本発明の画像形成装置に用いられる光走査装置の例を示す。この光走査装置は、多色(カラー)画像形成装置用として4色すなわちイエロー、マゼンダ、シアン、ブラックに対応した4つの走査結像光学系をもち、各色に対応した画像信号で変調されたレーザビームがそれぞれのレーザビームに対応する感光体に集光する様子を示している。
図1において、符号10は、半導体レーザとカップリングレンズとシリンドリカルレンズとにより構成される光源部を示しており、この例では光源部10を4組有している。各半導体レーザから放射される光束は、カップリングレンズにより以後の光学系に適合する光束形態、例えば、平行光束あるいは弱い発散性もしくは集束性の光束に変換され、シリンドリカルレンズにより副走査方向にのみ集束されて、偏向走査手段であるポリゴンミラー12の偏向反射面近傍に、主走査方向に長い線像として結像される。光源部10を構成する4つの半導体レーザは、それぞれ、イエロー、マゼンタ、シアン、ブラックの各色成分画像を書込むための光束を放射する。
4つの光源部10から放射される4つのレーザビームのうち3つのレーザビームの光路上には非平行平板71、72、73が配置されている。非平行平板71、72、73は走査位置可変装置を構成する部材である。走査位置可変装置については、後でその組立体を示す図6を参照しながら詳細に説明するが、上記非平行平板71、72、73は入出射面の一面に対して他面を主走査方向にわずかに傾けたレーザ透過部材であり、少なくとも基準色を除く3つの光源部に配置されている。4つ全ての光源部10非平行平板を配置してもよい。その場合、基準色はどの色でも対応可能である。上記走査位置可変装置は非平行平板を光軸周りに回転制御することで各色の走査位置を任意に可変可能とし、その状態を保持する。
上記ポリゴンミラー12は図示されないポリゴンモータによって高速度で回転駆動され、ポリゴンミラー12の回転によりその偏向反射面が4色分のレーザビームを同一方向に水平面内において偏向する。偏向された4色分の光束は、走査結像光学系のfθレンズ群を構成する第一のレンズ14を透過する。第一のレンズ14の最も上寄りの位置を透過する光束を、ブラック成分画像を書込む光束であるとすると、この光束はミラー16Kで下向きに反射され、fθレンズ群を構成する第二のレンズ17Kを透過する。第二のレンズ17Kを透過した偏向光束の一部はハーフミラー19Kを透過し、一部はハーフミラー19Kによって反射され、ハーフミラー19Kを透過した光束は被走査面の実態を成すドラム状の光導電性の感光体20K上に光スポットとして集光し、感光体20Kの表面を矢印で示す感光体20Kの回転軸と平行な方向に光走査する。この走査方向を主走査方向という。ハーフミラー19Kで反射された光束は、走査始端側に配置されてレーザビームを検知するレーザビーム検出器P1Kと、走査終端側に配置されてレーザビームを検知するレーザビーム検出器P2Kの受光部に結像されるとともに、これらの受光部を走査する。なお、レーザビーム検出器は各々固定用基板B1,B2に実装固定されている。
fθレンズ群を構成する上記レンズ14、17Kの材質は、非球面形状が容易かつ低コストで得られるプラスチック材質からなる。具体的には、低吸水性で、高い光透過率、優れた成形性を持った材質が望ましく、例えば、ポリカーボネートやポリカーボネートを主成分とする合成樹脂が好適である。
イエロー、マゼンタ、シアンの各色成分画像を書き込む光束もそれぞれ上記ブラックの画像を書き込むための光学系と同様に構成される。すなわち、上記光束はfθレンズ群を構成する第一のレンズ14を透過した後、ミラーで反射され、fθレンズ群を構成する第二のレンズを透過し、ハーフミラーを透過しまた反射され、この透過光はドラム状の光導電性の感光体上に光スポットとして結像し、各色に対応した光束とも同一の前記矢印方向に走査される。この光走査により、各感光体に、対応する色成分画像の静電潜像が形成される。図1では、ブラック以外の各色に対応する光学素子等には符号を付していないが、ブラックの意味である「K」が番号後に付されている部品と同じ機能を果たす光学部品が、イエロー、マゼンタ、シアンに対応する画像を形成するために、ブラックに対応する光学部品と光学的な同位置に配置されている。
これら各感光体上に形成された静電潜像は、現像装置により対応する色のトナーで可視化され、中間転写ベルト21上に転写される。転写の際、各色トナー画像は互いに重ね合わせられカラー画像を構成する。このカラー画像はシート状記録媒体上に転写され、定着される。カラー画像転写後の中間転写ベルト21はクリーニング装置でクリーニングされる。
以上説明したように、図1は、カラー画像を構成する2以上の色成分画像に対応する複数の光源装置から放射された各光束を、偏向走査手段としてのポリゴンミラー12により同一方向に偏向走査し、走査結像光学系を介して被走査面である感光体上に各偏向光束を収束させかつ走査する光走査装置を示している。そして、各偏向光束のうち各色共通に透過する第一のレンズ14と、各々の走査結像手段に設けられた第二のレンズにより、各色成分画像に対応する被走査面に向かって個別的に集光させて光走査を行い、各色成分に相当する4つの走査結像手段を有している。
図1において、符号22、23、24は中間転写ベルト上における「色ずれ検出手段」を構成する検出部を示す。検出部22、23、24は、個別の光源からの光束を集光レンズで集光して中間転写ベルト21の定位置に照射して形成したパターンに発行素子などからなる光源から証明光を照射し、パターンからの反射光をレンズにより受光素子上に結像してパターン画像を検出するようになっている。色ずれ検出を行うときは、各光走査装置により1走査の中で感光体ドラムの両端、中央の3箇所部分に検知用のパターンを書き込み、トナーで現像可視化して中間転写ベルト21に転写し上記検出用のパターンを形成する。このとき、各色の検知用のパターンは、中間転写ベルト21上において互いに副走査方向に等間隔となるように形成される。これら検知用のトナーパターンは、これを色ずれ検出手段の各検出部22、23、24で検出することによって副走査レジスト位置のずれを検出する。検出されたレジスト位置ずれに基づいて走査位置を補正する。
走査位置補正について、図5に示すフローにしたがって詳述する。各動作ステップには、S1,S2,・・・のように符号を付す。まず、走査位置補正を開始するための条件となる画像形成時の連続プリント数および図示しない画像形成装置内の各部の上昇温度を予め設定しておく。画像形成時の連続プリント数があらかじめ定めた設定値を超えた場合、または画像形成装置内の各部の温度があらかじめ設定した温度の値まで上昇した場合に補正開始信号が出力され、上記のようにして転写ベルト上にトナーパターンを形成する。トナーパターンはブラック、シアン、マゼンタ、イエローの像を主走査方向から約45°傾けて、所定ピッチで並列させたシェブロンパッチと呼ばれるラインパターン群を形成する。このラインパターン群を前記各検出部22、23、24で検出する。各検出部の検出信号から、転写ベルトの移動に応じて基準色となる例えばブラックとの検出時間差を見ることによって色ずれを検出する(S2)。
上記色ずれ検出では、転写ベルト上のトナーパターンを検出し、基準となる色との副走査方向のレジストずれを色毎に演算する。演算した結果のうち1色でも副走査の1ラインピッチ(600dpiのときは42μm、1200dpiのときは21μm)を超える場合、光源の書出しタイミングを調整し補正する(S4)。また、上記演算の結果、第一の設定値(例えば、1ラインピッチの1/5)未満の場合、色ずれ許容値内と判断し走査位置補正は行わず(S3)、通常のプリント動作を継続する。
また、上記演算の結果、第一の設定値以上でありかつ1ラインピッチ以下の場合、その値に応じて走査位置可変手段である前記非平行平板71,72,73(図1参照)を回動し、走査位置を微動させて補正する(S5)。走査位置を移動するための可変信号は可変方向(副走査方向の上側か下側か)と可変量の2つの情報を有する信号から構成されている。走査位置を可変し補正するときの可変に要する時間は、連続プリントのページ間における非画像形成時間よりも短くなるように設定している。具体的には5ms/μm以下すなわち1μmの走査位置可変に要する時間が5ms以下の可変速度で動作するように設定している。この値は600dpiの1ラインピッチ42μm分を可変する場合でも、0.21s以下で可変できる性能であり、非画像形成時間が短い高速の画像形成装置であっても対応可能である。非画像形成時間に走査位置の可変を完了するので、ページ内の走査位置変化に伴う画像劣化を防止することができる。
次に、走査位置を可変した色の走査位置を画像形成前にレーザビーム検出器で検出する(S6)。その検出した結果が可変信号から与えられた可変量以上または第一の設定値以上であった場合、画像形成は行わず再度走査位置の可変動作(S5)を行う。ただし、このフローループ51は、設定された回数以上、または走査位置の可変補正動作を開始してから設定時間以上にまで達した場合、強制的に終了し、画像形成を実行することも可能としている。こうする目的は、画像形成装置のダウンタイムを極力低減するためである。なお、上記設定回および設定時間は予め設定するようにしてもよいし、外部から任意に設定するようにしてもよい。
ステップS6のビーム走査位置検出で検出した結果が、1ラインピッチ以上であった場合、走査位置可変装置の誤動作による過大可変やレーザビーム検出器の誤検知が考えられる。そこで、誤検知か否か判断するために再度レーザビーム検出器により検出を行いチェックする。同様な結果であれば、走査位置可変装置の誤動作による過大可変と判断し、1ラインピッチ以上の補正を行う書出しタイミングの調整ループ52へ移る(S4)。その後、再度トナーパターンによる検出を行い、その検出結果に応じて走査位置可変装置により走査位置を再度可変する。
なお、レーザビーム検出器によりビーム走査位置を常時検出し監視することにより、可変に伴う走査位置変化以外についても突発的な異常を検知できるので好適である。
図6に走査位置可変装置である非平行平板組立体の構成例を示す。図6において、非平行平板71はホルダ72の中央枠内に固定されている。ホルダ72は、内周部の略円筒面からなる受部73を形成した支持部材74によって保持されている。支持部材74は受け部73に切欠部73aを有し、ホルダ72の一対の鍔部76を切欠部73aに合わせて挿入し、ホルダ72を回転させることで鍔部76が支持部材74の裏側に引っ掛かり、ホルダ72が支持部材74に密着した状態で、かつ、円柱状の嵌合部75を基準にして、受部73に対し回転摺動可能に保持されている。支持部材74は、上記したように底面を基準に光学ハウジングにねじ止めされ、受部73の回動中心が光源ユニットの出射光軸と合うように高さHが各々設定されている。ホルダ72とともに非平行平板71が回動することによってビームの出射光軸をわずかに傾けることができる。ホルダ72の一端にはレバー部77が形成されている。支持部材74は庇状に形成された突出部に貫通穴80が形成され、この貫通穴80をステッピングモータ78の軸が貫通し、この軸の先端に形成された送りネジが上記ホルダ72のレバー部77に螺合している。したがって、ステッピングモータ78の回転駆動により送りネジが上下動し、その上下動に伴って非平行平板71を一体に有するホルダ72が回動可能となっている。この際のバックラッシュをとるため、ホルダ72のピン81と支持部材74のピン82との間にスプリング79により引張力をかけ、一方向に片寄せする構成としている。上記送りネジの上下動に対してホルダ72を回転可能とするために、例えば、上記レバー部77に、上記送りねじが螺合されるナットを傾くことができるように埋め込み、あるいは、上記送りねじとステッピングモータ78の軸とをユニバーサルジョイントなどで結合するとよい。
いま、非平行平板71回転(回動)角をγ、非平行平板71の頂角をε、光源装置のカップリングレンズの焦点距離をfc、光学系全系の副走査倍率をζとすると、感光体面での副走査位置の可変量Δyは、
Δy=ζ・fc・(n−1)ε・sinγ
nは非平行平板の屈折率
で与えられ、副走査位置の可変量として必要な100μm以内(600dpiの1ラインピッチの2倍程度、1200dpiの場合は50μm以内)では回転角に比例して可変できる。なお、好適な例として非平行平板71の頂角εは1〜5°とする。頂角εが1°未満の場合、回転角γに対する反応が鈍いため、ステッピングモータ78の回転駆動を長時間駆動する必要があり、可変時間が長くなる。また、上記頂角εが5°を超えると回転角γに対する反応が敏感になりすぎるため、可変量の分解能が低下する、といった不具合がある。
また、ホルダ72と支持部材74相互の回転摺動面の材質を、低摩擦係数、耐磨耗性の良好な材質、例えばポリアセタール、ポリイミド樹脂や潤滑性ニッケルメッキで構成し、非平行平板71の材質は、表面の平面度を100mR以上の高精度にすることが可能なガラスで構成することが好適である。なお、平面度を100mR以下で製作可能な樹脂材質を用いる場合、あえて100mR以下の円弧曲面形状としてもよい。その表面形状による光学的な劣化(像面位置の変動)が発生するが、非平行平板71を光軸方向の調整を付加することにより劣化を相殺し、安価な樹脂製の非平行平板を使用することができる。
次に、レーザビーム検出器について詳述する。図1に示す実施例ついて先に延べたように、レーザビーム検出器(図1では、一つの光走査装置のレーザビーム検出器にのみ符号P1K,P2Kを付している)に入射する走査ビームは、感光体20Kの画像領域内を走査するレーザビームと同じ光学レンズ、反射ミラー、ハーフミラーを透過、反射し、レーザビーム検出器へ到達して結像する。レーザビーム検出器へ導く専用の光学レンズや反射ミラーを用いていないため、走査光学特性は画像領域内と同じ特性となる。したがって、専用の光学レンズや反射ミラーで発生しがちな温度変化による光学特性の違いはなく、レーザビーム検出器の検出精度に影響を与えず、高精度なレーザビーム検出が可能となる。他の走査結像手段においても同様な構成でレーザビーム検出器が配置されている。
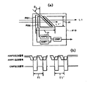
図2は、レーザビーム検出器の構成と検出信号を説明するための図である。同図(a)は検出器の構成、同図(b)は出力波形をそれぞれ示す。図2において、符号219はレーザビーム検出器、PD1は第1系統の受光素子、PD2は第2系統の受光素子、Dは最大素子幅(主走査方向の全幅)、Hは副走査方向の有効検出高さ、θは受光素子傾斜辺の角度、AMPは増幅器、CMPは比較器をそれぞれ示す。第1系統の受光素子PD1、第2系統の受光素子PD2は主走査方向に隣接して配置され、ともにレーザビームが通過する領域において互いに非平行に形成された2つの受光領域に分かれている。それぞれの受講領域は、受光素子PD1とPD2で隣接して配置され、隣接している端縁部は互いに平行に直線的に形成されている。各受光素子の2つの受光領域間の角度は角度θ(0<θ<90°)を持たせて配置されている。角度θは30°〜60°が好適である。図2および図3では角度θが45°の例を示しており、最も好適な例である。角度θが30°よりも小さいと、走査される2つのレーザビームの時間間隔T1、T1′の差が少なくなり検出感度が悪くなる。一方、角度θが60°を超えると、主走査方向の受光面の全幅Dに対する副走査方向の有効検出高さHが小さくなり、必要な有効検出高さHを確保するためには受光面の全幅Dが大きくなり、受光面が画像領域内に入りこむという問題、あるいは走査光学系の有効領域を広く設定する必要があり、走査レンズが長大化してしまうという問題がある。副走査方向の高さHと受光面の全幅Dは各々H=1〜3mm、D=5mm以下に設定することが、上記問題を発生させず好適である。なお、角度θが45°の場合、上記の問題をバランスよく配分し許容でき最も好適な値である。
2つの受光領域のうち一方をレーザビームの走査方向に対し垂直に形成すると、レーザビームが副走査方向にずれた場合であってもセンサ出力のタイミングが変化しないので、水平同期信号を得るのに好適である。
図2に示すレーザビーム検出器219、図3に示すレーザビーム検出器220は、図1に示すレーザビーム検出器P1KまたはP2Kに相当するもので、レーザビーム検出器P1KまたはP2Kは、図2、図3に示すような受光面形状をしており、また、図2、図3に回路ブロック図で示した回路構成の検出回路を有している。かかる機能を有するレーザビーム検出器が図1に示す基板B1またはB2に実装され固定されている。
受光素子PD1、PD2の出力信号をそれぞれ増幅器AMP1、AMP2により電流電圧変換と電圧増幅を行った後、比較器CMPにて電圧比較を行い、比較器CMPは増幅器AMP2の出力信号レベルが増幅器AMP1の出力信号レベルより低くなったときに信号を出力する。このように増幅器AMP1と増幅器AMP2のクロスポイントを検知しているので、レーザビームの光量が変化しても検出精度に影響を与えることがなく、高精度の検出が可能となる。そのために、2系統の受光素子の隣接部の間隔は通過するビームのスポットサイズより小さく設定している。
図2(b)は第一のレーザビームL1と第二のレーザビームL1′が受光素子PD1、PD2を通過したときのレーザビーム検出器の出力信号のタイミングチャートである。第一のレーザビームはビーム走査位置を検出するときの基準となるレーザビームである。例えば基準位置として予め工場出荷時や補正開始時のレーザビームの走査位置に相当する値を基準位置の情報として記憶させておく。第二のレーザビームは走査位置を検出するときのものである。
レーザビームの通過により2つのパルスが出力され、その2つのパルスの立下りから立下りまでの時間間隔(T1あるいはT1′:T1はL1、T1′はL1′に対応)はレーザビームが走査される副走査方向の位置に依存する。2つのレーザビームの時間間隔がT1、T1′のときレーザビームの走査位置ΔPは以下の式(1)から求められる。
ΔP=v×(T1′−T1)/tanθ ・・・・式(1)
ここで、vは走査されるレーザビームの速度を表す。
走査位置ΔPは演算手段により、走査位置の変化方向(ΔPの正負符合により識別)と変化量を演算する。実施例のようにL1に対してL1′が下方を走査する場合、ΔPは正となる。
なお、色毎の画像信号に対応してレーザビームが複数の場合、レーザビーム検出器を走査するときのみ1つのレーザビームが走査するように、他のレーザビームはその時のみ検知しない程度に減光または消光する。複数のレーザビームがレーザビーム検出器内を走査してしまうと検出値が誤った結果を出力するからである。
走査されるレーザビームの速度v、および各受光素子の2つの受光領域間の角度θは、画像形成中およびレーザビーム検出時は実質的に定数であるため、実際の演算では(T1′−T1)を行い、その結果を用いて副走査間隔の補正を実施している。また、(T1′−T1)が少なくともジョブ中は一定となるように、前述の走査位置可変装置を用いて走査位置を可変することにより、各色画像の副走査方向のレジスト位置を補正しかつ位置がずれないようにしている。
上述の場合、たとえばポリゴンミラーのジターにより走査特性に変化が生じると、受光面の同一部分を走査しても異なる走査時間として計測され、あたかも副走査方向の走査位置が変化したものと誤認される恐れがある。そこで、ポリゴンミラーによる走査の回数を下記の回数で平均化する回路を備えることにより、ポリゴンミラーのジターの影響を低減することができる。レーザビームの走査回数をC[回]、ポリゴンミラーの回転数をN[rpm]、ポリゴンミラー面数をM[面]、画像形成終了後、次の画像形成開始までの非画像形成時間をT[s]としたとき、式(2)を満足するように設定している。
C<(N×M×T)/60 ・・・・式(2)
ポリゴンミラーの任意の特定面を走査するときの(T1′−T1)情報を得ることにより、上記式の右辺を
(N×T)/60
としてもよい。特定面の情報を得る方法として、面数に応じて、データをカウントしない方法、すなわち、6面の場合であれば、任意の1面を第1面と仮定してこれを特定面とし、第2〜第5面のデータをカウントしない方法を採ればよい。こうすることによって、ジターの影響を一層小さくすることができる利点がある。
ポリゴンミラーのジターの影響を低減するために、少なくとも走査回数Cは2以上の複数回とし、平均化処理する必要がある。電気ノイズの影響を考慮すると、走査回数が多いほど精度が向上する。ただし、増加した走査回数は、画像形成装置における一つの画像形成(光走査装置の光源を画像信号に基づいて発光制御している時間)と次(ページ)の画像形成との間となる非画像形成時間(プリントページ間)内で走査される回数以下とすることが好適である。その理由は、画像形成が完了した直後のレーザビームを検知することにより、その結果に基づいて直後の画像形成時にレーザビームの走査位置を補正することが可能となるからである。したがって、より望ましくは、式(2)の左辺はFをレーザビームの走査位置補正が完了するまでの時間に対応する走査回数として「C+F」とするのが好適である。レーザビームの検知を非画像形成時間としているので、画像領域内のレーザビーム検知に支障をきたすことがない。ハーフミラーで画像形成時に画像領域内のレーザビームを検知する場合、画像信号を含んだレーザビームとなり、レーザビーム検出器内を走査する連続点灯された走査ビームではなくなるため、レーザビームの安定した検出ができなくなる。レーザビーム検出器の受光面の範囲Dは、走査レーザビームが連続点灯している必要がある。
また、主走査方向の走査時間の検出精度に影響を与える光学レンズのfθ特性の温度変動については、事前に温度変化による走査時間の変化量を算出しておき、光学レンズの近傍に配置した温度センサの温度結果に応じて、計測された走査時間の補正を行うことが好適である。
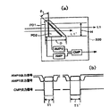
図3は、レーザビーム検出器の他の実施形態を示すもので、(a)は検出器の構成を、(b)は出力波形をそれぞれ示している。図3において符号220は検出器を示す。本実施形態では、第1系統の受光素子PD1は、図2に示す実施形態の構成と同様、1個の受光素子でありながらレーザビーム通過領域においては2つの受光領域に分かれている。一方、第2系統の受光素子PD2は、レーザビーム通過領域において1個の受光領域のみを有している。この場合でも受光素子PD1とPD2の隣接端縁は互いに平行に形成されている。したがって、受光素子PD2は実質的に3角形状を呈している。図3に示す検出器の構成の場合、比較器CMPからの検出信号出力は、1つのレーザビームの走査に対して1つのパルスが出力され、パルス幅(T1またはT1′)が副走査方向の走査位置に依存する。演算式は式(1)と同じなので省略する。
図4はレーザビーム検出器のさらに他の実施形態を示す。図4(a)は、第1系統の受光素子PD1、第2系統の受光素子PD2ともに、2個の素子に分割され2個の受光領域を形成している例を示している。第1系統の受講領域は電気的に接続され、第2系統の受光領域も電気的に接続されて、それぞれの受講領域があたかも1つの受光素子であるかのように扱われる。したがって信号処理は図2に示す実施形態の場合と全く同じになる。図4(b)は、第1系統の受光素子PD1のみが上記(a)と同様に2個の素子に分割され、電気的に接続されている。第2系統の受光素子PD2は図3に示す実施形態と同様に3角形状になっていても差し支えないが、走査線が上方に寄ったとき、第2系統の受光素子PD2からの出力時間が極端に短くなるのを避けるため、図4(b)のように、台形状に形成するのも良い方法である。
また、画像領域内の光量とレーザビーム検出器に必要な光量が異なる場合、レーザビーム検出器によって検知する時のみ光源の出力を調整することにより、検知精度の低下を防止することが可能となる。
図1に示す実施例では、レーザビーム検出器P1K、P2Kが固定される基板B1,B2は別部材で構成されているものとして示しているが、温度が50℃以上の高温に曝される場合、または各色部に配置されているレーザビーム検出器の温度差が5℃以上ある場合、固定基板は同一の基板上に配置することが好適である。温度変動があると、レーザビーム検出器の移動、および相対位置関係の移動により正確な検出ができなくなるので、固定基板は熱膨張率1.0×10−5/℃以下の材質を用い、温度変動による影響を実質的になくしている。さらに複数のレーザビーム検出器間に発生する電気ノイズの影響をなくすために、固定基板は非導電性で有ることが好適である。具体的にはガラス(熱膨張率0.5×10−5/℃)、セラミック材質(アルミナ:熱膨張率0.7×10−5/℃、炭化珪素:熱膨張率0.4×10−5/℃)が好適である。なお、アルミ合金(熱膨張率2.4×10−5/℃)では、温度変動によりレーザビーム検出精度が劣化する。
図7に、以上説明した光走査装置を搭載した画像形成装置の例を示す。図1に示す光走査装置を単一の光学ハウジングに収納してなる光走査装置105が、多色画像形成装置内に配置されている。光走査装置105は図7に示した画像形成装置内の4つの感光体20Y、20M、20C、20K(以下、符号に対する添字Y,M,C,Kを適宜付け、Y:イエロー、M:マゼンダ、C:シアン、K:ブラックの色に対応する部分として区別するものとする。)が並設された作像部の上方に配置されている。
図7に示す多色画像形成装置は、複数の感光体20Y、20M、20C、20Kを並列に配置したタンデム型のカラー画像形成装置である。装置上部から順に光走査装置105、現像装置106、感光体103、中間転写ベルト21、定着装置114、給紙カセット111がレイアウトされている。中間転写ベルト21には各色に対応したドラム状の感光体20Y、20M、20C、20Kがこの並び順に等間隔で配設されている。感光体20Y、20M、20C、20Kは同一径に形成されたもので、その周囲には電子写真プロセスを所定の順序で実行するためのユニットが順に配設されている。感光体20Yを例に説明すると、帯電チャージャ(図示しない)、光走査装置105から出射された画像信号に基づくレーザビームLYの照射による露光部、現像装置106Y、転写チャージャ(図示しない)、クリーニング装置(図示しない)等が順に配設されている。他の感光体20M、20C、20Kに対しても同様に各ユニットが配置されている。すなわち、本実施の形態では、感光体20Y、20M、20C、20Kを色毎に配設し、各感光体表面を被走査面とするものであり、光走査装置105から偏向されつつ出射されるレーザビームLY、LM,LC、LKが、各々のレーザビームに対応する感光体の表面を走査するように設けられている。
感光体20Yの例を挙げて画像形成動作を説明する。帯電チャージャにより一様に帯電された感光体20Yは、その表面がレーザビームLYで主走査され、また、矢印Aで示す半時計方向に回転することによって副走査されることにより、感光体20Y上に静電潜像が形成される。また、光走査装置105によるレーザビームLYの照射位置よりも感光体の回転方向下流側(前側)には、感光体20Yにトナーを供給する現像器106Yが配設され、イエローのトナーが供給される。現像器106Yから供給されたトナーは、静電潜像が形成された部分に付着し、トナー像が形成される。同様に感光体20Y、20M、20C、20Kには、それぞれM、Y、Kの単色トナー像が形成される。感光体20Yの現像器106Yの配設位置よりもさらに回転方向下流側には、中間転写ベルト21が配置されている。中間転写ベルト21は、複数のローラ102a、102b、102cに巻付けられて支持され、図示しないモータの駆動により矢印B方向に移動搬送されるようになっている。この搬送により、中間転写ベルト21は感光体20Y、20M、20C、20Kとの対向面がこの順に移動するようになっている。中間転写ベルト21は、感光体20Y、20M、20C、20Kで現像された各単色画像を順次重ねあわせて転写し、中間転写ベルト21上に多色(カラー)画像を形成するようになっている。中間転写ベルト21上のカラー画像は、給紙トレイ111から1枚ずつ引き出され、矢印C方向に搬送される転写紙に転写される。カラー画像が形成された転写紙は、定着器114により定着処理された後、フルカラー画像として排紙される。
次に、本発明にかかる光走査装置の別の実施例について説明する。図8は4ステーションを走査する光走査装置の実施例で、2ステーションずつ2分し、光偏向器をなす単一のポリゴンミラーの、互いに対向する側からビームを入射して、相反する方向に偏向、走査する対向走査方式の例を示している。4つの感光体ドラム101、102、103、104は転写体としての転写ベルト105の移動方向に沿って等間隔で配列され、それぞれ異なる色のトナー像が形成される。各感光体ドラムに形成された異なる色のトナー像は転写ベルト105に順次転写され重ね合わせられることでカラー画像を形成する。
図7に示す例で説明したように、各感光体ドラムを走査する光走査装置は一体的に構成され、光走査装置が有するポリゴンミラー106により4つの光ビームを走査する。ポリゴンミラー106の回転方向は同一であるので、走査方向は対向する側で相反する方向となり、一方の書出し位置ともう一方の書き終わり位置とが一致するように画像を書き込んでいく。また、図8に示す実施例では、各感光体に対して半導体レーザを一対配備し、副走査方向に記録密度に応じて1ラインピッチ分ずらして走査することにより、2ラインずつ同時に走査するようにしている。
各光源ユニットからのビーム201、202、203、204は、光源ユニット毎に射出位置が副走査方向に異なる部位、実施例では光源ユニット107、108と109、110との射出位置が所定高さ、実施例では6mm、だけ異なるよう配備されている。光源ユニット108と109からのビームは入射ミラー111、112により折り返され、直接ポリゴンミラー106へと向かい、光源ユニット107と110からのビームに主走査方向を近接させてポリゴンミラー106に入射される。
シリンダレンズ113、114、115、116は、一方を平面、もう一方を副走査方向に共通の曲率を有し、ポリゴンミラー106の偏向点までの光路長が等しくなるように配備してある。各光ビームはポリゴンミラー106の偏向反射面付近で主走査方向に線状となるように収束され、後述するトロイダルレンズとの組み合わせで、偏向点と感光体面上とが副走査方向に共役関係とすることで面倒れ補正光学系をなす。
非平行平板117、118、119は、いずれか一面を主または副走査方向にわずかに傾けたガラス基板であり、基準色を除くステーション(実施例では、光源ユニット109からのビーム以外)に配備され、光軸周りに回転制御することで各走査位置を安定的に保持する。
ポリゴンミラー106は6面ミラーで、実施例では2段に構成され、偏向に用いていない中間部をポリゴンミラーの内接円より若干小径となるように溝を設けて風損を低減した形状としている。偏向反射面の1層の厚さは約2mmである。なお、上下の偏向反射面の位相は同一である。
fθレンズ120、121も2層に一体成形、または接合され、各々、主走査方向にはポリゴンミラーの回転に伴って感光体面上でビームが等速に移動するようにパワーを持たせた非円弧面形状となっている。fθレンズ120、121は、ビーム毎に配備されるトロイダルレンズ122、123、124、125との協働により各ビームを感光体面上にスポット状に結像し、潜像を記録する。
各色の画像を形成する各ステーションは、ポリゴンミラーから感光体面に至る各々の光路長が一致するように、また、等間隔で配列された各感光体ドラムに対する入射位置、入射角が等しくなるように複数枚、実施例では1ステーションあたり3枚ずつ、の折り返しミラーが配置されている。色ステーション毎に光路を追って説明すると、光源ユニット107からのビーム201は、非平行平板117、シリンダレンズ113を介し、ポリゴンミラー106の上段で偏向された後、fθレンズ120の上層を通過し、折り返しミラー126で反射されてトロイダルレンズ122を通過し、折り返しミラー127、128で反射されて感光体ドラム102に導かれ、第2のステーションとしてマゼンタ画像を形成する。光源ユニット108からのビーム202は、非平行平板118、シリンダレンズ114を介して、入射ミラー111で反射されポリゴンミラー106の下段で偏向された後、fθレンズ120の下層を通過し、折り返しミラー129で反射されてトロイダルレンズ123を通過し、折り返しミラー130、131で反射されて感光体ドラム101に導かれ、第1のステーションとしてイエロー画像を形成する。
ポリゴンミラー106に対称に配備されて上記ステーションに対向するステーションについても同様で、光源ユニット109からのビーム203は、入射ミラー112を介してポリゴンミラー106の下段で偏向され、折り返しミラー132、133、134で反射されて感光体ドラム104に導かれ、第4のステーションとしてブラック画像を形成する。また、光源ユニット110からのビーム204は、ポリゴンミラー106の上段で偏向され、折り返しミラー135、136、137で反射されて感光体ドラム103に導かれ、第3のステーションとしてシアン画像を形成する。
図10、図11には、トロイダルレンズの支持筐体の構成を示す。トロイダルレンズ305は、樹脂製で、レンズ部を囲うようにリブ部306が形成され、中央部には位置決め用の突起307が形成されている。トロイダルレンズ305は支持板301によって支持される。支持板301は板金加工によりコの字状に形成され、トロイダルレンズ305の突起307を、立曲げ部に形成した切欠316に係合し、また、リブ部306の下面を立曲げ部310に突き当てて位置決めし、一対の板ばね303によりリブ部306の上面より付勢してトロイダルレンズ305の両端を保持する。板ばね303はトロイダルレンズ305を支持板301に重ね合わせた状態で外側よりはめ込み、一端を開口313から内側に出し、開口314に挿入して固定する。
支持板301の中央部にはねじ穴312に調節ねじ308を螺合し、板ばね302を同様に外側よりはめ込んで下側リブ部306の内側に引っ掛けて同様に固定し、調節ねじ508の先端にリブ部306の下面が確実に当接するように付勢する。板ばねの穴319は調節ねじ308を貫通する穴である。トロイダルレンズ305は長尺で、剛性が低いため、わずかな応力が加わるだけで変形(反り)を生じ易く、また、周囲温度の変化に伴って上下に温度分布があると熱膨張差によっても変形してしまう。しかし、上記のように支持板301に沿わせることで形状を安定的に保ち、後述する傾け調整の際に局部的に応力が加わってもトロイダルレンズ305を変形させることがない(母線の直線性を保持する)ようにしている。
トロイダルレンズ305を装着した支持板301は、レンズ中央部に形成された突起318をハウジング側に設けられた凹部309に嵌合して位置決めを行ない、図10、図11において上向きに付勢するよう両端のハウジング取付面との間に板ばね304を架橋して支持する。一端側には、支持板301に形成した嵌合穴316をシャフトが貫通してステッピングモータ315が固定されている。ステッピングモータ315のシャフト先端に形成された送りねじを可動筒317のねじ穴に螺合し、可動筒317の先端をハウジング受け面に突き当てることで、ステッピングモータ315の回転により副走査方向(トロイダルレンズの高さ方向)に変位可能としている。これにより、ステッピングモータ315の正逆回転に追従してトロイダルレンズ305は光軸と直交する面内で突起318の係合部を支点として回動調節することができる。この回動調節方向を矢印γで示している。この回動調節に伴って副走査方向におけるトロイダルレンズ305の母線が傾き、トロイダルレンズ305の結像位置としての走査ラインが傾けられる。基準となる第4のステーションを除く他のステーションのトロイダルレンズに回転支点端の方向を揃えて配備される。
図11はトロイダルレンズ305の装着状態を光軸方向からみた図である。トロイダルレンズ305は両端を立曲げ部310の縁、中央を調節ねじ308の先端で支持され、調節ねじ308の突出し量が立曲げ部310に足りない場合には、トロイダルレンズの母線312が下側に凸となるよう反る。逆に突出し量が超えると上側に凸に反る。従って、これらの調節ねじを調整することによってトロイダルレンズの焦線が副走査方向に湾曲され、走査ラインの曲がりが補正できる。一般に、走査ラインの曲がりは光学系を構成する光学素子の配置誤差や成形時の反り等に起因し、これをキャンセルする方向にトロイダルレンズ305を湾曲させることによって直線性を矯正する、あるいは、各走査ライン間の湾曲の方向と量を揃えることができる。
なお、上記した調節ねじは主走査方向に沿った複数箇所に配備してもよく、中央部と立曲げ部310との中間の計3箇所に配備することにより、M型やW型の曲がりについても補正が可能となる。図8に示す実施例では、基準となる第4のステーションを含めた全てのトロイダルレンズに配備され、製造時にその他のステーションの走査ラインを基準となる走査ラインの曲がりの方向と量とに揃うように合わせており、この状態を保ったまま、上記した傾き調整を行うことができるようにしている。
図8において、感光体ドラムの画像記録領域の走査開始側および走査終端側には、フォトセンサを実装した基板138、139および140、141が配備され、各ステーションにおいて走査されたビームを検出するようになっている。図示の実施例では、基板138、140は同期検知センサとなし、この検出信号を基に各々書き込み開始のタイミングをはかるよう共用している。一方、基板139、141は終端検知センサをなし、同期検知センサとの検出信号の時間差を計測することで走査速度の変化を検出し、検出された走査速度の変化に対して、各半導体レーザを変調する画素クロックの基準周波数を反比例倍して再設定することで、各ステーションによって記録された画像の転写ベルト上での全幅倍率を安定的に保持するように構成されている。
また、いずれかのセンサを図12に示すように主走査方向に垂直なフォトダイオード152と非平行なフォトダイオード153とで構成することにより、フォトダイオード152からフォトダイオード153に至る時間差Δtを計測することで、光ビームの副走査位置のずれΔyを検出することができる。副走査位置のずれΔyはフォトダイオード153の傾斜角γ、光ビームの走査速度Vを用いて
Δy=(V/tanγ)・Δt
で表され、実施例では、Δtが常に一定となるように、後述する光軸偏向手段を用いて保持することにより、各色画像の副走査レジストがずれないよう照射位置を補正している。
図9は、一つの光源ユニットの例を示す分解斜視図である。図8に示す実施例において、全ての光源ユニットは同一構成である。図9において、半導体レーザ301、302およびカップリングレンズ303、304は、各色走査手段に、射出軸に対して主走査方向に対称に配備され、各半導体レーザはパッケージの外周を各ベース部材305、306に裏側より圧入され、ホルダ部材307の裏面に、各々3点を表側から貫通したねじを螺合して当接させて保持している。カップリングレンズ303、304はホルダ部材307に相反する方向に開くよう形成したV溝部308、309に外周を突き当て、板ばね310、311により内側に寄せてねじ固定されている。この際、半導体レーザの発光点がカップリングレンズの光軸上になるように、ベース部材の当接面(光軸に直交する面)上での配置を、また、カップリングレンズからの射出光が平行光束となるようV溝上(光軸上)での位置を調節して固定している。各々の射出光の光軸は射出軸Cに対して互いに交差する方向となるよう傾けられている。実施例ではこの交差位置をポリゴンミラー反射面の近傍となるように支持部材の傾斜を設定している。
駆動回路が形成されたプリント基板312はホルダ部材に立設した台座にネジ固定により装着し、各半導体レーザのリード端子をスルーホールに挿入してハンダ付けすることで光源ユニット300が一体的に構成されている。光源ユニットは、ハウジングの壁面に高さを異ならしめて形成した係合穴に各ホルダ部材の円筒部313を挿入して位置決めし、当接面314を突き当ててネジ止めされる。この際、円筒部を基準として傾け量γを調整することで、ビームスポット間隔を記録密度に応じた走査ラインピッチPに合わせることができる。
次に、図13を用い、書込制御回路の動作について説明する。画素クロック生成部401は、高周波クロック生成回路402、カウンタ403、比較回路404、画素クロック制御回路を有してなる。カウンタ403では、高周波クロック生成回路402で生成された高周波クロックVCLKをカウントし、比較回路404ではこのカウント値と、デューティ比に基づいてあらかじめ設定される設定値L、および画素クロックの遷移タイミングとして外部から与えられ、位相シフト量を指示する位相データHとを比較し、カウント値が上記設定値Lと一致した際に画素クロックPCLKの立下りを指示する制御信号lを画素クロック制御回路に出力し、位相データHと一致した際に画素クロックPCLKの立上がりを指示する制御信号hを画素クロック制御回路に出力する。この際、カウンタ403は制御信号hと同時にリセットされ再び0からカウントを行なうことで、連続的なパルス列を形成することができる。こうして、1クロック毎に位相データHを与え、順次パルス周期が可変された画素クロックPCLKを画素クロック制御回路が生成する。実施例では、画素クロックPCLKは、高周波クロックVCLKの8分周とし、1/8クロックの分解能で位相が可変できるようにしている。
図14は、1/8クロックだけ位相を遅らせた例を示す。デューティ50%とすると設定値L=3が与えられ、カウンタ403で4カウントされ画素クロックPCLKを立ち下げる。1/8クロック位相を遅らせるとすると位相データH=6が与えられ、7カウントで立上げる。同時にカウンタがリセットされるので、4カウントで再び立ち下げる。つまり、隣接するパルス周期が1/8クロック分縮められたことになる。こうして生成された画素クロックPCLKは、光源駆動部405に与えられ、画素クロックPCLKを基準に、画像処理部406により読み出された画像データを各画素に割り当てて変調データを生成し、半導体レーザを駆動する。このように位相をシフトする画素を所定間隔で配置することによって、走査方向に沿った部分的な倍率誤差の歪を補正することができる。
実施例では、図16に示すように主走査領域を複数の区間に分割し、分割区間毎に位相をシフトする画素の間隔とシフト量を以下に示す如く設定し、位相データとして与えている。いま、主走査位置xに対する倍率の変化をL(x)とすると、ビームスポット位置ずれの変化M(x)はその積分値で表される。
M(x)=∫L(x)Dx
分割区間の始点と終点でビームスポット位置ずれが0となるように補正することを想定すると、任意の分割区間の倍率の変化に伴う分割区間幅のずれをΔm、位相シフトの分解能をσ(一定)、分割区間内の画素数をNとすると、位相をシフトする画素の間隔は、
D≒N/(Δm/σ)
但し、Dは整数で示され、D画素毎にσずつ位相をシフトすればよい。
上記実施例では、σは1/8画素となる。従って、この場合、分割区間のちょうど中間位置でビームスポット位置ずれ残差が最大となるが、この残差が許容範囲内となるように各分割位置、分割区間の数を決めてやればよい。
図15は、実施例におけるビームスポット位置ずれ制御を示すブロック図である。一般に、各色画像の重ね合わせ精度は、前記転写ベルト105上に形成したトナー像の検出パターンを読み取ることで、主走査倍率、副走査レジスト、走査ラインの傾きを、基準となるステーションからのずれとして検出し、定期的に補正制御が行なわれている。補正制御は、例えば、装置の立ち上げ時やジョブ間等のタイミングで行ない、1ジョブのプリント枚数が多くなる場合には、その間の温度変化によるずれを抑えるために、途中で割り込みをかけて補正がかけられる。
図8において、上記検出手段は、照明用のLED素子154と反射光を受光するフォトセンサ155、および一対の集光レンズ156とからなる。実施例では、画像の左右両端2ヵ所に配備され、ブラック、シアン、マゼンタ、イエローのトナー像を主走査方向から約45°傾けて、所定ピッチで並列させたシェブロンパッチと呼ばれるラインパターン群を形成し、転写ベルトの移動に応じて基準色であるブラックとの検出時間差を読み取っていく。
図18は、その一例を示しており、転写体の移動に沿って検出ライン上のトナー像を読み取るようになっている。図18において、紙面上下方向が主走査方向に相当し、左からイエロー、マゼンタ、シアン、ブラック、シアン、マゼンタ、イエローの順に形成したラインパターンにより、基準色であるブラックとの検出時間差tyk、tmk、tckの理論値との差より各色の副走査レジストを、また、傾き角の異なる一組のラインパターンの検出時間差tk、tc、tm、tyの理論値との差より各色の主走査レジストのずれを求める。走査ラインの傾きずれについては、両端の副走査レジスト差より求め、上記したトロイダルレンズの傾き調整手段を駆動し補正する。
副走査レジストについては、各検出値の平均より求め、ポリゴンミラー1面おき、つまり1走査ラインピッチPを単位として副走査方向における書出しタイミングを合わせる。さらに、昨今のカラー画像への要求品質の高まりに伴い1走査ラインピッチP以下の精度でレジストずれを合わせる必要があるため、後述する光軸変更手段を用いて照射位置を微調整することで、トナー像によって検出された副走査レジストずれのうち、書出しタイミングによって補正できない1走査ラインピッチP以下の余分をも補正できるようにし、照射位置の基準値(初期値)を設定する。
一方、ページ間においては、上記したようにフォトダイオード152、153を用い、画像記録中に蓄積された計測値を基に設定された基準値との差分をフィードバック補正することにより、次のトナーパッチでの定期補正時期まで、基準値を安定的に保つことができる。なお、この基準値は一定値である必要はなく、例えば、転写体の速度変動に対応して周期的に変化する値としてもよい。
主走査倍率については、両端の主走査レジストレジスト差より求め、各半導体レーザを変調する画素クロックの基準周波数と同期検知信号からのタイミングを調整することで、画像の全幅と書出し位置を揃える。ページ間においては、上記したように同期検知信号と終端検知信号との検出時間を基に、倍率変化を常に監視し、温度変化があっても全幅が変化しないように基準周波数を補正するとともに、中間像高においても倍率の歪みが生じないように、あらかじめ、温度変化に伴って生じる各分割区間毎の倍率変化を予測して重み付けられた位相データを、全幅倍率の可変量に対応してデータテーブルより読み出し、主走査方向の全域に渡って倍率が均一になるようにしている。
図17は各分割区間a〜hにおける温度に対する倍率の変化を示すが、全幅の倍率変化に比例して変化しており、全幅倍率の計測値を基に各分割区間の倍率変化に分配できる。
このように、実施例では、トナー像検出による定期的な補正に加え、ジョブ中の変動を監視し、ページ間でも補正をかけることで、ジョブ中においてもわざわざプリント動作を中断することなく各色画像の重ね合わせ精度が保たれるようにしている。
図8に示す実施例も、図1に示す実施例と同様に、非平行平板を含む走査位置可変手段を有している。この走査位置可変手段の構成は図6を参照してすでに説明した走査位置可変手段と同じ構成であるから、説明は省略する。
図19は、上記光走査装置を搭載した画像形成装置の例を示す。図19において、感光体ドラム901の周囲には感光体を高圧に帯電する帯電チャージャ902、光走査装置900により記録された静電潜像に帯電したトナーを付着して顕像化する現像ローラ903、現像ローラにトナーを補給するトナーカートリッジ904、ドラムに残ったトナーを掻き取り備蓄するクリーニングケース905が配置される。感光体ドラムへは上記したようにポリゴンミラー1面毎の走査により複数ライン、実施例では5ライン同時に画像記録が行われる。上記した画像形成ステーションは転写ベルト906の移動方向に並列され、イエロー、マゼンタ、シアン、ブラックのトナー画像が転写ベルト906上にタイミングを合わせて順次転写され、重ね合わされてカラー(多色)画像が形成される。各画像形成ステーションはトナー色が異なるだけで、基本的には同一構成である。
記録紙は給紙トレイ907から給紙コロ908により供給され、レジストローラ対909により副走査方向の記録開始のタイミングに合わせて送りだされ、転写ベルト906よりカラー画像が転写され、定着ローラ910で定着して排紙ローラ912により排紙トレイ911に排出される。
本発明にかかる光走査装置の実施例を示す斜視図である。 上記実施例におけるレーザビーム検出器の例を示すもので、(a)は検出器の構成を示す正面図、(b)は出力波形を示す波形図である。 上記実施例におけるレーザビーム検出器の別の例を示すもので、(a)は検出器の構成を示す正面図、(b)は出力波形を示す波形図である。 上記実施例におけるレーザビーム検出器のさらに別の例を示すもので、(a)(b)は検出器の互いに異なった構成例を示す正面図である。 上記実施例の走査位置補正動作の例を示すフローチャートである。 上記実施例中の走査位置可変手段の例を示す分解斜視図である。 上記光走査装置を有する多色画像形成装置の実施例を概念的に示す正面図である。 本発明にかかる光走査装置の別の実施例を示す斜視図である。 上記実施例中の一つの光源ユニットの例を示す分解斜視図である。 上記実施例中のトロイダルレンズの支持筐体の構成例を示す分解斜視図である。 同上トロイダルレンズの支持筐体の正面図である。 上記実施例に用いることができるレーザビーム検出器の例を示す正面図である。 上記実施例中の書込制御回路の例を示すブロック図である。 上記書込制御回路の動作を示すタイミングチャートである。 上記実施例におけるビームスポット位置ずれ制御を示すブロック図である。 上記実施例において主走査領域を複数の分割区間毎に位相をシフトしたときの画素の間隔とシフト量を示す波形図である。 上記各分割区間における温度に対する倍率の変化を示すグラフである。 色ずれ検出のためのラインパターン群の例を示す正面図である。 光走査装置を搭載した画像形成装置の別の例を示す正面図である。
10 光源部
12 偏向走査手段
14 fθレンズ群を構成するレンズ
20K 感光体
21 転写ベルト
22 色ずれ検出手段
71 非平行平板
P1K レーザビーム検出器
P2K レーザビーム検出器

Claims (23)

  1. 複数の色の画像信号に基づき各画像信号ごとに変調されたレーザビームを出射する複数の光源と、各光源からのレーザビームを偏向走査手段により像担持体面に走査して潜像を形成する光走査手段と、上記潜像を顕像化して画像を形成する多色画像形成装置において、
    顕像化された各色に対応する画像間の位置ずれを検出する色ずれ検出手段と、上記レーザビームの走査位置を検出するレーザビーム検出器と、レーザビームの走査位置を副走査方向に可変する走査位置可変手段とを有し、
    上記レーザビーム検出器は、検出した色ずれ量に応じて、上記走査位置可変手段にレーザビームの走査位置を可変する可変信号を出力するとともに、画像形成前に各色に対応したレーザビーム走査位置を再度検出し、
    上記走査位置可変手段は、上記レーザビーム検出器による上記再度の検出結果が設定値以上のとき、画像形成処理を行うことなく走査位置を再度可変することを特徴とする多色画像形成装置。
  2. 上記走査位置の可変信号は、可変する方向と可変量の2つの情報を有する信号からなることを特徴とする請求項1記載の多色画像形成装置。
  3. 上記設定値は、副走査方向の1ラインピッチに相当する値であることを特徴とする請求項1記載の多色画像形成装置。
  4. 上記設定値は、走査位置可変信号の可変量に相当する値であることを特徴とする請求項1記載の多色画像形成装置。
  5. 上記走査位置可変手段の可変に要する時間は、連続プリントのページ間における非画像形成時間よりも短いことを特徴とする請求項1記載の多色画像形成装置。
  6. 上記走査位置可変手段は、光源と偏向走査手段との間に配置された非平行平板からなり、非平行平板を移動させることにより、入射したレーザビームの光軸を変更して走査位置を可変することを特徴とする請求項1記載の多色画像形成装置。
  7. 上記レーザビーム検出器は、レーザビームを検出する2系統からなる受光素子を有し、2系統の受光素子の少なくとも1系統はレーザビームが通過する領域において互いに非平行に形成された2つの受光領域を有し、上記2系統の受光素子は隣接する端縁が互いに平行になるよう主走査方向に隣接して配置されていることを特徴とする請求項1記載の多色画像形成装置。
  8. 上記レーザビーム検出器は、走査領域内に少なくとも1箇所以上に配置され、レーザビームがレーザビーム検出器内の受光領域を走査する時間からレーザビームの副走査方向のレーザビーム位置を検出するとともに、予め設定された基準位置に対して離間した方向及び量を演算する演算手段を有することを特徴とする請求項7記載の多色画像形成装置。
  9. 上記レーザビーム検出器からの出力を処理する信号処理回路を有し、この信号処理回路は、レーザビーム検出器からの複数回の出力により、平均的処理を施すことを特徴とする請求項7記載の多色画像形成装置。
  10. 色ずれ検出手段は、予め設定された画像形成中の連続プリント枚数または光走査装置内の温度上昇検出値に応じて、色ずれ検出を行うことを特徴とする請求項1記載の多色画像形成装置。
  11. 複数の色の画像信号に基づき各画像信号ごとに変調されたレーザビームを出射する複数の光源と、各光源からのレーザビームを偏向走査手段により各画像信号に対応する複数のレーザビームを全て同じ方向に走査する光走査手段を有する光走査装置において、
    上記レーザビームの走査位置を検出するレーザビーム検出器と、レーザビームの走査位置を副走査方向に可変する走査位置可変手段および可変信号出力回路と、走査位置を可変した前後の変化量を検出する回路を具備することを特徴とする請求項1記載の多色画像形成装置に用いる光走査装置。
  12. 複数の色の画像信号に基づき各画像信号ごとに変調されたレーザビームを出射する複数の光源と、各光源からのレーザビームを偏向走査手段により像担持体面に走査して潜像を形成する光走査手段と、上記潜像を顕像化して画像を形成する多色画像形成装置の色ずれ補正方法において、
    顕像化された各色に対応する画像間の位置ずれを検出する色ずれ検出手段と、前記レーザビームの走査位置を検出するレーザビーム検出器と、レーザビームの走査位置を副走査方向に可変する走査位置可変手段を用い、
    上記色ずれ検出手段により検出された色ずれ量に応じて走査位置可変手段がレーザビームの走査位置を可変する可変信号を出力した後、上記色ずれ検出手段が画像形成前に各色に対応したレーザビーム走査位置を再度検出し、可変した前後の変化量が設定値以上のとき画像形成処理を行うことなく上記走査位置可変手段により走査位置を再度可変することを特徴とする多色画像形成装置の色ずれ補正方法。
  13. 複数の色に対応した画像信号に基づいて変調された複数の光源からの光ビームによって各画像信号に対応する像担持体面を走査し静電潜像を形成する光走査手段と、上記静電潜像を各色トナーで顕像化する現像手段と、顕像化された各色画像を重ねあわせて多色画像を形成する転写手段と、顕像化された各色画像間の位置ずれを検出する色ずれ検出手段と、この色ずれ検出手段の検出結果に基づいて各色画像間の位置ずれを補正する色ずれ補正手段と、を有する多色画像形成装置において、
    上記色ずれ補正手段は、少なくとも上記静電潜像の書出しタイミングを可変して書出し位置を補正するものであって、上記光ビームの走査位置を検出する走査位置検出手段と、この走査位置検出手段の検出結果に基づいて像担持体面上での照射位置を補正する照射位置可変手段を備え、
    上記色ずれ検出手段の検出結果に基づく書出し位置補正を少なくともジョブ間に行ない、書出し位置の基準値を設定するとともに、この基準値をジョブ中にわたって保持するように、上記走査位置検出手段の検出結果を基に照射位置を常時補正することを特徴とする多色画像形成装置。
  14. 複数の色に対応する画像信号に基づいて変調された複数の光源からの光ビームによって、各画像信号に対応する像担持体面を走査し、静電潜像を形成する光走査手段と、上記静電潜像を各色トナーで顕像化する現像手段と、顕像化された各色画像を重ねあわせて多色画像を形成する転写手段と、顕像化された各色画像間の位置ずれを検出する色ずれ検出手段と、この色ずれ検出手段の検出結果に基づいて各色画像間の位置ずれを補正する色ずれ補正手段と、を有する多色画像形成装置において、
    上記色ずれ補正手段は、少なくとも上記静電潜像の書出しタイミングを可変して書出し位置を補正するものであって、上記光ビームの走査位置を検出する走査位置検出手段と、この走査位置検出手段の検出結果に基づいて像担持体面上での照射位置を補正する照射位置可変手段を備え、
    上記色ずれ検出手段の検出結果に基づく書出し位置補正を少なくともジョブ間に行ない、書出し位置の基準値を設定するとともに、上記走査位置検出手段の検出結果により求められるジョブ中での上記基準値からのずれに基づいて上記照射位置を補正することを特徴とする多色画像形成装置。
  15. 複数の色に対応する画像信号に基づいて変調された複数の光源からの光ビームによって、各画像信号に対応する像担持体面を走査し、静電潜像を形成する光走査手段と、上記静電潜像を各色トナーで顕像化する現像手段と、顕像化された各色画像を重ねあわせて多色画像を形成する転写手段と、顕像化された各色画像間の位置ずれを検出する色ずれ検出手段と、この色ずれ検出手段の検出結果に基づいて各色画像間の位置ずれを補正する色ずれ補正手段と、を有する多色画像形成装置において、
    上記色ずれ補正手段は、少なくとも上記光源を変調する基準クロックを可変して全幅倍率を補正するものであって、上記光ビームの所定区間における走査時間を検出する走査時間検出手段と、この走査時間検出手段の検出結果に基づいて像担持体面上における走査領域を複数に分割した各区間での倍率を補正する部分倍率可変手段を備え、
    上記色ずれ検出手段の検出結果に基づく全幅倍率の補正を少なくともジョブ間に行ない、全幅倍率の基準値を設定するとともに、上記走査時間検出手段の検出結果により求められるジョブ中での上記基準値からのずれに基づいて上記各区間での倍率を補正することを特徴とする多色画像形成装置。
  16. 上記照射位置可変手段、または部分倍率可変手段は、ページ間において照射位置、または各区間での倍率を補正することを特徴とする請求項14または15記載の多色画像形成装置。
  17. 上記走査位置検出手段、または走査時間検出手段は、静電像の形成中の光ビームを検出することを特徴とする請求項14または15記載の多色画像形成装置。
  18. 上記走査位置または走査時間の検出を、少なくとも複数回サンプリングすることによって行い、その平均値により照射位置または各区間での倍率を補正することを特徴とする請求項16または17記載の多色画像形成装置。
  19. 上記走査位置検出手段は、走査方向に直行する第1の検知部とそれと非平行な第2の検知部からなる光検知手段を有し、一走査中の光ビームの検出時間差により走査位置を演算することを特徴とする請求項13または14記載の多色画像形成装置
  20. 上記照射位置可変手段は、上記光源からの光ビームの向きを可変する光軸変更手段を有することを特徴とする請求項13または14記載の多色画像形成装置
  21. 上記部分倍率可変手段は、上記走査時間検出手段の検出結果により求められた全幅倍率に基づいて、所定の重み付けにより区間毎の倍率の補正量を配分することを特徴とする請求項15記載の多色画像形成装置。
  22. 上記部分倍率可変手段は、上記走査時間検出手段の検出結果により求められた全幅倍率に基づいて、あらかじめ全幅倍率に対応づけて記憶された区間毎の倍率変化を読み出し、補正することを特徴とする請求項15記載の多色画像形成装置。
  23. 上記部分倍率可変手段は、上記光源手段を変調する基準クロックのパルス周期を、位相データにより指示する遷移タイミングで、区間毎に可変することにより倍率を補正することを特徴とする請求項15記載の多色画像形成装置。
JP2009197984A 2009-08-28 2009-08-28 多色画像形成装置 Expired - Fee Related JP4575987B2 (ja)

Priority Applications (1)

Application Number Priority Date Filing Date Title
JP2009197984A JP4575987B2 (ja) 2009-08-28 2009-08-28 多色画像形成装置

Applications Claiming Priority (1)

Application Number Priority Date Filing Date Title
JP2009197984A JP4575987B2 (ja) 2009-08-28 2009-08-28 多色画像形成装置

Related Parent Applications (1)

Application Number Title Priority Date Filing Date
JP2004218410A Division JP4390200B2 (ja) 2004-07-27 2004-07-27 多色画像形成装置、多色画像形成装置に用いる光走査装置および多色画像形成装置の色ずれ補正方法

Publications (2)

Publication Number Publication Date
JP2010026520A true JP2010026520A (ja) 2010-02-04
JP4575987B2 JP4575987B2 (ja) 2010-11-04

Family

ID=41732340

Family Applications (1)

Application Number Title Priority Date Filing Date
JP2009197984A Expired - Fee Related JP4575987B2 (ja) 2009-08-28 2009-08-28 多色画像形成装置

Country Status (1)

Country Link
JP (1) JP4575987B2 (ja)

Citations (1)

* Cited by examiner, † Cited by third party
Publication number Priority date Publication date Assignee Title
JP2004109700A (ja) * 2002-09-19 2004-04-08 Ricoh Co Ltd 光走査装置及び画像形成装置

Patent Citations (1)

* Cited by examiner, † Cited by third party
Publication number Priority date Publication date Assignee Title
JP2004109700A (ja) * 2002-09-19 2004-04-08 Ricoh Co Ltd 光走査装置及び画像形成装置

Also Published As

Publication number Publication date
JP4575987B2 (ja) 2010-11-04

Similar Documents

Publication Publication Date Title
US8014041B2 (en) Optical scanning apparatus and image forming apparatus
US7045773B2 (en) Optical scanning apparatus for accurately detecting and correcting position of optical beam in subscanning direction, and the method
EP1424609A2 (en) Color shift correcting method, optical writing device and image forming apparatus
JP2005140922A (ja) 光走査装置、画像形成装置及び位置ずれ補正方法
JP4694926B2 (ja) 光走査装置及び画像形成装置
JP2008224965A (ja) 光走査装置、および画像形成装置
JP2005037575A (ja) 光走査装置およびカラー画像形成装置
JP4390200B2 (ja) 多色画像形成装置、多色画像形成装置に用いる光走査装置および多色画像形成装置の色ずれ補正方法
JP2007008152A (ja) 画像形成装置および画像形成方法
JP4574477B2 (ja) 光走査装置及び画像形成装置
JP2007206653A (ja) 光走査装置、及び画像形成装置
JP2010169829A (ja) 光走査装置及び画像形成装置
JP4575987B2 (ja) 多色画像形成装置
JP4965142B2 (ja) 光走査装置および画像形成装置
JP4523440B2 (ja) 多色画像形成装置
JP4903455B2 (ja) 光走査装置および画像形成装置
JP4373800B2 (ja) 光走査装置、カラー画像形成装置及びレーザビームの検出方法
JP2006198896A (ja) 多色画像形成装置
JP2005156992A (ja) 光走査装置と画像形成装置
JP4919680B2 (ja) 光走査装置、画像形成装置、カラー画像形成装置
JP2008191582A (ja) 多色画像形成装置
JP4634831B2 (ja) 光走査装置・画像形成装置・走査線傾きの検出方法
JP5659659B2 (ja) 光走査装置及び画像形成装置
JP2010217200A (ja) 光走査装置および画像形成装置
JP2005258244A (ja) 光走査装置、光路調整方法及び画像形成装置

Legal Events

Date Code Title Description
A131 Notification of reasons for refusal

Free format text: JAPANESE INTERMEDIATE CODE: A131

Effective date: 20100302

A521 Written amendment

Free format text: JAPANESE INTERMEDIATE CODE: A523

Effective date: 20100420

TRDD Decision of grant or rejection written
A01 Written decision to grant a patent or to grant a registration (utility model)

Free format text: JAPANESE INTERMEDIATE CODE: A01

Effective date: 20100804

A01 Written decision to grant a patent or to grant a registration (utility model)

Free format text: JAPANESE INTERMEDIATE CODE: A01

A61 First payment of annual fees (during grant procedure)

Free format text: JAPANESE INTERMEDIATE CODE: A61

Effective date: 20100820

R150 Certificate of patent or registration of utility model

Free format text: JAPANESE INTERMEDIATE CODE: R150

FPAY Renewal fee payment (event date is renewal date of database)

Free format text: PAYMENT UNTIL: 20130827

Year of fee payment: 3

LAPS Cancellation because of no payment of annual fees