JP2010025567A - 自発光指針及び車両用表示装置 - Google Patents

自発光指針及び車両用表示装置 Download PDF

Info

Publication number
JP2010025567A
JP2010025567A JP2008183552A JP2008183552A JP2010025567A JP 2010025567 A JP2010025567 A JP 2010025567A JP 2008183552 A JP2008183552 A JP 2008183552A JP 2008183552 A JP2008183552 A JP 2008183552A JP 2010025567 A JP2010025567 A JP 2010025567A
Authority
JP
Japan
Prior art keywords
pointer
light
slit
self
translucent
Prior art date
Legal status (The legal status is an assumption and is not a legal conclusion. Google has not performed a legal analysis and makes no representation as to the accuracy of the status listed.)
Granted
Application number
JP2008183552A
Other languages
English (en)
Other versions
JP5362276B2 (ja
Inventor
Tetsuya Maehashi
徹也 前橋
Current Assignee (The listed assignees may be inaccurate. Google has not performed a legal analysis and makes no representation or warranty as to the accuracy of the list.)
Yazaki Corp
Original Assignee
Yazaki Corp
Priority date (The priority date is an assumption and is not a legal conclusion. Google has not performed a legal analysis and makes no representation as to the accuracy of the date listed.)
Filing date
Publication date
Application filed by Yazaki Corp filed Critical Yazaki Corp
Priority to JP2008183552A priority Critical patent/JP5362276B2/ja
Publication of JP2010025567A publication Critical patent/JP2010025567A/ja
Application granted granted Critical
Publication of JP5362276B2 publication Critical patent/JP5362276B2/ja
Expired - Fee Related legal-status Critical Current
Anticipated expiration legal-status Critical

Links

Images

Landscapes

  • Details Of Measuring Devices (AREA)

Abstract

【課題】高輝度の光源を用いることなく、指示部を覆うカバー部材のスリットから効率よく光を出射する。
【解決手段】文字板2に付した指標と協働して計測量を表示する透光性部材からなる指示部31を有する指針本体33と、指示部31を覆う非透光性部材からなるカバー部材34aと、指示部31の先端に至るようにカバー部材34aに形成されて、指針本体33の上表面を一直線上に露出させるスリット35と、を有し、指示部31内を導いた光をスリット35から外部に通過させてスリット35を発光させる自発光指針3において、スリット35を塞ぐように、カバー部材34aと前記指示部31との間に着脱自在に介在する透光性着色部材36を有することを特徴とする。
【選択図】図2

Description

本発明は、透光性の指針本体の指示部をカバー部材で覆い、そのカバー部材に設けたスリットから光を観測者に向けて出射することで、スリット部分を発光させる自発光指針及び車両用表示装置に関するものである。
一般に車両には、車両速度及びエンジン回転数等の計測値を表示する指針式表示装置が搭載されている。この指針式表示装置は、表面に目盛及び数字、文字または記号等の指標が設けられた文字板と、この文字板の前面に配置される指針と、計測量に応じて指針を駆動する内機と、回路パターンが設けられ内機が固定される配線板と、をメータケースに収容して構成している。
速度計やタコメータ等の計器類のうち、指針と文字板を使用するアナログ(指針)式の計器類においては、指針や文字板等を暗所においても見やすくするために照明する装置として、文字板の背後に配置された光源の光により導光性部材からなる指針の指示部を光輝させる指針式表示装置が従来より開示されている。
また、特許文献1に示す自発光指針は、導光性の指針本体と、該指針本体に上方から覆うキャップと、を有し、指針本体の指示部の上面に対応する箇所にスリットが形成されている。そして、自発光指針は、そのスリットを介して指針を所定色で発光させるために、指針本体の裏面にホットスタンプ層を形成して、該ホットスタンプ層を反射した光がスリットを介して視認者側に向かって出射することで、視認者はスリットから出射した光によってホットスタンプ層の色を視認している。
特開2003−247870号公報
しかしながら、特許文献1に示す自発光指針等では、指針本体の指示部の裏面に着色層を設けていることから、指示部内の反射率が低下してしまい、スリットから視認者に向かって出射する光の光量が低下する虞があった。そして、この問題を解消するには、車両用表示装置が有する光源の輝度を上げる必要があり、消費電力が大きくなってしまうというさらなる問題が生じてしまう。さらに、車両用表示装置に高輝度の光源を用いると、その装置がコストアップしてしまうという問題が生じる。また、スリットから視認者に向かって出射する光の光量の低下を抑制するには、例えば白色等の反射性の高い色の着色層を設ける必要があり、指針の表示色も限られてしまい、車両用表示装置のデザイン性に自由度を持たせるのが困難であった。
よって本発明は、上述した問題点に鑑み、高輝度の光源を用いることなく、指示部を覆うカバー部材のスリットから効率よく光を出射することができる自発光指針及び車両用表示装置を提供することを課題としている。
上記課題を解決するため本発明によりなされた請求項1記載の自発光指針は、文字板に付した指標と協働して計測量を表示する透光性部材からなる指示部を有する指針本体と、前記指示部を覆う非透光性部材からなるカバー部材と、前記指示部の先端に至るように前記カバー部材に形成されて、前記指針本体の上表面を一直線上に露出させるスリットと、を有し、前記指示部内を導いた光を前記スリットから外部に通過させて前記スリットを発光させる自発光指針において、前記スリットを塞ぐように、前記カバー部材と前記指示部との間に着脱自在に介在する透光性着色部材を有することを特徴とする。
上記請求項1に記載した本発明の自発光指針によれば、指針本体の指示部とカバー部材との間には、透光性着色部材がカバー部材のスリットを塞ぐように設けられる。そして、指針本体の指示部内を導光した光は、その指示部から出射して透光性着色部材を透過した後、カバー部材のスリットを通過する。よって、視認者は、そのスリットから出射した光によって透光性着色部材の色を視認することができる。
請求項2記載の発明は、請求項1に記載の自発光指針において、前記カバー部材が、その内面から前記透光性着色部材に向かって突出し且つ前記透光性着色部材を貫通して位置決めする突出部を有することを特徴とする。
上記請求項2に記載した本発明の自発光指針によれば、カバー部材の突出部が透光性着色部材を貫通することで、その透光性着色部材をカバー部材内に位置決めすることができると共に、透光性着色部材の移動(ズレ)を防止することができる。
請求項3記載の発明は、請求項1又は2に記載の自発光指針において、前記カバー部材が、その内面から前記透光性着色部材に向かって突出し且つ前記透光性着色部材を位置決めして挟持する挟持部を有することを特徴とする。
上記請求項3に記載した本発明の自発光指針によれば、カバー部材の挟持部によって透光性着色部材をカバー部材内に位置決めすると共に、その透光性着色部材を保持することができる。
請求項4記載の発明は、請求項1〜3の何れか1項に記載の自発光指針において、前記指針本体の指示部の幅方向の断面が、前記スリットに向かうに従って徐々に狭くなるように形成されていることを特徴とする。
上記請求項4に記載した本発明の自発光指針によれば、指針本体の指示部がスリットに向かうに従って徐々に狭くなっているため、指示部内を導光する光を効率よく指示部の上面から出射させることができる。
請求項5記載の発明は、請求項1〜4の何れか1項に記載の自発光指針において、前記指針本体が、前記透光性着色部材を載置する載置部を有することを特徴とする。
上記請求項5に記載した本発明の自発光指針によれば、指針本体の載置部に透光性着色部材を載置することができるため、組み立てを容易にすることができる。
上記課題を解決するため本発明によりなされた請求項6記載の車両用表示装置は、請求項1〜5の何れか1項に記載の自発光指針と、前記自発光指針の指示部と協働して計測量を表示する指標が付された文字板と、前記自発光指針の指示部内を導光する光を発する光源と、を有することを特徴とする。
上記請求項6に記載した本発明の車両用表示装置によれば、光源からの光を自発光指針の指示部内を導光させても、その光をカバー部材のスリットから視認者に向けて出射させることができるため、光源の輝度を上げることなく、高輝度の表示を行うことができる。
以上説明したように請求項1に記載した本発明の自発光指針によれば、指針本体の指示部内を導光した光はその指示部から出射すると、透光性着色部材を透過した光がカバー部材のスリットを通過するようにしたことから、指示部内を導光する光が従来の着色層等によって減衰することを防止できるため、高輝度の光源を用いることなく、指示部を覆うカバー部材のスリットから効率よく光を出射することができる。また、透光性着色部材は指針本体とカバー部材に着脱自在に形成したことから、視認者の好みに応じた色の透光性着色部材を用いることもできるため、視認者の個別対応を図ることができる。
請求項2に記載した本発明によれば、請求項1に記載の発明の効果に加え、透光性着色部材を貫通して位置決めする突出部をカバー部材に形成するようにしたことから、透光性着色部材を突出部に貫通させることで、スリットを塞ぐように位置付けることができるため、透光性着色部材の組み付けの簡単化を図ることができる。また、カバー部材のスリットからの透光性着色部材のズレを防止できるため、組み付け性の向上を図ることができる。
請求項3に記載した本発明によれば、請求項1又は2に記載の発明の効果に加え、透光性着色部材を挟持して位置決めする挟持部をカバー部材内に形成するようにしたことから、スリットを確実に塞ぐように透光性着色部材をカバー部材内に位置決めすると共に、その透光性着色部材を保持することができる。
請求項4に記載した本発明によれば、請求項1〜3の何れか1項に記載の発明の効果に加え、指針本体の指示部の幅方向の断面を、カバー部材のスリットに向けて徐々に狭くなるように形成したことから、指示部内を導光した光を効率良くスリットに向けて出射させることができるため、指示部全体を通して輝度を低下させることなく所望の発光を実現することができる。
請求項5に記載した本発明によれば、請求項1〜4の何れか1項に記載の発明の効果に加え、透光性着色部材を載置する載置部を指針本体に形成するようにしたことから、透光性着色部材のスリットに対する傾き、撓みを抑制することができるため、視認性の低下を防止すると共に、組み付け性の向上を図ることができる。
以上説明したように請求項6に記載した本発明の車両用表示装置によれば、自発光指針によって光源の輝度を上げることなく、高輝度の表示を行うことができるため、消費電力の増加を防止することができる。また、所望の表示色で自発光指針を表示することができるため、車両用表示装置のデザイン性に自由度を持たせることができる。
以下、本発明に係る自発光指針及び車両用表示装置をブラックフェースメータに適用する場合の最良の形態を、図1乃至図6の図面を参照して説明する。なお、自発光指針及び車両用表示装置はブラックフェースメータ以外の各種メータにも用いることができる。
図1において、車両用表示装置1は、表面(利用者から視認される面)に目盛及び数字、文字または記号等の指標部が設けられた文字板2と、この文字板2の前面に配置される自発光指針(以下、指針ともいう)3と、計測量に応じて指針3を駆動する内機4と、回路パターンが設けられ且つ内機4が固定される配線板5と、配線板5に設けられた複数の光源6と、配線板5の中央から文字板2の縁部に向かうように形成されたテーパ部71を有するケース7と、配線板5の背後側を覆う裏カバー8と、表ガラス9と、を有している。
文字板2は、図示しないが、透光性の文字板生地と、透光性の指標部と、非透光性の遮光部と、を有している。文字板生地は、ポリカーボネイト等の透光性の合成樹脂で板状に形成されており、各メータに対応して略円形状をしている。文字板生地の前面には、指標部と該指標以外を覆う遮光部とがスクリーン印刷等によって形成されている。そして、光源6からの光が文字板生地を透過し、その光は指標部からのみ視認者方向に出射されるため、視認者は指標部を発光視認する。
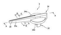
指針3は、本発明の自発光指針であり、文字板2の前面側に設けられ且つ文字板2に付した指標部と協働して計測量を表示する。指針3は、図1乃至図2に示すように、指示部31と基部32とからなる指針本体33と、該指針本体33を覆う不透明な合成樹脂からなる指針キャップ34と、該指針キャップに形成されたスリット35と、指針本体33と指針キャップ34との間に介在する透光性着色部材36と、指針キャップ34内に設けられて指針3のバランスを調整するバランス部材37と、指針本体33を固定且つ内機4の出力軸に固定される指針袴38と、を有している。
指針本体33は、アクリル樹脂等の導光性部材によって指示部31と基部32とが一体に形成されている。指示部31は、その上面が文字板2の表面と略平行となり、先端方向に向かうに従って細くなるように、略円錐状に形成されている。指示部31の幅方向の断面は、図5に示すように、スリット35に向かうに従って徐々に狭くなるように形成されており、スリット35と対向する上端部31aは略平坦になっている。
指示部31は、図2等に示すように、透光性着色部材36を載置する載置部31bを複数(図2中では3つ)有している。載置部31bは、指示部31の上端部31aにおける所望の位置に形成される。本実施形態では、載置部31bが指示部31の先端部、略中央部、基部32との付け根部の三カ所に形成された場合について説明するが、本発明はこれに限定するものではなく、透光性着色部材36の傾き、撓み等を防止できる位置等に任意に設計することができる。
また、載置部31bは、例えば透光性着色部材36の幅と同一幅の平面となり、且つ、指示部31の上部31aからスリット35に向かって突出するように形成されている。このように載置部31bを形成したことで、透光性着色部材36のスリット35に対する傾きを抑制することができるため、組み付け性の向上を図ることができる。
指針本体33の基部32は、図1乃至図4に示すように、光源6から光を受光する受光部32aと、受光部32aで受光した光を指示部31の先端方向に反射する反射面32bと、指針本体33を指針袴38に固定する固定部32cと、この固定部32cに設けられ且つ指針キャップ34内のボス34aが貫通して位置決めを行う2つの位置決め穴32dと、を有している。
指針キャップ34は、請求項中のカバー部材に相当して、指針本体33の指示部31を覆う第1カバー34aと、指針本体33の基部32及び指針本体33の回動中心を覆う第2カバー34bと、を有している。さらに、指針キャップ34は、その内面に設けられて、前記指針本体33の2つの位置決め穴32d及び指針袴38の嵌合穴38aに嵌合する一対のボス(図示せず)と、その内面に設けられてバランス部材37を位置決めして嵌合するバランス用ボス(図示せず)と、透光性着色部材36を貫通する突出部34c(図4参照)と、透光性着色部材36を挟持する挟持部34dと、を有している。
突出部34cは、後述する透光性着色部材36の孔36aに対応したカバー部材34aの内面から透光性着色部材36に向かって突出するように形成されている。この突出部34cは、透光性着色部材36の孔36aに貫通することで、透光性着色部材36の移動を防止している。なお、本実施形態では、1つの突出部34cをカバー部材34aに設けた場合について説明するが、本発明はこれに限定するものではなく、複数の突出部34cを形成することができる。
挟持部34dは、カバー部材34aの内面の2カ所設けられており、その内面から透光性着色部材36に向かって突出するように形成されている。複数(図4中では2つ)の挟持部34dの各々は、図6に示すように、一対のリブを有して構成されており、透光性着色部材36の幅方向の両側を挟持することで、スリット35を塞ぐ位置に透光性着色部材36を位置付ける。このように挟持部34dは、スリット35を塞ぐ位置に透光性着色部材36を確実且つ容易に位置付けると共に、透光性着色部材36が幅方向に移動することを防止している。
スリット35は、指針キャップ34の第1カバー34aに、指針本体33の指示部31の先端に至るように形成されている。スリット35は、指針本体33と第1カバー34aとが組み付けられることで、指示部31の上表面を一直線上に露出させるように形成されている。なお、スリット35の長さ及び幅は、指針3のデザイン等に応じて任意に設計することができる。
透光性着色部材36は、スリット35を塞ぐ大きさの略テープ状に、指針本体33及び指針キャップ34から着脱自在に形成されている。透光性着色部材36は、透光性のカラーフィルターやシート、透光性合成樹脂等が任意に用いられる。透光性着色部材36は、上述した指針キャップ34の突出部34cが嵌合する孔36aを有している。なお、本実施形態では、透光性着色部材36をスリット35よりも大きく形成することで、指針キャップ34への固定を確実なものとしている。
バランス部材37は、指針本体33の指示部31を考慮して設定された重量に形成されており、指針キャップ34内の前記バランス用ボスが嵌合される嵌合孔を有している。バランス部材35は前記バランス用ボスによって位置決めされて指針キャップ34内に収容される。
指針袴38は、上述した一対の嵌合穴38aと、指針キャップ34の外形に対応した円盤状の第1蓋部38bと、指針本体33の指示部31に対応するように第1蓋部38bから延びる第2蓋部38cと、蓋部38bから内機4に向かって延びる軸受け部38dと、第1蓋部38bに設けられて指針本体33の受光部32aが貫通される貫通部38eと、を有している。指針袴38の第1蓋部38bは、指針キャップ34の第1カバー34aに組み付けられることで形成される収容空間を形成することになる。そして、その収容空間に指針本体33の指示部31が収容されるため、指示部31の底面等から出射した光が文字板2等を照らすことを防止できる。
このように構成した指針3は、例えば以下のように組み立てられる。まず、指針袴38の貫通部38eに指針本体33の受光部32aを貫通させて、指針袴38に指針本体33をセットすると共に、指針袴38にバランス部材37をセットする。そして、透光性着色部材36を指針キャップ34内の挟持部34dで挟持させると共に、突出部34cを透光性着色部材36の孔36aに挿入することで、指針キャップ34が突出部34cと挟持部34dによって透光性着色部材36を保持した状態とする。これにより、透光性着色部材36は指針キャップ34内でスリット35を塞いだ状態となる。そして、その指針キャップ34を指針本体33の上方から指針本体33に近づけて覆い、指針キャップ34と指針袴38とを嵌合させることで、指針本体33と指針キャップ34との間に透光性着色部材36を介在した状態となり、組み付けが完了する。
また、内機4は、周知であるステッパモータ、クロスコイルムーブメント等が用いられ、計測量に応じて指針3を駆動する。配線板5は、光源6と内機4が実装され、それらに電力を供給する。光源6は、LED、バルブ等が用いられ、配線板5に設けられた図示しない制御部によって点灯、消灯が制御される。複数の光源6は、文字板2の指標や指針3の指示部31等を発光させるための光を発する。ケース7は、テーパ部71の表面であるテーパ面が反射面となっており、光源6が発した光を文字板2に向けて反射する。裏カバー8は、配線板5の背後を覆うようにケース7に組み付けられる。
表ガラス9は、透過率の低いスモークパネル等の着色透光性部材で形成されている。表ガラス9は、見返し10を介してケース7に組み付けられる。表ガラス9は、文字板2の指標部22を透過した光を透過して利用者に向けて出射する。つまり、光源6が光輝したときに指標部22を視認可能とし且つ光源6が光輝しないときは視認を阻止することになる。なお、表ガラス9は、透明な透光性部材であっても差し支えない。
次に、上述した構成の本発明に係る指針(自発光指針)3及び車両用表示装置1の表示における動作(作用)の一例を説明する。
車両用表示装置1は、車両のイグニッションスイッチのオン等に応じて光源6を発光させる。そして、指針3は、光源6の発した光を指針本体33の基部32の受光部32aで受光すると、その光を基部32内に導光した後に反射面32bで指示部31の先端方向に反射する。そして、その光は、指示部31における内面反射等によって指示部31の先端に向かって導光される。そのとき、指示部31の上面から出射した光の一部は、透光性着色部材36を透過してスリット35から観測者等に向かって出射する。これにより、観測者は指針3の指示部31の指示方向に延びるスリット35を発光視認する。そして、車両用表示装置1は、内機4の駆動を制御して、表示対象の計測量に応じた指示位置を指針3の指示部31が指示するように指針3を回動させることで、文字板2の指標部と指針3の指示部31とを協働させて計測量を表示することになる。
以上説明した自発光指針3によれば、指針本体33の指示部31内を導光した光はその指示部31から出射すると、透光性着色部材36を透過した光が指針キャップ34の第1カバー34a(カバー部材)のスリット35を通過するようにしたことから、指示部31内を導光する光が従来の着色層等によって減衰することを防止できるため、高輝度の光源6を用いることなく、指示部31を覆う第1カバー34aのスリット35から効率よく光を出射することができる。また、透光性着色部材36は指針本体31と第1カバー34aに着脱自在に形成したことから、視認者の好みに応じた色の透光性着色部材36を用いることもできるため、視認者の個別対応を図ることができ、デザイン性の向上に貢献することができる。
また、透光性着色部材36を貫通して位置決めする突出部34cを第1カバー34aに形成するようにしたことから、透光性着色部材36を突出部34cに貫通させることで、スリット35を塞ぐように位置付けることができるため、透光性着色部材36の組み付けの簡単化を図ることができる。また、第1カバー34aのスリット35からの透光性着色部材36のズレを防止できるため、組み付け性の向上を図ることができる。
透光性着色部材36を挟持して位置決めする挟持部34dを第1カバー34a内に形成するようにしたことから、スリット35を確実に塞ぐように透光性着色部材36を第1カバー34a内に位置決めすると共に、その透光性着色部材36を保持することができる。
さらに、自発光指針3は、指針本体33の指示部31の幅方向の断面を、第1カバー34aのスリット35に向けて徐々に狭くなるように形成したことから、指示部31内を導光した光を効率良くスリット35に向けて出射させることができるため、指示部31(スリット35)全体を通して輝度を低下させることなく所望の発光を実現することができる。
また、自発光指針3は、透光性着色部材36を載置する載置部31bを指針本体33に形成するようにしたことから、透光性着色部材36のスリット35に対する傾き、撓みを抑制することができるため、視認性の低下を防止すると共に、組み付け性の向上を図ることができる。
このような自発光指針3を有する車両用表示装置1によれば、自発光指針3によって光源6の輝度を上げることなく、高輝度の表示を行うことができるため、消費電力の増加を防止することができる。また、所望の表示色で自発光指針3を表示することができるため、車両用表示装置1のデザイン性に自由度を持たせることができる。
なお、上述した実施形態では、本発明に係るカバー部材を指針キャップ34の第1カバー34aとした場合について説明したが、本発明はこれに限定するものではなく、例えば、指示部31のみを覆うキャップ部材とするなど種々異なる実施形態とすることができる。
また、上述した実施形態では、本発明に係る自発光指針3を車両用表示装置に適用した場合ついて説明したが、本発明はこれに限定するものではなく、例えば、計測機器、時計などの各種電子機器に適用することができる。
なお、上述した実施形態では、指針キャップ34に突出部34cと挟持部34dの双方を形成した場合について説明したが、本発明はこれに限定するものではなく、例えば、挟持部34dのみを設ける、突出部34cのみを複数設ける、など種々異なる実施形態とすることができる。
このように上述した実施例は本発明の代表的な形態を示したに過ぎず、本発明は、実施形態に限定されるものではない。即ち、本発明の骨子を逸脱しない範囲で種々変形して実施することができる。
本発明の車両用表示装置の概略構成を示す断面図である。 図1中の本発明に係る自発光指針の分解斜視図である。 図1中の本発明に係る自発光指針の斜視図である。 図3中の直線A−Aを通る矢印方向の自発光指針の断面図である。 図3中の直線B−Bを通る矢印方向の指示部の断面図である。 図3中の直線C−Cを通る矢印方向の指示部の断面図である。
符号の説明
1 車両用表示装置
2 文字板
3 自発光指針(指針)
6 光源
31 指示部
31b 載置部
32 基部
33 指針本体
34 指針キャップ
34a 第1カバー(カバー部材)
34c 突出部
34d 挟持部
35 スリット
36 透光性着色部材
38 指針袴

Claims (6)

  1. 文字板に付した指標と協働して計測量を表示する透光性部材からなる指示部を有する指針本体と、前記指示部を覆う非透光性部材からなるカバー部材と、前記指示部の先端に至るように前記カバー部材に形成されて、前記指針本体の上表面を一直線上に露出させるスリットと、を有し、前記指示部内を導いた光を前記スリットから外部に通過させて前記スリットを発光させる自発光指針において、
    前記スリットを塞ぐように、前記カバー部材と前記指示部との間に着脱自在に介在する透光性着色部材を有することを特徴とする自発光指針。
  2. 前記カバー部材が、その内面から前記透光性着色部材に向かって突出し且つ前記透光性着色部材を貫通して位置決めする突出部を有することを特徴とする請求項1に記載の自発光指針。
  3. 前記カバー部材が、その内面から前記透光性着色部材に向かって突出し且つ前記透光性着色部材を位置決めして挟持する挟持部を有することを特徴とする請求項1又は2に記載の自発光指針。
  4. 前記指針本体の指示部の幅方向の断面が、前記スリットに向かうに従って徐々に狭くなるように形成されていることを特徴とする請求項1〜3の何れか1項に記載の自発光指針。
  5. 前記指針本体が、前記透光性着色部材を載置する載置部を有することを特徴とする請求項1〜4の何れか1項に記載の自発光指針。
  6. 請求項1〜5の何れか1項に記載の自発光指針と、
    前記自発光指針の指示部と協働して計測量を表示する指標が付された文字板と、
    前記自発光指針の指示部内を導光する光を発する光源と、
    を有することを特徴とする車両用表示装置。
JP2008183552A 2008-07-15 2008-07-15 自発光指針及び車両用表示装置 Expired - Fee Related JP5362276B2 (ja)

Priority Applications (1)

Application Number Priority Date Filing Date Title
JP2008183552A JP5362276B2 (ja) 2008-07-15 2008-07-15 自発光指針及び車両用表示装置

Applications Claiming Priority (1)

Application Number Priority Date Filing Date Title
JP2008183552A JP5362276B2 (ja) 2008-07-15 2008-07-15 自発光指針及び車両用表示装置

Publications (2)

Publication Number Publication Date
JP2010025567A true JP2010025567A (ja) 2010-02-04
JP5362276B2 JP5362276B2 (ja) 2013-12-11

Family

ID=41731559

Family Applications (1)

Application Number Title Priority Date Filing Date
JP2008183552A Expired - Fee Related JP5362276B2 (ja) 2008-07-15 2008-07-15 自発光指針及び車両用表示装置

Country Status (1)

Country Link
JP (1) JP5362276B2 (ja)

Cited By (4)

* Cited by examiner, † Cited by third party
Publication number Priority date Publication date Assignee Title
JP2012103143A (ja) * 2010-11-11 2012-05-31 Nippon Seiki Co Ltd 指針装置およびその組付け方法
JP2012107973A (ja) * 2010-11-17 2012-06-07 Nippon Seiki Co Ltd 発光指針
JP2012168033A (ja) * 2011-02-15 2012-09-06 Yazaki Corp 指針ユニット及び指針計器
JP2014173899A (ja) * 2013-03-06 2014-09-22 Calsonic Kansei Corp 計器装置の指針構造

Citations (5)

* Cited by examiner, † Cited by third party
Publication number Priority date Publication date Assignee Title
JPH0557622U (ja) * 1991-12-26 1993-07-30 日本精機株式会社 指針照明装置
JP2000162000A (ja) * 1998-11-30 2000-06-16 Nippon Seiki Co Ltd 指針式計器
JP2001165714A (ja) * 1999-12-08 2001-06-22 Denso Corp 車両用指針計器
JP2003247870A (ja) * 2002-02-22 2003-09-05 Yazaki Corp 指針照明構造
JP2008122305A (ja) * 2006-11-15 2008-05-29 Yazaki Corp 計器装置

Patent Citations (5)

* Cited by examiner, † Cited by third party
Publication number Priority date Publication date Assignee Title
JPH0557622U (ja) * 1991-12-26 1993-07-30 日本精機株式会社 指針照明装置
JP2000162000A (ja) * 1998-11-30 2000-06-16 Nippon Seiki Co Ltd 指針式計器
JP2001165714A (ja) * 1999-12-08 2001-06-22 Denso Corp 車両用指針計器
JP2003247870A (ja) * 2002-02-22 2003-09-05 Yazaki Corp 指針照明構造
JP2008122305A (ja) * 2006-11-15 2008-05-29 Yazaki Corp 計器装置

Cited By (4)

* Cited by examiner, † Cited by third party
Publication number Priority date Publication date Assignee Title
JP2012103143A (ja) * 2010-11-11 2012-05-31 Nippon Seiki Co Ltd 指針装置およびその組付け方法
JP2012107973A (ja) * 2010-11-17 2012-06-07 Nippon Seiki Co Ltd 発光指針
JP2012168033A (ja) * 2011-02-15 2012-09-06 Yazaki Corp 指針ユニット及び指針計器
JP2014173899A (ja) * 2013-03-06 2014-09-22 Calsonic Kansei Corp 計器装置の指針構造

Also Published As

Publication number Publication date
JP5362276B2 (ja) 2013-12-11

Similar Documents

Publication Publication Date Title
JP4893451B2 (ja) 指針計器
JP4895321B2 (ja) 指示計器
JP5362276B2 (ja) 自発光指針及び車両用表示装置
EP2320198A1 (en) Pointer type measuring instrument
JP5288119B2 (ja) 指示計器
JP5045403B2 (ja) 指針計器
JP5510076B2 (ja) 表示装置
JP2010122179A (ja) 計器装置の指針
JP5018350B2 (ja) 車両用計器
JP4858228B2 (ja) 指針計器
JP7514451B2 (ja) 表示装置
JP2006118892A (ja) 指針計器
JP4513051B2 (ja) 車両用計器
JP4437550B2 (ja) 車両用指針計器
JP5134491B2 (ja) 計器装置
JP4667896B2 (ja) 指針計器
JP2012154796A (ja) 指針部材、指針ユニット、及び、指針計器
JP5288130B2 (ja) 指示計器
JP6225376B2 (ja) 指針式計器
JP2007121049A (ja) 指針式計器
JP2006177826A (ja) 指針式計器
JP2009042120A (ja) 複合計器
JP2014228450A (ja) 指示計器
JP2005156461A (ja) 指針式計器
JP5379111B2 (ja) 自発光指針及び指針式表示装置

Legal Events

Date Code Title Description
A621 Written request for application examination

Free format text: JAPANESE INTERMEDIATE CODE: A621

Effective date: 20110527

A131 Notification of reasons for refusal

Free format text: JAPANESE INTERMEDIATE CODE: A131

Effective date: 20120904

A977 Report on retrieval

Free format text: JAPANESE INTERMEDIATE CODE: A971007

Effective date: 20120905

A521 Request for written amendment filed

Free format text: JAPANESE INTERMEDIATE CODE: A523

Effective date: 20121102

A02 Decision of refusal

Free format text: JAPANESE INTERMEDIATE CODE: A02

Effective date: 20130312

A521 Request for written amendment filed

Free format text: JAPANESE INTERMEDIATE CODE: A523

Effective date: 20130611

A911 Transfer to examiner for re-examination before appeal (zenchi)

Free format text: JAPANESE INTERMEDIATE CODE: A911

Effective date: 20130618

TRDD Decision of grant or rejection written
A01 Written decision to grant a patent or to grant a registration (utility model)

Free format text: JAPANESE INTERMEDIATE CODE: A01

Effective date: 20130813

A61 First payment of annual fees (during grant procedure)

Free format text: JAPANESE INTERMEDIATE CODE: A61

Effective date: 20130904

R150 Certificate of patent or registration of utility model

Ref document number: 5362276

Country of ref document: JP

Free format text: JAPANESE INTERMEDIATE CODE: R150

Free format text: JAPANESE INTERMEDIATE CODE: R150

R250 Receipt of annual fees

Free format text: JAPANESE INTERMEDIATE CODE: R250

R250 Receipt of annual fees

Free format text: JAPANESE INTERMEDIATE CODE: R250

R250 Receipt of annual fees

Free format text: JAPANESE INTERMEDIATE CODE: R250

R250 Receipt of annual fees

Free format text: JAPANESE INTERMEDIATE CODE: R250

R250 Receipt of annual fees

Free format text: JAPANESE INTERMEDIATE CODE: R250

R250 Receipt of annual fees

Free format text: JAPANESE INTERMEDIATE CODE: R250

R250 Receipt of annual fees

Free format text: JAPANESE INTERMEDIATE CODE: R250

S531 Written request for registration of change of domicile

Free format text: JAPANESE INTERMEDIATE CODE: R313531

R350 Written notification of registration of transfer

Free format text: JAPANESE INTERMEDIATE CODE: R350

R250 Receipt of annual fees

Free format text: JAPANESE INTERMEDIATE CODE: R250

LAPS Cancellation because of no payment of annual fees