JP2010025255A - 等速ジョイント用ブーツ - Google Patents

等速ジョイント用ブーツ Download PDF

Info

Publication number
JP2010025255A
JP2010025255A JP2008188539A JP2008188539A JP2010025255A JP 2010025255 A JP2010025255 A JP 2010025255A JP 2008188539 A JP2008188539 A JP 2008188539A JP 2008188539 A JP2008188539 A JP 2008188539A JP 2010025255 A JP2010025255 A JP 2010025255A
Authority
JP
Japan
Prior art keywords
cylindrical portion
diameter cylindrical
boot
thick
constant velocity
Prior art date
Legal status (The legal status is an assumption and is not a legal conclusion. Google has not performed a legal analysis and makes no representation as to the accuracy of the status listed.)
Granted
Application number
JP2008188539A
Other languages
English (en)
Other versions
JP4877289B2 (ja
Inventor
Yuji Furuta
裕二 古田
Satoshi Suzuki
智 鈴木
Current Assignee (The listed assignees may be inaccurate. Google has not performed a legal analysis and makes no representation or warranty as to the accuracy of the list.)
Toyoda Gosei Co Ltd
Original Assignee
Toyoda Gosei Co Ltd
Priority date (The priority date is an assumption and is not a legal conclusion. Google has not performed a legal analysis and makes no representation as to the accuracy of the date listed.)
Filing date
Publication date
Application filed by Toyoda Gosei Co Ltd filed Critical Toyoda Gosei Co Ltd
Priority to JP2008188539A priority Critical patent/JP4877289B2/ja
Publication of JP2010025255A publication Critical patent/JP2010025255A/ja
Application granted granted Critical
Publication of JP4877289B2 publication Critical patent/JP4877289B2/ja
Expired - Fee Related legal-status Critical Current
Anticipated expiration legal-status Critical

Links

Images

Landscapes

  • Sealing Devices (AREA)
  • Diaphragms And Bellows (AREA)

Abstract

【課題】ブーツの大径筒部11の形状を工夫することで、シール性を高める。
【解決手段】厚肉部13の内部に、両端が厚肉部13の外周表面に開口し周方向に延びるトンネル状空間17を形成した。
トンネル状空間17によって厚肉部13のヒケを防止でき、両端の開口18どうしの間の橋部19によってクランプによる締結時における厚肉部13の不要な変形を防止できる。
【選択図】 図2

Description

本発明は、前輪駆動車のドライブシャフト用ジョイントなどに不可欠な等速ジョイントに被覆され、等速ジョイントのジョイント部への水や埃の侵入を阻止するブーツに関する。
等速ジョイントのジョイント部はグリースが封入された蛇腹形状のブーツで覆われ、水や埃の侵入を阻止することによって大角度で滑らかな回転が維持されている。この等速ジョイント用ブーツは、ジョイントアウターレースに保持される大径の大径筒部と、大径筒部より小径でシャフトに保持される小径筒部と、大径筒部と小径筒部を一体的に連結する略円錐台形状の蛇腹部とから構成されている。そして使用時には、ジョイントアウターレースとシャフトのなす角度(ジョイント角)の変化に応じて蛇腹部が変形するため、その角度が大きくなってもブーツによってジョイント部を確実にシールすることができる。
この等速ジョイント用ブーツは、古くはゴムから形成されることが多かったが、ゴムでは耐久性に限界があるため、近年では耐候性、耐熱性、耐疲労性に優れた熱可塑性エラストマが用いられている。一方、等速ジョイント用ブーツには、ジョイント内への水や埃の侵入を確実に防止するというシール機能を付与する必要がある。しかしながら大径筒部は異形嵌合もしくは非円形嵌合の場合が多いという事情から、材質が熱可塑性エラストマでは弾性が高くゴムほど追従性が良くないため、シール性の確保が難しいという問題があった。
また等速ジョイント用ブーツの成形方法としては、ブロー成形が便利である。しかしながらジョイントアウターレースの表面は一般に非円形であり、ブーツの大径筒部の内周形状もそれに対応する形状とする必要がある。しかしそのようなブーツを製造する場合、ブロー成形では大径筒部の内周表面形状を相手部材とのシール性が高くなるように形成することが困難であり、その面からもシール性の確保が困難となる。
そこで例えば実開平02−087131号には、ブーツ本体をポリエステル系熱可塑性エラストマで形成し、その大径筒部に軟質ゴム製のリング状のグロメットを挿入した等速ジョイント用ブーツが開示されている。この等速ジョイント用ブーツによれば、グロメットを射出成形などでブーツ本体と別に形成できるため、厚肉部と薄肉部を有し内周面が非円形の形状であっても精度よく製造することができる。またブーツ本体はさほど形状精度が高くなくてもよく、ブロー成形で製造することが可能となる。そしてクランプによる締結力がグロメットに伝わり、グロメットが弾性変形して相手部材に密着することでシール機能が発現される。つまりブーツ本体で耐久性を確保でき、グロメットで相手部材とのシール性を確保することができる。またグロメットに比べて形状が大きなブーツ本体はブロー成形で製造できるので、工数が低減され安価となる。
さらに近年では熱可塑性エラストマの性能が向上しているため、例えば特開2005−035247号公報に提案されているように、射出ブロー成形方法を用いることでグロメットが一体化された形状の大径筒部をもつ等速ジョイント用ブーツを製造することも行われつつある。
ところで大径筒部の内周表面には、周方向に連続したリング状のシール突条が形成されている。そしてシール突条がジョイントアウターレースに押圧されることで、シール性が発現される。しかし薄肉部と内周側へ突出する厚肉部とが周方向に交互に形成されてなる内周断面が非円形の大径筒部をもつブーツを射出ブロー成形方法で製造した場合には、厚肉部のヒケが大きいためにシール突条の形状が不安定となり、シール性が低下するという問題がある。
したがって図8、図9に示すような等速ジョイント用ブーツが考えられる。このブーツは、厚肉部100の表面に深い凹溝101を形成してヒケを低減するとともに、凹溝101の範囲を避けてシール突条102を形成している。ところがこのブーツでは、厚肉部100をクランプ200によって相手部材300に締結した時に、図10に示すように、凹溝101の両側の厚肉部100が外側と内側へ互いに離れるように変形し、シール性が低下するという不具合があった。
そこで特開2008−082432号公報には、厚肉部を締結するクランプの幅方向両側に爪部を形成し、一対の爪部で凹溝の両側の厚肉部が互いに外側へ離れるのを規制した締結構造が記載されている。しかし特殊なクランプを用いる必要があり、組付工数や管理工数が多大となってコスト面で不具合がある。
さらに特開2006−097881号公報には、厚肉部(14)に肉盗み凹部(40)を形成し、肉盗み凹部(40)に周方向に支持壁部(30)を形成し、支持壁部(30)間を連結壁(32,34)で連結した構造が記載されている。しかしこの構造では、連結壁(32,34)が厚肉部(14)の内周面から形成されているため、その付近のシールリブにヒケが生じやすいという問題がある。
実開平02−087131号公報 特開2005−035247号公報 特開2006−097881号公報 特開2008−082432号公報
本発明は上記した事情に鑑みてなされたものであり、大径筒部の形状を工夫することで、厚肉部のヒケを防止するとともに、クランプによる締結時における厚肉部の不要な変形を防止することを目的とする。
上記課題を解決する本発明の等速ジョイント用ブーツの特徴は、小径筒部と、小径筒部と離間して同軸的に配置され小径筒部より大径の大径筒部と、小径筒部と大径筒部を一体的に連結する略円錐台形状の蛇腹部とからなり、大径筒部の外周表面から締結部材を縮径させることで相手部材に大径筒部が締結される等速ジョイント用ブーツであって、
大径筒部は、薄肉部と内周側へ突出する厚肉部とが周方向に交互に形成されてなる内周断面が非円形に形成され、薄肉部及び厚肉部の内周表面には周方向に連続したリング状のシール突条が少なくとも2本形成され、
それぞれの厚肉部の内部には、両端が厚肉部の外周表面に開口し周方向に延びるトンネル状空間を有することにある。
本発明の等速ジョイント用ブーツによれば、厚肉部の内部にトンネル状空間が形成されているため、成形時における厚肉部のヒケが防止される。またトンネル状空間の両端開口が厚肉部の表面に表出しているものの、開口と開口の間には厚肉部の両端を連結する橋部が形成されている。したがってクランプで締結した場合には、橋部によって剛性が高まり厚肉部の両端が互いに離れるように変形するのが防止される。この両者の効果によって、本発明の等速ジョイント用ブーツによれば高いシール性が発現される。
トンネル状空間は、2本のシール突条の間に位置していることが望ましい。換言すれば、厚肉部の外周表面にはクランプが係合するクランプ係合部をもち、大径筒部の軸方向におけるクランプ係合部の幅寸法をA、2本のシール突条の間隔をB、トンネル状空間の間隙寸法をCとしたとき、C<B<Aの関係を満たすことが望ましい。このようにすれば、クランプによる圧縮力が厚肉部を介してシール突条に確実に伝わるため、シール性がさらに向上する。
またトンネル状空間は、大径筒部の軸を含む平面で切断したときの断面形状が径方向に長い縦長とすることが望ましい。このようにすれば、C<B<Aの関係を維持しつつ、トンネル状空間の容積を大きく確保することができる。
ブーツ本体は、小径筒部と、小径筒部と離間して同軸的に配置され小径筒部より大径の大径筒部と、小径筒部と大径筒部を一体的に連結する略円錐台形状の蛇腹部とからなる。大径筒部は、薄肉部と内周側へ突出する厚肉部とが周方向に交互に形成されてなり、内周断面が非円形に形成されている。大径筒部の内周表面には、相手部材の外周表面に弾接してシールする少なくとも2本のシール突条がリング状に形成されている。
このブーツ本体は、ポリエステル系あるいはポリオレフィン系などの熱可塑性エラストマから形成され、これにより耐久性の高いブーツとなっている。また成形方法は特に制限されないが、少なくとも大径筒部を射出成形で形成し、蛇腹部はブロー成形で形成する射出ブロー成形で製造することが好ましい。
それぞれの厚肉部の内部には、両端が厚肉部の外周表面に開口し周方向に延びるトンネル状空間が形成されている。このトンネル状空間の容積が大きいほど厚肉部のヒケを防止できるが、大径筒部の軸方向におけるトンネル状空間の間隙寸法が2本のシール突条の間に配置できる程度とすることが望ましい。トンネル状空間がシール突条に対向する位置まで形成されると、クランプの締結力がシール突条に伝わり難くなり、シール性が低下する。
また厚肉部の外周表面には、クランプが係合するクランプ係合部が形成されているが、大径筒部の軸方向におけるクランプ係合部の幅寸法をA、2本のシール突条の大径筒部軸方向における間隔をB、トンネル状空間の大径筒部軸方向における間隙寸法をCとしたとき、C<B<Aの関係を満たすことが望ましい。C≧BあるいはB≧Aでは、クランプで締結したときの圧縮力がシール突条に十分に伝わり難くなり、シール性が低下する。
トンネル状空間を大径筒部の軸を含む平面で切断したときの断面形状は、円形、楕円形、多角形など特に制限されないが、大径筒部の径方向に長い縦長断面形状とすることが望ましい。このようにすれば、C<B<Aの関係を維持しつつ、トンネル状空間の容積を大きく確保することができる。またC<<Aとなるため、トンネル状空間の容積を維持してヒケを防止しつつ、クランプで締結したときの厚肉部の変形をさらに防止することができる。
なおトンネル状空間の内壁面のうち大径筒部の径方向で最も内径側の壁面と厚肉部の内周表面との距離は、薄肉部の肉厚と同程度とするのが好ましい。このようにすることで成形時のヒケ程度が薄肉部と同等となるため、形状精度がさらに向上しシール性がさらに向上する。
以下、実施例により本発明を具体的に説明する。
(実施例1)
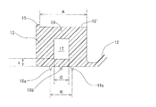
図1に本実施例の等速ジョイント用ブーツの斜視図を、図2にブーツの要部断面図を、図3に厚肉部の拡大断面図を示す。この等速ジョイント用ブーツ1は、熱可塑性エラストマ材料から射出ブロー成形により形成されている。ブーツ1は、小径筒部10と、小径筒部10より大径の大径筒部11と、小径筒部10と大径筒部11を一体的に連結する略円錐台形状の蛇腹部12とよりなる。
このブーツ1は、図4に示すように、大径筒部11がジョイントアウターレース3に被着され、大径筒部11の外周からクランプ2によって締結される。ジョイントアウターレース3は、先端に3個のローラが回動自在に保持されたインナーシャフトが挿通されるため、外周形状が非円形となっている。大径筒部11の外周は断面真円形であるが、内周表面はジョイントアウターレース3の外周表面に対応した非円形の異形断面をなし、厚肉部13と薄肉部14とがそれぞれ3箇所ずつ円周方向に交互に形成されている。
大径筒部11は射出成形によって形成され、その端面には径方向外方へ突出するリング状のリブ15が形成されている。大径筒部11の外周表面には図4に示すようにクランプ2が配置され、リブ15はクランプ2の脱落を防止している。厚肉部13と薄肉部14の内周表面には、ジョイントアウターレース3に弾接する三条のリング状のシール突条16a、16b、16cが円周方向に延びて全周に互いに平行に形成されている。
それぞれの厚肉部13の内部には、断面の切片方向に延びるトンネル状空間17が形成されている。トンネル状空間17は厚肉部13を貫通し、それぞれの厚肉部13の外周表面には長孔状の一対の開口18が形成されている。一対の開口18どうしの間には、それぞれ橋部19が形成されている。トンネル状空間17の断面形状は、図3、4に示すように、大径筒部11の径方向に長い縦長の長方形状をなし、リブ15を除く大径筒部11の軸方向長さをA、外側及び内側の2本のシール突条16a、16cの大径筒部11軸方向における間隔をB、トンネル状空間17の大径筒部11軸方向における寸法をCとしたとき、C<B<Aの関係が満たされている。またトンネル状空間17の内壁面と厚肉部13の内周表面との距離、つまり図3に示す厚さtは、薄肉部14の肉厚とほぼ同等となるように設計されている。
大径筒部11のトンネル状空間17を成形するには、スライドコアなどを適宜用いて成形することができる。
すなわち本実施例のブーツ1によれば、厚肉部13にはトンネル状空間17が形成されているため成形時のヒケが抑制され、厚肉部13の内周表面形状の精度が高い。したがってシール突条16a、16b、16cの精度が高い。またクランプ2で締結したときに、橋部19が存在しているため、厚肉部13がクランプ2の両側へ逃げるように変形するのが防止される。さらにC<Bの関係となっているので、クランプ2からの径方向への圧縮力が外側及び内側の2本のシール突条16a、16cに確実に伝達される。この三つの作用によって、本実施例のブーツ1は高いシール性を発現する。
因みに、トンネル状空間17をもたないこと以外は本実施例のブーツと同一のブーツを比較例とし、クランプ2によってジョイントアウターレース3に締結した状態におけるシール面圧を測定した。シール面圧の測定は、感圧紙を用いて行った。結果を図5に示す。
図5から、本実施例のブーツによれば比較例のブーツに比べてシール面圧が1.5倍に向上していることがわかり、これはトンネル状空間17を形成したことによる効果であることが明らかである。
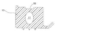
(実施例2)
図6に、実施例2に係るブーツの要部断面図を示す。本実施例のブーツは、厚肉部13の外周表面に溝50が形成されていること以外は実施例1と同様である。この溝50は、薄肉部14の外周表面にも形成され、大径筒部11の外周表面を同じ深さで一周している。このブーツによれば、厚肉部13のヒケをさらに防止することができ、シール性がさらに向上する。
(実施例3)
図7に、実施例3に係るブーツの要部断面図を示す。本実施例のブーツは、トンネル状空間17の断面形状が楕円形であること以外は実施例2と同様である。本実施例のブーツも、実施例2のブーツと同様の作用効果を奏することは言うまでもない。
本発明の一実施例に係る等速ジョイント用ブーツの斜視図である。 本発明の一実施例に係る等速ジョイント用ブーツの断面図である。 本発明の一実施例に係る等速ジョイント用ブーツの要部拡大断面図である。 本発明の一実施例に係る等速ジョイント用ブーツを相手部材に組み付けた状態で示す要部拡大断面図である。 シール面圧を示すグラフである。 本発明の第2の実施例に係る等速ジョイント用ブーツの要部拡大断面図である。 本発明の第3の実施例に係る等速ジョイント用ブーツの要部拡大断面図である。 従来の等速ジョイント用ブーツを相手部材に組み付ける前の状態で示す要部拡大断面図である。 従来の等速ジョイント用ブーツを相手部材に組み付けた状態で示す要部拡大断面図である。
符号の説明
1:ブーツ本体 2:クランプ
3:ジョイントアウターレース(相手部材) 11:大径筒部
12:蛇腹部 13:厚肉部 14:薄肉部
16:シール突条 17:トンネル状空間 18:開口
19:橋部

Claims (4)

  1. 小径筒部と、該小径筒部と離間して同軸的に配置され該小径筒部より大径の大径筒部と、該小径筒部と該大径筒部を一体的に連結する略円錐台形状の蛇腹部とからなり、該大径筒部の外周表面から締結部材を縮径させることで相手部材に該大径筒部が締結される等速ジョイント用ブーツであって、
    該大径筒部は、薄肉部と内周側へ突出する厚肉部とが周方向に交互に形成されてなる内周断面が非円形に形成され、該薄肉部及び該厚肉部の内周表面には周方向に連続したリング状のシール突条が少なくとも2本形成され、
    それぞれの該厚肉部の内部には、両端が該厚肉部の外周表面に開口し周方向に延びるトンネル状空間を有することを特徴とする等速ジョイント用ブーツ。
  2. 前記トンネル状空間は、2本の前記シール突条の間に位置している請求項1に記載の等速ジョイント用ブーツ。
  3. 前記厚肉部の外周表面にはクランプが係合するクランプ係合部が形成され、前記大径筒部の軸方向における該クランプ係合部の幅寸法をA、2本の前記シール突条の間隔をB、前記トンネル状空間の間隙寸法をCとしたとき、C<B<Aの関係を満たす請求項1又は請求項2に記載の等速ジョイント用ブーツ。
  4. 前記トンネル状空間は、前記大径筒部の軸を含む平面で切断したときの断面形状が径方向に長い縦長である請求項1に記載の等速ジョイント用ブーツ。
JP2008188539A 2008-07-22 2008-07-22 等速ジョイント用ブーツ Expired - Fee Related JP4877289B2 (ja)

Priority Applications (1)

Application Number Priority Date Filing Date Title
JP2008188539A JP4877289B2 (ja) 2008-07-22 2008-07-22 等速ジョイント用ブーツ

Applications Claiming Priority (1)

Application Number Priority Date Filing Date Title
JP2008188539A JP4877289B2 (ja) 2008-07-22 2008-07-22 等速ジョイント用ブーツ

Publications (2)

Publication Number Publication Date
JP2010025255A true JP2010025255A (ja) 2010-02-04
JP4877289B2 JP4877289B2 (ja) 2012-02-15

Family

ID=41731284

Family Applications (1)

Application Number Title Priority Date Filing Date
JP2008188539A Expired - Fee Related JP4877289B2 (ja) 2008-07-22 2008-07-22 等速ジョイント用ブーツ

Country Status (1)

Country Link
JP (1) JP4877289B2 (ja)

Cited By (2)

* Cited by examiner, † Cited by third party
Publication number Priority date Publication date Assignee Title
JP2020505570A (ja) * 2017-01-11 2020-02-20 ゲーカーエン ドライブライン インターナショナル ゲゼルシャフト ミト ベシュレンクテル ハフツングGkn Driveline International Gmbh ローブ領域及び/又はガイド領域に少なくとも2つの溝を有するベローズ
JP2020514650A (ja) * 2017-01-11 2020-05-21 ゲーカーエン ドライブライン インターナショナル ゲゼルシャフト ミト ベシュレンクテル ハフツングGkn Driveline International Gmbh 少なくとも1つの内部溝で構成されるベローズ

Citations (4)

* Cited by examiner, † Cited by third party
Publication number Priority date Publication date Assignee Title
JPH10110738A (ja) * 1996-10-07 1998-04-28 Keeper Co Ltd ブーツ
JP2003329057A (ja) * 2002-05-14 2003-11-19 Toyo Tire & Rubber Co Ltd 樹脂製ジョイントブーツ
JP2006118612A (ja) * 2004-10-21 2006-05-11 Toyo Tire & Rubber Co Ltd ジョイントブーツ
JP2007502956A (ja) * 2003-05-21 2007-02-15 ゲー カー エヌ ドライブライン インターナショナル ゲゼルシャフト ミット ベシュレンクテル ハフツング ベローズ装置

Patent Citations (4)

* Cited by examiner, † Cited by third party
Publication number Priority date Publication date Assignee Title
JPH10110738A (ja) * 1996-10-07 1998-04-28 Keeper Co Ltd ブーツ
JP2003329057A (ja) * 2002-05-14 2003-11-19 Toyo Tire & Rubber Co Ltd 樹脂製ジョイントブーツ
JP2007502956A (ja) * 2003-05-21 2007-02-15 ゲー カー エヌ ドライブライン インターナショナル ゲゼルシャフト ミット ベシュレンクテル ハフツング ベローズ装置
JP2006118612A (ja) * 2004-10-21 2006-05-11 Toyo Tire & Rubber Co Ltd ジョイントブーツ

Cited By (5)

* Cited by examiner, † Cited by third party
Publication number Priority date Publication date Assignee Title
JP2020505570A (ja) * 2017-01-11 2020-02-20 ゲーカーエン ドライブライン インターナショナル ゲゼルシャフト ミト ベシュレンクテル ハフツングGkn Driveline International Gmbh ローブ領域及び/又はガイド領域に少なくとも2つの溝を有するベローズ
JP2020514650A (ja) * 2017-01-11 2020-05-21 ゲーカーエン ドライブライン インターナショナル ゲゼルシャフト ミト ベシュレンクテル ハフツングGkn Driveline International Gmbh 少なくとも1つの内部溝で構成されるベローズ
US11226011B2 (en) 2017-01-11 2022-01-18 Gkn Driveline International Gmbh Bellows comprising at least one internal groove
US11333244B2 (en) 2017-01-11 2022-05-17 Gkn Driveline International Gmbh Bellows with grooves
JP7158408B2 (ja) 2017-01-11 2022-10-21 ゲーカーエン ドライブライン インターナショナル ゲゼルシャフト ミト ベシュレンクテル ハフツング 少なくとも1つの内部溝で構成されるベローズ

Also Published As

Publication number Publication date
JP4877289B2 (ja) 2012-02-15

Similar Documents

Publication Publication Date Title
KR102077277B1 (ko) 오일 시일
CN107407420B (zh) 密封装置
WO2014030742A1 (ja) 密封装置
JP2004138175A (ja) 等速ジョイント用ブーツ
JP4189648B2 (ja) 等速ジョイント用ブーツ
JP4877289B2 (ja) 等速ジョイント用ブーツ
JP5012771B2 (ja) 等速ジョイント用ブーツ
CN103890418A (zh) 球窝接头用防尘罩
JP2009085265A (ja) 等速ジョイント用ブーツ
JP5024338B2 (ja) 等速ジョイント用ブーツ
JP2018132078A (ja) ガスケット及び密封構造
JP6405777B2 (ja) オイルシール
JP5534733B2 (ja) 自在継手用ブーツ
US10156268B2 (en) Boot with insert
JP6119965B2 (ja) ボールジョイント用ダストカバー
JP2008082432A (ja) 等速ジョイント用ブーツ締結構造
JP6426828B2 (ja) 密封装置
JP2006342828A (ja) 密封装置
JP2020101251A (ja) 環状シール部材
JP2005265162A (ja) 密封装置
KR101124672B1 (ko) 바퀴측용 등속조인트 부트
JP4562592B2 (ja) ブーツ
JP7133321B2 (ja) ブーツ
JP2019007587A (ja) たわみ軸継手用の水よけ
JP2008082431A (ja) 等速ジョイント用ブーツ

Legal Events

Date Code Title Description
A621 Written request for application examination

Free format text: JAPANESE INTERMEDIATE CODE: A621

Effective date: 20100723

A977 Report on retrieval

Free format text: JAPANESE INTERMEDIATE CODE: A971007

Effective date: 20111026

TRDD Decision of grant or rejection written
A01 Written decision to grant a patent or to grant a registration (utility model)

Free format text: JAPANESE INTERMEDIATE CODE: A01

Effective date: 20111101

A01 Written decision to grant a patent or to grant a registration (utility model)

Free format text: JAPANESE INTERMEDIATE CODE: A01

A61 First payment of annual fees (during grant procedure)

Free format text: JAPANESE INTERMEDIATE CODE: A61

Effective date: 20111114

R150 Certificate of patent or registration of utility model

Free format text: JAPANESE INTERMEDIATE CODE: R150

FPAY Renewal fee payment (event date is renewal date of database)

Free format text: PAYMENT UNTIL: 20141209

Year of fee payment: 3

LAPS Cancellation because of no payment of annual fees