JP2010024642A - 床材用脚部材及び床の施工方法 - Google Patents

床材用脚部材及び床の施工方法 Download PDF

Info

Publication number
JP2010024642A
JP2010024642A JP2008184472A JP2008184472A JP2010024642A JP 2010024642 A JP2010024642 A JP 2010024642A JP 2008184472 A JP2008184472 A JP 2008184472A JP 2008184472 A JP2008184472 A JP 2008184472A JP 2010024642 A JP2010024642 A JP 2010024642A
Authority
JP
Japan
Prior art keywords
flooring
floor
leg member
leg
carpet
Prior art date
Legal status (The legal status is an assumption and is not a legal conclusion. Google has not performed a legal analysis and makes no representation as to the accuracy of the status listed.)
Granted
Application number
JP2008184472A
Other languages
English (en)
Other versions
JP4738450B2 (ja
Inventor
Nariyasu Murata
成康 村田
Current Assignee (The listed assignees may be inaccurate. Google has not performed a legal analysis and makes no representation or warranty as to the accuracy of the list.)
Misawa Homes Co Ltd
Original Assignee
Misawa Homes Co Ltd
Priority date (The priority date is an assumption and is not a legal conclusion. Google has not performed a legal analysis and makes no representation as to the accuracy of the date listed.)
Filing date
Publication date
Application filed by Misawa Homes Co Ltd filed Critical Misawa Homes Co Ltd
Priority to JP2008184472A priority Critical patent/JP4738450B2/ja
Publication of JP2010024642A publication Critical patent/JP2010024642A/ja
Application granted granted Critical
Publication of JP4738450B2 publication Critical patent/JP4738450B2/ja
Expired - Fee Related legal-status Critical Current
Anticipated expiration legal-status Critical

Links

Images

Landscapes

  • Floor Finish (AREA)

Abstract

【課題】部材全体の小型化を図ることができるようになる床材用脚部材、及びこの床材用脚部材を使用した床の施工方法を提供すること。
【解決手段】床下地材2に軟質敷物部材であるカーペット3が取り付けられている軟質床を硬質床にするための床材6は、硬質材料である木材等で形成されており、この床材6の下面6Bには、この下面6Bの一部から下方へ突出している複数の脚部材10が取り付けられ、それぞれの脚部材10の円柱状部10Aの下部に設けられた第1侵入部である針部10Dは、カーペット3に上から侵入して床下地材2の内部まで到達可能となっている。
【選択図】図4

Description

本発明は、住宅やオフィス等に設置される床材に使用する床材用脚部材、及びこの床材用脚部材を使用した床の施工方法に係り、例えば、カーペットや絨毯等による既設の軟質床をフローリング等による硬質床に改装する際や、住宅やオフィス等の新築において断熱材や遮音材等の上にフローリング等による硬質床を設置する際等に利用できるものである。
従来より、床の経年化や居住者の希望、あるいは居住形態の変更、居住者自体の交代等により、床下地材の上に配置された軟質敷物部材であるカーペットや絨毯等で仕上げられた軟質床をフローリング等による硬質床に改装しなければならない場合があり、下記の特許文献1には、軟質床の表面を形成しているカーペット等を床下地材から取り外さずに、軟質床を硬質床に改装するための床材が示されている。
この特許文献1によると、フローリング等の硬質材料で形成されている床材の下面には、脚部材が接着剤で取り付けられており、この脚部材は、床材の下面と同じ面積を有する板状部と、この板状部の下面から下方へ突出している複数の柱状部と、を含んで構成されている。また、床材は、水平方向に複数並設されており、それぞれの床材における互いに反対側の2個の側面のうちの一方には実が形成され、他方には溝が形成されている。隣接する2個の床材のうちの一方の床材の実が、他方の床材の溝に嵌合されてこれらの床材同士が接続されるようになっている。
カーペット等による既設の軟質床をフローリング等による硬質床に改装するためには、床材の下面に取り付けられている脚部材の柱状部をカーペットの軟質部を形成している毛部の上から侵入させてその先端をカーペットの固い基部である基布に当てる。そして、床材の溝側の端部において止着具である長寸の釘を打ち、この釘を床材、脚部材の板状部及びカーペット等に貫通させて床下地材に打ち込む。また、脚部材の板状部の外縁部には下方へ延びる固定用片が設けられており、この固定用片の水平部において短寸の釘を打ち、この釘をカーペット等に貫通させて床下地材に到達させる。これにより、改装後の床は、フローリングにより表面が仕上げられた硬質床となる。
特開2000−314227号公報(図1〜図3)
ところで、上述した従来の床材用脚部材では、板状部が床材の下面と同じ面積を有しているため、脚部材が大型化していた。このため、脚部材の製造作業に手間と時間がかかり、また、脚部材の製造コストも高くなるという問題があった。
本発明の目的は、部材全体の小型化を図ることができるようになる床材用脚部材、及びこの床材用脚部材を使用した床の施工方法を提供するところにある。
本発明に係る床材用脚部材(以下「脚部材」という)は、床下地材の上に配置された軟質敷物部材の上に設けられる硬質材料で形成された床材の下面の一部から下方へ突出して取り付けられ、前記軟質敷物部材に上から侵入して前記床下地材の内部又はその表面又はその近傍まで到達可能となっていることを特徴とするものである。
本発明では、脚部材は、床材の下面の一部から下方へ突出するものとなっている。言い換えると、本発明では、脚部材は、床材の下面の面積よりも小さいものとなっている。このように、本発明に係る脚部材は、従来の脚部材とは異なり、床材の下面の面積と同じ板状部を有するものではなく、小面積化されている。このため、本発明によると、脚部材の小型化を図ることができる。
また、本発明によると、従来のような床材の下面の面積と同じ板状部を有していない分、脚部材の軽量化や、脚部材の製造コストの低減化も図ることができるようになる。
また、本発明では、床材の下面の一部から下方へ突出して取り付けられている脚部材は、床下地材の上に配置された軟質敷物部材に上から侵入して床下地材の内部又はその表面又はその近傍まで到達可能となっている。したがって、床材の下面に取り付けられている脚部材を床下地材の上に配置された軟質敷物部材に上から侵入させ、床下地材の内部又はその表面又はその近傍まで到達させることにより、硬質材料で形成されている床材を軟質敷物部材の上に配置することができる。特に、脚部材が床下地材の内部まで到達可能となっている場合には、軟質敷物部材に対する床材の不動状態を確実なものとすることができる。
このため、本発明によると、従来の脚部材と比較して、床材を軟質敷物部材の上に簡単に設置することができるようになる。
ここで、軟質敷物部材とは、住宅やオフィス等の床下地材の上に既設されているカーペットや絨毯等(例えば、軟質部を形成する毛部と、固い基部を形成する基布とを含んで構成されるもの等)や、住宅やオフィス等の新築において床下地材の上に配置される断熱材や遮音材等(例えば、グラスウール、ウレタンフォーム等)をいう。
また、「前記軟質敷物部材に上から侵入して前記床下地材の内部又はその表面又はその近傍まで到達可能となっている」とあるので、脚部材は、軟質敷物部材に上から侵入した後、床下地材の内部に到達するものでもよく、床下地材の内部に到達せずにこの床下地材の表面に到達するものでもよく、床下地材の近傍、すなわち、軟質敷物部材の内部(例えば、軟質部を形成する毛部や、固い基部を形成する基布)に到達するものでもよい。言い換えると、脚部材は、軟質敷物部材に上から侵入した後、この軟質敷物部材を貫通するものでもよく、貫通しないものでもよい。
本発明において、床材を形成する硬質材料は任意であり、例えば、木材でもよく、木粉に合成樹脂製の接着剤を混合して成形したものでもよく、合成樹脂でもよく、金属等でもよい。
また、床材は、細幅状のもので幅方向に複数並設されるものでもよく、小面積のパネル状のもので前後方向及び左右方向に複数並設されるものでもよく、大面積の面材状のもので1枚又は少数枚の並設によるものでもよい。
なお、本発明において、脚部材は、金属製でもよく、合成樹脂製でもよく、木製等でもよい。
本発明において、脚部材の形式、構造は、床材の下面の一部から下方へ突出して取り付けられ、軟質敷物部材に上から侵入して床下地材の内部又はその表面又はその近傍まで到達可能となっているものあれば任意であるが、この脚部材は、床材の下面の面積より小さな面積を有し、前記床材の前記下面に結合されて下向きの荷重を受ける荷重受け部が設けられていることが好ましい。
これによると、床下本体を上向きに支持することになる脚部材に対して下向きの荷重がかかっても、脚部材の支持状態の安定化を図ることができる。
本発明において、前記荷重受け部が設けられている脚部材の形式、構造は任意であり、その第1の例として、荷重受け部の下面には、この下面から下方へ延び、上下方向の長さを有する1個の柱状部が設けられているものを挙げることができる。
また、前記荷重受け部が設けられている脚部材の第2の例として、荷重受け部は、平板状となっており、この荷重受け部の下面には、この下面から下方へ延び、上下方向の長さを有する複数の柱状部が設けられているものを挙げることができる。
脚部材の上記第1及び第2の例において、前記荷重受け部を第1荷重受け部とした場合、前記柱状部の下部には、床材の下面の面積より小さな面積を有し、軟質敷物部材に当接して下向きの荷重を受ける第2荷重受け部を設けるようにしてもよい。
また、以上説明した脚部材の上記第1及び第2の例において、前記柱状部の下部には、床下地材の内部まで侵入可能な侵入部を設けてもよく、設けなくてもよい。
前者の場合によると、侵入部が床下地材の内部まで侵入することで、軟質敷物部材に対する床材の不動状態を後者の場合と比較してより確実なものとすることができる。ここで、侵入部の形式、構造は、床下地材の内部まで侵入可能なものであれば任意であり、例えば、ハンマー等の工具で打ち込むことにより床下地材の内部まで侵入する針部(例えば、下向きに尖っている円錐形状のもの)でもよく、ドライバー等の工具でねじ込むことにより床下地材の内部まで侵入するねじ部(例えば、表面に螺旋状のねじ溝を設けた下向きに尖っている円錐形状のもの)等でもよい。一方、後者の場合(前記柱状部の下部に前記侵入部を設けない場合)では、前記柱状部の下部は、軟質敷物部材あるいは床下地材の表面に接着剤等で固定することが好ましい。
なお、前記柱状部の下部に前記侵入部を設けた場合において、この侵入部を第1侵入部とした場合、前記柱状部の上部には、床材の内部に侵入可能な第2侵入部を設けるようにしてもよい。
これによると、前記柱状部の第2侵入部が床材の内部に侵入することで、前記脚部材は床材の下面に結合される。ここで、第2侵入部の形式、構造は、第1侵入部と同様に、床材の内部に侵入可能なものであれば任意であり、例えば、上述した針部(例えば、上向きに尖っている円錐形状のもの)や、ねじ部(例えば、表面に螺旋状のねじ溝を設けた上向きに尖っている円錐形状のもの)等でもよい。なお、前記柱状部の上部に、床材の内部に侵入可能な第2侵入部を設けない場合には、前記柱状部の上部は、床材の下面に接着剤等で固定する。
また、以上説明した脚部材の上記第1及び第2の例において、柱状部の下部には、床下地材の内部まで侵入可能な侵入部を設けずに、柱状部の上部のみに、床材の内部まで侵入可能な侵入部を設けるようにしてもよい。
脚部材の形式、構造の第3の例として、床材の下面に結合され、この下面の面積よりも小さな面積を有する平板状の水平部と、この水平部から下方に延びる垂下部と、を有するアングル状となっており、前記水平部は、下向きの荷重を受ける荷重受け部となっているものを挙げることができる。ここで、水平部を床材の下面に結合する方法は任意であり、例えば、ビスや釘等の止着具による止着でもよく、接着剤による接着あるいは溶接による溶着等でもよい。
なお、前記垂下部の先端(下端部)は、軟質敷物部材あるいは床下地材の表面に接着剤等で固定することが好ましい。
以上説明した本発明において、床材が水平方向に複数並設されるものである場合には、それぞれの床材同士の接続構造は任意であり、その第1の例は、それぞれの床材における互いに反対側の2個の側面のうちの一方には実を形成し、他方には溝を形成し、互いに隣接する2個の床材のうちの一方の床材の実を他方の床材の溝に嵌合することにより、これらの床材同士を接続することである。また、第2の例は、それぞれの床材における互いに反対側の2個の側面のうちの一方には床材の半分の厚さによる上半分の段部用突部を、他方には床材の半分の厚さによる下半分の段部用突部をそれぞれ形成し、互いに隣接する2個の床材をこれらの段部用突部同士の係合で接続することである。
床材同士の接続構造の上記第1の例において、脚部材は、それぞれの床材の下面のうち、先に配設された床材の実と溝のうちの一方に嵌合する実と溝のうちの他方が形成されている側面とは反対側の側面側に寄った位置に設けることが好ましい。
これによると、床材同士を接続する際に、脚部材が軟質敷物部材に当接して作業の妨げになることがなくなるため、床材同士の接続作業が容易にできるようになる。
なお、床材同士の接続構造の上記第2の例においても、脚部材は、それぞれの床材の下面のうち、先に配設された床材の上半分の段部用突部と下半分の段部用突部のうちの一方に嵌合する上半分の段部用突部と下半分の段部用突部のうちの他方が形成されている側面とは反対側の側面側に寄った位置に設けることが好ましい。
本発明において、床下地材とは、木製のものだけでなく、鉄筋コンクリート(RC)製のもの等も含む。後者の場合において、本発明に係る脚部材を、鉄筋コンクリート製の床下地材の内部まで到達させるためには、予め床下地材の内部にアンカー部材を埋設しておき、このアンカー部材の内部に、脚部材の柱状部の下部に設けられた侵入部や、脚部材を貫通する長寸の釘等を到達させればよい。
なお、床下地材が木製のものとなっている場合においても、予め木製の床下地材の内部にアンカー部材を埋設しておき、このアンカー部材の内部に、脚部材の柱状部の下部に設けられた侵入部や、脚部材を貫通する長寸の釘等を到達させるようにしてもよい。
以上説明した本発明に係る脚部材を使用した床の施工方法は、任意であり、この床の施工方法の第1の例は、上述した脚部材を床材の下面に取り付ける工程と、次いで、前記脚部材が取り付けられた前記床材を前記軟質敷物部材の上に設置する工程と、を有していることを特徴とするものである。すなわち、この第1の例は、先に脚部材を床材の下面に取り付ける施工方法である。
また、床の施工方法の第2の例は、上述した脚部材を軟質敷物部材の上に設置する工程と、次いで、前記脚部材に床材を載置固定する工程と、を有していることを特徴とするものである。すなわち、この第2の例は、先に脚部材を軟質敷物部材の上に設置する施工方法である。
床の施工方法の前記第1の例において、軟質敷物部材の上に設置する脚部材が複数となっている場合には、複数の脚部材に架け渡し可能な長さ寸法を有する板状部材を、前記複数の脚部材に架け渡した後、前記板状部材の上面に水準器を載置してこの板状部材の水平状態を測定し、前記水準器が、前記板状部材が水平状態であることを示していないとき、前記脚部材の上部にこの脚部材の高さ位置を調整するための高さ位置調整部材を配置する工程を有することが好ましい。
これによると、脚部材に床材を載置固定する前に、この床材の水平レベルを確認、調整することができる。すなわち、軟質敷物部材の上に設置した複数の脚部材の高さ位置が均一となっているかどうかを測定することでき、複数の脚部材の高さ位置が均一になっていない場合には、脚部材の上部に高さ位置調整部材を配置して、複数の脚部材の高さ位置が均一となるように調整することができる。
また、床の施工方法の前記第1の例において、軟質敷物部材の上に設置する脚部材が複数となっている場合には、これら複数の脚部材を前記軟質敷物部材の上に設置した後、前記複数の脚部材に架設可能な長さ寸法を有する板状部材を、前記複数の脚部材に架設する工程を有するようにしてもよい。
これによると、板状部材を複数の脚部材に架設することで、床材が固定される部分(言い換えると、床材を上向きに支持する部分)が増えるため、床材の剛性が増大する。また、板状部材の厚さ寸法(上下寸法)を変更することにより、床材の高さ位置を自由に変更することができる。なお、板状部材を複数の脚部材に架け渡したとき、言い換えると、板状部材を複数の脚部材に載置したときには、前述したように、板状部材の上面に水準器を載置し、複数の脚部材の高さ位置が均一になっているかどうかを測定するようにしてもよい。
以上の本発明に係る床の施工方法において、床材は、水平方向に複数並設され、それぞれの床材における互いに反対側の2個の側面のうちの一方には実が形成され、他方には溝が形成され、互いに隣接する2個の床材のうちの一方の床材の実が、他方の床材の溝に嵌合されてこれらの床材同士が接続されるものである場合には、脚部材は、それぞれの床材の下面のうち、先に配設された床材の実と溝のうちの一方に嵌合する実と溝のうちの他方が形成されている側面とは反対側の側面側に寄った位置に配置するようにしてもよい。
本発明によると、床材用脚部材の小型化を図ることができるという効果を得られる。
以下に本発明の一実施形態を図面に基づいて説明する。図1には、根太1の上に取り付けられた床下地材2と、この床下地材2の上に接着剤等で固定された軟質敷物部材3と、を含んで構成される軟質床4と、この軟質床4を硬質床に改装するために、軟質敷物部材3の上に配置される床材6と、この床材6の下面6Bに取り付けられる床材脚部材(以下「脚部材」という)10の斜視図が示されている。
この図1からわかるように、軟質床4の仕上げ材となっている軟質敷物部材3は、本実施形態ではカーペットであり、このカーペット3は、固い基部である基布3Aと、基布3Aから上方へ延び、カーペット3の軟質部を形成している毛部3Bと、を含んで構成されている。
なお、床下地材2とカーペット3との間に硬質の床材が設けられていてもよく、このような場合でも、以下の説明では、硬質の床材を含めて床下地材2という。
床材6は、図1に示すように、硬質材料で形成されており、この床材6の下面(裏面)6Bには、この下面6Bから下方へ突出している複数の脚部材10が取り付けられており、これらの脚部材10は、本発明の第1の実施形態に係る脚部材となっている。
本実施形態では、床材6を形成する硬質材料は、木材や、木粉に合成樹脂製の接着剤を混合して成形したもの等、すなわち、フローリングとなっている。改装作業により、カーペット3の上には床材6が不動に配置され、改装後の床は、フローリングにより表面が仕上げられた硬質床となる。
図2は、下面6Bに脚部材10が取り付けられた状態の図1に示されている床材6を表裏逆にして示した図、すなわち、下面6Bに脚部材10が取り付けられた状態の図1に示されている床材6の上面(表面)6Aと下面(裏面)6Bを逆にして示した図である。
この図2に示すように、床材6は細幅形状となっており、図1及び図2に示すように、この床材6の幅方向の一方の側面には、この床材6の厚さ中間部において、実6Cが形成され、他方の側面には床材6の厚さ中間部において、溝6Dが形成され、実6Cと溝6Dの床材6での高さ位置及び上下寸法は対応している。また、実6Cと溝6Dは床材6の長さ方向に連続して形成されている。
なお、図1からわかるように、厚さ方向中間部が実6Cとなっている床材6の側面の厚さ方向下部6Eの前面の位置は、厚さ方向上部6Fの前面の位置よりも溝6D側にずれており、一方、厚さ方向中間部が溝6Dとなっている床材6の側面の厚さ方向上部6Gの前面の位置は、厚さ方向下部6Hの前面の位置よりも実6C側にずれている。
また、図1及び図2に示すように、本実施形態では、2個の脚部材10が床材6の幅方向に互いに隣接して取り付けられており、これら2個の脚部材10は、床材6の長さ方向に一定間隔で複数取り付けられている。
なお、これらすべての脚部材10は、図1及び図2に示すように、床材6の下面6Bにおける実6Cと溝6Dのうちの一方の側(本実施形態では溝6D側)に寄った位置に取り付けられている。
図3には、脚部材10の拡大斜視図が示されている。この図3に示されているように、脚部材10の主要部は、上下方向の長さを有する円柱状部10Aとなっている。そして、円柱状部10Aの上部は、薄厚状の幅広部(言い換えると、円柱状部10Aよりも大きな直径寸法を有する大径部)10Bとなっており、円柱状部10Aの下部も、薄厚状の幅広部(大径部)10Cとなっている。なお、幅広部10Bの形状、寸法は、幅広部10Cと同じとなっている。
また、円柱状部10Aの下部(幅広部10Cよりも下の部分)には、下向きに尖った円錐形状の針部10Dが形成されており、円柱状部10Aの上部(幅広部10Bよりも上の部分)には、上向きに尖った円錐形状の針部10Eが形成されている。なお、針部10Dの上下寸法(長さ寸法)は、針部10Eの上下寸法(長さ寸法)よりも大きくなっている。
本実施形態では、脚部材10の針部10Eは、脚部材10を床材6の下面6Bに取り付けるための取付部となっており、針部10Eを床材6の下面6Bから侵入させ、この針部10Eの全部を床材6の内部に到達させるとともに、脚部材10の幅広部10Bの上面を、床材6の下面6Bに接着剤等で結合することにより、脚部材10は、床材6の下面6Bに取り付けられた状態となる。一方、脚部材10の針部10Dは、カーペット3を貫通して床下地材2の内部まで到達する部分となっている。
このため、本実施形態では、脚部材10の幅広部10Bは、床材6の下面6Bの面積よりも小さな面積を有し、床材6の下面6Bに接着剤等で結合される下向きの荷重を受ける第1荷重受け部となっている。そして、本実施形態では、第1荷重受け部の下面には、この下面から下方へ延び、上下方向の長さを有する1個の柱状部である円柱状部10Aが設けられている。一方、脚部材10の幅広部10Cは、床材6の下面6Bの面積よりも小さな面積を有し、カーペット3に当接して下向きの荷重を受ける第2荷重受け部となっている。
また、本実施形態では、脚部材10の下の針部10Dは、床下地材2の内部まで侵入可能な第1侵入部となっており、脚部材10の上の針部10Eは、床材6の内部に侵入可能な第2侵入部となっている。
なお、円柱状部10Aの上下寸法(幅広部10B,10Cの厚さ寸法を含む)は、カーペット3の毛部3Bの上下寸法と同じ又は略同じとなっている。
脚部材10は、予め工場において、床材6の下面6Bにおける前述した所定位置(図2参照)に複数取り付けられるようになっており、それぞれの脚部材10は、針部10Eが床材6の下面6Bの内部にハンマー等の工具で打ち込まれるとともに、幅広部10Bの上面が床材6の下面6Bに接着剤等で結合されることにより、床材6の下面6Bに取り付けられる。なお、脚部材10の針部10Eの床材6の下面6Bへの打ち込みは、脚部材10の幅広部10Bの上面が床材6の下面6Bに接触するまで、すなわち、針部10Eの全部が床材6の内部に侵入するまで行う。
なお、脚部材10の床材6の下面6Bへの取付作業は、現場において幅方向に複数並設される床材6全部又は略全部に対して行う。工場において、下面6Bに脚部材10が複数取り付けられたそれぞれの床材6は、この後、床の改装現場に運ばれる。
次に、改装現場で行う床の改装作業を説明する。図4には、床を改装すべき部屋の左右の壁11と12が示されている。まず、一方の壁11に実6C側の側面を押して当てながら最初の床材6の下面6Bに取り付けられた複数の脚部材10をカーペット3の上に置く。このとき、脚部材10の第1侵入部である針部10Dは、床材6の自重でカーペット3の軟質部である毛部3Bの内部(場合によっては、さらにカーペット3の基布3Aまで)に侵入するが、この後、床材6の上面6Aのうち、脚部材10が取り付けられている下面6Bの位置に対応する位置又はその近傍の位置を、上から2点鎖線で示すハンマー15等で叩くことにより、脚部材10の針部10Dをカーペット3の基布3Aの内部を貫通させて床下地材2に到達させる。
なお、最初の床材6については、実6Cの部分を切断してから配置するようにしてもよい。また、床材6の上面6Aのうち、ハンマー15等で叩く部分は、予めゴムや布等で形成された2点鎖線で示すカバー部材16で覆うようにしておき、床材6の上面6Aを保護することが好ましい。
本実施形態において、最初に設置する床材6、すなわち、最も壁11側に設置する床材6の幅方向の両端部のうちの壁11側の端部である実6Cは、壁11の側面に当接しているだけで壁11に係合している状態となっていないため、床材6は、水平姿勢を維持できずに壁11側へ傾斜するおそれがある。
このため、本実施形態では、最初に設置する床材6の下面6Bにおける幅方向の両端部のうち、実6Cが形成される側の端部には、床材6の水平姿勢をより確実に保持するための補助脚部材となっている本発明の第2の実施形態に係る脚部材20が取り付けられている。
図5には、この脚部材20の拡大斜視図が示されている。この図5に示されているように、脚部材20は、床材6の下面6Bの面積よりも小さな面積を有する正方形の板状部材で形成された水平部21と、この水平部21の下面の4隅から下方へ延び、上下方向の長さを有する角柱状部22とを有している。ここで、脚部材20の4個の角柱状部22は、水平部21と一体となっていてもよく、水平部21とは別体となっていてもよい。
本実施形態では、工場において床材6の下面6Bに接着剤、溶接又はビス等の止着具等で固定される水平部21は、下向きの荷重を受ける第1荷重受け部となっている。また、4個の角柱状部22は、カーペット3の毛部3Bの内部に侵入するが、カーペット3の基布3Aを貫通せずに、この基布3Aの上に載置した状態となる。このため、4個の角柱状部22の下端部の端面は、カーペット3に当接して下向きの荷重を受ける第2荷重受け部となっている。なお、図示されていないが、脚部材20は、床材6の長さ方向に一定間隔で複数取り付けられる。
このように、最初に設置する床材6は、下面6Bに脚部材20が取り付けられることによって、図4に示すように、水平姿勢がより確実に維持された状態でカーペット3の上に不動に配置される。
次いで、このようにカーペット3の上に不動に配置された最初の床材6の溝6Dに、この床材6の隣(図4では右隣)に配置する次の床材6の実6Cを嵌合するとともに、この床材6の下面6Bに取り付けられた複数の脚部材10をカーペット3の上に置き、この脚部材10の針部10Dをカーペット3の毛部3Bの内部に侵入させる。この後、前述と同様に、床材6の上面6Aのうち、脚部材10が取り付けられている下面6Bの位置に対応する位置又はその近傍の位置を、上からハンマー15等で叩くことにより、脚部材10の針部10Dをカーペット3の基布3Aの内部を貫通させて床下地材2の内部に到達させる。
次に、図4で示すように、以上と同じ作業を他の床材6について順次繰り返して行い、複数の床材6をその幅方向に並設する。
図4で示す前記壁11とは反対側の壁12の近くまで床材6を並設し、カーペット3が露出している残りの幅寸法が1個の床材6の幅寸法よりも小さくなったら、最後の床材6をその残りの幅寸法に適合する寸法に溝6D側から切断し、この小幅となった床材6の下面6Bに脚部材10を取り付ける。なお。この最後の床材6の切断作業や、この小幅となった床材6の下面6Bに脚部材10を取り付ける作業は、予め工場で行うようにしてもよい。
この後、先に配置した床材6の溝6Dに、加工した小幅の床材6の実6Cを嵌合しながら前述と同様にカーペット3の上に置く。そして、前述と同様に、小幅の床材6の上面6Aのうち、脚部材10が取り付けられている下面6Bの位置に対応する位置又はその近傍の位置を、上からハンマー15等で叩くことにより、脚部材10の針部10Dをカーペット3の基布3Aの内部を貫通させて床下地材2の内部に到達させる。
以上の作業が終了した後、壁11,12に幅木13,14を取り付けることで床の改装作業は終了する。
以上説明した本実施形態では、床下地材2の上に配置された軟質敷物部材であるカーペット3の上を硬質床とするために設置され、硬質材料で形成されている床材6の下面6Bに取り付けられる脚部材10は、床材6と同じ面積を有する板状部を有していた従来の脚部材とは異なり、床材6の下面(底面)6Bの面積よりも小さな面積を有し、床材6の下面6Bの一部から下方へ突出して取り付けられるものとなっている。
このため、本実施形態によると、従来の脚部材と比較して、脚部材の小型化が図られている。また、本実施形態によると、床材6と同じ面積を有する板状部を有していないため、その分、脚部材の軽量化が図られており、製造コストの低減化も図られている。
また、本実施形態では、床下地材2の上に配置されたカーペット3の上に、フローリング等で形成されている床材6を不動に設置するためには、下面6Bに複数の脚部材10を予め工場等において取り付けた床材6を、カーペット3の上に載置し、この後、ハンマー15等の工具による打ち込みにより、これらの脚部材10の針部10Dをカーペット3の上から侵入させて床下地材2の内部まで到達させるだけでよい。
このため、本実施形態によると、従来と比較して、床下地材2の上に配置されたカーペット3の上を硬質材料で形成された床とするための現場での作業工数を少なくすることができ、これにより、工期の短縮を図ることができるようになる。すなわち、本実施形態によると、床材6をカーペット3の上に簡単に設置することができるようになる。
また、本実施形態では、脚部材10の針部10Dの全部又は略全部は、カーペット3の毛部3Bの内部に侵入し、さらに固い基布3Aを貫通して床下地材2の内部まで到達可能となっている。
このため、本実施形態によると、床材6の高さ位置を一定にでき、床材6を安定的にカーペット3の上に配置できる。
また、本実施形態では、それぞれの脚部材10の円柱状部10Aの上部には、下向きの荷重を受ける第1荷重受け部となっている幅広部10Bが設けられており、円柱状部10Aの下部にも、下向きの荷重を受ける第2荷重受け部となっている幅広部10Cが設けられている。そして、図4に示すように、床材6がカーペット3の上に設置されている状態において、上の幅広部10Bの上面は、床材6の下面6Bに接触し、下の幅広部10Cの下面は、カーペット3の基布3Aあるいは毛部3Bに接触するようになっている。
このため、本実施形態によると、脚部材10に対して下向きの荷重(例えば、床材6の自重、これに加えて、床材6の上を通る人間の体重や、床材6の上に置かれた家具等の自重等)がかかっても、これらの幅広部10B,10Cの存在により、脚部材10の安定性が維持されるようになる。
また、本実施形態では、複数の脚部材10は、それぞれの床材6の下面6Bのうち、先に配設された床材6の実6Cと溝6Dのうちの一方(本実施形態では溝6D)に嵌合する実6Cと溝6Dのうちの他方(本実施形態では実6C)が形成されている側面とは反対側の側面側(本実施形態では溝6Dが形成されている側面側)に寄った位置に取り付けられている。これにより、先に配置した床材6の右隣に次の床材6を配置するために、先に配置した床材6の溝6Dに、次に配置する床材6の実6Cを嵌合させる際、脚部材10がカーペット3に当接して作業の妨げとなることを防止することができる。
このため、本実施形態によると、先に配設した床材6の溝6Dに、次に配設する床材6の実6Cを嵌合させる作業をスムーズに行うことができる。
また、本実施形態では、床材6の下面6Bのうち、溝6Dが形成されている側面側に寄った位置に、2個の脚部材10が床材6の幅方向に互いに隣接して取り付けられており、これら2個の脚部材10は、床材6の長さ方向に一定間隔で複数取り付けられている。
このため、本実施形態によると、床材6の幅方向に取り付ける脚部材10の個数を1個とした場合と比較して、床材6の水平状態の安定性がより向上する。
なお、前述したように、厚さ方向中間部が実6Cとなっている床材6の側面の厚さ方向下部6Eの前面の位置は、厚さ方向上部6Fの前面の位置よりも溝6D側にずれており、一方、厚さ方向中間部が溝6Dとなっている床材6の側面の厚さ方向上部6Gの前面の位置は、厚さ方向下部6Hの前面の位置よりも実6C側にずれている(図1参照)。
これにより、先にカーペット3の上に不動に配置された床材6の溝6Dに、この床材6の隣に配置する次の床材6の実6Cを上から傾斜させて嵌合させるとき(図4参照)、この実6Cが、溝6Dが形成されている側の床材6の側面の厚さ方向上部6Gに干渉しにくくなる。
このため、本実施形態によると、先にカーペット3の上に不動に配置された床材6の溝6Dに、この床材6の隣に配置する次の床材6の実6Cをスムーズに嵌合させることができる。
図6には、第3の実施形態に係る脚部材30の斜視図が示されている。なお、以下に説明する各実施形態において、図1〜図5で示した実施形態の部材と同一の部材には同一符号を付し、その説明は省略する。
本実施形態に係る脚部材30では、円柱状部30Aの上部に設けられている第1荷重受け部である幅広部(大径部)30Bの直径寸法は、図3の脚部材10の幅広部10Bの直径寸法よりも大きく、円柱状部30Aの下部に設けられている第2荷重受け部である幅広部(大径部)30Cの直径寸法は、図3の脚部材10の幅広部10Cの直径寸法よりも小さくなっており、それ以外の部分の形状、寸法は、図3の脚部材10と同じとなっている。
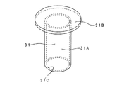
図7には、予め工場において、脚部材30の第2侵入部である針部30Eを床材6の下面6Bに打ち付ける際に使用する補助工具31の斜視図が示されている。この図7に示されているよう、補助工具31は、円筒部31Aと、この円筒部31Aの上端面を覆う円形状の蓋部31Bとで構成されているカップ状部材となっており、円筒部31Aの内径寸法は脚部材30の幅広部30Cの直径寸法よりも大きく、円筒部31Aの外径寸法は、脚部材30の幅広部30Bの直径寸法よりも小さくなっている。
図8には、この補助工具31を使用して、脚部材30の針部30Eを床材6の下面6Bに打ち付けたときを示す図が示されている。この脚部材30の針部30Eを床材6の下面6Bに取り付けるためには、まず、床材6の下面6Bを上向きにして床等に置いた後、針部30Eを下向きにした脚部材30に補助工具31の円筒部31Aを上から被せる。
上述したように、円筒部31Aの内径寸法は脚部材30の幅広部30Cの直径寸法よりも大きく、円筒部31Aの外径寸法は、脚部材30の幅広部30Bの直径寸法よりも小さくなっているため、脚部材30の円柱状部30A、幅広部30C及び第1侵入部である針部30Dは、補助工具31の円筒部31Aの内部に収納され、脚部材30の幅広部30Bの上面に、円筒部31Aの開口端31C(図7参照)が載置された状態となる。なお、図8からわかるように、補助工具31の円筒部31Aの上下寸法L2は、脚部材30の幅広部30Bの上面から針部30Dの先端までの上下寸法L1よりも長くなっている。このため、脚部材30に補助工具31の円筒部31Aを上から被せたとき、脚部材30の針部30Dの先端が補助工具31の蓋部31Bの下面に当接することはない。
以上のように、脚部材30に補助工具31の円筒部31Aを被せたら、脚部材30の針部30Eの先端を、床材6の下面6Bにおける脚部材30の所定の取付位置に軽く当てた後、ハンマー15等で補助工具31の蓋部31Bの上面を叩く。これにより、ハンマー15等による衝撃力が脚部材30の幅広部30Bに伝わるので、脚部材30の針部30Eは、床材6の内部に打ち込まれる。
図9には、第4の実施形態に係る脚部材40の斜視図が示されている。本実施形態では、脚部材40の柱状部40Aの下部には、前述した第1及び第3の実施形態に係る脚部材10,30の第1侵入部である針部10D,30Dに相当する侵入部が設けられておらず、柱状部40Aの下部には、第2荷重受け部である幅広部40Cのみが設けられている。このため、本実施形態では、脚部材40は、この脚部材40の幅広部40Cがカーペット3の毛部3Bや基布3Aの上に載置するのみで、基布3Aを貫通して床下地材2の内部まで到達することはない。すなわち、本実施形態では、脚部材40の幅広部40Cが床下地材2の近傍まで到達することになる。
一方、脚部材40の柱状部40Aの上部には、前述した第1及び第3の実施形態に係る脚部材10,30の第2侵入部である針部10E,30Eに相当する侵入部40Eが設けられているが、この侵入部40Eは、第1及び第3の実施形態とは異なり、表面に螺旋状のねじ溝が形成された上向きに尖っている円錐形状のねじ部40Eとなっている。また、脚部材40の柱状部40Aの水平方向の断面形状は、円形ではなく、六角形となっている。
このため、本実施形態では、脚部材40の床材6の下面6Bへの取り付けは、脚部材40の柱状部40Aに嵌合させたレンチ41を回動操作しながら、ねじ溝を有する脚部材40のねじ部40Eを床材6の下面6Bへねじ込むことにより行う。このねじ込み作業は、第1荷重受け部となっている幅広部40Bの上面が床材6の下面6Bに接触するまで行う。
図10には、図9の脚部材40の変形例となっている第5の実施形態に係る脚部材50の斜視図が示されている。なお、この図10で示されている脚部材50の上下の向きは、図9で示されている脚部材40の向きと逆になっている。
本実施形態に係る脚部材50では、六角穴50Fが、第2荷重受け部となっている幅広部50Cの下面(底面)から円柱状部50Aの途中部に渡って形成されている。
このため、本実施形態では、脚部材50の床材6の下面6Bへの取り付けは、前記六角穴50Fに挿入した六角レンチ51を回転操作しながら、脚部材50のねじ部50Eを床材6の下面6Bへねじ込むことにより行う。このねじ込み作業は、第1荷重受け部となっている幅広部50Bの上面が床材6の下面6Bに接触するまで行う。
図11には、第6の実施形態に係る脚部材60の斜視図が示されている。本実施形態では、脚部材60は、図5の第2の実施形態に係る脚部材20と同様に、床材6の下面6Bの面積よりも小さな面積を有する正方形の板状部材で形成された水平部61と、この水平部61の下面61Bの4隅から下方へ延び、上下方向の長さを有する円柱状部62とを有しており、水平部61が、下向きの荷重を受ける第1荷重受け部となっている。
また、4個の円柱状部62の下部には、第1侵入部である針部62Aが設けられており、これらの4個の針部62Aが、カーペット3の軟質部である毛部3Bの内部に侵入し、カーペット3の基布3Aを貫通して床下地材2の内部に到達可能となっている。
なお、本実施形態では、4個の円柱状部62の下端部の端面のうち、針部62Aを除いた部分(平坦部分)は、下向きの荷重を受ける第2荷重受け部となる。
図12は、本実施形態に係る脚部材60が取り付けられている床材6の下面6Bの斜視図である。この図12に示されているように、脚部材60の水平部61は、ビス等の止着具63により、床材6の下面6Bに取り付けられており、この脚部材60は、床材6の長さ方向に一定間隔で複数取り付けられている。なお、本実施形態においても、これらの脚部材60は、床材6の下面6Bにおける実6Cと溝6Dのうちの一方の側(本実施形態では溝6D側)に寄った位置に取り付けられている。
なお、脚部材60の床材6への取り付けは、脚部材60の水平部61の上面61A(図11参照)を接着剤等により床材6の下面6Bに固定するようにしてもよい。
なお、脚部材60の4個の円柱状部62は、水平部61と一体となっていてもよく、別体となっていてもよい。
図13には、第7の実施形態に係る脚部材70、及びこの脚部材70が取り付けられている床材6の下面6Bの斜視図が示されている。本実施形態に係る脚部材70は、床材6の長さ方向への長さを有し、この床材6の下面6Bにビス等の止着具73で固定され、この下面6Bの面積よりも小さな面積を有する平板状の水平部70Aと、この水平部70Aにおける床材6の幅方向の両端部のうちの一方の端部から下方に延びる垂下部70Bと、を有するアングル状となっているものである。本実施形態では、水平部70Aが、下向きの荷重を受ける荷重受け部となっている。また、垂下部70Bの下端部の端面も荷重受け部となる。
なお、本実施形態では、脚部材70は、金属製の板材の折り曲げにより形成されるものとなっているが、木製、プラスチック製やセラミックス製等の材料を加工することにより形成されるものでもよい。
また、本実施形態では、脚部材70は、床材6の幅方向の断面形状が略L字状となっているが、T字状となっているものでもよい。すなわち、垂下部70Bは、水平部70Aの幅方向の中央部から下方に延びるものであってもよい。
なお、本実施形態においても、脚部材70は、床材6の長さ方向に一定間隔で複数取り付けられており、また、これらの脚部材70も、床材6の下面6Bにおける実6Cと溝6Dのうちの一方の側(本実施形態では溝6D側)に寄った位置に取り付けられている。
なお、床材6の下面6Bへ取り付ける複数の脚部材は、以上説明した各実施形態に係る脚部材を組み合わせたものとしてもよい。例えば、第1の実施形態に係る脚部材10(図3参照)を床材6の幅方向に2個隣接して配置したもの(図2参照)と、第6の実施形態に係る脚部材60を、床材6の長さ方向に一定間隔で交互に取り付けるようにしてもよい。
以上説明した各実施形態において、複数の脚部材の床材6の下面6Bへの取付作業は、すべて現場で行うようにしてもよい。
なお、以上説明した各実施形態において、図14に示すように、長寸法の釘65を床材6の溝6Dから打ち込み、この釘65をカーペット3を貫通して床下地材2の内部まで到達させるようにしてもよい。これにより、カーペット3に対する床材6の不動状態をより確実なものとすることができる。
また、以上説明した各実施形態において、カーペット3の毛部3Bのうち、脚部材が配置される部分は、この床材6を配置する前に予めバリカン等で切除しておくようにしてもよい。
以上説明した各実施形態における軟質床を硬質床とするための床の施工方法は、上述した各実施形態に係る複数の脚部材を床材6の下面6Bに取り付ける工程と、次いで、前記複数の脚部材が取り付けられた床材6をカーペット3の上に設置する工程と、を有する施工方法、すなわち、先に脚部材を床材6の下面6Bに取り付ける施工方法であった。
図15は、複数の脚部材をカーペット3の上に設置する工程と、次いで、前記複数の脚部材に床材6を載置固定する工程と、を有する施工方法、すなわち、先に脚部材をカーペット3の上に設置する施工方法の一実施形態を示す床の斜視図である。
この図15に示されているように、本実施形態では、複数の脚部材は、前述した図11の第6の実施形態に係る脚部材60となっており、床材6の長さ方向及び幅方向に一定間隔で並設する複数の脚部材60は、それぞれの脚部材60の水平部61の幅方向中央部(床材6の幅方向の中央部)の位置が、互いに隣接する床材6同士の接合部分(一方の床材6の溝6Dと他方の床材6の実6Cとの嵌合部分)の位置と同じ又は略同じとなるようにカーペット3の上に配置する。言い換えると、床材6の長さ方向に一定間隔で並設する複数の脚部材60は、それぞれの脚部材60の水平部61の上面61Aに、互いに隣接する床材6同士の接合部分が載置されるようにカーペット3の上に配置する。
このように、本実施形態では、互いに隣接する床材6同士の接合部分の下に、複数の脚部材60が床材6の長さ方向に一定間隔で並設されるようになっている。
それぞれの脚部材60の水平部61の上面61Aをハンマー等の工具で打ち込むことにより、それぞれの脚部材60の円柱状部62の針部62Aを床下地材2の内部に到達させる。これにより、それぞれの脚部材60がカーペット3の上に固定される。
次に、本実施形態では、カーペット3の上に固定された複数の脚部材60の水平部61の上面61Aの高さ位置が均一となっているかどうかを判定する。先ず複数の脚部材60に跨る長さ寸法を有する細幅状の板状部材80をこれらの脚部材60の水平部61の上面61Aに架け渡す。言い換えると、複数の脚部材60に跨る長さ寸法を有する板状部材80をこれらの脚部材60の水平部61の上面61Aに跨って載置する。なお、図15では、床材6の幅方向に並設された複数の脚部材60の水平部61の上面61Aに板状部材80を架け渡しているが、床材6の長さ方向に並設された複数の脚部材60の水平部61の上面61Aに板状部材80を架け渡すようにしてもよい。
板状部材80を複数の脚部材60の水平部61の上面61Aに架け渡した後は、板状部材80の上面に水準器81を載置し、この板状部材80が水平状態となっているかどうか、すなわち、板状部材80が架け渡されている複数の脚部材60の水平部61の上面61Aの高さ位置が均一となっているかどうかを判定する。水準器81が水平状態を示していない場合、すなわち、板状部材80が架け渡されている複数の脚部材60の水平部61の上面61Aの高さ位置が不均一となっている場合には、脚部材60の水平部61の上面61Aの高さ位置の調整を行う。
脚部材60の水平部61の上面61Aの高さ位置を調整する方法は任意であるが、例えば、図16に示すように、脚部材60の水平部61の上面61Aに高さ位置調整部材82を配置(接着剤等で固定する)するようにしてもよい。脚部材60の水平部61と同じ表面積を有する板状部材で形成されているこの高さ位置調整部材82は、木製でもよく、金属製でもよく、下向きの荷重に耐え得る材質で形成されているものであればよい。
カーペット3の上に固定したすべての脚部材60の水平部61の上面61Aの高さ位置が均一となったら、板状部材80を撤去した後、図15に示すように、複数の床材6を壁11側から複数の脚部材60の水平部61の上面91Aに順次載置するとともに、床材6を脚部材60、カーペット3及び床下地材2に固定する。
図17には、複数の脚部材60、カーペット3及び床下地材2に固定された状態の床材6の断面図が示されている。本実施形態では、壁11及び図示されていない壁12側に配置される脚部材60を除いて、脚部材60は、前述したように、この脚部材60の水平部61の幅方向(図17では床材6の幅方向である左右方向)中央部の位置が、互いに隣接する一方の床材6の溝6Dと他方の床材6の実6Cとの嵌合部分(互いに隣接する床材6同士の接合部分)の位置と同じ又は略同じとなるように配置されている。
本実施形態では、長寸法の釘65を床材6の溝6Dから打ち込み、この釘65を、脚部材60の水平部61及びカーペット3を貫通して床下地材2の内部まで到達させている。これにより、床材6の不動状態がより確実なものとなっている。
なお、床材6の下面6Bは、脚部材60の水平部61の上面61Aに載置されているだけであるが、この床材6の下面6Bは、脚部材60の水平部61の上面61Aに接着剤で固定するようにしてもよい。
なお、本実施形態において、それぞれの脚部材60の配置位置は、床材6の溝6Dに打ち込まれた釘65が、脚部材60の円柱状部62や、この円柱状部62の針部62Aに干渉しない位置であればよく、図17に示すように、脚部材60の水平部61の幅方向中央部の位置が、互いに隣接する床材6同士の接合部分の位置と同じ又は略同じとならなくてもよい。
以上説明したように、本実施形態に係る床の施工方法は、複数の脚部材60をカーペット3の上に設置した後、複数の脚部材60に架け渡し可能な長さ寸法を有する板状部材80を、これらの脚部材60に架け渡した後、板状部材80の上面に水準器81を載置してこの板状部材80の水平状態を測定し、水準器81が、板状部材80が水平状態であることを示していないとき、脚部材60の上部にこの脚部材60の高さ位置を調整するための高さ位置調整部材82を配置する工程を有するものとなっている。
このため、以上説明した本実施形態によると、複数の脚部材60の水平部61の上面61Aに載置される床材6の水平レベルの確認を床材6の設置前に行うことができるようになる。また、本実施形態によると、脚部材60の水平部61の上面61Aに高さ位置調整部材82を配置することにより、床材6の水平レベルの調整を床材6の設置前に容易に行うことができるようになる。
図18は、複数の脚部材をカーペット3の上に設置する工程と、次いで、前記複数の脚部材に床材6を載置固定する工程と、を有する施工方法、すなわち、先に脚部材をカーペット3の上に設置する施工方法の別実施形態を示す床の斜視図である。
この図18に示されているように、本実施形態では、図15の実施形態と同様に、カーペット3の上に、前述した図5の第1の実施形態に係る脚部材20を床材6の長さ方向及び幅方向に一定間隔で並設した後、床材6の長さ寸法と同じ長さ寸法(言い換えると、床材6の長さ方向に並設した複数の脚部材20全部に跨る長さ寸法)を有する細幅状の板状部材90を、床材6の長さ方向に複数並設された脚部材20の水平部21の上面21Aに載置するものである。なお、それぞれの脚部材20の4個の角柱状部22の先端(下端)の端面は、カーペット3に接着剤等で固定されている。
なお、前述の図15〜図17に示す実施形態と同様に、本実施形態においても、床材6の長さ方向に一定間隔で並設する複数の脚部材20は、それぞれの脚部材20の水平部21の上面21Aに、互いに隣接する床材6同士の接合部分が載置されるようにカーペット3の上に配置する。
本実施形態では、板状部材90を脚部材20の水平部21の上面21Aに載置することで、床材6の高さ位置を調整することができる。すなわち、板状部材90は、床材6の高さ位置を調整するための高さ位置調整部材となっている。なお、厚さ寸法の異なる複数の板状部材90を用意することで、床材6の高さ位置を自由に調整することができるようにしてもよい。
床材6の高さ位置の調整が終了した後は、板状部材90を、床材6の長さ方向に並設された複数の脚部材20の水平部21の上面21Aに接着剤、あるいは釘やビス等の止着具で固定する。この後、複数の床材6を壁11側から順次配置し、それぞれの床材6を板状部材90の上面90Aに載置固定する。
図19には、最も壁11側に配置する床材6が板状部材90に固定された状態の床の断面図が示されている。この図19に示されているように、短寸法の釘91を床材6の溝6Dから打ち込み、この釘91を板状部材90の内部まで到達させることで、床材6は板状部材90に固定される。なお、床材6は、接着剤、あるいはビス等の止着具で板状部材90に固定するようにしてもよい。
以上説明したように、本実施形態に係る床の施工方法は、複数の脚部材20をカーペット3の上に設置した後、複数の脚部材20に架設可能な長さ寸法を有する板状部材90を、これらの脚部材20に架設する工程を有するものとなっている。
これにより、床材6の長さ寸法と同じ長さ寸法を有する板状部材90の上で、互いに隣接する床材6同士の接合部分(一方の床材6の溝6Dと他方の床材6の実6Cの嵌合部分)が載置固定される。これにより、床材6が固定される部分、言い換えると、床材6を上向きに支持する部分が増大し、床材6の剛性が増すようになる。なお、板状部材90の厚さ寸法(上下寸法)を変更することにより、床材6の高さ位置を自由に変更することができる。
なお、前述の図15〜図17に示す実施形態と同様に、本実施形態においても、板状部材90を脚部材20の水平部21の上面21Aに固定する前に、この板状部材90の上面90Aに水準器を載置し、複数の脚部材20の水平部21の上面21Aの高さ位置が均一となっているかどうかを判定するようにしてもよい。水準器が水平状態であることを示さない場合には、脚部材20の角柱状部22の下端を削る等して、脚部材20の高さ位置を調整するようにしてもよい。なお、脚部材20の角柱状部22の下端を削ることによる高さ位置の調整作業は、脚部材20の4個の角柱状部22をカーペット3の上に固定する前に行う必要がある。言い換えると、この高さ位置の調整作業を行った後に、脚部材20の4個の角柱状部22をカーペット3に固定する。
なお、本実施形態において、それぞれの脚部材20の配置位置は、床材6の溝6Dに打ち込まれた釘91が、脚部材20の水平部21の上面21Aに固定されている板状部材90の内部に打ち込まれることが可能な位置であればよく、図19に示すように、脚部材20の水平部21の幅方向(図19では左右方向)中央部の位置が、互いに隣接する床材6同士の接合部分の位置と同じ又は略同じとならなくてもよい。また、それぞれの脚部材20の水平部21の上面21Aに固定される板状部材90の配置も、床材6の溝6Dに打ち込まれた釘91が打ち込まれることが可能な位置であればよく、脚部材20の水平部21の上面21Aに載置可能な位置であればよい。
図20は、床下地材がRC(鉄筋コンクリート)製となっている場合に利用できる脚部材の実施形態が示されている。脚部材の第8の実施形態となっている脚部材100は、図5の実施形態の脚部材20と略同じ形状、構造、寸法を有しており、この脚部材100が脚部材20と異なるのは、水平部101の中央部又は略中央部に長寸の釘が挿通可能な貫通孔101Aを形成したことである。なお、本実施形態においても、脚部材100は、先に床材6の下面6Bに取り付けるのではなく、先にカーペット3の上に載置した後、床下地材に固定するものとなっている。
図21には、RC(鉄筋コンクリート)製の床下地材85に脚部材100を固定した状態を示す断面図が示されている。この図21に示すように、床下地材85にはアンカー部材86が埋設されており、脚部材100の水平部101の貫通孔101Aに長寸の釘87を挿通した後、ハンマー等の工具でこの釘87をアンカー部材86の内部に打ち込む。これにより、脚部材100は床下地材85に固定される。なお、アンカー部材86を床下地材85に埋設する前に、カーペット3のうち、アンカー部材86を床下地材85に埋設する部分は予め切除しておく。また、脚部材100の4個の角柱状部102の下端部の端面は、接着剤でカーペット3に固定するようにしてもよい。
なお、すべての脚部材100を床下地材85に固定した後は、脚部材100の水平部101の上面101Bに複数の床材6を順次載置していく。このとき、床材6の下面6Bと、脚部材100の水平部101の上面101Bとは、接着剤等で固定するようにする。
なお、本実施形態は、床下地材が木製となっている場合にも適用できる。すなわち、木製の床下地材の内部にアンカー部材を埋設した後、脚部材100の水平部101の貫通孔101Aに長寸の釘87を挿通した後、ハンマー等の工具でこの釘87をアンカー部材の内部に打ち込むようにしてもよい。
また、本実施形態において、脚部材100をカーペット3の上に配置する位置は任意であり、例えば、脚部材100の水平部101Aの幅方向中央部が、互いに隣接する床材6同士の接合部分の下となる位置であってもよく、先に配設された床材6の実6Cと溝6Dのうちの一方に嵌合する実6Cと溝6Dのうちの他方が形成されている側面とは反対側の側面側に寄った位置等であってもよい。
なお、以上説明した各実施形態において、床材6の下面6Bに粘着剤を塗布しておき、カーペット3の毛部3Bをこの粘着剤に粘着させてもよい。
以上説明した各実施形態では、軟質敷物部材はカーペットであったが、この軟質敷物部材は、断熱材や遮音材等(例えば、グラスウール、ウレタンフォーム等)でもよい。すなわち、以上説明した各実施形態に係る脚部材は、住宅やオフィス等の床下地材の上に既設されているカーペットや絨毯等をフローリング等の硬質床に改装する場合に利用できるだけでなく、住宅やオフィス等の新築において、床下地材の上に配置される断熱材や遮音材等の上をフローリング等の硬質床とする場合にも利用できる。
本発明は、住宅やオフィス等におけるカーペット、断熱材や遮音材等の軟質敷物部材の上に設置する床材及び床の施工方法に利用できる。
図1は、本発明の一実施形態に係る床材、この床材の下面に取り付けられる脚部材、及び前記床材が配置される軟質床を分離状態で示す斜視図である。 図2は、下面に脚部材が取り付けられている状態の図1の床材を表裏逆にして示した斜視図である。 図3は、図1の床材の下面に取り付けられる第1の実施形態に係る脚部材の拡大斜視図である。 図4は、改装後の床を左右両側の壁を含めて示す一部省略の縦断面図である。 図5は、図4の左側の壁に隣接して配置される床材の下面に取り付けられる第2の実施形態に係る脚部材の拡大斜視図である。 図6は、第3の実施形態に係る脚部材の斜視図である。 図7は、図6の脚部材を床材の下面に取り付けるための補助工具の斜視図である。 図8は、図6の脚部材を図7の補助工具を使用して床材の下面に取り付けたときを示す床材の縦断面図である。 図9は、第4の実施形態に係る脚部材の斜視図である。 図10は、第5の実施形態に係る脚部材の斜視図である。 図11は、第6の実施形態に係る脚部材の斜視図である。 図12は、図11の脚部材が取り付けられている状態の床材の下面を示す図2と同様の図である。 図13は、第7の実施形態に係る脚部材、及びこの脚部材が取り付けられている床材の下面を示す図2と同様の図である。 図14は、軟質敷物部材であるカーペットの上に設置された床材の溝部に、このカーペットを貫通して床下地材に達する釘が打ち込まれた状態を示す床の縦断面図である。 図15は、先に脚部材をカーペットの上に配置するものとなっている床の施工方法の一実施形態により施工されている途中の床の斜視図である。 図16は、水平部の上面にこの水平部の高さ位置を調整するための高さ位置調整部材が配置されている脚部材の斜視図である。 図17は、先にカーペットの上に固定されている図16の脚部材の水平部の上面に載置された床材の溝部に、カーペットを貫通して床下地材に達する釘が打ち込まれた状態を示す床の縦断面図である。 図18は、先に脚部材をカーペットの上に配置するものとなっている床の施工方法の別実施形態により施工されている途中の床の斜視図である。 図19は、床材の溝部に、図18の脚部材の水平部の上面に載置固定された床材の高さ位置調整部材となっている板状部材に達する釘が打ち込まれた状態を示す床の縦断面図である。 図20は、床下地材が鉄筋コンクリート製となっている場合に使用できる第8の実施形態に係る脚部材の斜視図である。 図21は、図20の脚部材が鉄筋コンクリート製の床下地材に固定されている状態を示す床の断面図である。
符号の説明
2,85 床下地材
3 軟質敷物部材であるカーペット
6 床材
6B 床材の下面
6C 実
6D 溝
10,20,30,40,50,60,70,100 脚部材
10A,22,30A,40A,50A,62,102 脚部材の柱状部
10B,30B,40B,50B 第1荷重受け部である幅広部
10C,30C,40C,50C 第2荷重受け部である幅広部
10D,30D,62A 第1侵入部である針部
10E,30E 第2侵入部である針部
21,61,101 荷重受け部である水平部
40E,50E 侵入部であるねじ部
70A アングル状となっている脚部材の水平部
70B アングル状となっている脚部材の垂下部

Claims (14)

  1. 床下地材の上に配置された軟質敷物部材の上に設けられる硬質材料で形成された床材の下面の一部から下方へ突出して取り付けられ、前記軟質敷物部材に上から侵入して前記床下地材の内部又はその表面又はその近傍まで到達可能となっていることを特徴とする床材用脚部材。
  2. 請求項1に記載の床材用脚部材において、前記床材の前記下面の面積より小さな面積を有し、前記床材の前記下面に結合されて下向きの荷重を受ける荷重受け部が設けられていることを特徴とする床材用脚部材。
  3. 請求項2に記載の床材用脚部材において、前記荷重受け部の下面には、この下面から下方へ延び、上下方向の長さを有する1個の柱状部が設けられていることを特徴とする床材用脚部材。
  4. 請求項2に記載の床材用脚部材において、前記荷重受け部は、平板状となっており、この荷重受け部の下面には、この下面から下方へ延び、上下方向の長さを有する複数の柱状部が設けられていることを特徴とする床材用脚部材。
  5. 請求項3又は4に記載の床材用脚部材において、前記荷重受け部は第1荷重受け部となっており、前記柱状部の下部には、前記床材の前記下面の面積より小さな面積を有し、前記軟質敷物部材に当接して下向きの荷重を受ける第2荷重受け部が設けられていることを特徴とする床材用脚部材。
  6. 請求項3〜5のいずれかに記載の床材用脚部材において、前記柱状部の下部には、前記床下地材の内部まで侵入可能な侵入部が設けられていることを特徴とする床材用脚部材。
  7. 請求項6に記載の床材用脚部材において、前記侵入部は第1侵入部となっており、前記柱状部の上部には、前記床材の内部に侵入可能な第2侵入部が設けられていることを特徴とする床材用脚部材。
  8. 請求項3〜5のいずれかに記載の床材用脚部材において、前記柱状部の上部には、前記床材の内部に侵入可能な侵入部が設けられていることを特徴とする床材用脚部材。
  9. 請求項1に記載の床材用脚部材において、前記床材の前記下面に結合され、この下面の面積よりも小さな面積を有する平板状の水平部と、この水平部から下方に延びる垂下部と、を有するアングル状となっており、前記水平部は、下向きの荷重を受ける荷重受け部となっていることを特徴とする床材用脚部材。
  10. 請求項1〜9のいずれかに記載の床材用脚部材を床材の下面に取り付ける工程と、次いで、前記床材用脚部材が取り付けられた前記床材を前記軟質敷物部材の上に設置する工程と、を有していることを特徴とする床の施工方法。
  11. 請求項1〜9のいずれかに記載の床材用脚部材を軟質敷物部材の上に設置する工程と、次いで、前記床材用脚部材に床材を載置固定する工程と、を有していることを特徴とする床の施工方法。
  12. 請求項11に記載の床の施工方法において、前記床材用脚部材は複数あり、これらの床材用脚部材を前記軟質敷物部材の上に設置した後、前記複数の床材用脚部材に架け渡し可能な長さ寸法を有する板状部材を、前記複数の床材用脚部材に架け渡した後、前記板状部材の上面に水準器を載置してこの板状部材の水平状態を測定し、前記水準器が、前記板状部材が水平状態であることを示していないとき、前記床材用脚部材の上部にこの床材用脚部材の高さ位置を調整するための高さ位置調整部材を配置する工程を有していることを特徴とする床の施工方法。
  13. 請求項11に記載の床の施工方法において、前記床材用脚部材は複数あり、これらの床材用脚部材を前記軟質敷物部材の上に設置した後、前記複数の床材用脚部材に架設可能な長さ寸法を有する板状部材を、前記複数の床材用脚部材に架設する工程を有していることを特徴とする床の施工方法。
  14. 請求項10〜13のいずれかに記載の床の施工方法において、前記床材は、水平方向に複数並設され、それぞれの前記床材における互いに反対側の2個の側面のうちの一方には実が形成され、他方には溝が形成され、互いに隣接する2個の前記床材のうちの一方の前記床材の前記実が、他方の前記床材の前記溝に嵌合されてこれらの床材同士が接続されるものであり、前記床材用脚部材は、それぞれの前記床材の前記下面のうち、先に配設された前記床材の前記実と前記溝のうちの一方に嵌合する前記実と前記溝のうちの他方が形成されている側面とは反対側の側面側に寄った位置に配置されることを特徴とする床の施工方法。
JP2008184472A 2008-07-16 2008-07-16 床材用脚部材 Expired - Fee Related JP4738450B2 (ja)

Priority Applications (1)

Application Number Priority Date Filing Date Title
JP2008184472A JP4738450B2 (ja) 2008-07-16 2008-07-16 床材用脚部材

Applications Claiming Priority (1)

Application Number Priority Date Filing Date Title
JP2008184472A JP4738450B2 (ja) 2008-07-16 2008-07-16 床材用脚部材

Related Child Applications (2)

Application Number Title Priority Date Filing Date
JP2010266417A Division JP5269048B2 (ja) 2010-11-30 2010-11-30 床の施工方法
JP2011097356A Division JP5391228B2 (ja) 2011-04-25 2011-04-25 床材用脚部材

Publications (2)

Publication Number Publication Date
JP2010024642A true JP2010024642A (ja) 2010-02-04
JP4738450B2 JP4738450B2 (ja) 2011-08-03

Family

ID=41730723

Family Applications (1)

Application Number Title Priority Date Filing Date
JP2008184472A Expired - Fee Related JP4738450B2 (ja) 2008-07-16 2008-07-16 床材用脚部材

Country Status (1)

Country Link
JP (1) JP4738450B2 (ja)

Citations (4)

* Cited by examiner, † Cited by third party
Publication number Priority date Publication date Assignee Title
JPH02236355A (ja) * 1989-03-09 1990-09-19 Bridgestone Corp 沈み込み防止部材
JPH0393958A (ja) * 1989-09-06 1991-04-18 Tajima Inc 置敷型床タイル用滑止具およびそれを用いた置敷型床タイルの敷設方法
JPH0718831A (ja) * 1993-06-29 1995-01-20 Matsushita Electric Works Ltd 床敷構造
JP2000314227A (ja) * 1999-04-30 2000-11-14 Misawa Homes Co Ltd 改装床及び床の改装方法

Patent Citations (4)

* Cited by examiner, † Cited by third party
Publication number Priority date Publication date Assignee Title
JPH02236355A (ja) * 1989-03-09 1990-09-19 Bridgestone Corp 沈み込み防止部材
JPH0393958A (ja) * 1989-09-06 1991-04-18 Tajima Inc 置敷型床タイル用滑止具およびそれを用いた置敷型床タイルの敷設方法
JPH0718831A (ja) * 1993-06-29 1995-01-20 Matsushita Electric Works Ltd 床敷構造
JP2000314227A (ja) * 1999-04-30 2000-11-14 Misawa Homes Co Ltd 改装床及び床の改装方法

Also Published As

Publication number Publication date
JP4738450B2 (ja) 2011-08-03

Similar Documents

Publication Publication Date Title
US8458972B1 (en) Method and apparatus for securing non-load bearing walls
US7451671B2 (en) Porta jack for flooring
JP5391228B2 (ja) 床材用脚部材
JP5269048B2 (ja) 床の施工方法
JP4738450B2 (ja) 床材用脚部材
JP4726931B2 (ja) 床材
KR101742074B1 (ko) 데크 구조물의 시공방법
JP4145419B2 (ja) 改装床及び床の改装方法
JP4523048B2 (ja) 改装床及び床の改装方法
JP5361366B2 (ja) 玄関用框の固定構造
JPH0543155Y2 (ja)
JP5000994B2 (ja) 断熱パネル及び断熱パネルの施工方法
JP4430729B1 (ja) 下地材
KR100940106B1 (ko) 데크 설치용 구조물 및 이를 이용한 데크 설치방법
JPH11107495A (ja) 断熱二重床施工用ユニット支持脚、断熱二重床ユニット及びそれらを用いた断熱二重床の施工方法
JP2001295451A (ja) 二重床構造及び間仕切り又は重量載置物の施工方法
JP2006169873A (ja) 屋外デッキ構造
JPH10196020A (ja) パネル式間仕切構造
JPS6134408Y2 (ja)
JP6758588B1 (ja) 内装用建材
JP2018178502A (ja) 防振遮音床構造
JP3606845B2 (ja) 天井用の廻り縁およびこれを用いた天井構造
JPH11107425A (ja) 断熱材付き床パネル及びそれを用いた断熱二重床の施工方法
JP2008266942A (ja) 遮音性床構造
WO2024255981A1 (en) A set of parts, a panel fitting and use of a panel fitting

Legal Events

Date Code Title Description
A977 Report on retrieval

Free format text: JAPANESE INTERMEDIATE CODE: A971007

Effective date: 20100812

A131 Notification of reasons for refusal

Free format text: JAPANESE INTERMEDIATE CODE: A131

Effective date: 20101005

A521 Written amendment

Free format text: JAPANESE INTERMEDIATE CODE: A523

Effective date: 20101130

A01 Written decision to grant a patent or to grant a registration (utility model)

Free format text: JAPANESE INTERMEDIATE CODE: A01

Effective date: 20110405

A61 First payment of annual fees (during grant procedure)

Free format text: JAPANESE INTERMEDIATE CODE: A61

Effective date: 20110426

R150 Certificate of patent or registration of utility model

Free format text: JAPANESE INTERMEDIATE CODE: R150

FPAY Renewal fee payment (event date is renewal date of database)

Free format text: PAYMENT UNTIL: 20140513

Year of fee payment: 3

LAPS Cancellation because of no payment of annual fees