JP2010023991A - 搬送装置に設けられる移送手段へのガイド材 - Google Patents

搬送装置に設けられる移送手段へのガイド材 Download PDF

Info

Publication number
JP2010023991A
JP2010023991A JP2008187963A JP2008187963A JP2010023991A JP 2010023991 A JP2010023991 A JP 2010023991A JP 2008187963 A JP2008187963 A JP 2008187963A JP 2008187963 A JP2008187963 A JP 2008187963A JP 2010023991 A JP2010023991 A JP 2010023991A
Authority
JP
Japan
Prior art keywords
frame
guide member
transfer means
base
piece
Prior art date
Legal status (The legal status is an assumption and is not a legal conclusion. Google has not performed a legal analysis and makes no representation as to the accuracy of the status listed.)
Granted
Application number
JP2008187963A
Other languages
English (en)
Other versions
JP5362281B2 (ja
Inventor
Akira Sugawa
章 須川
Current Assignee (The listed assignees may be inaccurate. Google has not performed a legal analysis and makes no representation or warranty as to the accuracy of the list.)
AREKKUSU ENGINEERING KK
Original Assignee
AREKKUSU ENGINEERING KK
Priority date (The priority date is an assumption and is not a legal conclusion. Google has not performed a legal analysis and makes no representation as to the accuracy of the date listed.)
Filing date
Publication date
Application filed by AREKKUSU ENGINEERING KK filed Critical AREKKUSU ENGINEERING KK
Priority to JP2008187963A priority Critical patent/JP5362281B2/ja
Publication of JP2010023991A publication Critical patent/JP2010023991A/ja
Application granted granted Critical
Publication of JP5362281B2 publication Critical patent/JP5362281B2/ja
Expired - Fee Related legal-status Critical Current
Anticipated expiration legal-status Critical

Links

Images

Landscapes

  • Table Equipment (AREA)
  • Discharge Of Articles From Conveyors (AREA)
  • Framework For Endless Conveyors (AREA)

Abstract

【課題】ガイド材のアームを十分引き上げることができ、アームの位置を変更する際、クレセントチェーンにより搬送される皿などとの衝突を防止可能な搬送装置に設けられる移送装置へのガイド材を提供する。
【解決手段】バイパス装置101は、直線部用フレーム11の2列の走行路r1,r1間に配置される第一移送手段103と、一方の走行路r1からの皿などの被搬送物を第一移送手段103へ誘導する第一ガイド材105と、第一移送手段103からの被搬送物を他方の走行路r1へ誘導する第二ガイド材107とを備える。第一ガイド材105は、軸線を上下方向に配して設けられる丸棒状の支持棒123と、この支持棒123の上端部に、支持棒123に対して直角に連結されるアーム125とから構成される略L字形の部材とされる。
【選択図】図6

Description

本発明は、クレセントチェーンにより被搬送物を搬送する搬送装置に関するものである。特に、一つの環状の走行路間に設けられるか、二つの環状の走行路間に設けられる移送手段を備える搬送装置において、一方の走行路から他方の走行路へ被搬送物を誘導するガイド材に関するものである。
いわゆる回転寿司店などでは、寿司が載置された皿をクレセントチェーンにより循環搬送させており、客の増減にあわせて効率的に皿を搬送するために、ひとつの搬送装置の直線部間をショートカットさせる装置や、特許文献1に示すような二つの環状の走行路を連絡させる装置が搬送装置に設けられる。
特開2003−10028号公報
しかしながら、従来の場合、移送手段へ皿などを誘導するガイド材は、上方へ引き上げ不能な支持棒の上端部に、アームがピン回りに揺動可能に取り付けられて、いわゆる遮断機のように構成されていた。
そのため、ピンまわりにアームを回転させてアームを上げる際、走行路の上方物が障害となり、アームが上がりきれないことがあり、クレセントチェーンにより搬送される皿がアームにあたるおそれがあった。
本発明が解決しようとする課題は、ガイド材のアームを十分引き上げることができ、アームの位置を変更する際、クレセントチェーンにより搬送される皿などとの衝突を防止可能な搬送装置に設けられる移送手段へのガイド材を提供することにある。
本発明は、前記課題を解決するためになされたものであり、請求項1に記載の発明は、クレセントチェーンにより被搬送物を搬送する搬送装置の走行路間に設けられる移送手段へ、一方の走行路を搬送されてきた被搬送物を誘導し、前記移送手段から搬送されてきた被搬送物を他方の走行路へ誘導するガイド材であって、前記ガイド材は、上下方向へ配置される支持棒と、この支持棒の上端部に、支持棒に対して直角に支持棒と一体的に固定されるアームとを備え、前記支持棒は、前記クレセントチェーンが設けられる基台に対して回転自在とされると共に、上方へ引き上げ可能とされることを特徴とする搬送装置に設けられる移送手段へのガイド材である。
さらに、請求項2に記載の発明は、前記移送手段は、一つの環状の走行路の直線部間に設けられるか、二つの環状の走行路間に設けられることを特徴とする請求項1に記載の搬送装置に設けられる移送手段へのガイド材である。
本発明の搬送装置に設けられる移送手段へのガイド材によれば、アームを十分引き上げることができ、クレセントチェーンにより搬送される皿などとの衝突を防止することができる。
以下、本発明の搬送装置に設けられる移送手段へのガイド材の一実施例について、図面に基づき詳細に説明する。
図1は、本発明のガイド材の一実施例が設けられる搬送装置の一例を示す平面図であり、図2は、図1の搬送装置の概略斜視図である。
図3は、図1の搬送装置の直線部用フレームの配置を示す平面図である。
図4は、図1の搬送装置の直線部用フレームの分解した状態の正面図である。
図5は、図1の搬送装置の一部を示す縦断面図であり、フレームに照明を保持する支柱が立設された状態を示している。
なお、以下の説明においては、図1の紙面における左右方向を左右方向、上下方向を前後方向とする。
本実施例の搬送装置は、寿司が載置された皿などをクレセントチェーンにより循環搬送するものであり、いわゆる回転寿司店で好適に使用される。
本実施例の搬送装置は、手前側へ開口する平面視略コ字形の基台1にフレーム11,73,75,77が載置され、このフレーム11,73,75,77に環状のクレセントチェーン3,5が循環回走可能に設けられて構成される。
本実施例では、基台1の上面に、フレーム11,73,75,77により2つの環状の走行路R1,R2が形成され、各走行路R1,R2にそれぞれ環状のクレセントチェーン3,5が設けられる。
具体的には、図1および図2に示すように、基台1の左側の開放一端辺部1aと中央辺部1bの左半分の領域に、環状の走行路R1が1つ形成されると共に、基台1の右側の開放一端辺部1cと中央辺部1bの右半分の領域に、環状の走行路R2が1つ形成される。
基台1は、金属製のアングルなどにより枠状に形成されて、図5に示すように、その周側面に板状の側面カバー7が取り付けられる。
フレームは、直線状の走行路を形成する直線部用フレーム11と、曲線状の走行路を形成する曲線部用フレーム73,75,77とを備え、これらのフレーム11,73,75,77が組み合わされて環状の走行路R1,R2が形成される。
直線部用フレーム11は、2列の直線状の走行路r1,r1を有し、幅方向に分割可能とされ、本実施例では、3分割可能とされる。
具体的には、図4に示すように、直線部用フレーム11は、中央に載置されるセンターフレーム13と、このセンターフレーム13の幅方向両側に配置される一対のサイドフレーム15,15とを有し、センターフレーム13と各サイドフレーム15とは着脱可能とされる。
また、本実施例では、センターフレーム13およびサイドフレーム15は、アルミニウムまたはその合金を用いて押し出しにより形成された成型品とされ、適宜切断されて用いられる。
センターフレーム13は、図4に示すように、左右対称な形状とされ、具体的には、水平に配置される板状の第一中央片17と、この第一中央片17の両端部から下方へ直角に延出する第一縦片19,19と、この第一縦片19,19の下端部から幅方向外側へ水平に延出する第一支持片21,21と、この第一支持片21,21の外側端部から下方へ直角に延出する第一垂直片23,23と、この第一垂直片23,23の下端部から幅方向内側へ延出する第一取付片25,25とを有する。
また、センターフレーム13は、第一縦片19,19の下端部から下方へ行くに従って互いに近接する方向へ延出する一対のリブ片27,27と、この一対のリブ片27,27の下端部同士を連結するように水平に配置される第二中央片29と、この第二中央片29の幅方向両端部から下方へ延出する第一脚片31,31と、この第一脚片31,31の下端部から幅方向外側へ水平に延出する第二取付片33,33とを有する。
第一取付片25と第二取付片33は同じ高さに設けられる。
そして、センターフレーム13の各第一垂直片23の下部領域には、係合部35が形成されており、本実施例では、浅い横向き略T字形の溝状の係合部35が前後方向(長手方向)に沿って連続的に形成されている。
具体的には、センターフレーム13の各第一垂直片23の下部領域には、幅方向内側へ凹んで矩形状の凹部35aが形成されており、この凹部35aの開口側の上下両端部には、それぞれ上下方向内側への突部35b,35bが一体形成されている。
一対のサイドフレーム15は同形状であり、以下においては、図4において右側のサイドフレーム15について説明する。
サイドフレーム15は、水平に配置される板状の第二支持片41と、この第二支持片41の右端部から上方へ直角に延出する第二縦片43と、この第二縦片43の上端部から右側へ水平に延出した後、右側へ行くに従って下方へ傾斜する角片45と、この角片45の右端部から下方へ延出する側片47と、この側片47の下端部から左側へ水平に延出する第一横片49と、この第一横片49の左端部から下方へ直角に延出する第二脚片51と、この第二脚片51の下端部から左側へ水平に延出する第三取付片53とを有する。
また、サイドフレーム15には、側片47の下端部から下方へ延出して係止片55が形成されており、この係止片55、第一横片49、および第二脚片51とにより構成される下方へ開口するコ字形の溝57が前後方向に沿って連続して設けられている。
さらに、サイドフレーム15は、第二支持片41の左端部から下方へ延出する第三縦片59と、この第三縦片59の下端部から左側へ水平に延出する第二横片61と、この第二横片61の左端部から下方へ延出する延出部63と、この延出部63の下端部から右側へ水平に延出する第四取付片65とを有する。第三取付片53と第四取付片65は同じ高さに設けられる。
本実施例では、サイドフレーム15の延出部63が、センターフレーム13の係合部35に係合可能な被係合部63とされ、横向き略T字形に形成されている。
具体的には、第二横片61と第四取付片65の左端部からそれぞれ上下方向内側へ僅かに延出した後、左側への突出部67,67を有しており、この上下の突出部67,67同士は第二垂直片69で連結されている。
この際、第二垂直片69の上下端部は、前記突出部67,67よりも上下へ僅かに突出しており、その第二垂直片69の上下寸法は、センターフレーム13の係合部35の凹部35aの上下寸法に対応している。
このように、サイドフレーム15には、センターフレーム13に対面する側の下部領域に横向き略T字形の被係合部63が形成されており、センターフレーム13に設けられた溝状の係合部35と係合可能とされる。
このような構成のセンターフレーム13とサイドフレーム15は、センターフレーム13に対してサイドフレーム15を前後方向(長手方向)に沿ってスライドさせることで、センターフレーム13の係合部35に、サイドフレーム15の被係合部63がはめ込まれて連結される。
つまり、サイドフレーム15の被係合部63の第二垂直片69を、センターフレーム13の係合部35の凹部35aにはめ込み、センターフレーム13の係合部35の突部35b,35b間に、サイドフレーム15の被係合部63の上下の突出部67,67を挟み込むように配置して、前後方向にスライドさせればよい。
センターフレーム13にサイドフレーム15を取り付けた状態では、図5に示すように、センターフレーム13の第一支持片21と、サイドフレーム15の第二支持片41とが同じ高さに配置される。
そして、この第一支持片21と第二支持片41との間にサイドフレーム15の第二横片61が配置されて、縦断面略T字形の溝が前後方向に沿って連続して現出し、この溝がクレセントチェーンの走行路r1となる。
本実施例では、センターフレーム13の両側にサイドフレーム15,15が取り付けられることで、2列の平行な溝状の走行路r1,r1が形成される。
なお、センターフレーム13にサイドフレーム15を取り付けた状態では、各取付片25,33,53,65が同じ高さ位置に配置される。
センターフレーム13に一対のサイドフレーム15,15が連結されて一体化された直線部用フレーム11は、図3に示すように、基台1の開放両端辺部1a,1cおよび中央辺部1bに配置される。
本実施例では、基台1に載せ置かれた各直線部用フレーム11は、図5に示すように、各取付片25,53が、基台1の上部のアングル70の板状部70aにクランプにより固定される。
具体的には、各取付片25,53が、アングル70の板状部70aに載置された状態で、取付片25,53に矩形板状のクランプピース72が載置される。
クランプピース72は、各取付片25,53より幅広で、クランプピース72の一端部は、取付片25,53から外側へ延出している。
そして、アングル70の板状部70aに下方から上方へ向けてボルト71が挿通され、ボルト71は、クランプピース72の一端部を挿通して、その先端部にナットがねじ込まれる。
これにより、各取付片25,53が、アングル70に固定される。
このように、本実施例では、取付片25,53を設けることで、基台1への取付時に直線部用フレーム11に穴などをあける加工をすることなく、基台1に固定することができる。なお、他の取付片33,65をクランプで固定しても構わない。
直線部用フレーム11が基台1に取り付けられる際、図5に示すように、直線部用フレーム11の幅方向両側に設けられた溝57が基台1より外側へ配置され、この溝57に側面カバー7の上端部がはめ込まれた状態で、側面カバー7が基台1に固定される。
本実施例では、基台1の各開放一端辺部1a,1cに、それぞれ4つの直線部用フレーム11が、その走行路r1,r1を前後方向に配した状態で、前後に隣接して配置される。この際、前後に隣接する直線部用フレーム11,11同士は、その走行路r1,r1が連続するように、前後端面が当接して配置される。
また、本実施例では、基台1の中央辺部1bに、1つの直線部用フレーム11が、その走行路r1,r1を左右方向に配した状態で配置される。
図3に示すように、基台1の各開放一端辺部1a,1cに配置される直線部用フレーム11の内、手前側の直線部用フレーム11A,11Bは、その手前側端部の幅方向中央部に空間部Aが形成されている。
具体的には、直線部用フレーム11A,11Bは、一対のサイドフレーム15,15間に、サイドフレーム15より短いセンターフレーム13が設けられることで、空間部Aが形成されている。この際、センターフレーム15は、各サイドフレーム15,15の奥側に配置される。
また、基台1の左側の開放一端辺部1aに配置される直線部用フレーム11の内、奥側の直線部用フレーム11Cは、その左側のサイドフレーム15が、センターフレーム13および右側のサイドフレーム15より奥側へ延出する延出部を有し、この延出部の先端は、奥側へ行くに従って左側へ傾斜する傾斜面15aに形成されている。
同様に、基台1の右側の開放一端辺部1cに配置される直線部用フレーム11の内、奥側の直線部用フレーム11Dは、その右側のサイドフレーム15が、センターフレーム13および左側のサイドフレーム15より奥側へ延出する延出部を有し、この延出部の先端は、奥側へ行くに従って右側へ傾斜する傾斜面15bに形成されている。
また、基台1の中央辺部1bに配置される直線部用フレーム11Eは、その奥側のサイドフレーム15の左右両端部が、センターフレーム13および手前側のサイドフレーム15より左右方向外側へ延出する延出部を有し、この延出部の各先端は、左右方向外側へ行くに従って奥側へ傾斜する傾斜面15c,15dに形成されている。
そして、基台1の中央辺部1bに配置される直線部用フレーム11Eの奥側のサイドフレーム15の左右両端部の傾斜面15c,15dに、それぞれ左側の開放一端辺部1aの直線部用フレーム11Cの左側のサイドフレーム15の傾斜面15a、および右側の開放一端辺部1cの直線部用フレーム11Dの右側のサイドフレーム15の傾斜面15bが当接して設けられる。
さらに、基台1の中央辺部1bに配置される直線部用フレーム11Eは、左右方向中央部に、矩形状の空間部Bが形成されている。
具体的には、直線部用フレーム11Eは、サイドフレーム15,15間に、手前側のサイドフレーム15より短いセンターフレーム13が2つ設けられることで、空間部Bが形成されている。この際、各センターフレーム13、13は、手前側のサイドフレーム15の左右方向両端部に配置されて、直線部用フレーム11Eの左右方向中央部に空間部Bが形成される。なお、図示例では、各センターフレーム13は、手前側のサイドフレーム15より若干左右方向外側へ突出している。
また、各サイドフレーム15,15の左右方向中央部15e,15eにおいて、第二支持片41から幅方向内側が切り欠かれて空間部Bが拡張され、直線部用フレーム11Eの走行路r1,r1が左右に分断されている。
そして、空間部A、基台1の各開放一端辺部1a,1cの奥側に配置された直線部用フレーム11C,11Dと中央辺部1bに配置された直線部用フレーム11Eとの間、および空間部Bに、それぞれ曲線部用フレームが設けられる。
具体的には、基台1の各開放一端辺部1a,1cに配置される手前側の直線部用フレーム11A,11Bの空間部Aに、第一曲線部用フレーム73がそれぞれ設けられる。
第一曲線部用フレーム73には、直線部用フレーム11A(11B)との接続面に両端部を配置した走行路r2が形成されている。
本実施例では、第一曲線部用フレーム73には、略半周状に走行路r2が形成されており、第一曲線部用フレーム73は、この略半周状の走行路r2の両端部が、直線部用フレーム11A(11B)の2列の走行路r1,r1に接続されるように空間部Aに設けられる。
これにより、基台1の各開放一端辺部1a,1cの手前側の直線部用フレーム11A,11Bの一方の走行路r1と他方の走行路r1とが、第一曲線部用フレーム73の略半円周分の走行路r2により連続し、基台1の各開放一端辺部1a,1cの手前側端部において走行路R1,R2が略U字形に折り返された形状となる。
また、基台1の各開放一端辺部1a,1cの奥側に設けられた直線部用フレーム11C,11Dと、基台1の中央辺部1bに設けられた直線部用フレーム11Eとの間、つまり図1において、基台1の奥側の左右角部には、第二曲線部用フレーム75が設けられる。
第二曲線部用フレーム75には、2つの走行路r3,r4が内外に隣接して略四分の一周分形成されている。第二曲線部用フレーム75は、この四分の一円状に湾曲した2つの走行路r3,r4の各端部が、基台1の開放一端辺部1a,1cの奥側の各直線部用フレーム11C,11Dの走行路r1,r1、および基台1の中央辺部1bの直線部用フレーム11Eの走行路r1,r1に連続するように、基台1の角部に設けられる。
これにより、直線部用フレーム11Cの左側の走行路r1、基台1の中央辺部1bの奥側の走行路r1、直線部用フレーム11Dの右側の走行路r1が、第二曲線部用フレーム75の外側の走行路r4により連続すると共に、直線部用フレーム11Cの右側の走行路r1、基台1の中央辺部1bの手前側の走行路r1、直線部用フレーム11Dの左側の走行路r1が、第二曲線部用フレーム75の内側の走行路r3により連続する。
さらに、基台1の中央辺部1bに設けられた直線部用フレーム11Eの中央部の空間部Bに、2つの第三曲線部用フレーム77が左右に離間して設けられる。
第三曲線部用フレーム77には、略半周状に走行路r5が形成されており、左側に配置される第三曲線部用フレーム77は、その走行路r5の両端部が、直線部用フレーム11Eの走行路の内、分断された左側の走行路r1,r1に連続するように設けられ、右側に配置される第三曲線部用フレーム77は、その走行路r5の両端部が、直線部用フレーム11Eの走行路の内、分断された右側の走行路r1,r1に連続するように設けられる。
これにより、直線部用フレーム11Eの手前側の走行路r1と奥側の走行路r1とが、分断された左右両側において、第三曲線部用フレーム77の略半円周分の走行路r5により連続し、基台1の中央辺部1bの中央部において走行路R1,R2が、それぞれ略U字形に折り返された形状となる。
このように、空間部A、基台1の開放一端辺部の奥側に配置された直線部用フレーム11C,11Dと中央辺部1bに配置された直線部用フレーム11Eとの間、および空間部Bに、それぞれ曲線部用フレーム73,75,77が設けられることで、基台1の左側の開放一端辺部1aと中央辺部1bの左半分の領域、および基台1の右側の開放一端辺部1cと中央辺部1bの右半分の領域にそれぞれ環状の走行路R1,R2が形成される。
そして、これら2つの環状の走行路R1,R2に、それぞれ環状のクレセントチェーン3,5が配置される。
この際、図5に示すように、直線部用フレーム11の第一支持片21と第二支持片41の各上面、および各曲線部用フレーム73,75,77に、板状のガイドレール79が両面テープなどで固定され、このガイドレール79の上面にクレセントチェーン3,5の受板(トッププレート)3a,5aが載置される。
また、本実施例では、第二曲線部用フレーム75に、モータに接続されたスプロケット(不図示)が設けられ、このスプロケットがクレセントチェーン3,5に噛み合わされて、モータの回転に伴ってクレセントチェーン3,5が循環回走する。
本実施例では、各クレセントチェーン3,5は、図1に示す状態において、共に時計まわりに循環回走し、このクレセントチェーン3,5の受板3a,5aに寿司が載置された皿などが載せ置かれて店内を循環搬送される。
なお、各走行路R1,R2の折り返し部となる第一曲線部用フレーム73および第三曲線部用フレーム77には、クレセントチェーン3,5がスムーズに回転するのを補助する円形の回転板(不図示)が配置されており、この回転板などを設けるために、直線部用フレーム11には、適宜切欠きが形成される。
さらに、本実施例では、基台1の各開放一端辺部1a,1cに固定された直線部用フレーム11のセンターフレーム13に、前後方向等間隔に、複数の支柱81が立設されており、この支柱81の上端部には、蛍光灯などの照明82を保持する天板83が前後方向に沿って取り付けられる。
具体的には、基台1の各開放一端辺部1a,1cに固定された直線部用フレーム11のセンターフレーム13には、前後方向等間隔に、第一中央片17に上下方向に沿って円形の貫通穴17aが形成されており、この貫通穴17aと同軸上に第二中央片29に、第一中央片17の貫通穴17aより小径な貫通穴29aが形成されている。
支柱81は、円管状とされ、第一中央片17の貫通穴17aに対応した外径とされる。また、支柱81の下端部81aは、若干縮径して第二中央片29の貫通穴29aに対応した外径とされており、支柱81の下端部81aには、直径方向に沿って貫通穴81bが形成されている。
支柱81は、第一中央片17の貫通穴17aに上下方向に沿って差し込まれ、その下端部81aが第二中央片29の貫通穴29aにはめ込まれて、下端部の貫通穴81bにピン85がはめ込まれる。これにより、支柱81の上下動が規制されてセンターフレーム13に固定される。
そして、センターフレーム13に固定された複数本の支柱81の上端部に、図5に示すように、照明82を保持する天板83が前後方向に沿って取り付けられる。
このように、本実施例では、センターフレーム13に上下に離間して設けられる水平な板状の第一中央片17および第二中央片29を利用することで、支柱81を容易にかつ安定して保持することができる。
本実施例では、直線部用フレーム11が幅方向に分割可能であることで、一つの部品を小さくすることができ、搬送が容易となる。
また、センターフレーム13の両側に設けられるサイドフレーム15を同形状とすることで、部品を共通化することができ、コストを抑えることができる。
さらに、本実施例では、センターフレーム13とサイドフレーム15とは、センターフレーム13に対してサイドフレーム15をスライドさせて、センターフレーム13の係合部にサイドフレーム15の被係合部をはめ込むだけで連結可能であり組立も容易である。
ところで、本実施例では、基台1の各開放一端辺部1a,1cの中途部に、各開放一端辺部1a,1cにおける走行路を短縮させるバイパス装置101が設けられている。
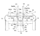
図6は、バイパス装置を示す平面図である。図7は、図6のバイパス装置の概略縦断面図である。
本実施例では、基台1の各開放一端辺部1a,1cに設けられる直線部用フレーム11の内、手前側から二番目の直線部用フレーム11F,11Gにバイパス装置101がそれぞれ設けられている。
具体的には、図3に示すように、直線部用フレーム11F,11Gの前後方向中途部に矩形状の空間部Cが形成されており、この空間部Cにバイパス装置101が設けられる。
本実施例では、直線部用フレーム11F,11Gは、一対のサイドフレーム15,15間に、サイドフレーム15より短いセンターフレーム13が2つ設けられることで、空間部Cが形成されている。この際、各センターフレーム13,13は、サイドフレーム15,15の長手方向両端部に配置されて、直線部用フレーム11F,11Gの長手方向中途部に空間部Cが形成される。つまり、各直線部用フレーム11F(11G)は、その二つのセンターフレーム13を合わせた長さが、サイドフレーム15より短く構成されている。
バイパス装置101は、直線部用フレーム11F,11Gの2列の走行路r1,r1間に配置される第一移送手段103と、一方の走行路r1からの皿などの被搬送物を第一移送手段103へ誘導する第一ガイド材105と、第一移送手段103からの被搬送物を他方の走行路r1へ誘導する第二ガイド材107とを備える。
本実施例では、第一移送手段103、第一ガイド材105および第二ガイド材107は、空間部Cに設けられる台座109に取り付けられる。
台座109は、下方へ開口する矩形状の箱体とされ、空間部Cにはめ込まれて基台1に固定されている。台座109は、その上面がサイドフレーム15の支持片41と同じ高さに配置され、走行路r1の一部を構成する。
また、台座109の上面には、矩形状の開口部109aが形成されており、この開口部109aに第一移送手段103が設けられる。
本実施例の第一移送手段103は、ベルトコンベアとされ、上方に配置される移送面は、一方の走行路r1から他方の走行路r1へ向けて走行する。
具体的には、軸心を前後方向に配置した2本のローラ111,113が左右に離間して台座109の開口部109aに配置されている。
また、これらのローラ111,113間の中央部下方位置に、軸心を前後方向に配置した駆動軸115が配置されており、この駆動軸115はモータ117に接続されている。
そして、ローラ111,113および駆動軸115にベルト119が掛け回されている。
二つのローラ111,113間に配置されるベルト119の上面(移送面)119aは、台座109の上面より僅かに上方へ配置され、走行路r1に配置されたクレセントチェーン3,5の受板3a,5aとほぼ同じ高さ位置に配置される。
第一ガイド材105は、略L字形の部材とされる。具体的には、軸線を上下方向に配して設けられる丸棒状の支持棒123と、この支持棒123の上端部に、支持棒123に対して直角に連結されるアーム125とから構成される。
支持棒123は、その上端部123aが若干拡径しており、この上端部123aには上方へ開口するコ字形の溝123bが直径方向に沿って形成されている。
また、支持棒123の下端部には、周方向に環状の溝123cが形成されている。
アーム125は、断面矩形の細長い棒状とされ、その基端部125aは、矩形状に切り欠かれて細幅に形成されている。
アーム125は、支持棒123に対して直角に配置されて、その基端部125aが支持棒123の上端部123aの溝123bにはめ込まれて支持棒123に固定される。
このように、アーム125が支持棒123に固定された状態では、アーム125の下面は、支持棒123の拡径した上端部123aの下面より上方に位置する。
第二ガイド材107は、第一ガイド材105と同様の構成であり、支持棒131の上端部131aの溝131bに、アーム133の基端部133aがはめ込まれて、アーム133が支持棒131に対して直角に設けられた構成とされている。
第一ガイド材105および第二ガイド材107は、各支持棒123,131が台座109に上方へ引き上げ可能に、かつ、回転可能に設けられる。
具体的には、台座109の手前側端部に、左右に離間して上下方向に沿って円形の貫通穴109b,109cが形成されており、これらの貫通穴109b,109cは、支持棒123,131の外径に対応しており、支持棒123,131の拡径した上端部123a,131aより小径とされている。
そして、第一ガイド材105および第二ガイド材107は、各アーム125,133の先端部を奥側へ向けた状態で、支持棒123,131が台座109の貫通穴109c,109bに上下方向に沿ってはめ込まれ、支持棒123,131の拡径した上端部123a,131aが台座109の上面に載置されて保持される。この際、支持棒123,131の下端部は、基台1の上面より下方へ延出する。
そして、各支持棒123,131の下端部の溝123c,131cにCリング137がそれぞれはめ込まれて上方への抜けが防止される。
また、本実施例では、台座109の奥側端部に、円形状の第一カバー141が載置されており、この第一カバー141は奥側のセンターフレーム13の第一中央片17の上方へ延出している。
さらに、台座109の手前側端部に、第二カバー143が載置されており、第二カバー143は、奥側端部が矩形状とされ、手前側端部が、奥側より幅広で、手前側へ突出する半円形状に形成されている。そして、第二カバー143は、手前側端部が手前側のセンターフレーム13の第一中央片17の上方へ延出している。
このような構成のバイパス装置101は、通常時は、第一ガイド材105および第二ガイド材107の各アーム125,133を平行に配置して、図6において実線で示すように、直線部用フレーム11F,11Gの2列の走行路r1,r1の内側に配置しておく。
なお、本実施例では、第一ガイド材105および第二ガイド材107の各アーム125,133は、その先端部が第一カバー141の外周面に当接した状態で平行となる。
第一ガイド材105および第二ガイド材107の各アーム125,133を平行に配置した状態では、クレセントチェーン3,5により搬送される皿は、2列の走行路r1,r1を通常通り通過する。
そして、客が少なくなり、基台1の各開放一端辺部1a,1cの手前側端部を客席として使用するのをやめ、各開放一端辺部1a,1cの手前側端部まで皿等を搬送するのをやめる場合に、バイパス装置101が作動される。
具体的には、第一ガイド材105および第二ガイド材107を、一旦上方へ引き上げる。そして、図6において二点鎖線に示すように、一対のアーム125,133が、奥側へ行くに従って広がるハの字状となるように、第一ガイド材105および第二ガイド材107を各支持棒123,131まわりに回転させて、第一ガイド材105および第二ガイド材107を下げる。
この際、各アーム125,133の先端部が、サイドフレーム15の第二縦片43に当接し、図6において、第一ガイド材105は支持棒123回りに時計方向の回転が規制され、第二ガイド材107は支持棒131回りに反時計方向の回転が規制される。
また、各アーム125,133の下面は、クレセントチェーン3,5の受板3a,5aより若干上方に位置する。
このように左右一対のアーム125,133をハの字状に配置した状態で、第一移送手段103のモータ117を回転させて駆動軸115を回転させ、ベルト119を回転させる。
本実施例では、ベルト119は、図7において、反時計方向に回転して、右側の走行路r1側から左側の走行路r1側へベルト119の上面119aが移動する。
これにより、図6において右側の走行路r1を奥側から手前側へ向かってクレセントチェーン3,5により搬送されてきた皿は、第一ガイド材105のアーム125にあたり、アーム125に沿ってセンターフレーム13側へ移動してベルト119の上面119aに乗り、左側の走行路r1へ移動して、クレセントチェーン3,5により、奥側へ搬送されていく。
このようにして、皿は、基台1の各開放一端辺部1a,1cの手前側端部まで搬送されずに、各開放一端辺部1a,1cの中途部で折り返して搬送される。
そして、客で混雑してきた際には、基台1の各開放一端辺部1a,1cの手前側端部にも皿を搬送するために、第一ガイド材105および第二ガイド材107を一旦引き上げ、第一ガイド材105および第二ガイド材107を各支持棒123,131回りに回転させて一対のアーム125,133を平行に配置して、第一ガイド材105および第二ガイド材107を下げて初期位置に戻せばよい。
これにより、クレセントチェーン3,5により皿は、通常通り、基台1の開放一端辺部1a,1cの手前側端部まで搬送されて折り返して搬送される。
なお、同時に、二つのバイパス装置101を作動させてもよいし、どちらか一方のバイパス装置101を作動させるようにしても構わない。
さらに、本実施例では、2つの環状の走行路R1,R2が隣接する基台1の中央辺部1bの左右方向中央部に、2つの環状の走行路R1,R2を連絡する乗継装置201が設けられている。
具体的には、基台1の中央辺部1bに設けられる直線部用フレーム11Eの空間部Bに乗継装置201が設けられる。
図8は、乗継装置を示す平面図である。
また、図9および図10は、図8の概略縦断面図であり、図9は図8を正面から見た状態を示し、図10は図8を側面から見た状態を示している。
乗継装置201は、環状の走行路R1,R2間に設けられる第二移送手段203と、環状の走行路R2からの被搬送物を前記第二移送手段203へ誘導する第三ガイド材205と、第二移送手段203からの被搬送物を環状の走行路R1へ誘導する第四ガイド材207とを有する。
また、乗継装置201は、環状の走行路R1,R2間に設けられる第三移送手段209と、環状の走行路R1からの被搬送物を前記第三移送手段209へ誘導する第五ガイド材211と、第三移送手段209からの被搬送物を環状の走行路R2へ誘導する第六ガイド材213とを有する。
第二移送手段203は、ローラコンベアとされ、第三曲線部用フレーム77,77間で、かつ、空間部Bの手前側端部に配置され、図示例では、前後方向に軸線を配置した9つのローラ217が左右に隣接して配置されている。
これらのローラ217の上面は、クレセントチェーン3,5の受板3a,5aと同じ高さ位置に配置される。
なお、本実施例では、9つのローラ217の内、中央部の3つのローラ217が同じ長さとされ、左右外側のローラ217は、左右方向外側へ行くに従って、順次短く形成されている。
これらのローラ217の手前側端部は、空間部Bの手前側端部に左右方向に沿って設けられる板状の支持部材231に回転可能に保持されている。
また、9つのローラ217の内、中央部の3つのローラ217は、その奥側端部が、空間部Bの中央部に設けられる下方へ開口する箱状のベース233の側面に回転可能に保持されており、他のローラ217は、図8に示すように、その奥側端部が、基台1の上面に立設された板片234に回転可能に保持されている。なお、ベース233は、その下端部が拡幅部236を介して基台1に固定されている。
図9に示すように、ローラ217の下方位置には、ローラ217に近接して複数のプーリ235が左右に離間して設けられており、これらのプーリ235にベルト237,239が掛けまわされて、ベルト237,239の上面が、ローラ217の下面に当接している。
本実施例では、2つのベルト237,239が前後にずれて左右に配置されて、ローラ217の下面に当接されており、各ベルト237,239は、モータ241に接続された駆動プーリ243に掛け回されている。
第三移送手段209は、第二移送手段203と同様の構成であり、第二移送手段203を対称に配置した構成とされ、9つのローラ251やその下部に設けられるベルト253,255などを有する。
第三ガイド材205は、略L字形の部材とされる。具体的には、軸線を上下方向に配して設けられる丸棒状の支持棒261と、この支持棒261の上端部に、支持棒261に対して直角に連結されるアーム263とを有する。
支持棒261は、その上端部261aが若干拡径しており、この上端部261aには上方へ開口するコ字形の溝261bが直径方向に沿って形成されている。
また、支持棒261の下端部には、周方向に環状の溝261cが形成されている。
アーム263は、断面矩形の細長い棒状とされ、その基端部は、矩形状に切り欠かれて細幅に形成されている。また、アーム263の先端部は、その下端部が矩形状に切り欠かれている。
アーム263は、支持棒261に対して直角に配置されて、その基端部が支持棒261の上端部261aの溝261bにはめ込まれて支持棒261に固定される。
このように、アーム263が支持棒261に固定された状態では、アーム263の下面は、支持棒261の拡径した上端部261aの下面より上方に位置する。
第四ガイド材207、第五ガイド材211および第六ガイド材213は、第三ガイド材205と同様の構成とされ、支持棒267,269,271の上端部に、アーム273,275,277の基端部が固定され、略L字形状に構成されている。
第三ガイド材205、第四ガイド材207、第五ガイド材211および第六ガイド材213は、前記ベース233に上方へ引き上げ可能に、かつ、回転可能に設けられる。
ベース233の上面には、その四つ角にそれぞれ上下方向に沿って円筒状の穴233aが形成されており、各穴233aは、各ガイド材205,207,211,213の支持棒261,267,269,271の外径に対応しており、支持棒261,267,269,271の拡径した上端部261a,267a,271aより小径とされる。
そして、第四ガイド材207および第三ガイド材205が、ベース233の手前側の左右の穴233aに、アーム273,263の先端部をそれぞれ左右方向外側へ向けた状態で、支持棒267,261を上下方向に沿ってはめ込まれて各支持棒267,261の拡径した上端部261a,267aがベース233の上面に載置されて保持される。
また、第五ガイド材211および第六ガイド材213が、ベース233の奥側の左右の穴233aに、アーム275,277の先端部をそれぞれ左右方向外側へ向けた状態で、支持棒269,271を上下方向に沿ってはめ込まれて各支持棒269,271の拡径した上端部がベース233の上面に載置されて保持される。この際、各支持棒261,267,269,271の下端部は、基台1の上面より下方へ延出する。
そして、各支持棒261,267,269,271の下端部の溝261c,271cにCリング281がそれぞれはめ込まれて上方への抜けが防止される。
このような構成の乗継装置201は、たとえば店内が客で混雑し、皿などを店内全体に搬送させたい場合に、2つの環状の走行路R1,R2を連絡させるのに使用される。
具体的には、図8の実線で示すように、第三ガイド材205および第六ガイド材213を、そのアーム263,277の先端部を右側へ向けて、アーム263,277が左右方向に沿うように配置すると共に、第四ガイド材207および第五ガイド材211を、そのアーム273,275の先端部を左側へ向けて、アーム273,275が左右方向に沿うように配置する。
本実施例では、このように各ガイド材205,207,211,213が左右方向に配置された状態において、各ガイド材205,207,211,213のアーム263,273,275,277の先端部は、その前後方向外側面が、前後方向内側へ若干傾斜した形状とされる。
そして、第二移送手段203および第三移送手段209の各モータ241を作動させて、ベルト237,239,253,255を回転させ、ローラ217,251を回転させる。
本実施例では、第二移送手段203は、図9に示す状態において、各ベルト237,239が時計方向に回転して、その上面(移送面)が左側から右側へ回転し、ベルト237,239に接触する各ローラ217が図9において反時計方向に回転する。これにより、ローラ217に皿が載置された場合、皿は右側から左側へ移動する。
また、第三移送手段209は、そのローラ251を第二移送手段203のローラ217と逆に回転させて、ローラ251に皿が載置された場合に、図8において皿を左側から右側へ移動させる。
このように各ガイド材205,207,211,213を配置し、各移送手段203,209を作動させることで、環状の走行路R2を循環搬送され、図8において、直線部用フレーム11Eの分断された2列の走行路r1,r1の内、手前右側の走行路r1を右側から左側へ向かってクレセントチェーン5により搬送されてきた皿は、第三ガイド材205のアーム263の外側面に当接して、アーム263に沿って左側へ移動して第二移送手段203のローラ217に乗り、ローラ217により左側へ移送されて、環状の走行路R1を構成する直線部用フレーム11Eの手前左側の走行路r1へ移送され、クレセントチェーン3により環状の走行路R1を搬送される。
また、環状の走行路R1を循環搬送され、図8において、直線部用フレーム11Eの分断された2列の走行路r1,r1の内、奥左側の走行路r1を左側から右側へ向かってクレセントチェーン3により搬送されてきた皿は、第五ガイド材211のアーム275の外側面に当接して、アーム275に沿って右側へ移動して第三移送手段209のローラ251に乗り、ローラ251により右側へ移送されて、環状の走行路R2を構成する直線部用フレーム11Eの奥右側の走行路r1へ移送され、クレセントチェーン5により環状の走路路R2を搬送される。
このように、乗継装置201を作動させることで、皿を環状の走行路R1および走行路R2の両方を循環させることができ、店舗が混雑している際に好適に使用される。
そして、客が少ない時間帯に、環状の走行路R1,R2の一方を止める場合や、皿などを環状の走行路R1,R2に個々に循環させたい場合には、第二移送手段203および第三移送手段209を停止させる。
また、各ガイド材205,207,211,213を一旦上方へ引き上げて、各ガイド材205,207,211,213を支持棒261,267,269,271回りに回転させて、図8において二点鎖線で示すように、第三ガイド材205のアーム263と第六ガイド材213のアーム277を右側へ行くに従って広がるハの字状に配置して第三ガイド材205および第六ガイド材213を下ろす。
さらに、第四ガイド材207のアーム273と第五ガイド材211のアーム275を左側へ行くに従って広がるハの字状に配置して第四ガイド材207および第五ガイド材211を下ろす。
本実施例では、直線部用フレーム11Eの前後のサイドフレーム15の角片45の上面に断面矩形状の細長い棒材291,291がそれぞれ載置されて固定されており、各ガイド材205,207,211,213は、そのアーム263,273,275、277の先端部が、棒材291の前後方向内側面に当接するよう配置される。
また、各ガイド材205,207,211,213は、そのアーム263,273,275、277の先端部の切欠き部263c,277cが、サイドフレーム15の角片45の上面に当接する。
これにより、第三ガイド材205および第五ガイド材211は、図8に示す状態において、支持棒261,269回りに時計方向の回転が規制され、第四ガイド材207および第六ガイド材213は、支持棒267,271回りに反時計方向の回転が規制される。
本実施例では、図8に示すように、第三ガイド材205および第六ガイド材213の各アーム263,277をハの字状に配置した状態において、各アーム263,277の前後方向内側面263a,277aが、右側の第三曲線部用フレーム77の走行路r5に沿う円弧状に形成されている。
同様に、第四ガイド材207および第五ガイド材211の各アーム273,275をハの字状に配置した状態において、各アーム273,275の前後方向内側面273a,275aが、左側の第三曲線部用フレーム77の走行路r5に沿う円弧状に形成されている。
このように、第二移送手段203および第三移送手段209を停止し、各ガイド材205,207,211,213を配置した状態では、各環状の走行路R1,R2上を搬送される皿は、基台1の中央辺部1bの左右方向中央部において折り返されて通常通り搬送される。
この際、各ガイド材205,207,211,213のアーム263,273,275,277の前後方向内側面263a,273a,275a,277aが第三曲線部用フレーム77の走行路r5の外周部に沿って配置されることで、皿が走行路r5から脱落することが防止される。
本実施例では、バイパス装置101の第一ガイド材105と第二ガイド材107、および乗継装置201の第三ガイド材205、第四ガイド材207、第五ガイド材211および第六ガイド材213は、それぞれ支持棒にアームが固定されて一体化されており、アームは、水平に配置された状態で上下動する。これにより、アームの基端部側および先端部側の両方が、クレセントチェーンに対して十分に上方へ引き上げることができ、アームがクレセントチェーンにより搬送される皿や各種器に当たることがなく、各ガイド材105,107,205,207,211,213を回転させることが可能となる。
また、本実施例では、直線部用フレームが、サイドフレームとセンターフレームとに分割可能なため、バイパス装置、乗継装置および曲線部用フレーム等を配置するための空間部を形成しやすい。
なお、本発明の搬送装置に設けられる移送手段へのガイド材は、上記実施例の構成に限らず、適宜変更可能である。
たとえば、上記実施例では、センターフレーム側に横向き略T字形の溝状の係合部を設け、サイドフレーム側に略T字状に突出した被係合部を設けたが、これらが逆になっても構わない。また、係合部および被係合部の形状も、適宜変更可能である。さらに、直線部用フレームのセンターフレームやサイドフレームには、各種配管やコードなどを通す穴を形成してもよい。
また、移送手段は、ローラコンベヤ、ベルトコンベアなどを適宜選択して使用することができる。
本発明のガイド材の一実施例が設けられる搬送装置の一例を示す平面図である。 図1の搬送装置の概略斜視図である。 図1の搬送装置の直線部用フレームの配置を示す平面図である。 図1の搬送装置の直線部用フレームの分解した状態の正面図である。 図1の搬送装置の一部を示す縦断面図であり、フレームに照明を保持する支柱が立設された状態を示している。 図1の搬送装置に設けられるバイパス装置を示す平面図である。 図6のバイパス装置の概略縦断面図である。 図1の搬送装置に設けられる乗継装置を示す平面図である。 図8の乗継装置の概略縦断面図であり、正面から見た状態を示している。 図8の乗継装置の概略縦断面図であり、側面から見た状態を示している。
符号の説明
1 基台
3 クレセントチェーン
5 クレセントチェーン
7 側面カバー
11 直線部用フレーム
101 バイパス装置
103 第一移送手段
105 第一ガイド材
107 第二ガイド材
203 第二移送手段
205 第三ガイド材
207 第四ガイド材
209 第三移送手段
211 第五ガイド材
213 第六ガイド材

Claims (2)

  1. クレセントチェーンにより被搬送物を搬送する搬送装置の走行路間に設けられる移送手段へ、一方の走行路を搬送されてきた被搬送物を誘導し、前記移送手段から搬送されてきた被搬送物を他方の走行路へ誘導するガイド材であって、
    前記ガイド材は、上下方向へ配置される支持棒と、
    この支持棒の上端部に、支持棒に対して直角に支持棒と一体的に固定されるアームとを備え、
    前記支持棒は、前記クレセントチェーンが設けられる基台に対して回転自在とされると共に、上方へ引き上げ可能とされる
    ことを特徴とする搬送装置に設けられる移送手段へのガイド材。
  2. 前記移送手段は、一つの環状の走行路の直線部間に設けられるか、二つの環状の走行路間に設けられる
    ことを特徴とする請求項1に記載の搬送装置に設けられる移送手段へのガイド材。
JP2008187963A 2008-07-18 2008-07-18 搬送装置に設けられる移送手段へのガイド材 Expired - Fee Related JP5362281B2 (ja)

Priority Applications (1)

Application Number Priority Date Filing Date Title
JP2008187963A JP5362281B2 (ja) 2008-07-18 2008-07-18 搬送装置に設けられる移送手段へのガイド材

Applications Claiming Priority (1)

Application Number Priority Date Filing Date Title
JP2008187963A JP5362281B2 (ja) 2008-07-18 2008-07-18 搬送装置に設けられる移送手段へのガイド材

Publications (2)

Publication Number Publication Date
JP2010023991A true JP2010023991A (ja) 2010-02-04
JP5362281B2 JP5362281B2 (ja) 2013-12-11

Family

ID=41730164

Family Applications (1)

Application Number Title Priority Date Filing Date
JP2008187963A Expired - Fee Related JP5362281B2 (ja) 2008-07-18 2008-07-18 搬送装置に設けられる移送手段へのガイド材

Country Status (1)

Country Link
JP (1) JP5362281B2 (ja)

Citations (5)

* Cited by examiner, † Cited by third party
Publication number Priority date Publication date Assignee Title
JPH07223725A (ja) * 1994-02-10 1995-08-22 Kurazushi:Kk 飲食物搬送装置の短絡機構
JPH11187963A (ja) * 1997-12-25 1999-07-13 Ishino Seisakusho:Kk 飲食物供給用循環搬送路における進路変更部材
JP2003010028A (ja) * 2001-06-29 2003-01-14 Ishino Seisakusho:Kk 循環型飲食物搬送装置における進路変更装置
JP2006061584A (ja) * 2004-08-30 2006-03-09 Ishino Seisakusho:Kk 接続用搬送装置
JP2007097863A (ja) * 2005-10-05 2007-04-19 Japan Crescent Co Ltd 回転飲食台における巡回路短絡方法およびその装置

Patent Citations (5)

* Cited by examiner, † Cited by third party
Publication number Priority date Publication date Assignee Title
JPH07223725A (ja) * 1994-02-10 1995-08-22 Kurazushi:Kk 飲食物搬送装置の短絡機構
JPH11187963A (ja) * 1997-12-25 1999-07-13 Ishino Seisakusho:Kk 飲食物供給用循環搬送路における進路変更部材
JP2003010028A (ja) * 2001-06-29 2003-01-14 Ishino Seisakusho:Kk 循環型飲食物搬送装置における進路変更装置
JP2006061584A (ja) * 2004-08-30 2006-03-09 Ishino Seisakusho:Kk 接続用搬送装置
JP2007097863A (ja) * 2005-10-05 2007-04-19 Japan Crescent Co Ltd 回転飲食台における巡回路短絡方法およびその装置

Also Published As

Publication number Publication date
JP5362281B2 (ja) 2013-12-11

Similar Documents

Publication Publication Date Title
JP4389181B2 (ja) 物品処理設備
JP6647528B2 (ja) 昇降装置
JP5024631B2 (ja) 仕分け設備
JP5743361B1 (ja) 仕分装置およびスラット
JP5346512B2 (ja) 搬送装置
JP4269838B2 (ja) 物品の方向変更装置
JP5362281B2 (ja) 搬送装置に設けられる移送手段へのガイド材
KR20010086272A (ko) 트레이식 물품반송장치
JP5800965B1 (ja) 搬送装置
JP5644445B2 (ja) トレー降ろし装置、トレー載せ装置、およびこれらトレー降ろし装置、トレー載せ装置において使用するトレー
JPH09255110A (ja) 物品収納設備
KR940008972B1 (ko) 굽힘 반송 장치
JPH01261117A (ja) 搬送装置
JP2012046342A (ja) チェーンコンベアシステム
JP2002029618A (ja) トレー式物品搬送装置におけるリンクフレーム連結機構
JP4152473B2 (ja) 吊下げ式搬送装置の揺動抑制構造
JP2000355408A (ja) 回転棚
JP2000355409A (ja) 回転棚
JP2002167027A (ja) 物品搬送設備
JP2004290396A (ja) 飲食容器搬送装置
JP3647829B2 (ja) 機械式駐車装置
JP2005231840A (ja) 物品載置搬送装置
JP2000355407A (ja) 回転棚
JP2001158509A (ja) 物品収納装置
JPH11240606A (ja) 昇降コンベヤ

Legal Events

Date Code Title Description
A711 Notification of change in applicant

Free format text: JAPANESE INTERMEDIATE CODE: A712

Effective date: 20110405

A621 Written request for application examination

Free format text: JAPANESE INTERMEDIATE CODE: A621

Effective date: 20110707

A977 Report on retrieval

Free format text: JAPANESE INTERMEDIATE CODE: A971007

Effective date: 20121031

A131 Notification of reasons for refusal

Free format text: JAPANESE INTERMEDIATE CODE: A131

Effective date: 20121218

A521 Request for written amendment filed

Free format text: JAPANESE INTERMEDIATE CODE: A523

Effective date: 20130215

TRDD Decision of grant or rejection written
A01 Written decision to grant a patent or to grant a registration (utility model)

Free format text: JAPANESE INTERMEDIATE CODE: A01

Effective date: 20130827

A61 First payment of annual fees (during grant procedure)

Free format text: JAPANESE INTERMEDIATE CODE: A61

Effective date: 20130904

R150 Certificate of patent or registration of utility model

Free format text: JAPANESE INTERMEDIATE CODE: R150

R250 Receipt of annual fees

Free format text: JAPANESE INTERMEDIATE CODE: R250

LAPS Cancellation because of no payment of annual fees