JP2010023914A - 逆止機能ノズルを備えるフレキシブル包装袋および液状物充填包装構造体 - Google Patents
逆止機能ノズルを備えるフレキシブル包装袋および液状物充填包装構造体 Download PDFInfo
- Publication number
- JP2010023914A JP2010023914A JP2008190642A JP2008190642A JP2010023914A JP 2010023914 A JP2010023914 A JP 2010023914A JP 2008190642 A JP2008190642 A JP 2008190642A JP 2008190642 A JP2008190642 A JP 2008190642A JP 2010023914 A JP2010023914 A JP 2010023914A
- Authority
- JP
- Japan
- Prior art keywords
- film
- nozzle
- packaging bag
- liquid
- check
- Prior art date
- Legal status (The legal status is an assumption and is not a legal conclusion. Google has not performed a legal analysis and makes no representation as to the accuracy of the status listed.)
- Granted
Links
Images
Classifications
-
- B—PERFORMING OPERATIONS; TRANSPORTING
- B65—CONVEYING; PACKING; STORING; HANDLING THIN OR FILAMENTARY MATERIAL
- B65D—CONTAINERS FOR STORAGE OR TRANSPORT OF ARTICLES OR MATERIALS, e.g. BAGS, BARRELS, BOTTLES, BOXES, CANS, CARTONS, CRATES, DRUMS, JARS, TANKS, HOPPERS, FORWARDING CONTAINERS; ACCESSORIES, CLOSURES, OR FITTINGS THEREFOR; PACKAGING ELEMENTS; PACKAGES
- B65D75/00—Packages comprising articles or materials partially or wholly enclosed in strips, sheets, blanks, tubes or webs of flexible sheet material, e.g. in folded wrappers
- B65D75/52—Details
- B65D75/58—Opening or contents-removing devices added or incorporated during package manufacture
- B65D75/5861—Spouts
- B65D75/5866—Integral spouts
-
- B—PERFORMING OPERATIONS; TRANSPORTING
- B65—CONVEYING; PACKING; STORING; HANDLING THIN OR FILAMENTARY MATERIAL
- B65D—CONTAINERS FOR STORAGE OR TRANSPORT OF ARTICLES OR MATERIALS, e.g. BAGS, BARRELS, BOTTLES, BOXES, CANS, CARTONS, CRATES, DRUMS, JARS, TANKS, HOPPERS, FORWARDING CONTAINERS; ACCESSORIES, CLOSURES, OR FITTINGS THEREFOR; PACKAGING ELEMENTS; PACKAGES
- B65D2231/00—Means for facilitating the complete expelling of the contents
- B65D2231/001—Means for facilitating the complete expelling of the contents the container being a bag
Landscapes
- Engineering & Computer Science (AREA)
- Mechanical Engineering (AREA)
- Bag Frames (AREA)
- Packages (AREA)
Abstract
【解決手段】フィルム状逆止ノズルを突設してなるフレキシブル包装袋において、包装袋本体の非シール部分の積層フィルムが、少なくとも上部または、前記フィルム状逆止ノズル側の側縁近傍において、凹凸構造を有するものからなるフレキシブル袋と、これを自立型の外包装容器に収納してなる液状物充填包装構造体。
【選択図】図1
Description
また、本発明の他の目的は、非自立型のフレキシブル包装袋をそのままで使用形態になるように保持することのできる液状物充填包装構造体を提案することにある。
(1)積層フィルムに形成した前記凹凸構造は、表裏の積層フィルムの一方もしくは両方に、エンボス加工、ブラスト加工、ローレット加工、しわ加工、縦・横縞加工を、面状、島状、ストライプ状に施して、一部模様もしくは全面模様とにして形成されたものであること、
(2)前記フィルム状逆止ノズルは、重なり合う2枚の軟質積層フィルムを、ノズル基端部となる部分を除く外周縁部分を相互に融着し、中央部分を注出通路として構成して、包装袋本体の側部に、これの基端部を融着接合されたものであって、包装袋本体を傾動させて被包装物を注出した際に、該被包装物が通過することによって、前記注出通路内が濡れた状態となる積層フィルムの内表面どうしが、該注出通路内表面に被包装物が滞留することによる相互の密着作用によって、外気の侵入を阻止する逆止機能を生ずるものであること、
(3)前記フィルム状逆止ノズルは、表裏いずれか少なくとも一方の積層フィルムの切り裂き予定位置とその近傍を除くノズル基端部側に凹凸構造を有すること、
(4)前記フィルム状逆止ノズルの基端部は、対面するシーラント層を低融点プラスチックフィルムによって低温融着され、注出通路内表面が仮封止されていること、
(5)前記包装袋本体は、それの上横シール部分の前記フィルム状逆止ノズルの上縁より高い位置に、ガス溜め空間を有すること、
が、より好ましい解決手段となる。
(1)積層フィルムに形成した前記凹凸構造は、表裏の積層フィルムの一方もしくは両方に、エンボス加工、ブラスト加工、ローレット加工、しわ加工、縦・横縞加工を、面状、島状、ストライプ状に施して、一部模様もしくは全面模様とにして形成されたものであること、
(2)前記フィルム状逆止ノズルは、重なり合う2枚の軟質積層フィルムを、ノズル基端部となる部分を除く外周縁部分を相互に融着し、中央部分を注出通路として構成して、包装袋本体の側部に、これの基端部を融着接合されたものであって、包装袋本体を傾動させて被包装物を注出した際に、該被包装物が通過することによって、前記注出通路内が濡れた状態となる積層フィルムの内表面どうしが、該注出通路内表面に被包装物が滞留することによる相互の密着作用によって、外気の侵入を阻止する逆止機能を生ずるものであること、
(3)前記フィルム状逆止ノズルは、表裏いずれか少なくとも一方の積層フィルムの切り裂き予定位置とその近傍を除くノズル基端部側に凹凸構造を有すること、
(4)前記フィルム状逆止ノズルの基端部は、対面するシーラント層を低融点プラスチックフィルムによって低温融着され、注出通路内表面が仮封止されていること、
(5)前記包装袋本体は、それの上横シール部分の前記フィルム状逆止ノズルの上縁より高い位置に、ガス溜め空間を有すること、
(6)前記非自立型液状物充填包装体は、それの上端部横シール部が、前記自立型外包装容器内上端部に、融着されて、該自立型外包装容器内に懸吊された状態にて収納保持されていること、
(7)前記自立型外包装容器は、下端部には平底形の底部を有し、頂部は非自立型液状物充填包装体を交換するために開閉可能にした軟質積層フィルムからなるフレキシブル包装袋であること、
が、より好ましい実施形態となる。
従って、このようなフィルム状逆止ノズルを備える包装袋では、袋内に充填されている液状被包装物は、それの注出前はもちろん、注出中および注出後においても、外気との接触から一切遮断されて保護されることになり、袋内被包装物の酸化、汚損等が有効に防止されることになる。
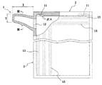
そのため、本発明では、図2に示すように少なくとも包装袋本体の、表・裏いずれか少なくとも一方の積層フィルムとして、袋のシール(横シール、縦シール、ノズルと本体との接合シール)部分を除く部分が、エンボス加工やブラスト加工、ローレット加工、しわ加工、縦・横縞加工等が施された凹凸構造14を有するものを使用する。シール部分を除く理由は、シール部分に凹凸があるとシール不良を起こすからである。
図2に示すフレキシブル包装袋は、軟質の積層フィルムからなる包装袋本体2のたとえば左側縁上部に、フィルム状逆止ノズル1を突設した例であり、該袋本体2の接合部の内表面側のシーラント層に、該フィルム状逆止ノズル1の基端部における最外層のシーラント層、好ましくは、包装袋本体のシーラント層と同種の樹脂材料からなるシーラント層を重ね合わせてヒートシールして融着接合したものである。場合によっては、これらの融着接合部の注出通路内面のシーラント樹脂は高融点のものとして、この部分が低温融着するようにして仮封止部12を形成したものとすることが好ましい。
なお、この例での注出は、袋内被包装物の減少に応じて該自立型外包装容器(以下、「スタンディングパウチ」の例で述べる)9の傾動角度を大きくすることにより行われる。
ここで、フィルム状逆止ノズル1のこの逆止機能に由来する密着閉止は、前にも述べたように、フィルム状逆止ノズル1が水頭圧から解放されて、表裏の積層フィルム3、4が、フィルム状逆止ノズル1の製造時の原形状に復帰することおよび、フィルム状逆止ノズル1内の被包装物が包装袋本体2内へ還流するに際して表裏のフィルム3、4が減圧雰囲気におかれることにより、軟質なそれらのフィルムの内表面(シーラント層6、6’)どうしが、この面に付着する液状被包装物の毛細管作用による介在下で、ノズル幅の全体にわたって相互に負圧吸着されること等によって行われることになる。そして、このようなセルフシール逆止機能に基づくフィルムどうしの密着閉止は、潰れ変形等した包装袋本体2が、固有の弾性復元力に基いて包装袋本体12内を減圧傾向とする場合により確実に維持されることになる。
なおここで、低温融着による仮封止部12は、完全な融着接合部を形成する場合に比して、ヒートシール手段の加熱温度、加圧力および加圧時間の少なくとも一つを低減させることによって実現することができる。
すなわち、それが0.3(N/15mm)未満では、加熱状態の液状被包装物の、袋内容量等との関連の下で、仮封止部12に意図しない開封が起こるおそれがあり、一方で、3(N/15mm)を越えると、仮封止部12を開封するのに要する荷重が、他の融着接合部等にも不測の影響(破袋や開封)を及ぼすおそれがある。
即ち、開封荷重が50(N)未満では、被包装物を充填包装した包装袋の積み重ねにより、下段側の包装袋で、仮封止部が開封されるおそれがあり、逆に、350(N)を越える場合やヒートシール強度が高すぎる場合、仮封止部を開封するに要する荷重によって、他の融着接合部が影響を受けるおそれがある。
本発明は、上述した非自立型フレキシブル包装袋とスタンディングパウチの両者の組み合わせが好適であり、この組み合わせによって、液状物充填包装構造体が得られる。
2 包装袋本体
3、4 積層フィルム
5、5’ ベースフィム層
6、6’ 内側シーラント層
7、7’ 外側シーラント層
8 充填包装体
9 自立型外包装容器(スタンディングパウチ)
10 撥水・撥油塗布層
11 ガス溜め空間
12 仮封止部
13 注出通路
14 凹凸構造
15 切り取り部
16 底部
17 チャック
Claims (14)
- 軟質積層フィルムからなる包装袋本体の側部に、重なり合うプラスチックフィルムの相互間に液状物が介在するときに逆止機能を生ずるフィルム状逆止ノズルを突設してなるフレキシブル包装袋において、前記包装袋本体は、表裏いずれか少なくとも一方の積層フィルムの非シール部分が、少なくとも上部または、前記フィルム状逆止ノズル側の側縁近傍において、凹凸構造を有する積層フィルムによって構成されていることを特徴とする逆止機能ノズルを備えるフレキシブル包装袋。
- 積層フィルムに形成した前記凹凸構造は、表裏の積層フィルムの一方もしくは両方に、エンボス加工、ブラスト加工、ローレット加工、しわ加工、縦・横縞加工を、面状、島状、ストライプ状に施して、一部模様もしくは全面模様とにして形成されたものであることを特徴とする請求項1に記載の逆止機能ノズルを備えるフレキシブル包装袋。
- 前記フィルム状逆止ノズルは、重なり合う2枚の軟質積層フィルムを、ノズル基端部となる部分を除く外周縁部分を相互に融着し、中央部分を注出通路として構成して、包装袋本体の側部に、これの基端部を融着接合されたものであって、
包装袋本体を傾動させて被包装物を注出した際に、該被包装物が通過することによって、前記注出通路内が濡れた状態となる積層フィルムの内表面どうしが、該注出通路内表面に被包装物が滞留することによる相互の密着作用によって、外気の侵入を阻止する逆止機能を生ずるものであることを特徴とする請求項1または2に記載の逆止機能ノズルを備えるフレキシブル包装袋。 - 前記フィルム状逆止ノズルは、表裏いずれか少なくとも一方の積層フィルムの切り裂き予定位置とその近傍を除くノズル基端部側に凹凸構造を有することを特徴とする請求項1〜3のいずれか1に記載の逆止機能ノズルを備えるフレキシブル包装袋。
- 前記フィルム状逆止ノズルの基端部は、対面するシーラント層を低融点プラスチックフィルムによって低温融着され、注出通路内表面が仮封止されていることを特徴とする請求項1〜4のいずれかに1に記載の逆止機能ノズルを備えるフレキシブル包装袋。
- 前記包装袋本体は、それの上横シール部分の前記フィルム状逆止ノズルの上縁より高い位置に、ガス溜め空間を有することを特徴とする請求項1〜5のいずれかに1に記載の逆止機能ノズルを備えるフレキシブル包装袋。
- 軟質積層フィルムからなる包装袋本体の側部に、重なり合うプラスチックフィルム相互間に液状物が介在するときに、逆止機能を生ずるフィルム状逆止ノズルを突設してなり、かつ該包装袋本体は、表裏いずれか少なくとも一方の積層フィルムの非シール部分が、少なくとも上部または、前記フィルム状逆止ノズル側の側縁近傍に、凹凸構造を有する積層フィルムによって構成されている非自立型フレキシブル包装袋内に、液状あるいは粘稠状の被包装物を液中シール充填してなる非自立型液状物充填包装体と、
その非自立型液状物充填包装体を収納するための筒状の容器であって、それの一側部には、前記フィルム状逆止ノズルを露出可能に収納すると共にこれを引き出すためのノズル引き出し用引裂き誘導疵を設けて開封可能とした張り出し小袋を突設してなり、かつ、底板を設けて自立可能にした自立型外包装容器と、
からなることを特徴とする液状物充填包装構造体。 - 積層フィルムに形成した前記凹凸構造は、表裏の積層フィルムの一方もしくは両方に、エンボス加工、ブラスト加工、ローレット加工、しわ加工、縦・横縞加工を、面状、島状、ストライプ状に施して、一部模様もしくは全面模様とにして形成されたものであることを特徴とする請求項7に記載の逆止機能ノズルを備える液状物充填包装構造体。
- 前記フィルム状逆止ノズルは、重なり合う2枚の軟質積層フィルムを、ノズル基端部となる部分を除く外周縁部分を相互に融着し、中央部分を注出通路として構成して、包装袋本体の側部に、これの基端部を融着接合されたものであって、
包装袋本体を傾動させて被包装物を注出した際に、該被包装物が通過することによって、前記注出通路内が濡れた状態となる積層フィルムの内表面どうしが、該注出通路内表面に被包装物が滞留することによる相互の密着作用によって、外気の侵入を阻止する逆止機能を生ずるものであることを特徴とする請求項7または8に記載の逆止機能ノズルを備える液状物充填包装構造体。 - 前記フィルム状逆止ノズルは、表裏いずれか少なくとも一方の積層フィルムの切り裂き予定位置とその近傍を除くノズル基端部側に凹凸構造を有することを特徴とする請求項7〜9のいずれか1に記載の逆止機能ノズルを備える液状物充填包装構造体。
- 前記フィルム状逆止ノズルの基端部は、対面するシーラント層を低融点プラスチックフィルムによって低温融着され、注出通路内表面が仮封止されていることを特徴とする請求項7〜10のいずれかに1に記載の逆止機能ノズルを備える液状物充填包装構造体。
- 前記包装袋本体は、それの上横シール部分の前記フィルム状逆止ノズルの上縁より高い位置に、ガス溜め空間を有することを特徴とする請求項7〜11のいずれかに1に記載の逆止機能ノズルを備える液状物充填包装構造体。
- 前記非自立型液状物充填包装体は、それの上端部横シール部が、前記自立型外包装容器内上端部に、融着されて、該自立型外包装容器内に懸吊された状態にて収納保持されていることを特徴とする請求項7〜12のいずれかに1に記載の液状物充填包装構造体。
- 前記自立型外包装容器は、下端部には平底形の底部を有し、頂部は非自立型液状物充填包装体を交換するために開閉可能にした軟質積層フィルムからなるフレキシブル包装袋であることを特徴とする請求項7〜13のいずれかに1に記載の液状物充填包装構造体。
Priority Applications (5)
| Application Number | Priority Date | Filing Date | Title |
|---|---|---|---|
| JP2008190642A JP4441575B2 (ja) | 2008-07-24 | 2008-07-24 | 逆止機能ノズルを備えるフレキシブル包装袋および液状物充填包装構造体 |
| US13/003,066 US20110110613A1 (en) | 2008-07-24 | 2009-06-15 | Flexible package bag provided with one-way functioning nozzle and liquid material-filled packaging structure |
| EP09800287A EP2325097B1 (en) | 2008-07-24 | 2009-06-15 | Flexible packaging bag having a non-returning function nozzle, and liquid-substance filling/packaging structure |
| PCT/JP2009/061260 WO2010010772A1 (ja) | 2008-07-24 | 2009-06-15 | 逆止機能ノズルを備えるフレキシブル包装袋および液状物充填包装構造体 |
| TW098121015A TW201012709A (en) | 2008-07-24 | 2009-06-23 | Flexible packaging bag having a non-returning function nozzle, and liquid-substance filling/packaging structure |
Applications Claiming Priority (1)
| Application Number | Priority Date | Filing Date | Title |
|---|---|---|---|
| JP2008190642A JP4441575B2 (ja) | 2008-07-24 | 2008-07-24 | 逆止機能ノズルを備えるフレキシブル包装袋および液状物充填包装構造体 |
Related Child Applications (1)
| Application Number | Title | Priority Date | Filing Date |
|---|---|---|---|
| JP2009255861A Division JP2010030689A (ja) | 2009-11-09 | 2009-11-09 | 逆止機能ノズルを備えるフレキシブル包装袋 |
Publications (2)
| Publication Number | Publication Date |
|---|---|
| JP2010023914A true JP2010023914A (ja) | 2010-02-04 |
| JP4441575B2 JP4441575B2 (ja) | 2010-03-31 |
Family
ID=41570238
Family Applications (1)
| Application Number | Title | Priority Date | Filing Date |
|---|---|---|---|
| JP2008190642A Expired - Fee Related JP4441575B2 (ja) | 2008-07-24 | 2008-07-24 | 逆止機能ノズルを備えるフレキシブル包装袋および液状物充填包装構造体 |
Country Status (5)
| Country | Link |
|---|---|
| US (1) | US20110110613A1 (ja) |
| EP (1) | EP2325097B1 (ja) |
| JP (1) | JP4441575B2 (ja) |
| TW (1) | TW201012709A (ja) |
| WO (1) | WO2010010772A1 (ja) |
Cited By (2)
| Publication number | Priority date | Publication date | Assignee | Title |
|---|---|---|---|---|
| CN102991828A (zh) * | 2012-12-12 | 2013-03-27 | 无锡市旗能包装科技有限公司 | 一种液体食品包装用桶中袋 |
| JP2015057352A (ja) * | 2013-08-16 | 2015-03-26 | 株式会社悠心 | 包装体 |
Families Citing this family (11)
| Publication number | Priority date | Publication date | Assignee | Title |
|---|---|---|---|---|
| JP4490493B2 (ja) | 2008-07-11 | 2010-06-23 | 株式会社悠心 | 逆止機能ノズルを備えるフレキシブル包装袋 |
| KR101575388B1 (ko) * | 2008-09-08 | 2015-12-07 | 에르테에스 로만 테라피-시스테메 아게 | 경피 치료 시스템 또는 필름-유사 투여 형태를 위한 어린이안전 개별 투여량 패키징 |
| JP5486607B2 (ja) | 2008-12-09 | 2014-05-07 | ダイネーゼ ソシエタ ペル アチオーニ | 膨張可能部材を含む保護デバイス |
| ES2460920T3 (es) | 2008-12-09 | 2014-05-16 | Dainese S.P.A. | Prenda adaptada para asociarse a un dispositivo para la protección personal de un usuario |
| ITVR20110135A1 (it) * | 2011-06-30 | 2012-12-31 | Dainese Spa | Dispositivo di protezione. |
| US10081486B2 (en) * | 2014-08-19 | 2018-09-25 | Pouch Pac Innovations, Llc | Flexible pouch with frangible seal for hydrogenated water |
| US10173821B2 (en) | 2016-09-26 | 2019-01-08 | Dow Global Technologies Llc | Flexible fitment for flexible container |
| US10155615B2 (en) | 2016-09-26 | 2018-12-18 | Dow Global Technologies Llc | Seal bar and process for using same |
| US11554038B2 (en) | 2017-11-17 | 2023-01-17 | Hollister Incorporated | Receptacles having tear-controlling features |
| USD896633S1 (en) | 2019-01-29 | 2020-09-22 | Golden State Foods Corp. | Container |
| USD896634S1 (en) | 2019-01-29 | 2020-09-22 | Golden State Foods Corp. | Container |
Citations (6)
| Publication number | Priority date | Publication date | Assignee | Title |
|---|---|---|---|---|
| JPH0453644U (ja) * | 1990-09-11 | 1992-05-07 | ||
| JPH111249A (ja) * | 1997-06-10 | 1999-01-06 | Toppan Printing Co Ltd | 包装袋 |
| JP2000072152A (ja) * | 1998-08-31 | 2000-03-07 | Dainippon Printing Co Ltd | 小袋包装体 |
| JP2002362591A (ja) * | 2001-06-11 | 2002-12-18 | Kau Pack Kk | 流体包装袋 |
| JP2003267446A (ja) * | 2002-03-08 | 2003-09-25 | Material Eng Tech Lab Inc | 液体容器 |
| JP2006264698A (ja) * | 2005-03-22 | 2006-10-05 | Taisei Lamick Co Ltd | 包装袋 |
Family Cites Families (18)
| Publication number | Priority date | Publication date | Assignee | Title |
|---|---|---|---|---|
| US3240416A (en) * | 1961-01-12 | 1966-03-15 | Dow Chemical Co | Lined dispensing carton |
| US3386604A (en) * | 1965-01-22 | 1968-06-04 | Continental Can Co | Infant-nursing pouch |
| US3357632A (en) * | 1966-09-26 | 1967-12-12 | Gen Electric | Self-sealing container |
| DE4421144C2 (de) | 1993-07-21 | 2003-02-13 | Unaxis Balzers Ag | Beschichtetes Werkzeug mit erhöhter Standzeit |
| JPH10101339A (ja) * | 1996-09-27 | 1998-04-21 | Titan Kogyo Kk | マグネタイト粒子粉末及びその製造方法並びにその応用 |
| US5772034A (en) * | 1997-07-15 | 1998-06-30 | Lin; Chih-Jen | Bag assembly |
| US6244747B1 (en) * | 1999-09-30 | 2001-06-12 | Cryovac, Inc. | Contoured pouch with pourable spout, and apparatus and process for producing same |
| US6732889B2 (en) * | 2002-02-06 | 2004-05-11 | Ishai Oren | Pouring spout for liquid containers, and liquid containers constructed therewith |
| JP4077720B2 (ja) | 2002-12-19 | 2008-04-23 | 二瀬 克規 | 包装構造体 |
| CH696968A5 (fr) * | 2003-04-01 | 2008-02-29 | Pepup S A | Récipient souple pour liquide. |
| JP4392198B2 (ja) | 2003-06-27 | 2009-12-24 | 二瀬 克規 | 液体注出ノズルおよびそれを用いた包装袋 |
| JP4996815B2 (ja) | 2003-07-31 | 2012-08-08 | 二瀬 克規 | 液体注出ノズルおよびそれを用いた包装袋ならびに包装袋の使用方法 |
| JP3677515B1 (ja) * | 2004-01-10 | 2005-08-03 | 株式会社アール | 圧縮袋の製造方法及び圧縮袋及び空気通路の構造 |
| US7726880B2 (en) * | 2004-06-29 | 2010-06-01 | The Glad Products Company | Flexible storage bag |
| US8418884B2 (en) * | 2004-07-30 | 2013-04-16 | Yushin Co., Ltd. | Liquid spouting nozzle, packaging bag using the nozzle, box for packaging and packaging structure |
| US20090028468A1 (en) * | 2005-07-01 | 2009-01-29 | Mikio Tanaka | Structure of air passage of sealable bag, sealable bag, and method of manufacturing the sealable bag |
| JP2009524557A (ja) * | 2006-01-27 | 2009-07-02 | ザ プロクター アンド ギャンブル カンパニー | 注ぎ口付きパッケージングバッグ |
| JP4490493B2 (ja) * | 2008-07-11 | 2010-06-23 | 株式会社悠心 | 逆止機能ノズルを備えるフレキシブル包装袋 |
-
2008
- 2008-07-24 JP JP2008190642A patent/JP4441575B2/ja not_active Expired - Fee Related
-
2009
- 2009-06-15 WO PCT/JP2009/061260 patent/WO2010010772A1/ja not_active Ceased
- 2009-06-15 EP EP09800287A patent/EP2325097B1/en not_active Not-in-force
- 2009-06-15 US US13/003,066 patent/US20110110613A1/en not_active Abandoned
- 2009-06-23 TW TW098121015A patent/TW201012709A/zh not_active IP Right Cessation
Patent Citations (6)
| Publication number | Priority date | Publication date | Assignee | Title |
|---|---|---|---|---|
| JPH0453644U (ja) * | 1990-09-11 | 1992-05-07 | ||
| JPH111249A (ja) * | 1997-06-10 | 1999-01-06 | Toppan Printing Co Ltd | 包装袋 |
| JP2000072152A (ja) * | 1998-08-31 | 2000-03-07 | Dainippon Printing Co Ltd | 小袋包装体 |
| JP2002362591A (ja) * | 2001-06-11 | 2002-12-18 | Kau Pack Kk | 流体包装袋 |
| JP2003267446A (ja) * | 2002-03-08 | 2003-09-25 | Material Eng Tech Lab Inc | 液体容器 |
| JP2006264698A (ja) * | 2005-03-22 | 2006-10-05 | Taisei Lamick Co Ltd | 包装袋 |
Cited By (2)
| Publication number | Priority date | Publication date | Assignee | Title |
|---|---|---|---|---|
| CN102991828A (zh) * | 2012-12-12 | 2013-03-27 | 无锡市旗能包装科技有限公司 | 一种液体食品包装用桶中袋 |
| JP2015057352A (ja) * | 2013-08-16 | 2015-03-26 | 株式会社悠心 | 包装体 |
Also Published As
| Publication number | Publication date |
|---|---|
| US20110110613A1 (en) | 2011-05-12 |
| JP4441575B2 (ja) | 2010-03-31 |
| WO2010010772A1 (ja) | 2010-01-28 |
| EP2325097B1 (en) | 2013-03-13 |
| TW201012709A (en) | 2010-04-01 |
| TWI373439B (ja) | 2012-10-01 |
| EP2325097A4 (en) | 2012-01-04 |
| EP2325097A1 (en) | 2011-05-25 |
Similar Documents
| Publication | Publication Date | Title |
|---|---|---|
| JP4441575B2 (ja) | 逆止機能ノズルを備えるフレキシブル包装袋および液状物充填包装構造体 | |
| JP5540232B2 (ja) | 液状物充填包装構造体 | |
| JP4490493B2 (ja) | 逆止機能ノズルを備えるフレキシブル包装袋 | |
| JP2010095272A (ja) | 逆止機能ノズルを備えるフレキシブル包装袋および液状物充填包装構造体 | |
| JP4996815B2 (ja) | 液体注出ノズルおよびそれを用いた包装袋ならびに包装袋の使用方法 | |
| JP5732700B2 (ja) | フレキシブル包装袋 | |
| JP2011148538A (ja) | フィルム状逆止ノズルおよびフレキシブル包装袋 | |
| JP5344761B2 (ja) | 飲料水用ダブルパック包装袋および飲料水・抽出素材共充填型包装構造体 | |
| JP2010159087A5 (ja) | ||
| JP2009292527A (ja) | 液状物充填包装体の梱包方法 | |
| JP5470554B2 (ja) | 液状物注出用フィルム状逆止弁およびフレキシブル包装袋 | |
| JP2010030689A (ja) | 逆止機能ノズルを備えるフレキシブル包装袋 | |
| JP5175382B2 (ja) | 液体注出ノズル | |
| JP6095048B2 (ja) | 包装構造体 | |
| JP5326083B2 (ja) | 液状物充填包装構造体 | |
| JP5445752B2 (ja) | 液状物注出用フィルム状逆止弁部を有するフレキシブル包装袋 | |
| JP5360573B2 (ja) | 液状物注出用フィルム状逆止ノズル部を有するフレキシブル包装袋 | |
| WO2011071173A1 (ja) | 飲料水用ダブルパック包装袋および飲料水・抽出素材共充填型包装構造体 | |
| JP2010184725A (ja) | 詰め替え用包装袋 | |
| JP2007069930A (ja) | 詰替え用袋 | |
| HK1154555B (en) | Package bag provided with liquid pouring nozzle |
Legal Events
| Date | Code | Title | Description |
|---|---|---|---|
| A521 | Request for written amendment filed |
Free format text: JAPANESE INTERMEDIATE CODE: A523 Effective date: 20090810 |
|
| A621 | Written request for application examination |
Free format text: JAPANESE INTERMEDIATE CODE: A621 Effective date: 20090810 |
|
| A871 | Explanation of circumstances concerning accelerated examination |
Free format text: JAPANESE INTERMEDIATE CODE: A871 Effective date: 20090810 |
|
| A975 | Report on accelerated examination |
Free format text: JAPANESE INTERMEDIATE CODE: A971005 Effective date: 20090831 |
|
| A131 | Notification of reasons for refusal |
Free format text: JAPANESE INTERMEDIATE CODE: A131 Effective date: 20090908 |
|
| A521 | Request for written amendment filed |
Free format text: JAPANESE INTERMEDIATE CODE: A523 Effective date: 20091105 |
|
| TRDD | Decision of grant or rejection written | ||
| A01 | Written decision to grant a patent or to grant a registration (utility model) |
Free format text: JAPANESE INTERMEDIATE CODE: A01 Effective date: 20100105 |
|
| A01 | Written decision to grant a patent or to grant a registration (utility model) |
Free format text: JAPANESE INTERMEDIATE CODE: A01 |
|
| A61 | First payment of annual fees (during grant procedure) |
Free format text: JAPANESE INTERMEDIATE CODE: A61 Effective date: 20100108 |
|
| FPAY | Renewal fee payment (event date is renewal date of database) |
Free format text: PAYMENT UNTIL: 20130115 Year of fee payment: 3 |
|
| R150 | Certificate of patent or registration of utility model |
Ref document number: 4441575 Country of ref document: JP Free format text: JAPANESE INTERMEDIATE CODE: R150 Free format text: JAPANESE INTERMEDIATE CODE: R150 |
|
| FPAY | Renewal fee payment (event date is renewal date of database) |
Free format text: PAYMENT UNTIL: 20130115 Year of fee payment: 3 |
|
| S531 | Written request for registration of change of domicile |
Free format text: JAPANESE INTERMEDIATE CODE: R313531 |
|
| FPAY | Renewal fee payment (event date is renewal date of database) |
Free format text: PAYMENT UNTIL: 20130115 Year of fee payment: 3 |
|
| R350 | Written notification of registration of transfer |
Free format text: JAPANESE INTERMEDIATE CODE: R350 |
|
| FPAY | Renewal fee payment (event date is renewal date of database) |
Free format text: PAYMENT UNTIL: 20130115 Year of fee payment: 3 |
|
| FPAY | Renewal fee payment (event date is renewal date of database) |
Free format text: PAYMENT UNTIL: 20130115 Year of fee payment: 3 |
|
| FPAY | Renewal fee payment (event date is renewal date of database) |
Free format text: PAYMENT UNTIL: 20130115 Year of fee payment: 3 |
|
| FPAY | Renewal fee payment (event date is renewal date of database) |
Free format text: PAYMENT UNTIL: 20130115 Year of fee payment: 3 |
|
| FPAY | Renewal fee payment (event date is renewal date of database) |
Free format text: PAYMENT UNTIL: 20140115 Year of fee payment: 4 |
|
| R250 | Receipt of annual fees |
Free format text: JAPANESE INTERMEDIATE CODE: R250 |
|
| R250 | Receipt of annual fees |
Free format text: JAPANESE INTERMEDIATE CODE: R250 |
|
| R250 | Receipt of annual fees |
Free format text: JAPANESE INTERMEDIATE CODE: R250 |
|
| R250 | Receipt of annual fees |
Free format text: JAPANESE INTERMEDIATE CODE: R250 |
|
| R250 | Receipt of annual fees |
Free format text: JAPANESE INTERMEDIATE CODE: R250 |
|
| R250 | Receipt of annual fees |
Free format text: JAPANESE INTERMEDIATE CODE: R250 |
|
| R250 | Receipt of annual fees |
Free format text: JAPANESE INTERMEDIATE CODE: R250 |
|
| R250 | Receipt of annual fees |
Free format text: JAPANESE INTERMEDIATE CODE: R250 |
|
| R250 | Receipt of annual fees |
Free format text: JAPANESE INTERMEDIATE CODE: R250 |
|
| LAPS | Cancellation because of no payment of annual fees |
