JP2010023516A - 印刷物 - Google Patents

印刷物 Download PDF

Info

Publication number
JP2010023516A
JP2010023516A JP2009229171A JP2009229171A JP2010023516A JP 2010023516 A JP2010023516 A JP 2010023516A JP 2009229171 A JP2009229171 A JP 2009229171A JP 2009229171 A JP2009229171 A JP 2009229171A JP 2010023516 A JP2010023516 A JP 2010023516A
Authority
JP
Japan
Prior art keywords
transparent resin
resin plate
printed matter
sheet
transparent
Prior art date
Legal status (The legal status is an assumption and is not a legal conclusion. Google has not performed a legal analysis and makes no representation as to the accuracy of the status listed.)
Granted
Application number
JP2009229171A
Other languages
English (en)
Other versions
JP4550157B2 (ja
Inventor
Takao Koyama
隆雄 小山
Kazuo Funatani
和夫 船谷
Yoshio Imanaka
佳男 今中
Yoshihiro Ueda
愛博 上田
Yoshio Takigawa
芳男 滝川
Current Assignee (The listed assignees may be inaccurate. Google has not performed a legal analysis and makes no representation or warranty as to the accuracy of the list.)
Dai Nippon Printing Co Ltd
Original Assignee
Dai Nippon Printing Co Ltd
Priority date (The priority date is an assumption and is not a legal conclusion. Google has not performed a legal analysis and makes no representation as to the accuracy of the date listed.)
Filing date
Publication date
Application filed by Dai Nippon Printing Co Ltd filed Critical Dai Nippon Printing Co Ltd
Priority to JP2009229171A priority Critical patent/JP4550157B2/ja
Publication of JP2010023516A publication Critical patent/JP2010023516A/ja
Application granted granted Critical
Publication of JP4550157B2 publication Critical patent/JP4550157B2/ja
Anticipated expiration legal-status Critical
Expired - Lifetime legal-status Critical Current

Links

Images

Landscapes

  • Printing Methods (AREA)

Abstract

【課題】高鮮映(鏡面仕上げ)であって、深み、奥行き、立体感などを有する製品を印刷により表現した印刷物を提供することであり、これにより製品(現物)が量産された段階においては、既に販促物として機能を発揮することができるプロモーションツールとなる印刷物を提供することである。
【解決手段】1〜5mm厚さの透明樹脂板と、該透明樹脂板の一方の面に台紙を設け、前記透明樹脂板側から見るように構成した印刷物であって、前記透明樹脂板の他方の面に印刷面積が50%以下の線状ないし点状の絵柄からなるシルクスクリーン印刷層を設けたことを特徴とする印刷物。
【選択図】 図1

Description

本発明は、高鮮映(鏡面仕上げ)であって、深み、奥行き、立体感などを有するシステムキッチン等のパネルやグリルのトッププレートなどの現物の意匠を的確に表現した印刷物に関し、さらに詳しくは、見本帳に適用することができる印刷物に関するものである。
近年、住宅住設業界では、システムキッチン等のパネルやグリルのトッププレート等の製品は意匠性や清潔感等の要望から表層に一定厚さの透明層を備え、かつ、表面を鏡面仕上げにしたものが用いられている。
しかしながら、上記した製品の見本帳は、製品が量産されてからその一部を見本帳用として供されるため、製品が市場に流通してから後に見本帳が流通するという問題があった。
また、他方において、製品(現物)の凹凸感、艶、色調、量感、触感等の質感を紙基材上に印刷により表現した印刷物(見本帳)がある(たとえば、特許文献1参照)。しかし、特許文献1の印刷物は、上記したような一定厚さの透明層により表現される深み、奥行き、立体感などを表現することは極めて困難であった。
特開2002−67468号公報
そこで本発明は、上記問題に鑑みてなされたものであって、その目的とするところは、高鮮映(鏡面仕上げ)であって、深み、奥行き、立体感などを有する製品を印刷により表現した印刷物を提供することであり、これにより製品(現物)が量産された段階においては、既に販促物として機能を発揮することができるプロモーションツールとなる印刷物を提供することである。
本発明者等は、上記課題を達成するために、請求項1記載の本発明は、1〜5mm厚さの透明樹脂板と、該透明樹脂板の一方の面に台紙を設け、前記透明樹脂板側から見るように構成した印刷物であって、前記透明樹脂板の他方の面に印刷面積が50%以下の線状ないし点状の絵柄からなるシルクスクリーン印刷層を設けたことを特徴とするものである。
また、請求項2記載の本発明は、請求項1記載の印刷物において、前記台紙は前記透明樹脂板の前記一方の面と当接する当接面にベタ絵柄層と該ベタ絵柄層上に地紋柄層を設けたことを特徴とするものである。
また、請求項3記載の本発明は、請求項2記載の印刷物において、前記ベタ絵柄層がオフセット印刷からなり、前記地紋柄層がシルクスクリーン印刷からなることを特徴とするものである。
また、請求項4記載の本発明は、請求項3記載の印刷物において、前記地紋柄層が光沢を有することを特徴とするものである。
上記構成とすることにより、透明樹脂板側から見た際にシルクスクリーン印刷層と透明樹脂板を挟んで設けられたベタ絵柄層上の地紋柄層とを透明樹脂板の厚さを介して見ることになり、深み、奥行き、立体感のある意匠を表現した印刷物とすることができる。また、透明樹脂板の表面が50%より多く表出するように構成しているために、表出部は元より表面全体を高鮮映(鏡面仕上げ)な意匠とすることができる。
また、請求項5記載の本発明は、請求項1〜4のいずれかに記載の印刷物において、前記台紙は前記透明樹脂板の前記一方の面と当接する当接面の光沢度が45%以上であることを特徴とするものである。このように構成することにより、台紙上に設けるベタ絵柄層と地紋柄層との色再現を良好なものとすることができる。
また、請求項6記載の本発明は、請求項1記載の印刷物において、前記透明樹脂板と前記台紙との間に金属光沢を有する蒸着シートを前記透明樹脂板側から金属光沢が見えるように挿設したことを特徴とするものである。
また、請求項7記載の本発明は、請求項6記載の印刷物において、前記透明樹脂板と前記蒸着シートとの間に、一方の面に透明オフセット印刷層を設けた50〜200μm厚さの透明シートを前記透明オフセット印刷層が蒸着シート側に位置するように挿設したことを特徴とするものである。
また、請求項8記載の本発明は、請求項7記載の印刷物において、前記透明シートが80〜120μm厚さで、且つヘイズが10%以下であることを特徴とするものである。
また、請求項9記載の本発明は、請求項6〜7のいずれかに記載の印刷物において、前記蒸着シートが銀蒸着シートであることを特徴とするものである。
また、請求項10記載の本発明は、請求項9記載の印刷物において、前記蒸着シートが複数枚の蒸着シートが積層されたものからなり、前記透明樹脂板側に銀蒸着シートが位置していることを特徴とするものである。
上記請求項6〜10のいずれかに記載の構成とすることにより、メタリック感と深みのある意匠とすることができ、特に請求項9、さらには請求項10の構成とすることにより、一層メタリック感と深みのある意匠とすることができる。
また、請求項11記載の本発明は、請求項1〜10のいずれかに記載の印刷物において、前記透明樹脂板のヘイズ(曇り度)が5%以下であることを特徴とするものである。このように構成することにより、なお一層高鮮映(鏡面仕上げ)であって、深み、奥行き、立体感などを有する印刷物とすることができる。
本発明の印刷物は、高鮮映(鏡面仕上げ)であって、深み、奥行き、立体感などを有する製品を印刷により表現することができるという優れた効果を奏するものである。また、これにより、本発明の印刷物は製品(現物)が量産された段階においては、既に販促物として機能を発揮することができるプロモーションツールとすることができるという優れた効果を奏するものである。
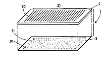
本発明にかかる印刷物の第1実施形態を図解的に示す分解斜視図である。 本発明にかかる印刷物の第2実施形態を図解的に示す分解斜視図である。 本発明にかかる印刷物の第3実施形態を図解的に示す分解斜視図である。
上記の本発明について、図面等を用いて以下に詳述する。
図1は本発明にかかる印刷物の第1実施形態を図解的に示す分解斜視図、図2は本発明にかかる印刷物の第2実施形態を図解的に示す分解斜視図、図3は本発明にかかる印刷物の第3実施形態を図解的に示す分解斜視図であり、図中の1,1',1"は印刷物、2は透明樹脂板、3は台紙、4は透明シート、5は蒸着シート、20は線、20'は点、21は万線状絵柄、21'は点状絵柄、22は地紋絵柄、30,30'はベタ絵柄層、31,31'は地紋柄層をそれぞれ示す。
図1は本発明にかかる印刷物の第1実施形態を図解的に示す分解斜視図であって、印刷物1は透明樹脂板2と台紙3とからなり、前記透明樹脂板2の表面に約45度の角度で淡青色の0.8mm幅の線20が1.0mm間隔でシルクスクリーン印刷により万線状絵柄21となるように設けられると共に、前記台紙3の前記透明樹脂板2と当接する面にオフセット印刷により灰色のベタ絵柄層30(図1上、破線で囲った領域)と該ベタ絵柄30上にシルクスクリーン印刷により緑色の地紋柄層31(図1上、点で表示した)が設けられているものである。
前記印刷物1は、前記透明樹脂板2の非印刷面と前記台紙3の印刷面とが当接するように重ね合わされた構成からなり、このように構成した前記印刷物1は、前記透明樹脂板2側から見ることにより、前記万線状絵柄21が前記ベタ絵柄層30と該ベタ絵柄層30上に設けた地紋柄層31に対して前記透明樹脂板3を介在させたことにより浮かび上がった意匠とすることができ、深み、奥行き、立体感を有する印刷物とすることができる。
図2は本発明にかかる印刷物の第2実施形態を図解的に示す分解斜視図であって、印刷物1'は前記印刷物1と同様に透明樹脂板2と台紙3とからなり、前記透明樹脂板2の表面に黒色の1mmφの点20'が2mm間隔に規則正しくシルクスクリーン印刷により点状絵柄21'となるように設けられると共に、前記台紙3の前記透明樹脂板2と当接する面にオフセット印刷により褐色のベタ絵柄層30'(図2上、破線で囲った領域)と該ベタ絵柄30'上にシルクスクリーン印刷により金色の地紋柄層31'(図2上、点で表示した)が設けられているものである。
このように構成した印刷物1'は、前記印刷物1と同様に前記透明樹脂板2側から見ることにより、前記点状絵柄21'が前記ベタ絵柄層30'と該ベタ絵柄層30'上に設けた地紋柄層31'に対して前記透明樹脂板3を介在させたことにより浮かび上がった意匠とすることができると共に、図示はしないが前記点状絵柄21'が前記透明樹脂板2の前記台紙3側の面で反射されて像を作るために、尚一層深み、奥行き、立体感を有する印刷物とすることができる。
図3は本発明にかかる印刷物の第3実施形態を図解的に示す分解斜視図であって、印刷物1"は透明樹脂板2と透明シート4と蒸着シート5と台紙3とを順に重ね合わせた構成からなり、前記透明樹脂板2の表面にシルクスクリーン印刷により白色の地紋絵柄22(図3上、点で表示した)を設け、前記透明シート4の前記透明樹脂板2の反対面に紫外線硬化型オフセット印刷により透明な赤紫色からなるベタ柄の透明オフセット印刷層40(図3上、破線で囲った領域)が設けられているものである。なお、前記透明オフセット印刷層40(図3上、破線で囲った領域)は、透けて見える程度に透明であればよいものである。また、前記蒸着シート5は金属光沢面が前記透明樹脂板2側から見えるように構成されている。
このように構成した前記印刷物1"は、前記透明樹脂板2側から見ることにより、前記透明シート4に設けた赤紫色がメタリック調を呈すると共に透明樹脂板2を介在した構成となるために重厚感と深みのある意匠とすることができ、また、前記透明樹脂板2の表面に設けた白色の地紋絵柄22(図3上、点で表示した)が浮かび上がると共に、図示はしないが前記白色の地紋絵柄22(図3上、点で表示した)が前記透明樹脂板2の前記台紙3側の面および/ないし前記透明シート4の非印刷面および/ないし蒸着シート5の非蒸着面で反射されて像を作るために、奥行きと立体感に富む印刷物とすることができる。なお、前記印刷物1"の構成において、図示はしないが透明ないし半透明の赤紫色のベタ絵柄層40(図3上、破線で囲った領域)を形成した透明シート4は、設けなくてもよいものであり、この場合にはプレーンな金属光沢を有する意匠となる。
次に、本発明の印刷物1、1'、1"を構成する材料について説明する。
まず、前記透明樹脂板としては、1〜5mm厚さの透明性を有する合成樹脂製の板であれば特に限定するものでないが、高鮮映(鏡面仕上げ)を考慮するとヘイズ(曇り度)が5%以下であるものが望ましく、具体的にはアクリル板が好適である。1mmより薄い場合には、深み、奥行き、立体感に欠け、5mmより厚い場合には、コスト増を吸収できるだけの深み、奥行き、立体感の向上が期待できない。また、前記透明樹脂板2の表面にシルクスクリーン印刷により形成する線状ないし点状の絵柄は、前記透明樹脂板2の表面積に対して印刷面積が50%以下になるように形成するのが好ましい。このように構成することにより、前記台紙3に設けた前記ベタ絵柄層30ないし30'と該ベタ絵柄層30ないし30'上に設けた地紋柄層31ないし31'、あるいは、前記透明樹脂板2を通して前記透明樹脂板2の表面にシルクスクリーン印刷により設けた線状ないし点状の絵柄(図1では万線状絵柄21、図2では点状絵柄21'、図3では地紋絵柄22)の前記透明樹脂板2の前記台紙3側の面および/ないし前記透明シート4の非印刷面および/ないし蒸着シート5の非蒸着面で反射されることにより形成される像などを自然に見ることができ、深み、奥行き、立体感が向上する。
次に、前記透明シート4について説明する。前記透明シート4としては、ヘイズ(曇り度)が10%以下の透明性を有するものであれば特に限定するものではないが、枚葉オフセット印刷機適性やコスト、あるいは、ヘイズ(曇り度)を考慮すると50〜200μm厚さ、好ましくは80〜120μm厚さである。50μmより薄いと機械適性が劣り、200μmより厚いとコスト高となると共にヘイズ(曇り度)が10%より高くなり、意匠を損なう虞が生じる。なお、ヘイズ(曇り度)はJISK7105に準拠して測定した数値である。
次に、前記蒸着シート5について説明する。前記蒸着シート5としては、金属光沢を有するアルミニウムや銀等を透明シートに蒸着したものであれば特に限定するものではなくが、深みのある金属光沢という点からすると銀蒸着シートが好ましく、また、銀蒸着シートとアルミ蒸着シートを積層した積層シートがさらに好ましい。前記蒸着シート5の基材としては、25〜100μm厚さの二軸延伸ポリエチレンテレフタレートフィルムが取扱い易さやコスト面から好適である。
次に、前記台紙3について説明する。前記台紙3としては、図1、2に示した第1実施形態、第2実施形態のように前記台紙3上に前記ベタ絵柄層30ないし30'と該ベタ絵柄層30ないし30'上に地紋柄層31ないし31'を設ける構成にあっては、印刷面の光沢度が45%以上であることが望ましい。この理由としては、色調変化を少なくすることができ、ベタ絵柄層と地紋柄層との色再現が良いためである。なお、光沢度は、JISZ8741の方法(入射角60度、受光角60度の鏡面光沢度)に準拠したグロスメーター〔スガ試験機(株)製ハンディーグロスメーター〕で測定した数値である。なお、図3の第3実施形態においては、特に光沢度を限定する必要はないものである。また、前記台紙3の坪量としては、特に限定するものではないが、取扱いを考慮すると70g/m2以上が適当である。
今まで、本発明の印刷物について、実施例を挙げて説明してきたが、実施例は本発明をより良く理解してもらうために例示したものであって、本発明の印刷物は、例示したものに限られるものではなく、本発明の趣旨を逸脱しない範疇のものは全て本発明に含まれるものである。また、本発明の印刷物は、図示はしないが、窓開きシートの窓部に裏面から貼着されて見本帳として供せられるものである。
1,1',1" 印刷物
2 透明樹脂板
3 台紙
4 透明シート
5 蒸着シート
20 線
20' 点
21 万線状絵柄
21' 点状絵柄
22 地紋絵柄
30,30' ベタ絵柄層
31,31' 地紋柄層

Claims (11)

  1. 1〜5mm厚さの透明樹脂板と、該透明樹脂板の一方の面に台紙を設け、前記透明樹脂板側から見るように構成した印刷物であって、前記透明樹脂板の他方の面に印刷面積が50%以下の線状ないし点状の絵柄からなるシルクスクリーン印刷層を設けたことを特徴とする印刷物。
  2. 前記台紙は前記透明樹脂板の前記一方の面と当接する当接面にベタ絵柄層と該ベタ絵柄層上に地紋柄層を設けたことを特徴とする請求項1記載の印刷物。
  3. 前記ベタ絵柄層がオフセット印刷からなり、前記地紋柄層がシルクスクリーン印刷からなることを特徴とする請求項2記載の印刷物。
  4. 前記地紋柄層が光沢を有することを特徴とする請求項3記載の印刷物。
  5. 前記台紙は前記透明樹脂板の前記一方の面と当接する当接面の光沢度が45%以上であることを特徴とする請求項1〜4のいずれかに記載の印刷物。
  6. 前記透明樹脂板と前記台紙との間に金属光沢を有する蒸着シートを前記透明樹脂板側から金属光沢が見えるように挿設したことを特徴とする請求項1記載の印刷物。
  7. 前記透明樹脂板と前記蒸着シートとの間に、一方の面に透明オフセット印刷層を設けた50〜200μm厚さの透明シートを前記透明オフセット印刷層が蒸着シート側に位置するように挿設したことを特徴とする請求項6記載の印刷物。
  8. 前記透明シートが80〜120μm厚さで、且つヘイズが10%以下であることを特徴とする請求項7記載の印刷物。
  9. 前記蒸着シートが銀蒸着シートであることを特徴とする請求項6〜7のいずれかに記載の印刷物。
  10. 前記蒸着シートが複数枚の蒸着シートが積層されたものからなり、前記透明樹脂板側に銀蒸着シートが位置していることを特徴とする請求項9記載の印刷物。
  11. 前記透明樹脂板のヘイズ(曇り度)が5%以下であることを特徴とする請求項1〜10のいずれかに記載の印刷物。
JP2009229171A 2009-10-01 2009-10-01 印刷物 Expired - Lifetime JP4550157B2 (ja)

Priority Applications (1)

Application Number Priority Date Filing Date Title
JP2009229171A JP4550157B2 (ja) 2009-10-01 2009-10-01 印刷物

Applications Claiming Priority (1)

Application Number Priority Date Filing Date Title
JP2009229171A JP4550157B2 (ja) 2009-10-01 2009-10-01 印刷物

Related Parent Applications (1)

Application Number Title Priority Date Filing Date
JP2002287914A Division JP4413483B2 (ja) 2002-09-30 2002-09-30 印刷物

Publications (2)

Publication Number Publication Date
JP2010023516A true JP2010023516A (ja) 2010-02-04
JP4550157B2 JP4550157B2 (ja) 2010-09-22

Family

ID=41729760

Family Applications (1)

Application Number Title Priority Date Filing Date
JP2009229171A Expired - Lifetime JP4550157B2 (ja) 2009-10-01 2009-10-01 印刷物

Country Status (1)

Country Link
JP (1) JP4550157B2 (ja)

Cited By (1)

* Cited by examiner, † Cited by third party
Publication number Priority date Publication date Assignee Title
CN105346329A (zh) * 2015-12-11 2016-02-24 常德金鹏印务有限公司 一种立体动态大景深防伪图案印刷品及其印刷方法

Citations (4)

* Cited by examiner, † Cited by third party
Publication number Priority date Publication date Assignee Title
JPS58180070U (ja) * 1982-05-25 1983-12-01 共同印刷株式会社 着色磁気記録媒体
JP2001047730A (ja) * 1999-08-09 2001-02-20 Kiisuto:Kk 浮出る立体表示体及びその製造方法
JP2002067469A (ja) * 2000-06-12 2002-03-05 Dainippon Printing Co Ltd 印刷物
JP2002079737A (ja) * 2000-09-07 2002-03-19 Dainippon Printing Co Ltd 光輝印刷物

Patent Citations (4)

* Cited by examiner, † Cited by third party
Publication number Priority date Publication date Assignee Title
JPS58180070U (ja) * 1982-05-25 1983-12-01 共同印刷株式会社 着色磁気記録媒体
JP2001047730A (ja) * 1999-08-09 2001-02-20 Kiisuto:Kk 浮出る立体表示体及びその製造方法
JP2002067469A (ja) * 2000-06-12 2002-03-05 Dainippon Printing Co Ltd 印刷物
JP2002079737A (ja) * 2000-09-07 2002-03-19 Dainippon Printing Co Ltd 光輝印刷物

Cited By (1)

* Cited by examiner, † Cited by third party
Publication number Priority date Publication date Assignee Title
CN105346329A (zh) * 2015-12-11 2016-02-24 常德金鹏印务有限公司 一种立体动态大景深防伪图案印刷品及其印刷方法

Also Published As

Publication number Publication date
JP4550157B2 (ja) 2010-09-22

Similar Documents

Publication Publication Date Title
KR102096184B1 (ko) 장식 부재
CN109561176B (zh) 装饰薄膜及消费电子产品盖板
US10981368B2 (en) Decorative glass panel and manufacturing method therefor
CN107599660B (zh) 一种在纸张上印刷出触觉肌理效果的方法
JP5189854B2 (ja) 加飾シート及び加飾成形体
JP6874275B2 (ja) 情報表示媒体及び情報表示媒体付き物品
JP4550157B2 (ja) 印刷物
RU2402884C2 (ru) Панель многократного отражения
JP5327509B2 (ja) 加飾合成樹脂成形品
JP4413483B2 (ja) 印刷物
JP5510765B2 (ja) 加飾合成樹脂成形品
CN121123611A (zh) 外部轮廓构件、通信设备、保护壳和金属性风格印刷片材
JP3440358B2 (ja) 印刷物
JP6486163B2 (ja) 加飾積層構造体、筐体および電子機器
JP4647477B2 (ja) 両面装飾体用の印刷物、その製造方法、及び両面装飾体
JP4868361B2 (ja) 木目模様を有する印刷物の製造方法及び木目模様を有する印刷物
JP2008302500A (ja) 可変色彩図柄印刷物及び図柄の形成方法
RU112669U1 (ru) Многослойная художественная панель с оптическим эффектом "блеск жидкого металла"
JP2004330575A (ja) 視認性に優れた金属光沢性エンボス模様表示板
JP6361588B2 (ja) 装飾シート
JPH0621731Y2 (ja) 画像形成体
JP2017159625A (ja) 印刷物の装飾方法および印刷物
JP2003223108A (ja) 印刷物
JP5351629B2 (ja) 積層パネル
CN202557189U (zh) 镀膜工艺画

Legal Events

Date Code Title Description
A131 Notification of reasons for refusal

Free format text: JAPANESE INTERMEDIATE CODE: A131

Effective date: 20100202

A521 Request for written amendment filed

Free format text: JAPANESE INTERMEDIATE CODE: A523

Effective date: 20100402

TRDD Decision of grant or rejection written
A01 Written decision to grant a patent or to grant a registration (utility model)

Free format text: JAPANESE INTERMEDIATE CODE: A01

Effective date: 20100630

A01 Written decision to grant a patent or to grant a registration (utility model)

Free format text: JAPANESE INTERMEDIATE CODE: A01

A61 First payment of annual fees (during grant procedure)

Free format text: JAPANESE INTERMEDIATE CODE: A61

Effective date: 20100707

R150 Certificate of patent or registration of utility model

Free format text: JAPANESE INTERMEDIATE CODE: R150

Ref document number: 4550157

Country of ref document: JP

Free format text: JAPANESE INTERMEDIATE CODE: R150

FPAY Renewal fee payment (event date is renewal date of database)

Free format text: PAYMENT UNTIL: 20130716

Year of fee payment: 3

EXPY Cancellation because of completion of term