JP2010023061A - 連続鋳造設備におけるロールセグメント装置 - Google Patents
連続鋳造設備におけるロールセグメント装置 Download PDFInfo
- Publication number
- JP2010023061A JP2010023061A JP2008185119A JP2008185119A JP2010023061A JP 2010023061 A JP2010023061 A JP 2010023061A JP 2008185119 A JP2008185119 A JP 2008185119A JP 2008185119 A JP2008185119 A JP 2008185119A JP 2010023061 A JP2010023061 A JP 2010023061A
- Authority
- JP
- Japan
- Prior art keywords
- roll
- slab
- cylindrical body
- support member
- cooling water
- Prior art date
- Legal status (The legal status is an assumption and is not a legal conclusion. Google has not performed a legal analysis and makes no representation as to the accuracy of the status listed.)
- Granted
Links
Images
Landscapes
- Continuous Casting (AREA)
Abstract
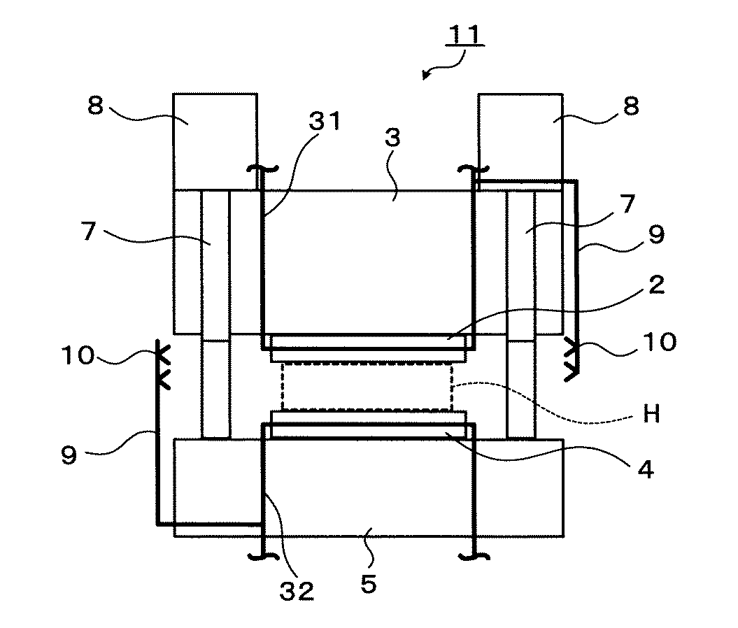
【解決手段】鋳片Hを案内する上ロール2を有する上フレーム3と,下ロール4を有する下フレーム5との間に、支持部材である円筒体7が配置されている。円筒体7によって,上フレーム3と下フレーム5との間隔が調整される。鋳片Hからの輻射熱によって円筒体7の温度上昇を防ぐために,円筒体7に対して散水するための配管が配設されている。
【選択図】図1
Description
さらに軽圧下鋳造においても、適正な圧下勾配の範囲での圧下ができなくなり、中心偏析が鋳片内部に残存し、製品の使用過程において割れといった欠陥の原因となる。そのためロール間隔を所定の間隔で設定するためには、ロール間隔を調整する各部材の熱伸び量を小さくするために、各部材の温度上昇を抑制する必要がある。また軽圧下鋳造を有効な圧下勾配の範囲で実施するためには、各部材間における熱伸び量の差を小さくするためにも、各部材の温度上昇を抑制する必要がある。
また、4つの円筒体7の温度測定結果から、鋳片幅方向の各1対の円筒体7の温度は、それぞれ同じ温度であったことから、鋳造方向に沿って配置された片側の2本の円筒体7を対象に、温度測定した値を用いて、表1に示している。
2 上ロール
3 上フレーム
4 下ロール
5 下フレーム
6 シリンダロッド
7 円筒体
8 油圧シリンダ
9 配管
10 散水装置
21 蛇腹
22 蛇腹の上部
23 蛇腹の下部
24 孔
31 上ロール用の冷却水の配管
32 下ロール用の冷却水の配管
41 上ロールの軸受冷却水用の配管
42 下ロールの軸受冷却水用の配管
51 上フレームの冷却水の配管
52 下フレームの冷却水の配管
61 スプレー
62、63 スプレー用の冷却水配管
H 鋳片
X 鋳片搬送方向
Claims (4)
- 鋳片を案内するロールが配置された上下のフレームを有し、当該上下のフレームの間に、当該上下のフレームを支持し、かつ前記ロールの上下間隔を調整可能な支持部材を、2箇所以上に有する連続鋳造設備のロールセグメント装置において、
前記鋳片からの輻射熱による前記支持部材の温度上昇を防ぐ機構を有することを特徴とする、連続鋳造設備におけるロールセグメント装置。 - 前記温度上昇を防ぐ機構は、配管を通じて外部から前記支持部材に対して冷却水を供給する供給装置、または支持部材の内部に配設された冷却水の配管であることを特徴とする、請求項1に記載の連続鋳造設備におけるロールセグメント装置。
- 前記配管は、連続鋳造設備に用いられるロール冷却水、軸受冷却水、フレーム冷却水あるいはスプレー水のいずれかの通水用水路から分岐されたものであることを特徴とする、請求項2に記載の連続鋳造設備におけるロールセグメント装置。
- 支持部材が受ける鋳片からの輻射熱を遮蔽するための遮蔽部材を有することを特徴とする請求項1〜3のいずれかに記載の連続鋳造設備におけるロールセグメント装置。
Priority Applications (1)
| Application Number | Priority Date | Filing Date | Title |
|---|---|---|---|
| JP2008185119A JP5217719B2 (ja) | 2008-07-16 | 2008-07-16 | 連続鋳造設備におけるロールセグメント装置 |
Applications Claiming Priority (1)
| Application Number | Priority Date | Filing Date | Title |
|---|---|---|---|
| JP2008185119A JP5217719B2 (ja) | 2008-07-16 | 2008-07-16 | 連続鋳造設備におけるロールセグメント装置 |
Publications (2)
| Publication Number | Publication Date |
|---|---|
| JP2010023061A true JP2010023061A (ja) | 2010-02-04 |
| JP5217719B2 JP5217719B2 (ja) | 2013-06-19 |
Family
ID=41729391
Family Applications (1)
| Application Number | Title | Priority Date | Filing Date |
|---|---|---|---|
| JP2008185119A Active JP5217719B2 (ja) | 2008-07-16 | 2008-07-16 | 連続鋳造設備におけるロールセグメント装置 |
Country Status (1)
| Country | Link |
|---|---|
| JP (1) | JP5217719B2 (ja) |
Cited By (7)
| Publication number | Priority date | Publication date | Assignee | Title |
|---|---|---|---|---|
| JP2013230493A (ja) * | 2012-05-01 | 2013-11-14 | Nippon Steel & Sumikin Engineering Co Ltd | 連鋳鋳片の軽圧下方法 |
| CN104162639A (zh) * | 2013-05-16 | 2014-11-26 | 新日铁住金工程技术株式会社 | 轻压下装置 |
| WO2015045148A1 (ja) * | 2013-09-30 | 2015-04-02 | 新日鉄住金エンジニアリング株式会社 | 連鋳鋳片の軽圧下方法 |
| JP2016215216A (ja) * | 2015-05-18 | 2016-12-22 | Jfeスチール株式会社 | 鋳片支持ロールのロール間隔調整方法 |
| WO2021054426A1 (ja) | 2019-09-18 | 2021-03-25 | Jfeスチール株式会社 | 高温物体を搬送する回転ロールの軸受箱 |
| JP7632781B1 (ja) * | 2023-12-06 | 2025-02-19 | Jfeスチール株式会社 | 鋼の連続鋳造方法 |
| WO2025120956A1 (ja) * | 2023-12-06 | 2025-06-12 | Jfeスチール株式会社 | 鋼の連続鋳造方法 |
Citations (7)
| Publication number | Priority date | Publication date | Assignee | Title |
|---|---|---|---|---|
| JPS58157255U (ja) * | 1982-04-09 | 1983-10-20 | 日立造船株式会社 | 連続鋳造設備におけるロ−ルセグメント |
| JPS63184653U (ja) * | 1987-05-18 | 1988-11-28 | ||
| JPH044958A (ja) * | 1990-04-20 | 1992-01-09 | Aichi Steel Works Ltd | 連続鋳造片用ロール装置 |
| JP2000000649A (ja) * | 1998-05-30 | 2000-01-07 | Sms Schloeman Siemag Ag | スラブ鋳造設備の連続体案内セグメント |
| JP2000312955A (ja) * | 1999-04-27 | 2000-11-14 | Hitachi Zosen Corp | 連続鋳造設備におけるロールセグメント装置 |
| JP2002126859A (ja) * | 2000-10-24 | 2002-05-08 | Kobe Steel Ltd | 連続鋳造機におけるロール冷却方法 |
| JP2007185689A (ja) * | 2006-01-13 | 2007-07-26 | Taihei Kogyo Co Ltd | 連続鋳造用鋳片支持案内ロールの間隔調整方法及びその装置 |
-
2008
- 2008-07-16 JP JP2008185119A patent/JP5217719B2/ja active Active
Patent Citations (7)
| Publication number | Priority date | Publication date | Assignee | Title |
|---|---|---|---|---|
| JPS58157255U (ja) * | 1982-04-09 | 1983-10-20 | 日立造船株式会社 | 連続鋳造設備におけるロ−ルセグメント |
| JPS63184653U (ja) * | 1987-05-18 | 1988-11-28 | ||
| JPH044958A (ja) * | 1990-04-20 | 1992-01-09 | Aichi Steel Works Ltd | 連続鋳造片用ロール装置 |
| JP2000000649A (ja) * | 1998-05-30 | 2000-01-07 | Sms Schloeman Siemag Ag | スラブ鋳造設備の連続体案内セグメント |
| JP2000312955A (ja) * | 1999-04-27 | 2000-11-14 | Hitachi Zosen Corp | 連続鋳造設備におけるロールセグメント装置 |
| JP2002126859A (ja) * | 2000-10-24 | 2002-05-08 | Kobe Steel Ltd | 連続鋳造機におけるロール冷却方法 |
| JP2007185689A (ja) * | 2006-01-13 | 2007-07-26 | Taihei Kogyo Co Ltd | 連続鋳造用鋳片支持案内ロールの間隔調整方法及びその装置 |
Cited By (11)
| Publication number | Priority date | Publication date | Assignee | Title |
|---|---|---|---|---|
| JP2013230493A (ja) * | 2012-05-01 | 2013-11-14 | Nippon Steel & Sumikin Engineering Co Ltd | 連鋳鋳片の軽圧下方法 |
| CN104162639A (zh) * | 2013-05-16 | 2014-11-26 | 新日铁住金工程技术株式会社 | 轻压下装置 |
| WO2015045148A1 (ja) * | 2013-09-30 | 2015-04-02 | 新日鉄住金エンジニアリング株式会社 | 連鋳鋳片の軽圧下方法 |
| KR20150086346A (ko) * | 2013-09-30 | 2015-07-27 | 신닛떼쯔 수미킨 엔지니어링 가부시끼가이샤 | 연주 주편의 경압하 방법 |
| KR101701184B1 (ko) | 2013-09-30 | 2017-02-01 | 신닛떼쯔 수미킨 엔지니어링 가부시끼가이샤 | 연주 주편의 경압하 방법 |
| JP2016215216A (ja) * | 2015-05-18 | 2016-12-22 | Jfeスチール株式会社 | 鋳片支持ロールのロール間隔調整方法 |
| WO2021054426A1 (ja) | 2019-09-18 | 2021-03-25 | Jfeスチール株式会社 | 高温物体を搬送する回転ロールの軸受箱 |
| KR20220044595A (ko) | 2019-09-18 | 2022-04-08 | 제이에프이 스틸 가부시키가이샤 | 고온 물체를 반송하는 회전 롤의 베어링 박스 |
| US11933363B2 (en) | 2019-09-18 | 2024-03-19 | Jfe Steel Corporation | Bearing box for rotating roll that delivers high-temperature substance(s) |
| JP7632781B1 (ja) * | 2023-12-06 | 2025-02-19 | Jfeスチール株式会社 | 鋼の連続鋳造方法 |
| WO2025120956A1 (ja) * | 2023-12-06 | 2025-06-12 | Jfeスチール株式会社 | 鋼の連続鋳造方法 |
Also Published As
| Publication number | Publication date |
|---|---|
| JP5217719B2 (ja) | 2013-06-19 |
Similar Documents
| Publication | Publication Date | Title |
|---|---|---|
| JP5217719B2 (ja) | 連続鋳造設備におけるロールセグメント装置 | |
| JP2010069496A (ja) | 連続鋳造における二次冷却装置及び方法 | |
| US7156152B2 (en) | Process for the continuous production of a think steel strip | |
| KR101311488B1 (ko) | 열처리 장치 및 열처리 방법 | |
| US7121323B2 (en) | Method and device for the continuous casting and direct shaping of a metal strand, in particular a steel cast strand | |
| KR20110104046A (ko) | 압연 밀 온도 제어 | |
| JP5444807B2 (ja) | 連続鋳造鋳片の表面割れ防止方法 | |
| KR102567105B1 (ko) | 슬래브 주편의 연속 주조 방법 | |
| JP2016028827A (ja) | 鋼の連続鋳造方法 | |
| CN108472718B (zh) | 连续铸造铸坯的二次冷却方法和二次冷却装置 | |
| JP5012056B2 (ja) | 鋼の連続鋳造方法 | |
| US7086450B2 (en) | Continuous casting method, continuous casting apparatus and continuously cast steel slab | |
| JP2017131927A (ja) | 熱延鋼板の製造方法 | |
| JP5473259B2 (ja) | 鋳片の冷却方法 | |
| KR102629986B1 (ko) | 연속 주조 주편의 2차 냉각 장치 및 2차 냉각 방법 | |
| JP2009538987A (ja) | 熱処理炉における金属材の制御方法 | |
| WO2021006254A1 (ja) | 連続鋳造鋳片の2次冷却方法及び装置 | |
| CN208374146U (zh) | 一种csp薄板连铸机铸坯角部强冷却的喷淋装置 | |
| JP7052931B2 (ja) | 連続鋳造鋳片の二次冷却方法 | |
| JP5098594B2 (ja) | 連続鋳造鋳片の製造方法及び連続鋳造機 | |
| JP4935383B2 (ja) | 鋼の連続鋳造方法 | |
| US20020179277A1 (en) | Control of heat flux in continuous metal casters | |
| KR950014635B1 (ko) | 연속식 용융도금장치 | |
| JP2013094828A (ja) | 連続鋳造における二次冷却方法 | |
| JP6220201B2 (ja) | めっき膜厚調整装置 |
Legal Events
| Date | Code | Title | Description |
|---|---|---|---|
| A621 | Written request for application examination |
Free format text: JAPANESE INTERMEDIATE CODE: A621 Effective date: 20100810 |
|
| A977 | Report on retrieval |
Free format text: JAPANESE INTERMEDIATE CODE: A971007 Effective date: 20110607 |
|
| A131 | Notification of reasons for refusal |
Free format text: JAPANESE INTERMEDIATE CODE: A131 Effective date: 20120821 |
|
| A521 | Written amendment |
Free format text: JAPANESE INTERMEDIATE CODE: A523 Effective date: 20121017 |
|
| TRDD | Decision of grant or rejection written | ||
| A01 | Written decision to grant a patent or to grant a registration (utility model) |
Free format text: JAPANESE INTERMEDIATE CODE: A01 Effective date: 20130205 |
|
| A61 | First payment of annual fees (during grant procedure) |
Free format text: JAPANESE INTERMEDIATE CODE: A61 Effective date: 20130218 |
|
| FPAY | Renewal fee payment (event date is renewal date of database) |
Free format text: PAYMENT UNTIL: 20160315 Year of fee payment: 3 |
|
| R151 | Written notification of patent or utility model registration |
Ref document number: 5217719 Country of ref document: JP Free format text: JAPANESE INTERMEDIATE CODE: R151 |
|
| FPAY | Renewal fee payment (event date is renewal date of database) |
Free format text: PAYMENT UNTIL: 20160315 Year of fee payment: 3 |
|
| S533 | Written request for registration of change of name |
Free format text: JAPANESE INTERMEDIATE CODE: R313533 |
|
| R350 | Written notification of registration of transfer |
Free format text: JAPANESE INTERMEDIATE CODE: R350 |
