JP2010022984A - 電気式脱イオン水製造装置 - Google Patents
電気式脱イオン水製造装置 Download PDFInfo
- Publication number
- JP2010022984A JP2010022984A JP2008190063A JP2008190063A JP2010022984A JP 2010022984 A JP2010022984 A JP 2010022984A JP 2008190063 A JP2008190063 A JP 2008190063A JP 2008190063 A JP2008190063 A JP 2008190063A JP 2010022984 A JP2010022984 A JP 2010022984A
- Authority
- JP
- Japan
- Prior art keywords
- chamber
- water
- exchange membrane
- cathode
- anode
- Prior art date
- Legal status (The legal status is an assumption and is not a legal conclusion. Google has not performed a legal analysis and makes no representation as to the accuracy of the status listed.)
- Granted
Links
- XLYOFNOQVPJJNP-UHFFFAOYSA-N water Chemical compound O XLYOFNOQVPJJNP-UHFFFAOYSA-N 0.000 title claims abstract description 299
- 239000008367 deionised water Substances 0.000 title claims abstract description 67
- 229910021641 deionized water Inorganic materials 0.000 title claims abstract description 67
- 238000004519 manufacturing process Methods 0.000 title claims abstract description 14
- 239000012528 membrane Substances 0.000 claims abstract description 116
- 238000011033 desalting Methods 0.000 claims abstract description 107
- 150000002500 ions Chemical class 0.000 claims abstract description 77
- 238000005341 cation exchange Methods 0.000 claims abstract description 63
- 150000001450 anions Chemical class 0.000 claims abstract description 47
- 239000003011 anion exchange membrane Substances 0.000 claims abstract description 45
- 150000001768 cations Chemical class 0.000 claims abstract description 40
- 239000003014 ion exchange membrane Substances 0.000 claims description 15
- 239000011229 interlayer Substances 0.000 claims 1
- CURLTUGMZLYLDI-UHFFFAOYSA-N Carbon dioxide Chemical compound O=C=O CURLTUGMZLYLDI-UHFFFAOYSA-N 0.000 description 68
- 238000010612 desalination reaction Methods 0.000 description 24
- 239000001569 carbon dioxide Substances 0.000 description 19
- 229910002092 carbon dioxide Inorganic materials 0.000 description 19
- NWUYHJFMYQTDRP-UHFFFAOYSA-N 1,2-bis(ethenyl)benzene;1-ethenyl-2-ethylbenzene;styrene Chemical compound C=CC1=CC=CC=C1.CCC1=CC=CC=C1C=C.C=CC1=CC=CC=C1C=C NWUYHJFMYQTDRP-UHFFFAOYSA-N 0.000 description 17
- 238000011049 filling Methods 0.000 description 14
- 229920001429 chelating resin Polymers 0.000 description 13
- 239000000460 chlorine Substances 0.000 description 12
- 230000000052 comparative effect Effects 0.000 description 12
- 239000003957 anion exchange resin Substances 0.000 description 11
- 238000009792 diffusion process Methods 0.000 description 11
- 239000003456 ion exchange resin Substances 0.000 description 11
- 229920003303 ion-exchange polymer Polymers 0.000 description 11
- 239000012466 permeate Substances 0.000 description 11
- 238000001223 reverse osmosis Methods 0.000 description 11
- 239000003729 cation exchange resin Substances 0.000 description 9
- 238000005259 measurement Methods 0.000 description 9
- 239000007864 aqueous solution Substances 0.000 description 8
- 238000005115 demineralization Methods 0.000 description 8
- 230000002328 demineralizing effect Effects 0.000 description 8
- 239000007789 gas Substances 0.000 description 7
- 238000010586 diagram Methods 0.000 description 5
- 239000000463 material Substances 0.000 description 5
- VYPSYNLAJGMNEJ-UHFFFAOYSA-N Silicium dioxide Chemical compound O=[Si]=O VYPSYNLAJGMNEJ-UHFFFAOYSA-N 0.000 description 4
- 230000015572 biosynthetic process Effects 0.000 description 4
- 239000011575 calcium Substances 0.000 description 4
- 239000007788 liquid Substances 0.000 description 4
- 239000011777 magnesium Substances 0.000 description 4
- -1 polyethylene Polymers 0.000 description 4
- 229910021642 ultra pure water Inorganic materials 0.000 description 4
- 239000012498 ultrapure water Substances 0.000 description 4
- 229910052801 chlorine Inorganic materials 0.000 description 3
- 238000005342 ion exchange Methods 0.000 description 3
- 238000000034 method Methods 0.000 description 3
- 238000011084 recovery Methods 0.000 description 3
- VTYYLEPIZMXCLO-UHFFFAOYSA-L Calcium carbonate Chemical compound [Ca+2].[O-]C([O-])=O VTYYLEPIZMXCLO-UHFFFAOYSA-L 0.000 description 2
- OKTJSMMVPCPJKN-UHFFFAOYSA-N Carbon Chemical compound [C] OKTJSMMVPCPJKN-UHFFFAOYSA-N 0.000 description 2
- ZAMOUSCENKQFHK-UHFFFAOYSA-N Chlorine atom Chemical compound [Cl] ZAMOUSCENKQFHK-UHFFFAOYSA-N 0.000 description 2
- 229920001207 Noryl Polymers 0.000 description 2
- 239000004727 Noryl Substances 0.000 description 2
- KDLHZDBZIXYQEI-UHFFFAOYSA-N Palladium Chemical compound [Pd] KDLHZDBZIXYQEI-UHFFFAOYSA-N 0.000 description 2
- 239000004698 Polyethylene Substances 0.000 description 2
- 239000004743 Polypropylene Substances 0.000 description 2
- 239000002253 acid Substances 0.000 description 2
- 229920000122 acrylonitrile butadiene styrene Polymers 0.000 description 2
- 239000004676 acrylonitrile butadiene styrene Substances 0.000 description 2
- 238000005349 anion exchange Methods 0.000 description 2
- 229910052799 carbon Inorganic materials 0.000 description 2
- 239000002131 composite material Substances 0.000 description 2
- 238000003795 desorption Methods 0.000 description 2
- 229940079593 drug Drugs 0.000 description 2
- 239000003814 drug Substances 0.000 description 2
- 238000000909 electrodialysis Methods 0.000 description 2
- 238000005868 electrolysis reaction Methods 0.000 description 2
- 238000001962 electrophoresis Methods 0.000 description 2
- 239000000835 fiber Substances 0.000 description 2
- JEGUKCSWCFPDGT-UHFFFAOYSA-N h2o hydrate Chemical compound O.O JEGUKCSWCFPDGT-UHFFFAOYSA-N 0.000 description 2
- 229910000510 noble metal Inorganic materials 0.000 description 2
- BASFCYQUMIYNBI-UHFFFAOYSA-N platinum Chemical compound [Pt] BASFCYQUMIYNBI-UHFFFAOYSA-N 0.000 description 2
- 229920000515 polycarbonate Polymers 0.000 description 2
- 239000004417 polycarbonate Substances 0.000 description 2
- 229920000573 polyethylene Polymers 0.000 description 2
- 229920001155 polypropylene Polymers 0.000 description 2
- 229920000915 polyvinyl chloride Polymers 0.000 description 2
- 239000004800 polyvinyl chloride Substances 0.000 description 2
- 239000000377 silicon dioxide Substances 0.000 description 2
- 239000000243 solution Substances 0.000 description 2
- 238000001179 sorption measurement Methods 0.000 description 2
- 229910001220 stainless steel Inorganic materials 0.000 description 2
- 239000010935 stainless steel Substances 0.000 description 2
- 239000008399 tap water Substances 0.000 description 2
- 235000020679 tap water Nutrition 0.000 description 2
- BVKZGUZCCUSVTD-UHFFFAOYSA-M Bicarbonate Chemical compound OC([O-])=O BVKZGUZCCUSVTD-UHFFFAOYSA-M 0.000 description 1
- BVKZGUZCCUSVTD-UHFFFAOYSA-L Carbonate Chemical compound [O-]C([O-])=O BVKZGUZCCUSVTD-UHFFFAOYSA-L 0.000 description 1
- 229910004298 SiO 2 Inorganic materials 0.000 description 1
- RTAQQCXQSZGOHL-UHFFFAOYSA-N Titanium Chemical compound [Ti] RTAQQCXQSZGOHL-UHFFFAOYSA-N 0.000 description 1
- 238000010521 absorption reaction Methods 0.000 description 1
- 125000000129 anionic group Chemical group 0.000 description 1
- 229910052791 calcium Inorganic materials 0.000 description 1
- 229910000019 calcium carbonate Inorganic materials 0.000 description 1
- 125000005586 carbonic acid group Chemical group 0.000 description 1
- 229940023913 cation exchange resins Drugs 0.000 description 1
- 125000002091 cationic group Chemical group 0.000 description 1
- 239000011248 coating agent Substances 0.000 description 1
- 238000000576 coating method Methods 0.000 description 1
- 230000007423 decrease Effects 0.000 description 1
- 230000006866 deterioration Effects 0.000 description 1
- 230000005684 electric field Effects 0.000 description 1
- 238000005516 engineering process Methods 0.000 description 1
- 238000000227 grinding Methods 0.000 description 1
- 239000008235 industrial water Substances 0.000 description 1
- 229910052741 iridium Inorganic materials 0.000 description 1
- GKOZUEZYRPOHIO-UHFFFAOYSA-N iridium atom Chemical compound [Ir] GKOZUEZYRPOHIO-UHFFFAOYSA-N 0.000 description 1
- 229910052749 magnesium Inorganic materials 0.000 description 1
- ZLNQQNXFFQJAID-UHFFFAOYSA-L magnesium carbonate Chemical compound [Mg+2].[O-]C([O-])=O ZLNQQNXFFQJAID-UHFFFAOYSA-L 0.000 description 1
- 239000001095 magnesium carbonate Substances 0.000 description 1
- 229910000021 magnesium carbonate Inorganic materials 0.000 description 1
- 238000000691 measurement method Methods 0.000 description 1
- 239000000178 monomer Substances 0.000 description 1
- 238000000465 moulding Methods 0.000 description 1
- 229910052763 palladium Inorganic materials 0.000 description 1
- 238000005192 partition Methods 0.000 description 1
- 229910052697 platinum Inorganic materials 0.000 description 1
- 230000010287 polarization Effects 0.000 description 1
- 229920005672 polyolefin resin Polymers 0.000 description 1
- 230000002265 prevention Effects 0.000 description 1
- 239000000047 product Substances 0.000 description 1
- 238000010298 pulverizing process Methods 0.000 description 1
- 239000002994 raw material Substances 0.000 description 1
- 230000008929 regeneration Effects 0.000 description 1
- 238000011069 regeneration method Methods 0.000 description 1
- 230000003014 reinforcing effect Effects 0.000 description 1
- 229920005989 resin Polymers 0.000 description 1
- 239000011347 resin Substances 0.000 description 1
- 150000003839 salts Chemical class 0.000 description 1
- 229920006395 saturated elastomer Polymers 0.000 description 1
- 239000010936 titanium Substances 0.000 description 1
- 229910052719 titanium Inorganic materials 0.000 description 1
- 239000002349 well water Substances 0.000 description 1
- 235000020681 well water Nutrition 0.000 description 1
Images
Landscapes
- Separation Using Semi-Permeable Membranes (AREA)
- Water Treatment By Electricity Or Magnetism (AREA)
Abstract
【解決手段】本発明のEDIは、陽極と陰極との間に、一側のカチオン交換膜12と他側のアニオン交換膜22とで区画され、イオン交換体が充填された脱塩室10、20と、前記カチオン交換膜12又は前記アニオン交換膜22を介して、前記脱塩室の両側に設けられた濃縮室とを有し、2つの脱塩室に挟持されている濃縮室30には、その厚さ方向に区画して、陽極側の陽極側小濃縮室34と陰極側の陰極側小濃縮室32とを形成する中間膜36が配置され、前記陽極側小濃縮室34には、カチオン交換体を含むイオン交換体が充填され、前記陰極側小濃縮室32には、アニオン交換体を含むイオン交換体が充填されていることよりなる。
【選択図】図1
Description
そこで本発明は、濃縮室でのスケール生成を防止し、かつ、イオン成分が高度に除去された脱イオン水が得られるEDIを目的とする。
前記陽極室側小濃縮室には、イオン交換体がカチオン交換体の単床形態で充填され、前記陰極側小濃縮室には、イオン交換体がアニオン交換体の単床形態で充填されていることが好ましい。前記中間膜にはカチオン交換膜が用いられ、前記陽極側小濃縮室を流通した濃縮水を前記陰極側小濃縮室に流通させる手段が設けられていてもよく、前記中間膜にはカチオン交換膜が用いられ、前記陽極側小濃縮室の濃縮水の流通と、前記陰極側小濃縮室の濃縮水の流通とが独立して制御されていてもよい。前記脱塩室は、前記カチオン交換膜と前記アニオン交換膜の間に配置された中間イオン交換膜で、前記脱塩室の厚さ方向に多段に区画された小脱塩室が形成されていてもよい。
陽極と陰極とに直流電圧を印加させた状態で被処理水を脱塩室20に流通させると、被処理水中の主にカチオン成分(Ca2+、Mg2+、Na+等)、および、異種イオン界面での水の電解により生成したH+が、陰極に引き寄せられ、カチオン交換膜22を透過して陽極側小濃縮室34に移動する。そして、カチオン成分やH+は、陽極側小濃縮室34のカチオン交換樹脂への吸着と脱着とを繰り返しながら、さらに陰極に引き寄せられ、中間膜36を透過し陰極側小濃縮室32に移動する。陰極側小濃縮室32に移動したカチオン成分は、濃縮水に取り込まれ、陰極に引き寄せられながら矢印aの様に移動する。
陰極側小濃縮室132の厚さと、陽極側小濃縮室134の厚さとは、同じであってもよいし、異なっていてもよい。
枠体131の厚さは特に限定されることなく、所望する陰極側小濃縮室132の厚さに応じて設定することができる。
枠体135は、枠体131と同様である。
枠体121は、枠体131と同様のものを用いることができる。
陽極162は、陽極として機能を発揮するものであれば特に限定されないが、被処理水中にCl−が存在する場合には、陽極には塩素発生が起きるため、耐塩素性能を有するものが好ましい。例えば、白金、パラジウム、イリジウム等の貴金属、あるいは前記貴金属をチタン等に被覆した網状あるいは板状の電極を挙げることができる。
陽極室160に充填されるイオン交換体の種類は、脱塩室120と同様である。陽極室160におけるイオン交換体の充填形態は特に限定されず、例えば、カチオン換体の単床形態とすることができる。
枠体111は、枠体131と同様のものを用いることができる。枠体161は、枠体131と同様のものを用いることができる。
電極水の流量は特に限定されず、印加電圧等に応じて決定することが好ましい。電極水の流量が少なすぎると、発生したH2、O2、Cl2ガスを充分に排出することが困難となり、電極水の流量が多すぎると、回収率が低下するため、好ましくない。
上述の実施形態では、濃縮水は陽極側小濃縮室を流通させた後に、陰極側小濃縮室に流通させているが、陰極側小濃縮室を流通させた後に、陰極側小濃縮室に流通させてもよいし、各小濃縮室の濃縮水の流通を独立して制御してもよい。中でも、中間膜としてカチオン交換膜を設置した場合には、陽極側小濃縮室を流通させた後に陰極側小濃縮室に流通させるか、各小濃縮室の濃縮水の流通を独立して制御することが好ましい。このような、濃縮水の流通形式とすることで、濃縮室でのカチオン成分の滞留を防ぐことができるためである。
図1に示すEDI100と同様のEDIを下記仕様にて作製して、EDI−Aを得た。得られたEDI−Aを用い、下記運転条件にて連続運転を行った。ただし、被処理水は、陰極側の脱塩室と、陽極側の脱塩室とに、それぞれ独立して下降流で流通させた。濃縮水は陽極側小濃縮室を下降流で流通させた後、陰極側小濃縮室を下降流で流通させた。電極水は、陰極室と陽極室とに、それぞれ独立して下降流で流通させ、排出した。
運転開始10日後に、陰極側の脱塩室を流通した脱イオン水を採取し、カチオン成分濃度としてNa濃度を測定した。また、陽極側の脱塩室を流通した脱イオン水を採取し、アニオン成分濃度として炭酸濃度を測定した。これらの測定結果は、濃縮水から脱イオン水への1時間当たりの各イオン成分の移動量(被処理水流量:1L当たりに含まれる各イオン成分量)として表1に示す。なお、本実施例は、濃縮室から脱塩室に逆拡散するイオン成分量を測定するため、実際のEDIの運転条件における被処理水流量、濃縮水流量とは異なる(実施例2〜4、比較例1〜4において同じ)。
(1)アニオン交換膜:AHA(株式会社アストム製)
(2)カチオン交換膜:C66−10F(株式会社アストム製)
(3)中間膜:C66−10F(カチオン交換膜、株式会社アストム製)
(4)陰極側の脱塩室:膜面積;10cm×10cm=1dm2、厚さ;8mm
(5)陽極側の脱塩室:膜面積;10cm×10cm=1dm2、厚さ;8mm
(6)陰極側の脱塩室のイオン交換体:アンバーライトIRA402BL(商品名、アニオン交換樹脂、ローム・アンド・ハース社製)の単床形態
(7)陽極側の脱塩室のイオン交換体:アンバーライトIR120B(商品名、カチオン交換樹脂、ローム・アンド・ハース社製)の単床形態
(8)陰極側小濃縮室:厚さ;4mm
(9)陽極側小濃縮室:厚さ;4mm
(10)陰極側小濃縮室のイオン交換体:アンバーライトIRA402BLの単床形態
(11)陽極側小濃縮室のイオン交換体:アンバーライトIR120Bの単床形態
(12)陰極室:厚さ;8mm
(13)陽極室:厚さ;8mm
(14)陰極室のイオン交換体:アンバーライトIRA402BLの単床形態
(15)陽極室のイオン交換体:アンバーライトIR120Bの単床形態
(1) 被処理水:超純水(比抵抗:18MΩ・cm)
(2) 被処理水流量:1L/hr
(3) 濃縮水:30mg−CaCO3/LのNaHCO3水溶液
(4) 濃縮水流量:8L/hr
(5) 電極水:超純水(比抵抗:18MΩ・cm)
(6) 陰極室流量:8L/hr
(7) 陽極室流量:8L/hr
(8) 通電条件:1.0A/dm2
濃縮水を30mg−CaCO3/LのCO2水溶液とした以外は、実施例1と同様にしてEDI−Aを運転した。運転開始10日後に、陽極側の脱塩室を流通した脱イオン水を採取し、炭酸濃度を測定した。これらの測定結果は、濃縮水から脱イオン水への1時間当たりの各イオン成分の移動量として表1に示す。
濃縮水を1mg−CaCO3/LのNaHCO3水溶液とした以外は、実施例1と同様にしてEDI−Aを運転した。運転開始10日後に、陰極側の脱塩室を流通した脱イオン水を採取し、Na濃度を測定した。また、陽極側の脱塩室を流通した脱イオン水を採取し、炭酸濃度を測定した。これらの測定結果は、濃縮水から脱イオン水への1時間当たりの各イオン成分の移動量として表1に示す。
濃縮水を1mg−CaCO3/LのCO2水溶液とした以外は、実施例1と同様にしてEDI−Aを運転した。運転開始10日後に、陽極側の脱塩室を流通した脱イオン水を採取し、炭酸濃度を測定した。これらの測定結果は、濃縮水から脱イオン水への1時間当たりの各イオン成分の移動量として表1に示す。
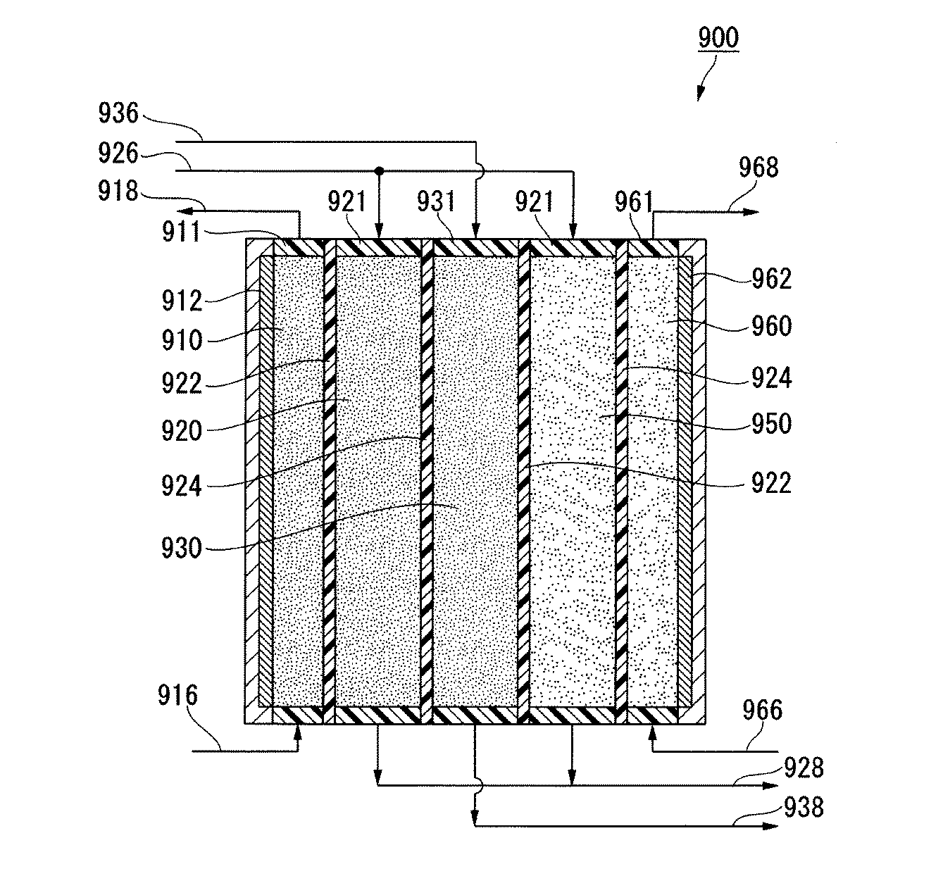
比較例1に用いた従来型のEDIについて、図3を用いて説明する。EDI900は、陰極912と陽極962との間に、陰極室910と、陰極912側の脱塩室920と、濃縮室930と、陽極962側の脱塩室950と、陽極室960が、陰極912側から順に配置されている。脱塩室920は、カチオン交換膜922と枠体921とアニオン交換膜924とが、陰極912側から順に配置され、枠体921の開口部にイオン交換樹脂が充填され形成されている。脱塩室950は、カチオン交換膜922と枠体921とアニオン交換膜924とが、陰極912側から順に配置され、枠体921の開口部にイオン交換樹脂が充填され形成されている。脱塩室920、950には、被処理水流入ライン926と、脱イオン水流出ライン928とが接続されている。
運転開始10日後に、陰極側の脱塩室を流通した脱イオン水を採取し、Na濃度を測定した。また、陽極側の脱塩室を流通した脱イオン水を採取し、炭酸濃度を測定した。これらの測定結果は、濃縮水から脱イオン水への1時間当たりの各イオン成分の移動量として表1に示す。
(1)アニオン交換膜:AHA(株式会社アストム製)
(2)カチオン交換膜:C66−10F(株式会社アストム製)
(3)陰極側の脱塩室:膜面積;10cm×10cm=1dm2、厚さ;8mm
(4)陽極側の脱塩室:膜面積;10cm×10cm=1dm2、厚さ;8mm
(5)陰極側の脱塩室のイオン交換体:アンバーライトIRA402BL(商品名、アニオン交換樹脂、ローム・アンド・ハース社製)の単床形態
(6)陽極側の脱塩室のイオン交換体:アンバーライトIR120B(商品名、カチオン交換樹脂、ローム・アンド・ハース社製)の単床形態
(7)濃縮室:厚さ;8mm
(8)濃縮室のイオン交換体:アンバーライトIRA402BLの単床形態
(9)陰極室:厚さ;8mm
(10)陽極室:厚さ;8mm
(11)陰極室のイオン交換体:アンバーライトIRA402BLの単床形態
(12)陽極室のイオン交換体:アンバーライトIR120Bの単床形態
(1) 被処理水:超純水(比抵抗:18MΩ・cm)
(2) 被処理水流量:1L/hr
(3) 濃縮水:30mg−CaCO3/LのNaHCO3水溶液
(4) 濃縮水流量:8L/hr
(5) 電極水:超純水(比抵抗:18MΩ・cm)
(6) 陰極室の電極水流量:8L/hr
(7) 陽極室の電極水流量:8L/hr
(8) 通電条件:1.0A/dm2
濃縮水を30mg−CaCO3/LのCO2水溶液とした以外は、比較例1と同様にしてEDI−Bを運転した。運転開始10日後に、陽極側の脱塩室を流通した脱イオン水を採取し、炭酸濃度を測定した。これらの測定結果は、濃縮水から脱イオン水への1時間当たりの各イオン成分の移動量として表1に示す。
濃縮水を1mg−CaCO3/LのNaHCO3水溶液とした以外は、比較例1と同様にしてEDI−Bを運転した。運転開始10日後に、陰極側の脱塩室を流通した脱イオン水を採取し、Na濃度を測定した。また、陽極側の脱塩室を流通した脱イオン水を採取し、炭酸濃度を測定した。これらの測定結果は、濃縮水から脱イオン水への1時間当たりの各イオン成分の移動量として表1に示す。
濃縮水を1mg−CaCO3/LのCO2水溶液とした以外は、比較例1と同様にしてEDI−Bを運転した。運転開始10日後に、陽極側の脱塩室を流通した脱イオン水を採取し、炭酸濃度を測定した。これらの測定結果は、濃縮水から脱イオン水への1時間当たりの各イオン成分の移動量として表1に示す。
<炭酸濃度の測定方法>
脱イオン水中の炭酸濃度は、TOC計(A−1000、アナテル社製)を用いて脱イオン水中の無機炭素(IC)を測定した。測定したIC量の全量を炭酸由来として、炭酸量を1L当たりのCaCO3相当量として表した。
脱イオン水中のNa濃度は、原子吸光光度計により測定した。
以上の結果より、濃縮室を中間膜で区画したEDI−Aは、濃縮室から脱塩室への炭酸の移動を抑制でき、かつ、濃縮室から脱塩室へのNaの移動を抑制できることが判った。
12、122、922 カチオン交換膜
22、124、924 アニオン交換膜
30、130、930 濃縮室
32、132 陰極側小濃縮室
34、134 陽極側小濃縮室
36、136 中間膜
100、900 電気式脱イオン水製造装置
112、912 陰極
144 濃縮水流出ライン
146 濃縮水流入ライン
162、962 陽極
Claims (5)
- 陽極と陰極との間に、一側のカチオン交換膜と他側のアニオン交換膜とで区画され、イオン交換体が充填された2以上の脱塩室と、前記カチオン交換膜又は前記アニオン交換膜を介して、前記脱塩室の両側に設けられた濃縮室とを有し、
2つの脱塩室に挟持されている濃縮室には、その厚さ方向に区画して、陽極側の陽極側小濃縮室と陰極側の陰極側小濃縮室とを形成する中間膜が配置され、
前記陽極側小濃縮室には、カチオン交換体を含むイオン交換体が充填され、
前記陰極側小濃縮室には、アニオン交換体を含むイオン交換体が充填されている、電気式脱イオン水製造装置。 - 前記陽極室側小濃縮室には、イオン交換体がカチオン交換体の単床形態で充填され、前記陰極側小濃縮室には、イオン交換体がアニオン交換体の単床形態で充填されている、請求項1に記載の電気式脱イオン水製造装置。
- 前記中間膜にはカチオン交換膜が用いられ、前記陽極側小濃縮室を流通した濃縮水を前記陰極側小濃縮室に流通させる手段が設けられている、請求項1又は2に記載の電気式脱イオン水製造装置。
- 前記中間膜にはカチオン交換膜が用いられ、前記陽極側小濃縮室の濃縮水の流通と、前記陰極側小濃縮室の濃縮水の流通とが独立して制御されている、請求項1又は2に記載の電気式脱イオン水製造装置。
- 前記脱塩室は、前記カチオン交換膜と前記アニオン交換膜の間に配置された中間イオン交換膜で、前記脱塩室の厚さ方向に多段に区画された小脱塩室が形成されている、請求項1〜4のいずれか1項に記載の電気式脱イオン水製造装置。
Priority Applications (1)
| Application Number | Priority Date | Filing Date | Title |
|---|---|---|---|
| JP2008190063A JP4869297B2 (ja) | 2008-07-23 | 2008-07-23 | 電気式脱イオン水製造装置 |
Applications Claiming Priority (1)
| Application Number | Priority Date | Filing Date | Title |
|---|---|---|---|
| JP2008190063A JP4869297B2 (ja) | 2008-07-23 | 2008-07-23 | 電気式脱イオン水製造装置 |
Publications (2)
| Publication Number | Publication Date |
|---|---|
| JP2010022984A true JP2010022984A (ja) | 2010-02-04 |
| JP4869297B2 JP4869297B2 (ja) | 2012-02-08 |
Family
ID=41729327
Family Applications (1)
| Application Number | Title | Priority Date | Filing Date |
|---|---|---|---|
| JP2008190063A Expired - Fee Related JP4869297B2 (ja) | 2008-07-23 | 2008-07-23 | 電気式脱イオン水製造装置 |
Country Status (1)
| Country | Link |
|---|---|
| JP (1) | JP4869297B2 (ja) |
Cited By (5)
| Publication number | Priority date | Publication date | Assignee | Title |
|---|---|---|---|---|
| JP2011189320A (ja) * | 2010-03-16 | 2011-09-29 | Japan Organo Co Ltd | 電気式脱イオン水製造装置 |
| JP2017140548A (ja) * | 2016-02-08 | 2017-08-17 | 栗田工業株式会社 | 電気脱イオン装置の運転方法 |
| JP2023129045A (ja) * | 2022-03-04 | 2023-09-14 | 積水化学工業株式会社 | 複合断熱材 |
| JP7663142B1 (ja) | 2024-03-04 | 2025-04-16 | 栗田工業株式会社 | 電気脱イオン装置 |
| CN119912034A (zh) * | 2025-03-21 | 2025-05-02 | 浙江东大环境工程有限公司 | 一种电去离子超纯水设备及其控制方法 |
Citations (3)
| Publication number | Priority date | Publication date | Assignee | Title |
|---|---|---|---|---|
| JP2006175350A (ja) * | 2004-12-22 | 2006-07-06 | Japan Organo Co Ltd | 電気脱イオン装置及び電気脱イオン装置の運転方法 |
| JP2008036473A (ja) * | 2006-08-01 | 2008-02-21 | Kurita Water Ind Ltd | 電気脱イオン装置 |
| JP2008036496A (ja) * | 2006-08-03 | 2008-02-21 | Kurita Water Ind Ltd | 電気脱イオン装置 |
-
2008
- 2008-07-23 JP JP2008190063A patent/JP4869297B2/ja not_active Expired - Fee Related
Patent Citations (3)
| Publication number | Priority date | Publication date | Assignee | Title |
|---|---|---|---|---|
| JP2006175350A (ja) * | 2004-12-22 | 2006-07-06 | Japan Organo Co Ltd | 電気脱イオン装置及び電気脱イオン装置の運転方法 |
| JP2008036473A (ja) * | 2006-08-01 | 2008-02-21 | Kurita Water Ind Ltd | 電気脱イオン装置 |
| JP2008036496A (ja) * | 2006-08-03 | 2008-02-21 | Kurita Water Ind Ltd | 電気脱イオン装置 |
Cited By (7)
| Publication number | Priority date | Publication date | Assignee | Title |
|---|---|---|---|---|
| JP2011189320A (ja) * | 2010-03-16 | 2011-09-29 | Japan Organo Co Ltd | 電気式脱イオン水製造装置 |
| JP2017140548A (ja) * | 2016-02-08 | 2017-08-17 | 栗田工業株式会社 | 電気脱イオン装置の運転方法 |
| JP2023129045A (ja) * | 2022-03-04 | 2023-09-14 | 積水化学工業株式会社 | 複合断熱材 |
| JP7663142B1 (ja) | 2024-03-04 | 2025-04-16 | 栗田工業株式会社 | 電気脱イオン装置 |
| WO2025187104A1 (ja) * | 2024-03-04 | 2025-09-12 | 栗田工業株式会社 | 電気脱イオン装置 |
| JP2025134417A (ja) * | 2024-03-04 | 2025-09-17 | 栗田工業株式会社 | 電気脱イオン装置 |
| CN119912034A (zh) * | 2025-03-21 | 2025-05-02 | 浙江东大环境工程有限公司 | 一种电去离子超纯水设备及其控制方法 |
Also Published As
| Publication number | Publication date |
|---|---|
| JP4869297B2 (ja) | 2012-02-08 |
Similar Documents
| Publication | Publication Date | Title |
|---|---|---|
| JP3161750U (ja) | スケールの潜在的可能性が低い水処理 | |
| JP4363587B2 (ja) | 電気式脱イオン水製造装置の運転方法及び電気式脱イオン水製造装置 | |
| JP2010201361A (ja) | 電気式脱イオン水製造装置及びこれを用いた脱イオン水の製造方法 | |
| CN101541686A (zh) | 电去离子装置 | |
| JP4869297B2 (ja) | 電気式脱イオン水製造装置 | |
| JP2020078772A (ja) | 電気脱イオン装置及びこれを用いた脱イオン水の製造方法 | |
| JP2009220060A (ja) | 電気式脱イオン水製造装置およびその脱イオンユニット | |
| JP2010227731A (ja) | 電気式脱イオン水製造装置 | |
| JP5145305B2 (ja) | 電気式脱イオン水製造装置 | |
| JP5940387B2 (ja) | 電気式脱イオン水製造装置および脱イオン水製造方法 | |
| JP5114307B2 (ja) | 電気式脱イオン水製造装置 | |
| JP2011000576A (ja) | 電気式脱イオン水製造装置及び脱イオン水の製造方法 | |
| JP4819026B2 (ja) | 電気式脱イオン水製造装置および脱イオン水製造方法 | |
| JP2009208046A (ja) | 電気式脱イオン水製造装置 | |
| WO2012108310A1 (ja) | 電気式脱イオン水製造装置 | |
| JP5379025B2 (ja) | 電気式脱イオン水製造装置 | |
| JP5415966B2 (ja) | 電気式脱イオン水製造装置および脱イオン水製造方法 | |
| JP4505965B2 (ja) | 純水の製造方法 | |
| JP4979677B2 (ja) | 電気式脱イオン水製造装置 | |
| JP4624066B2 (ja) | 電気式脱イオン水製造装置の運転方法及び電気式脱イオン水製造装置 | |
| JP2008036473A (ja) | 電気脱イオン装置 | |
| JP4453972B2 (ja) | 電気脱イオン装置及び電気脱イオン装置の運転方法 | |
| JP2009136824A (ja) | 電気式脱イオン水製造装置及び脱イオン水の製造方法 | |
| JP4819020B2 (ja) | スパイラル型電気式脱イオン水製造装置 | |
| JP4915843B2 (ja) | 電気軟化装置、軟化装置及び軟水製造方法 |
Legal Events
| Date | Code | Title | Description |
|---|---|---|---|
| A621 | Written request for application examination |
Free format text: JAPANESE INTERMEDIATE CODE: A621 Effective date: 20110203 |
|
| A977 | Report on retrieval |
Free format text: JAPANESE INTERMEDIATE CODE: A971007 Effective date: 20110812 |
|
| A131 | Notification of reasons for refusal |
Free format text: JAPANESE INTERMEDIATE CODE: A131 Effective date: 20110823 |
|
| RD03 | Notification of appointment of power of attorney |
Free format text: JAPANESE INTERMEDIATE CODE: A7423 Effective date: 20110831 |
|
| A521 | Request for written amendment filed |
Free format text: JAPANESE INTERMEDIATE CODE: A523 Effective date: 20111013 |
|
| RD04 | Notification of resignation of power of attorney |
Free format text: JAPANESE INTERMEDIATE CODE: A7424 Effective date: 20110926 |
|
| TRDD | Decision of grant or rejection written | ||
| A01 | Written decision to grant a patent or to grant a registration (utility model) |
Free format text: JAPANESE INTERMEDIATE CODE: A01 Effective date: 20111108 |
|
| A01 | Written decision to grant a patent or to grant a registration (utility model) |
Free format text: JAPANESE INTERMEDIATE CODE: A01 |
|
| A61 | First payment of annual fees (during grant procedure) |
Free format text: JAPANESE INTERMEDIATE CODE: A61 Effective date: 20111115 |
|
| R150 | Certificate of patent or registration of utility model |
Ref document number: 4869297 Country of ref document: JP Free format text: JAPANESE INTERMEDIATE CODE: R150 Free format text: JAPANESE INTERMEDIATE CODE: R150 |
|
| FPAY | Renewal fee payment (event date is renewal date of database) |
Free format text: PAYMENT UNTIL: 20141125 Year of fee payment: 3 |
|
| R250 | Receipt of annual fees |
Free format text: JAPANESE INTERMEDIATE CODE: R250 |
|
| R250 | Receipt of annual fees |
Free format text: JAPANESE INTERMEDIATE CODE: R250 |
|
| R250 | Receipt of annual fees |
Free format text: JAPANESE INTERMEDIATE CODE: R250 |
|
| R250 | Receipt of annual fees |
Free format text: JAPANESE INTERMEDIATE CODE: R250 |
|
| R250 | Receipt of annual fees |
Free format text: JAPANESE INTERMEDIATE CODE: R250 |
|
| R250 | Receipt of annual fees |
Free format text: JAPANESE INTERMEDIATE CODE: R250 |
|
| LAPS | Cancellation because of no payment of annual fees |
