JP2010019198A - 内燃機関の失火判定装置 - Google Patents

内燃機関の失火判定装置 Download PDF

Info

Publication number
JP2010019198A
JP2010019198A JP2008181920A JP2008181920A JP2010019198A JP 2010019198 A JP2010019198 A JP 2010019198A JP 2008181920 A JP2008181920 A JP 2008181920A JP 2008181920 A JP2008181920 A JP 2008181920A JP 2010019198 A JP2010019198 A JP 2010019198A
Authority
JP
Japan
Prior art keywords
misfire
cylinder
expansion stroke
rotational fluctuation
misfire determination
Prior art date
Legal status (The legal status is an assumption and is not a legal conclusion. Google has not performed a legal analysis and makes no representation as to the accuracy of the status listed.)
Granted
Application number
JP2008181920A
Other languages
English (en)
Other versions
JP4572965B2 (ja
Inventor
Naritaka Kushihama
斎廷 櫛濱
Current Assignee (The listed assignees may be inaccurate. Google has not performed a legal analysis and makes no representation or warranty as to the accuracy of the list.)
Toyota Motor Corp
Original Assignee
Toyota Motor Corp
Priority date (The priority date is an assumption and is not a legal conclusion. Google has not performed a legal analysis and makes no representation as to the accuracy of the date listed.)
Filing date
Publication date
Application filed by Toyota Motor Corp filed Critical Toyota Motor Corp
Priority to JP2008181920A priority Critical patent/JP4572965B2/ja
Priority to US12/500,018 priority patent/US8281650B2/en
Publication of JP2010019198A publication Critical patent/JP2010019198A/ja
Application granted granted Critical
Publication of JP4572965B2 publication Critical patent/JP4572965B2/ja
Expired - Fee Related legal-status Critical Current
Anticipated expiration legal-status Critical

Links

Images

Landscapes

  • Combined Controls Of Internal Combustion Engines (AREA)

Abstract

【課題】エンジンと変速機との共振現象に起因する失火の誤判定を回避できる失火判定装置を提供する。
【解決手段】 エンジン1の回転変動量ΔNEが所定の閾値N1を越えた際、失火が生じた可能性があると判断する。ロックアップクラッチが非ロックアップ状態にある場合には、回転変動の変化が比較的大きいものとして規定されている第1の回転変動パターンに基づいて失火判定動作を実行する。ロックアップクラッチがロックアップ状態にある場合には、回転変動の変化が上記第1の回転変動パターンよりも小さく規定されている第2の回転変動パターンに基づいて失火判定動作を実行する。これにより、エンジン1と自動変速機50との共振現象が発生している状況であっても、失火の誤判定が回避できる。
【選択図】 図2

Description

本発明は内燃機関の失火判定装置に係る。特に、本発明は、内燃機関の回転変動に基づいて失火発生の有無を判定する失火判定装置における判定動作の信頼性を高めるための対策に関する。
従来より、例えば自動車用内燃機関において混合気への着火がなされない現象、いわゆる「失火」が発生すると、未燃混合気が排気通路に排出され、排気エミッションの悪化や、排気浄化触媒への悪影響が懸念される。
そこで、上記失火の発生時には機関回転速度の変動(以下、単に回転変動と呼ぶ)が大きくなることに着目し、この回転変動に基づいて失火の発生を判定する失火判定装置が提案されている。この種の装置における失火判定の基本原理は以下のとおりである。
先ず、ある一つの気筒に失火が発生した場合、その気筒の膨張行程(実際には失火しており爆発していない行程)における機関回転速度が次第に低下していく。その結果、この失火を生じた気筒の膨張行程中においてクランクシャフトが一定クランク角度を回転するのに要する時間が、他気筒の膨張行程時におけるその時間よりも長くなる。このため、これら時間を計測して比較することにより失火発生の有無を判定することが可能になる。
具体的には、ある気筒(例えば第3番気筒)が膨張行程にあるときに、この膨張行程中においてクランクシャフトが一定クランク角度を回転するのに要する時間と、この膨張行程よりも所定クランク角度前(例えば360°前)に膨張行程を迎えていた気筒(例えば第2番気筒)の膨張行程中においてクランクシャフトが一定クランク角度を回転するのに要する時間との差を演算(前者の時間から後者の時間を減算)する。そして、この演算値が所定の閾値を越えている場合には、内燃機関の回転変動が大きくなったと判断して失火(第3番気筒に失火)が発生したと判定している。
OBD(On−Boad Diagnostic System)対応国向けの自動車では、制御回路中に失火カウンタが備えられており、失火発生の判定を行う度に失火カウンタがインクリメントされ、所定の機関回転回数(例えば1000回転)当たりの失火カウンタのカウント値が所定値(例えば30)を越えるとMIL(警告灯)が点灯し、運転者に警告を促す。
従って、失火の判定が正確に行われていない状況では、例えば、失火が発生しているにも拘わらずそれを認識することができず、排気エミッションが悪化した状態が継続されてしまう。また、失火が発生していないにも拘わらず失火が発生していると誤判定してしまって、実際の失火発生回数が上記所定値より小さくても早期にMILが点灯することになってしまい、ユーザに違和感を与えてしまう。
そこで、失火の誤判定を解消するべく、回転変動の経時変化パターンが、予め定められた失火パターンとなったときに失火が生じたと判定するようにしたものが知られている(例えば、下記の特許文献1を参照)。
この特許文献1に開示されているものは、各気筒の膨張行程時においてクランクシャフトが一定クランク角度を回転するのに要する時間を検出し、膨張行程が一つ間隔を隔てて行われる気筒間(4気筒エンジンの場合のクランク角度360°の角度間隔で膨張行程が行われる気筒同士)の上記時間の偏差を求め、この偏差が閾値を越え且つ偏差の変化パターンが失火発生時に特有のパターンとなったときに失火が発生したと判定するようにしている。具体的には、失火判定対象気筒の膨張行程時における上記回転変動量が所定の閾値を超えており、且つこの回転変動量が、失火判定対象気筒の膨張行程の直前に膨張行程を迎えていた気筒の回転変動量および失火判定対象気筒の膨張行程の直後に膨張行程を迎えた気筒の回転変動量に比べて特に大きくなっている場合に、この失火判定対象気筒において失火が生じたと判定している。
また、下記の特許文献2〜4には、トルクコンバータにロックアップクラッチを備えた自動車において、エンジンの失火判定のための閾値を、ロックアップ状態にあるときと非ロックアップ状態にあるときとで異ならせることについて開示されている。
特開2006−152971号公報 特開平4−171249号公報 特開平10−331707号公報 特開2004−293350号公報
ところが、上述したような各特許文献における失火判定動作では、失火の誤判定が生じてしまう可能性が未だ残っていることを本発明の発明者は見出した。
具体的には、変速装置としてオートマティックトランスミッション(自動変速機)を搭載した自動車にあっては、トルクコンバータにロックアップクラッチを備えており、このロックアップクラッチの締結状態(ロックアップ状態)では、エンジンとトランスミッションとが直結状態となる。このような状況で、失火が発生してエンジンに振動が発生すると、その振動がトランスミッションにまで伝達され、その振動数がトランスミッションの固有振動数に一致する状況になると、エンジンからトランスミッションに亘るパワートレーン全体の共振現象が発生してしまうことになる。このような共振現象が発生する状況では、上記回転変動が正確に認識できず、失火の誤判定を招いてしまう可能性がある。
この失火の誤判定の発生状況の一例について説明する。エンジン回転数は、クランクシャフトに一体的に取り付けられたNEロータの外歯の通過を、電磁ピックアップで成るクランク角センサによって検出することで計測されるが、この際、上記共振現象が発生すると、クランク角センサを支持しているステーにも共振が発生し、このクランク角センサとNEロータとの相対位置が変動してしまう。このため、クランクシャフトの回転速度が失火によって変動しているにも拘わらず、上記共振現象により、この回転変動が正確に検出できなくなって、失火が発生しているにも拘わらず失火が発生していないと誤判定してしまうことになる。
また、上述した特許文献2〜4では、ロックアップクラッチがロックアップ状態にあるときと非ロックアップ状態にあるときとで、失火判定のための閾値を異ならせることについて開示されているが、上記パワートレーン全体の共振現象に起因する失火の誤判定については何ら考慮されておらず、単に回転変動量が所定の閾値を超えているか否かによって失火判定を行うものに過ぎない。従って、これら特許文献2〜4においても未だ失火の誤判定が生じてしまう可能性が残っている。
本発明は、かかる点に鑑みてなされたものであり、その目的とするところは、上記共振現象に起因する失火の誤判定を回避することができる失火判定装置を提供することにある。
−課題の解決原理−
上記の目的を達成するために講じられた本発明の解決原理は、失火の有無を内燃機関の回転変動パターンを認識することによって判定し、その判定のための回転変動パターンとして、ロックアップクラッチがロックアップ状態にある場合と非ロックアップ状態にある場合とで失火判定パターンを異ならせるようにしている。更に、ロックアップクラッチがロックアップ状態にある場合には非ロックアップ状態にある場合に比べて、回転変動幅が小さくても失火が発生していると判定できるように、失火判定条件を緩めている。これにより、上記ロックアップ状態で共振現象が発生している状況であっても、失火の誤判定が回避できるようにしている。
−解決手段−
具体的に、本発明は、ロックアップクラッチを有する流体式動力伝達装置を介して変速機に連結された内燃機関の回転変動量が所定の閾値を超えたときに失火が生じている可能性があると判断し、内燃機関の回転変動パターンが失火発生時に特有のパターンであるか否かを判定することによって失火判定を行う内燃機関の失火判定装置を前提とする。この失火判定装置に対し、上記ロックアップクラッチの非ロックアップ状態において、内燃機関の回転変動パターンが、非ロックアップ状態での失火発生時に特有の第1の回転変動パターンに沿っているか否かによって失火判定動作を行うと共に、上記ロックアップクラッチのロックアップ状態において、内燃機関の回転変動パターンが、ロックアップ状態での失火発生時に特有の第2の回転変動パターンに沿っているか否かによって失火判定動作を行う失火判定手段を備えさせる。そして、上記第2の回転変動パターンを、第1の回転変動パターンに比べて、回転変動の変化が小さいものとして規定している。
この特定事項により、先ず、内燃機関の駆動中にその回転変動量が所定の閾値を超えたときには、失火が生じている可能性があると判断する。そして、ロックアップクラッチが非ロックアップ状態である場合には、内燃機関の回転変動パターンが第1の回転変動パターン(非ロックアップ状態での失火発生時に特有の回転変動パターン)に沿っているか否かによって失火判定動作を行う。つまり、非ロックアップ状態における内燃機関の回転変動パターンが第1の回転変動パターンに沿っている場合には、失火が発生していると判定する。一方、ロックアップクラッチがロックアップ状態である場合には、内燃機関の回転変動パターンが第2の回転変動パターン(ロックアップ状態での失火発生時に特有の回転変動パターン)に沿っているか否かによって失火判定動作を行う。つまり、ロックアップ状態における内燃機関の回転変動パターンが第2の回転変動パターンに沿っている場合には、失火が発生していると判定する。
そして、この第2の回転変動パターンは、第1の回転変動パターンに比べて回転変動幅が小さいものとして規定されている。言い換えると、失火判定条件を緩めるようなパターンとなっている。このため、同様の回転変動が生じている場合に、ロックアップクラッチの非ロックアップ状態では失火が発生していると判定されなくても、ロックアップクラッチのロックアップ状態では失火が発生していると判定されることになる。つまり、ロックアップクラッチのロックアップ状態において、内燃機関と変速機との共振が発生している場合に、従来であれば、この共振の影響によって回転変動が小さくなっているために、失火が発生していてもそれを検出することができない可能性が高かったが、本解決手段によれば、特定の回転変動パターン(上記第2の回転変動パターン)を使用することによって失火の発生を検出することが可能になる。このようにして、上記共振現象の悪影響を受けることなく失火が発生していることが正確に判定され、失火判定の信頼性を高めることができる。
上記第2の回転変動パターンに基づいた失火判定動作を行う前提条件を規定する構成として以下のものが挙げられる。つまり、ロックアップクラッチがロックアップ状態にある場合において、変速機の変速段が、上記内燃機関と変速機との共振が発生する可能性のある特定の変速段にある場合にのみ、上記失火判定手段が、上記第2の回転変動パターンに基づいた失火判定動作を行う構成としている。
上記内燃機関と変速機との共振現象が発生する状況は限定的である。つまり、変速機がある特定の変速段にあって、且つある特定の内燃機関回転数にある際に、失火が発生した場合である。このため、上記ある特定の変速段以外の変速段では上記共振現象は発生しないため、この特定の変速段以外では第2の回転変動パターンに基づいた失火判定動作を行う必要はない。このような状況で失火判定動作を行わないことにより、この第2の回転変動パターンに基づいた失火判定動作の実行タイミングを必要最小限に抑えることができ、無駄な失火判定動作の回避と、ロックアップ状態における失火判定の信頼性の向上とを図ることができる。
上記第2の回転変動パターンに基づいた失火判定動作を実行する条件の一つとして以下のものが挙げられる。つまり、ロックアップクラッチがロックアップ状態にある場合において、内燃機関の回転変動量が所定の閾値を超えたことで失火が生じている可能性があると判断された場合に、その失火が生じている可能性があると判断された気筒が、過去の燃焼行程においても回転変動量が所定の閾値を超えていた場合に、上記失火判定手段が、この気筒に対する上記第2の回転変動パターンに基づいた失火判定動作を行う構成としている。
上述した如く、第2の回転変動パターンは、失火判定条件を緩めるものであるため、場合によっては、失火が発生していないにも拘わらず失火が発生したと誤判定してしまう可能性がある。これを考慮し、本解決手段では、過去にも失火が生じている可能性があると判断された気筒に対し、再び失火が生じている可能性があると判断された場合に限り、その気筒に対して回転変動パターンが上記第2の回転変動パターンに沿っているか否かの失火判定動作を実施するようにしている。これにより、上記失火の誤判定を防止することができ、失火判定動作の信頼性を更に高めることができる。
上記第2の回転変動パターンに基づいた失火判定動作として具体的には以下のものが挙げられる。ロックアップクラッチがロックアップ状態にある場合において、内燃機関の回転変動量が所定の閾値を超えたことで失火が生じている可能性があると判断された場合に、その失火判定対象気筒の膨張行程時における回転変動量、この失火判定対象気筒の膨張行程の直前に膨張行程を迎えていた気筒の膨張行程時における回転変動量、および、失火判定対象気筒の膨張行程の直後に膨張行程を迎えた気筒の膨張行程時における回転変動量の変化のパターンと、上記第2の回転変動パターンとを比較することで失火判定動作を行う構成としている。
これにより、上記第2の回転変動パターンに基づいた失火判定動作を具体的に特定することができ、本発明の実用性を高めることができる。
上記第1の回転変動パターンおよび第2の回転変動パターンとして具体的には以下の2組が挙げられる。
先ず、失火判定対象気筒の膨張行程の直前に膨張行程を迎えた1点火前気筒の膨張行程時における回転変動量および失火判定対象気筒の膨張行程の直後に膨張行程を迎えた1点火後気筒の膨張行程時における回転変動量に対して、失火判定対象気筒の膨張行程時における回転変動量が所定量以上大きく、且つ上記1点火後気筒の膨張行程の更に直後に膨張行程を迎えた2点火後気筒の膨張行程時における回転変動量が、上記失火判定対象気筒の膨張行程における回転変動量に対して、絶対値が略同一であって正負が逆の値となるパターンとして上記第1の回転変動パターンを規定する。一方、上記1点火前気筒の膨張行程時における回転変動量に対して、失火判定対象気筒の膨張行程時における回転変動量が所定量以上大きく、上記1点火後気筒の膨張行程時における回転変動量と、失火判定対象気筒の膨張行程時における回転変動量との差が所定量以下であって、且つ上記2点火後気筒の膨張行程時における回転変動量が、上記失火判定対象気筒の膨張行程における回転変動量に対して、絶対値が略同一であって正負が逆の値となるパターンとして上記第2の回転変動パターンを規定している。
また、失火判定対象気筒の膨張行程の直前に膨張行程を迎えた1点火前気筒の膨張行程時における回転変動量および失火判定対象気筒の膨張行程の直後に膨張行程を迎えた1点火後気筒の膨張行程時における回転変動量に対して、失火判定対象気筒の膨張行程時における回転変動量が所定量以上大きく、且つ上記1点火後気筒の膨張行程の更に直後に膨張行程を迎えた2点火後気筒の膨張行程時における回転変動量が、上記失火判定対象気筒の膨張行程における回転変動量に対して、絶対値が略同一であって正負が逆の値となるパターンとして上記第1の回転変動パターンを規定する。一方、上記1点火前気筒の膨張行程時における回転変動量と、失火判定対象気筒の膨張行程時における回転変動量との差が所定量以下であって、上記1点火後気筒の膨張行程時における回転変動量に対して、失火判定対象気筒の膨張行程時における回転変動量が所定量以上大きく、且つ上記2点火後気筒の膨張行程時における回転変動量が、上記失火判定対象気筒の膨張行程における回転変動量に対して、絶対値が略同一であって正負が逆の値となるパターンとして上記第2の回転変動パターンを規定している。尚、上記各所定量は内燃機関の排気量や気筒数、変速機の固有振動数などに応じて適宜設定される値である。
このようにして、第1の回転変動パターンと第2の回転変動パターンとを明確に識別することで、ロックアップクラッチの非ロックアップ状態における失火判定動作と、ロックアップクラッチのロックアップ状態における失火判定動作とをそれぞれ正確に行うことができ、ロックアップ時および非ロックアップ時ともに失火の誤判定を防止することができる。
以上説明したように、本発明では、失火の有無を判定するための内燃機関の回転変動パターンとして、ロックアップクラッチがロックアップ状態にある場合と非ロックアップ状態にある場合とでパターンを異ならせるようにしている。更に、ロックアップクラッチがロックアップ状態にある場合には非ロックアップ状態にある場合に比べて、回転変動幅が小さくても失火が発生していると判定できるように、失火判定条件を緩めている。これにより、上記ロックアップ状態で内燃機関と変速機との共振現象が発生している状況であっても、失火の誤判定が回避でき、失火判定の信頼性を高めることができる。
以下、本発明の実施形態を図面に基づいて説明する。本実施形態では、本発明を自動車用4気筒ガソリンエンジンに適用した場合について説明する。
−エンジンの構成説明−
先ず、図1を参照して、本実施形態に係る失火判定装置が適用されるエンジン(内燃機関)、並びにその周辺装置の概略構成について説明する。図1に示すように、本実施形態に係るエンジン1は、4気筒分(図1では1気筒分のみを示す)のシリンダボア2を有するシリンダブロック1aと、シリンダヘッド1bとを備えている。各シリンダボア2内には上下動可能に設けられたピストン3が備えられ、このピストン3が、コンロッド(コネクティングロッド)3aを介してエンジン1の出力軸であるクランクシャフト10に連結されている。そして、シリンダボア2の内部において、ピストン3とシリンダヘッド1bとにより囲まれた空間によって燃焼室4が区画形成されている。
シリンダヘッド1bには、各燃焼室4に対応して点火プラグ11が取り付けられている。また、シリンダヘッド1bには、各燃焼室4に通じる吸気ポート5aおよび排気ポート6aがそれぞれ設けられ、これら吸気ポート5aおよび排気ポート6aには、吸気通路5および排気通路6がそれぞれ接続されている。吸気ポート5aおよび排気ポート6aの燃焼室4に通じる各開口端には、吸気バルブ7および排気バルブ8がそれぞれ設けられている。吸気バルブ7および排気バルブ8は、クランクシャフト10の動力によってそれぞれ回転する吸気カムシャフト31および排気カムシャフト32によって開閉される。クランクシャフト10の動力は、タイミングベルト35および各タイミングプーリー33,34を介して、上記吸気カムシャフト31および排気カムシャフト32に伝達されている。
また、上記吸気ポート5aの近傍には、各気筒に対応してインジェクタ(燃料噴射弁)9がそれぞれ備えられている。各インジェクタ9には図示しない燃料供給系を介して所定圧力の燃料が供給されている。
一方、吸気通路5にはサージタンク16が設けられ、このサージタンク16の上流側には、アクセルペダル18の操作に応じて開閉駆動されるスロットルバルブ19が設けられている。このスロットルバルブ19の開度に応じて吸気通路5へ導入される吸入空気量が調整される。
エンジン1の運転が開始されると、吸気通路5内への吸入空気の導入とともにインジェクタ9から燃料が噴射されることにより、それら吸入空気と燃料とが混合されて混合気となる。そして、エンジン1の吸入行程において、吸気バルブ7により吸気ポート5aが開かれることにより混合気が吸気ポート5aを通じて燃焼室4に取り込まれる。この燃焼室4に取り込まれた混合気は、圧縮行程において圧縮された後、点火プラグ11によって着火され、その混合気が爆発・燃焼してクランクシャフト10に駆動力が付与される(膨張行程)。燃焼後の排気ガスは、排気バルブ8により排気ポート6aが開かれることによって排気通路6に排出され(排気行程)、更に触媒12を経て浄化された後、外部に放出される。なお、上記点火プラグ11は、イグナイタ13から出力される高電圧の印加タイミングに応じて混合気への点火動作を実行している。
エンジン1には、その運転状態を検出するための以下に述べるような各種のセンサが設けられている。
上記クランクシャフト10の近傍には、その回転角(クランク角CA)および回転速度(エンジン回転速度NE)を検出するためのクランク角センサ21が配設されている。このクランク角センサ21は、所定のクランク角(例えば30°)毎にパルス信号を出力する。このクランク角センサ21によるクランク角の検出手法の一例としては、クランクシャフト10と回転一体の図示しないロータ(NEロータ)の外周面の30°おきに外歯を形成しておき、この外歯と対面して電磁ピックアップで成る上記クランク角センサ21を配置する。そして、クランクシャフト10の回転に伴って外歯がクランク角センサ21の近傍を通過した際に、このクランク角センサ21が出力パルスを発生するようになっている。尚、このロータとしては、外周面に形成される外歯が10°おきに形成されたものが適用される場合もある。この場合、エンジン制御装置(エンジンECU)40内で分周して30°CA毎の出力パルスを発生する。
上記吸気カムシャフト31の近傍には、カム角センサ22が配設されている。このカム角センサ22は、通常、気筒判別センサとして用いられ、例えば第1気筒#1の圧縮上死点(TDC)に対応してパルス信号を出力する。つまり、このカム角センサ22は、吸気カムシャフト31の1回転毎にパルス信号を出力する。このカム角センサ22によるカム角の検出手法の一例としては、吸気カムシャフト31と回転一体のロータの外周面の1箇所に外歯を形成しておき、この外歯と対面して電磁ピックアップで成る上記カム角センサ22を配置し、吸気カムシャフト31の回転に伴って外歯がカム角センサ22の近傍を通過した際に、このカム角センサ22が出力パルスを発生するようになっている。このロータはクランクシャフト10の1/2の回転速度で回転するため、クランクシャフト10が720°回転する毎に出力パルスを発生する。言い換えると、ある特定の気筒が同一行程(例えば第1気筒♯1が上死点に達した時点)となる度に出力パルスを発生する構成である。
上記サージタンク16には、吸気通路5内の圧力(吸気管内圧力PM)を検出するための圧力センサ23が設けられている。この圧力センサ23は、サージタンク16内の圧力に応じた信号を出力する。
以上が、本実施形態に係るエンジン1の概略構成である。
−自動変速機−
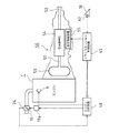
次に、上記エンジン1からの回転動力が伝達され、且つ変速動作を行う自動変速機について説明する。図2は、上記エンジン1と自動変速機50との接続状態を示す概略構成図である。また、図3は、トルクコンバータ(流体式動力伝達装置)53の概略構成を示す図である。
これらの図に示すように、自動変速機50は、エンジン1から入力軸51に入力される回転動力を変速し、出力軸52を介して駆動輪に出力するもので、主として、トルクコンバータ53、変速機構部54、油圧制御装置55等を含んで構成されている。
トルクコンバータ53は、エンジン1に回転連結されるもので、ポンプインペラ53a、タービンランナ53b、ステータ53c、ワンウェイクラッチ53d、ステータシャフト53e、ロックアップクラッチ53fを含んで構成されている。
上記ロックアップクラッチ53fは、トルクコンバータ53のポンプインペラ53a(入力側)とタービンランナ53b(出力側)とを直結可能とするものであり、必要に応じて、ポンプインペラ53aとタービンランナ53bとを直結する係合状態と、ポンプインペラ53aとタービンランナ53bとを切り離す解放状態と、これら係合状態と解放状態との中間の半係合状態(スリップ状態)との間で切り換えられる。この切り換えのための条件については後述する。
このロックアップクラッチ53fの係合力制御は、ロックアップコントロールバルブ56でポンプインペラ53a(入力側)とタービンランナ53b(出力側)とに対する作動油圧をコントロールすることによって行われる。
変速機構部54は、例えば、複数のプラネタリギヤ、クラッチ、ブレーキ、ワンウェイクラッチ等を含んで構成されており、例えば、前進6段、後進1段の変速が可能になっている。上記油圧制御装置55によって、変速機構部54のクラッチやブレーキが個別に係合、解放されることにより適宜の変速段(前進1〜6速段、後進段)を成立させるように構成されている。この変速機構部54の構成および油圧制御装置55による制御動作は公知であるので、ここでは詳細な図示や説明を割愛する。
−エンジン制御装置40、トランスミッション制御装置45−
上記油圧制御装置55は、トランスミッション制御装置45により制御される。つまり、このトランスミッション制御装置45による油圧制御装置55の制御により、変速機構部54における適宜の変速段つまり動力伝達経路を成立させるようになっている。
また、図4に示すように、上記エンジン制御装置40とトランスミッション制御装置45とは、エンジン制御やトランスミッション制御に必要な情報を互いに送受可能に接続されている。
エンジン制御装置40およびトランスミッション制御装置45は、図示していないが、共に一般的に公知のECU(Electronic Control Unit)とされており、それぞれ、CPU(Central Processing Unit)、ROM(Read Only Memory)、RAM(Random Access Memory)およびバックアップRAMなどを備えている。
ROMは、各種制御プログラムや、それら各種制御プログラムを実行する際に参照されるマップ等が記憶されている。CPUは、ROMに記憶された各種制御プログラムやマップに基づいて演算処理を実行する。RAMは、CPUでの演算結果や各センサから入力されたデータ等を一時的に記憶するメモリであり、バックアップRAMは、エンジン1の停止時にその保存すべきデータ等を記憶する不揮発性のメモリである。
エンジン制御装置40には、図4に示すように、上記クランク角センサ21、カム角センサ22、圧力センサ23の他、スロットル開度センサ24などのエンジン1の運転状態を検出する各種センサが接続されており、その各センサの信号が入力される。また、このエンジン制御装置40は、スロットルバルブ19のアクチュエータ19a、および、インジェクタ9などのエンジン1の各部を制御する。また、このエンジン制御装置40には失火カウンタ41が備えられており、後述する失火判定動作によってエンジン1に失火が発生したことが認識される度に、この失火カウンタ41がインクリメントされていくようになっている。
トランスミッション制御装置45には、上記入力軸51の回転数を検出する入力軸回転数センサ61、出力軸52の回転数を検出する出力軸回転数センサ62、ドライバにより操作されるアクセルペダル18の開度を検出するアクセル開度センサ63、自動変速機50のシフトレバー位置を検出するシフトポジションセンサ64、駆動輪の速度(車輪速度)を検出する車輪速センサ65などが接続されている。
また、このトランスミッション制御装置45は、上記ロックアップコントロールバルブ56にロックアップクラッチ制御信号を出力する。このロックアップクラッチ制御信号に基づいてロックアップコントロールバルブ56がロックアップクラッチ53fの係合圧を制御し、上述したロックアップクラッチ53fの係合状態(トルコン状態)、解放状態(完全スリップ状態)、半係合状態(スリップ状態:フレックスロックアップ状態とも呼ばれる)が切り換えられるようになっている。
さらに、トランスミッション制御装置45は、自動変速機50の油圧制御装置55にソレノイド制御信号(油圧指令信号)を出力する。このソレノイド制御信号に基づいて油圧制御装置55の油圧制御回路に備えられているリニアソレノイドバルブやオンオフソレノイドバルブなどが制御され、所定の変速段(第1変速段〜第6変速段、後退変速段など)を達成するように、自動変速機50の各クラッチ、各ブレーキなどが所定の状態に係合または解放される。
−ロックアップクラッチ作動マップ−
上述したロックアップクラッチ53fの係合状態、解放状態、半係合状態の切り換え動作は、例えば図5に示すようなロックアップクラッチ作動マップに従って行われる。このロックアップクラッチ作動マップは、車速Vおよびアクセル開度θTHをパラメータとし、それら車速Vおよびアクセル開度θTHに応じて、ロックアップクラッチ53fを、係合状態(ロックアップ状態)、解放状態(トルコン状態)、半係合状態(フレックスロックアップ状態:スリップ状態)の間で切り換えるためのマップであって、上記トランスミッション制御装置45のROM内に記憶されている。
つまり、車速Vおよびアクセル開度θTHに基づいて、係合領域(ロックアップ作動領域)、解放領域(トルコン作動領域)、スリップ領域(フレックスロックアップ作動領域)のいずれの領域に属するかを判定し、その判定された領域の作動となるように上記ロックアップコントロールバルブ56を制御してロックアップクラッチ53fを係合、解放、或いは半係合のいずれかの状態とする制御を実行する。尚、上記アクセル開度θTHに代えてスロットル開度に応じたロックアップクラッチ作動マップ(車速とスロットル開度とに応じてロックアップクラッチ53fを制御するためのマップ)によりロックアップクラッチ53fの状態を切り換えるようにしてもよい。
上記フレックスロックアップ作動領域では、運転性を損なうことなく燃費を可及的に良くすることを目的としてエンジン1の回転変動を吸収しつつトルクコンバータ53の動力伝達損失を可及的に抑制するために、ロックアップクラッチ53fのスリップ制御を実行する。ロックアップクラッチ53fのスリップ制御については、タービン回転速度NTとエンジン回転速度NEとの回転速度差(スリップ量)NSLP(=NE−NT)を目標回転速度差(目標スリップ量:例えば50rpm)に制御するためにロックアップクラッチ53fを制御するソレノイド弁に対して駆動信号を出力する。このスリップ制御のうちの減速走行時スリップ制御は、たとえば、アクセル開度θTHが略零で惰性走行(減速走行)する前進走行時において生じる駆動輪側からの逆入力をエンジン1側へ伝達する変速段、すなわちエンジンブレーキ作用が得られる変速段で行われ、タービン回転速度NTおよびエンジン回転速度NEは、車両の減速にしたがって緩やかに減少させられる。このようにロックアップクラッチ53fがスリップ係合させられると、エンジン回転速度NEがタービン回転速度NT付近まで引き上げられるため、エンジン1に対する燃料供給量を抑制する制御状態(フューエルカット状態)がさらに長い期間維持されて燃費が向上する。
−失火判定のための構成および動作−
次に、本形態の特徴部分であるエンジン失火判定のための構成(失火判定装置の構成)およびその動作について説明する。
本実施形態に係る失火判定装置は、上記エンジン制御装置40を備えている。このエンジン制御装置40には、上記各センサ21〜24の出力信号がそれぞれ取り込まれている。そして、エンジン制御装置40には、これら各信号に基づいてクランク角CAや、エンジン回転速度NE、現在の運転気筒(例えば現在膨張行程を迎えている気筒)、吸気管内圧力PM等を演算するとともに、それら演算結果に基づいて、後述する失火判定動作を実行する。
次に、失火判定装置の失火判定動作について説明する。本失火判定装置は、各気筒の圧縮上死点を基準として、360°クランク角(CA)前から遅角側に0°〜30°CA回転するのに要する時間をT1、また同じく遅角側に90°〜120°CA回転するのに要する時間をT2として算出する。この時間T1およびT2はそれぞれ、各点火毎にクランクシャフト10が30°CA回転するのに要する時間が極大になると推定される角度および極小になると推定される角度に対応した30°CAの所要時間である。
また、現在の、すなわち上記時間T1およびT2の算出対象であった気筒のピストン3が上死点に達した位置から360°CA後の同じく遅角側に0°〜30°CA回転するのに要する時間をT3、遅角側に90°〜120°CA回転するのに要する時間をT4として算出する。これら時間T3およびT4も、各点火毎にクランクシャフト10が30°CA回転するのに要する時間が極大になると推定される角度および極小になると推定される角度にそれぞれ対応した30°CAの所要時間である。
そして、これら各時間T1,T2,T3,T4に基づき、回転変動量ΔNE0を次式
ΔNE0=(T4−T3)−(T2−T1) …(1)
から算出する。
これにより、現在膨張行程中の気筒の回転速度における、360°進角側で膨張行程を迎えていた気筒(点火タイミングが2点火前の気筒)の回転速度に対する差を反映した回転変動量を求めることができる。
いずれかの気筒において失火が生じてエンジン回転速度が低下すると、クランクシャフト10が一定クランク角度を回転するのに要する経過時間が長くなる。つまり、上記(1)式における(T4−T3)の値が(T2−T1)の値に対して大きくなる。そこで、各気筒の膨張行程時においてクランクシャフト10が一定クランク角度を回転するのに要する経過時間を検出し、この経過時間の長さを上記(1)式に当てはめ、算出された回転変動量ΔNE0に基づいて失火が生じている可能性があるか否かを認識して、後述する失火判定出動作に役立てるようにしている。
また、本失火判定装置は、上記(1)式によって算出される回転変動量について、現時点(失火発生の有無の判定開始時点)での算出量をΔNE0、その1点火前の算出量(点火タイミングが1点火前の気筒の膨張行程時に求められた回転変動量)をΔNE1、2点火前の算出量をΔNE2、3点火前の算出量をΔNE3とし、これら回転変動の変化パターンに基づいて失火の発生の有無を判定するようになっている。具体的な判定動作については後述する。
尚、本形態では、上述したように、クランク角度の位相が360°離れた気筒における経過時間の偏差(回転変動量)ΔNE0を求めるようにしているので、NEロータに製造誤差があったとしても、同一の外歯の認識に基づいて上記演算が実行され、回転変動量ΔNE0がNEロータの製造誤差の影響を受けることがなく、この回転変動量ΔNE0を正確に算出できる。
本実施形態の特徴は、上記ロックアップクラッチ53fがロックアップ状態(上記フレックスロックアップ状態も含む)にある場合と非ロックアップ状態(解放状態)にある場合とで、失火判定のための回転変動パターン(失火判定パターン)を互いに異ならせている点にある。つまり、車速Vおよびアクセル開度θTHに基づいて設定される係合領域(ロックアップ作動領域)またはスリップ領域(フレックスロックアップ作動領域)にある場合と、解放領域(トルコン作動領域)にある場合とで、失火判定のための回転変動パターンを互いに異ならせている。
より具体的には、ロックアップクラッチ53fの非ロックアップ状態にあっては、エンジン1の回転変動パターンが、非ロックアップ状態での失火発生時に特有の第1の回転変動パターンに沿っているか否かによって失火判定動作を行う一方、ロックアップクラッチ53fのロックアップ状態にあっては、エンジン1の回転変動パターンが、ロックアップ状態での失火発生時に特有の第2の回転変動パターンに沿っているか否かによって失火判定動作を行うようになっている(失火判定手段による失火判定動作)。そして、上記第2の回転変動パターンは、第1の回転変動パターンに比べて回転変動幅が小さく設定されている。つまり、ロックアップクラッチ53fがロックアップ状態にある場合には非ロックアップ状態にある場合に比べて、回転変動幅が小さくても失火が発生していると判定できるように、失火判定条件を緩めている。
−失火発生時の回転変動パターン−
上記判別動作では、上記各回転変動量ΔNE0〜ΔNE3(本判別動作における経時変化パターンの1サイクル)のうち、特に2点火前(判定動作開始タイミングである回転変動量ΔNE0の算出時に膨張行程を迎えている気筒よりも点火タイミングで2点火前の気筒が膨張行程を迎えていた際)の算出量ΔNE2が所定値(閾値)N1以上になったときに(エンジン1の回転変動量が所定の閾値を超えた場合に膨張行程を迎えていた気筒を失火判定対象気筒として失火判定を行う場合)、各回転変動量ΔNE0〜ΔNE3の関係に基づき、失火の発生の有無を判別する。
なお、上記所定値N1は、エンジン回転速度NEが速いほど小さな値として例えばマップ演算される。これは、次の理由による。通常、エンジン回転速度NEが速くなると、それに伴って上記各所要時間T1〜T4がそれぞれ短い時間として算出される。このため、上記(1)式に基づき算出される回転変動量ΔNEも小さな値として算出されるようになる。そこで、所定値N1をエンジン回転速度NEが速くなるほど小さな値として算出することで、エンジン回転速度NEの変化による影響を極力排除した上で判断することができるようにしている。
また、上記所定値N1は、吸気管内圧力PMが高いほど大きな値として、同様に、例えばマップ演算される。これは、次の理由による。エンジン1の制御では通常、吸気管内圧力が高くなるほどインジェクタ9から多くの燃料が噴射される。このため、吸気管内圧力PMが高くなるほど、燃焼室4内における混合気の燃焼圧力も高くなって、エンジン1のクランクシャフト10には大きな駆動力が付与されるようになる。これにより、吸気管内圧力PMが高いときには、同圧力PMが低いときと比較して上記極小側の各所要時間T2,T4がそれぞれ更に短い時間として算出されるようになり、上記(1)式に基づき算出される回転変動量ΔNEは大きな値として算出されるようになる。そこで、所定値N1を吸気管内圧力PMが高くなるほど大きな値として算出することで、吸気管内圧力PMの変化による影響を極力排除した上で判断することができるようにしている。
以下、失火判定のための具体的な回転変動パターンについて説明する。
図6は、ロックアップクラッチ53fが非ロックアップ状態にある際に失火が発生した場合における各回転変動量ΔNE0〜ΔNE3の関係である回転変動パターンの一例を示している(第1の回転変動パターン)。つまり、ロックアップクラッチ53fが非ロックアップ状態にある場合には、回転変動パターンが、この図6に示す回転変動パターンに沿っているか否かによって失火の有無(この場合、第3番気筒#3での失火の有無)を判定することになる。
また、図7の実線は、ロックアップクラッチ53fがロックアップ状態にある際に失火が発生した場合における各回転変動量ΔNE0〜ΔNE3の関係である回転変動パターンの一例を示している(第2の回転変動パターン)。つまり、ロックアップクラッチ53fがロックアップ状態にある場合には、回転変動パターンが、この図7に示す回転変動パターンに沿っているか否かによって失火の有無(この場合も、第3番気筒#3での失火の有無)を判定することになる。
図6および図7に示されるように、本実施の形態では、第1番気筒を#1、同様に第2番〜第4番気筒をそれぞれ#2〜#4とすると、#1→#3→#4→#2の順で各気筒における混合気への点火が実行されるようになっている。
そして、ロックアップクラッチ53fが非ロックアップ状態にある際に失火が発生した場合における上記回転変動量ΔNE0〜ΔNE3の変化パターン(経時変化パターン)は以下のような傾向を示す。
すなわち、図6に示すように、例えば2点火前の第3番気筒#3(失火判定対象気筒)で失火が発生する場合には、この第3番気筒#3の膨張行程時に算出された回転変動量ΔNE2が、その直前の第1番気筒#1(本発明でいう1点火前気筒)の膨張行程時に算出された回転変動量ΔNE3および直後の第4番気筒#4(本発明でいう1点火後気筒)の膨張行程時に算出された回転変動量ΔNE1に比べて特に大きくなる。また、これに加えて、今回の第2番気筒#2(本発明でいう2点火後気筒)の膨張行程時に算出された回転変動量ΔNE0が、上記回転変動量ΔNE2と、ほぼその絶対値が同じであって、且つ正負が逆の値をとるようになる。
一方、ロックアップクラッチ53fがロックアップ状態にある際に失火が発生した場合における上記回転変動量ΔNE0〜ΔNE3の変化パターン(経時変化パターン)は以下のような傾向を示す。
すなわち、図7に実線で示すように、例えば2点火前の第3番気筒#3(失火判定対象気筒)で失火が発生する場合には、この第3番気筒#3の膨張行程時に算出された回転変動量ΔNE2が、その直前の第1番気筒#1(本発明でいう1点火前気筒)の膨張行程時に算出された回転変動量ΔNE3に比べて特に大きくなる。また、第3番気筒#3の膨張行程時に算出された回転変動量ΔNE2と、その直後の第4番気筒#4(本発明でいう1点火後気筒)の膨張行程時に算出された回転変動量ΔNE1とには大きな差は生じない。また、これに加えて、今回の第2番気筒#2(本発明でいう2点火後気筒)の膨張行程時に算出された回転変動量ΔNE0が、上記回転変動量ΔNE2と、ほぼその絶対値が同じであって、且つ正負が逆の値をとるようになる。
つまり、従来では、上記第3番気筒#3の膨張行程時に算出された回転変動量ΔNE2と、その直後の第4番気筒#4の膨張行程時に算出された回転変動量ΔNE1とに大きな差が生じていないことで、失火が発生していないと判定していたが、本実施形態では、ロックアップクラッチ53fがロックアップ状態またはフレックスロックアップ状態にある場合に限って、このような回転変動パターンであっても失火が発生していると判定するようにしている。即ち、この第2の回転変動パターンでは、第3番気筒#3の膨張行程時に算出された回転変動量ΔNE2と第4番気筒#4の膨張行程時に算出された回転変動量ΔNE1との変化が、上記第1の回転変動パターンのもの(第1の回転変動パターンにおける第3番気筒#3の膨張行程時に算出された回転変動量ΔNE2と第4番気筒#4の膨張行程時に算出された回転変動量ΔNE1との変化)に比べて小さいものとして規定されている。
本実施形態の失火判定装置では、このように回転変動量ΔNE0〜ΔNE3の変化パターンがロックアップ状態における失火発生時と非ロックアップ状態における失火発生時とで異なることに着目し、それらを判別すべく、以下の各条件がエンジン制御装置40内のROMに予め記憶されている。
(a)ΔNE2×A<|ΔNE0|、且つ
(b)ΔNE2×B≧ΔNE3、且つ
(c)ΔNE2×C≧ΔNE1
これら(a)〜(c)の論理積が満たされることを条件として、回転変動量がΔNE2である気筒(第3番気筒#3)で失火が発生していると判断されることになる。
ここで、上記各値A,B,Cは、それぞれ「1」未満の正の定数として設定されており、これら値は、ロックアップクラッチ53fがロックアップ状態またはフレックスロックアップ状態にある場合を対象とする値と、非ロックアップ状態にある場合を対象とする値とで異なったもとのとして規定されている。例えば、各値A,B,Cは、非ロックアップ状態にある場合を対象とする値(第1の回転変動パターンでの値)よりもロックアップクラッチ53fがロックアップ状態またはフレックスロックアップ状態にある場合を対象とする値(第2の回転変動パターンでの値)の方が小さく設定されている。
このようにして各値A,B,Cを、ロックアップクラッチ53fがロックアップ状態またはフレックスロックアップ状態にある場合と非ロックアップ状態にある場合とで異ならせることで、上記第1の回転変動パターンおよび第2の回転変動パターンを作り出し、非ロックアップ状態にある場合に上記第1の回転変動パターンに沿っているか、また、ロックアップ状態にある場合に上記第2の回転変動パターンに沿っているかによって失火の発生の有無を判定するようにしている。
また、これら定数A〜Cは、エンジン回転速度NEに基づき算出される。具体的には、上記各所定値A〜Cは、エンジン回転速度NEが速くなるほど小さな値として算出される。これは、次の理由による。
上述したように、エンジン回転速度NEが速くなると、それに伴って各回転変動量ΔNE0〜ΔNE3は小さな値として算出されるようになる。そこで、上記各所定値A〜Cをエンジン回転速度NEが速いときほど小さな値として算出することで、これら回転変動量ΔNE0〜ΔNE3の変化パターンと、上記各失火パターンとを、エンジン回転速度NEの変化による影響を極力排除した上で比較することができるようにしている。
そして、上記(a)〜(c)の論理積条件が満たされているときには、回転変動量ΔNE0〜ΔNE3の変化パターンが失火パターンになっており、回転変動量ΔNE2が大きくなった原因は失火発生の可能性があるとして「失火可能性有り」と判定される。
更に、本実施形態に係る失火判定装置では、失火発生の検出頻度に基づいて、排気エミッションの悪化や触媒12の劣化を招く頻度で失火が発生しているか否かの判定が行われる。具体的には、失火発生の検出頻度が高い場合には、排気エミッションの悪化や触媒12の劣化等を招くおそれのある頻度で失火が発生しているとして、失火異常と判定される。
以下、本実施形態における失火判定処理の手順について、図8および図9のフローチャートを参照して説明する。この図8および図9に示す制御ルーチンは、上記エンジン制御装置40において、例えばクランクシャフト10の180°CA回転毎(4気筒の場合)に繰り返して実行される。
この図8および図9に示すように、この処理では、先ず、失火を判定(失火検出)するための前提条件が成立しているか否かが判断される(ステップST1)。この判断では、上記前提条件に基づく判断を通じて、失火発生以外の要因でエンジン回転速度NEが大きく変動するおそれがなく、この失火発生に伴うエンジン回転速度NEの変動を精度よく検出することができる条件下であるか否かが判断される。なお、上記前提条件としては例えば、エアーコンディショナの作動/非作動が切り換えられてから所定時間が経過していることや、シフトレバーが操作されてから所定時間が経過していること等がある。
そして、上記前提条件が成立していないと判断(ステップST1でNO判定)された場合には、エンジン1が現在、失火発生に伴うエンジン回転速度NEの変動を精度よく判定することのできない条件下にあるとして、本処理が一旦終了される。
一方、上記前提条件が成立していると判断(ステップST1でYES判定)された場合には、検出カウンタ(1000revカウンタ)のカウント値がインクリメントされる(ステップST2)。このカウント値は、後述する失火異常の判定に際し失火発生の検出頻度の算出基準となる総判定回数として用いられる。
その後、エンジン回転速度NEおよび吸気管内圧力PMに基づいて上記閾値N1がマップ演算され、上述した態様で算出される回転変動量ΔNEがこの閾値N1よりも大きいか否かが判断される(ステップST3)。なお、上記マップ演算に用いられるマップは、エンジン回転速度NEおよび吸気管内圧力PMから所定値N1を算出するためのマップであり、これらエンジン回転速度NE、吸気管内圧力PMおよび所定値N1の関係が実験等によって求められた上で設定されている。また、このマップも予めエンジン制御装置40内の適宜のメモリに記憶されている。
そして、回転変動量ΔNEが所定値N1よりも大きいと判断(ステップST3でYES判定)された場合には、ステップST4に移り、この回転変動量ΔNEが所定値N1よりも大きいと判断されたことで失火が発生している可能性があると判定された気筒に対し、その気筒では、失火が発生していた履歴が存在しているか否かを判定する。つまり、その気筒に対し、過去の燃焼行程においても回転変動量ΔNEが所定値N1を超えていた履歴が存在しているか否かを判定する。そして、失火が発生していた履歴が存在しておらず、ステップST4でNO判定された場合にはステップST10に移る一方、失火が発生していた履歴が存在しており、ステップST4でYES判定された場合にはステップST5に移る。
ステップST5では、現在の自動変速機50のシフト(変速段)は、予め設定された特定の変速段であるか否かを判定する。この特定の変速段とは、上記ロックアップクラッチ53fがロックアップ状態にある場合において、エンジン1と自動変速機50との共振現象が発生する可能性のある変速段をいう。つまり、現在、上記共振現象が発生する可能性のある変速段で走行しているか否かを判定している。エンジン1と自動変速機50との共振現象は、自動変速機50がある特定の変速段にあって、且つある特定のエンジン回転数にある際(例えば、変速段が第2速でエンジン回転数が4000rpmの場合や、変速段が第3速でエンジン回転数が3500rpmの場合など)に失火が発生した場合に生じる。そして、この共振現象が生じる変速段は、エンジン1や自動変速機50の固有振動数などによって異なる。つまり、車種によって上記共振現象の発生する変速段は異なっている。このため、ここで設定される特定の変速段とは、実験などによって予め求められてROMに記憶されている。
現在の自動変速機50の変速段が上記特定の変速段でなく、ステップST5でNO判定された場合にはステップST10に移る一方、現在の自動変速機50の変速段が上記特定の変速段である場合にはステップST6に移る。
ステップST6では、ロックアップクラッチ53fがフレックスロックアップ状態であるか否かを判定する。具体的には、フレックスロックアップフラグが「1」となっているか否かを判定する。フレックスロックアップ状態ではなくステップST6でNO判定された場合にはステップST7に移る一方、フレックスロックアップ状態でありステップST6でYES判定された場合にはステップST8に移る。
ステップST7では、ロックアップクラッチ53fがロックアップ状態であるか否かを判定する。具体的には、ロックアップフラグが「1」となっているか否かを判定する。ロックアップ状態ではなくステップST7でNO判定された場合にはステップST10に移る一方、ロックアップ状態でありステップST7でYES判定された場合にはステップST8に移る。
ステップST8では、自動変速機50のタービン回転数とエンジン回転数との差が、所定の判定値以下であるか否かを判定する。つまり、各回転数に基づいて、上記フレックスロックアップ状態またはロックアップ状態が成立していることを確認する。このステップST8でYes判定された場合にはステップST9に移る一方、NO判定された場合にはステップST10に移る。
ステップST9では、ロックアップクラッチ53fがフレックスロックアップ状態またはロックアップ状態にある場合に使用する上記第2の回転変動パターンに基づいて失火判定を行う。具体的には、図7に示した第2の回転変動パターンに沿うような回転変動パターンとなっているか否かを判定し、エンジン1の回転変動パターンが第2の回転変動パターンに沿っている場合には、ステップST9でYes判定されてステップST11に移る。
一方、ステップST4、ST5、ST7、ST8のうちの何れかでNO判定された場合には、ロックアップクラッチ53fはロックアップ状態ではなく且つフレックスロックアップ状態でもないとして、ステップST10に移る。
このステップST10では、ロックアップクラッチ53fがフレックスロックアップ状態およびロックアップ状態の何れにもない非ロックアップ状態にある場合に使用する上記第1の回転変動パターンに基づいて失火判定を行う。具体的には、図6に示した第1の回転変動パターンに沿うような回転変動パターンとなっているか否かを判定し、エンジン1の回転変動パターンが第1の回転変動パターンに沿っている場合には、ステップST10でYes判定されてステップST11に移る。
以上のようにしてステップST9またはステップST10において失火が発生していると判定された場合には、ステップST11において失火カウンタのカウント値をインクリメントし、その後にステップST12に移ることになる。また、回転変動量ΔNEが閾値N1以下であると判断(ステップST3でNO判定)された場合、あるいは回転変動量ΔNEが閾値N1を超えていても上記の何れのパターン(第1の回転変動パターンおよび第2の回転変動パターン)にも属さないと判断(ステップST9またはステップST10でNO判定)された場合には、上記失火カウンタのカウント操作を行うことなく、ステップST12以降の処理にジャンプする。
そして、このステップST12以降の処理では、先ず、検出カウンタ(1000revカウンタ)のカウント値が所定の条件成立カウント値(例えば1000)以上であるか否かが判断される(ステップST12)。この判断では、総検出回数が失火発生の検出頻度を判定する基準回数(例えばクランクシャフト10の1000回転相当)に達したか否かが判断される。
そして、総検出回数が基準回数に達したと判断(ステップST12でYES判定)された場合には、次に失火カウンタのカウント値が所定の異常回数(例えば30)以上であるか否かが判断される(ステップST13)。すなわちこの判断では、総検出回数中に所定回数以上の頻度で失火発生が検出されたか否かが判断される。
そして、失火カウンタのカウント値が所定値(異常回数値)以上であると判断(ステップST13でYES判定)された場合には、排気エミッションの悪化や触媒12の劣化等を招くおそれのある頻度で失火が発生しているとして、失火異常と判定される(ステップST14)。この場合には、例えば、この異常判定を異常履歴として記憶したり、異常ランプ(MIL)を点灯させたりする。そして、その後、上記各カウンタのカウント値を「0」にリセットした後(ステップST15)、リターンされる。
一方、検出カウンタのカウント値が所定値未満であると判断(ステップST12でNO判定)された場合には、総検出回数が上記基準回数に達していないとして、リターンされる。
また、検出カウンタ(1000revカウンタ)のカウント値が所定値に達した際の失火カウンタのカウント値が所定値(異常回数値)未満であると判断(ステップST13でNO判定)された場合には、失火発生の検出頻度がさほど高くないとして、この場合にも各カウント値が「0」にリセットされた後(ステップST15)、リターンされる。
以上説明したように、本実施の形態によれば、以下に記載する効果が得られる。
回転変動量ΔNE0〜ΔNE3の変化パターンとして、ロックアップクラッチ53fが非ロックアップ状態である場合の失火判定パターンとしての第1の回転変動パターン(非ロックアップ状態での失火発生時に特有の回転変動パターン)と、ロックアップクラッチ53fがロックアップ状態である場合の失火判定パターンとしての第2の回転変動パターン(ロックアップ状態での失火発生時に特有の回転変動パターン)とに基づいて失火判定動作を行うようにしている。そして、この第2の回転変動パターンは、第1の回転変動パターンに比べて回転変動幅が小さいものとして設定され、失火判定条件を緩めるようなパターンとなっている。このため、ロックアップクラッチ53fのロックアップ状態において、エンジン1と自動変速機50との共振が発生している場合に、従来であれば、この共振の影響によって回転変動が小さくなっているために、失火が発生していてもそれを検出することができない可能性が高かったが、本実施形態の失火判定動作によれば、特定の回転変動パターン(上記第2の回転変動パターン)を使用することによって失火の発生を検出することが可能になる。このように、上記共振現象の悪影響を受けることなく失火が発生していることが正確に判定され、失火判定の信頼性を高めることができる。
(第2の回転変動パターンの変形例)
上述した実施形態では、第2の回転変動パターンを以下のように規定していた。つまり、失火判定対象気筒である第3番気筒#3の膨張行程時に算出された回転変動量ΔNE2が、その直前の第1番気筒#1の膨張行程時に算出された回転変動量ΔNE3に比べて特に大きく、また、第3番気筒#3の膨張行程時に算出された回転変動量ΔNE2と、その直後の第4番気筒#4の膨張行程時に算出された回転変動量ΔNE1とには大きな差は生じないものとして規定していた。これに限らず、以下のように規定してもよい。
つまり、図7に一点鎖線で示すように、第3番気筒#3(失火判定対象気筒)で失火が発生する場合に、この第3番気筒#3の膨張行程時に算出された回転変動量ΔNE2が、その直後の第4番気筒#4(本発明でいう1点火後気筒)の膨張行程時に算出された回転変動量ΔNE1に比べて特に大きく、また、第3番気筒#3の膨張行程時に算出された回転変動量ΔNE2と、その直前の第1番気筒#1(本発明でいう1点火前気筒)の膨張行程時に算出された回転変動量ΔNE3とには大きな差は生じず、更に、今回の第2番気筒#2(本発明でいう2点火後気筒)の膨張行程時に算出された回転変動量ΔNE0が、上記回転変動量ΔNE2と、ほぼその絶対値が同じであって且つ正負が逆の値をとるようなパターンとして第2の回転変動パターンを規定するものである。
尚、上記実施形態における第2の回転変動パターンと、本変形例における第2の回転変動パターンとの両方を、ロックアップ状態において失火が発生している回転変動パターンとして規定するようにしてもよい。この場合、上記条件式(a)〜(c)において、ロックアップクラッチ53fがロックアップ状態またはフレックスロックアップ状態にある場合を対象とする値(第2の回転変動パターンでの値)A,B,Cとしては、図7に実線で示す第2の回転変動パターンに対応する値と、図7に一点鎖線で示す第2の回転変動パターンに対応する値との2種類を備えることになる。
また、第2の回転変動パターンを以下に述べるパターンとして規定してもよい。
つまり、図7に二点鎖線で示すように、第3番気筒#3(失火判定対象気筒)で失火が発生する場合に、この第3番気筒#3の膨張行程時に算出された回転変動量ΔNE2が、その直後の第4番気筒#4(本発明でいう1点火後気筒)の膨張行程時に算出された回転変動量ΔNE1に比べて特に大きく、また、第3番気筒#3の直前の第1番気筒#1(本発明でいう1点火前気筒)の膨張行程時に算出された回転変動量ΔNE3が、第3番気筒#3の膨張行程時に算出された回転変動量ΔNE2に比べて特に大きく、更に、今回の第2番気筒#2(本発明でいう2点火後気筒)の膨張行程時に算出された回転変動量ΔNE0が、上記回転変動量ΔNE2と、ほぼその絶対値が同じであって且つ正負が逆の値をとるようなパターンとして第2の回転変動パターンを規定するものである。つまり、以下の条件式が成立するものである。
(g)ΔNE3>ΔNE2、且つ
(h)ΔNE1<ΔNE2、且つ
(i)|ΔNE0|≒ΔNE2
更には、第2の回転変動パターンを以下に述べるパターンとして規定してもよい。
つまり、図7に破線で示すように、第3番気筒#3(失火判定対象気筒)で失火が発生する場合に、この第3番気筒#3の膨張行程時に算出された回転変動量ΔNE2が、その直前の第1番気筒#1(本発明でいう1点火前気筒)の膨張行程時に算出された回転変動量ΔNE3に比べて特に大きく、また、第3番気筒#3の直後の第4番気筒#4(本発明でいう1点火後気筒)の膨張行程時に算出された回転変動量ΔNE1が、第3番気筒#3の膨張行程時に算出された回転変動量ΔNE2に比べて特に大きく、更に、今回の第2番気筒#2(本発明でいう2点火後気筒)の膨張行程時に算出された回転変動量ΔNE0が、上記回転変動量ΔNE2と、ほぼその絶対値が同じであって且つ正負が逆の値をとるようなパターンとして第2の回転変動パターンを規定するものである。つまり、以下の条件式が成立するものである。
(j)ΔNE3<ΔNE2、且つ
(k)ΔNE1>ΔNE2、且つ
(l)|ΔNE0|≒ΔNE2
(悪路走行を判別する変形例)
上述した実施形態では、ロックアップクラッチ53fが非ロックアップ状態にある場合の失火判定とロックアップ状態にある場合の失火判定とを実施するようにしていた。本変形例では、それに加えて、ロックアップクラッチ53fがロックアップ状態にある場合に、失火が発生している状況と悪路を走行している状況とを識別可能とするものである。以下、具体的に説明する。
上記ロックアップクラッチ53fがロックアップ状態にある際、車両が悪路を走行する場合、路面の凹凸などの影響によってエンジン回転速度が急激に変動し、失火が発生していないにも拘わらず回転変動が大きくなり、上記閾値N1を越えてしまって失火の誤判定がなされてしまう可能性がある。このため、回転変動が閾値N1を越えた原因が失火によるものであるか、悪路走行によるものであるのかを識別し、失火によるものである場合にのみ失火カウンタをインクリメントさせる必要がある。
本変形例は、ロックアップクラッチ53fがロックアップ状態にある際にエンジン1の回転変動量が大きくなった場合、その原因が、失火発生によるものであるのか、悪路走行によるものであるのかを判別するようにしている。この判別によって、失火の誤判定による失火カウンタのインクリメントを回避できる。
この判別動作では、上記各回転変動量ΔNE0〜ΔNE3(判別動作における経時変化パターンの1サイクル)のうち、特に2点火前(判定動作開始タイミングである回転変動量ΔNE0の算出時に膨張行程を迎えている気筒よりも点火タイミングで2点火前の気筒が膨張行程を迎えていた際)の算出量ΔNE2が所定値(閾値)N1以上になったときに、各回転変動量ΔNE0〜ΔNE3の関係に基づき、これが失火異常による可能性があるものか、悪路走行によるものかを判別する。
なお、本実施形態においても、上記所定値N1は、エンジン回転速度NEが速いほど小さな値として例えばマップ演算される。その理由は上記実施形態の場合と同様である。また、上記所定値N1は、吸気管内圧力PMが高いほど大きな値として例えばマップ演算される。その理由も上記実施形態の場合と同様である。
上述した如く、ロックアップクラッチ53fがロックアップ状態にある際に失火が発生した場合には、図7に示すように、例えば2点火前の第3番気筒#3(失火判定対象気筒)で失火が発生する場合には、この第3番気筒#3の膨張行程時に算出された回転変動量ΔNE2が、その直前の第1番気筒#1(本発明でいう1点火前気筒)の膨張行程時に算出された回転変動量ΔNE3に比べて特に大きくなる。また、第3番気筒#3の膨張行程時に算出された回転変動量ΔNE2と、その直後の第4番気筒#4(本発明でいう1点火後気筒)の膨張行程時に算出された回転変動量ΔNE1とには大きな差は生じない。また、これに加えて、今回の第2番気筒#2(本発明でいう2点火後気筒)の膨張行程時に算出された回転変動量ΔNE0が、上記回転変動量ΔNE2と、ほぼその絶対値が同じであって、且つ正負が逆の値をとるようになる。
一方、悪路走行時には、回転変動量の大きい状態が比較的長く続く。すなわち、図10に悪路走行時における各回転変動量ΔNE0〜ΔNE3の関係の一例を示すように、悪路走行時には、2点火前の第3番気筒#3の膨張行程時に算出された回転変動量ΔNE2が、その直前の第1番気筒#1の膨張行程時に算出されたΔNE3および直後の第4番気筒#4の膨張行程時に算出された回転変動量ΔNE1と比べて、値の大きい側に大きく突出した値をとることはない。また、今回の第2番気筒#2の膨張行程時に算出された回転変動量ΔNE0が、失火発生時のように回転変動量ΔNE2と高い相関(絶対値が略同じであって正負が逆の値をとるといった関係)をもつこともない。
また、悪路パターンとしては、図10に示すものに限らず、第3番気筒#3の膨張行程時に算出された回転変動量ΔNE2が閾値N1を越えた場合において、その直後の第4番気筒#4の膨張行程時に算出された回転変動量ΔNE1が上記回転変動量ΔNE2を超えていることを検出した場合に悪路走行であると判定するようにしてもよい。
本例の失火判定装置では、このように回転変動量ΔNE0〜ΔNE3の変化パターンがロックアップ状態での失火発生時と悪路走行時とで異なることに着目し、それらを判別すべく、以下の各条件がエンジン制御装置40内のROMに予め記憶されている。
すなわち、回転変動量ΔNE0〜ΔNE3の変化パターンが失火発生の可能性がある時における変化パターンとなっていることを判断するための条件(失火パターン)として、以下の条件
(a)ΔNE2×A<|ΔNE0|、且つ
(b)ΔNE2×B≧ΔNE3、且つ
(c)ΔNE2×C≧ΔNE1
が予め定められている。これら(a)〜(c)の論理積が満たされることを条件として、回転変動量ΔNE2が特に大きくなったことの判断が可能になる。
また、回転変動量ΔNE0〜ΔNE3の変化パターンが悪路走行時における変化パターンとなっていることを判断するための条件(悪路パターン)として、以下の条件
(d)−(ΔNE2×D)>ΔNE0、または
(e)ΔNE2×E≦ΔNE3、または
(f)ΔNE2×F≦ΔNE1
も予め定められている。これら(d)〜(f)の論理和が満たされることを条件として、回転変動量の多い状態が比較的長く続いていることの判断が可能になる。
ここで、上記各値A,B,C,D,E,Fは、それぞれ「1」未満の正の定数として設定され、それらの関係がそれぞれ、A>D、B<E、C<Fとなるように定められている。尚、ロックアップ状態における失火判定のための上記条件(a)〜(c)における各値A,B,Cは、上述した実施形態における第2の回転変動パターンに対応するものと同一である。
また、これら定数A〜Fは、エンジン回転速度NEに基づき算出される。具体的には、上記各所定値A〜Fは、エンジン回転速度NEが速くなるほど小さな値として算出される。これは、次の理由による。
上述したように、エンジン回転速度NEが速くなると、それに伴って各回転変動量ΔNE0〜ΔNE3は小さな値として算出されるようになる。そこで、上記各所定値A〜Fをエンジン回転速度NEが速いときほど小さな値として算出することで、これら回転変動量ΔNE0〜ΔNE3の変化パターンと、上記失火パターンおよび悪路パターンとを、エンジン回転速度NEの変化による影響を極力排除した上で比較することができるようにしている。
そして、上記(a)〜(c)の論理積条件が満たされているときには、回転変動量ΔNE0〜ΔNE3の変化パターンが失火パターン(ロックアップ状態において失火が発生しているパターン)になっており、回転変動量ΔNE2が大きくなった原因は失火発生の可能性があるとして「失火可能性有り」と判定される。
一方、上記(d)〜(f)の論理和条件が満たされているときには、回転変動量ΔNE0〜ΔNE3の変化パターンが悪路パターンとなっており、回転変動量ΔNE2が大きくなったのは悪路走行が原因であるとして「悪路走行」が判定される。
このように、本例に係る失火判定処理によれば、予め記憶されている失火発生パターン(ロックアップ状態における失火発生パターン)、悪路走行パターンに基づくパターン判定を通じて、エンジン1の回転変動が大きくなった原因が失火発生によるものか、悪路走行によるものかが精度よく判別されるようになる。そして、回転変動量ΔNEが所定値N1を超えた原因がエンジン1の失火によるものであると判定された場合に限り、後述する失火カウンタがインクリメントされることになる。これにより、非ロックアップ状態での失火発生の検出およびロックアップ状態での失火発生の検出と、悪路走行に伴う回転変動量の増大とを正確に識別することが可能になる。
−他の実施形態−
上記実施の形態は、以下のように変更して実施してもよい。
・上記実施形態および変形例では、本発明を自動車用4気筒ガソリンエンジンに適用した場合について説明したが、本発明は、これに限るものではなく、種々のエンジンに対して適用できる。
・上記実施形態および変形例では、所定値N1をエンジン回転速度NEおよび吸気管内圧力PMに基づき算出するようにしたが、これに限られない。例えば、この所定値N1を、エンジン回転速度NEおよび吸気管内圧力PMの何れか一方に基づき算出したり、あるいは他のパラメータに基づき算出してもよい。また、吸気管内圧力PMに代えて吸入空気量を検出するシステムにあっては、この吸入空気量を代用しても勿論よい。他方、所定値N1を一定の値として設定するようにしてもよい。要は、失火の発生に伴う回転変動量ΔNEの変化を好適に監視できるのであれば、所定値N1をどのように算出、若しくは設定してもよい。
・上記実施形態および変形例では、各定数A〜Fをエンジン回転速度NEに基づき算出するようにしたが、これに限らず、例えば各定数A〜Fを吸気管内圧力PMや吸入空気量に基づいて算出したり、あるいは他のパラメータに基づき算出したりするようにしてもよい。また、各定数A〜Fを一定の値として設定するようにしてもよい。要は、失火パターン、悪路パターンを好適なパターンとして設定できるのであれば、定数A〜Fをどのように算出、若しくは設定するようにしてもよい。
・上記実施形態では、検出カウンタ(1000revカウンタ)によって総検出回数を、失火カウンタによって失火発生の検出回数をそれぞれカウントすることで、失火発生の検出頻度を求めるようにしたが、これら頻度の求め方も任意である。
・上記実施形態では、回転変動量を上記(1)式から算出するようにしたが、これに限られない。要は、失火発生に伴うエンジン回転速度の変動を把握することが可能な態様であれば、回転変動量の算出態様を適宜変更してもよい。
・上記実施形態では、クランク角度の位相が360°離れた気筒における経過時間の偏差ΔNEを求めるようにしていたが、この偏差ΔNEを求めるために対比される気筒はこれに限るものではない。また、上記偏差ΔNEの演算に用いる経過時間T1〜T4を求めるためのクランクシャフト10の回転角度も30°に限らず任意の角度が設定可能である。
実施形態に係る失火判定装置が適用されるエンジンおよびその周辺装置の概略構成を示す図である。 実施形態に係る車両のパワートレーンを示す概略構成図である。 トルクコンバータの概略構成を模式的に示す自動変速機の概略構成図である。 エンジン制御装置およびトランスミッション制御装置を含む制御ブロックを示す概略構成図である。 ロックアップクラッチの制御に用いるロックアップクラッチ作動マップを示す図である。 非ロックアップ状態で使用される第1の回転変動パターンの一例を示す図である。 ロックアップ状態およびフレックスロックアップ状態で使用される第2の回転変動パターンの一例を示す図である。 失火判定処理動作の手順の一部を示すフローチャート図である。 失火判定処理動作の手順の他の一部を示すフローチャート図である。 悪路走行時における回転変動量の変化パターンの一例を示す図である。
符号の説明
1 エンジン(内燃機関)
50 自動変速機
53 トルクコンバータ(流体式動力伝達装置)
53f ロックアップクラッチ
54 変速機構部
N1 閾値
♯1 第1気筒(1点火前気筒)
♯2 第2気筒(2点火後気筒)
♯3 第3気筒(失火判定対象気筒)
♯4 第4気筒(1点火後気筒)

Claims (6)

  1. ロックアップクラッチを有する流体式動力伝達装置を介して変速機に連結された内燃機関の回転変動量が所定の閾値を超えたときに失火が生じている可能性があると判断し、内燃機関の回転変動パターンが失火発生時に特有のパターンであるか否かを判定することによって失火判定を行う内燃機関の失火判定装置において、
    上記ロックアップクラッチの非ロックアップ状態において、内燃機関の回転変動パターンが、非ロックアップ状態での失火発生時に特有の第1の回転変動パターンに沿っているか否かによって失火判定動作を行うと共に、上記ロックアップクラッチのロックアップ状態において、内燃機関の回転変動パターンが、ロックアップ状態での失火発生時に特有の第2の回転変動パターンに沿っているか否かによって失火判定動作を行う失火判定手段を備えており、
    上記第2の回転変動パターンは、第1の回転変動パターンに比べて、回転変動の変化が小さいものとして規定されていることを特徴とする内燃機関の失火判定装置。
  2. 上記請求項1記載の内燃機関の失火判定装置において、
    上記失火判定手段は、ロックアップクラッチがロックアップ状態にある場合において、変速機の変速段が、上記内燃機関と変速機との共振が発生する可能性のある特定の変速段にある場合にのみ、上記第2の回転変動パターンに基づいた失火判定動作を行うよう構成されていることを特徴とする内燃機関の失火判定装置。
  3. 上記請求項1または2記載の内燃機関の失火判定装置において、
    上記失火判定手段は、ロックアップクラッチがロックアップ状態にある場合において、内燃機関の回転変動量が所定の閾値を超えたことで失火が生じている可能性があると判断された場合に、その失火が生じている可能性があると判断された気筒が、過去の燃焼行程においても回転変動量が所定の閾値を超えていた場合に、この気筒に対する上記第2の回転変動パターンに基づいた失火判定動作を行うよう構成されていることを特徴とする内燃機関の失火判定装置。
  4. 上記請求項1、2または3記載の内燃機関の失火判定装置において、
    上記失火判定手段は、ロックアップクラッチがロックアップ状態にある場合において、内燃機関の回転変動量が所定の閾値を超えたことで失火が生じている可能性があると判断された場合に、その失火判定対象気筒の膨張行程時における回転変動量、この失火判定対象気筒の膨張行程の直前に膨張行程を迎えていた気筒の膨張行程時における回転変動量、および、失火判定対象気筒の膨張行程の直後に膨張行程を迎えた気筒の膨張行程時における回転変動量の変化のパターンと、上記第2の回転変動パターンとを比較することで失火判定動作を行うよう構成されていることを特徴とする内燃機関の失火判定装置。
  5. 上記請求項1〜4のうち何れか一つに記載の内燃機関の失火判定装置において、
    上記第1の回転変動パターンは、失火判定対象気筒の膨張行程の直前に膨張行程を迎えた1点火前気筒の膨張行程時における回転変動量および失火判定対象気筒の膨張行程の直後に膨張行程を迎えた1点火後気筒の膨張行程時における回転変動量に対して、失火判定対象気筒の膨張行程時における回転変動量が所定量以上大きく、且つ上記1点火後気筒の膨張行程の更に直後に膨張行程を迎えた2点火後気筒の膨張行程時における回転変動量が、上記失火判定対象気筒の膨張行程における回転変動量に対して、絶対値が略同一であって正負が逆の値となるパターンとして規定されている一方、
    上記第2の回転変動パターンは、上記1点火前気筒の膨張行程時における回転変動量に対して、失火判定対象気筒の膨張行程時における回転変動量が所定量以上大きく、上記1点火後気筒の膨張行程時における回転変動量と、失火判定対象気筒の膨張行程時における回転変動量との差が所定量以下であって、且つ上記2点火後気筒の膨張行程時における回転変動量が、上記失火判定対象気筒の膨張行程における回転変動量に対して、絶対値が略同一であって正負が逆の値となるパターンとして規定されていることを特徴とする内燃機関の失火判定装置。
  6. 上記請求項1〜4のうち何れか一つに記載の内燃機関の失火判定装置において、
    上記第1の回転変動パターンは、失火判定対象気筒の膨張行程の直前に膨張行程を迎えた1点火前気筒の膨張行程時における回転変動量および失火判定対象気筒の膨張行程の直後に膨張行程を迎えた1点火後気筒の膨張行程時における回転変動量に対して、失火判定対象気筒の膨張行程時における回転変動量が所定量以上大きく、且つ上記1点火後気筒の膨張行程の更に直後に膨張行程を迎えた2点火後気筒の膨張行程時における回転変動量が、上記失火判定対象気筒の膨張行程における回転変動量に対して、絶対値が略同一であって正負が逆の値となるパターンとして規定されている一方、
    上記第2の回転変動パターンは、上記1点火前気筒の膨張行程時における回転変動量と、失火判定対象気筒の膨張行程時における回転変動量との差が所定量以下であって、上記1点火後気筒の膨張行程時における回転変動量に対して、失火判定対象気筒の膨張行程時における回転変動量が所定量以上大きく、且つ上記2点火後気筒の膨張行程時における回転変動量が、上記失火判定対象気筒の膨張行程における回転変動量に対して、絶対値が略同一であって正負が逆の値となるパターンとして規定されていることを特徴とする内燃機関の失火判定装置。
JP2008181920A 2008-07-09 2008-07-11 内燃機関の失火判定装置 Expired - Fee Related JP4572965B2 (ja)

Priority Applications (2)

Application Number Priority Date Filing Date Title
JP2008181920A JP4572965B2 (ja) 2008-07-11 2008-07-11 内燃機関の失火判定装置
US12/500,018 US8281650B2 (en) 2008-07-09 2009-07-09 Misfire determination device and misfire determination method for internal combustion engine

Applications Claiming Priority (1)

Application Number Priority Date Filing Date Title
JP2008181920A JP4572965B2 (ja) 2008-07-11 2008-07-11 内燃機関の失火判定装置

Publications (2)

Publication Number Publication Date
JP2010019198A true JP2010019198A (ja) 2010-01-28
JP4572965B2 JP4572965B2 (ja) 2010-11-04

Family

ID=41704346

Family Applications (1)

Application Number Title Priority Date Filing Date
JP2008181920A Expired - Fee Related JP4572965B2 (ja) 2008-07-09 2008-07-11 内燃機関の失火判定装置

Country Status (1)

Country Link
JP (1) JP4572965B2 (ja)

Cited By (4)

* Cited by examiner, † Cited by third party
Publication number Priority date Publication date Assignee Title
JP2011163224A (ja) * 2010-02-10 2011-08-25 Mitsubishi Electric Corp 内燃機関の失火検出装置
JP2014199040A (ja) * 2013-03-29 2014-10-23 本田技研工業株式会社 エンジン制御装置
JP2016183615A (ja) * 2015-03-26 2016-10-20 株式会社豊田自動織機 エンジンの点火装置
JP2017172434A (ja) * 2016-03-23 2017-09-28 マツダ株式会社 エンジンの失火判定装置

Citations (10)

* Cited by examiner, † Cited by third party
Publication number Priority date Publication date Assignee Title
JPH04159438A (ja) * 1990-10-19 1992-06-02 Hitachi Ltd 内燃機関の失火検出法
JPH04171249A (ja) * 1990-11-01 1992-06-18 Nippondenso Co Ltd 車両用内燃機関の失火検出装置
JPH05180063A (ja) * 1991-12-27 1993-07-20 Honda Motor Co Ltd 内燃エンジンの失火検出装置
JPH09287516A (ja) * 1996-04-25 1997-11-04 Mitsubishi Electric Corp 失火検出装置
JPH10331707A (ja) * 1997-05-30 1998-12-15 Nissan Motor Co Ltd エンジンの失火診断装置
JP2000120488A (ja) * 1998-10-16 2000-04-25 Aisan Ind Co Ltd 失火検出装置
JP2003510502A (ja) * 1999-09-24 2003-03-18 ロベルト・ボッシュ・ゲゼルシャフト・ミト・ベシュレンクテル・ハフツング 燃焼ミスファイヤ検出方法およびそのための電子式診断装置
JP2004293350A (ja) * 2003-03-26 2004-10-21 Hitachi Ltd 内燃機関の燃焼状態検出装置
JP2006152971A (ja) * 2004-12-01 2006-06-15 Toyota Motor Corp 内燃機関の失火判定装置
JP2007198296A (ja) * 2006-01-27 2007-08-09 Toyota Motor Corp 失火判定装置、ハイブリッド自動車及び失火判定方法

Patent Citations (10)

* Cited by examiner, † Cited by third party
Publication number Priority date Publication date Assignee Title
JPH04159438A (ja) * 1990-10-19 1992-06-02 Hitachi Ltd 内燃機関の失火検出法
JPH04171249A (ja) * 1990-11-01 1992-06-18 Nippondenso Co Ltd 車両用内燃機関の失火検出装置
JPH05180063A (ja) * 1991-12-27 1993-07-20 Honda Motor Co Ltd 内燃エンジンの失火検出装置
JPH09287516A (ja) * 1996-04-25 1997-11-04 Mitsubishi Electric Corp 失火検出装置
JPH10331707A (ja) * 1997-05-30 1998-12-15 Nissan Motor Co Ltd エンジンの失火診断装置
JP2000120488A (ja) * 1998-10-16 2000-04-25 Aisan Ind Co Ltd 失火検出装置
JP2003510502A (ja) * 1999-09-24 2003-03-18 ロベルト・ボッシュ・ゲゼルシャフト・ミト・ベシュレンクテル・ハフツング 燃焼ミスファイヤ検出方法およびそのための電子式診断装置
JP2004293350A (ja) * 2003-03-26 2004-10-21 Hitachi Ltd 内燃機関の燃焼状態検出装置
JP2006152971A (ja) * 2004-12-01 2006-06-15 Toyota Motor Corp 内燃機関の失火判定装置
JP2007198296A (ja) * 2006-01-27 2007-08-09 Toyota Motor Corp 失火判定装置、ハイブリッド自動車及び失火判定方法

Cited By (4)

* Cited by examiner, † Cited by third party
Publication number Priority date Publication date Assignee Title
JP2011163224A (ja) * 2010-02-10 2011-08-25 Mitsubishi Electric Corp 内燃機関の失火検出装置
JP2014199040A (ja) * 2013-03-29 2014-10-23 本田技研工業株式会社 エンジン制御装置
JP2016183615A (ja) * 2015-03-26 2016-10-20 株式会社豊田自動織機 エンジンの点火装置
JP2017172434A (ja) * 2016-03-23 2017-09-28 マツダ株式会社 エンジンの失火判定装置

Also Published As

Publication number Publication date
JP4572965B2 (ja) 2010-11-04

Similar Documents

Publication Publication Date Title
US8281650B2 (en) Misfire determination device and misfire determination method for internal combustion engine
CN102400793B (zh) 利用凸轮轴位置感测进行气门操作监测的发动机控制
US7562650B2 (en) Start-up control apparatus for an internal combustion engine
CN101163874B (zh) 用于内燃机的断火检测设备
JP2006152971A (ja) 内燃機関の失火判定装置
JP2010196810A (ja) 車両用駆動装置の制御装置
KR20070097117A (ko) 내연 엔진용 제어 장치
JP4572965B2 (ja) 内燃機関の失火判定装置
JP5305043B2 (ja) エンジンの燃焼状態検出装置
JP4577423B2 (ja) 内燃機関の失火判定装置
JP4872971B2 (ja) 内燃機関の失火検出装置
CN106321263B (zh) 发动机控制装置和发动机控制方法
US10851729B2 (en) Determination criterion for engine torque control device and method
JP4572962B2 (ja) 内燃機関の失火判定装置
JP3794197B2 (ja) エンジンの燃料噴射制御装置
JP2008286167A (ja) 多気筒内燃機関の制御装置
US8423227B2 (en) Monitoring apparatus and method
JP2013117206A (ja) 車両用内燃機関の制御装置
JP4949491B2 (ja) 内燃機関の失火検出装置
JP4811305B2 (ja) 車両用エンジンの自動停止装置
JP5488142B2 (ja) 車両の制御装置
JP2007107458A (ja) 内燃機関の制御装置
JP5803787B2 (ja) 内燃機関の制御装置
JP2007154707A (ja) 変速機搭載車用内燃機関の制御装置
CN120444146A (zh) 用于排气传感器监测的系统和方法

Legal Events

Date Code Title Description
A977 Report on retrieval

Free format text: JAPANESE INTERMEDIATE CODE: A971007

Effective date: 20100430

A131 Notification of reasons for refusal

Free format text: JAPANESE INTERMEDIATE CODE: A131

Effective date: 20100511

A521 Written amendment

Free format text: JAPANESE INTERMEDIATE CODE: A523

Effective date: 20100621

RD02 Notification of acceptance of power of attorney

Free format text: JAPANESE INTERMEDIATE CODE: A7422

Effective date: 20100621

TRDD Decision of grant or rejection written
A01 Written decision to grant a patent or to grant a registration (utility model)

Free format text: JAPANESE INTERMEDIATE CODE: A01

Effective date: 20100720

A01 Written decision to grant a patent or to grant a registration (utility model)

Free format text: JAPANESE INTERMEDIATE CODE: A01

A61 First payment of annual fees (during grant procedure)

Free format text: JAPANESE INTERMEDIATE CODE: A61

Effective date: 20100802

R151 Written notification of patent or utility model registration

Ref document number: 4572965

Country of ref document: JP

Free format text: JAPANESE INTERMEDIATE CODE: R151

FPAY Renewal fee payment (event date is renewal date of database)

Free format text: PAYMENT UNTIL: 20130827

Year of fee payment: 3

LAPS Cancellation because of no payment of annual fees