JP2010019161A - 車両用エンジンの燃料噴射制御装置 - Google Patents

車両用エンジンの燃料噴射制御装置 Download PDF

Info

Publication number
JP2010019161A
JP2010019161A JP2008180297A JP2008180297A JP2010019161A JP 2010019161 A JP2010019161 A JP 2010019161A JP 2008180297 A JP2008180297 A JP 2008180297A JP 2008180297 A JP2008180297 A JP 2008180297A JP 2010019161 A JP2010019161 A JP 2010019161A
Authority
JP
Japan
Prior art keywords
fuel injection
injection timing
vehicle engine
speed
vehicle speed
Prior art date
Legal status (The legal status is an assumption and is not a legal conclusion. Google has not performed a legal analysis and makes no representation as to the accuracy of the status listed.)
Granted
Application number
JP2008180297A
Other languages
English (en)
Other versions
JP4963491B2 (ja
Inventor
Takeshi Kishimoto
岳 岸本
Seigaku Tanizawa
清岳 谷澤
Minoru Toyoshima
実 豊島
Takahiro Hayashi
孝宏 林
Current Assignee (The listed assignees may be inaccurate. Google has not performed a legal analysis and makes no representation or warranty as to the accuracy of the list.)
Toyota Industries Corp
Toyota Motor Corp
Original Assignee
Toyota Industries Corp
Toyota Motor Corp
Priority date (The priority date is an assumption and is not a legal conclusion. Google has not performed a legal analysis and makes no representation as to the accuracy of the date listed.)
Filing date
Publication date
Application filed by Toyota Industries Corp, Toyota Motor Corp filed Critical Toyota Industries Corp
Priority to JP2008180297A priority Critical patent/JP4963491B2/ja
Publication of JP2010019161A publication Critical patent/JP2010019161A/ja
Application granted granted Critical
Publication of JP4963491B2 publication Critical patent/JP4963491B2/ja
Expired - Fee Related legal-status Critical Current
Anticipated expiration legal-status Critical

Links

Images

Classifications

    • YGENERAL TAGGING OF NEW TECHNOLOGICAL DEVELOPMENTS; GENERAL TAGGING OF CROSS-SECTIONAL TECHNOLOGIES SPANNING OVER SEVERAL SECTIONS OF THE IPC; TECHNICAL SUBJECTS COVERED BY FORMER USPC CROSS-REFERENCE ART COLLECTIONS [XRACs] AND DIGESTS
    • Y02TECHNOLOGIES OR APPLICATIONS FOR MITIGATION OR ADAPTATION AGAINST CLIMATE CHANGE
    • Y02TCLIMATE CHANGE MITIGATION TECHNOLOGIES RELATED TO TRANSPORTATION
    • Y02T10/00Road transport of goods or passengers
    • Y02T10/10Internal combustion engine [ICE] based vehicles
    • Y02T10/40Engine management systems

Landscapes

  • Control Of Vehicle Engines Or Engines For Specific Uses (AREA)
  • Electrical Control Of Air Or Fuel Supplied To Internal-Combustion Engine (AREA)
  • Combined Controls Of Internal Combustion Engines (AREA)

Abstract

【課題】高車速時に低燃費化の要求を満たす上で燃料噴射時期の最適化を図ることができるディーゼルエンジンの電子制御装置を提供する。
【解決手段】車室内騒音がマスキング音となって燃料の燃焼音がマスクされる高車速時(ST3)に、高車速時における変速段毎に異なる燃料噴射時期の補正値を記したマップから該当する変速段のマップをメモリから選択し、この該当する変速段のマップにおいて現在のエンジン回転数NEおよびアクセル操作量ACCPに合致する補正値を読み込んだ(ST4)後、高車速時における燃料噴射時期T_eabseの基準値T_abseに対し変速段に応じた補正値T_asftを加味して燃料噴射時期T_eabseを進角側に補正する(ST5)。
【選択図】図4

Description

この発明は、燃料の噴射時期を制御するようにした車両用エンジンの燃料噴射制御装置に関する。
従来より、このような車両用エンジンの燃料噴射制御装置においては、エンジン回転数と吸入空気量やアクセルペダルの踏込量といったエンジン負荷とに基づいて燃料噴射時期が決定されている(例えば、特許文献1参照)。
特開2008−121539号公報
ところで、近年より、環境規制が厳しくなるに伴い、車両用エンジンの低車速時(例えば、100km/h未満の車速時)における低燃費化および低排出ガス化への要求は年々厳しくなっており、これに加えて車両用エンジンの低車速時における低燃焼騒音化といった要求もある。このように、車両用エンジンの低車速時においては、低燃費化、低排出ガス化および低燃焼騒音化の要求を満たす必要があるものの、車両用エンジンの高車速時(例えば、100km/hを超えるような車速時)においては、ロードノイズや風切音といった車両の走行に伴って生じる車室内騒音が大きくなるため、低燃焼騒音化の要求が妥協される傾向にあり、低燃費化がユーザにとっては第1の要求となるのが現状である。
その場合、上記従来のものでは、エンジン回転数とエンジン負荷とに基づいて燃料噴射時期を決定しているが、低車速時の燃料噴射時期を決定する要素に燃焼騒音が含まれている。しかし、高車速時に低燃焼騒音化の要求が妥協される傾向にあることから、高車速時において燃焼騒音を気にすることなく低燃費化の要求を満たす上で、燃料噴射時期の最適化を図るには変更の余地があった。
本発明は、かかる点に鑑みてなされたものであり、その目的とするところは、高車速時における低燃費化の要求を満たす上で燃料噴射時期の最適化を図ることができる車両用エンジンの燃料噴射制御装置を提供することにある。
上記目的を達成するため、本発明では、燃料の噴射時期を制御するようにした車両用エンジンの燃料噴射制御装置を前提とする。そして、上記車両用エンジンの燃焼騒音が問題とならない高車速時、例えば互いに減速比の異なる複数の変速段のうちの減速比の大きい側の変速段での走行時、または車速が100km/h以上での走行時に、上記車両用エンジンの燃料噴射時期を進角側に補正している。
この特定事項により、低燃焼騒音化の要求が妥協される高車速時に車両用エンジンの燃料噴射時期が進角側に補正されるので、高車速時における燃料の燃焼速度を増大させて燃焼効率が高められ、高車速時の低燃費化の要求が満たされることになる。これによって、高車速時に低燃費化の要求を満たした燃料噴射時期の最適化を図ることが可能となる。
特に、上記車両用エンジンの高車速時における燃料噴射時期を特定するものとして、以下の構成が掲げられる。つまり、上記車両用エンジンの高車速時における燃料噴射時期を、上記車両用エンジンの高車速時における変速段毎に異なる燃料噴射時期の補正値に基づいて進角側に補正している。
この特定事項により、高車速時における燃料噴射時期は、予め保有されている、高車速時の変速段毎に異なる燃料噴射時期の補正値に基づいて、進角側に補正されるので、変速段とエンジン回転数とから高車速であることが算出されると、その高車速に応じた変速段毎の燃料噴射時期の補正値に基づいて燃料噴射時期が進角側に補正されることになり、燃料噴射時期を進角側に補正する際の演算負荷容量を軽減することが可能となる。
また、上記車両用エンジンの高車速時における燃料噴射時期を、上記車両用エンジンのあらゆる車速域における変速段に応じた燃料噴射時期の基準値に対し上記変速段に応じた燃料噴射時期の補正値を加味することによって進角側に補正している場合には、高車速時における燃料噴射時期は、予め保有されている、車両用エンジンのあらゆる車速域における変速段に応じた燃料噴射時期の基準値に対し、上記変速段に応じた燃料噴射時期の補正値を加味することによって、燃料噴射時期が進角側に補正されることになり、燃料噴射時期を進角側に補正する際の演算負荷容量をさらに軽減することが可能となる。
更に、上記車両用エンジンの高車速時における変速段毎の燃料噴射時期の補正値による補正を、上記車両用エンジンの高車速時に時間同期させることによって行っている場合には、高車速時における変速段毎の燃料噴射時期の補正値による補正を、クランク軸の角度と同期させることによって行う場合に比して、単位時間当たりの演算負荷を低減させることが可能となる。
以上、要するに、低燃焼騒音化の要求が妥協される高車速時に車両用エンジンの燃料噴射時期を進角側に補正することで、高車速時に燃料の燃焼速度を増大させた燃焼効率の向上を可能にし、よって、高車速時に低燃費化の要求を満たした燃料噴射時期の最適化を図ることができる。
以下、本発明に係るディーゼルエンジンの燃料噴射制御装置を、車両に搭載された蓄圧式ディーゼルエンジン(コモンレール式ディーゼルエンジン)に適用した実施形態について、図1〜図4に基づいて説明する。
図1に、本実施形態におけるディーゼルエンジン1とその周辺構成を示す。
ディーゼルエンジン1は、複数の気筒11を有して構成されている。このディーゼルエンジン1には、各気筒11の燃焼室に対応してインジェクタ12がそれぞれ配設されており、同インジェクタ12から各気筒11の燃焼室内に燃料が噴射される。また、インジェクタ12は、噴射制御用の電磁弁13を備えており、この電磁弁13の開閉動作に基づいてインジェクタ12による燃料噴射が制御される。そして、インジェクタ12から噴射された燃料が燃焼されることにより、クランクシャフトが回転される。
このクランクシャフトには、互いに減速比の異なる6つの変速段を有する自動変速機5が接続されている。同クランクシャフトの回転は該自動変速機5によって変速され、その変速後の回転が駆動輪に伝達される。
上記各インジェクタ12は、コモンレール14にそれぞれ接続されている。コモンレール14は、逆止弁15が設けられた供給配管16を介してサプライポンプ17の吐出ポート17aに接続されている。
サプライポンプ17の吸入ポート17bは、フィルタ18を介して燃料タンク21に接続されている。また、サプライポンプ17のリターンポート17cおよび電磁弁13のリターンポート13aは、いずれもリターン配管22を介して燃料タンク21に接続されている。
上記サプライポンプ17は、ディーゼルエンジン1のクランクシャフトの回転に同期して往復動するプランジャを備えており、同プランジャによってサプライポンプ17内の燃料を加圧し、その加圧された燃料を吐出ポート17aからコモンレール14に圧送する。このサプライポンプ17の燃料圧送量は、吐出ポート17aの近傍に設けられたプレッシャコントロールバルブ23の開閉動作に基づいて調節される。
ディーゼルエンジン1には、その運転状態を検出する各種センサ等が設けられている。例えば、アクセルペダル24の近傍には、同アクセルペダル24の踏込量(アクセル操作量ACCP)を検出するアクセルセンサ31が設けられている。この場合、アクセルセンサ31により検出されたアクセル操作量ACCPによってエンジン負荷が得られる。
また、コモンレール14には、その内部の燃料圧力PCを検出する燃圧センサ32が設けられている。自動変速機5、あるいは車両の車輪等には車速SPDを検出する車速センサ33が設けられている。また、上記クランクシャフト近傍に設けられたクランク角センサ34によってクランクシャフトの回転角度、すなわちクランク角度が検出され、この検出信号に基づいてエンジン回転数NEが算出される。さらに、クランクシャフトの回転に同期して回転するカムシャフトの近傍にはカム角センサ35が設けられている。このカム角センサ35の検出信号に基づいて気筒判別がなされる。
これら各センサ31〜35の出力信号は、ディーゼルエンジン1の燃料噴射制御装置としての電子制御装置41に入力される。この電子制御装置41は、CPU(中央演算装置)、メモリ、入出力回路、駆動回路等を備えて構成されており、上記各センサ31〜35にて検出される機関運転状態に基づいて各種の機関制御等を実行する。
例えば、電子制御装置41は、自動変速機5の自動変速制御を行う。この自動変速制御では、エンジン回転数NEおよび車速SPD等に基づいて変速指令値SHIが算出される。この変速指令値SHIは、自動変速機5内の変速段に対応した値であり、例えば同変速指令値SHIが「1速」とされるときには、自動変速機5内の変速段が「1速」となるように、該自動変速機5内の変速機構は制御される。そして、変速指令値SHIにて示される変速段に自動変速機5内の変速段が変更されることにより、クランクシャフトの回転は車両の走行状態に応じた減速比にて減速、或いは増速される。この場合、車速SPDは、エンジン回転数NEおよび変速段(変速指令値SHI)によっても算出される。
そして、電子制御装置41により燃料噴射制御が行われる。この燃料噴射制御では、基本的に、アクセル操作量ACCPおよびエンジン回転数NE等に基づいて、燃料噴射量(以下、総燃料噴射量Qfinという)および燃料噴射時期(以下、燃料噴射時期T_eabseという)が算出され、その総燃料噴射量Qfinを適切な燃料噴射時期T_eabseにインジェクタ12から噴射させるべく、上記電磁弁13の開弁時期および開弁時間が制御される。この場合、電子制御装置41は、図2に示すように、あらゆる車速域における変速段に応じた燃料噴射時期T_eabseの基準値T_abseを記したマップをメモリに保有している。
また、ディーゼルエンジン1では、パイロット噴射が行われている。このパイロット噴射は、エンジン出力を得るための燃料噴射であるメイン噴射に先立って行われる少量の燃料噴射であり、このパイロット噴射で噴射された燃料は、その後行われるメイン噴射で噴射される燃料の燃焼速度を低下させる効果がある。すなわち、メイン噴射で噴射された燃料の急激な燃焼を抑制する効果がある。また、同効果によりメイン噴射で噴射された燃料の燃焼温度も低下するようになるため、これによりNOx(窒素酸化物)の生成も抑制される。
ところで、近年の環境規制の激化に伴い、車両用エンジンの低車速時(例えば、100km/h未満の車速時)における低燃費化および低排出ガス化への要求は年々厳しくなっており、これに加えて車両用エンジンの低車速時における低燃焼騒音化といった要求もある。かかる点から、車両用エンジンの低車速時においては、低燃費化、低排出ガス化および低燃焼騒音化の要求を満たす必要があるものの、車両用エンジンの高車速時においては、ロードノイズや風切音といった車両の走行に伴って生じる車室内騒音が大きくなり、この車室内騒音がマスキング音となって燃料の燃焼音はマスクされるため、低燃焼騒音化の要求が妥協される傾向にある。このため、高車速時においては低燃費化がユーザにとっては第1の要求となるのが現状であった。
その場合、本実施形態では、エンジン回転数NEとアクセル操作量ACCP(エンジン負荷)とに基づいて燃料噴射時期T_eabseの基準値T_abseが決定されているが、この基準値T_abseを決定するに当たり、低車速時の燃焼騒音といった要素が含まれている。しかし、高車速時に低燃焼騒音化の要求が妥協される傾向にあることから、高車速時において燃焼騒音を気にせず低燃費化の要求を満たす上で燃料噴射時期T_eabseの最適化を図るには変更の余地があった。
かかる点から、本実施形態では、電子制御装置41は、図3に示すように、高車速時における変速段(具体的には、互いに減速比の異なる6つの変速段のうちの減速比の大きい側となる4速以上の変速段)毎に異なる燃料噴射時期T_eabseの補正値T_asftを記したマップ(図3では4速での燃料噴射時期T_eabseの補正値T_asftを記したマップのみ示す)をメモリに保有しており、この高車速時における変速段に応じたマップの補正値T_asftに基づいて、高車速時における燃料噴射時期T_eabseの基準値T_abseを進角側に補正、詳しくは、高車速時における燃料噴射時期T_eabseの基準値T_abseに対し変速段に応じた補正値T_asftを加味、つまり基準値T_abseから補正値T_asftを減算して、燃料噴射時期T_eabseを進角側に補正している。このとき、高車速時における変速段毎の燃料噴射時期T_eabseの補正値T_asftによる補正は、高車速時に所定時間毎(例えば、16ms毎)に時間同期させることによって行われている。
一方、パイロット噴射を行う場合には、メイン噴射で噴射された燃料の燃焼が緩慢になるために筒内圧等の増大も緩慢となり、その分燃焼効率は低下してしまう。従って、パイロット噴射を行うと燃焼音等についてはこれを抑制することができるものの、燃費(単位出力・単位時間当たりの燃料消費率)については悪化することになる。そのため、本実施形態では、高車速時にパイロット噴射を制限しても燃焼音は聞こえにくくなることから、高車速時には、燃料噴射時期T_eabseの進角側への補正に加えてパイロット噴射を制限し、パイロット噴射による燃費の悪化も抑制するようにしている。
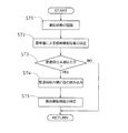
ここで、電子制御装置41による高車速時の燃料噴射時期T_eabseの最適化を図る制御の流れを図4のフローチャートに沿って説明する。
まず、図4のフローチャートのステップST1において、現在の自動変速機5の変速段、エンジン回転数NE、およびアクセル操作量ACCPに基づいて、ディーゼルエンジン1の運転状態を認識する。
次いで、ステップST2において、エンジン回転数NEとアクセル操作量ACCPとに基づいて燃料噴射時期T_eabseの基準値T_abseを決定する。
その後、ステップST3において、現在の自動変速機5の変速段が4速以上であるか否かを判定する。このステップST3の判定が、4速以上の高車速時であるYESの場合には、ステップST4において、高車速時における変速段毎に異なる燃料噴射時期T_eabseの補正値T_asftを記したマップから該当する変速段のマップ(例えば4速のマップ)をメモリから選択し、この該当する変速段のマップにおいて現在の運転状態、つまりエンジン回転数NEおよびアクセル操作量ACCPに合致する補正値T_asftを読み込んだ後、ステップST5に進む。
一方、上記ステップST3の判定が、3速以下の低車速時であるNOの場合には、基準値T_abse通りの燃料噴射時期T_eabseで燃料噴射を行う。
そして、ステップST5において、高車速時における燃料噴射時期T_eabseの基準値T_abseを補正する。具体的には、高車速時における燃料噴射時期T_eabseの基準値T_abseに対し変速段に応じた補正値T_asftを加味(T_abse−T_asft)して燃料噴射時期T_eabseを進角側に補正する。このとき、パイロット噴射量を制限する。
このように、低燃焼騒音化の要求が妥協される高車速時にディーゼルエンジン1の燃料噴射時期T_eabseは、予めメモリに保有されている、高車速時の変速段毎に異なる燃料噴射時期T_eabseの補正値T_asftに基づいて、進角側に補正されるので、高車速時における燃料の燃焼速度を増大させて燃焼効率が高められ、高車速時の低燃費化の要求が満たされることになる。これによって、高車速時に低燃費化の要求を満たした燃料噴射時期T_eabseの最適化を図ることができる。
その上、高車速時には、燃料噴射時期T_eabseの進角側への補正に加えてパイロット噴射が制限され、パイロット噴射による燃費の悪化も抑制されているので、高車速時の低燃費化を高い次元で達成することができる。
しかも、現在の変速段とエンジン回転数NEとから高車速であることが算出されると、その高車速に応じた変速段毎の燃料噴射時期T_eabseの補正値T_asftに基づいて燃料噴射時期T_eabseが進角側に補正される上、その高車速時における燃料噴射時期T_eabseは、予めメモリに保有されている、車両用エンジンのあらゆる車速域における変速段に応じた燃料噴射時期T_eabseの基準値T_abseに対し、高車速時の変速段に応じた燃料噴射時期T_eabseの補正値T_asftを加味することによって、燃料噴射時期T_eabseが進角側に補正されることになり、燃料噴射時期T_eabseを進角側に補正する際の演算負荷容量を大幅に軽減することができる。
更に、高車速時における変速段毎の燃料噴射時期T_eabseの補正値T_asftによる補正が、高車速時に所定時間毎(例えば、16ms毎)に時間同期させることによって行われているので、高車速時における変速段毎の燃料噴射時期T_eabseの補正値T_asftによる補正を、クランクシャフトの角度と同期させることによって行う場合に比して、単位時間当たりの演算負荷を低減させることができる。
なお、本発明は、上記実施形態に限定されるものではなく、その他種々の変形例を包含している。例えば、上記実施形態では、高車速時に燃料噴射時期T_eabseの基準値T_abseを補正値T_asftに基づき進角側に補正するのと相俟ってパイロット噴射も制限するようにしたが、高車速時に燃料噴射時期の基準値が補正値に基づいて進角側に補正されることのみ行われるようにしてもよい。また、排気通路に排出される排気ガスの一部を排気ガス還流通路を介して吸気通路に還流ガス(EGRガス)として再循環させる排気ガス再循環装置を備えている場合に、高車速時に燃料噴射時期の基準値を補正値に基づき進角側に補正するのと相俟って吸気通路への還流ガスの再循環量を減らすことで、高車速時の低燃費化を図るようにしてもよい。
また、上記実施形態では、高車速時の変速段毎に異なる燃料噴射時期T_eabseの補正値T_asftをエンジン回転数NEとアクセル操作量ACCPとから得るようにしたが、車速センサからの出力値によって高車速時の変速段毎に異なる燃料噴射時期の補正値が得られるようにしてもよい。
また、上記実施形態では、あらゆる車速域における変速段に応じた燃料噴射時期T_eabseの基準値T_abseを記したマップと、高車速時における変速段毎に異なる燃料噴射時期T_eabseの補正値T_asftを記したマップとを保有し、高車速時における燃料噴射時期T_eabseの基準値T_abseに対し変速段に応じた補正値T_asftを加味して燃料噴射時期T_eabseを進角側に補正したが、高車速時における燃料噴射時期の基準値に対し補正値を予め加味した燃料噴射時期の進角側への変更値(基準値を補正した値)が変速段毎に保有されていてもよい。この場合には、高車速時に燃料噴射時期の基準値に補正値を加味する必要がなくなり、演算の負荷を低減させることが可能となる。
また、上記実施形態では、互いに減速比の異なる6つの変速段を有する6段変速の自動変速機5を適用した場合について述べたが、自動変速機が保有する変速段数はこれに限定されるものではなく、例えば、互いに異なる8つの変速段を有する8段変速の自動変速機であってもよい。この場合、高車速時は、8つの変速段のうちの減速比が大きい側となる5速以上の変速段での走行時の場合となる。また、高車速時が、変速段とは関係なく車速が100km/h以上での走行時の場合と規定されていてもよい。
更に、上記実施形態では、ディーゼルエンジン1に適用した場合について述べたが、ガソリンエンジンにも適用できるのはいうまでもない。
本発明の実施形態に係る燃料噴射制御装置を用いたディーゼルエンジンの概略構成を示す概略図である。 あらゆる車速域における変速段に応じた燃料噴射時期の基準値を記したマップを示す概念図である。 高車速時における変速段毎に異なる燃料噴射時期の補正値を記したマップを示す概念図である。 電子制御装置による高車速時の燃料噴射時期の最適化を図る制御の流れを示すフローチャート図である。
符号の説明
1 ディーゼルエンジン(車両用エンジン)
41 電子制御装置(燃料噴射制御装置)
T_eabse 燃料噴射時期
T_abse 基準値
T_asft 補正値

Claims (5)

  1. 燃料の噴射時期を制御するようにした車両用エンジンの燃料噴射制御装置において、
    上記車両用エンジンの燃焼騒音が問題とならない高車速時には、上記車両用エンジンの燃料噴射時期が進角側に補正されることを特徴とする車両用エンジンの燃料噴射制御装置。
  2. 請求項1に記載の車両用エンジンの燃料噴射制御装置において、
    上記車両用エンジンの高車速時における変速段毎に異なる燃料噴射時期の補正値を保有しており、
    上記車両用エンジンの高車速時における燃料噴射時期は、上記変速段に応じた燃料噴射時期の補正値に基づいて進角側に補正されることを特徴とする車両用エンジンの燃料噴射制御装置。
  3. 請求項2に記載の車両用エンジンの燃料噴射制御装置において、
    上記車両用エンジンのあらゆる車速域における変速段に応じた燃料噴射時期の基準値を保有しており、
    上記車両用エンジンの高車速時における燃料噴射時期は、上記変速段に応じた燃料噴射時期の基準値に対し上記変速段に応じた燃料噴射時期の補正値を加味することによって進角側に補正されることを特徴とする車両用エンジンの燃料噴射制御装置。
  4. 請求項2または請求項3に記載の車両用エンジンの燃料噴射制御装置において、
    上記車両用エンジンの高車速時における変速段毎の燃料噴射時期の補正値による補正は、上記車両用エンジンの高車速時に時間同期させることによって行われていることを特徴とする車両用エンジンの燃料噴射制御装置。
  5. 請求項1〜請求項4のいずれか1つに記載の車両用エンジンの燃料噴射量制御装置において、
    上記車両用エンジンの高車速時とは、互いに減速比の異なる複数の変速段のうちの減速比の大きい側の変速段での走行時、または車速が100km/h以上での走行時のことであることを特徴とする車両用エンジンの燃料噴射量制御装置。
JP2008180297A 2008-07-10 2008-07-10 車両用エンジンの燃料噴射制御装置 Expired - Fee Related JP4963491B2 (ja)

Priority Applications (1)

Application Number Priority Date Filing Date Title
JP2008180297A JP4963491B2 (ja) 2008-07-10 2008-07-10 車両用エンジンの燃料噴射制御装置

Applications Claiming Priority (1)

Application Number Priority Date Filing Date Title
JP2008180297A JP4963491B2 (ja) 2008-07-10 2008-07-10 車両用エンジンの燃料噴射制御装置

Publications (2)

Publication Number Publication Date
JP2010019161A true JP2010019161A (ja) 2010-01-28
JP4963491B2 JP4963491B2 (ja) 2012-06-27

Family

ID=41704318

Family Applications (1)

Application Number Title Priority Date Filing Date
JP2008180297A Expired - Fee Related JP4963491B2 (ja) 2008-07-10 2008-07-10 車両用エンジンの燃料噴射制御装置

Country Status (1)

Country Link
JP (1) JP4963491B2 (ja)

Cited By (1)

* Cited by examiner, † Cited by third party
Publication number Priority date Publication date Assignee Title
JP2011163315A (ja) * 2010-02-15 2011-08-25 Toyota Motor Corp 内燃機関の燃焼制御装置

Families Citing this family (1)

* Cited by examiner, † Cited by third party
Publication number Priority date Publication date Assignee Title
KR101755463B1 (ko) * 2015-06-18 2017-07-07 현대자동차 주식회사 차량 연소음 마스킹 제어 장치 및 방법

Citations (2)

* Cited by examiner, † Cited by third party
Publication number Priority date Publication date Assignee Title
JPH02149746A (ja) * 1988-11-30 1990-06-08 Kubota Ltd 作業車両に塔載したディーゼルエンジンの燃料噴射時期制御装置
JP2008038600A (ja) * 2006-08-01 2008-02-21 Toyota Motor Corp 内燃機関の制御装置

Patent Citations (2)

* Cited by examiner, † Cited by third party
Publication number Priority date Publication date Assignee Title
JPH02149746A (ja) * 1988-11-30 1990-06-08 Kubota Ltd 作業車両に塔載したディーゼルエンジンの燃料噴射時期制御装置
JP2008038600A (ja) * 2006-08-01 2008-02-21 Toyota Motor Corp 内燃機関の制御装置

Cited By (1)

* Cited by examiner, † Cited by third party
Publication number Priority date Publication date Assignee Title
JP2011163315A (ja) * 2010-02-15 2011-08-25 Toyota Motor Corp 内燃機関の燃焼制御装置

Also Published As

Publication number Publication date
JP4963491B2 (ja) 2012-06-27

Similar Documents

Publication Publication Date Title
CN101578442B (zh) 燃料喷射控制装置和燃料喷射控制方法
US7621252B2 (en) Method to optimize fuel economy by preventing cylinder deactivation busyness
JP4730122B2 (ja) エンジン制御方法およびエンジン制御システム
JP2009287541A (ja) 内燃機関の制御装置
JP4963491B2 (ja) 車両用エンジンの燃料噴射制御装置
JP4767282B2 (ja) 内燃機関の制御装置
JP4452637B2 (ja) ディーゼルエンジンの燃料噴射制御装置
JP2015036523A (ja) エンジンの排気還流装置のための故障検出装置
JP2010096033A (ja) 内燃機関の制御装置
JP4802879B2 (ja) 内燃機関の制御装置
US9140200B2 (en) Control method of diesel vehicle
JP4305257B2 (ja) 自動適合装置
JP2006322371A (ja) エンジン制御装置、車両制御装置及びエンジン制御方法
JP2007303437A (ja) 内燃機関の制御装置
JP2010101197A (ja) 内燃機関の点火時期制御システム
JP2010071125A (ja) 直接噴射式内燃機関の燃料噴射制御装置
JP5858864B2 (ja) エンジンの制御装置
JP2008019831A (ja) 内燃機関の制御装置
JP2009030566A (ja) 燃料噴射装置の故障診断装置
JP5000592B2 (ja) 内燃機関の燃料噴射制御装置
JP5029627B2 (ja) 内燃機関の制御装置
JP4510704B2 (ja) 内燃機関の燃料噴射制御装置
JP2008038600A (ja) 内燃機関の制御装置
JP2006083737A (ja) 内燃機関の制御装置
JP2016113991A (ja) 内燃機関の制御装置

Legal Events

Date Code Title Description
A621 Written request for application examination

Free format text: JAPANESE INTERMEDIATE CODE: A621

Effective date: 20101013

A131 Notification of reasons for refusal

Free format text: JAPANESE INTERMEDIATE CODE: A131

Effective date: 20111122

A977 Report on retrieval

Free format text: JAPANESE INTERMEDIATE CODE: A971007

Effective date: 20111124

A521 Request for written amendment filed

Free format text: JAPANESE INTERMEDIATE CODE: A523

Effective date: 20111227

RD02 Notification of acceptance of power of attorney

Free format text: JAPANESE INTERMEDIATE CODE: A7422

Effective date: 20111227

A521 Request for written amendment filed

Free format text: JAPANESE INTERMEDIATE CODE: A523

Effective date: 20120111

TRDD Decision of grant or rejection written
A01 Written decision to grant a patent or to grant a registration (utility model)

Free format text: JAPANESE INTERMEDIATE CODE: A01

Effective date: 20120306

A01 Written decision to grant a patent or to grant a registration (utility model)

Free format text: JAPANESE INTERMEDIATE CODE: A01

A61 First payment of annual fees (during grant procedure)

Free format text: JAPANESE INTERMEDIATE CODE: A61

Effective date: 20120323

R151 Written notification of patent or utility model registration

Ref document number: 4963491

Country of ref document: JP

Free format text: JAPANESE INTERMEDIATE CODE: R151

FPAY Renewal fee payment (event date is renewal date of database)

Free format text: PAYMENT UNTIL: 20150406

Year of fee payment: 3

FPAY Renewal fee payment (event date is renewal date of database)

Free format text: PAYMENT UNTIL: 20150406

Year of fee payment: 3

FPAY Renewal fee payment (event date is renewal date of database)

Free format text: PAYMENT UNTIL: 20150406

Year of fee payment: 3

FPAY Renewal fee payment (event date is renewal date of database)

Free format text: PAYMENT UNTIL: 20150406

Year of fee payment: 3

FPAY Renewal fee payment (event date is renewal date of database)

Free format text: PAYMENT UNTIL: 20150406

Year of fee payment: 3

R250 Receipt of annual fees

Free format text: JAPANESE INTERMEDIATE CODE: R250

R250 Receipt of annual fees

Free format text: JAPANESE INTERMEDIATE CODE: R250

R250 Receipt of annual fees

Free format text: JAPANESE INTERMEDIATE CODE: R250

R250 Receipt of annual fees

Free format text: JAPANESE INTERMEDIATE CODE: R250

R250 Receipt of annual fees

Free format text: JAPANESE INTERMEDIATE CODE: R250

R250 Receipt of annual fees

Free format text: JAPANESE INTERMEDIATE CODE: R250

R250 Receipt of annual fees

Free format text: JAPANESE INTERMEDIATE CODE: R250

LAPS Cancellation because of no payment of annual fees