JP2010019047A - 支柱の施工方法 - Google Patents
支柱の施工方法 Download PDFInfo
- Publication number
- JP2010019047A JP2010019047A JP2008182912A JP2008182912A JP2010019047A JP 2010019047 A JP2010019047 A JP 2010019047A JP 2008182912 A JP2008182912 A JP 2008182912A JP 2008182912 A JP2008182912 A JP 2008182912A JP 2010019047 A JP2010019047 A JP 2010019047A
- Authority
- JP
- Japan
- Prior art keywords
- aluminum foil
- thickness
- butyl
- multilayer sheet
- layer
- Prior art date
- Legal status (The legal status is an assumption and is not a legal conclusion. Google has not performed a legal analysis and makes no representation as to the accuracy of the status listed.)
- Granted
Links
Images
Landscapes
- Road Signs Or Road Markings (AREA)
- Refuge Islands, Traffic Blockers, Or Guard Fence (AREA)
Abstract
【解決手段】支柱の地際部に、多層シート10を一巻き貼り付ける。多層シート10は、第1層のブチル系粘着材11と、第2層の樹脂補強フィルム12と、第3層のアルミニウム箔13と、第4層で且つ表層のフッ素樹脂フィルム14とからなる。
【効果】ブチル系粘着材にアルミニウム箔を被せた。アルミニウム箔は太陽光を反射し、特に紫外線を完全に遮断する作用を発揮する。したがって、ブチル系粘着材が紫外線照射により劣化する心配はない。ただし、アルミニウム箔は、寒冷地で路面に散布される塩やその他の排ガス成分により腐食する。そこで、フッ素樹脂フィルムでアルミニウム箔を保護するようにした。この結果、ブチル系粘着材の経年劣化を防止することができ、アルミニウム箔の腐食を防止することができ、支柱の地際部は長期に亘って防錆が図れる。
【選択図】図1
Description
支柱が地面(地表)と交差する部位は「地際」(ちぎわ)と呼ばれる。この地際において支柱が腐食すると、支柱は地際から折れて転倒する。
一方、地際では、見えにくい部位に腐食が進行する傾向にあり、その発見及び対策が遅れがちである。
そこで、地際に主眼をおいた防錆対策が望まれるようになってきた。
図11は従来の支柱の基本構成を説明する図であり、ガードレール100は、支柱101とレール部材102とからなり、支柱101には、地際部103に熱収縮チューブ104が巻かれている。このような支柱101は、補強筋部105にアスファルト、モルタル又はコンクリート106で固定される。
脆くなると、微細な割れが発生し、この割れから雨水がしみ込み、錆が発生するようになる。
そのため、ポリエチレンなどの樹脂フィルムに代わる防錆対策が求められている。
ブチル系粘着材にアルミニウム箔を被せ、このアルミニウム箔にフッ素樹脂フィルムを被せてなる多層シートと、支柱とを準備する工程と、
施工現場又は施工現場の近傍において、前記ブチル系粘着材が支柱に接触するようにして、前記支柱の地際部に前記多層シートを巻き付けるシート巻き付け工程と、
多層シートが巻き付けられたシート付き支柱を、地面に開けた穴に埋設する、又は地面に打ち込む土木工程とからなることを特徴とする。
すなわち、フッ素樹脂フィルムでアルミニウム箔を保護し、アルミニウム箔でブチル系粘着材を保護するようにした。
この結果、ブチル系粘着材の経年劣化を防止することができ、アルミニウム箔の腐食を防止することができ、支柱の地際部は長期に亘って防錆が図れる。
仮に、多層シートを多重巻きすると、巻き付け作業でのコストが嵩み、多層シートの消費量が倍増するため、材料調達コストが嵩む。
この点、本発明では、シートを一巻きするだけであるから、巻き付け作業でのコスト及び材料調達コストを低減させることができる。
全体厚さが1mm前後であるために、支柱に巻き付けても、突出量が小さくなり、支柱の地際部の外観性を良好に保つことができる。
図1は本発明に係る多層シートの断面図であり、多層シート10は、第1層のブチル系粘着材11と、第2層の樹脂補強フィルム12と、第3層のアルミニウム箔13と、第4層で且つ表層のフッ素樹脂フィルム14と、ブチル系粘着材11の下面に貼った剥離紙15とからなる。第2層の樹脂補強フィルム12は必須ではないが、多層シート10の腰が強くなり、折れ曲がりや皺の発生を抑える作用を発揮するため、介在させることが好ましい。各要素の厚さを次に説明する。
第2層の樹脂補強フィルム12は、ポリエチレン系フィルムが採用できる。厚さは80〜130μmが適当であり、100μmが好適である。
多層シート10の厚さ(剥離紙は除く。)は、630〜1260μmが適当であり、975μmが好適である。
また、第2層の樹脂補強フィルムを省いた場合には、多層シートの厚さは、875μm(=975−100)となる。この場合、800μmのブチル系粘着材11は、全体の91%(=100×800μm/875μm)を占める。ブチル系粘着材11の厚さが600μmであれば、この600μmのブチル系粘着材11は、全体の69%(=100×600μm/875μm)を占める。すなわち、ブチル系粘着材の厚さは、多層シートの厚さの70〜90%である。
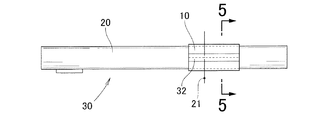
図2は本発明の準備工程を説明する図であり、多層シート10と、支柱20とを準備する。支柱20は、例えば4インチ〜5インチの亜鉛被覆鋼管である。想像線で示す21は地際線である。この地際線21を挟む領域を地際部と呼ぶ。
図4は多層シートが付された支柱を示す図であり、出来上がったシート付き支柱30は、地際線21に被さるようにして、支柱20に多層シート10が巻き付けられている。なお、多層シート10の端部(図面で左右端)に、目地テープを巻くことは望ましい。目地テープは次図で説明する。
図7は本発明の土木工程を説明する図であり、(a)に示すように、地面34に適当な大きさの穴35を掘る。この穴35へ(b)に示すように、シート付き支柱30を立てる。次に、(c)に示すように、穴35へモルタル又はコンクリート36を充填する。シート付き支柱30は多層シート10の約1/4が地上に露出し、残りの約3/4が埋設される。出来上がったシート付き支柱30にレール部材37を取り付けることで、ガードレール38が出来上がる。
木は湿ると雑菌が繁殖して腐食する。コンクリートは塩分による化学変化で劣化する。そのため、鋼、木、コンクリートの何れもが多層シートで保護することが求められる。
本発明の多層シートの保護性能を、確認するために以下に説明する実験を実施した。
本発明に係る実験例を以下に述べる。なお、本発明は実験例に限定されるものではない。
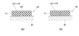
図8は実験サンプルの構造を説明する図であり、(a)に示すように、4.5mm厚さで、縦横寸法が200nmm×60mmであるSS400に亜鉛めっきを施した亜鉛めっき鋼板41を準備する。(b)に示すように、上部に隙間c(c=40mm)が確保でき、下部に隙間d(d=60mm)が確保できるようにして100mm幅の多層シート10を貼り付ける。続いて、この多層シート10にカッターナイフで、切り傷42を入れる。
図9は実験条件を説明する図であり、実験サンプルへ、塩水を0.5時間噴霧する。次に、95%湿度の雰囲気に1.5時間晒す。続いて、50℃の熱風で2時間乾燥させ、更に、30℃の温風で2時間乾燥させる。1サイクルは6時間である。1日当たり4サイクルを連続させ、270日連続させた。
この現象は、ブチル系粘着材11が厚い程顕著に起こる。そこで、本発明は、多層シート10の90%程度をブチル系粘着材11で構成することで、ブチル系粘着材11の厚さを最大限確保するようにした。
そこで、フッ素樹脂フィルム14の厚さは、25μmを中心に、20〜30μmの範囲から厚さを決定することが望ましい。
請求項1〜3では、ブチル系粘着材の厚さが、全体厚さの70〜90%であればよく、ブチル系粘着材の厚さ、アルミニウム箔の厚さ、フッ素樹脂フィルムの厚さは、任意である。
請求項1では、多層シートの巻き数は、ほぼ一巻きの他、二巻き以上であってもよい。
Claims (6)
- 下部を地中に埋設させ、上部を地面から起立させる形式の支柱を施工対象とする支柱の施工方法であって、
ブチル系粘着材にアルミニウム箔を被せ、このアルミニウム箔にフッ素樹脂フィルムを被せてなる多層シートと、支柱とを準備する工程と、
施工現場又は施工現場の近傍において、前記ブチル系粘着材が支柱に接触するようにして、前記支柱の地際部に前記多層シートを巻き付けるシート巻き付け工程と、
多層シートが巻き付けられたシート付き支柱を、地面に開けた穴に埋設する、又は地面に打ち込む土木工程とからなることを特徴とする支柱の施工方法。 - 前記シート巻き付け工程では、前記支柱に前記多層シートをほぼ一巻きすることを特徴とする請求項1記載の支柱の施工方法。
- 前記ブチル系粘着材の厚さは、前記多層シートの厚さの70〜90%であることを特徴とする請求項1又は請求項2記載の支柱の施工方法。
- 前記ブチル系粘着材の厚さは500〜1000μm、前記アルミニウム箔の厚さは30〜100μm、前記フッ素樹脂フィルムの厚さは20〜30μmであることを特徴とする請求項1、請求項2又は請求項3記載の支柱の施工方法。
- 前記ブチル系粘着材と前記アルミニウム箔との間に、樹脂補強フィルムを介在させたことを特徴とする請求項4記載の支柱の施工方法。
- 前記樹脂補強フィルムは、厚さが80〜130μmであるポリエチレン系フィルムであることを特徴とする請求項5記載の支柱の施工方法。
Priority Applications (1)
| Application Number | Priority Date | Filing Date | Title |
|---|---|---|---|
| JP2008182912A JP5078786B2 (ja) | 2008-07-14 | 2008-07-14 | 支柱の施工方法 |
Applications Claiming Priority (1)
| Application Number | Priority Date | Filing Date | Title |
|---|---|---|---|
| JP2008182912A JP5078786B2 (ja) | 2008-07-14 | 2008-07-14 | 支柱の施工方法 |
Publications (2)
| Publication Number | Publication Date |
|---|---|
| JP2010019047A true JP2010019047A (ja) | 2010-01-28 |
| JP5078786B2 JP5078786B2 (ja) | 2012-11-21 |
Family
ID=41704213
Family Applications (1)
| Application Number | Title | Priority Date | Filing Date |
|---|---|---|---|
| JP2008182912A Active JP5078786B2 (ja) | 2008-07-14 | 2008-07-14 | 支柱の施工方法 |
Country Status (1)
| Country | Link |
|---|---|
| JP (1) | JP5078786B2 (ja) |
Cited By (4)
| Publication number | Priority date | Publication date | Assignee | Title |
|---|---|---|---|---|
| JP2012012924A (ja) * | 2010-05-31 | 2012-01-19 | Kazuo Suginaka | 地中埋設用金属支柱 |
| JP2019031805A (ja) * | 2017-08-07 | 2019-02-28 | Jfe建材株式会社 | 支柱構造物 |
| JP2023124363A (ja) * | 2022-02-25 | 2023-09-06 | 株式会社イノアック住環境 | 発泡体充填鋼管 |
| JP7419594B1 (ja) | 2023-06-15 | 2024-01-22 | 株式会社マイスターズインク | ガードレールの保護方法及び保護装置 |
Citations (5)
| Publication number | Priority date | Publication date | Assignee | Title |
|---|---|---|---|---|
| JP2000303722A (ja) * | 1999-04-20 | 2000-10-31 | Urashima Kenzai Kk | 金属製支柱の埋設部の腐蝕防止構造 |
| JP2005068953A (ja) * | 2003-08-28 | 2005-03-17 | Nippon Steel Corp | 鋼製基礎構造 |
| JP2006132128A (ja) * | 2004-11-04 | 2006-05-25 | Nippon Steel Corp | 埋設地際部の腐食防御性を有する鋼製柱 |
| JP2007169897A (ja) * | 2005-12-19 | 2007-07-05 | Token Housing:Kk | 道路付設構造物、塗布方法 |
| JP2007303232A (ja) * | 2006-05-15 | 2007-11-22 | Line Kikaku Kogyo Kk | 道路照明灯等の構造物の地際部の防食工法 |
-
2008
- 2008-07-14 JP JP2008182912A patent/JP5078786B2/ja active Active
Patent Citations (5)
| Publication number | Priority date | Publication date | Assignee | Title |
|---|---|---|---|---|
| JP2000303722A (ja) * | 1999-04-20 | 2000-10-31 | Urashima Kenzai Kk | 金属製支柱の埋設部の腐蝕防止構造 |
| JP2005068953A (ja) * | 2003-08-28 | 2005-03-17 | Nippon Steel Corp | 鋼製基礎構造 |
| JP2006132128A (ja) * | 2004-11-04 | 2006-05-25 | Nippon Steel Corp | 埋設地際部の腐食防御性を有する鋼製柱 |
| JP2007169897A (ja) * | 2005-12-19 | 2007-07-05 | Token Housing:Kk | 道路付設構造物、塗布方法 |
| JP2007303232A (ja) * | 2006-05-15 | 2007-11-22 | Line Kikaku Kogyo Kk | 道路照明灯等の構造物の地際部の防食工法 |
Cited By (6)
| Publication number | Priority date | Publication date | Assignee | Title |
|---|---|---|---|---|
| JP2012012924A (ja) * | 2010-05-31 | 2012-01-19 | Kazuo Suginaka | 地中埋設用金属支柱 |
| JP2019031805A (ja) * | 2017-08-07 | 2019-02-28 | Jfe建材株式会社 | 支柱構造物 |
| JP2023124363A (ja) * | 2022-02-25 | 2023-09-06 | 株式会社イノアック住環境 | 発泡体充填鋼管 |
| JP7724731B2 (ja) | 2022-02-25 | 2025-08-18 | 株式会社イノアック住環境 | 発泡体充填鋼管の製造方法 |
| JP7419594B1 (ja) | 2023-06-15 | 2024-01-22 | 株式会社マイスターズインク | ガードレールの保護方法及び保護装置 |
| JP2024179724A (ja) * | 2023-06-15 | 2024-12-26 | 株式会社マイスターズインク | ガードレールの保護方法及び保護装置 |
Also Published As
| Publication number | Publication date |
|---|---|
| JP5078786B2 (ja) | 2012-11-21 |
Similar Documents
| Publication | Publication Date | Title |
|---|---|---|
| JP5078786B2 (ja) | 支柱の施工方法 | |
| AU2016200398B2 (en) | Heat Shrink Covering of Built Structures and Method | |
| CA2726321A1 (en) | Roof and wall cover system | |
| JP2005194871A (ja) | 組立式防水構造及び組立式防水工法 | |
| US7793478B2 (en) | Fiber reinforced polymer roof strengthening method | |
| AU2008202416B1 (en) | Roof Cover System | |
| KR102240060B1 (ko) | 확대된 보행폭을 가지는 데크로드 시공 방법 | |
| JP3312202B2 (ja) | 既設の鋼板製支柱の重防食根巻積層嵩上補修構造および既設の鋼板製支柱の重防食根巻積層嵩上補修方法 | |
| CA2678287A1 (en) | Protective covering for wooden utility poles and method of installation | |
| JP2007303232A (ja) | 道路照明灯等の構造物の地際部の防食工法 | |
| JP2009138214A (ja) | 防錆材 | |
| CN110821278A (zh) | 一种高强度防台风式栏杆 | |
| JP3177607U (ja) | 雨漏り防止部材 | |
| CN203441123U (zh) | 一种自复位榫卯节点 | |
| CN210857756U (zh) | 便捷修复传统建筑仿水泥瓦屋面的构造 | |
| Graham Finch MASc | Experience and Evaluation of Moisture Protection Strategies for Mass Timber Buildings | |
| US20060213117A1 (en) | Utility pipe tape fitted in pre-construction to prevent the gaps next to utility pipes that let termites in | |
| JP5805337B1 (ja) | 支柱腐食防止カバー | |
| JP4658879B2 (ja) | 鋼構造物等の防食構造およびそれに用いる防食シート | |
| JP5386540B2 (ja) | 地中埋設用金属支柱 | |
| US20210230890A1 (en) | Roof Cover System Improvement | |
| Chung et al. | Field Applicable PVDF Protection Coating for Corrosion and Carbonation Protection of Reinforced Concrete Structure | |
| Kalbe et al. | and Builder Experience on the Realisation | |
| WO2025184505A1 (en) | Wood utility pole protective cover | |
| US20040245514A1 (en) | Wooden beam end shielding apparatus and method |
Legal Events
| Date | Code | Title | Description |
|---|---|---|---|
| A621 | Written request for application examination |
Free format text: JAPANESE INTERMEDIATE CODE: A621 Effective date: 20110513 |
|
| A977 | Report on retrieval |
Free format text: JAPANESE INTERMEDIATE CODE: A971007 Effective date: 20120809 |
|
| TRDD | Decision of grant or rejection written | ||
| A01 | Written decision to grant a patent or to grant a registration (utility model) |
Free format text: JAPANESE INTERMEDIATE CODE: A01 Effective date: 20120821 |
|
| A01 | Written decision to grant a patent or to grant a registration (utility model) |
Free format text: JAPANESE INTERMEDIATE CODE: A01 |
|
| A61 | First payment of annual fees (during grant procedure) |
Free format text: JAPANESE INTERMEDIATE CODE: A61 Effective date: 20120828 |
|
| FPAY | Renewal fee payment (event date is renewal date of database) |
Free format text: PAYMENT UNTIL: 20150907 Year of fee payment: 3 |
|
| R150 | Certificate of patent or registration of utility model |
Ref document number: 5078786 Country of ref document: JP Free format text: JAPANESE INTERMEDIATE CODE: R150 Free format text: JAPANESE INTERMEDIATE CODE: R150 |
|
| R250 | Receipt of annual fees |
Free format text: JAPANESE INTERMEDIATE CODE: R250 |
|
| R250 | Receipt of annual fees |
Free format text: JAPANESE INTERMEDIATE CODE: R250 |
|
| R250 | Receipt of annual fees |
Free format text: JAPANESE INTERMEDIATE CODE: R250 |
|
| R250 | Receipt of annual fees |
Free format text: JAPANESE INTERMEDIATE CODE: R250 |
|
| R250 | Receipt of annual fees |
Free format text: JAPANESE INTERMEDIATE CODE: R250 |
|
| R250 | Receipt of annual fees |
Free format text: JAPANESE INTERMEDIATE CODE: R250 |
|
| R250 | Receipt of annual fees |
Free format text: JAPANESE INTERMEDIATE CODE: R250 |
|
| R250 | Receipt of annual fees |
Free format text: JAPANESE INTERMEDIATE CODE: R250 |
|
| R250 | Receipt of annual fees |
Free format text: JAPANESE INTERMEDIATE CODE: R250 |
|
| R250 | Receipt of annual fees |
Free format text: JAPANESE INTERMEDIATE CODE: R250 |
|
| R250 | Receipt of annual fees |
Free format text: JAPANESE INTERMEDIATE CODE: R250 |
